Коробка передач автомобілів

  • Вид работы:
    Реферат
  • Предмет:
    Транспорт, грузоперевозки
  • Язык:
    Русский
    ,
    Формат файла:
    MS Word
    2,79 Mb
  • Опубликовано:
    2011-02-05
Вы можете узнать стоимость помощи в написании студенческой работы.
Помощь в написании работы, которую точно примут!

Коробка передач автомобілів

ЗМІСТ


ВСТУП

1. КОРОБКА ПЕРЕДАЧ

1.1 Загальний огляд

1.1.1 Загальна будова та принцип роботи

1.1.2 Синхронізатор

1.1.3 Механізм перемикання передач

1.1.4 Подільник передач

1.1.5 Автоматичні коробки передач

2. КОРОБКА ПЕРЕДАЧ АВТОМОБІЛЯ ЗИЛ-130

3. НЕСПРАВНОСТІ

4. ТЕХНІЧНЕ ОБСЛУГОВУВАННЯ

4.1 Щоденне обслуговування

4.2 Під час першого технічного обслуговування

4.3 Під час другого технічного обслуговування

5. ВИСНОВОК

СПИСОК ВИКОРИСТАНОЇ ЛІТЕРАТУРИ

ВСТУП


Кожен сучасний автомобіль обладнаний коробкою передач. Вона призначена для зміни в широкому діапазоні крутного моменту, що передається від щеплення до карданної передачі автомобіля, роз’єднує їх, а також для зміни напряму обертання карданного вала, тобто забезпечує рух автомобіля заднім ходом. На сьогодні існує велика різноманітність коробок передач, це шестерінчасті (механічні), гідравлічні, гідравлічно-механічні, варіаторні, і т. д.

Таким чином коробка передач є важливим елементом будь-якого автомобіля, тому дана робота присвячена даному важливому пристрою.

1. КОРОБКА ПЕРЕДАЧ


1.1 Загальний огляд


1.1.1 Загальна будова та принцип роботи

Коробка передач призначається для зміни в широкому діапазоні крутного моменту, що передається від двигуна на ведучі колеса автомобіля при рушанні з місця та розганянні. Крім цього, коробка передач забезпечує рух автомобіля заднім ходом і дає змогу на тривалий час роз'єднувати двигун і ведучі колеса, що потрібно, коли двигун працює на холостому ходу під час руху автомобіля або на стоянці.

На сучасних вітчизняних автомобілях застосовують переважно механічні ступінчасті коробки передач із зубчастими шестернями. Кількість передач переднього ходу звичайно дорівнює чотирьом або п'яти (без урахування передач заднього ходу).

Передачі перемикаються пересуванням шестерень, які по черзі входять у зачеплення з іншими шестернями, або блокуванням шестерень на валу за допомогою синхронізаторів. Синхронізатори вирівнюють частоту обертання шестерень, що вмикаються, і блокують одну з них із веденим валом. Пересуванням шестерень або синхронізаторів керує водій при вимкненому зчепленні.

Залежно від кількості передач переднього ходу коробки передач бувають триступінчастими, чотириступінчастими і т. д.

Основні деталі триступінчастої коробки передач (рис. 4,8): ведучий вал І, ведений вал 5, проміжний вал 6, установлений у корпусі коробки. На первинному валу жорстко закріплено шестірню z3, що перебуває в постійному зачепленні з шестірнею z'3, жорстко закріпленою на проміжному валу. Інші шестерні проміжного вала z'2, z1 і z3x також жорстко закріплено. На веденому валу 5 установлено шестірню z2, що вільно обертається й перебуває в постійному зачепленні з шестірнею z2. Шестірня z1 і синхронізатор 2 з'єднані з валом 5 за допомогою шліців і можуть переміщуватися по них у напрямах, показаних стрілками. Шестірня z0 забезпечує зміну напряму обертання веденого вала в разі вмикання передачі заднього ходу.

Кожна передача характеризується передаточним числом, під яким розуміють відношення кількості зуб'їв веденої шестірні до кількості зуб'їв ведучої. Якщо в передачі бере участь кілька пар зубчастих шестерень, то для визначення передаточного числа треба перемножити значення передаточних відношень усіх пар.

У розглядуваній схемі коробки передач для вмикання першої передачі шестірню z1 пересувають вилкою 4 вліво до зачеплення її з шестірнею z1'. Тоді крутний момент передаватиметься з первинного вала 1 через шестерні постійного зачеплення z3 і z'3 на шестерні z'1 і z1, які утворюють першу передачу.

Передаточне число для першої передачі можна визначити за формулою i1=(z'3/z3)(z1/z'1) де z1, z'1, z3, z'3 - кількість зуб'їв відповідних шестерень.

Друга передача вмикається переміщенням синхронізатора 2 за допомогою вилки 3 вправо. При цьому шестірня z2 блокується на веденому валу, а крутний момент на ньому визначатиметься передаточним числом ін =(z'3/z3)(z2/z'2)

Рис. 1 Схема триступінчастої коробки передач:

1 — ведучий вал; 2 — синхронізатор; 3, 4 — вилки; 5 — ведений вал; 6 — проміжний вал

Третя передача вмикається пересуванням синхронізатора 2 вліво. В цьому разі ведений і ведучий вали жорстко з'єднуються, а передаточне число в коробці не змінюється й дорівнює одиниці. Таку передачу називають прямою й використовують для руху автомобіля з великою швидкістю.

Чотириступінчаста коробка передач автомобіля ГАЗ-53А має чотири передачі для руху вперед і одну — для руху назад. Вона діє аналогічно триступінчастій коробці передач (див. рис. 1), але має конструктивні особливості: постійне зачеплення шестерень ведучого й проміжного валів, шестерень другої та третьої передач. Передачі переднього ходу вмикаються пересуванням шестірні першої передачі й синхронізатора по шліцах веденого вала, а задній хід умикається переміщенням блока шестерень заднього ходу.

 

1.1.2 Синхронізатор

Синхронізатор (рис. 2) складається з корпусу 5, з обох кінців якого запресовано бронзові конічні кільця 10. Усередині корпусу встановлено муфту 8 із зубчастими вінцями 9. Фланець муфти має виступи 6, що входять у фігурні вирізи 3 корпусу. В ті виступи фланця, що не входять у вирізи, вставлено кулькові фіксатори 7. Пальці 4 муфти проходять крізь вирізи в корпусі й уставлені у внутрішній паз кільця перемикання Д з'єднаного з вилкою перемикання передач.

Рис. 2

Синхронізатор:

1 — шестірня; 2 — кільце перемикання; 3 — фігурний виріз; 4— палець; 5 — корпус; 6 — виступ; 7 — кулька; 8 — муфта; 9 — зубчастий вінець; 10 — конічне кільце

Коли вмикається передача, муфта 8 під дією вилки перемикання пересувається в бік шестірні 1, що вмикається. Конусна поверхня конічного блокувального кільця починає стикатися з конусною поверхнею шестірні. Оскільки в початковий момент стикання частоти обертання кільця й шестірні не збігаються, на їхніх поверхнях виникають сили тертя, що повертають корпус на певний кут, унаслідок чого виступи фланця муфти впираються в краї фігурних вирізів, і осьове переміщення муфти припиняється.

Внаслідок тертя між конічними поверхнями кільця й шестірні їхня частота обертання вирівнюється. В цей момент виступи муфти виходять із прорізів фігурних вирізів і більше не перешкоджають осьовому переміщенню муфти. Муфта переміщується далі в бік умикання, й її зуб'я входять у зачеплення із зубчастим вінцем шестірні, блокуючи її на валу.

Вимикається передача простим переміщенням муфти в нейтральне положення, в результаті чого зубчасті вінці шестірні й муфти синхронізатора роз'єднуються.

 

1.1.3 Механізм перемикання передач

Механізм перемикання передач розміщується у верхній кришці коробки передач і приводиться в дію важелем, установленим на кульовій опорі. Нижній кінець важеля, відхиляючись, входить у пази вилок перемикання. Вилки закріплено на штоках, які можуть переміщуватися в осьовому напрямі й утримуються за допомогою фіксаторів.

Для захисту від випадкового вмикання двох передач водночас слугує блокувальний пристрій (замок), який складається з двох плунжерів і штифта, закладених у горизонтальну просвердлену в кришці й середньому повзуні. В разі переміщення одного з крайніх повзунів блокувальний пристрій стопорить середній і другий крайній повзуни в нейтральному положенні, а при переміщенні середнього повзуна стопоряться обидва крайні повзуни.

Випадковому вмиканню заднього ходу перешкоджає пружинний запобіжник, який у момент умикання заднього ходу задає відчутно більше зусилля на важелі перемикання, ніж у разі вмикання передач переднього ходу.

 

1.1.4 Подільником передач

На деяких вантажних автомобілях, що працюють як тягачі, встановлюють п'ятиступінчасту коробку передач із переднім приставним двоступінчастим редуктором-подільником передач, котрий у поєднанні з основною коробкою дає змогу мати десять передач переднього ходу й дві передачі заднього ходу. Завдяки подільнику загальне передаточне число кожної передачі зменшується приблизно в 1,225 раза.

Подільник передач (рис. 3) за конструкцією становить додатковий редуктор, картер 7 якого жорстко пристикований до картера коробки передач. У картері подільника розміщено ведучий 2 і проміжний 6 вали, пару зубчастих шестерень 3 і 1, синхронізатор 5 і механізм перемикання. Проміжний вал подільника постійно з'єднаний шліцами з проміжним валом коробки передач. Шестірня З ведучого вала обертається на ньому вільно й має зубчастий вінець для взаємодії із синхронізатором, закріпленим за допомогою зубчастої муфти 4.

Подільник забезпечує дві передачі: пряму й підвищувальну.

Пряма передача не змінює передаваного моменту від двигуна до коробки передач. Вона вмикається переміщенням синхронізатора вправо, в результаті чого ведучий вал подільника й ведучий вал коробки передач жорстко блокуються.

Рис. 3 Подільник коробки передач автомобілів:

1, 3 — зубчасті шестерні; 2 — ведучий вал; 4 — зубчаста муфта; 5 — синхронізатор; 6 — проміжний вал; 7 — картер

Підвищувальна передача подільника вмикається, коли синхронізатор переміщується вліво. В цьому разі шестірня 3 блокується синхронізатором на ведучому валу подільника, а крутний момент передається з шестірні 3 на шестірню 1 проміжного вала й далі на проміжний вал коробки передач. При цьому передаваний крутний момент зменшується на передаточне число подільника й частота обертання зростає на таке саме значення. Це дає змогу експлуатувати автомобіль при невеликих навантаженнях з підвищеною швидкістю руху, що сприяє економії палива.

1.1.5 Автоматичні коробки передач

Механічні ступінчасті коробки передач, які широко застосовуються на сучасних автомобілях, мають низку недоліків. Головний із них полягає в тому, що водієві для перемикання передач весь час доводиться натискувати на педаль зчеплення й керувати важелем перемикання передач. Це вимагає від нього чималих фізичних зусиль, особливо в умовах міського руху, а також у разі частих зупинок.

На автобусах ЛиАЗ і ЛАЗ, а також на великовантажних автомобілях БелАЗ застосовують гідромеханічні передачі, які водночас виконують функції зчеплення й коробки передач з автоматичним або напівавтоматичним перемиканням.

Гідромеханічна передача (ГМП) складається з гідротрансформатора й двоступінчастої механічної коробки передач з автоматичним керуванням (рис. 4).

Гідротрансформатор становить гідравлічний механізм, розміщений між двигуном і механічною коробкою передач, який забезпечує автоматичну зміну передаточного числа й крутного моменту відповідно до зміни навантаження на веденому валу.

У гідротрансформаторі є три робочих колеса з лопатями: насосне 3, закріплене на маховику двигуна, турбінне 1, з'єднане з ведучим валом 4 коробки передач, реакторне 2, встановлене на роликовій муфті вільного ходу. Насосне колесо має кільцеву форму й утворює корпус гідротрансформатора. Всередині нього розміщено двоє інших робочих коліс (рис. 5). Внутрішню кільцеву порожнину корпусу гідротрансформатора на 3/4 об'єму заповнено спеціальною оливою.

Рис. 4 Схема гідромеханічної передачі:

/— гідротрансформатор; //— механічна двоступінчаста коробка передач; 1 — турбінне колесо; 2 — реакторне колесо; 3 — насосне колесо; 4 — ведучий вал; 5 — шестірня ведучого вала; 6 ~ фрикціон першої передачі; 7— фрикціон другої передачі; 8— зубчаста муфта; 9 — пневмоциліндр привода зубчастої муфти; 10 — ведений вал; 11 — ведена шестірня заднього ходу; 12 — проміжна шестірня; 13 — відцентровий регулятор; 14 — ведуча шестірня заднього ходу; 15 — ведена шестірня першої передачі; 16 — ведуча шестірня першої передачі; 17 — проміжний вал; 18 — шестірня проміжного вала; 19 — фрикціон блокування насосного та турбінного коліс

 

Механічна двоступінчаста коробка передач (див. рис. 4) має ведучий 4, ведений 10 і проміжний 77вали з шестернями, фрикційні багатодискові муфти (фрикціони) 6, 7 і 19, зубчасту муфту 8 із пневматичним циліндром 9 привода, відцентровий регулятор 13.

Під час роботи двигуна насосне колесо 3 обертається разом із маховиком двигуна й своїми лопатями відкидає оливу від осі обертання до периферії. Струмені оливи при цьому потрапляють на лопаті турбінного колеса 1 і змушують його обертатися в тому самому напрямі, що й насосне. Далі олива надходить на лопаті реакторного колеса 2, яке змінює напрям потоку оливи, й після цього вона знову потрапляє в насосне колесо, циркулюючи по замкненому колу.

Рис. 5 Конструкція робочих коліс гідротрансформатора:

7 — маховик двигуна; 2 — турбінне колесо; 3 — реакторне колесо; 4 — насосне колесо (корпус гідротрансформатора)

Внаслідок зміни напряму потоку оливи в реакторному колесі створюється додатковий крутний момент (реактивний), що сприймається турбінним колесом. Таким чином гідротрансформатор дає змогу дістати на ведучому валу 4 коробки передач крутний момент, який відрізняється від моменту, що передається двигуном.

Найбільше зростання крутного моменту на турбінному колесі гідротрансформатора відбувається, коли автомобіль рушає з місця. В цьому разі реакторне колесо загальмоване муфтою вільного ходу й реактивний момент на ньому максимальний. У міру розганяння автомобіля, тобто збільшення частоти обертання насосного колеса, частота обертання турбінного колеса також зростає. Кількість оливи, що надходить унаслідок циркуляції на лопаті реакторного колеса, зменшується, й реактивний момент на ньому спадає. Муфта вільного ходу розклинюється, й поступово починає збільшуватися частота обертання реакторного колеса в загальному потоці оливи, що дедалі менше впливає на передаваний крутний момент.

Коли частота обертання гідротрансформатора досягає максимального значення, він перестає змінювати крутний момент і переходить у режим гідромуфти. Таким чином автомобіль плавно розганяється при безступінчастому характері зміни крутного моменту.

Діапазон безступінчастого регулювання передаточного числа гідротрансформатором становить 3,2 ... 1, і збільшувати його недоцільно, оскільки зменшується коефіцієнт корисної дії. Аби дістати збільшене значення діапазону регулювання крутного моменту, потрібне для рушання автомобіля з місця й розганяння, гідротрансформатор з'єднують із механічною ступінчастою коробкою передач, утворюючи гідромеханічну передачу.

В розглядуваній ГМП (див. рис. 4) спільна робота гідротрансформатора й коробки передач здійснюється завдяки автоматизації керування перемиканням передач, пов'язаним із приводом дросельної заслінки карбюратора двигуна. В цілому система керування ГМП досить складна за конструкцією й має цілу низку гідравлічних, електричних і пневматичних механізмів. За головний керуючий пристрій цієї системи править відцентровий регулятор 13, установлений на проміжному валу коробки передач. Він діє залежно від частоти обертання на блокування фрикціонів 6, 7, 19, які забезпечують перемикання передач.

В міру розганяння автомобіля на першій передачі, коли гідротрансформатор автоматично відпрацює заданий діапазон регулювання, швидкість зростає до значення, що зумовлює перехід на другу передачу. Відцентровий регулятор 13 дає сигнал на вмикання фрикціона 7 і відмикання фрикціона 6. Автоматична система керування

здійснює відповідні перемикання гідроелектричних механізмів, і в коробці вмикається друга передача. На другій передачі момент від ведучого вала 4 передається через фрикціон 7 на ведений вал прямо, й швидкість автомобіля зростає до найбільшого значення, яке визначається діапазоном регулювання гідротрансформатора.

У гідротрансформаторі є фрикціон 19, який блокує насосне й турбінне колеса. Тоді крутний момент двигуна передається на трансмісію без втрат, чим досягається максимальна швидкість руху.

Для руху заднім ходом зубчаста муфта 8 установлюється водієм з пульта керування в положення заднього ходу. При цьому дистанційною системою керування обойма муфти переміщується вправо, шестірня 11 блокується на веденому валу 10. Момент від вала 4 при ввімкненому фрикціоні 6 передається на проміжний вал, шестерні 14, 12, 11 і на ведений вал 10. Шестірня 12 змінює напрям обертання веденого вала коробки на зворотний, чим і досягається рух заднім ходом.

2. КОРОБКА ПЕРЕДАЧ АВТОМОБІЛЯ ЗИЛ-130.


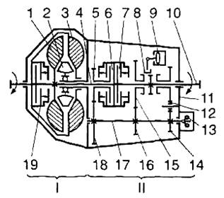
У чавунному картері 1 коробки передач (рис. 61) на передній стінці встановлюють ведучий вал 11, який виготовляють як одне ціле з косозубчастою шестірнею постійного зачеплення і внутрішнім зубчастим вінцем 8. Він обертається у двох підшипниках. Передній кінець вала спирається на кульковий підшипник, встановлений у фланці колінчастого вала, а задній — на кульковий підшипник 13. У торець ведучого вала на роликовий підшипник 10 встановлено передній кінець веденого вала 9. Задній кінець вала обертається в кульковому підшипнику 32, запресованому в задню стінку картера.

Для безударного включення передач між шестірнями другої і третьої, четвертої і п'ятої передач розміщують синхронізатори.

На веденому валу є каретки синхронізаторів, які можуть переміщуватися по шліцах вала, косозубчасті шестірні 40, 50, 51 і прямозубчаста шестірня 28.

У нижній частині картера на підшипниках у його стінках встановлюють проміжний вал 3. На валу на шпонках встановлено косозубчасті шестірні 2, 52, 49, 48 і прямозубчаста шестірня 39. Шестірня 46 першої передачі виготовлена як одно ціле з валом.

Косозубчасті шестірні, що встановлені на веденому валу, перебувають у постійному зачепленні з шестірнями проміжного вала і мають внутрішні зубчасті вінці. Блок шестерень 38 і 41 заднього ходу обертається у двох роликових підшипниках на осі 42. Шестірня 38 блока знаходиться в постійному зачепленні з шестірнею 39 проміжного вала.

Рис. 61. Коробка передач автомобіля ЗИЛ-130:

а — складена; б — синхронізатор; в і г — схеми дії синхронізатора; д — шестірні, що включаються при передачі заднього ходу (передача включена); є — положення важеля переключення передач; 1 — чавунний картер; 2, 48, 49, 52 — косозубчасті шестірні проміжного вала; 3 — проміжний вал; 4 — роликовий підшипник; 5 — каретка синхронізатора; 6 — блокуючі пальці; 7 — кільце; 8 — внутрішній зубчастий вінець; 9 — ведений вал; 10 — роликовий підшипник; 11 — ведучий вал; 12 — кришка підшипника; 13 — кульковий підшипник; 14 — корпус фіксатора; 15, 26 і 27 — повзуни; 16 — кришка картера; 17 — штифтовий запобіжник; 18 — проміжний важіль; 19 — вісь; 20 — важіль переключання передач; 21 — фіксуючий палець; 22 і 23 — вилки; 24 — пружина фіксатора; 25 — кулька; 28 — прямозубчаста шестірня; 29 — болт; 80 — штифт; 31 — кулька; 32 — кульковий підшипник; 33 — шестірня привода спідометра; 34 — опорний палець; 35 — кулька; 36 — пружина; 37 — пробка; 38 і 41 — шестірні блока; 39 — прямозубчаста шестірня проміжного вала; 40, 50 і 51 — косезубчасті шестірні веденого вала; 42 — вісь блока шестерень; 43 — стопорна пластина; 44 — барабан; 45 — кульковий підшипник; 46 — шестірня; 47 — зливна пробка; 53 — розпірна втулка.

Першу передачу включають переміщенням уперед шестірні 28 до зачеплення з шестірнею 46, задній хід — переміщенням шестірні 28 назад до зачеплення її з шестірнею 41. При цьому крутний момент передається через шестірню 2, проміжний вал 3, блок шестерень 38 і 41 заднього ходу та шестірню 28 на веденому валу. Другу, третю, четверту і п'яту передачі включають за допомогою синхронізаторів.

Каретка 5 переднього синхронізатора за допомогою опорних пальців 34 і трьох фіксаторів, кожний з яких має корпус 14 і дві кульки 35 з пружиною 36, з'єднана з двома кільцями 7, у яких є внутрішні конусні поверхні. Кільця 7 у свою чергу жорстко з'єднані між собою блокуючими пальцями 6, які проходять через отвори каретки. Отвори і пальці мають конусні блокуючі поверхні, утворені у пальцях конусними виточками, а в отворах — конусними фасками.

Під час включання п'ятої передачі каретку переміщають уперед, а фіксатори пересувають кільце 7 до зіткнення з конічною поверхнею шестірні ведучого вала. Оскільки швидкості обертання каретки і шестірні різні, каретка зміщується відносно шестірні по колу. Блокуючі поверхні каретки входять у виточки пальців, перешкоджаючи дальшому переміщенню каретки. Коли швидкості стануть однаковими, блокуючі пальці розмістяться посередині отворів і даватимуть можливість переміщатися каретці в горизонтальному напрямі.

Під дією сил, які прикладаються до корпусів фіксаторів з боку каретки, фіксатори зміщуються ближче до осі ведучого вала і звільняють каретку. Таке зміщення фіксаторів можливе за рахунок зазорів, які є між опорними пальцями 34 й отворами корпусів 14 фіксаторів. Зміщення фіксаторів супроводжується зближенням кульок і стисканням розміщених між ними пружин 36. Каретка переміщується далі і її зуби входять у зачеплення з внутрішнім зубчастим вінцем 8 шестірні ведучого вала 11.

Аналогічно, переміщенням каретки 5 назад включається четверта передача.

Картер коробки передач зверху закривають кришкою 16, в якій встановлено механізм переключення.

3. НЕСПРАВНОСТІ


 • шум під час руху автомобіля;

• утруднене перемикання передач;

• самочинне вимикання передачі;

• підтікання оливи.

Шум у коробці передач з'являється через:

· відсутність оливи в картері;

· велике спрацювання зуб'їв шестерень і підшипників валів.

Для усунення несправності слід перевірити рівень оливи в картері, який має бути поблизу нижньої кромки бічного заливного отвору або біля мітки на оливовимірювальному стержні; якщо треба, то слід долити оливу, перевірити й відрегулювати вільний хід педалі зчеплення. Якщо шум не припиниться, то коробку слід розібрати й замінити спрацьовані деталі.

Утруднене перемикання передач спостерігається внаслідок:

· застосування оливи з підвищеною в'язкістю;

· поломки пружин кілець синхронізаторів;

· неповного вимикання зчеплення (веде);

· деформування або заїдання сферичного шарніра важеля перемикання передач;

· заїдання штоків вилок і деформування вилок перемикання передач.

Самочинне вимикання передачі спричиняється:

· спрацюванням фіксаторів або поломкою їхніх пружин;

· спрацюванням блокувальних кілець синхронізаторів.

Для усунення зазначених несправностей треба зняти й розібрати коробку передач, спрацьовані деталі замінити.

4. ТЕХНІЧНЕ ОБСЛУГОВУВАННЯ

 

4.1 Щоденне обслуговування


Несправність коробки передач визначають за шумом під час роботи, підвищеним нагріванням картера, самовільним виключенням або утрудненим включенням передач, підтіканням масла в з'єднаннях.

 

4.2 Під час першого технічного обслуговування


Підтягують кріплення коробки передач, перевіряють рівень масла і, якщо треба, доливають масло в картер.

 

4.3 Під час другого технічного обслуговування,


Крім робіт ТО-1, підтягують кришки підшипників веденого і проміжного валів коробки передач. Перевіряють наявність люфту в карданах, доливають або заміняють масло (за графіком) в картерах коробки передач і основної передачі.

Масло в картерах коробки передач і головної передачі замінюють після роботи автомобіля, поки масло ще тепле. Для цього:

вивішують задній міст;

викручують спускну пробку картера, зливають масло і закручують пробку, заливають у картер 1 ... 2 л малов'язкого масла;

запускають двигун, включають першу передачу і дають можливість йому працювати 1,5 … 2 хв., потім промивальне масло зливають і в картер заливають свіже трансмісійне масло до рівня наливного отвору.

ВИСНОВОК


У даній роботі було розглянуто загальну будову та принцип роботи різних видів коробок передач. Докладно розглянуто будову та роботу коробки передач ЗИЛ – 130. Увага була приділена і несправностям та технічному догляду за коробкою передач.

СПИСОК ВИКОРИСТАНОЇ ЛІТЕРАТУРИ


1 Кисликов В. Ф., Лущик В.В. Будова й експлуатація автомобілів: Підручник. - К.: Либідь, 1999. - 400 с.

2. Жолобов Л. А., Конаков А. М. Устройство и техничиское обслуживание автомобилей категорий «В» и «C» на примере ВАЗ - 2110, ЗИЛ - 5301 «Бычок». Серия «Библиотека автомобилиста». - Ростов-на-Дону: «Феникс», 2002.-256 с.

3. Автомобиль. Учеб. Пособие/ А. П. Анафонов, И. П. Плеханов, В. Э. Рублях. — К.: Рад. Школа, 1982. — 304с.

Похожие работы на - Коробка передач автомобілів

 

Не нашли материал для своей работы?
Поможем написать уникальную работу
Без плагиата!
Без нейросетей!