|
Шаг
резьбы
P
|
Наружный диаметр
d
|
Средний диаметр
d2
|
Внутр. диаметр
d1
z
|
Приведенный угол трения
|
Угол подъема винтовой линии
|
Коэф. запаса самотор-можения k
|
|
3
|
32
|
29.75
|
26.793
|
19.83
|
4.58
|
1.84
|
2.49
|
Проверка числа витков гайки:
(6 - 12)
Резьба с шагом 4:
Резьба с шагом 5:
Резьба с шагом 8:
Резьба с шагом 3:
Условие самоторможения.
Для обеспечения самоторможения механизма должно выполняться
условие:
,
где
- приведенный угол
трения;
- угол подъема
винтовой линии;
k -
коэффициент запаса самоторможения: для самотормозящихся механизмов k ³
1,3.
Угол подъема винтовой линии
зависит
от геометрии резьбы:
где
- шаг резьбы;
= 1 - число заходов
резьбы;
- средний диаметр
резьбы.
Приведенный угол трения
:
где
- коэффициент
трения, зависящий от шероховатостей рабочих поверхностей витков и материала
гайки.
=0.08-0.1
- угол наклона
рабочей грани витка к торцевой плоскости винта: для упорной резьбы -
=3°
Следовательно:
Сферическая пята обеспечивает меньший момент трения за счет
значительно меньшей площади трения. Рабочая поверхность пяты и подпятника
должны иметь твердость HRC 40-56. Радиус сферы R находится из условия контактной прочности рабочих
поверхностей:
где
- приведенный модуль
продольной упругости, для стальных деталей
=
2,1×105 МПа; допускаемое
контактное напряжение
,
где
- предел контактной
выносливости, соответствующий базовому числу циклов;
- коэффициент
долговечности: для рассматриваемых деталей, отличающихся небольшим числом
циклов нагружения за весь срок службы
=
2,5;
- коэффициент запаса
контактной прочности.
Величина
зависит от
твердости
менее твердой поверхности: в
случае объемной закалки деталей (HRC 40-56):
(МПа),
=1,2;
таким образом, допускаемое контактное напряжение равно:
мПа;
мм
Принимаем R = 64 мм.
Диаметр круговой площадки контакта, получающийся в
результате деформации сжимаемых тел определяется по формуле:
мм
Момент трения в сферической пяте:
Н*мм
Проверка на прочность винта выполняется по условию прочности
на одновременное действие сжатия и кручения:
Момент трения в резьбе:
Н/мм
,
Где
; 
где
- осевое усилие,
действующее на винт;
[
] = 140
кгс/мм
A1 - площадь
поперечного сечения винта;
Mкр - момент,
скручивающий винт;
Wp1 -
полярный момент сопротивления поперечного сечения винта;
dmin - диаметр опасного сечения винта. В качестве опасного
сечения принимают сечение, нагруженное осевой силой Q и
максимальным крутящим моментом и при этом имеющий минимальный диаметр.
, 
Следовательно, условие прочности винта выполняется.
Высота гайки равна:
мм.
мм
принимаем 3.
Наружный диаметр гайки
:
где
- осевое усилие,
действующее на винт;
- коэффициент,
учитывающий напряжения от скручивания,
=
1,25…1,3;
d - наружный диаметр резьбы;
- допускаемое
напряжение; для бронзы и чугуна можно принять
=
60…70 МПа.
мм.
Принимаем
= 38 мм.
Фаска
=2мм,
=1.6мм. Радиус закрепления
=1мм
Расчет буртика:
мПа
Диаметр буртика
мм
где
- допускаемое
напряжение смятия; для бронзы можно принять
=
70 МПа.
Принимаем
мм.
Высота буртика
гайки
определяется по формуле:
мм.
Принимаем высоту буртика равной 5 мм. Условие буртика на
срез:
,
- выполняется.
Для удержания гайки от проворачивания устанавливаем
стопорный винт с потайной головкой. (d = 5). ГОСТ
1478-93.
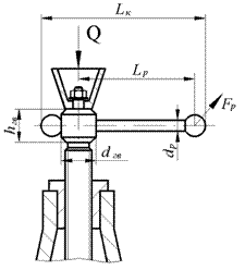
Необходимая длина рукоятки:
где
- момент
создаваемый рабочим для преодоления моментов трения в резьбе
и на пяте
;
- для кратковременной работы
=300 Н. Момент трения в резьбе
определяется по формуле:
Нмм
Нмм ,
мм
Конструктивная длина рукоятки принимается с учетом ширины
ладони рабочего и диаметра головки винта, после чего округляется до ближайшего
большего стандартного значения:
Принимаем конструктивную длину рукоятки равную 160 мм.
Диаметр рукоятки находится из условия ее прочности на изгиб:
Рукоятка изготавливается из недорогих сталей, например
Ст3, Ст4, Ст5. Допускаемое напряжение на изгиб для Ст3 можно принять
= 85 МПа.
мм.
КПД винтового механизма, учитывающий суммарные потери в
винтовой паре и на пяте, определяется по формуле:
Передаточное число передачи "винт-гайка":