4 = 0,048 мкм;
Принимаем Ra из стандартного ряда
Для обоих калибров: Ra=0,05 мкм.
Рисунок 1.6 Схемы полей
допусков предельных калибров
2. Расчет и выбор посадок подшипников
качения
Исходные данные:
подшипник 409;
класс точности 0;
радиальная сила F=4000 H;
вращающимся является внутреннее кольцо.
1. Параметры подшипника 409: d=45 мм; D=120 мм; B=29 мм; r=3,0
мм.
В рассматриваемом узле вращающимся кольцом является внутреннее кольцо
подшипника, поэтому его посадку на вал производим с натягом, а наружное кольцо
устанавливаем в корпус с зазором.
2. Определение минимального потребного натяга для внутреннего кольца
подшипника:
мкм,
где коэффициент k=2 для тяжёлой серии подшипника.
3. Определение максимального допустимого натяга внутреннего кольца
подшипника:
мкм.
4. По значению Nmin подбираем из числа
рекомендуемых посадку для внутреннего кольца подшипника: Æ 45 L0/m6.
По таблице 9 определяем предельные отклонения размеров:
для отверстия: ES=0; EI=–12
мкм;
для вала: es=+25 мкм; ei=+9
мкм;
5. Определение минимального и максимального натяга в соединении:
Tак как
>
(9 мкм > 4,522 мкм), а
>
(37
мкм < 205,2 мкм), можно заключить, что посадка внутреннего кольца подшипника
выполнена правильно.
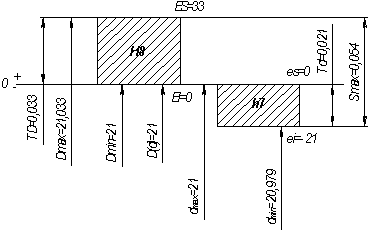
6. Выбираем посадку для наружного кольца подшипника из рекомендованных: Æ 120H7/l0. Предельные отклонения:
для отверстия:
ES=+35 мкм;
TD=35 мкм;
для вала:
es=0;
ei=–15 мкм.
Td=15 мкм;
Для выбранной посадки максимальный зазор:
Smax=ES–ei=35–(–15)=50 мкм.
Для выбранной посадки минимальный зазор:
Smin=EI–es=0–0=0
мкм.
7. Строим схему полей допусков выбранных посадок для колец подшипника
качения:
8. Эскиз сборочного узла
Рисунок 2.2 Сборочный узел
3. Шероховатость, отклонения формы и
расположения поверхностей
Исходные данные:
1. Æ 45k6; Td=16 мкм;
2. Æ 50n7; Td=25 мкм;
3. Æ 45k6; Td=16 мкм;
4. Æ 25r7; Td=21 мкм;
5. Æ 53-0,3 ; Td=300 мкм;
6. Æ 55-0,3 ; Td=300 мкм;
7. 18h6; Td=11 мкм;
8. 9h15; Td=580 мкм;
9. Æ 14N9; Td=43 мкм;
3.1 Шероховатости отмеченных поверхностей
находим сообразно назначению этих поверхностей и допуску их размера
3.1.1 Определим шероховатость для
посадочных мест подшипников качения
Поверхность Æ 45k6: Td=16
мкм;
принимаем Ra=0,63
мкм из стандартного ряда.
Поверхность Æ 45k6: Td=16
мкм
Аналогично предыдущей поверхности Ra=0,63 мкм.
3.1.2 Шероховатость для ответственных
поверхностей, образующих с сопрягаемыми поверхностями других деталей
определённые посадки
В общем случае выделенные поверхности
можно считать поверхностями нормальной геометрической точности, для которых
параметр шероховатости
TÆ.
Поверхность Æ 50n7: Td=25
мкм;
принимаем Ra=1,25
мкм из стандартного ряда.
Поверхность Æ 25r7: Td=21
мкм;
принимаем Ra=1,00
мкм из стандартного ряда.
Поверхность Æ 18h6: Td=11
мкм;
принимаем Ra=0,32
мкм из стандартного ряда.
3.1.3 Определение шероховатости
поверхностей, к которым не предъявляются высокие требования
Поверхность Æ 53-0,3:
Td=300 мкм;
принимаем Ra=12,5
мкм из стандартного ряда.
Поверхность Æ 55-0,3:
Td=300 мкм;
принимаем Ra=12,5
мкм из стандартного ряда.
Поверхность Æ 9h15: Td=580
мкм;
принимаем Ra=25
мкм из стандартного ряда.
Шероховатость поверхностей шпоночного паза
принимается в пределах Ra=3,6…12,5 мкм, причём большие значения соответствуют
дну паза.
3.2 Допуски на отклонение формы и
расположения поверхностей также определим приближённым методом
3.2.1 Расчёт допусков на отклонение от
круглости и цилиндричности поверхностей
Поверхность Æ 45k6: Td=16
мкм;
T
мкм,
принимаем T =4 мкм из стандартного ряда.
T
мкм,
принимаем T =4 мкм.
Поверхность Æ 50n7: Td=25
мкм;
T
мкм,
принимаем T =6
мкм.
Поверхность Æ 25r7: Td=21
мкм;
T
мкм,
принимаем T =6
мкм.
3.2.2 Допуск на радиальное биение поверхности
относительно поверхности АБ
Поверхность Æ 50n7:
T
мм, принимаем
T =0,02 мм;
Поверхность Æ 25r7:
T
мм, принимаем T =0,02 мм;
3.2.3 Допуск на отклонение от
перпендикулярности торца поверхности Æ50-0,3
для фиксации подшипника зависит от допуска размера на ширину подшипника

T
мкм,
принимаем T =6
мкм.

T
мкм, принимаем T =120 мкм.
3.2.4 Допуск на отклонение от симметричности
расположения шпоночного паза

T
мкм,
принимаем T =120
мкм,
3.2.5 Допуск на отклонение от
параллельности шпоночного паза
T//
мкм, принимаем
T// =120 мкм.
где TB - при определении
допуска перпендикулярности является допуском на ширину подшипника; при
определении допуска отклонения от симметричности боковых сторон шпоночного паза
является допуском на ширину паза вала.
Чертим эскиз вала
4. Допуски и посадки шпоночных и шлицевых соединений.
4.1 Шпоночные соединения.
Исходные данные: d=35 мм, тип соединения 3 (плотное
соединение).
По ГОСТ 23360-78 выбираем
основные размеры соединения:
b=10 мм, h=8 мм;
Глубина паза вала и
втулки соответственно: t1=5 мм, t2=3,3 мм;
Вид исполнения 1;
Длина шпонки l=50 мм;
Условное обозначение
шпонки: Шпонка 1-10 ĥ 8 ĥ 50 ГОСТ 23360-78.
Условия применения –
плотное характеризуемое вероятностью получения примерно одинаковых небольших
натягов в соединении шпонок с обоими пазами; сборка осуществляется
напрессовкой, применяется при редких разборках и реверсивных нагрузках.
Для заданного типа
соединения назначаем поля допусков для деталей шпоночного соединения:
поле допуска вала s6,
поле допуска отверстия
H7,
поле допуска ширины
шпонки b - h9,
поле допуска высоты шпонки
h - h11,
поле допуска длины шпонки
l - h14,
поле допуска ширины паза на
валу и во втулке - P9,
Определяем предельные
отклонения пользуясь стандартом на гладкие соединения:
диаметр вала 35
диаметр втулки 35
ширина шпонки 10
высота шпонки 8
длина шпонки 50
ширина паза на валу 10
ширина паза во втулке 10
глубина паза вала
• глубина паза втулки
Строим схемы расположения
полей допусков (рисунок 4.1).
4.2 Прямобочное шлицевое соединение
Исходные данные: b-6 ĥ
28H11/≥26,7 ĥ 32H12/a11 ĥ7F8/js7 ГОСТ
1139-80
Прямобочное шлицевое соединение:
центрирование по боковым поверхностям зубьев b;
поле допуска центрирующего диаметра D=32
мм
H12 - втулки,
a11 - вала;
число прямобочных шлицов 6;
внутренний диаметр соединения d=28 мм;
ширина шлица b=7 мм,
поле допуска ширины шлица втулки F8,
поле допуска ширины шлица вала js7.
Центрирование по b применяется,
когда не требуется особой точности соосности, при передаче значительных
моментов, в случаях, когда недопустимы большие зазоры между боковыми
поверхностями вала и втулки; наиболее простой и экономичный способ.
По ГОСТ 1139-80 назначаем поля допусков
втулки и вала по нецентрирующему диаметру:
втулки H11,
предельное отклонение вала по
нецентрирующему диаметру d не менее 26,7 мм.
Величины предельных отклонений диаметров и
ширины прямобочного шлица:
Для втулки b-6 ĥ 28H11
ĥ 32H12 ĥ7F8 ГОСТ 1139-80
центрирующий диаметр
;
нецентрирующий диаметр
;
ширина паза
;
Для вала b-6 ĥ ≥26,7
ĥ 32a11 ĥ7js7 ГОСТ 1139-80
центрирующий диаметр
;
нецентрирующий диаметр
мм;
ширина паза
;
Строим схемы расположения полей допусков
(рисунок 4.2).
4.3 Эвольвентные шлицевые соединения
Исходные данные: 48 ĥ H7/h6 ĥ 2
ГОСТ 6033-80
Номинальный диаметр D=48 мм,
Модуль m=2 мм,
вид центрирования по наружному диаметру,
поле допуска наружного диаметра вала da
- h6.
Центрирование по наружному диаметру D
наиболее технологично, так как в этом случае в качестве окончательной операции
отверстия выполняют протягивание, а при обработке вала - шлифование. Такое
центрирование применяется в деталях с незакалённым отверстием.
Определяем по ГОСТ 6033-80 недостающие
параметры эвольвентного соединения:
Число зубьев Z=22;
Делительный диаметр:
мм;
Диаметр впадин шлицевого вала
мм;
Диаметр внутренней втулки
мм;
Назначаем поле допуска ширины впадины
втулки e - 9H, поле допуска толщины зуба вала S - 9d: посадка 9H/9d.
Поле допуска втулки и вала по
нецентрируемому диаметру при плоской форме дна впадины: для втулки Da
- H11, для вала df - h16, посадка H11/h16.
Величины предельных отклонений диаметров,
предельные отклонения по боковым сторонам зубьев:
Для втулки 48 ĥ H7 ĥ 2 ГОСТ
6033-80:
центрирующий диаметр
;
ширина впадины
e - 9H: ES=+71мкм;
EJe=+26 мкм;
EJ=0;
Для вала 48 ĥ h6 ĥ 2 ГОСТ
6033-80:
центрирующий диаметр
;
толщина зуба
S - 9d: es=-44 мкм;
ese=-70 мкм;
ei=-115 мкм;
Строим схемы расположения полей допусков
(рисунок 4.3).
мм.
Литература
1. Марков Н.Н., Осипов В.В., Шабалина М.Б.
Нормирование точности в машиностроении: Учеб. для машиностроит. спец. вузов. /
Под ред. Ю.М. Соломенцева. – 2-е изд., перераб. и доп. – М.: Высш. шк.;
Издательский центр "Академия", 2001. – 335 с.: ил.
2. Якушев А.И. и
др. Взаимозаменяемость, стандартизация и технические измерения: Учебник для
втузов / А.И. Якушев, Л.Н. Воронцов, Н.М. Федотов. – 6-е изд., перераб. и доп.
– М.: Машиностроение, 1987. – 352 с.: ил.
3. В.И. Анурьев "Справочник
конструктора-машиностроителя": в 3 т. -8е изд.: -М.: Машиностроение,
2001г.