Разработка тепловой установки для тепловлажностной обработки бетона

  • Вид работы:
    Курсовая работа (т)
  • Предмет:
    Технология машиностроения
  • Язык:
    Русский
    ,
    Формат файла:
    MS Word
    381,47 kb
  • Опубликовано:
    2010-10-27
Вы можете узнать стоимость помощи в написании студенческой работы.
Помощь в написании работы, которую точно примут!

Разработка тепловой установки для тепловлажностной обработки бетона

ГОУ ВПО

Якутский государственный университет им М.К.Аммосова

Инженерно-технический факультет

Кафедра ПСМиК

Пояснительная записка

К курсовому проекту по дисциплине:

Теплотехника и теплотехническое оборудование предприятий строительной индустрии

На тему:

Разработка тепловой установки для ТВО бетона

Выполнила:Ст.гр.ПСМиК-06

Решетова Е.А.

Проверил:Турунтаев Г.Г.




Якутск,2009г.

Содержание

Введение

1 Устройство и принцип работы автоклава

2 ТВО бетона при избыточном, по сравнению с атмосферным, давлением. Автоклав

3 Технологический расчет

4 Теплотехнический расчет

5 Расчет подачи пара(теплоносителя)

6 Технико-экономические показатели

7 Автоматизация тепловой обработки изделий

8 Охрана труда и техника безопасности

Использованная литература

Введение

Железобетонные конструкции являются базой современной строительной индустрии. Их применяют: в промышленном, гражданском и сельскохозяйственном строительстве -для зданий различного назначения; в транспортном строительстве- для метрополитенов, мостов ,туннелей: в энергетическом- для гидроэлектростанций, атомных реакторов, и т.д.Такое широкое распространение в строительстве железобетон получил вследствие многих его положительных свойств: долговечности, огнестойкости, стойкости против атмосферных воздействий, высокой сопротивляемости статическим и динамическим нагрузкам и др.

Эффективность применения бетона в современном строительстве в значительной мере определяется темпами производства железобетонных изделий. Ускорение твердения бетона приобретает особое значение при изготовлении изделий в заводских условиях, так как благодаря сокращению сроков изготовления достигается максимальное использование производственных площадей, повышение оборачиваемости форм и другого дорогостоящего оборудования. Решающим средством ускорения твердения бетона в условиях заводской технологии производства является тепловая обработка.

Процесс тепловой обработки занимает 70-80% времени всего цикла изготовления.

На заводах сборного железобетона применяются различные установки ускоренного твердения бетона. Повышение эффективности работы этих установок является важнейшим мероприятием по увеличению выпуска продукции.

Немаловажное значение имеет также сокращение удельных расходов тепла на тепловую обработку бетона. Большие удельные расходы тепла вызывают на многих предприятиях перебои в работе, особенно в зимнее время.

В связи с этим приобретают большое значение исследование теплотехнических характеристик установок для тепловой обработки изделий.

Тепловая обработка оценивается по прочности достигнутой ко времени ее окончания в процентах от прочности того же бетона в 28-суточном возрасте нормального твердения. Эффективность такой обработки зависит от выбора исходных материалов и состава бетона, а также от принятого режима обработки.

1 Устройство и принцип работы автоклава

Тепловлажностная обработка изделий под давлением выше атмосферного осуществляется в автоклавах. Эти установки(тупиковые с одной крышкой или проходные с двумя) представляют собой герметично закрывающиеся стальные сосуды цилиндрической формы диаметром 2,2-3,6 м и длиной 15-30 м.

Автоклав устанавливают на опорах позволяющих ему удлинятся при нагревании. Пар подеется через штуцер к перфорированной трубе, размещенной внутри автоклава. конденсат удаляют через спускной клапан. Внутри автоклава проложен рельсовый путь, а который вкатывают вагонетки с пропариваемыми изделиями.

Во избежание больших тепловых потерь в окружающую среду все внешние поверхности автоклава покрывают тепловой изоляцией, что способствует интенсификации самого технологического процесса и, кроме того, является одним из важнейших мероприятий по охране труда.

Следует иметь ввиду, что температура, создаваемая в автоклаве, зависит не от общего давления в нем, а только от парциального давления пара, поэтому присутствие воздуха в автоклав является вредным. При уменьшении температуры насыщения воздух обычно отсасывают путем вакуумирования.

Особенность тепловой обработки в автоклавах- сохранение воды в жидкой фазе при давлении насыщенного пара 0,9-1,3 МПа и температуре около 160-180оС. Это создает благоприятные условия как для значительного ускорения твердения, так и для образования новых фаз и соединений в бетоне.

Основная составляющая цементирующего вещества, определяющая прочность, гидросиликаты и, в меньшей степени, гидроалюминаты и гидроферриты кальция. В зависимости от технологических факторов составы этих соединений могут меняться.

Для предотвращения деструктивных процессов на ранней стадии твердения бетона применяют режимы с быстрым подъемом температуры до 1-2 ч., которые обеспечивают создание избыточного давления паровоздушной среды (0,03-0,05МПа) в автоклаве в начальный период запаривания, когда происходит обжатие бетона паровоздушной средой, что предотвращает развитие в нем деструктивных процессов в начальной стадии твердения.

Избыточное давление создается либо подачей пара в герметически закрытый авоклав, либо подачей пара при открытых вентилях для выпуска воздуха и конденсата. При создании избыточного давления посредством подачи пара вв герметически закрытый автоклав из-за снижения температуры запаривания на 5-7 оС по сравнению с отсутствующей температурой среды чистого насыщенного пара максимальное давление в автоклаве при изотермической выдержке увеличивает на 0,1-0,25 МПа. Избыточное давление посредством подачи пара при открытых вентилях для выпуска воздуха и конденсата создается через 10-15 мин после продувки автоклава.

Для предотвращения осадки бетонной смеси за счет создания избыточного давления на ранней стадии твердения пластическая прочность бетона перед запариванием должна быть не менее 0,35 МПа.

Продолжительность изотермической выдержки назначают с учетом времени, необходимого для полного прогрева изделия, и для взаимодействия вяжущего с кремнеземистым компонентом, обеспечивающим максимальную прочность изделия по всему сечению.

Продолжительность третей стадии запаривания устанавливают в зависимости от толщины изделий, вида и плотности бетона.

2 ТВО бетона при избыточном по сравнению с атмосферным, давлением. Автоклав

Исследования показали, что избыточное давление в период твердения бетона оказывает большое влияние на его строение и прочность. Прочность бетона, прогреваемого в формах под давлением 0,25 МПа, выше, чем в закрытых формах в 1,5 раза.

Механическое обжатие бетона 0,005-0,01 МПа позволяет сократить цикл ТВО и увеличить прочность ,даже жесткие металлические формы способны противостоять температурные и влажностные расширения бетона, улучшая его механические показатели, поэтому наблюдается тенденция использования избыточного давления в период ТВО ,не только для получения силикатных и легких бетонов, но и для ТВО тяжелого бетона.

Если любой бетон поместить в герметичную установку, и провести ТВО паром, то в нем, как и при ТВО в установках с атмосферным давлением, будет идти процессы тепло- и массо- обмена.

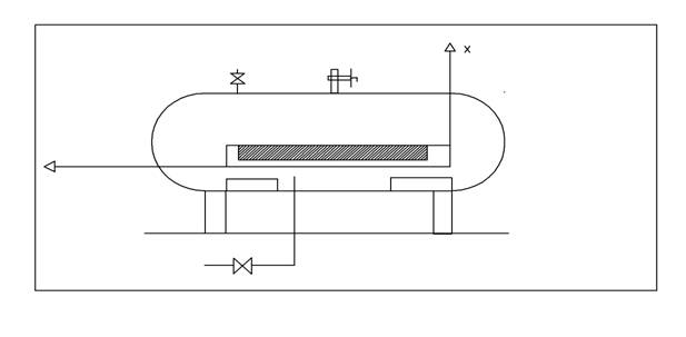
Возьмем полностью герметичную установку 1,поместим в нее изделие 2 в стальной форме.

Рис 1.Система герметичной установки автоклава

Установим оборудование подачи пара 3,систему отвода конденсата 4,систему вакуумирования 5,вентиль на системе 6,и предохранительный клапан 7,защищающий2 установку от развития в ней сверхдопустимого давления.

В такую установку можно, закрывая вентиль на системе отбора воздуха, подать пар по системе 3 необходимое избыточное давление 1-1,2 МПа, тогда пар будет поступать в установку в которой уже находится воздух ,общее давление Ру начнет возрастать. В любой момент она будет складываться из парциального давления пара Рп и парциального давления воздуха Рв,в соответствии с ростом давления в установке будет увеличиваться и температура ,т.к. температура пара внутри установки для данного случая представляет собой функцию его парциального давления tп=f(Рп).Пар конденсируется на материале ,отдает теплоту материалу ,нагревая открытую поверхность и создает пленку конденсата ,одновременно нагревается и форма.

Рассмотрим этот процесс на неограниченной пластине с координатами Х и Y.

Поверхность материала будет нагреваться несколько больше чем днище формы и температурное поле в пластине распространится по неравнобочной гиперболе, если его отложить на оси У в выбранном масштабе. Из-за неравномерности температурного поля ∆Т1 и ∆Т2 вызывающие частные потоки массы qmt1 и qmt2 в следствии термообработки.

Материал увлажняется под действием частного потока массы qmt1 от пленки конденсата ,толщиной δ ,а у днища формы влага передвигается к центру изделия за счет частного потока массы qmt2 , в результате поле влагосодержания U принимает характер восходящей параболы из-за образовавшегося градиента влагосодержания ∆U возникает частный поток массы qmv.

Если рассмотреть поле температур и влагосодержания по сечению пластины и сравнить с процессом нагрева в открытой форме, помещенной в установку с атмосферным давлением, то можно заметить их идентичность .Однако ,в силу увеличения разности температур в установке, с давлением 1-1,2 МПа, свежезагруженной материалов и паро-воздушкой смесью, перепады температур и влагосодержания значительно выше. Следовательно в изделии, вследствие увеличения периодов температур и влагосодержания при температурном расширении слоев и при набухании слоев из-за увеличения перепада влагосодержания возникает идентичное по форме, но значительно большее напряженное состояние. Однако, в рассмотренной установке на открытую поверхность бетона действует избыточное давление, которое вместе со стенками и днищем формы ,обжимает бетон в процессе нагрева и позволяет получить лучшую структуру и повысить качество изделий.

Рис 2.Схема распределения темпартур,влагосодержания и давления для периода нагрева в установке с избыточным давлением по сравнению с атмосферным

1-материал,2-днище формы,3-пленка конденсата толщиной δ

U,T,P-кривые распределения влагосодержания,температур и давления соответственно

∆U,∆T,∆P-направление векторов градиентов

qmt,qmv,qmp-частные потоки массы

Рассмотрим воздействие избыточного давления, образующегося внутри материала ,на внутренний тепло- и массо-обмен. По указанной ранее причине в материале возникает избыточное давление ,пропорциональное температуре материала в каждой точке поперечного сечения. Если при атмосферном давлении в установке, это давление на поверхности релаксировалось,т о в данном случае с поверхности на материал и через неплотности в днище будет действовать значительно большее избыточное давление чем внутри материала, поэтому релаксации не будет, а скорее наоборот, давление в материале будет несколько выше чем в процессе нагрева ,поэтому считается что кривая Р будет аналогом кривой Т, соответственно ∆Р1 и ∆Р2 обуславливают возникновение частных потоков массы qmp1 и qmp2 направленных к центру изделий.

Сравнивая сумму частных потоков массы можно отметить, что в установке работающей с избыточным давлением у днища формы бетон должен характеризоваться меньшим влагосодержанием, чем в установке работающей при атмосферном давлении.

Обработанный бетон при избыточном давлении имеет лучшую структуру и более высокие прочностные показатели.

Избыточное давление компенсирует нарушения структуры, возникающие из-за большой неравномерности влагосодержания.

Для повышения температуры и коэффициента теплоотдачи к материалу в установке, работающей на избыточном давлении, применяют вакуумирование или продувку. и тот и другой методы рассчитаны на удаление воздуха и получения среды чистого пара.В этом случае достигается более высокая температура и больший коэффициент теплоотдачи к материалу при одном и том же давлении.

Процесс вакуумирования выглядит так: после загрузки, установку герметизируют и включают вакуум-насос, вакуумирует воздух до достижения 70-75% полного вакуума в течении 10-15 мин.При этом кроме воздуха из установки, удаляется и часть воздуха из бетона, что позволяет получать изделия с более плотной структурой, подача пара с парциальным давлением, позволяет обжать бетон, и также улучшить его прочностные показатели.

Продувка установки выглядит так: после загрузки установку не герметизируют, оставляют открытой дверь или гидравлический затвор,

Продувка позволяет увеличить температуру больше чем вакуумирование, т .к. из установки удаляется весь воздух, однако, длится она 1-2 ч при нагреве до 100оС именно тогда когда бетон нуждается в обжатии.

Во время изотермической выдержки, вследствие уравнивания температурного поля и поля влагосодержания, происходит ослабление напряженного состояния при охлаждении из автоклава сбрасывается пар, давление падает температура снижается. Понижение температуры приводит к охлаждению материала, сопровождающегося испарением влаги.

В материале возникают перепады ∆Т и ∆U,а по мере приближения давления к атмосферном возникает ∆Р.Эти градиенты вызывают частные потоки массы, направленные к поверхности аналогичны процессу в камере, где ТВО ведется насыщенным паром.

Таким образом тепло- и массо-обмен,а также возникающие напряженные состояния при обработке паром в автоклаве,близки по физической сущности к процессам проходящим в пропарочной камере при ТВО.

3 Технологический расчет

Продолжительность теплового цикла работы камеры:

τ=τз+ τн+ τи+ τо +τв,ч

Где:

τз, τн, τи, τо ,τв-соответственно время загрузки, нагрева, изотермической выдержки, охлаждения и выгрузки ,ч

τн= (t2-t1)\Vп ,ч

где:

t1- температура цеха;

t2- начальная температура;

Vп—скорость подъема температуры.

t1=16 oC, t2=180 oC ,Vп=25 оС\ч

τн=(180-16)\25=6,56 ч

τо=(t2-t’1)\Vо ,ч

где:

t’1-температура,при которой изделия извлекаются из камеры после ТВО, С

Vо-скорость понижения температуры в камере,

t’1 =40 оС , Vo=30 oC\ч

τо=(180-40)\30=4,67 ч

τ=1+6,56+5+4,67+1=18,23 ч

Суточная производительность тепловых установок:

Vc=Vг\(τг+kρ),м3\сут,

Где:

Vг-годовая производительность завода(цеха),м3\год;

τг—нормированное количество рабочих дней в году;

kρ-коэффициент использования оборудования.

Vг=13560 м3\год , τг=245 , кр =0,91

Vc =13560\(245*0,91)=60,82 м3\сут

Оборачиваемость камер:

m=24\τ

m= 1,37

Количество изделий,изготовленных в сутки:

m из= Vc\Vи,

Vи-объем одного изделия,м3

Vи-=2,669 м3

m из=23

Количество изделий,загружаемых в камеру:

nи=H\h

n из=12 шт

где:

H-ориентировочная высота рабочего пространства пропарочной камеры,м

h-шаг изделия по высоте(сумма высоты формы и расстояния между ними),м

Основные размеры рабочей камеры тепловой установки:

Ширина B=в+2в”+2в’,м В=1,906 м

Длина L=l+2в”+2в’,м L=19,158 м

Высота H=(a+a’) nи +c’(nи -1)+c+d,м Н=3,5 м

Где:

в-ширина изделия,м

в’-расстояние от внутренней стенки камеры до формы,м

в”-ширина полки формы,м

l-длина изделия,м

а-толщина изделия,м

а’-толщина дна формы,м

с-расстояние от дна камеры до низа формы,м

с’-расстояние между формами,м

d-расстояние от крышки камеры до верхней формы,м

Исходя из полученных расчетных данных выбираем автоклав тупикового типа с параметрами:

D=2 м ; Lкорп=19,245 м ;Раб.давление= 0,9 МПа ;Ширина колеи вагонетки= 0,75 м ;Масса= 20,57 т ;Габаритные размеры: L= 20,825 м, В=2 м,Н=4 м.

Объем рабочей камеры установки:

Vк=L*B*H,м3 Vk=127,803 м3

Коэффициент загрузки камеры:

kз=( Vи *nи)\ Vк к=(2,669*12)\127,803=0,25

количество пропарочных камер с учетом резерва:

nk=nиз\(nи*m)+(1…2),шт nk=2

4 Теплотехнический расчет

Уравнение теплового баланса установки имеет вид:

Qист=Qб+Qв+Qф+Qо+Q5+Qп -Qэкз,кДж,

Qист- количество теплоты,кДж,которое должно быть подведено источником(теплоносителем) к епловой установке,

Qб-теплота на нагрев бетонных и железобетонных изделий в камере,кДж;

Qв-теплота на нагрев воды в бетонной смеси изделий камеры,кДж;

Qф-теплота на нагрев форм,арматуры и других закладных частей из металла,кДж;

Qо-теплота,затрачиваемая на нагрев ограждающих конструкций(стен,крышки,пола),кДж;

Q5-потери теплоты конструкцией тепловой установки в окружающую среду,кДж;

Qп--неучтенные потери теплоты,кДж;

Qэкз-количество теплоты,выделяющейся в процессе экзотермических реакций цемента с водой затворения,кДж.

Qб=Gб*сб (t2-t1),кДж

Qв=Gв*св (t2-t1),кДж

Qф=Gф*сф (t2-t1),кДж

Где:

Gб, Gв, Gф- соответственно полная масса бетонных изделий, воды в бетонной смеси изделий и металла(форма, арматура, закладные детали) в камере, кг;

сб, св, сф- соответственно удельные теплоемкости сухой массы бетона, воды и металла, кДж \(кг К);

t2-максимальная температура в конце стадии нагрева, С

t1-начальная температура С, как правило, принимается равной температуре цеха.

Gб=16727 кг

Gв=4270,4 кг

Gм = 26250,672 кг

Сб=0,837 Св=4,187 См=0,481

Qб=16727*0,837(180-16)=2016071,8 кДж

Qв=4270,4*4,187(180-16)=2574743,73 кДж

Qм=26250,672*0,481(180-16)=1818226,545 кДж

Qо=0,85(t2-tв-35)√с*λ*ρ*τт *F ,кДж

Где:

tв-температура окружающей среды(цеха),С

с, λ, ρ-удельная теплоемкость и плотность материала,из которого выполнено ограждение;

F-площадь ограждения, аккумулирующая теплоту,м2;

τт-продолжительность цикла тепловой обработки,

τт= τн+ τз+ τв,

τт=8,56 ч

F=173,305 м2

Qо=0,85(180-16-35)√0,46*56*7800*8,56 *173,305=24921652,8245 кДж

Q5= Q5’+ Q5”+ Q5’”

Где:

Q5’-потери теплоты в окружающую среду через стены установки, соприкасающейся с воздушной средой цеха, т.е. выступающего над землей, кДж;

Q5”-потери теплоты в окружающую среду через крышку, кДж;

Q5’”-потери теплоты через пол и стены, соприкасающиеся с землей, кДж

Q5’= F*q*τ

Для определения величины теплового потока от стены к воздушной среде цеха q(кДж\ч) необходимо принять в соответствующими с действующими требованиями температуру наружной поверхности вертикальной стенки tнар и подсчитать значение коэффициента теплоотдачиот стенки в окружающую среду α2 :

α2=2,64√ tнар-tв +(си\( tнар-tв)) [((273+ tнар)\100)4 –((273+tв)\1004]=

=2,6 4√20-16 +(4,6\(20-16)) [ ((273+20)\100)4-((273+16)\100)4]=8,21

где:

си-величина, характеризующая излучательную способность стенки;принимается равной 4,6.

В качестве теплоизоляции установки выберем плиты минераловатные с теплопроводностью λиз=0,059 ВТ\(м2 *оС).Зададим толщину теплоизоляции δ=0,22м и найдем величину теплового потока от стены к воздушной среде цеха:

q=[(tср-tв)*3,6]\( δii +1\α2),кДж;

где:

tср- средняя температура внутренней поверхности стенки(ограждения), оС;принимается равной 150 оС

α1-коэффициент теплоотдачи от теплоносителя к внутренней поверхности стенок(ограждений)камеры,Вт\м2К;

q=((150-16)\3,6)\(0,024\56+0,22\0,059+0,003\56+1/8,21)=125,263 кДж\ч

Проверяем значение температуры наружной стенки формулой:

tнар= tср- q\ 3,6*( δизиз+ δстст + δсс)=150- 125,263\3,6*(0,024\56+0,22\0,059+0,003\56)=20,238 оС

Q5=173,305*125,263*8,56=185826,508 кДж

Неучтенные потери:

Qп=(0,1…0,2)(Qб+Qв+Qф+Qо+Q5),кДж

Qп=0,15*(2016071,8+2574743,73+1818226,545+185826,508)=5402478,211 кДж

Qэкз=qэкз*Gц,кДж

Где:

Gц –масса цемента во всех изделиях, загружаемых в камеру,кг

qэкз-теплота выделяемая при гидратации 1 кг цемента,кДж\кг

tср.б=[0,5(t1+t2)+t2+(t2+t1)0,5]\3=(0,5(180+16)+180+(180+16)*0,5)\3=

=125 оС

qэкз=0,0023 q28*tср.б (В\Ц)0,44τ=0,0023*335*125*(0,4)0,44*6,56=464,385 кДЖ\кг

Gц=Ц*Vи*nиз=450*12*2,669=14412,6 кг

Qэкз=14412,6*464,385=6692005,251 кД

q28-количество теплоты экзотермии при твердении бетона в естественных условиях, кДж\кг(принимается по справочным данным);

τ-продолжительность рассматриваемого периода ТВО для которого определяется Qэкз

Общий расход теплоты за период нагрева:

Qнист=2016071,8+2574743,73+1818226,545+185826,508+5402478,211-6692005,251=34726994,3667 кДж

Расход пара(теплоносителя)в период подъема температуры:


Где:

iи ik –соответственно энтальпии пара подаваемого в камеру ,и конденсата, отводимого из камеры, кДж\кг i=2758 и ik=675,5

Dн=34726994,3667\((2758-675,5)*6,56))=2542,01 кг\ч

В период изотермической выдержки уравнение теплового баланса имеет вид:

Qиист=Q5+Qп+Qвл-Qэкз ,кДж,

Где:

Qвл- расход теплоты на испарение влаги из бетона в период изотермической выдержки,кДж.

Для тяжелого бетона

Qвл=0,015*Gвл*r ,кДж;

r-теплота парообразователя,кДж\кг;

Qвл=0,015*4270,4*2082=133364,592 кДж

qэкз=0,0023 q28*tср.б (В\Ц)0,44τ=0,0023*335*125*(0,4)0,44*5=357,2 кДж\кг

Qэкз=5148457,88

Qиист=185826,508+5402478,211+133364,592-5148457,88= 573211,431 кДж

Расход пара в период изотермической выдержки:

Dи=Q иист\[(i-ikи],кг\ч.

Dи=573211,431 \((2758-675,5)*5)=55,05 кг\ч

Удельный расход теплоты и пара(теплоносителя):

qу=(Qист+Qи ист)\(Vи*nи) кДж,м3 бетона;

qу=(573211,431 +34726994,3667)\(2,669*12)=1102167,0350 кДж\м3 бетона

d= qу\(i-ik),кг пара\м3

d=1102167,0350 \(2758-675,5)=296,4 кг пара\м3

5 Расчет подачи пара(теплоносителя)

Fтр=Dн(и)\(ρ*ω*3600),

Где:

Fтр-площадь поперечного сечения паропроводов,м2

ρ-плотность пара,кг\м3

ω-скорость пара,м\с.

Fтр=2542,01\(3600*25*5,51)=0,00512 м2 или 5,12 см2

D=√(5,12*4)\3,14=2,5 диаметр трубопровода принимает равным 3 см.

Количество отверстий в перфорированных трубах для подачи в камеру необходимого расхода пара:

n=Dн(и)\[0,67d20√(0,02+0,48p1)(p1-p2)*100], шт

где:

p1 и p2 –абсолютное давление пара в перфорированной трубе и камере.

n=2542,01\(0,67*32 √(0,02+0,48*0,15)(0,15-0,1)*100) =196,5=197 шт.

6 Технико-экономические показатели

1.Назначение и тип установки: Автоклав

2.Вид материала: Плиты перекрытия ребристые

3.Производительность установки: 13560 м3\год

4.Суточная производительность установки: 60,82 м3\сут

5.Количество изделий,размещаемых в установке: 12

6.Класс прочности бетона: В 15

7.Время нагрева: 6,56 ч

8.Время охлаждения: 4,67 ч

9.Продолжительность полного цикла работы камеры: 18,23 ч

10.Теплота на нагрев бетонных и железобетонных изделий в камере: 2016071,8 кДж

11.Теплота на нагрев воды в бетонной смеси камеры: 2574743,73 кДж

12.Теплота на нагрев металла в камере: 1818226,545 кДж

13.Потери теплоты через стены установки: 185826,508 кДж

14.Неучтенные потери теплоты: 5402478,211 кДж

15.Расход пара в период подъема температуры: 2542,01 кг\ч

16.Расход пара в период изотермической выдержки: 93,18 кг\ч

17.Удельный расход теплоты и пара за весь цикл тепловой обработки: 369643,75 кДж\м3 бетона

18.Площадь поперечного сечения паропроводов: 5,12 см2

19.Диаметр паропровода: 2,5 см

20.Количество отверстий в перфорированных паропроводах,для подачи необходимого количества пара в установку: 197 шт.

7 Автоматизация тепловой обработки изделий

Эффективность управления производством в современных условиях в значительной мере определяется наличием методов и технических средств управления качеством продукции на всех стадиях технологического процесса. Задачи управления качеством продукции, оптимизации технологических процессов решаются на базе комплексной автоматизации производства, широкого внедрения систем и средств автоматизации. Одним из основных условий успешного решения задач автоматизации производства является обеспечение систем автоматического управления технологическими средствами оперативного автоматического контроля параметров-характеристик автоматизированных технологических процессов − физических, химических и других величин, информация о которых необходима для обеспечения оптимального управления тем или иным процессом. Степень обеспеченности технологического процесса такими средствами наряду с уровнем механизации автоматизированного производства (процесса, передела) и достигаемые технико-экономические эффекты являются определяющими, а зачастую, и лимитирующими при оценке возможности и целесообразности организации автоматизированного управления, создания конкретных систем автоматизации в производстве сборного железобетона.

Автоматизация технологического процесса производства железобетона требует использования автоматизированных средств для контроля основных возмущающих воздействий и качественных характеристик железобетонных изделий, информация от которых может использоваться в целях оптимального управления производством.

Тепловая обработка, обеспечивает ускоренное твердение отформованных бетонных изделий в специальных теплоагрегатах. Основная цель автоматического контроля и управления этим процессом заключается в соблюдении заданных режимов твердения бетона при минимальном расходе энергоресурсов.

Эффективность автоматизации тепловой обработки во многом определяется выбором регулируемого параметра, характеризующего ход процесса ускоренного твердения бетона.

Большинство существующих систем автоматического контроля и управления процессами тепловой обработки железобетонных изделий предназначено для регулирования процесса твердения (а также его контроля) по температуре теплоносителя (в объеме тепловой установки — камера-автоклав) или конденсата, отводящегося из отсеков термоформ, кассет или других установок, где прогрев бетона осуществляется без непосредственного контакта теплоносителя с бетоном.

Системы автоматического управления процессом в автоклавах обеспечивает программное регулирование процесса по давлению или температуре,измерения и запись контролируемых параметров,блокировку подачи теплоносителя в зависимотси от состояния крышек автоклава ,повторное использование отработанного пара ,светозвуковую технологическую и аварийную сигнализацию. Программное регулирование теплового процесса по давлению основано на преобразовании показателей манометра в электрический сигнал постоянного тока, который подается на вход регулятора .После загрузки автоклава, закрытия крышек, срабатывают блокировочные устройства и начинается процесс запарки .Если давление линии перепускного пара больше чем в автоклава, то пар поступает из этой линии до тех пор, пока разница давлений не достигнет 0,18-0,2 МПа.При такой разнице переключатся исполнительные механизмы, управляемые регулятором на подачу теплоносителем из линии острого пара. Пар, выпущенный из автоклава, поступает в перепускную линию до достижения указанной разницы давлений после чего пар выпускается в атмосферу. Светозвуковая технологическая и аварийная сигнализация отражает положение регулирующих и запарных органов, крышек автоклавов, недопустимое отклонение регулируемого параметра от заданного.

Основным параметром для системы автоматического регулирования процесса тепловой обработки в автоклавах должна быть температура, автоматически поддерживаемая согласно заданной программе:

Рис.3 Схема пароснабжения двух автоклавов паровым аккумулятором

На Рис.3 показана схема пароснабжение с паровым аккумулятором, где по системе 1 подается рабочий пар из системы пароснабжения предприятия. Эта система имеет подводы к каждому автоклаву, которые на рисунке обозначены соответственно I и II.Системы 3 предусматривает удаление конденсата из каждого автоклава через конденсаторноотделительное устройство 4 в конденсационную сеть. Система 2 служит для присоединения автоклавов к вакуум-насосу. Система 5 предназначена для отбора пара из автоклавов и передачи его либо в паровой аккумулятор, либо на перепуск в другой автоклав, либо для выброса отработанного пара в атмосферу через трубопровод 7. Система 6 служит для перепуска пара в автоклавы .Назначение системы 8-передавать пар в емкость-аккумулятор III или для отбора из аккумулятора. Все системы снабжены вентилями 10.

Пусть в первом автоклаве закончился период изотермической выдержки, который проводится при Р=1 МПа, второй автоклав только загружен и нуждается в подаче пара, рабочая емкость- паровой аккумулятор заполнен горячей водой при давлении 0,1 МПа, автоклавы предназначены для вакуумирования без продувки. Так как автоклав II нуждается в паре, а из автоклава I нужно отбирать пар, то из одного в другой пара перепускают.

Для этого открывают вентили а,б,в,г,все остальные должны быть закрыты.Тогда автоклавы I и II окажутся соединенными между собой через систему 5(вентиль а) и систему 6(вентили б и в) и вентиль г, обеспечивающий подачу пара в автоклав II через перфорированную трубу. Путь пара показан пунктирной линией.

8 Охрана труда и техника безопасности

Общие требования для машин и оборудования:

-перед пуском машин необходимо убедится в надежном креплении ограждений всех перемещающихся деталей,креплении заземляющегося провода у пусковой электроаппаратуры,в отсутствии вблизи запускаемого механизма людей;

-все площадки для обслуживания оборудования должны быть ограждены перилами высотой 1,2 м.

-пуск и остановку оборудования работающего в общем потоке необходиом осуществлять только после подачи определенных сигналов(звуковых или световых)

-рабочий,обслуживающий технологическое оборудование не должен самостоятельно ремонтировать или налаживать электрическую пусковую или блокирующую аппаратуру.

В цехах где по технологическим условиям расчетная температура воздуха ниже 20оС ,необходимо предусмотреть воздушные завесы. Во всех производственных или вспомогательных зданиях должна предусматриваться естественная или принудительная вентиляция.

В целях предотвращения загрязнения воздуха помещений с вредными выделениями :оборудование, приборы, трубопроводы и другие источники, выделяющие теплоту должны быть теплоизолированные. Агрегаты и оборудование, при эксплуатации которых происходит влаговыделение, должны быть укрыты и влагоизолированны. Технологические процессы, связанные с выделением пыли должны быть организованны так, чтобы их работа осуществлялась без участия людей, а выделяющиеся технологические выбросы должны быть очищены перед выбросом в атмосферу.

В цехах, где используются вибрационные машины, должны быть приняты меры по устранению воздействия вибрации и снижению уровня шума.

При приготовлении бетонной смеси необходимо следить за исправностью работы вентиляционной системы, герметизацией кабин пультов управления дозаторами и смесителями, системой сигнализации и автоматизации.

Для предотвращения утечки пара из установок в период ТВО, в местах примыкания крышек к камерам устанавливают специализированные затворы, обеспечивающие достаточный уровень герметизации.

Паропроводы покрывают теплоизоляцией, а парораспределительные устройства ограждают или устанавливают в местах, исключающих возможность ожогов обслуживающего персонала. Доступ рабочих в камеры разрешается при температуре в них не выше 40 оС.

Все работники ,занятые на прогреве бетонных конструкций должны пройти инструктаж по правилам охраны труда и получить соответствующие удостоверения .Зону прогрева нужно оградить и оборудовать системой сигнализации и блокировки.

Использованная литература

1. Общесоюзные нормы технологического проектирования предприятий сборного железобетона (ОНТП-7-80) / Минстройматериалов СССР.-М: Стройиздат, 1983.-32с.

2. Общесоюзные нормы технологического проектирования предприятий по производству изделий из ячеистого и плотного бетонов автоклавного твердения (ОНТП 09-85) / Минстройматериалов СССР.- Таллин: Стройиздат, 1986.-115с.

3. Инструкция по изготовлению изделий из ячеистого бетона (СН 277-80) / Госстрой СССР.-М: Стройиздат, 1981.-48с.

4. Пособие по тепловой обработке сборных железобетонных конструкций и изделий (к СниП 3.09.01-85).-М:Стройиздат, 1989.-49с.

5. Производство сборных железобетонных изделий: Справочник/Г. И. Бердичевский, А.П. Василиев, Л.А. Малинина и др.; Под ред. К.В. Михайлова, К.М. Королева.-2е изд., перераб. и доп. -М.: Стройиздат, 1989.-447с.

6. Справочник по производству сборных железобетонных изделий. Под ред. Б.Г. Скрамтаева и П.К. Балатьева Т. 1-2 М., Стройиздат, 1965.-453с.

Похожие работы на - Разработка тепловой установки для тепловлажностной обработки бетона

 

Не нашли материал для своей работы?
Поможем написать уникальную работу
Без плагиата!
Без нейросетей!