Статическая балансировка роторов

  • Вид работы:
    Дипломная (ВКР)
  • Предмет:
    История техники
  • Язык:
    Русский
    ,
    Формат файла:
    MS Word
    180,19 kb
  • Опубликовано:
    2009-01-12
Вы можете узнать стоимость помощи в написании студенческой работы.
Помощь в написании работы, которую точно примут!

Статическая балансировка роторов

Установка для статической балансировки роторов методом прямого измерения статического момента

1. ВВЕДЕНИЕ.

 Целью и задачей настоящей работы является изучение процесса статического уравновешивания. Известно, что с развитием научно технического прогресса, скорости вращения деталей машин возросли до нескольких десятков а в некоторых условиях сотен тысяч оборотов в мин. При таких скоростях даже незначительная неуравновешенная масса может привести к выходу из строя и даже аварии механизма или аппарата. Но здесь идет речь уже о динамической балансировке. Как промежуточная стадия динамической балансировки является статическая. Она позволяет выявить явную неуравновешенность ротора. В настоящей работе также целью является повышение точности статической балансировки, и её автоматизация. Это удалось благодаря широким патентным исследованиям. Была разработана оптимальная модель лабораторного стенда для статической балансировки роторов. Здесь нам удалось решить вопрос понижения коэффициента трения в опорах. Оригинальность решения состоит в том, что еще в процессе проектирования была заложена база для дальнейшей модернизации и улучшения работы отдельных узлов стенда. Для универсальности изготовления используются промышленные узлы и детали. Результатом работы должна стать готовая лабораторная установка, на которой можно проводить эксперименты.

 Теория балансировочной техники представляет собой комплекс весьма сложных и важных для современного технического прогресса разделов, к которым относятся:

I. Теоретические основы балансировки жестких роторов и станков для их уравновешивания.

II. Теория и средства балансировки гибких роторов.

III. Теория и уравновешивание механизмов.

IV. Теория допустимых дисбалансов роторов.

I

 Как известно, при конструировании каждого ротора должны выполняться два условия. Во-первых, ротор должен представлять собой уравновешенное тело в случае точного его изготовления. Во-вторых, у ротора должны быть предусмотрены плоскости коррекции, в которых он может быть уравновешен после изготовления и при ремонте.

 Балансировка вращающихся масс является одним из основных средств уменьшения вибраций и увеличения надежности и долговечности машин и приборов.

 Первоначально задача уравновешивания решалась расчетным и экспериментальным путем. Точное инструментальное уравновешивание вращающихся масс оказалось возможным только к концу XIX в. в связи с внедрением высокооборотных паровых турбин. Специально сконструированные для динамического уравновешивания роторов балансировочные станки появились в начале XX в.

 Увеличение скоростей вращения и масс роторов вызвало постоянно возрастающую необходимость в увеличении точности уравновешивания и производительности балансировочных станков. Это создало благоприятные условия для расширения фронта работ по усовершенствованию балансировочного оборудования и изысканию новых принципов его работы.

 В конце 30-х годов наибольшее распространение нашли станки с маятниковой рамой и различными конструкциями механических и электромеханических измерительных приборов для определения дисбалансов ротора в плоскости коррекции.

Балансировочные станки этого класса позволяют балансировать роторы с высокой точностью. Их используют в настоящее время на таких участках производства, где не требуется большая производительность.

 В последующие годы благодаря успехам в области электроники появилась возможность создания чувствительных балансировочных станков с подвижными опорами без использования явления резонанса механической системы. Это позволило сохранить одновременную подвижность обеих опор ротора во время балансировки, применить электрическую схему для устранения взаимного влияния плоскостей коррекции и исключить операцию переустановки ротора в процессе уравновешивания. Соединение этого преимущества с легкостью и удобством отсчета величины и места корректирующих масс на электронных измерителях заметно уменьшило время балансировки роторов. Повышенная производительность таких станков обеспечила им быстрое и широкое распространение в различных отраслях промышленности.

 Первое фундаментальное исследование динамики балансировочных станков, произведенное выдающимся русским ученым акад. А. Н. Крыловым, совпадает с распространением балансировочных станков и методов статического и динамического уравновешивания роторов.

 Теория балансировочных станков продолжает совершенствоваться и в настоящее время.

II

 Стремление к увеличению скорости вращения роторов в современных машинах и приборах приводит к необходимости увеличения ее до значений, превышающих первую, а иногда вторую и третью критические скорости.

 При таких скоростях вращения роторы становятся гибкими, вследствие чего балансировка их в двух плоскостях коррекции оказывается недостаточной. Это объясняется тем, что уравновешивание гибкого ротора в двух плоскостях коррекции может быть выполнено

только для определенной скорости вращения. При любой другой скорости ротор вновь становится неуравновешенным. По этой причине роторы, полностью уравновешенные на балансировочном станке при сравнительно малой скорости, снова получаются неуравновешенными при эксплуатационных скоростях.

 В настоящее время гибкие роторы уравновешиваются в трех и большем числе плоскостей коррекции на специальных станках и стендах или непосредственно в собственном корпусе на месте их установки. Специфика уравновешивания гибких роторов была подмечена еще А. Стодолой и разрабатывалась В. Блессом . Однако этой проблеме было уделено достаточное внимание только в середине 50-х годов.

 Большое влияние на теорию и практику балансировки гибких роторов оказала работа А. Мильдаля, в которой обоснован принцип независимого уравновешивания каждой гармоники функции распределенного дисбаланса, которое следует производить при вращении ротора на соответствующих критических скоростях.

 Теория уравновешивания гибких роторов по собственным формам колебаний была развита в работах советских ученых и др. Эта теория является исходным направлением в практике уравновешивания. Однако ее применение ограничивается сложностью операций. Так, для того чтобы отбалансировать ротор по n формам собственных колебаний, необходимо сделать n+1 запусков турбомашины с распределением вдоль ротора n систем пробных грузов.

 Следует указать на развитие и других методов уравновешивания гибких роторов, не требующих знания форм собственных колебаний. Это экспериментально-расчетные методы определения эксцентриситетов по изменению деформации ротора, реакций опор и др.

 Использование этих новых методов в настоящее время стало возможным благодаря применению ЭВМ.

 Теория уравновешивания гибких роторов применительно к турбогенераторам получила практическое применение на заводе “Электросила”. В авиационной промышленности разработаны и построены виброизмерительные балансировочные стенды с вакуумной камерой, позволяющие производить балансировку гибких роторов турбомашин в условиях, близким к эксплуатационным.

III

 Уравновешивание механизмов имеет в настоящее время весьма большое значение в технике в связи с необходимостью создания более мощных и более производительных поршневых машин и различных механизмов для реализации высокоскоростных технологических процессов в текстильной, обувной, пищевой, металлообрабатывающей и других отраслях промышленности.

 Основы теории уравновешивания механизмов были заложены в работах акад. И. И. Артоболевского и затем успешно развивались в области уравновешивания:

Плоских механизмов;

Пространственных механизмов;

Механизмов с несимметричными звеньями;

Механизмами с переменными массами звеньев;

Механизмов многоцилиндровых машин с одинаковыми и неодинаковыми шатунно-поршневыми группами.

1) Наиболее полно разрешены задачи статического уравновешивания как плоских, так и пространственных механизмов с постоянными массами и с симметричными звеньями. Эти задачи решаются методом приведенных точечных масс или методом векторов главных точек звеньев.

Однако в связи с непрерывным ростом скоростей звеньев снижение уровня вибраций и увеличение производительности механизмов за счет только статического уравновешивания становится невозможным. Поэтому приходится применять на практике методы динамического уравновешивания механизмов. Полное решение этой задачи встречает большие конструктивные трудности. Однако точное уравновешивание в любом плоском механизме с симметричными звеньями и с постоянными массами главного вектора и первой гармоники главного момента системы неуравновешенных сил достигается простыми конструктивными средствами.

 Например, для шарнирного четырехзвенного механизма необходимы две корректирующие массы, для кривошипно-ползунного механизма - одна корректирующая масса и т. д. Качество такого уравновешивания плоских механизмов получается весьма хорошим.

 2) Уравновешивание пространственных механизмов имеет в настоящее время важное значение для многих отраслей народного хозяйства. Такие механизмы встречаются в самолетах, автомобилях, в приборах различного назначения, а также в сельскохозяйственных текстильных, обувных, пищевых и других машинах. Определение момента неуравновешенных сил и нахождение условий, при которых эти силы будут отсутствовать, представляет несравненно более сложную задачу, чем в случае плоских механизмов, и требует для своего решения специального математического аппарата.

 В настоящее время теория пространственных механизмов разработана недостаточно и требует дальнейшего развития.

 3) Механизмы с несимметричными звеньями часто встречаются в технике. Уравновешивание их имеет ряд особенностей.

 Решение задачи уравновешивания плоских механизмов с несимметричными звеньями впервые было получено в работе методом линейно-независимых векторов, позволяющих находить величину и координаты корректирующих масс. Этот метод является перспективным, но и несколько сложным при уравновешивании многозвенных механизмов. Поэтому методика уравновешивания механизмов с несимметричными звеньями при помощи векторов главных точек звеньев и отрезков механизма, отличающаяся простотой и наглядностью, что позволяет использовать ее для статического и динамического уравновешивания шарнирных механизмов различных классов и порядков.

 4) Задача анализа неуравновешенных сил, действующих в многоцилиндровых машинах, и их уравновешивания решена в настоящее время наиболее полно. Но и здесь существует целый комплекс различных задач, требующих дополнительного исследования. Например, практический интерес представляют особенности балансировки коленчатых валов с технологическими втулками или без них; явление стационарного изгиба коленчатого вала, возникающее при некоторых условиях в многоцилиндровых машинах даже в том случае, когда выполнены условия внешнего уравновешивания сил первого, второго и более высоких порядков; требуют разрешения некоторые задачи по уравновешиванию многоцилиндровых машин с неодинаковыми шатунно-поршневыми группами и ряд других задач.

 5) Уравновешивание механизмов с переменными массами звеньев представляет интерес для многих отраслей промышленности, сельского хозяйства и транспорта.

 Переменную массу могут иметь не только роторы, но и звенья механизмов. Примером ротора с переменной массой является барабан, с которого сматывается или наматывается стальная, текстильная, бумажная или какая-либо другая лента. Примерами механизмов с переменной массой могут служить различные грохоты, качающиеся конвейеры, виброзагрузочные устройства, вагоноопрокидыватели и др.

Точное уравновешивание механизмов с переменными массами достигается противовесами с переменными дисбалансами. На практике часто применяется приближенное уравновешивание таких механизмов простыми противовесами.

 В механизмах с переменными массами действуют, как известно, кроме активных, реактивных и кориолисовых сил, еще так называемые вариационные силы, возникающие при нестационарном относительном движении масс в системе, и импульсивные силы, возникающие при отделении или при добавлении масс в кинематической цепи механизма.

 Исследованию динамики таких механизмов с переменными массами посвящены работы Артоболевского И. И. , Бессонова А. П. И др.

 

 

 IV

 Важным вопросом, имеющим принципиальное значение для балансировочной техники, является вопрос о нормах точности урановешивания роторов, от которых, как известно, зависят: уровень вибраций машин и приборов; качество технологических процессов; степень вредного вибрационного воздействия на обслуживающий персонал; ресурс подшипников и другие характеристики.

 Один только перечень этих фактов показывает, что разработка классов, классов точности балансировки роторов является чрезвычайно важной задачей для всех отраслей народного хозяйства.

 Как известно, в наше стране введен ряд стандартов и отраслевых нормалей, в которых регламентированы остаточные дисбалансы ля некоторых категорий роторов. Они учитывают: допустимый уровень вибраций, действующий на человека, силы возникающие в машине от сил упругости, электромагнитных и др., а также первичные ошибки деталей, зависящие от принятой системы допусков и посадок, дисбалансы, возникающие при монтаже и во время эксплуатации машин, и воздействие внешней среды. Учет приведенных выше факторов в конкретных условиях всегда связан с необходимостью проведения исследований.

 В настоящее время Комитет Стандартов Совета Министров РФ утвердил Государственный стандарт № 19534-74 “Балансировка тел вращения. Термины” с введением его с 1.1.1975 г.

 Этот стандарт, отражающий достигнутый уровень балансировочной техники как в нашей стране так и за рубежом, безусловно будет способствовать дальнейшему повышению технического уровня работ по уравновешиванию машин и приборов.

ЛИТЕРАТУРНО-ПАТЕНТНЫЙ ОБЗОР.

 2.1 Методы и средства балансировки.

 Для удобства сопоставления [1] балансировочного оборудования для статической балансировки целесообразно разделить его, в зависимости от характера перемещения оси ротора во время балансировочного процесса, на пять основных групп (табл. 1).

 Таблица 1

Классификация оборудования для статической балансировки

N гр.

Характер перемещения оси ротора

Тип стенда

(статический режим)

Условное обозначение

Тип стенда

(динамический режим)

Условное обозначение

Не перемещается

Роликовый

Дисковый

СБС-1а

СБС-1б

С неподвижными опорами

СБД-1а



2

Перемещается относительн. неподвижной точки

Со сферической опорной

С подвесной опорой

СБС-2а

СБС-2б



-



-



3

Перемещается относит. неподвижной точки

Весы с вертикальн. осью

Весы с горизонтальной осью

СБС-3а

СБС-3б

С горизонтальной осью колебания

С вертикальной осью колебания

СБД-3а

СБД-3д

 

 

продолжение таблицы 1


N гр.


Характер перемещения оси ротора


Тип стенда

(статический режим)


Условное обозначение


Тип стенда

(динамический режим)


Условное обозначение





4


Перемещается в неподвижной плоскости


Плоскопорал-лельный


СБС-4а


На маятниковых опорах

На астатических маятниковых опорах

На горизонтальных маятниковых опорах


СБД-4а

СБД-4б

СБД-4в


5

Перемещается в пространстве


-


-

Без жестких связей


СБД-5а

Условимся также обозначать оборудование (станки, стенды,

и т.д.) для статической балансировки, работающие в режиме статики, буквами СБС, а оборудование, работающее в режиме динамики, буквами СБД. Далее к обозначению вида оборудования будем приписывать порядковый номер группы оборудования в соответствии с разбивкой, приведенной выше.

 Каждая группа оборудования делится, в зависимости от конструктивных особенностей, на типы, которые обозначаются малыми буквами алфавита и приписываются к шифру, обозначающему данную группу. При таком обозначении полный шифр оборудования будет отражать вид, группу и тип оборудования, т.е. характеризовать данное балансировочное устройство по его основным свойствам.

 Заметим, что пятая группа балансировочных устройств, работающих в режиме статики, перспективна для поплавковых приборов, для которых определение статической неуравновешенности может быть основано на положении оси ротора в пространстве, если ротор находится во взвешенном состоянии в соответствующей жидкости.

 Оборудование для статической балансировки в динамическом режиме охватывает 4 системы балансировочных машин, в которые входят семь известных типов оборудования, перечисленных в табл.1.

 Наибольшее применение на практике нашли балансировочные станки типа СБД-1а, СБД-4а, СБД-4б, СБД-4в и СБД-5а.

 Следует заметить, что балансировочное оборудование, работающее в режиме динамики, в зависимости от величины отношения частоты балансировки w к собственной частоте подвижной системы балансировочного устройства w0 может работать в трех режимах:

 в дорезонансном режиме при w /w0 < 1;

 в резонансном режиме при w /w0 =1;

 в зарезонансном режиме при w /w0 > 1.

Однако зависимость между статической неуравновешенностью ротора и перемещением подвижной части балансировочной машины определяется общими для трех режимов математическими зависимостями, частные значения которых находятся путем подстановки числовых значений, свойственных конкретному режиму. Поэтому введение этого признака в классификацию не вносит чего-либо нового. Следует заметить, что наряду со станками, работающими в динамическом режиме при непрерывном вращении ротора, сюда надо отнести устройства, в которых ротор находится в режиме угловых колебаний.

Практически наиболее распространенным режимом работы оборудования второго вида является зарезонансный режим, реже используется дорезонансный режим и в редких случаях резонансный режим. Область работы отдельных типов балансировочного оборудования второго вида показана на рис.1, где графически представлена зависимость амплитуды x колебаний подвижной системы станка от относительной скорости вращения ротора w /w0.

Оборудование первого вида, т.е. работающее в статическом режиме, просто в эксплуатации, но требует высокой квалификации оператора. Однако данный вид оборудования имеет ограниченную точность, так как оно должно удовлетворять двум противоречивым требованиям: опоры стенда должны воспринимать всю массу ротора и в то же время быть чувствительными к малым смещением центра массы ротора.

На стендах типа СБС-1 и СБС-4 при изменении неуравновешенности ротора обычно используют метод “обхода грузом” или метод “пробных грузов”, что не дает высокой производительности, а поэтому их применять в массовом производстве нецелесообразно. Измерение величины и угловой координаты неуравновешенности на балансировочных станках типа СБС-2 и СБС-3 выполняется более совершенным способом. В частности, на стендах типа СБС-2 величина и угловая координата неуравновешенности ротора прочитываются непосредственно по соответствующим шкалам. На стендах типа СБС-3 измерение параметров неуравновешенности ротора можно выполнять методом “обхода грузом”, но обычно предпочитают более прогрессивный метод “двух замеров”. Метод сводится к измерениям неуравновешенности ротора в двух взаимно перпендикулярных положениях непосредственно на стенде, с последующим определением суммарной неуравновешенности с помощью специального приспособления. Эти стенды иногда комплектуются устройством для удаления неуравновешенности, что значительно повышает производительность статической балансировки. Оборудование второго вида, т.е. работающего в динамическом режиме, используется в промышленности сравнительно недавно и является новым. Станки такого вида обладают повышенной точностью и производительностью. Часто процесс измерения и устранения неуравновешенности выполняется в одном агрегате. Измерение величины и угловой координаты статической неуравновешенности на балансировочных станках, работающих в динамическом режиме, осуществляется электрическим методом, путем измерения величины и фазы электрического сигнала, отражающего колебания подвижной системы станка при движении неуравновешенного ротора. Иногда величины и фазы электрических сигналов характеризуют реакции в опорах ротора при его движении на балансировочном станке. Для получения электрических сигналов пользуются электродинамическими или пьезоэлектрическими датчиками того или иного типа. В редких случаях для определения параметров неуравновешенности пользуются методами механики, т.е. измеряют амплитуды колебаний подвижной системы станка в момент резонанса.

 К устройствам нашего вида относят стенды, называемые балансировочными весами типа СБС-3а и СБС-3б. Стенды типа СБС-3 работают в режиме статики, ось ротора при балансировке перемещается относительно неподвижной оси, поэтому они относятся к третьей группе первого вида балансировочных устройств для статического уравновновешивания. [1,т.2 с.511] Стенды типа СБС-3 получили в производстве довольно широкое распространение. В основном используются стенды типа СБС-3а, предназначенные для статической балансировки дискообразных роторов, имеющих посадочное базовое отверстие. Реже применяются стенды типа СБС-3б для роторов, имеющих собственные опорные шейки.

 В промышленности используются стенды типа СБС-3 различных конструкций, но в основе их лежит одна принципиальная схема - схема обычных неравноплечных рычажных весов, откуда и название стендов - балансировочные весы.

 Стенд обычно снабжается приспособление для арретирования подвижной системы и жидкостным демпфером для ускорения гашения собственных колебаний подвижной системы.

 Демпфер состоит из подвижной части 10, прикрепленной к вертикальному валу коромысла, бака 11, залитого маслом.

 Устанавливают на оправку балансируемый ротор 7, определяют величину неуравновешенности ротора поворотом его на оправки до максимального отклонения левого плеча коромысла вниз и уравновешивают грузом 8, добиваясь, чтобы Grs = Gy l, после этого отсчитывают величину неуравновешенности по шкале коромысла. Место противовеса при этом будет расположено в плоскости оси симметрии коромысла слева против неподвижного указателя. Отметив тяжелое место ротора и сняв его со станка, устраняют неуравновешенность. Если станок снабжен индикатором, то отсчет величины неуравновешенности производят тем же методом непосредственно по максимальному отклонению стрелки индикатора.

 Величину и угловую координату неуравновешенности можно найти на основании измерения неуравновешенности по двум координатным осям x, y, т.е. Grx и Gry . Затем с помощью специального приспособления можно определить полную величину неуравновешенности, используя зависимость:

Grs = Ö ((Grx)2 + (Gry)2) ; (1)

а угловое положение центра тяжести из условия, что

tg b = Grx / Grx , (2)

где угол b отсчитывается от правого плеча коромысла против часовой стрелки.

 Балансировочные устройства при массовом производстве снабжают расчетным приспособлением. Величину неуравновешенности и угловую координату центра массы при балансировке отдельных роторов можно также найти методом обхода. В этом случае, установив ротор на балансировочные весы, измеряют величину неуравновешенности в шести - восьми равнорасположенных угловых положениях. После этого строят график зависимости величины неуравновешенности от углового положения ротора Grs = f (b), используя который, определяют величину неуравновешенности по формуле:

Grs = (Grs)max - (Grs)min / 2 ; (3)

угловую координату неуравновешенности также определяют из графика, она будет соответствовать угловой координате (Grs)max .

 Остаточное смещение центра тяжести от балансируемого ротора находится в пределах 5-10 мкм. Чувствительность балансировочных весов ограничивается наличием трения в опорах. Практически чувствительность балансировочных весов определяется радиусом скругления призмы опоры rОП .

Примеры балансировки на горизонтальных весах мы можем наблюдать соответственно на (рис.3) В дальнейшем меняя оправку можно использовать один и тот же станок.

2.2 Недостатки статической балансировки.

 

Недостаток статической балансировки заключается в том, что она не может обнаружить неуравновешенные пары сил и часто способствуют их появлению, ухудшая тем самым сбалансированность ротора. Кроме того, после статической балансировки, даже при отсутствии неуравновешенных пар сил, всегда остается значительный остаточный дисбаланс, обусловленный силами трения, действующими на цапфы балансируемого ротора во время балансировочного процесса. Рассмотрим недостатки статической балансировки на примерах.

 Пусть ротор турбогенератора имеет в плоскостях диска турбины и балансировочного кольца некоторые дисбалансы:

½D1½=½D2½=D. (4)

 При этом условии центр массы S ротора будет лежать на оси вращения и поэтому ротор не будет поворачиваться во время его статической балансировки на линейках или на роликах, даже при наличии очень больших дисбалансов D1 и D2 . Таким образом, неуравновешенный ротор будет казаться уравновешенным. В действительности при вращении ротора с частотой w на него будет действовать пара сил:

 P=Dw2 (5)

с плечом, равным l (рис.2),которая вызовет постоянные по величине, но переменные по направлению давления на подшипники ротора, равные:

 QA= -QB = P l / L (6)

 Эти давления и будут служить причиной ненормальной работы подшипников.

 Допустим теперь, что неуравновешенный ротор имеет только один дисбаланс D1 в плоскости диска турбины, вызванный, например, его эксцентричной посадкой на вал. По этой причине при вращении ротора с частотой w в плоскости, проходящей через центр массы диска, должна возникнуть сила:

 P1 =D1 w2, (7)

которая вызовет динамические давления на подшипники А и В, равные соответственно (рис.2)

 QA= P1 a + L / L = P1 85 + 340 / 340 » 1,25P1 ; (8)

 QB = -P1 a / L = - P1 85 / 340 » - 0,25P1 .

 Если предположить, что статическая балансировка ротора будет выполнена абсолютно точно путем прикрепления корректирующей массы в плоскости балансировочного кольца, то тогда динамическое давления на подшипники ротора:

 Q`A= - Q`B = P1 l / L » P1 340 / 340 = P1 . (9)

 Таким образом, после статической балансировки ротора динамическое давление на подшипник В увеличилось в 4 раза. Такой результат мы получили при условии l = L ; если же будет l > L и l < L, то динамическое давление на подшипник В может быть после статической балансировки ротора как больше, так и меньше силы Р1. Отсюда следует, что за результат статической балансировки нельзя поручиться заранее и сказать, насколько она ухудшит или улучшит несбалансированность ротора.

 Рассмотрим еще один пример. Представим себе, что в предыдущем примере дисбаланс расположен в одной плоскости с центром массы ротора, и допустим, что балансировщик совершенно безукоризненно выполнил статическую балансировку путем прикрепления корректирующей массы в плоскости неуравновешенного груза. В этом случае неуравновешенная пара сил при вращении ротора не возникает, но тем не менее в плоскости, проходящей через центр массы, все же останется дисбаланс, обусловленный трением качения:

 Dост.= m r, (10)

где m - масса ротора;

 r - коэффициент трения качения.

 Величина остаточного дисбаланса Dост. может получиться настолько значительной, что в некоторых случаях она оказывается больше величины допустимого дисбаланса. Так, например, в данном случае остаточный дисбаланс после статической балансировки на линейках может быть

 Dост.= 21,3 × 0,005 × 1000 =106,5 гсм

(коэффициент r для стального вала и стальной опоры принимаем равным 0,005 см, а массу ротора 21,3 кг)

в плоскости, проходящей через центр массы ротора. Соответственно остаточные дисбалансы в плоскостях колеса вентилятора и балансировочного кольца, которые выбираются обычно для размещения корректирующих масс, будут соответственно равны :

 DB = Dост× c / b+c = 106,5 ×136 / 275 = 53 гсм ; (11)

 DК = Dост× b / b+c = 106,5 ×139 / 275 = 53,5 гсм .

 Между тем допустимые дисбалансы в плоскостях коррекции, как показывают расчеты, составляют для этого ротора:

 Dв.доп = 33 гсм ;

 Dк.доп = 19 гсм.

 Из приведенных примеров следует, что статическая балансировка не только не в состоянии обеспечить уравновешивание рассмотренного выше ротора турбогенератора с необходимой точностью, но не может ухудшить его сбалансированность. Сделанный вывод можно отнести ко всем роторам быстроходных машин, уравновешивание которых должно выполняться с заранее заданной точностью.

 В настоящее время для уменьшения величины Dост применяют балансировочные станки, позволяющие создавать воздушную подушку между цапфами ротора и опорами станка (рис.3.1).

рисунок 3.1.

 где: 1 - опора балансировочного станка;

 2,4- каналы для подачи воздуха под давлением;

 3 - цапфа ротора.

Если ротор балансируется на подшипниках качения, то для уменьшения остаточного дисбаланса наружными кольцами подшипников задают вынужденные колебания в осевом направлении с частотой в несколько раз большей частоты вращения ротора и с амплитудой, определяемой осевым зазором (рис.4).

 Наиболее современными балансировочными станками для статического уравновешивания роторов являются станки, позволяющие вести этот процесс в динамическом режиме, во время вращения ротора с постоянной или переменной частотой, и измерять после устранения влияния моментной неуравновешенности главный вектор дисбалансов ротора в плоскости, проходящей через центр его массы.

 На таких станках роторы могут балансироваться статически не только с заранее заданной точностью, но и осуществлять компенсацию дисбалансов в автоматическом или полуавтоматическом режиме.

 Однако не следует забывать, что основной недостаток статической балансировки, заключающийся в невозможности обнаружить моментную неуравновешенность роторов, устранить нельзя. Поэтому область применения в технике статической балансировки роторов весьма ограничена.

 В настоящее время статическая балансировка используется для уравновешивания роторов дискообразной формы, некоторых узлов гироскопических приборов и других, а также в том случае, когда единственной целью уравновешивания является приведения центра массы детали на ось вращения.

 2.3 Особенности настройки оборудования для статической и динамической балансировки.

Статическая балансировка представляет собой специфическую технологическую операцию, состоящую из двух этапов: измерения величины и угловой координаты неуравновешенности. Оборудование для статической балансировки должно иметь устройства для измерения неуравновешенности и ее устранения, причем лучшим вариантом решения будет объединение этих устройств в общем агрегате. Задачей балансировки является получение статически уравновешенного ротора, поэтому основным, определяющим качество уравновешивания, будет эффективность измерения неуравновешенности. Это накладывает на измерительные приборы, а также на устройство для устранения и на агрегат в целом ряд требований, для удовлетворения которых балансировочное оборудование должно обладать соответствующей разрешающей способностью, точностью и производительностью.

В настоящее время уравновешивание роторов производится или в статическом, или в динамическом режиме.

В первом случае ротор во время балансировочного процесса

только поворачивается на небольшие углы, а во втором вращается с постоянной угловой скоростью.

В большинстве случаев балансировочное оборудование, кроме специального, предназначено для балансировки группы роторов, масса которых изменяется в некотором интервале. Измерительное устройство должно обеспечивать получение заданной точности на всем диапазоне, охватывающем данную группу роторов. Если измерение параметров статической неуравновешенности ротора производится с помощью балансировочного устройства, работающего в режиме статики, то точность измерения определяется уровнем ошибок, вносимых трением, возникающим между опорными шейками ротора или его оправки и направляющими. При балансировке трение препятствует ротору занять однозначное положение устойчивого равновесия и этим ограничивает чувствительность балансировочного устройства к малым неуравновешенностям. Конструкция балансировочного устройства должна обладать жесткостью, не допускающей деформацию его при нагружении ротором. Качество обработки и точность изготовления направляющих, точность установки их в горизонтальной плоскости, параллельность и совпадение осей опор также определяют качество работы балансировочного оборудования первого вида.

При применении балансировочных устройств, работающих в динамическом режиме с использованием электрических способов измерения, точность измерения неуравновешенности принципиально определяется соотношением между уровнями электрических сигналов от помех к сигналу от минимальной неуравновешенности,

которую требуется измерить.

 При измерении неуравновешенности в динамическом режиме помехи имеют широкий спектр частот и возникают как от внутренних, так и от внешних причин. Поэтому балансировочное оборудование, работающее в динамическом режиме, обычно включает частотно-избирательное устройство для исключения или по крайней мере существенного снижения влияния внутренних и внешних помех. Конструкция балансировочного устройства должна быть такой, чтобы на качестве балансировки не сказывались внутренние помехи, возникающие как при работе самого устройства, так и вследствие работы окружающего оборудования. Поэтому как механическая система, так и измерительная часть не должны допускать

возникновения существенных внутренних помех, снижающих точность измерения неуравновешенности. Уровень помех должен быть значительно ниже уровня допускаемой остаточной неуравновешенности.

В отношении влияния внешних вибраций на качество балансировки следует иметь в виду, что кроме устранения их влияния

при помощи частотно-избирательных устройств требуется предусмотреть защиту от проникновения в механическую систему помех с частотой, соответствующей скорости вращения ротора при балансировке.

 Современное балансировочное оборудование должно обеспечивать точность и производительность при установки его

непосредственно на общей плите пола производственного помещения или на междуэтажных перекрытиях производственных зданий. В отдельных случаях балансировочные машины устанавливают на обособленном от производственного помещения фундаменте или делают специальные виброизолирующие устройства.

Чаще всего статической балансировке подвергают дисковые роторы, не имеющие опорных шеек, и установка их на балансировочный станок выполняется с применением технологического вала, называемого оправкой. Собственная неуравновешенность оправки и погрешность ее изготовления также вносят ошибки в измерение параметров статической неуравновешенности ротора. Так, например,

 Следовательно, балансировочное оборудование должно иметь устройство, позволяющее исключить влияние собственной неуравновешенности оправки или шпинделя на точность

измерения статической неуравновешенности ротора.

 Конструкция балансировочного оборудования должна обеспечивать удобный отсчет величины угловой координаты неуравновешенности. Визуальный отсчет параметров неуравновешенности по шкалам приборов вносит дополнительные погрешности и снижает точность и производительность балансировки. Поэтому желательно, чтобы показатели измерителей величины и угловой координаты неуравновешенности фиксировались автоматически и не требовали записи или запоминания.

 Настройка оборудования, работающего в статическом режиме, несложна и сводится к точной установке его в горизонтальной плоскости, тщательной выверке параллельности направляющих и обеспечению совпадения осей опор. Настройка оборудования, работающего в динамическом режиме, сложнее и обычно осуществляется с помощью эталонных роторов и контрольных грузов и контрольных грузов. Так, измерительную систему оборудования, работающего в динамическом режиме, обычно настраивают на рабочую частоту, устанавливают масштаб измерения величины и отсчет угловой координаты неуравновешенности. Обычно перенастройка станка на ротор иной весовой категории требует замены оправки и эталонного ротора. Операция по изготовлению и уравновешиванию эталонных роторов является трудоемкой, дорогостоящей и требует высокой квалификации оператора. Поэтому для упрощения наладки оборудования в конструкции его желательно предусматривать устройство для электрического эталонирования. Хотя это и усложняет электроизмерительную часть, однако наличие такого устройства исключает необходимость изготовления дорогостоящих эталонных роторов. В случае применения электрического эталонирования в качестве ротора для настройки может быть использован даже ротор, подлежащей балансировке. Это особенно важно в условиях мелкосерийного производства, где приходится выполнять частую перестройку оборудования, так как иметь специальные настроечные роторы в этом случае не целесообразно.

 Балансировочное оборудование и связанное с ним устройство для удаления неуравновешенности должны быть надежны. Следовательно, механическая система балансировочного устройства должна быть простой, несложной и надежной в эксплуатации, не требующей точной выверки или установки, состоять по возможности из унифицированных узлов и деталей, легко заменяемых при поломке и износе.

 Измерительную систему также желательно выполнять из унифицированных блоков, собранных из стандартных деталей.

 Механическую и измерительную системы необходимо защищать от проникновения влаги, металлической пыли, стружки и попадания в движущиеся части других посторонних предметов. Процесс установки, крепления и съема балансируемых роторов должен быть простым и обеспечивать надежное крепление ротора. Балансировочное оборудование оснащается также соответствующими защитными и предохранительными устройствами.

2.4 Призмы.

Для минимального контакта между опорами в балансировочном станке целесообразно использовать призмы.

Различают опорные, грузоприемные и концевые соединительные призмы.

 Призмы при помощи которых рычаги опираются на подушки или серьги, называют опорными. [3]

 Призмы, воспринимающие нагрузку от платформы или других рычагов, называют грузоприемными.

 Наконец, призмы передающие нагрузку, на другой рычаг или на коромысло, носят название концевых, или соединительных.

 Призма, несущая в себе гиродержатель, по существу также является грузоприемной, но ее чаще называют концевой призмой коромысла или призмой гиредержателя.

 Призмы изготовляют из высокоуглеродистой стали с содержанием углерода ни ниже 0,75 - 0,85 % (марка У - 8); для весов высокой точности применяется агат и ему подобные материалы.

 Стальные призмы бывают самых различных профилей, но наиболее распространены четыре профиля: квадратный (рис. 4);

пятиугольный (рис.5);

треугольный (рис. 6);


и грушевидный с углом при вершине 600 (рис.7) .

Призмы заделываются в рычаги либо по всему периметру - закрытые призмы, либо только на одну треть высоты - открытые призмы.

Закрыты призмы по способу крепления делятся [3] на:

консольные - заделанные с одного конца и нагруженные равномерной нагрузкой по всей длине;

двухконсольные - заделанные в середине длины и нагруженные равномерной нагрузкой с обоих концов или сосредоточенной нагрузкой по концам;

двухопорные - заделанные в середине и нагруженные сосредоточенной нагрузкой;

заделанные по концам и нагруженные равномерной нагрузкой по всей средней части;

заделанные вблизи концов и нагруженные двумя сосредоточенными силами.

 Закрытые призмы следует рассчитывать на: срезывание, изгиб и контактные напряжения в рабочем ребре призмы.

 При расчете на срезывание, напряжение sS определяется по формуле: для консольной призмы

sS = Q / F ; (12)

для всех остальных призм

sS = Q / 2F , (13)

где Q - расчетная нагрузка;

 F - площадь сечения призм.

 Расчет открытых призм на срезывание и изгиб не ведется, так как эти призмы испытывают только деформацию смятия подошвы и рабочего ребра, в котором возникают контактные напряжения.

 Расчет как открытых, так и закрытых призм на контактные напряжения в рабочем ребре ведется на 1 пог. см лезвия (табл.2)

таблица 2

Контактные напряжения в вершинах.

Тип весов

Наименование призм

Конт. напряжения в кг

на 1 пог. см

Неравноплечие

Призмы коромысла

100

передвижные

Призмы рычагов

400

Автомобильные весы

Призмы коромысла

100


Призмы рычагов

900


 В весах высокой точности призмы закрепляются установочными винтами непосредственно в гнездах (рис.8), или в специальных регулируемых каретках (рис.9).

 

На рис.9 изображен узел крепления призмы конструкции “Эталон”. Регулируемая каретка 1 крепится на плече коромысла 2 при помощи двух штифтов 3 и винта 4. На верхней части каретки 1 в цилиндрической впадине находится седло 5 с хвостовиком, в который упираются установочные винты 6 и 7.

Винтами 6 устанавливается требуемое положение призмы в горизонтальной плоскости, а при помощи винтов 7 регулируется длина плеча.

 Для установки параллельности призм служит планка 8, которая поворачивается вокруг втулки 9 и закрепляется в требуемом положении винтом 10. Эта установка производится при помощи винтов 11, проходящими через выступы 12 планки 8.

 В конструкции “Госметр” узла крепления призм (рис. 10) конец плеча коромысла выполняется с выемкой, на которой устанавливается каретка 1; радиус этой выемки меньше радиуса выпуклости в каретке, вследствие чего каретка опирается на коромысло в четырех точках: двух спереди и двух сзади.

 В нижнюю часть каретки ввинчен 2 с проточкой в средней части. В эту проточку упираются своими концами два установочные винта 3, ввинченные в выступы 4 коромысла.

 При этом способе крепления обеспечивается надежное соединение каретки с коромыслом и требуемое положение призм в горизонтальной плоскости.

 Призма 5 укреплена в каретке четырьмя винтами 6. Эти винты соприкасаются с призмой конической частью своих головок.

 Винты 6 служат для установления параллельности призм. Крепление призм при помощи клинового зажима, применяется в весах для больших нагрузок.

 Для обеспечения хорошей работы весов необходимо, чтобы призма была твердой и в то же время не была хрупкой.


Подушки и щечки.

 Все призмы опираются, а также воспринимают или передают нагрузку через детали, называемые подушками.

 Подушки либо заделываются в стойки или серьги на тугую посадку, либо вкладываются в эти детали (самоустанавливающиеся или качающиеся).

 Подушки, которые заделываются на тугую посадку, обычно изготовляются из высокоуглеродистой стали специального профиля.

 В настоящее время запрессованные подушки вытесняются самоустанавливающимися подушками почти во всех видах весов.

 Это происходит потому, что практически трудно запрессовать подушку так, чтобы призма соприкасалась с ней по всей длине лезвия. Обычно призма соприкасается с подушкой либо с одного, либо с другого конца, что ведет к увеличению контактных напряжений и к выкрашиванию призм.

 При самоустанавливающихся подушках призма соприкасается с подушкой по всей длине лезвия и потому случаев выкрашивания бывает значительно меньше.

 Самоустанавливающиеся подушки бывают двух типов: штампованные, предохраняемые от выпадения щечками, специальными прокладками и штифтами, проходящими через серьги, и фрезерованные, которые предохраняются от выпадения при помощи штифтов, проходящих через подушку.

 Подушки для весов грузоподъемностью до 3 т включительно изготовляют из малоуглеродистой стали с последующей цементацией, а для весов больших нагрузок - из высокоуглеродистой стали.

 В весах для небольшой нагрузки размеры подушек выбираются конструктивно, так как всегда обеспечивается большой запас прочности.

 У весов с большой предельной нагрузкой следует проверить размеры подушек основных рычагов на скалывание по формуле:

sS = Р / bh <= Rs (14)

где sS - напряжение на скалывание;

 Р -- приложенная нагрузка;

 b – длина подушки;

 h – высота подушки в опасном сечении;

 Rs - допускаемое напряжение на скалывание.

 Закалка, шлифование и полировка подушек и щечек производится также, как призм, но твердость их должна быть выше, так как, если призмы будут тверже, то они выработают в подушках или щечках углубление, и весы потеряют чувствительность, в связи с возросшим трением.

 В этом случае, когда призмы мягче чем подушки или щечки то при работе вершины их постепенно закругляются и, хотя чувствительность весов в этом случае также снижается, но в значительно меньшей степени.

 Детали, называемые щечками (рис.11), предохраняют подушку от выпадения и удерживают призму от сдвига с подушек.

 В весах с предельной нагрузкой до 3 т – из малоуглеродистой стали, но стальным закаленным вкладышем в месте соприкосновения с острием призмы.

Тензорезисторы.

 В настоящее время широкое распространение получают методы и средства тензометрии, позволяющие осуществлять контроль и измерение большого числа параметров [4]. Эти методы и средства используются в большинстве отраслей техники и во многих отраслях науки.

 Устройства (приборы, установки, системы и т.п.), позволяющие осуществлять электротензометрирование, т.е. измерение электрическими методами деформаций твердых тел, называются электрическими тензометрами. Электрический тензометр (электротензометрическая установка) состоит из воспринимающего устройства, передающего устройства и индикатора (регистрирующего прибора).

 Главной частью воспринимающего устройства является чувствительный элемент, непосредственно воспринимающий измеряемую величину. Измерительная установка благодаря действию всех входящих в неё элементов позволяет зарегистрировать соответствующую неэлектрическую величину (в данном случае -- момент), воспринятую первичным элементом. Конструктивно оформленный чувствительный элемент носит название преобразователя, а в тензометрической аппаратуре соответственно – тензопреобразователя.

 В основу работы тензопреобразователей могут быть положены различные принципы, например генераторные или параметрические. Генераторные тензопреобразователи в процессе измерения вырабатывают электродвижущую силу или заряд, а в параметрических преобразователях в процессе измерения происходит изменение параметров электрической цепи, в которую включен тензопреобразователь. Генераторные тензопреобразователи (например, пьезоэлектрические ) не нашли широкого применения в тезометрировании и используются главным образом для качественных исследований.

 Параметрические тензопреобразователи получили значительное распространение. К ним относятся емкостные, индуктивные преобразователи и преобразователи сопротивления.

 Наиболее широко среди параметрических преобразователей используются тензопреобразователей используются тензопреобразователи сопротивления – тензорезисторы, которые совместно с аппаратурой, предназначены для работы с ними.

 Общий вид прикрепленного к объекту проволочного тензорезистора показан на рис.12. Проволочная решетка, представляющая собой ряд петель 1, укреплена (с помощью клея или лака специального состава) к подложке 3; к концам решетки припаяны (приварены) выводы 4, с помощью которых тензорезистор подключается в измерительную схему. Тензорезистор приклеивается к объекту 2 и становится (благодаря своим малым размерам и ничтожной массе) как бы одним целым, вследствие чего деформации объекта воспринимаются проволочной решеткой, являющейся чувствительным элементом этого преобразователя.

 Деформация объекта вызывает деформацию проволочной решетки тензорезистора, в результате которой изменяются геометрические размеры и физические свойства решетки.

 Относительное изменение сопротивления тензорезистора определяется формулой:

D R / R = D l / l (1 + 2m) + D r / r (15)

где R- сопротивление тензорезистора, Ом ;

 l - длина проволоки, м ;

 r- удельное сопротивление материала проволоки, Ом*м ;

 m- коэффициент Пуассона для материала проволоки.

 Основными характеристиками тензорезистора являются его активное сопротивление RД , его база L (см. рис.12) и коэффициент тензочувствительности К, в соответствии с формулой (7) равный:

К = (D R / R) / (D l / l) = (1 + 2m) + (D r / r) / (D l / l) (16)

 Для приготовления проволочных решеток используются материалы, имеющие высокое значение коэффициента тензочувствительности и малое значение температурного коэффициента сопротивления.

 Наиболее часто в качестве материала для проволочных тензорезисторов используется константан, элинвар, карм и изоэластик.

 Наибольшее распространение в отечественной тензоизмерительной технике получили тензорезисторы из специальной константановой тензометрической проволоки диаметром 0,025 – 0,035 мм, разработанной Научно - исследовательским конструкторским институтом испытательных машин, приборов и средств измерения масс (НИКИМП), институтом “Гипроцветметобработка” и подольским заводом “Микропровод” .

 За последние годы значительных успехов достигла техника получения различных полупроводниковых материалов, широко используемых в радиотехнической промышленности, что открыло широкие перспективы в решении проблемы разработки и изготовления полупроводниковых тензорезисторов.

 Полупроводниковые тензорезисторы, сохраняя ряд преимуществ, присущих проволочным фольгированным тензорезисторам (ничтожная масса, малые размеры), имеют значительно большую тензочувствительность и высокий уровень выходного сигнала измерительных схем (в ряде случаев это позволяет упростить либо упразднить усилительную аппаратуру). Важнейшей особенностью полупроводниковых тензорезисторов является возможность изменения в широких пределах их механических и электрических свойств, что принципиально неосуществимо в проволочных и фольгированных тензорезисторах. Например, при одних и тех же геометрических размерах сопротивление полупроводникового тензорезистора может лежать в пределах от десятков ом до десятков кОм, а коэффициент тензочувствительности – от 100 до + 200 и выше.

 Полупроводниковым тензорезисторам, технологии их изготовления, опыту эксплуатации, конструированию на их базе различного типа преобразователей, перспективам их использования и другим вопросам посвящена обширная периодичная и патентная литература.

 Наибольшее распространение у нас в стране и за рубежом получили кремниевые и германиевые тензорезисторы p- и n- типов.

 В Новосибирском электротехническом институте (НЭТИ) под руководство проф. А.Ф. Городецкого были разработаны кремниевые тензорезисторы типа “нэтистор” из кремния p- и n- типов с выводами из золота. На базе этих разработок освоены первые промышленные образцы полупроводниковых тензорезисторов.

 В настоящее время тензорезисторы применяются не только для измерения линейных деформаций (напряжений), но и других величин: сил, ускорений, давлений, вибраций и др. В этом случае тензорезистор выполняет лишь роль первичного (чувствительного) элемента, а сами преобразователи физических или механических величин, как правило, дополняются упругими элементами. Преобразование измеряемой неэлектрической величины в электрический параметр при последовательном многоступенчатом преобразовании в общем виде описывается сложной функцией:

y = f1 (e) = f1 [f2 (x)], (17)

где у - электрический параметр (сопротивление тензорезистора);

 х - измеряемая неэлектрическая величина;

 e - линейная деформация вспомогательного упругого элемента.

 Законы преобразования линейной деформации в изменение сопротивления тензорезисторов [e = f2 (х)] изучены . Менее изучены свойства и характеристики упругих элементов, осуществляющих первичное преобразование физических величин в линейную деформацию, воспринимаемую далее проволочными, фольговыми или полупроводниковыми тензорезисторами. Вид упругого элемента преобразователя: балка, мембрана, пружина различной жесткости и др. – определяет назначение преобразователя в целом, а деформируясь и частотные свойства упругого элемента – чувствительность преобразователя и применимость его для исследования динамических процессов.

 При подборе или конструировании преобразователей для измерения физических или механических величин необходимо удовлетворять двум требованиям:

а) получать наибольшую, достаточную для работы тензометрической аппаратуры чувствительность;

б) обеспечить высокую собственную частоту упругих элементов, исключающую появление частотных погрешностей.

Эти требования выполняются противоречивыми конструктивными мерами, и увеличение чувствительности большинства упругих элементов пропорционально уменьшает их собственную частоту.

Обычно в зависимости от задач измерения выбирается преобразователь (разрешающая способность) которого вполне достаточна для измерения и регистрации исследуемого процесса с погрешностью, не превышающей заданной. Это условие, например, при использовании тензорезисторов записывается следующим образом :

eср. > emin доп, (18)

где eср. – деформация, воспринимаемая размещенным на упругом элементе тензорезистором и средняя его длине (базе);

 emin доп, - минимальная деформация, достаточная для регистрации данным тензоизмерительным трактом с погрешностью не выше допустимой

 Искомая деформация eср. для некоторых типовых упругих элементов – балок и мембран – может быть определена на основе зависимостей, проводимых в соответствующих курсах или справочниках.

 Отсутствие частотных погрешностей определяется решением дифференциального уравнения вынужденных колебаний упругих элементов

 Анализ уравнений движения, показывает, что коэффициент динамичности несущественно отличается от единицы (с ошибкой менее 1%) при выполнении следующего неравенства:

w0 > (8 ¸ 10) w (19)

где w0 – собственная частота упругой системы;

 w -- частота исследуемого процесса (высшая учитываемая гармоническая составляющая).

 Для упругих систем, отличающихся значительным затуханием (наличием трения, демпфирование, материал с большим внутренним трением), превышение собственной частоты над частотой исследуемого процесса может быть уменьшено до 3 – 4. В этом случае удается практически исключить инерционные погрешности и при собственной частоте упругого элемента расширить частотные пределы измерений.

 Как отмечено было выше, широкое применение получили измерения разнообразных физических величин с помощью преобразователей, использующих тензорезисторы в качестве первичных (чувствительных) элементов. И если совсем недавно измерения с помощью тензорезисторов сопротивления считались достаточно грубыми, то с настоящее время электротензометрирование используется и при точных измерениях, вплоть до прецизионных. Так например, тензометрические преобразователи применяются при весо- и силоизмерениях.

 В НИКИМП разработан ряд тензопреобразователей с нагрузками от 100 кгс до 1000 тс, использующих специальные типы наклеиваемых тензорезисторов, в Институте автоматики – силоизмерительные тензопреобразователи с номинальными усилиями от 1 до 250 тс, использующие бесклеевые тензорезисторы. За рубежом сило- и весоизмерительные тензопреобразователи выпускаются фирмами “Hotinger”, “Philips”, “Simens” и др.

 Серийный выпуск электротензометрических весов, сило- и весоизмерительных тензопреобразователей налажен на Киевском заводе порционных автоматов им. Ф.Э. Дзержинского (силоизмерительные бесклеевые тензопреобразователи типов ДСТБ-С, ДСТВ-С и др.) на Одесском заводе им. Старостина (тензометрические весы: крановые, бункерные и т.п., разработанные в ОПИ под руководством А.С. Радчика) и на Краснодарском заводе тензометрических приборов (силоизмерительные тензопреобразователи типа ТДС с чувствительным элементом в виде наклеенных полупроводниковых тензорезисторов)

 Фирма “Simens” выпускает тензометрические силоизмерители высокой точности с упругими элементами в виде двух параллельных балок, используемые в торговых весах (предельные нагрузки от 13 до 600 кгс).

 В статье [5] приводится описание силоизмерительного тензопреобразователя из монокристалла кремния, в котором используется интегральная микросхема. Также рассмотрен силоизмерительный преобразователь с чувствительным элементом из стеклоткани, на которую наклеены проволочные тензорезисторы. Эти преобразователи применяются для измерения малых нагрузок.

 Современные сило- и весоизмерительные тензопреобразователи позволяют выполнять измерения с погрешностью, не превышающие 0,5%. Имеются сведения о тензопреобразователях, позволяющих выполнять и более точные измерения (с погрешностью 0,1 – 0,2%).

 Для измерения давлений широко используются тензопреобразователи с проволочными, фольговыми и полупроводниковыми тензорезисторами, причем благодаря высокому верхнему частотному пределу полупроводниковые тензорезисторы в последнее время стали все чаще применяться в преобразователях для измерения давлений (в первую очередь динамических давлений).

 Для измерения давлений используются в основном два вида упругих преобразователей: мембраны и цилиндрические оболочки . Некоторое применение для измерения статических давлений находят преобразователи, построенные на базе обычного манометра с трубкой Бурдона.

 Мембранные преобразователи давлений в качестве упругого элемента имеют мембрану – тонкую пластинку, нагруженную с одной стороны измеряемым давлением р . Упругая пластинка закрепляется по контуру, и на поверхности, противоположной той, на которую действует давление, располагается тензочувствительный элемент. Обычно применяются круглые пластинки, причем их жесткость и геометрические размеры выбираются такими, что влиянием цепных напряжений можно пренебречь.

 Если из-за больших нагрузок или недостаточной жесткости мембрана получает большие прогибы, то на изгибные напряжения накладывают цепные напряжения и линейность зависимости между давлением р и относительной деформацией eД на поверхности нарушается.

 Большое влияние на качество работы мембранного преобразователя давлений, линейность его функции преобразования и чувствительность оказывает степень заделки мембраны по контуру. Обычно следует стремиться к жесткой заделке, ибо при этом создаются оптимальные условия расположения на мембране тензочувствительного элемента и обеспечивается более высокая собственная частота самой мембраны.

Тензочувствительные элементы могут быть выполнены в виде проволочных, фольговых или полупроводниковых тензорезисторов.

 Расчет чувствительности мембранного преобразователя давления производится в следующем порядке:

 а) определяются изгибающие моменты в тангенциальном и радиальных сечениях;

 б) находятся деформации по направлению радиуса по нормали к радиусу;

 в) определяются средние интегральные деформации тензочувствительных элементов при действии расчетного давления.

 Для жестко заделанной по контуру мембраны изгибающие моменты в радиальном и тангенциальном сечениях будут:

Мr = p/16 [R2 (1+m) - r2 (3+m)]; ü (20)

Mt = p/16 [R2 (1+m) - r2 (3+3m)]; þ

где р – распределенное давление на мембрану;

 m --коэффициент Пуассона для материала мембраны;

 R – радиус мембраны;

 r – радиус точки мембраны, для которой вычисляются Мr и Mt.

 Соответствующие напряжения sr и st и деформации er и et на поверхности мембраны в точке с радиусом r находятся из зависимостей:

sr = 6Mr / t2 = 3p / 8t2 [R2 (1+m) - r2 (3+m)]; ü (21)

sr = 6Mr / t2 = 3p / 8t2 [R2 (1+m) - r2 (3+3m)]; þ

er = 1 / E (sr - mst); (22)

et = 1 / E (sn - mst), (23)

где Е – модуль нормальной упругости для материала мембраны;

 t – толщина мембраны.

 Подставляя в последние уравнения значения sr и st , окончательно можно записать:

er = (3p / 8t2) (1 - m2 / E) (R2 - 3r2); ü (24)

et = (3p / 8t2) (1 - m2 / E) (R2 - r2). þ

 Для мембраны, свободно опертой по контуру, деформации в точке с радиусом r можно найти по формулам:

er = (3p / 8Et2) [R2 (3 - 2m2) - r2 (3 - 3m2)] ü (25)

et = (3p / 8Et2) [R2 (3 - 2m2) - r2 (1 - m2)] þ

 Дальнейшее решение сводится к определению абсолютной Dlд и относительной (средней) eср = Dlд / lд деформации участка мембраны на длине тензочувствительного элемента lд . Исходными данными для этого решения являются приведенные выше зависимости для er и et и геометрическая форма решетки.

 Для центрального профиля:

Dlд = 2 r0ò0 er dr = (3p / 4Et2 ) [r0 (1- m2) (r02 - R2) / Е ] ü (26)

eср = (Dlд / lд )= (3p / 8Et2 ) [ (1- m2) / Е (R2 - r02)] þ

 Собственная частота в герцах (основной тон) жестко заделанной мембраны определяется по зависимости, полученной Ю.А. Шиманским:

f0 = 1,57 Ö Eh3 / 12R4 m0 (1 - h2) (27)

где через m0 обозначена масса единицы площади мембраны.

 Собственная частота мембраны, свободно опертой по кромкам,

f0 = 0,94 Ö Eh3 / 12R4 m0 (1 - h2) (28)

 В некоторых случаях и кинематическую схему преобразователя давления вводится еще один упругий элемент, например вторая мембрана или консольная балка, на котором располагается тензочувствительный элемент.

Подобное конструктивное решение является рациональным при быстропеременных нагревах мембраны, когда не удается обеспечить хорошую термокомпенсацию при расположении рабочего и компенсационного тензорезисторов на самой мембране.

 Для определения чувствительности такого преобразователя находится сила F , передаваемая от наружной мембраны к внутреннему упругому элементу. Эта сила может быть найдена из условия равенства прогибов мембраны и дополнительного упругого элемента.

 Если в качестве дополнительного упругого элемента используется также мембрана, то выражение для деформаций в радиальном и тангенциальном сечениях этой мембраны в точке с радиусом r имеют вид:

er = (3F / 2pt2 ) [(1-m2) (ln R/r - 1) / E ] ü (29)

er = (3F / 2pt2 ) [(1-m2) (ln R/r) / E ] þ

 Если в качестве дополнительного упругого элемента используется призматическая консольная балка, то средняя деформация тензоэлемента, расположенного вдоль балки будет :

eср. = 6F (l - xД ) / E bh2 (30)

где l, d, h – длина, ширина и толщина балки;

 хД – расстояние от середины тензоэлемента до заделки, обычно равное половины базы тензорезистора.

 Приведенные выше зависимости для чувствительности и собственные частоты упругих элементов иллюстрируют общее очень важное в практическом применении правило : наибольшей чувствительности преобразователя независимо от его типа при сохранении достаточно высокой собственной частоты можно достигнуть выбором материала с низким модулем упругости. Для любых упругих элементов при заданных нагрузках деформация на поверхности в месте установки тензорезистора обратно пропорциональна модулю нормальной упругости. Что касается собственной частоты, то при неизменных геометрических размерах упругого элемента она падает, но пропорционально отношению модулей упругости в степени 1 / 2 . Это уменьшение частоты легко компенсируется изменением геометрических размеров упругого элемента (например, увеличением толщины). В целом при заданной собственной частоте преобразователя его чувствительность при использовании материалов с низким модулем упругости возрастает.

 В качестве основного чувствительного элемента возможно использование серийных тензопреобразователей. Преобразователь состоит из измерительного блока и электронного устройства. Преобразователи различных параметров имеют унифицированное электронное устройство и отличаются лишь конструкцией измерительного блока.

 Измеряемый параметр подается в камеру измерительного блока и линейно преобразуется в деформацию чувствительного элемента и изменение электрического сопротивления тензорезисторов тензопреобразователя, размещенного в измерительном блоке.

 Электронное устройство преобразователя преобразует это изменение сопротивления в токовый выходной сигнал.

 Чувствительным элементом тензопреобразователя является пластина из монокристаллического сапфира с кремниевыми пленочными тензорезисторами (структура КНС), прочно соединенная с металлической мембраной тензопреобразователя.

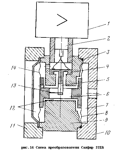
 Схема преобразователя Сапфир 22ДА представлена на рис.14.

 Тензопреобразователь 4 мембранно-рычажного типа размещен внутри основания 9 и отделен от измеряемой среды металлической гофрированной мембраной 8.

 Мембраны 8 и 14 по наружному контуру приварены к основанию 9 и соединены между собой центральным штоком 6, который связан с концом рычага тензопреобразователя 5 с помощью тяги 13. Измеряемое давление подается в камеру 7; полость 12 вакуумирована и герметизирована.

 Фланец 10 уплотнен с помощью прокладки 3.

 Воздействие измеряемого давления вызывает прогиб мембраны 8, изгиб мембраны тензопреобразователя 4 и изменение сопротивления тензорезисторов. Электрический сигнал от тензопреобразователя передается из измерительного блока в электронное устройство 1 по проводам через гермовывод 2.

3.ЭКСПЕРИМЕНТАЛЬНАЯ ЧАСТЬ.

3.1 Описание экспериментальной установки.

 Лабораторный стенд для статической балансировки предназначен для проведения на нем лабораторных экспериментов. Он представляет собой сварную конструкцию из профилей проката. Станок размещается на лабораторном столе в классе. Для установки уровня горизонтальной поверхности на стенде предусмотрены настройки. Подвижная часть стенда размещена на раме. Подвижная рама опирается на призмы. Коэффициент трения которых очень низок. Здесь также предусмотрена настройка соосности верхней грани призмы с центральной осью вращения ротора. Это необходимо для повышения точности измерения. Призмы стенда изготовлены из инструментальной стали У8. Они подвергнуты определенной термической обработке. Испытуемый вал размещается на опорных V-обраных призмах. Проще говоря установка представляет собой неравноплечные неуравновешенные весы. С одной стороны на стенде размещена измерительная часть. Она посредством рычагов связана с чувствительным элементом. Призмы и опоры должны точно собираться, для предотвращения погрешности измерения. Для надежного удержания измерительной части в "замке", здесь предусмотрена конструкцией пружина растяжения. В качестве чувствительного элемента здесь используются прмышленный датчик Сапфир 22ДА. Он преобразует механический момент в электрическое сопротивление. Это необходимо для последующих преобразований выходного сигнала. После датчика сигнал поступает на электронный усилитель сигнала. Он поставляется в комплекте с датчикогм Сапфир 22ДА. В качестве вторичного прибора используется универсальный электронный вольтметр, с высокой точностью измерения. Питание усилителя производится от источника постоянного питания 36В. Все исользуемое оборудование должно агрегатно и эргономично распологаться на рабочей поверхности лабораторного стола. Все узлы управления доступны и просты. Питание установки осуществляется от сети 220В переменного тока. Все подведенные электрические кабеля заизолированны. О подачи питания сигнализирует лампочка на щитке питания. И еще лампочки-индикаторы на самих измерительных приборах. Установка также заземлена.

3.2 Методика проведения экспиремента.

 На практике процесс статической балансировки роторов при помощи устройств с призматическими опорами выполняют в пять стадий:

точная балансировка;

выбор расположения и величины рабочих уравновешивающих грузов;

установка и крепление рабочих уравновешивающих грузов;

контроль качества балансировки.

 Грубая балансировка выполняется с целью устранения явной неуравновешенности ротора без учета сил сопротивления, препятствующих колебанию в опорах. Грубая балансировка производится следующим образом. Ротор помещают на стенд так, чтобы его ось располагалась горизонтально и перпендикулярно призматическим опорам. Желательно чтобы ротор был одет на собственный рабочий вал. В случае невозможности выполнения этого требования ротор крепится на специально изготовленную оправку. Если вал ротора имеет разные диаметры опорных шеек, то на меньшую из них вытачивают выравнивающую втулку. В исходном состоянии ротор располагают в опорах призмы. Под действием статического момента ротор будет передавать момент на измерительную рамку. В том случае если ротор, помещенный на балансировочное устройство, не создает начального момента, его необходимо повернуть (в любую сторону) на 900.

 Если бы отсутствовали силы сопротивления, припятствующие качению рамки в опорах, то его сещенный центр тяжести располагался бы в самой нижней точки траектории движения, т.е. в нижней части вертикали, пересекающейся с осью вращения. В реальных условиях центр тяжести ротора будет находиться вблизи точки равновесия. Для установления положения смещенного центра тяжести на торцевой поверхности ротора, после того как он займет нулевой момент, наносится меловая черта 1 рис. 3.1, которая должна совпадать с вертикальной

рис. 3.1

линией, опущенной из центра вращения. Затем ротор поварачивают в любую сторону на 900 (при этом метка 1 займет горизонтальное положение слева или справа от оси вращения) и предоставляют создавать ему момент на рамке. При максимальном моменте, отмечают новое место меткой 2. Операцию проводят еще раз, при этом ротор раполагают на опорах таким образом, чтобы исходная метка находилась в горизонтальной плоскости с другой сстороны от оси вращения. После затухания колебательных движений ротора положение равновесияотмечают меткой 3. Далее полагают, что смещенный центр тяжестилежит на линии, являющейся биссектрисой угла, заключенного между метками 2 и 3. Эту линию обозначают меткой 4 (где расположен центр тяжести), называется тяжелой.

 Противоположная от оси вращения ротора называется легкой. Затем приступают к к устранению явной статической неуравновешенности ротора. Для этого ротор ориентируют на балансировочном устройстве таким образом, чтобы метка 4 находилась в горизонтальной плоскости. К легкой стороне ротора в удобном месте (как правило на боковой поверхности) прикрепляют уравновешивающий груз такой величины, при котором на ротор перестает действовать статический момент. При этом момент на рамке должен быть практически стремиться к нулю. Величина уравновешивающего груза подбирается опытным путем.

 Признаком правильности подбора величины уравновешивающего груза является нулевой момент на датчике, при расположении метки 4 в горизонтальной плоскости как справа, так и слева от оси вращения. Для уравновешивания удобно пользоваться либо небольшими магнитами 1-3г. (если ротор изготовлен из магнитоупругого материала), либо пластелином, прилепляемым мелкими порциями к выбранному месту на поверхности ротора.

 Выполняя грубую балансировку следует придерживаться следующих правил:

— плоскость коррекции (плоскость перпендикулярная оси вращения, в которой располагается центр массы уравновешивающего груза) должна либо проходить через центр массы ротора, либо располагаться на незначительном удалении от него;

— уравновешивающий груз желательно помещать в таком месте, чтобы было известно или удобно было замерять расстояние от оси вращения до центра массы груза;

— место расположения уравновешивающего груза по возможности должно совпадать с местом расположения рабочего уравновешивающего груза.

 Если последнее требование выполняется, то отпадает необходимость пересчетяа массы уравновешивающего груза при изменении радиуса его расположения относительно оси вращения.

 После устранения неуравновешенности ротора приступают к выполнению второй стадии — точной балансировки. Точная балансировка осуществляется с целью устранения скрытой неуравновешенности ротора, которая из-за наличия сил, не создает момента на датчике. Силы сопротивления моменту могут бать обусловлены различными причинами: негоризонтальность и непараллельность призматических опор; недостаточная твердость и плохое качество обработки рабочих поверхностей призмы и подушки; наличие деффектов (царапин и вмятин ) и загрязнений (пыли, липких веществ) на опорах; прогиб вала и т.д. Точная балансировка выполняется следующим образом. Торцевая поверхность ротора см. рис.3.2 делится на 8, 12, или16 равных секторов. Линии, делящие торцевую поверхность на сектора, нумеруются по порядку. Направление

 рис. 3.2

Определение скрытой неуравновешенности ротора

m — масса пробного груза, i — обозначение положения

ротора; а — разбивка ротора на сектора, б — диаграмма

 разбалансировки ротора.

нумерации линий может быть произвольным: по часовой стрелке или против. Ротор с прикрепленным к нему уравновешивающим грузом поварачивают таким образом, чтобы линия под номером 1 оказалась в горизонтальной плоскости. К боковой поверхности ротора напротив линии 1 прикрепляют пробный груз такой величины, масса которого достаточна (без избытка) для выводфа ротора из состояния равновесия. Величину пробного груза, приводящего к разбалансироки ротора, определяют опытным путем, посредством прикрепления к ротору мелких порций пластилина ло тех пор, пока он не придет в движение. Затем груз снимают и взвешивают на весах с точностью до десятых долей грамма. Аналогичные операции поочередно выполняют для всех других положений ротора, обозначенных номерами. Пол данным о величине пробных грузов, вызывающих дисбаланс ротора в его различных положениях, строят диаграмму (см. рис. 3.2). По диаграмме определяют максимальную (mmax) и минимальную (mmin) массу пробного груза, необходимого для вывода ротора из равновесия. Там, где распологается груз наибольшей величины, находится легкая сторона ротора, а в том месте, где устанавливается груз наименьшей величины, находится тяжелая сторона ротора. Следует подчеркнуть, что грузы mmax и mmin должны находиться в диаметрально противоположных точках. Для устранения скрытой неуравновешенности ротора на его легкрй стороне прикрепляют корректирующий груз, масса которого определяется по формуле:

mk = 0,5 (mmax - mmin) (31)

Момент сопротивления (трения), обусловленный силами, припятствующими возникновению момента на датчике, составляет:

Mтр.= mk g Rk (32)

где Rk — расстояние от центра массыкорректирующего груза до оси

 вращения ротора.

Суммарная сила сопротивления (трения), действующая в месте контакта призмы с подушкой опоры, составляет:

Fтр. = Mтр. /r = 2mk g Rk / d (33)

Отношение силы сопротивления к весу ротора характеризует чувствительность устройства и определяет качество балансировки ротора:

 d = Fтр. / G = 2mk Rk / mR d (34)

Второй этап балансировки считают законченным, если определены величина и место устанрвки корректирующего груза. после него пристунают к определению места расположения и величины рабрчего уравновешивающего груза. Для обеспечения работоспособности ротора в процессе эксплуатации необходимо заменить срееменные уравновешивающий и корректирующий грузы одним рабочим грузом, который будет находиться на роторе постоянно. Материал рабочего груза, его место расположения и вид соединения с ротором должны вибираться с учетом безопасности, надежности и долговечности оборудования. Принемается во внимание требование к технологичности ремонтно-восстановительных операций, например, удобство крепления и подбора груза. На практике при выполнении ремонта оборудования наибольшее применение получили следующие способы устранения неуравновешенности роторов:

— крепление рабочего груза к легкой стороне ротора посредством неразъемных соединений (сварка, пайка, клепка);

— крепление рабочего груза к легкой стороне ротора посредством разъемных соединений (резьб, зажимов);

— удаление избыточной части материала с тяжелой стороны ротора посредством сверления или шлифовки.

 Последней стадией статической балансировки является контроль качества уравновешиваемого ротора. Эта стадия выполняется следующим образом. Ротор после установки рабочего уравновешивающего груза вновь помещается на балансировочный стенд. Правильно отбалансированный ротор должен пребывать в состоянии равновесия в любом положении. Поворачивая ротор на различный угол, следует убедиться в том, что он не будет создавать статического момента. Если данное требование выполняется, процесс статической балансировки считают законченным. В противном случае процесс балансировки повторяется.

 

 4. КОНСТРУКТОРСКАЯ ЧАСТЬ, НАИМЕНОВАНИЕ.

4.1 Конструкция и принцип действия

 Балансировочный стенд представляет собой сврную конструкцию из профилей проката. Установка состоит из нескольких осрновных чатей. Это рама, на которой раполагается основной узел. Это рабочая платформа с измерительной рамкой. Подвижная часть стенда размещена на раме. Подвижная рама опирается на призмы. Коэффициент трения которых очень низок. Здесь также предусмотрена настройка соосности верхней грани призмы с центральной осью вращения ротора. Это необходимо для повышения точности измерения. Призмы стенда изготовлены из инструментальной стали У8. Они подвергнуты определенной термической обработке. Испытуемый вал размещается на опорных V-обраных призмах. Проще говоря установка представляет собой неравноплечные неуравновешенные весы. С одной стороны на стенде размещена измерительная часть. Она посредством рычагов связана с чувствительным элементом. Призмы и опоры должны точно собираться, для предотвращения погрешности измерения. Для надежного удержания измерительной части в "замке", здесь предусмотрена конструкцией пружина растяжения. В качестве чувствительного элемента здесь используются прмышленный датчик Сапфир 22ДА. Он преобразует механический момент в электрическое сопротивление. Это необходимо для последующих преобразований выходного сигнала. После датчика сигнал поступает на электронный усилитель сигнала. Он поставляется в комплекте с датчикогм Сапфир 22ДА.

В качестве вторичного прибора используется универсальный электронный вольтметр, с высокой точностью измерения. Питание усилителя производится от источника постоянного питания 36В. Все исользуемое оборудование должно агрегатно и эргономично распологаться на рабочей поверхности лабораторного стола. Все узлы управления доступны и просты. Питание установки осуществляется от сети 220В переменного тока. Все подведенные электрические кабеля заизолированны. О подачи питания сигнализирует лампочка на щитке питания. И еще лампочки-индикаторы на самих измерительных приборах. Установка также заземлена.

4.2 Расчет технической характеристики.

 Полагая что наша установка является экспереметальной, и многие данные могут быть получены только опытным путем, мы оперируем данными приведенными в литературных источниках.

4.3 Расчеты на прочность.

 Для обеспечения необходимой точности измерений величина прогиба на верхней измерительной плите должна составлять 0,05 от всей длины. Универсальрое уравнение для определения прогоибов балки:

w(z) = w0 + q0 z + 1 /EJ [M0 z2 / 2! + Q0 z3 / 3! — q z4 /4!] (31)

Из условия равновесия: М0= МА = - lP

 Q0 = RA = Pw0

Так как начальная координата совпадает с балкой, то : w0 = 0; q0 = 0.

Тогда уравнение прогибов на длине l будет:

w(l) = 1 /EJ [-l *P* l2 / 2! + P l3 / 3!] (32)

w = 300/ 2*1011 * 89,4 * 10-8 *2 *(-5/6 * 0,683) = 0,000219 m

 0,000219 m < 0,00034m

Условие прочности выполняется.

 рис. 4.1

ЗАКЛЮЧЕНИЕ.

 В проведенной научной работе была выявлена перспектива развития данного направления изучения балансировочных процессов. Базовая модель была взята из научной работы [13], выполненной В.В. Мартынюком, А.С. Родилоновым, А.А Павлюченко. Но в настоящей работе было изменено конструкционное и измерительное оснащение. Литые детали были заменены сортовыми, измерительная часть с механической на электрическую.

 В литературно-патентном разделе было изучено много источников, что позволило решить многие проблемы связанные с конструкцией стенда. Конструкция разрабатывалась в соответствии с требованиям принятыми [2 (с. 530)]. Для проведения контроля процесса, были рассмотрены и изучены литературные источники [4,5,6]. В конечном этапе был выбран оптимальный датчик для измерения усилия.

 Экспериментальная и конструкторские части подробно ознакамливают с сутью готовой конструкции. В них заложена база для дальнейшей модернизации отдельных узлов. Дана также методика проведения эксперимента. Целесообразно продолжить работу в этом направлении. Для проведения лабораторных работ это вялятся необходимым.

 Раздел техники безопасности показал что установка является безопасной для обслуживающего её персонала и студентов. Выбранные электрические устройства являются в большинстве смоем низковольтными.

 В экономической части необходимо было исходить к изготовлению данного стенда из наименьших затрат. Но в конечном итоге это не должно сказываться на качестве и точности стенда. Выбранный вариант оптимален.

Контроль осуществляется серийным датчиком, что является удобным в обслуживании и поверке.

 Дальнейшим в перспективе рекомендуется повышать точность установки. Для этого нужно рассмотреть и изучить новые, бесконтактные методы измерений. Интересным также является направление развития установок с газостатическими опорами.

Похожие работы на - Статическая балансировка роторов

 

Не нашли материал для своей работы?
Поможем написать уникальную работу
Без плагиата!
Без нейросетей!