Новая проблема фундаментальной физики
ВВЕДЕНИЕ
Актуальность
работы. Начиная с пятидесятых годов прошлого века
сборные железобетонные конструкции, являются основными в
строительстве промышленных и гражданских зданий. В настоящее время, в связи с
возрастающими объемами технического перевооружения и реконструкции существующих
зданий и сооружений, становятся актуальными вопросы оценки технического
состояния конструкций эксплуатируемых объектов и применения соответствующих
методов их восстановления или усиления. Необходимость оценки технического
состояния конструкций возникает также и в каждодневной деятельности служб
эксплуатации промышленных предприятий при решении вопросов о возможности
дальнейшей эксплуатации, о необходимости выполнения усиления или ремонтных
мероприятий.
Как
показывает опыт обследований эксплуатируемых зданий
с железобетонными конструкциями, одним из наиболее распространенных
повреждений является нарушение сцепления арматуры с бетоном (до 60%
от общего количества поврежденных конструкций), причем в наибольшей степени оно
характерно для наиболее массовых изгибаемых элементов - плит, ригелей.
Причинами нарушения сцепления являются: коррозия арматуры, сколы защитного
слоя бетона, нарушение его структуры вследствие температурно-влажностных
воздействий.
Наиболее
широко распространенным способом усиления ребристых плит при нарушении
сцепления арматуры с бетоном является установка дополнительной
арматуры в растянутую зону. Такое усиление осуществляется при действии
значительной доли нагрузки, так как полная разгрузка конструкций является
затруднительной.
Большой
вклад в разработку методов оценки несущей способности
изгибаемых железобетонных строительных элементов с нарушенным
сцеплением, разработку методов усиления и расчета железобетонных строительных
конструкций внесли А.И. Бедов, В.М. Бондаренко, C.B. Бондаренко,
А.П. Васильев, A.A. Гвоздев, В.В. Гранев, А.Г. Гиндоян, A.C. Залесов,
В.А. Кайменко, В.А. Клевцов, Э.Н. Кодыш, А.Н. Мамин, Н.М. Онуфриев,
Т.М. Пецольд, А.И. Попеско, Б.С. Попович, А.Г. Ройтман, P.C. Санжаровский,
Г.М. Спрыгин, H.H. Трёкин, В.Б. Филатов, Е.Р. Хило и др.
Однако
количественная оценка влияния нарушения сцепления арматуры с бетоном (из-за
коррозии рабочей арматуры) на прочность и деформативность изгибаемых
железобетонных элементов, выявлена недостаточно полно. В действующем СНиП 52-01-2003
отсутствует экспериментальная методика определения несущей способности и
жесткости конструкций с нарушенным сцеплением арматуры с бетоном. Обзор
экспериментальных и теоретических исследований показал, что отсутствие сцепления
может снижать прочность, а также всегда снижает трещин стойкость и
увеличивает деформативность. Практически все экспериментальные данные получены
на моделях железобетонных конструкций с прямоугольным сечением, средним
процентом армирования и искусственно нарушенным сцеплением, которые
не полностью соответствуют конструкциям с дефектами, полученными в ходе
эксплуатации, тогда как автором выявлено, что наибольшее количество
зафиксированных ( дефектов встречаются в железобетонных плитах покрытий и
перекрытий имеющих малый процент армирования.
Целью работы является совершенствование методов расчета "прочности
и декоративности железобетонных плит перекрытий, опертых по трем и четырем
сторонам, и разработка алгоритма программы автоматизированного расчета и
конструирования плит, и также исследование механизма влияния нарушения
сцепления арматуры с бетоном на прочность железобетонных ребристых плит,
разработка методики определения фактической несущей способности и жесткости, а
также оценка эффективности усиления поврежденных плит установкой предварительно
напряженных затяжек в растянутой зоне.
В
соответствии с целью работы решались следующие задачи:
-
проверить достоверность существующих нормативных методик расчета железобетонных
плит на основании анализа опубликованных результатов экспериментальных
исследований; выявить недостатки методик расчета;
-
оценка применимости современных методов расчета жесткости и несущей способности
ребристых плит при указанных выше повреждениях;
-
разработка методики поверочного расчета прочности и жесткости нормальных
сечений эксплуатируемых ребристых плит с частичным и полным нарушением
сцепления арматуры с бетоном;
Общие
сведения
Перекрытия
являются одновременно несущими и ограждающими элементами зданий.
Они
воспринимают постоянные и временные нагрузки от собственного веса, перегородок,
оборудования, мебели, людей и передают их вертикальным опорам.
Перекрытия
вместе тем являются горизонтальными диафрагмами, связывающими между собой
вертикальные несущие конструкции и обеспечивающие устойчивость здания в целом.
Кроме
того, перекрытия подвергаются также воздействиям, связанным с эксплуатацией
здания (эксплуатационная влага, ударный и воздушный звук и т.д.)
Перекрытия
наряду со стенами являются основными структурными частями здания и
в значительной степени определяют уровень его экономичности.
Удельный
вес стоимости перекрытий и полов составляет около 20-25% от общей стоимости
здания, трудоемкость устройства перекрытий достигает 20% общей
трудоемкости возведения здания.
К
перекрытиям предъявляются следующие основные требования:
-
прочность, т. е. способность безопасно выдерживать все действующие на них
нагрузки;
-
жесткость;
-
индустриальность;
-
экономичность, как по первичной стоимости, так
и по эксплуатационным затратам;
-
достаточные звукоизоляционные свойства
Чердачные
перекрытия, перекрытия над подпольями и не отапливаемыми подвалами должны
обладать также достаточными теплозащитными свойствами.
В
зависимости от назначения помещений к ограждающим их перекрытиям могут
предъявляться и специальные требования:
-
водонепроницаемость (например, в саунах, банях, прачечных и др.);
-
несгораемость (например, в кинопроекционных и
других пожароопасных помещениях);
-
газонепроницаемость (например, над котельными).
Перекрытия
состоят из несущей части, передающей нагрузку на стены или отдельные опоры, и
ограждающей, в состав которой входят полы и потолки.
Перекрытия,
в зависимости от материала их основных несущих элементов подразделяются на
деревянные, железобетонные и перекрытия по стальным балкам.
Перекрытия
по деревянным балкам применяются в деревянных зданиях. В каменных, область
применения ограничена зданиями не выше четырех этажей.
Железобетонные
перекрытия отличаются от деревянных большей долговечностью, прочностью и
жесткостью. От перекрытий по стальным балкам - малым расходом метала.
Железобетонные
перекрытия разделяются на:
-
сборные, монтируемые из готовых элементов заводского изготовления;
-
монолитные, бетонируемые в опалубке на месте возводимой конструкции.
Монолитные
перекрытия применяются при строительстве крупных уникальных зданий в
случаях, когда формы и размеры помещений, величина и характер нагрузок и др.
обстоятельства не позволяют использовать типовые элементы заводского
изготовления.
Перекрытия
со стальными балками требуют большего расхода ценного материала - стали. В
настоящее время в массовом гражданском строительства применяются редко.
Железобетонные
перекрытия
Железобетонные
перекрытия выполняются сборные и монолитные.
Сборные
железобетонные перекрытия
Они
в наибольшей степени удовлетворяют требованиям комплексной механизации
строительства зданий, дают возможность уменьшить трудоемкость работ, резко
сократить сроки строительства.
По
виду основных несущих элементов они подразделяются на балочные и панельные.
Балочные
перекрытия состоят из балок, межблочного заполнения и пола.
Балки
применяются таврового профиля. Глубина опирания концов балок на стены или
прогоны принимается не менее 150 мм. Для повышения устойчивости стен концы
балок на опорах закрепляются при помощи стальных анкеров.
Легкобетонные
двух пустотные вкладыши - из бетона М = 75, применяются в перекрытиях,
собственный вес и полезная нагрузка которых не превышает 850 кг/м2.
Не
несущие плиты наката изготовляются из гипсобетона
или легкого бетона М = 75 и армируются деревянным реечным каркасом.
Несущие
плиты наката изготавливаются из легкого бетона М = 100, армируются сварными и
стальными сетками. В помещениях с повышенной влажностью воздуха (свыше 70%) они
не применяются.
При
раскладке балок пользуются шаблонами.
Эти
перекрытия отличаются малым весом монтажных элементов, применяются в тех
случаях, когда на строительстве отдельных зданий нет мощных
подъемно-транспортных механизмов.
Достоинствами
являются долговечность, несгораемость отсутствие необходимости в древесине,
возможность использования местных материалов.
Недостатки:
значительные затраты труда и неизбежность мокрых процессов на строительстве, а
также относительно большой собственный вес.
Предварительно
напряженные железобетонные плиты-настилы 2Т изготовляют для пролетов 9, 12 и 15
м. Ширина плит- настилов ТТ-9 - 1.5 м; ТТ-12 и ТТ-15 - 3 м.
Высота
продольных ребер плит - настилов ТТ-9 - 400 мм; ТТ-12 - 600 мм; ТТ-15 - 750мм.
Для пролетов 18 м предусмотрено изготовление плит - настилов 2Т шириной 3 м с
высотой продольных ребер 900мм.
Компоновка
сборных ребристых перекрытий
Назначение
основных размеров сборных элементов
Сборные
ребристые перекрытия состоят из несущих балок, называемых прогонами, или
главными балками, на которые укладываются сборные панели той или иной
конструкции (рис. 1).
Прогоны
в свою очередь опираются на наружные стены и про-межуточные колонны.
Расположение прогонов в плане может быть различным в зависимости от очертания и
размеров помещения, а также технологических требований. Однако в сборном
перекрытии прогоны предпочтительно располагать поперек здания, так как, будучи
связанными с колоннами, они образуют рамную конструкцию, тем самым увеличивая
общую жесткость здания.
Размещение
колонн в плане следует увязывать с расположением стен и перегородок. Оси колонн
желательно располагать на продолжении входящих углов здания.
Не
рекомендуется принимать такие схемы расположения балок
назначать
такие их размеры, при которых в каждом пролете на прогон укладываются только
две сборные панели. Обычно на каждый прогон опираются три и более панелей.
Пролеты
прогонов lгл промышленных зданий зависят от на-значения сооружения, его
компоновки, высоты помещения, действующей на перекрытие нагрузки, и принимается
обычно 6–9 м. Высота поперечного сечения прогона hгл составляет (1/8–1/12)
lгл, а ширина (0,4–0,5) hгл.
Рис. 1. Конструктивная схема сборного ребристого
перекрытия
1 — прогон; 2 — колонна; 3 — сборные панели; 4 —
пол; 5 — стена
Длина
панели без предвари-тельного напряжения 4,0–6,0 м, ширина — 1,0–3,0 м. Панели
длиной 9–12 м изготовляются из предварительно напряженного железобетона.
Выбор
длины l и ширины b панели тесно связан с расстановкой колонн и направлением
укладки прогонов.
Ребристые
панели могут быть уложены на прогон либо сверху, либо на специальные консольные
выступы-полочки
а)
б)
Рис.
2. Схемы отпирания сборных панелей на прогоны: а — отпирание сверху на прогон;
б — отпирание на консольные выступы прогона
1
— панель; 2 — прогон
шириной
не менее 10 см, устраиваемые на боковых гранях прогона (рис. 2).
Укладывать
панели сверху прогонов можно на консольные вы-ступы с вкладышами между
колоннами или без них (рис. 3). Каждому из этих способов укладки присущи свои
достоинства и недостатки, но предпочтительнее второе решение.
а)
б)
Рис.
3. Расположение сборных панелей на перекрытии при различных схемах опирания их
на прогоны: а — отпирание сверху; б — отпирание на консольные выступы
1
— панель; 2 — прогон; 3 — вкладыш; 4 — колонна
Между
сборными элементами должны быть предусмотрены зазоры в стыках и примыкании друг
к другу. Между панелями настила величина зазоров назначается 0,5–1 см, а между
балка и колоннами — 2–3 см, которые после установки элементов на место
обналичиваются цементным раствором
Размеры
панелей должны назначаться в соответствии с габаритами и предельной
грузоподъемностью оборудования завода — изготовителя, транспортных средств и
монтажных механизмов.
При
этом нужно ориентироваться на укрупнение элементов до предельных значений,
допускаемых по условиям изготовления, транспортировки и монтажа. Если
специальные указания об этих условиях отсутствуют, то грузоподъемность кранов
может быть принята равной 3 или 5 т. Следовательно, вес элементов сборного
перекрытия должен быть близким к этим значениям.
При
разбивке перекрытия на сборные элементы необходимо стремиться к тому, чтобы
количество различных типов элементов было минимальным
Взяв
из конструктивной схемы перекрытия (см. рис. 1 и 3) размеры длины и ширины
панели, следует уточнить ее конструкцию, назначить размеры поперечных сечений
элементов, что необходимо для подсчета собственного веса панели.
промышленном
строительстве широкое распространение получили ребристые панели с ребрами вниз
без предварительного напряжения. Рассмотрим последовательность расчета и
проектирования таких панелей.
Ребристая
панель с ребрами вниз представляет собой коробчатый элемент, состоящий из двух
продольных ребер, связанных между собой монолитной плитой, которая усилена
рядом поперечных ребер-диафрагм (рис. 4).
Минимальная
толщина плиты (полки) h пол в ребристых панелях
ребрами
вниз составляет 5 см. При больших нагрузках (до 25 кН/м2)
толщина
полки может достигать 8–10 см. В любом случае толщина
Рис.
3. Схема ребристой панели с ребрами вниз
1
— плита панели; 2 — диафрагмы; 3 — продольное ребро
Ширина
диафрагмы назначается из конструктивных соображений: по низу 4–6 см, по верху
8–10 см. Высота продольных ребер (hр = hпан) назначается
(1/15–1/20)lпан, а ширина соответственно (0,2–0,3)hр.
Следует отметить, что все размеры элементов панели округляются до сантиметра.
Месторасположение
поперечных ребер — диафрагм панели выбирается таким образом, чтобы торцевые и
средние участки плиты были бы примерно одинаковыми и, кроме того, отношение
сторон (lу/lх) было бы близко к единице. В этом случае
каждый участок плиты будет работать в двух направлениях как плита, опер-тая по
контуру.
Расчеты
показывают, что 65 % общего количества железобетона при сооружении сборных
перекрытий идет на изготовление сборных панелей. Поэтому назначение
оптимальных, экономически оправданных размеров элементов панелей имеет большое
значение для уменьшения стоимости всей конструкции, снижения ее веса и расхода
материалов.
Установка
ребристых плит
Устройство
перекрытий из ребристого материала производится автокраном. Процесс
монтажа включает пять этапов:
Заливка
строительного раствора на торцах здания и свай для обеспечения прочного и
герметичного соединения с ребристой железобетонной плитой. Важно не
допустить преждевременное затвердение песчано-цементной смеси, чтобы не
нарушить целостность готового сооружения. Подъем перекрытия в строго
горизонтальной плоскости на крановых крюках с четырёхстопным пауком.
Четкий
контроль точности подъема и установки изделия.
Заливка
образовавшихся зазоров рабочим раствором. Они появляются из-за конструкционных
особенностей, имеющих технологические уклоны.
Заключительные
работы включают обработку монтажных петель. Их укрепляют металлической вяжущей
проволокой, загибают внутрь и сваривают.
Снаружи
возводимого здания останется кромка в 0,15 м. На ней продолжится кирпичная
кладка. Такой же величины должна быть и плоскость соприкосновения плит с
несущим компонентом.
Ребристый
предварительно напряженный настил пролетом 9 м.
Предварительно
напряженный настил типа тт-12 (12 м) тт-15 (15м)
1
– монтажные петли; 2 – продольные ребра; 3 – поперечные ребра
Железобетонные
ребристые плиты тт- и т-образного сечения для шага стен до 15 м (серия 1.242-1)
Применяются
в перекрытиях и крышах общественных зданий
СТАТИЧЕСКИЙ
РАСЧЕТ
ЭЛЕМЕНТОВ
РЕБРИСТОЙ ПАНЕЛИ И ПОДБОР АРМАТУРЫ
2.1. Расчет
нагрузок
Прежде чем приступить к
статическому расчету элементов ребристой панели, установим значения постоянных
и временных нагрузок, действующих на панель.
Постоянная нагрузка
включает в себя собственный вес панели и вес пола. Приведем некоторые типы
полов и их вес.
1. Пол из керамических плит
по шлакобетонному отеплителю:
|
керамические
плиты 2 см ...........
|
(ρ = 2500 кг/м3)
– 500 Н/м2; (50 кгс/м2)
|
|
цементная
подливка 2 см ..........
|
(ρ = 2200 кг/м3)
– 440 Н/м2; (44 кгс/м2)
|
|
шлакобетонная
тепло-
|
(ρ = 1200 кг/м3)
– 1200 Н/м2; (120 кгс/м2)
|
|
звукоизоляция
10 см .............
|
|
|
|
|
|
|
Всего
...................
|
g n
|
=
2140 Н/ м2 (214 кгс/м2)
|
|
|
|
пол
|
|
|
|
2.
Чистый цементный пол по железобетонной плите:
|
|
цементный
слой 3 .......................
|
см
(ρ = 2200кг/м3)
— 660 Н/м2
|
|
|
|
|
|
|
|
Всего
....................
|
g n
|
|
=
660 Н/м2
|
|
|
|
пол
|
|
|
|
3.
Чистый цементный пол по шлакобетону:
|
|
цементный
слой 3 см ..................
|
(ρ = 2200кг/м3)
— 660 Н/м2
|
|
шлакобетон
8 см ........................
|
(ρ = 1200кг/м3)
—960 Н/м2
|
|
|
|
|
|
|
Всего
....................
|
g n
|
|
=
1620 Н/м2
|
|
|
|
пол
|
|
|
|
4.
Деревянные шашки по асфальту:
|
|
деревянные
шашки 11 см ..........
|
(ρ = 600кг/м3)
—660 Н/м2
|
|
асфальт
3 см ...............................
|
(ρ = 1800 кг/м3)—540
Н/м2
|
|
|
|
|
|
|
Всего
....................
|
g n
|
|
=
1200 Н/м2
|
|
|
|
пол
|
|
5.
Асфальтовый пол по железобетонной плите:
слой
асфальта 3 см ...................... (ρ = 2200кг/м3)—660 Н/м2
Всего
.................... gполn = 660 Н/м2
6. Паркетный пол по асфальту:
паркет
3 см ................................. (ρ =800 кг/м3) —240 Н/м2
асфальт
3 см ............................... (ρ =1800кг/м3) —540 Н/м2
Всего
.................... gполn = 780 Н/м2
При подсчете собственного веса панели
плотность железобетона следует принимать равной ρ = 2500 кг/м3=
25 кН/м3
Нормативная полезная
временная нагрузка рn (Н/м 2) для междуэтажных
перекрытий устанавливается в зависимости от на-значения помещений,
расположенных на перекрытии грузов (в нашем случае величину рn
задает руководитель проектирования).
Отметим, что при расчете
сборных перекрытий полезная на-грузка задается равномерно распределенной по
площади панели.
2.2. Статический
расчет плиты панели
Подсчет нормативных и
расчетных нагрузок, действующих на 1м2 плиты панели, выполним в
табличной форме (табл. 1).
Та
б л и ц а 1
|
Наименование
нагрузки,
|
Норматив-
|
Коэффициент
|
Расчетная
|
|
|
Н/м2
|
ная
|
надежности
|
нагрузка
|
|
|
нагрузка
|
по
нагрузке, γf
|
|
|
|
|
|
Постоянная
|
|
|
|
|
|
Собственный
вес плиты
|
н
|
1,1
|
gпл
|
|
|
|
панели
hпл γжб
|
|
|
gпл
|
|
|
|
|
Собственный
вес пола
|
gполн
|
1,2–1,3
|
gпол
|
|
|
Полезная
|
рн
|
1,2
|
р
|
|
При подсчете расчетных нагрузок
учитываются коэффициенты надежности по нагрузки γf. Для постоянных
нагрузок принимают
γf = 1,1 — для плиты,
γf = 1, 2–1, 3 — для
пола. В нашем случае для полезной нагрузки γf = 1, 2.
|
Таким
образом, расчетная постоянная нагрузка равна
|
|
|
g = γf gn,
|
(1)
|
|
а
расчетная полезная
|
|
|
р = γ рn.
|
(2)
|
|
f
|
|
Плита ребристой панели
в статическом отношении представ-ляет собой однорядную многопролетную плиту,
работающую в двух направлениях, упруго защемленную на продольных ребрах и
диафрагмах (рис. 5). Опорные моменты, передающиеся от плиты на продольные ребра
и торцевые (крайние) диафрагмы, вызывают в них кручение.
а) б)
Рис. 5.
Расчетные схемы торцевой (крайней) и средней плит панели: а — торцевая
плита; б — средняя плита
Ввиду возможного
поворота продольных ребер и торцевых диафрагм можно допустить, что вдоль этих
ребер плита оперта шарнирно. Вдоль же средних диафрагм плиту следует считать
жест-ко защемленной, так как поворот опорных сечений плиты на средних
диафрагмах практически отсутствует.
Таким образом, торцевые
участки плиты панели можно рассматривать как плиту,
шарнирно опертую по
трем сторонам и жестко, заделанную по четвертой (рис. 5, а), а средние —
как плиту,
шарнирно опертую по
двум сторонам, а по двум другим — жестко заделанную (рис. 5, б).
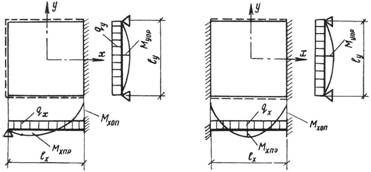
Изгибающие моменты могут быть определены с помощью табл. 2 для расчета плит,
опертых по контуру со-ответственно для торцевой плиты (случай а) и для
средней плиты (случай б). Подсчитаем наибольшие значения
пролетных изгиба-ющих моментов в торцевой плите (рис. 5, а) в
направлении осей х и у по формулам
|
ql
|
2
|
|
|
M x пр =
|
|
x
|
|
|
ϕ x
|
|
|
(3)
|
|
|
2
|
|
M y пр =
|
qly
|
|
|
|
|
|
|
|
|
|
|
ϕ y
|
|
|
|
|
|
|
где q = (g + р)b —
полная расчетная нагрузка на 1 пог. м полосы шириной b= 1м, вырезанной
условно в центре плиты в направлении осей х и у; ϕx
и ϕу
— табличные коэффициенты, зависящие от от-ношения ly/lx
(см. табл. 2, случай а); lx = a – bд/2,
ly = b – bр – рас-четные пролеты участков
плиты.
Та б л и ц а 2
|
Случай
а
|
Случай
б
|
|
ϕх
|
ϕy
|
α
|
ly/lx
|
ϕх
|
ϕy
|
α
|
|
|
|
|
|
|
|
|
140,91
|
11,28
|
0,135
|
0,50
|
136,06
|
12,48
|
0,2381
|
|
|
|
|
|
|
|
|
85,30
|
13,70
|
0,245
|
0,60
|
87,62
|
16,12
|
0,3932
|
|
|
|
|
|
|
|
|
59,24
|
17,19
|
0,375
|
0,70
|
63,69
|
21,61
|
0,5456
|
|
|
|
|
|
|
|
|
44,56
|
21,99
|
0,506
|
0,80
|
50,42
|
29,56
|
0,6709
|
|
|
|
|
|
|
|
|
35,74
|
28,37
|
0,621
|
0,90
|
42,48
|
40,65
|
0,7674
|
|
|
|
|
|
|
|
|
29,93
|
36,75
|
0,714
|
1,00
|
37,47
|
55,74
|
0,8333
|
|
|
|
|
|
|
|
|
26,02
|
47,58
|
0,785
|
1,10
|
34,18
|
75,33
|
0,8798
|
|
|
|
|
|
|
|
|
23,33
|
61.38
|
0,838
|
1,20
|
31,93
|
101,68
|
0,9120
|
|
|
|
|
|
|
|
|
21,48
|
78,75
|
0,877
|
1,30
|
30,34
|
134,65
|
0,9346
|
|
|
|
|
|
|
|
|
Подсчитаем
опорный момент:
|
|
|
|
|
|
q l 2
|
|
|
|
M x оп = −
|
x x
|
,
|
(4)
|
|
|
8
|
|
|
|
|
|
где qx = αq
доля нагрузки, передаваемая в направлении оси х. Коэффициент α
также берется из табл. 2 (случай а). Аналогичным образом по формулам (3)
подсчитаем значения пролетных моментов Мх пp и Му
пp в средних плитах, только значение коэффициентов ϕx
и ϕу
находим из табл. 2 (случай б). Для определения же опорного момента в
средней плите необходимо воспользоваться формулой:
|
q
|
l 2
|
|
|
|
M x on = −
|
|
x x
|
,
|
(5)
|
|
|
12
|
|
|
|
|
|
где
qx = αq, но
определяется по случаю б.
Рис. 6.
Результирующее эпюры
изгибающих
моментов в плитах панели
Статический расчет
плиты ребристой панели заканчивается построением результирующих эпюр изгибающих
моментов (рис. 6).
2.3.
Подбор арматуры в плите панели
Для изготовления панелей без
предварительного напряжения обычно применяют бетон проектной марки В30,
стержневую арматуру из стали классов А-II, А-III или холоднотянутую арматурную
проволоку класса Вр-I. Выбрав марку бетона и класс арматурной стали,
по нормам находят расчетные сопротивления бетона (Rb) и стали
(Rs). Расчетная схема приведена на рис. 7.
Рис.
7. Расчетная схема для подбора продольной арматуры в балках (плитах)
прямоугольного поперечного сечения с одиночной арматурой
Из экономических
соображений назначается такой процент армирования плиты панели μ %, при
котором конструкция будет более экономичной. Теоретически установлено, что
стоимость конструкции минимальна при равной стоимости бетона и арматуры,
расходуемых на погонный метр конструкции. Этому условию соответствует μ
=1,6 %.
Однако, учитывая
дефицитность стали, технологические и конструктивные условия, толщину плиты
панели подбирают обычно такой, чтобы процент армирования в сечениях с
наибольшим моментом составлял 0,7–0,8 %, а в остальных сечениях 0,4–0,6 %.
Прежде чем приступить к
определению площади сечения арматуры, рассчитаем высоту плиты hnл,
учитывая при этом рекомен-дуемые выше проценты армирования в сечениях элемента.
Полезная
толщина плиты определяется по формуле:
где
M — наибольший пролетный или опорный изгибающий момент
в
торцевой
или средней частях плиты; b — расчетная ширина полосы плиты (принимается
равной 100 см); А0 — коэффициент, за-висящий от ξ,
Rs, Rb и μ %. Значения А0
приведены в табл. 1 прил.
4
в зависимости от параметра ξ:
100 Rb
При этом должны быть
соблюдены следующие условия ξ ≤ ξR
и A0
≤
A0R, где ξR,
A0R — граничные значения коэффициента; ξ,
A0 определяются из табл. 3 прил. 3
Полная
толщина плиты находится из условия:
h = h0
+ а, (8) где h0 — расстояние от центра
тяжести растянутой арматуры до сжатой грани плиты; а — то же до
растянутой грани плиты панели,
а
=
10–15 мм.
Определив толщину плиты в сечении с
наибольшим изгибаю-щим моментом, сохраняют ее такой же по всей площади плиты,
округлив предварительно до целого сантиметра.
После того как окончательно установлена
толщина плиты h, уточнены марка бетона и класс арматуры, определяют
сначала h0, h0 =
h −
a,
а затем в каждом расчетном сечении подсчитывают параметр А0:
|
A0
=
|
Mi
|
≤
A0R .
|
(9)
|
|
|
bh 2R
|
|
|
0
b
|
|
|
|
По значению A0 в табл.
1 прил. 4 отыскивают соответствующее значение коэффициента η,
после чего площадь сечения арматуры определяют по формуле:
Mi
|
.
|
(10)
|
|
|
ηh0R
s
|
|
|
|
|
|
При этом необходимо помнить, что
величина h0 будет разной при подсчете арматуры в плите в
направлениях осей х и у, что связано с двухрядным ее
расположением (Asx и Asy).
Все расчеты арматуры в плите панели
удобно выполнить в табличной форме (табл. 3) (см. также прил. 4).
Следует отметить, что площадь сечения
арматуры As подобрана для полосы шириной один метр, условно
вырезанной в зоне плиты панели с максимальными изгибающими моментами в
направлении осей х и у (см. рис. 6).
Зная расчетную площадь сечения арматуры As
на 1 пог. м ширины, выполняют армирование всей плиты панели в соответствии с
нормами.
Плита панели, как правило, армируется
сварными сетками, которые изготовляются из отдельных стержней арматуры,
свариваемых между собой с помощью контактной точечной сварки.
Лишь в особых случаях при отсутствии
сварочного оборудования армирование плиты панели допускается производить
вязаны-ми сетками.
Пролетные
участки торцевых и средних плит панели работают
в
двух
направлениях, поэтому для их армирования изготовляют сетки с рабочей арматурой
в двух направлениях, причем количество арматуры на каждый погонный метр сетки в
обоих направлениях должно соответствовать расчетному сечению Устанавливаются
эти сетки по низу плиты (см. рис. 8). В пли-тах панели количество рабочих
стержней на 1 по гм в обоих на-правлениях должно быть не менее пяти, т. е.
расстояние между отдельными стержнями не должно превышать 20 см, а максимальное
количество стержней устанавливается от 14 до 20 и зависит от наименьшего
допустимого расстояния между ними в соответствии с табл.4. Следует отметить,
что фактическая площадь арматуры не должна отклоняться от расчетной более чем
на 10 %
в большую
сторону, а отклонение в меньшую сторону не должно превышать 2 %.
Диаметр
рабочих стержней из арматуры периодического про-
филя
классов А-ІІ и А-ІІІ обычно составляет 6–12 мм, а из арматурной проволоки BР-1–3–5
мм.
При
подборе арматуры в одной плите панели не следует принимать более трех различных
диаметров.
а)
б)
Рис. 8. Схема армирования участка
плиты панели: а — план верхней арматуры; б — план нижней арматуры
Вследствие уменьшения
пролетных моментов в сечениях плиты, расположенных у продольных ребер и
поперечных диафрагм, рекомендуется применять сетки, у которых часть стержней не
доходит до краев (см. рис. 8). Однако в соответствии с нормами
влюбом случае до
опоры должно быть доведено не менее 1/3 про-летной арматуры и не менее трех
стержней на 1 по гм плиты.
Та
б л и ц а 4
|
Диаметры
стержней
|
3
|
4
|
5
|
6
|
8
|
10
|
12
|
14
|
16
|
18
|
20
|
|
|
одного
направления d1, мм
|
|
|
|
|
|
|
|
|
|
|
|
|
|
|
Наименьшие
допускаемые
|
|
|
|
|
|
|
|
|
|
|
|
|
|
диаметры
стержней
|
3
|
3
|
3
|
3
|
3
|
3
|
4
|
5
|
5
|
6
|
6
|
|
|
другого
направления d2, мм
|
|
|
|
|
|
|
|
|
|
|
|
|
|
Наименьшие
допускаемые
|
|
|
|
|
|
|
|
|
|
|
|
|
|
расстояния
между осями
|
50
|
50
|
50
|
50
|
75
|
75
|
75
|
75
|
75
|
100
|
100
|
|
|
стержней
одного
|
|
|
|
|
|
|
|
|
|
|
|
|
|
|
направления
umin и υmin,
мм
|
|
|
|
|
|
|
|
|
|
|
|
|
|
Наименьшие
допускаемые
|
|
|
|
|
|
|
|
|
|
|
|
|
|
расстояния
между осями
|
|
|
|
|
|
|
|
|
|
|
|
|
|
продольных
стержней υmin
|
–
|
–
|
–
|
30
|
30
|
30
|
40
|
40
|
40
|
40
|
40
|
|
|
при
их двухрядном
|
|
|
|
|
|
|
|
|
|
|
|
|
|
расположении
в каркасе
|
|
|
|
|
|
|
|
|
|
|
|
|
|
|
|
|
|
|
|
|
|
|
|
|
|
Над промежуточными диафрагмами по верху
плиты ставятся плоские сетки с рабочей арматурой в одном продольном
(относительно размеров панели) направлении. Над торцевыми же диафрагмами и
продольными ребрами по верху плиты устанавливаются сетки с гнутыми рабочими
стержнями (см. рис. 8): не менее трех стержней на 1 пог. м. Площадь этой
арматуры составляет примерно 25 % от площади пролетной расчетной арматуры.
Предназначена такая арматура для восприятия изгибающих моментов, возникающих в
сечениях плиты у продольных ребер
иторцевых диафрагм, которые при
расчете плиты не учитывались (см. рис. 6).
Перпендикулярно рабочей арматуре в над
опорных сетках устанавливается распределительная арматура, минимальный
диаметр которой принимается из табл. 4,
а количество стержней должно быть не менее трех на 1 пог. м.
Над опорные сетки следует продолжить не
менее чем на 1/4 пролета в каждую сторону от опоры.
При небольшой толщине плиты (hпл
= 50–60 мм) и диаметрах арматуры d ≤
5,0 мм) плита панели может быть за армирована по всей площади панели одной
сеткой с рабочей арматурой в двух направлениях, площадь сечения которой
подобрана по максимальному пролетному или опорному моменту. В этом случае сетка
укладывается на пролетных участках плиты по низу с соблюдением защитного слоя а
= 10–15 мм, а на опорах (диафрагмах и продольных ребрах) отгибается в верхнюю
зону.
2.4. Статический расчет
и подбор продольной арматуры в диафрагме
Поперечные ребра-диафрагмы
рассматриваются как однопролетные свободно опертые балки. Нагрузка на них
передается от плиты либо по закону треугольника — если расстояние между
диафрагмами больше ширины панели (при а′
> bп) (рис. 9, а), либо по закону трапеции (при а′
< bп).
Закон передачи нагрузки устанавливается
путем проведения биссектрис углов между продольными и поперечными ребрами.
Обычно при назначении числа поперечных диафрагм принимают а’ > bп.
В этом случае расчетная схема диафрагм будет иметь вид, представленный на рис.
9, б. Величина расчетного пролета принимается равной расстоянию между
осями продольных ребер.
На
рис. 9, а показаны нагрузки, действующие на диафрагму. Вес 1 пог. м
диафрагмы
|
gс в д=(hд
– hпл)bд ср γжб
γf,
|
(11)
|
где bд ср — средняя
ширина сечения диафрагмы (bд ср=60–80 мм); γf
= 1,1 — коэффициент надежности по нагрузке, γжб
= 25 кН/м2
Наибольшее значение треугольной нагрузки
q0, передаваемой от плиты, включая вес плиты, вес пола и
полезную нагрузку для средних диафрагм, найдем по формуле
где g и р — соответственно постоянная
и временная расчетные нагрузки на 1 м2 плиты (берутся из табл. 1); bпан
— ширина пане-ли. Поперечное сечение диафрагм показано на рис. 9, б, в.
б)
а)
в)
Рис.
9. Схема загрузки диафрагмы: а — грузовая площадь;
б — расчетная схема; в —
поперечное сечение
Ширина сечения
диафрагмы по низу принимается из условия размещения одного плоского каркаса.
Наибольший изгибающий
момент в пролете и поперечная сила на опорах при треугольном законе передачи
нагрузки определяются по формулам
|
M =
|
g
|
|
l
|
2
|
+
|
q l 2
|
|
|
|
|
|
свд д
|
0
д
|
|
|
|
|
|
|
|
|
|
|
|
|
|
|
|
|
|
|
|
|
|
|
8
|
|
|
|
|
|
12
|
(13)
|
|
|
g
|
свдl
|
|
|
|
|
q0lд
|
,
|
|
|
Q =
|
д
|
|
+
|
|
|
|
|
|
|
|
|
|
|
|
|
|
|
|
|
|
|
2
|
|
|
|
4
|
|
|
|
|
|
|
|
|
|
|
|
|
|
|
|
|
где
lд = bпан — bр —
расчетный пролет диафрагмы.
При
определении полезной высоты сечения диафрагмы h0 =
= hд
–
а необходимо помнить, что толщина защитного слоя в соответствии с нормами
проектирования должна быть назначена
не
менее диаметра продольной арматуры и не менее 15 мм при hд
≤
250
мм, или не менее 20 мм при hд ≥
250
мм.
При подсчете А0 следует предварительно
установить расчетную ширину диафрагмы. Это делается из следующих соображений.
Вследствие монолитного сопряжения элементов панели друг
с
другом
в работу сечения диафрагм (и продольных ребер) вклю-чается некоторый участок
плиты, т. е. диафрагмы имеют вид
тавра
(см. рис. 9, в).
Ширина полки этого тавра b′пол
принимается равной при-мерно 1/3 пролета диафрагмы.
|
При
невыполнении условия (14) нейтральная ось будет про-ходить в ребре диафрагмы
и, следовательно, сечение должно рас-считываться как тавровое. В этом случае
расчетный момент представляется в виде суммы двух моментов: Мсв
и Мр, где Мсв — момент, воспринимаемый
свесами полки и частью арматуры Аs1; Мр — момент,
воспринимаемый ребром диафрагмы и остальной частью арматуры Аs
2,
Полная
площадь продольной арматуры равна:
|
|
|
Аs
=
Аs 1 + Аs 2.
|
(18)
|
После определения площади продольной
арматуры намечается предварительная схема армирования и подсчитывается про-цент
армирования, отнесенный к полезной площади диафрагмы:
который не должен превышать μmax
%. Затем производят расчет поперечной арматуры и окончательно решаются вопросы
конструирования диафрагмы.
КОМПОНОВКА
СБОРНЫХ РЕБРИСТЫХ ПЕРЕКРЫТИЙ
И
НАЗНАЧЕНИЕ ОСНОВНЫХ РАЗМЕРОВ
СБОРНЫХ ЭЛЕМЕНТОВ
Сборные ребристые перекрытия состоят из несущих
балок, называемых прогонами, или главными балками, на которые укладываются
сборные панели той или иной конструкции (рис. 1).
Прогоны в свою очередь опираются на наружные стены и
промежуточные колонны. Расположение прогонов в плане может быть различным в
зависимости от очертания и размеров помещения, а также технологических
требований. Однако в сборном перекрытии прогоны предпочтительно располагать
поперек здания, так как, будучи связанными с колоннами, они образуют рамную
конструкцию, тем самым увеличивая общую жесткость здания. Размещение колонн в
плане следует увязывать с расположением стен и перегородок. Оси колонн
желательно располагать на продолжении входящих углов здания. Не рекомендуется
принимать такие схемы расположения балок и назначать такие их размеры, при
которых в каждом пролете на прогон укладываются только две сборные панели.
Обычно на каждый прогон опираются три и более панелей. Пролеты прогонов lгл
промышленных зданий зависят от назначения сооружения, его компоновки, высоты
помещения, действующей на перекрытие нагрузки, и принимается обычно 6–9 м.
Высота поперечного сечения прогона hгл составляет (1/8–1/12)lгл,
а ширина (0,4–0,5)hгл.
|
|
|
Рис.
1. Конструктивная схема сборного ребристого перекрытия
1
— прогон; 2 — колонна; 3 — сборные панели; 4 — пол; 5 — стена
|
|
Длина панели без предварительного напряжения 4,0–6,0
м, ширина — 1,0–3,0 м. Панели длиной 9–12 м изготовляются из предварительно
напряженного железобетона. Выбор длины lпан и ширины bпан
панели тесно связан с расстановкой колонн и направлением укладки прогонов.
Ребристые панели могут быть уложены на прогон либо
сверху, либо на специальные консольные выступы-полочки шириной не менее 10 см,
устраиваемые на боковых гранях прогона (рис. 2).
Рис.
2. Схемы отпирания сборных панелей на прогоны: а — отпирание сверху на прогон; б
— оперение на консольные выступы прогона
1 — панель; 2 —
прогон
Укладывать панели сверху прогонов можно на
консольные выступы с вкладышами между колоннами или без них (рис. 3). Каждому
из этих способов укладки присущи свои достоинства и недостатки, но
предпочтительнее второе решение.
Рис.
3. Расположение сборных панелей на перекрытии при различных
схемах
оперения их на прогоны: а — оперение сверху; б — оперение
на
консольные выступы1 — панель; 2 — прогон; 3 — вкладыш; 4 — колонна
Между
сборными элементами должны быть предусмотрены
зазоры
в стыках и примыкании друг к другу. Между панелями настила величина зазоров
назначается 0,5–1 см, а между балка и колоннами — 2–3 см, которые после
установки элементов на место омоноличиваются цементным раствором
Размеры
панелей должны назначаться в соответствии с габаритами и предельной грузоподъемностью
оборудования завода — изготовителя, транспортных средств и монтажных
механизмов.
При
этом нужно ориентироваться на укрупнение элементов до
предельных
значений, допускаемых по условиям изготовления,
транспортировки
и монтажа. Если специальные указания об этих
условиях
отсутствуют, то грузоподъемность кранов может быть
принята
равной 3 или 5 т. Следовательно, вес элементов сборного
перекрытия
должен быть близким к этим значениям.
При
разбивке перекрытия на сборные элементы необходимо
стремиться
к тому, чтобы количество различных типов элементов
было
минимальным
1.1.1 Особенности и
виды плит перекрытия
Понятием «плита
перекрытия» обозначается железобетонная конструкция, предназначенная для
использования при выполнении строительных работ по возведению сооружений
различного вида. Это своего рода универсальный строительный материал, который
применяется для того, чтобы выполнить междуэтажные перекрытия, а также для
обустройства конструкций несущего характера.
1. 1. 2Основные сферы применения
Самый
распространенный вариант применение перекрытия – это устройство между этажами
при строительстве зданий.
Учитывая
параметры такого изделия, как плита перекрытия, а также доступную стоимость, их
использование распространено достаточно широко. Самый традиционный вариант
применения железобетонных конструкций – использование для устройства
межэтажного перекрытия при строительстве различных зданий.
·
Для
этого используются системы пустотного характера. Такой вид элементов, как
ребристые, используют в устройстве кровельной конструкции, чаще всего там, где
площадь кровли имеет большие размеры, например, склады. Здесь имеются в виду
помещения, не оснащенные отоплением.
·
Еще
одним направлением использования деталей перекрытия является строительство
гаражей, ограждающих конструкций теплотрассы, стеновых перегородок и др.
Связано это с тем, что таким аксессуарам присущи точные геометрические
параметры, и с удобным осуществлением монтажных работ.
·
Если
при использовании подобных изделий будут соблюдены все технологические требования
монтажа, то вы с легкостью получите в свое распоряжение очень ровную
поверхность потолка и пола. А как можно понять из практики, это значительно
упрощает выполнение внутренней отделки помещения. Еще один плюс – большой срок
службы.
Если
вы будете точно выполнять правила монтажа и эксплуатации, то качественное и
долговечное покрытие будет вас радовать не одно десятилетие.
На
сегодняшний момент усовершенствованные технологические процессы и использование
при производстве железобетонных плит перекрытия высококачественных материалов
позволяют в итоге получить продукцию, отвечающую высоким стандартам.
Все
современные конструкции зданий по своему производственному процессу
подразделяются на две большие группы:
·
здания
из монолитного бетона
·
здания
и сооружения из сборного железобетона
1.1.3СРАВНЕНИЕ
ПЛИТ ПЕРЕКРЫТИЯ И МОНОЛИТА
У каждой из этих групп есть преимущества и недостатки. Монолитные конструкции
зданий и сооружений имеют главное и неоспоримо е преимущество – можно делать
почти любые мыслимые и немыслимые формы, воплощая творческие видения
архитектора. Другим не менее важным преимуществом является то, что монолитные
конструкции более прочные, благодаря тому, что стальной каркас из арматуры
проходит через все конструкции здания единым целым. При этом количество бетона,
и толщина несущих опор может быть уменьшена, что также может сказаться на
бюджете в положительную сторону.
У зданий из сборного железобетона свои преимущества. В первую очередь это сроки
возведения сооружения – все части будущего здания привозятся на стройплощадку в
уже готовом виде, а монолит набирает прочность после 28 дней, хотя на больших
строительных объектах следующий этаж уже возводят через 1,5-2 недели, после
заливки предыдущего этажа. Плюс благодаря стандартизированному и автоматизированному
производственному процессу, все изделия получают стандарты качества в
установленных нормативных пределах.
Также стоит отметить что затраты на работу людей и техники при возведений
зданий из сборного железобетона существенно ниже. Например, если при заливке
монолитом плиты перекрытия при расчетной стоимости бетона 3000 рублей за 1 куб
бетона, работа строителей будет стоить около 3 тысяч рублей за 1 куб залитого
бетона, в работу входит стоимость вязки или сварки арматурного каркаса,
установка опалубки и заливка бетона. Итого цена примерно 6 тысяч рублей за 1
куб готового изделия.
1.1.4Виды
плит перекрытия: полнотелые плиты
Различают три
вида полнотелых монолитных плит перекрытия – это ребристые, кессонные и
безбалочные плиты.
·
Ребристые
плиты перекрытия представляют собой систему перекрещивающихся между собой
балок, пространство между которыми заполнено бетоном. Данный тип перекрытий
призван выдерживать большие нагрузки – в большинстве случаев их применяют при
строительстве производственных и торговых площадей, на которых размещается
оборудование большого веса. В частном и жилом строительстве такие перекрытия не
используются – во-первых, это дорого, а, во-вторых, нецелесообразно.
Полнотелые
плиты перекрытия фото
·
Кессонные
плиты перекрытия представляют собой, опять же, сетку одинаковых по габаритам
балок, пространство между которыми заполнено более тонким слоем бетона. Этот
тип перекрытия также не применяется в жилом и частном строительстве – как и
предыдущий вид перекрытий, его используют при строительстве промышленных
зданий. Кессонные перекрытия способны выдерживать очень большую нагрузку.
Кессонные
плиты перекрытия фото
·
Безбалочные
плиты перекрытия представляют собой ровную монолитную плиту, которую при
строительстве опирают не только на стены, но и на
колонны. Это именно тот тип полнотелых железобетонных плит, который самым
лучшим образом подходит для изготовления перекрытий жилых домов. Их гладкая
структура позволяет избавиться от последующей установки систем подвесных потолков – плита просто шпаклюется и
красится. Как говорится, просто и красиво.
Размер всех
полнотелых монолитных плит перекрытия практически не ограничен –
изготавливаются они непосредственно на объекте. Устанавливается
горизонтальная опалубка, укладывается
арматурный каркас, после чего все это заливается
бетоном,
при этом бетонировка осуществляется непрерывно. Только так можно получить
монолитное перекрытие.
Плита перекрытия пустотная: виды и для чего предназначен каждый из них
Многопустотные
плиты перекрытия могут отличаться друг от друга по трем признакам – форме,
диаметру пустот и габаритным размерам. С учетом этих различий все пустотные
плиты перекрытия разделили на 15 типов, каждому их которых присвоили свою
маркировку.
1.
1ПК
– плита с круглыми пустотами, диаметр которых составляет 159мм, а толщина
220мм. Предназначена для укладки поверх стен с опиранием по двум сторонам.
2.
1ПКТ
– железобетонная плита с круглыми пустотами при толщине плиты в 220мм, диаметр
пустот составляет 159мм. Укладывается с опиранием по трем сторонам.
3.
1ПКК
– круглопустотная железобетонная плита. Диаметр пустот составляет 159мм, а
толщина плиты равна 220мм. Плита предназначена для укладки на стены с опорой по
четырем сторонам.
4.
2ПК
– плита с круглыми пустотами толщиной 220мм и диаметром отверстий 140мм.
Укладывается с опорой на две стороны.
5.
2ПКТ
– плита с пустотами диаметром 140мм. Имеет толщину 220мм и предназначена для
укладки на стены с опорой на три стороны.
6.
2ПКК
– железобетонная плита толщиной 220мм и диаметром пустот 140мм. Укладывается с
опорой на четыре стены.
Монолитная
плита перекрытия фото
7.
3ПК
– плита круглопустотная толщиной 220мм и диаметром отверстий, который
составляет 127мм. Опирание плиты осуществляется на две торцевые стороны.
8.
3ПКТ
– железобетонная плита толщиной 220мм и диаметром пустот 127мм. Устанавливается
с опорой на 3 стороны (две торцевые и одну длинную).
9.
3ПКК
– плита с круглыми пустотами, диаметр которых составляет 127мм. При толщине в
220мм данная плита требует установки с опорой по четырем сторонам.
10.
4ПК
– плита железобетонная с круглыми пустотами диаметром 159мм. Толщина плиты в
260мм позволяет устанавливать ее с опорой по двум торцевым сторонам.
11.
5ПК
– круглопустотная плита толщиной 260мм и диаметром отверстий 180мм. Ее
установка осуществляется с опиранием по двум торцевым сторонам.
12.
6ПК
– плита, имеющая круглые пустоты. Ее толщина составляет 300мм, а диаметр пустот
203мм. Опирание этой плиты осуществляется по двум торцевым сторонам.
13.
7ПК
– плита имеет толщину 160мм и диаметр пустот 114мм. Предназначена для установки
с опорой на две торцевые стороны.
14.
ПГ
– железобетонная плита с овальными пустотами. Изготавливается толщиной 260мм и
предназначена для установки на стены с опорой по двум торцам.
15.
ПБ
– круглопустотная железобетонная плита, изготавливаемая методом непрерывной
формовки. Может разрезаться в любой размер. Этот тип плит имеет толщину 260мм,
диаметр пустот 159мм и предназначен для установки на стены с опорой на две
торцевые стороны. Размеры всех этих пустотных плит перекрытия унифицированы –
они могут иметь длину 6 или 12м и ширину, составляющую 1, 1,2 и 1,8м.
1.1.5Основные
параметры железобетонных ребристых плит перекрытий
Для того чтобы многоэтажный дом
соответствовал всем требованиям прочности, необходимо использовать
высококачественные материалы. На
сегодняшний день строительная отрасль изобилует перекрытиями разных типов,
однако чаще всего прибегают к монтажу ребристых плит перекрытия.
Столь высокая популярность данного типа несущих конструкций вполне объяснима,
ведь они обладают способностью равномерно справляться с нагрузкой, передающейся
от тяжеловесной постройки.
1.2.1
ОСНОВНЫЕ
ПОНЯТИЯ О МОНОЛИТНЫХ ЖЕЛЕЗОБЕТОННЫХ
РЕБРИСТЫХ
ПЕРЕКРЫТИЯХ
Перекрытия, основные несущие элементы которых
(плиты, балки) располо-
жены в горизонтальной плоскости, называются
плоскими.
Плоские железобетонные перекрытия по конструктивной
схеме могут быть
разделены на две основные группы: балочные и без балочные.
Балочными называют перекрытия, в которых балки работают совместно с
опирающимися на них
плитами перекрытий. Без балочные перекрытия
представляют собой плоские плиты, опирающиеся на колонны или их капители.
Одним из видов балочных перекрытий являются
монолитные ребристые перекрытия , которые состоят из плоской плиты (полки) и
монолитно сопряженной с ней системы перекрестных балок, главных и
второстепенных. Сущность конструкции монолитного ребристого перекрытия
заключается в удалении
бетона из растянутых зон сечений, где он не
оказывает влияния на несущую способность конструкции. В растянутых зонах
сохранены лишь ребра – второстепенные и главные балки – для расположения
рабочей арматуры и восприятия поперечных сил. Плита перекрытия является полкой
балок (ребер), работающих как
тавровые сечения. Плита непосредственно воспринимает
нагрузку и работает на местный изгиб по пролету, равному расстоянию между
гранями ребер в свету.
Второстепенные балки воспринимают нагрузку от плиты
и передают ее на монолитно связанные с ними главные балки. Опорами для
второстепенных балок служат, как правило, главные балки, а в зданиях с неполным
каркасом крайними опорами для них являются наружные несущие стены. Главные
балки воспринимают
нагрузку от второстепенных балок и передают ее на
колонны и, в случае здания с неполным каркасом, на наружные стены (крайние
опоры).
При компоновке перекрытия расчетную схему полки
плиты можно предусмотреть балочной или работающей в двух направлениях.
Критерием при выборе расчетной схемы плиты служит соотношение сторон l2/l1, где
l2 – длинная сторона плиты, l1 – короткая сторона плиты. При l2/l1 ≤ 2
плита работает в двух направлениях, и расчетной схемой плиты в этом случае
будет пластинка, опертая по контуру. При l2/l1 > 2 плита работает в одном
направлении, для нее принимается балочная расчетная схема, а саму плиту принято
называть балочной.
1.2.2Технические параметры и описание плит
Ребристое перекрытие выпускается в
виде цельнолитой плиты со вспомогательным продольным элементом, выполняющим
функцию балки, которая работает на изгиб. Если необходимо минимизировать
действие очень высокой нагрузки, прибегают к поперечным ребрам. Интересно то,
что бетон покидает площадь растяжения и локализуется в местах сжатия, и именно
поэтому несущий элемент перенаправляет нагрузку наиболее корректно. Для экономии цементного
материала и уменьшения толщины плиты ребристый элемент армируется, при этом его
прочностные качества остаются на требуемом уровне.
Железобетонные
плиты
Чаще всего эти перекрытия устанавливают
на промышленных объектах и чердаках внушительных по площади комплексов. Главное условие, выдвигаемое при
монтажных работах, – соблюдение шага несущей стены, который по максимуму может
составлять 6 м. В жилом фонде такие элементы не используются по причине
того, что здесь наблюдается недостаточность нижней поверхности для обшивки.
Специалисты рассчитывают конструкцию в специальной программе, расшифровывающей
составленные схемы. В промышленных масштабах плиты производятся из разнотипного
бетона:
§
легкого;
§
тяжелого;
§
силикатного.
Продольный и поперечный разрез плиты
Исходя из данной информации, мы можем
выделить следующие детали с напряженной арматурой:
§
верхняя
плита с плоской конфигурацией;
§
особые
материалы-оболочки со сводчатой поверхностью.
1.3Маркировка
Маркировка
товара содержит следующие составляющие:
1.
Буквенные
и цифровые символы, расшифровывающие параметры (размеры, вес).
2.
Коэффициент
несущей способности.
3.
Характеристики
арматуры (класс, тип).
4.
Марка
и тип бетона.
5.
Дополнительные
свойства (при их наличии).
В качестве примера расшифруем
следующую информацию на изделиях: 2П1– 3, Ат — VI П-1.
Первые
три символа говорят нам о типоразмере панели (2П1). Цифра 3 указывает на
разделение элементов перекрытия по несущей способности. Затем расшифровывается
класс арматуры (предварительно напряженной). Символ П свидетельствует об
использовании легкого бетона, а символ Т обозначает тяжелый тип. Последний
цифровой символ расшифровывает конструктивные особенности изделия:
§
1
– в плиты интегрированы дополнительные закладные;
§
2
– боковые ребра содержат технологические отверстия по 210 мм;
§
3
– такие же отверстия, но 210 и 700 мм.
Установка производится
с помощью крана
Монтаж ребристых перекрытий может проводиться по разным технологиям и
неважно, какой метод будет задействован — без автомобильного или башенного
крана здесь обойтись не получится. Чтобы правильно
зацепить плиту за крюк, обеспечивают наличие специально предназначенных
монтажных петель, которые обязательно проверяются перед установкой на предмет
целостности и надежности, а также учитывается их необходимое количество. При
установке несущих элементов на их посадочные места нельзя отступать от монтажной
технологии ни на шаг.
1.4Стандартные размеры
П-образные
плиты перекрытия измеряются тремя составляющими габаритов:
1.
Длина.
2.
Толщина.
3.
Высота.
По принятым производственным стандартам высота плит равна 22 см.
В редких случаях по специальному заказу на заводах изготавливают конструкции с
меньшей толщиной (16 см). Разница этих двух образцов состоит в уровне шумовой
изоляции и диаметре технологических отверстий.
Стандартное значение длины варьируется в диапазоне от 2 до 12 м.
На момент проектирования постройки в большинстве случаев планируют применение
перекрытий, длина которых составляет от 3,6 до 7,2 м включительно. Если по
каким либо причинам не получается уложиться в заданные параметры, будь они
меньше или больше, придется доплачивать за специальный заказ партии товара. В
таком случае размеры будут изменены производителем.
Ширина ребристых конструкций согласно стандартам составляет 1 м, 1,2 м,
1,5 м, 1,8 м. Квадратные плиты (ширина равна длине) встречаются
редко и стоят на порядок дороже стандартных. В техническую проектную
документацию часто вносят несущие элементы с метровой шириной.
Если
руководствоваться ГОСТом, то можно отметить такие стандартные размеры плит (м):
§
3х12;
§
3х6;
§
3х18;
§
1,5х6.
Так как у материала могут быть абсолютно
разные габариты, то вполне естественно, что они имеют разную нагрузку. Учитывая этот фактор, в
строительстве обычно задействуют панели с весом от 770 до 820 кг/м².
Если предусмотрена большая нагрузка, то и плиты нужно приобретать тяжелые (2500
кг/м²).
1.5Типовые
железобетонные ребристые плиты покрытия
Типовые железобетонные
ребристые плиты покрытия имеют размеры 3х6, 3х12 м, доборные — размер 1,5х6 м.
Плиты используются в местах повышенных снеговых отложений у фонарей, в пределах
профиля покрытия в районах с весом снегового покрова свыше 150 кгс/м2.
Также они находят применение, когда доставка на строительную площадку крупноразмерных
плит сопряжена с большими транспортными затруднениями. Ребристые плиты
принимают нагрузку от кровли, снега, вентиляционных и других устройств и
передают ее на несущие конструкции покрытий или на стены.
плиты двух типов:
- без проема в полке – тип ПГ;
- с проемом в полке для пропуска вентиляционной
шахты или воздуховода крышного вентилятора – тип ПВ.
На плиты покрытия с
отверстиями могут быть установлены центробежные и осевые крышные вентиляторы.
Вы можете купить плиты с отверстием диаметром 400, 700, 1000 и 1450 мм.
Ребристые плиты имеют П-образное
поперечное сечение. В продукции шириной 3 м поперечные ребра расположены через
1000 мм, а шириной 1,5 м — через 1500 мм; толщина полки 30 и 35 мм. В ребристых
плитах предусмотрены закладные изделия для крепления парапетов и для крепления
плит к несущим конструкциям покрытия.
1.6Расчет нагрузки
Прежде
чем приобрести ребристые панели, необходимо провести ряд важнейших расчетов.
Такие расчеты помогут точно определить, с какой нагрузкой сможет справиться плита.
Только после этого согласно полученным значениям можно осуществлять покупку
строительного материала, технические характеристики которого соответствуют
требованиям строительства того или иного объекта.
Пример
расчета перекрытия
Если
говорить о нагрузке, то она может быть различной:
§
постоянной;
§
временной;
§
равномерной;
§
неравномерной.
В расчеты включается исключительно равномерная
нагрузка, так как она наиболее распространена на строительных объектах.
Единицей измерения данной величины является кг/м².
1.7 Требования
К готовым изделиям предъявляются следующие требования:
§
размеры
должны соответствовать ГОСТу для ребристых панелей;
§
обязательное
соответствие стандартам прочности, жесткости и устойчивости перед
растрескиванием, морозостойкости (устанавливается испытанием);
§
закладные
и монтажные петли должны быть произведены из стали установленного стандарта и
определенного диаметра. Металлические элементы подвергаются обработке
антикоррозийными составами, а формы для заливки соответствуют утвержденным
стандартам.
К бетону также существуют требования, а именно:
§
легкие
бетоны обладают плотностью 1м³/1800-2000 кг и соответствуют обозначенной
пористости, у тяжелых бетонов плотность варьируется в пределах
1м³/2200-2500 кг;
§
отпуск
натяжения арматуры осуществляется после достижения бетоном контрольной
прочности, значение которой указано в проекте;
§
качество
всех компонентов бетона должно соответствовать ГОСТам.
§
в
случае применения плит на территориях с наличием агрессивной газовой среды
производство перекрытий регламентируется проектной документацией на объект
строительства.
Качество арматуры и петель регламентируется следующим образом:
§
для
ребристых плит может использоваться арматура, изготовленная из разрешенных
сталей, что указано в проектной документации;
§
форма
и размеры петель и закладных должны соответствовать чертежам, ГОСТам и
эксплуатационным характеристикам;
§
натяжение
арматуры выполняется механическим или электромеханическим способом;
§
коэффициент
напряжения в арматуре после натяжения может отклоняться от разрешенного в
проекте максимум на 10%.
Все
эти технические данные и стандарты, указывающие на типовые размеры перекрытий,
позволят осуществить правильный подбор п-образных панелей, которые будут
надежно выполнять возложенную на них миссию.
1.8. КОМПОНОВКА ПЕРЕКРЫТИЯ
При компоновке перекрытия следует (если необходимо)
привести размеры здания в соответствие с заданной сеткой колонн, выбрать
направление основных несущих элементов, определить их опалубочные размеры.
Для обеспечения возможности применения инвентарной
опалубки и унифицированных арматурных сеток размеры элементов монолитного
ребристого перекрытия назначаются унифицированными: толщина плиты кратна 10 мм;
высота
и ширина балок, размеры сторон колонны кратны 50 мм;
величины пролетов плит
и балок кратны 50 и 100 мм. Размеры сечений
элементов вычисляют по эмпирическим формулам, обобщающим опыт проектирования и
возведения ребристых перекрытий и позволяющим на начальной стадии разработки
конкретного перекрытия учесть конструктивные и технологические требования при
обеспечении несущей способности.
Возможны два варианта расположения главных и
второстепенных балок. Главные балки могут быть расположены по осям колонн
поперек здания, а второстепенные – вдоль.
1.9. Армирование плиты рулонными сетками
с продольным направлением рабочих стержней
Многопролетные монолитные балочные плиты толщиной до 100 мм рекомендуется
армировать сварными рулонными сетками с продольным направлением рабочей
арматуры. При этом используется арматура диаметром до 8 мм.
Рулонные сетки с продольным направлением рабочих
стержней раскатывают
поперек второстепенных балок с на хлестом вдоль
поперечных стержней без сварки. В крайних пролетах и на первых промежуточных
опорах, где возникает наибольший изгибающий момент, на основную сетку укладывается
дополнительная сетка, которая заводится за первую промежуточную опору на 1/4
пролета плиты .
Дополнительные над опорные сетки устанавливают в
местах заделки плиты
в стену в нерабочем направлении и над главными
балками .
Требования к дополнительным сеткам в указанных
местах аналогичны
требованиям к над опорной арматуре для варианта
армирования плоскими сетками .
Стержни рабочей арматуры основных рулонных сеток
должны быть класса
В500, А400, А500 (допускается А500С), а стержни
распределительной арматуры –
класса В500. В дополнительных сетках, которые
устанавливают в крайних пролетах и на первых промежуточных опорах, продольные
рабочие и поперечные распределительные стержни обычно принимают из того же
класса и диаметра, что и в основных сетках, но с большим шагом стержней.
1.8Характеристики
железобетонных ребристых плит покрытия
|
Марка
|
Вес
1
шт., т
|
Штук
на
1 а/м
|
Длина,
мм
|
Ширина,
мм
|
Высота,
мм
|
Расч.нагрузка,
кг/м2
|
Объем,
м3
|
|
Плиты
покрытия 6х1,5 м — высота 250 мм
|
|
1)
Сплошные плиты
|
|
•
Серия 1.865.1-7/80
|
|
2ПГ6-1 АIIIв
|
1,23
|
8
|
5970
|
1490
|
250
|
220
|
0,49
|
1,23
|
8
|
5970
|
1490
|
250
|
300
|
0,49
|
|
2ПГ6-3 АIIIв
|
1,23
|
8
|
5970
|
1490
|
250
|
370
|
0,49
|
|
2ПГ6-4 АIIIв
|
1,23
|
8
|
5970
|
1490
|
250
|
470
|
0,49
|
|
2ПГ6-5 АIIIв
|
1,23
|
8
|
5970
|
1490
|
250
|
650
|
0,49
|
|
2ПГ6-6 АIIIв
|
1,23
|
8
|
5970
|
1490
|
250
|
870
|
0,49
|
|
2ПГ6-1 АтV
|
1,23
|
8
|
5970
|
1490
|
250
|
260
|
0,49
|
|
2ПГ6-2 АтV
|
1,23
|
8
|
5970
|
1490
|
250
|
400
|
0,49
|
|
2ПГ6-3 АтV
|
1,23
|
8
|
5970
|
1490
|
250
|
500
|
0,49
|
|
2ПГ6-4 АтV
|
1,23
|
8
|
5970
|
1490
|
250
|
670
|
0,49
|
|
2ПГ6-5 АтV
|
1,23
|
8
|
5970
|
1490
|
250
|
870
|
0,49
|
|
2ПГ6-6 АтV
|
1,23
|
8
|
5970
|
1490
|
250
|
1070
|
0,49
|
|
•
Серия 1.865.1-4/80; 89
|
|
2ПГ 2 — АтV
|
1,23
|
8
|
5970
|
1490
|
250
|
400
|
0,49
|
|
2ПГ 3 — АтV
|
1,23
|
8
|
5970
|
1490
|
250
|
500
|
0,49
|
|
2ПГ 4 — АтV
|
1,23
|
8
|
5970
|
1490
|
250
|
670
|
0,49
|
|
2ПГ 5 — АтV
|
1,23
|
8
|
5970
|
1490
|
250
|
870
|
0,49
|
|
•
Серия 1.865-1 выпуск 1
|
|
СПР 60-300
|
1,23
|
8
|
5970
|
1490
|
250
|
300
|
0,49
|
|
2)
Плиты мелкоразмерные (ребристые, плоские)
|
|
•
Серия 1.465.1-19
|
|
ПР-3
|
0,19
|
50
|
2990
|
495
|
140
|
|
0,08
|
|
ПР-1
|
0,09
|
110
|
1490
|
495
|
140
|
|
0,04
|
|
1ПП
|
0,04
|
250
|
750
|
500
|
40
|
|
0,02
|
|
2ПП
|
0,03
|
330
|
600
|
400
|
40
|
|
0,01
|
2.1
Исходные данные
Номинальные размеры
плиты в плане – 1.5×6 м.
Опирание плиты на
ригель – в уровень. Плита изготавливается из тяжелого бетона класса В40 по
поточно-агрегатной технологии.
Продольные ребра плиты
армируются преднапряженной арматурой класса Ат-800.
Метод натяжения
арматуры – электротермический.
Условия твердения плиты
– тепло-влажностная обработка при атмосферном давлении.
Плита эксплуатируется в
нормальных условиях с относительной влажностью не более 75%.
Коэффициент условия
работы γВ2=0.9.
Коэффициент надежности
по назначению γn=0.95.
Деформации плиты
ограничиваются эстетическими требованиями.
Полезная нагрузка на
перекрытие – 15500 Н/м2 (1550 кгс/м2).
Нагрузка от пола – 1000
Н/м2.
Полы выполняются на
стройплощадке.
Конструктивные размеры
плиты:
·
Длина
плиты 5550 мм;
·
Ширина
плиты 1485 мм;
·
Высота
продольного ребра – 450 мм;
·
Ширина
продольного ребра: по низу – 85 мм, по верху – 100 мм;
·
Высота
поперечного ребра – 250 мм;
·
Ширина
поперечного ребра: по низу 50 мм, по верху – 100 мм.
Рисунок 1. – Основные
опалубочные размеры плиты
Сбор нагрузок выполним
в табличной форме. В таблице 1 представлены нагрузки для расчета полки плиты.
Таблица 1. – Нагрузки
на 1 м2 перекрытия для расчета полки плиты
|
Вид
нагрузки
|
Наименование
|
Нормативная
нагрузка Н/м2
|
Коэффициент
надежности по нагрузке
|
Расчетная
нагрузка Н/м2
|
|
Длительная
|
Нагрузка
от пола g1
|
1000
|
1.3
|
1300
|
|
Нагрузка
от собственного веса полки плиты (tf=50
мм) g2
|
1250
|
1.1
|
1375
|
|
Временная
длительная v1
|
12000
|
1.2
|
14400
|
|
Кратковременная
|
Временная
кратковременная v2
|
3500
|
1.2
|
4200
|
|
Всего
q1
|
21275
|
Таблица 2. – Нагрузки
на 1 м2 перекрытия (для расчета продольных
ребер плиты, ригеля,
колонны)
|
Вид
нагрузки
|
Наименование
|
Нормативная
нагрузка Н/м2
|
Коэффициент
надежности по нагрузке
|
Расчетная
нагрузка Н/м2
|
|
Длительная
|
Нагрузка
от пола g1
|
1000
|
1.3
|
1300
|
|
Нагрузка
от собственного веса плиты g3
|
3000
|
1.1
|
3300
|
|
Временная
длительная v1
|
12000
|
1.2
|
14400
|
|
Итого
длительная
|
16000
|
|
19000
|
|
Кратковременная
|
Временная
кратковременная v2
|
3500
|
1.2
|
4200
|
|
Всего
q2
|
19500
|
|
23200
|
2.4Определение усилий в элементах
плиты
Изгибающие моменты в
продольном и поперечном направлениях полки:
Где lп
– пролет полки.
Изгибающий момент в
середине пролета поперечного ребра:
Где lр
– пролет поперечного ребра 1.28 м (см. рис. 1);
Где gсв
– собственный вес одного метра поперечного ребра.
Поперечная сила у опор
поперечного ребра:
Максимальный изгибающий
момент в середине пролета продольных ребер:
Где
;
lпр=5.45
м
Поперечная сила у опор:
Изгибающий момент от
полной нормативной нагрузки:
Где
.
Изгибающий момент от
длительной нормативной нагрузки:
Где
.
Армирование полки
проводим по принятой схеме армирования, принимая h=5
см (толщина полки), h0=3.5
см.
з=0.987
В качестве рабочей
арматуры выбираем арматуру класса Вр-ǀ, Rs=365
МПа.
Схема расположения
арматурных сеток приводится на рис. 4.
По ГОСТ 8487-81
принимаем:
Сетку С-2 подбираем с рабочей
арматурой в поперечном направлении;
С-1 – 3 Вр-ǀ-100/3
Вр-ǀ-100,
Аs=0.71/0.71 см2;
С-2 – 4 Вр-ǀ-150/3
Вр-ǀ-250,
Аs=0.75 /0.28 см2.
Поперечное ребро
рассчитываем как изгибаемый элемент таврового сечения с одиночной арматурой.
Расчетное сечение приводится на рис. 2.
Рисунок 2. – расчетное
сечение поперечного ребра
Параметры сечения:
·
hf=50
мм=5 см – высота сечения полки;
·
h=250 мм=25 см –
фактическая высота ребра;
·
b=0.5∙(100+50)=75
мм=7.5 см – ширина ребра;
·
ширина
полки:
Где b
– ширина ребра по верху.
з=0.995, о=0.01
Нейтральная ось
проходит в полке.
В качестве рабочей
продольной арматуры принимаем арматуру класса А-400 (предполагая диаметр
стержней 6-8 мм), Rs=355
МПа:
По сортаменту подбираем
стержни рабочей продольной арматуры поперечного ребра - 8 мм, Аs=0.503
см2.
Необходимость расчета
поперечной арматуры проверяем из условия Q˂QB,
Где Q=
Н – внешняя поперечная сила.
Минимальная поперечная
сила, воспринимаемая бетоном:
Где
Поперечную арматуру назначаем
по конструктивным соображениям. Диаметр – минимальным по условиям сварки –3Вр-ǀ.
Шаг поперечной арматуры на приопорном участке S=h/2=250/2=125
мм˂150
мм. Принимаем 125 мм. В средней части ребра S=3∙h/4=3∙250/4=187.5=188
мм. Принимаем 180 мм.
Для расчета плиты в
продольном направлении приводим ее сечение к расчетному (рис. 3).
Рисунок 3. –
действительное и расчетное сечение плиты
Размеры сечения:
bf=144.5
см – ширина плиты по верху; hf=5
см – толщина полки; h=45 см – высота
плиты;
b=2∙(10+8.5)/2=18.5
см – средняя суммарная ширина ребер.
Величину
предварительного напряжения продольной рабочей арматуры принимаем: σsр=0.6∙Rsn=0.6∙785=471
МПа.
Длина напрягаемого
стержня: lст=555+25=580
см=5.8 м.
Возможное отклонение
предварительного напряжения:
Проверяем выполнение
условий:
Условия
удовлетворяются, следовательно, величина предварительного напряжения находится
в допустимых пределах.
Предельное отклонение
предварительного напряжения:
Где Пр=2 –
количество напрягаемых стержней (по одному в ребре).
Граничная относительная
высота сжатой зоны:
Где еs,el
– относительная деформация растянутой арматуры, при напряжениях, равных Rs;
Еb,ult
– относительная деформация сжатого бетона, при напряжениях, равных Rb,
принимаемая равной 0.0035.
Коэффициент,
характеризующий относительную высоту сжатой зоны:
Где h0=h-2=45-3=42
см.
о=0.024, з=0.988.
Условие о≤оR
удовлетворяется.
Высота сжатой зоны:
Следовательно, расчет
сечения может производиться как прямоугольного с шириной сечения 144.5 см.
Коэффициент условий
работы высокопрочной арматуры при напряжениях выше условного предела текучести.
Где з1=1.15
– для арматуры класса Ат-800.
Площадь поперечного
сечения продольной рабочей арматуры:
По сортаменту подбираем
2-18 Ат-800 с площадью поперечного сечения Аsp=5.09
см2.
Для расчета сечений,
наклонных к продольной оси, определяем коэффициенты, характеризующие работу
сечения:
Где Р2=0.7∙Аsp∙уsp=0.7∙5.09∙471∙100=167817.3
Н – усилие
предварительного напряжения.
Поперечная сила,
воспринимаемая бетоном (минимальная):
Где цb3=0.6
для тяжелого бетона.
Расчет необходимо
продолжить.
Где цb2=2
для тяжелого бетона.
Принимаем С=84 см.
Поперечная сила,
воспринимаемая бетоном:
Поперечная арматура по
расчету не требуется. Конструктивно принимаем поперечную арматуру 4 Вр-ǀ
с шагом:
На приопорных участках:
В средней части:
Прочность по наклонной
полосе между трещинами проверяем из условия:
Где цw1=1+5∙б∙мw≤1.3
Прочность наклонной
полосы между трещинами обеспечена.
сечения плиты
Поперечное сечение
плиты представлено на рис. 5.
Рисунок 4 – Расчетное
сечение плиты
Площадь приведенного
сечения плиты:
Статический момент
приведенного сечения относительно нижней грани:
Расстояние от нижней
грани до центра тяжести приведенного сечения:
Момент инерции
приведенного сечения:
Момент сопротивления
приведенного сечения по нижней зоне:
Момент сопротивления приведенного
сечения по верхней зоне:
Расстояние от ядровой
точки, наиболее удаленной от растянутой грани, до центра тяжести сечения:
Где
Принимаем
Расстояние от ядровой
точки, наименее удаленной от растянутой грани, до центра тяжести приведенного
сечения:
Упругопластический
момент сопротивления по растянутой зоне:
Где г=1.75 – для
тавровых сечений с полкой в сжатой зоне.
Упругопластический
момент сопротивления по сжатой зоне:
Где г=1.5 – для
тавровых сечений с полкой в растянутой зоне при bf/b˃2
и hf/h˂0.2.
Потери от релаксации
напряжения в арматуре:
Потери от
температурного перепада у2=0 (изделие подвергается тепловой
обработке вместе с силовой формой).
Усилие обжатия с учетом
потери у1:
Эксцентриситет этого
усилия относительно центра тяжести приведенного сечения:
l
Напряжение в бетоне при
обжатии:
Передаточная прочность
бетона должна быть не менее:
Принимаем Rbp=12
МПа.
Сжимающее напряжение на
уровне центра тяжести напрягаемой арматуры с учетом изгибающего момента от
собственного веса плиты и передаточной прочности бетона.
Потери от быстро
натекающей ползучести:
Итого, первые потери:
Потери от усадки бетона
уb=40 МПа.
Усилие обжатия с учетом
всех первых потерь:
Сжимающее напряжение на
уровне центра тяжести растянутой арматуры с учетом изгибающего момента от
собственного веса плиты:
Потери от ползучести
бетона:
Вторые потери:
Полные потери:
Усилия обжатия с учетом
всех потерь:
нормальных к продольной оси элемента
Ядровый момент усилия
обжатия:
Где γsp=1-Δγsp=1-0.13=0.87
– коэффициент натяжения арматуры.
Момент образования
трещин:
Трещины в растянутой
зоне в процессе эксплуатации образуются. Необходим расчет по раскрытию трещин.
Проверку образования трещин в верхней зоне при ее обжатии проводим из условия:
Где Р1 –
усилие обжатия с учетом первых потерь;
М – изгибающий момент
от собственного веса плиты;
Rbtp
– прочность бетона на растяжение к моменту передачи напряжения, соответствующая
передаточной прочности бетона.
γsp=1+Δγsp=1+0.13=1.13
Трещины в верхней зоне
плиты при ее обжатии не образуются.
элемента
Для изгибаемых
элементов, армированных стержневой арматурой, ширина раскрытия трещин
определяется по формуле:
Где ц1 при
длительном действии нагрузки – 1.4, при кратковременном – 1;
ц2=0.5 для
арматуры периодического профиля;
ц3=1 для
изгибаемых элементов;
уs
– напряжение в продольной растянутой арматуре, определяемое по формуле:
Где М – момент от
нагрузок, учитываемых в расчете;
zs
– расстояние от центра тяжести растянутой арматуры до точки приложения
равнодействующей усилий в сжатой зоне элемента. Для элементов тавровой формы
значение zs
может быть принято равным:
ls
– базовое расстояние между смежными нормальными трещинами:
Значение lb
должно быть не менее 10 см и не более 40 см. Принимаем lb=40
см.
Где Аbt
– площадь сечения растянутой зоны бетона.
шs
– коэффициент, учитывающий неравномерное распределение относительных деформаций
растянутой арматуры между трещинами:
Непродолжительная
ширина раскрытия трещин:
Где аcrc1
– ширина раскрытия трещин от продолжительного действия постоянной и временной
длительной нагрузок;
аcrc2
– от непродолжительного действия постоянных и временных (длительных и
кратковременных) нагрузок;
аcrc3
– от непродолжительного действия постоянных и временных длительных нагрузок.
Допустимая ширина
раскрытия трещин 0.3 мм – непродолжительная и 0.2 мм – продолжительная.
плита
трещина арматура ригель
Так как деформации
плиты ограничиваются эстетическими соображениями, расчет прогиба плиты проводим
на действие постоянных и длительных нагрузок.
Эксцентриситет
продольной силы:
Где Ntot=P2=167242.1
Н.
Коэффициент,
характеризующий неравномерность деформации растянутой арматуры:
Плечо внутренней пары
сил Z1=39.5
см.
Величина площади сжатой
зоны бетона:
Кривизна оси при
изгибе:
Прогиб от действия
длительной и постоянной нагрузок:
Допустимый прогиб равен
2.5 см. Прогиб плиты от действия длительной и постоянной нагрузок менее
допустимого.
Бетон ригеля тяжелый класса
В20. Рабочая продольная и поперечная арматура без предварительного напряжения
класса А-400. Пролет среднего ригеля принимаем равным расстоянию между гранями
колонн 5.65 м (рис. 5), пролет крайнего ригеля равным расстоянию от грани
колонны до центр опоры на стене 5.6 м (рис. 5). Сечение колонн принимаем 40*40
см, заделку ригеля в стену – 30 см, центра опоры посередине опорной площадки.
Расчетный ригель – средний.
Рисунок 5
Определяем нагрузку от
собственного веса ригеля:
Где Ар=0.3625
м2 – площадь сечения ригеля;
с – объемная масса
железобетона;
гf
– коэффициент надежности по нагрузке.
Нагрузка на ригель:
Постоянная нагрузка на 1 м ригеля:
Временная нагрузка на 1 м ригеля:
Суммарная нагрузка:
Изгибающие моменты в
сечениях ригеля:
Где β –
коэффициент, зависящий от Vриг/qриг
и от положения сечения. Изгибающие моменты определяем с учетом пластического
перераспределения моментов.
Разбиваем пролеты на
пять равных частей и определяем изгибающие моменты через 1/5 пролета. По
результатам расчета строим объемлющие эпюры изгибающих моментов для первого
(крайнего) и второго (среднего) пролетов. Эпюры приведены на рис. 6.
Рисунок 6. – Эпюры
изгибающих моментов и поперечных сил крайнего
и среднего ригеля
Изгибающие моменты в
первом пролете:
Расстояние от грани
колонны до нулевой точки верхней ветви эпюры:
Расстояние от грани
колонны до нулевой точки нижней ветви эпюры:
Поперечная сила на
крайней опоре:
Поперечная сила на
первой промежуточной опоре слева:
Изгибающие моменты во
втором пролете:
Расстояние от грани
колонны до нулевой точки нижней ветви эпюры:
Поперечная сила на
левой и правой опорах среднего пролета:
Расчет выполняем для
ригеля среднего пролета. Высота ригеля задана и равна 800 мм. Сечение ригеля рассматриваем как прямоугольное 300*800 мм; площадь консольных свесов в расчет
не вводят, так как они расположены близко к середине высоты ригеля, т.е. вне
сжатой зоны. Рабочая высота h0=0.9∙h=720
мм, а=80 мм, b=475 мм.
Граничная относительная
высота сжатой зоны:
Где щ=б-0.008∙Rb=0.85-0.008∙11.5=0.758;
уsR=365 МПа.
Площадь поперечного
сечения продольной рабочей (нижней) арматуры среднего пролета:
о=0.165˂оR=0.62;
з=0.918
По сортаменту подбираем
4х18 А-400 Аs=10.18
см2.
Площадь поперечного
сечения продольной рабочей арматуры над опорами в среднем пролете:
о=0.19˂оR=0.62;
з=0.904
По сортаменту подбираем
2х28 А-400 Аs=12.32
см2.
Площадь поперечного
сечения рабочей арматуры в верхней зоне ригеля в пролете:
о=0.03˂оR=0.62;
з=0.985
По сортаменту подбираем
(с запасом) 2х16 А-400 Аs=4.02
см2.
Схема расположения
продольной рабочей арматуры среднего ригеля приведена на рис. 9.
Минимальная поперечная
сила, которая может быть воспринята бетоном наклонного сечения:
Это меньше поперечных
сил на всех опорах. Расчет продолжаем:
Величина проекции
наиболее опасного наклонного сечения на ось элемента у средних опор:
Для расчета наклонных
сечений у всех опор принимаем С=138 см. Поперечная сила, воспринимаемая
бетоном:
Это меньше значений
поперечных сил у всех опор. Необходим расчет поперечной арматуры.
По условиям сварки
принимаем поперечные стержни ⌀8 А-400.
Поперечная сила,
воспринимаемая хомутами у крайней опоры:
Поперечная сила,
воспринимаемая хомутами у первой промежуточной опоры слева:
Поперечная сила,
воспринимаемая хомутами у средних опор:
Требуемые погонные
усилия в хомутах у средних опор:
Шаг поперечной арматуры
у средних опор:
По конструктивным
требованиям шаг поперечной арматуры не должен превышать:
на
приопорных участках
и
в
средней части ригеля.
Окончательно шаг
поперечной арматуры принимаем для среднего ригеля: на приопорных участках,
равных 1.4 м, S=20 см. В средней части
S=60 см. Схемы расположения
поперечной арматуры приводятся на рис. 10.
Прочность по cжатой
полосе между наклонными трещинами проверяем из условия:
Где цw1=1+5∙б∙мw≤1.3
Для средних опор:
Прочность по сжатой
полосе обеспечена для наклонных сечений у всех опор.
Для построения эпюры
материалов определяем изгибающие моменты, воспринимаемые сечениями ригеля.
Средний пролет.
Изгибающий момент,
воспринимаемый сечением, армированным 4х18 А-400 Аs=10.18
см2 (рис. 9 сеч. 3-3):
Изгибающий момент,
воспринимаемый сечением, армированным 2х18 А-400 Аs=5.09
см2 (рис. 9 сеч. 4-4):
Изгибающий момент,
воспринимаемый сечением, армированным 2х28 А-400 Аs=12.32
см2 - опорной арматурой (рис. 9 сеч. 4-4):
Изгибающий момент,
воспринимаемый сечением, армированным 2х16 А-400 Аs=4.02
см2 (рис. 9 сеч. 3-3):
Рисунок 7
Для конструирования
арматуры ригеля строим эпюры материалов. По эпюре материалов определяем
величины изгибающих моментов в точках теоретического обрыва и соответствующие
им значения поперечных сил Q.
Определяем Q графически.
Величины поперечных сил
составляют:
Величины поперечных сил
в сечениях, соответствующих точкам теоретического обрыва стержней среднего
ригеля:
В точке обрыва Q1=177.7
кН
В точке обрыва Q2=
184.8кН
Обе точки расположены
на приопорном участке ригеля.
Усилия в хомутах на
единицу длины:
Длины анкеровки
обрываемых стержней:
Список литературы диссертационного исследования
1. Айвазов P.JI. Жесткость железобетонных панелей на
кручение и ее влияние на напряженно-деформированное состояние сборной плиты,
опертой по контуру. Автореферат диссертации на соискание ученой степени канд.
техн. наук. Москва,МИСИ,1980.
2. Айзенберг Я.М. Распределение сейсмической нагрузки
между стенами бескаркасных зданий. Строительная механика и расчет сооружений,
1960, №з.
3. Александров А.В., Шапошников Н.Н. и др. Расчетная
модель многоэтажного здания на основе метода конечных элементов и некоторые
результаты ее применения. Доклад на международном симпозиуме «Многоэтажные
здания».- Москва, 1972,с.51-58.
4. Андреев О. О. Учет податливости соединений в методе
конечных элементов. В кн.: Численные методы и алгоритмы. Труды ЦНИИСК,
вып. 46.-м., 1975.
5. Асанбеков Х.А. Исследование работы замоноличенных
сборных железобетонных перекрытий сейсмостойких жилых зданий. В кн.
Методы расчета зданий и сооружений на сейсмостойкость. - М.:
Госстройиздат, 1958.
6. Арзуманян К.М., Айвазов P.JL, Крамарь В.Г. О
совместной работе многопустотных панелей в перекрытии при
неравномерном нагружении. -В кн. Повышение эффективности и
качества бетона и железобетона. Ереван, Айстан,1983.
7. Байков В.Н., Кочунов К.М., Шевченко В.А. Совместная
работа железобетонных плит в сборном настиле при продольных полосовых
нагрузках. Бюллетень технической информации С А
КБ, АПУ Мосгорисполкома. Москва, №2, 1958.
8. Бедов А.И., Чистяков В.А. Учет совместной работы
железобетонных панелей в составе дисков покрытий и перекрытий. Строительство
иархитектура. Инженерно-теоретические основы
строительства. ВНИИС Госстроя СССР, серия 10, вып. 6, М., 1984.
9. Бетон и железобетонные конструкции. Состояние и
перспективы развития в промышленном и гражданском строительстве. Под
редакцией Михайлова К.В. и Волкова Ю.С. - М.: Стройиздат, 1983.
10. Вавилов О.В. Сборные железобетонные плиты типа 2Т
универсального назначения и повышенной технологичности изготовления.
Диссертация на соис. уч. степени канд.техн. наук. -
Москва, ЦНИИПромзданий, 2001 г, 159с.
11. Васильев А.П., Катин Н.И., Шитиков Б.А. Работа
закладных деталей при совместном воздействии сдвигающих и нормальных сил.
Промышленное строительство, 1971, № 7. С. 19-22.
12. Васильев Б.Ф., Богаткин И.Л., Залесов А.С., Панылин
JI.J1. Расчет железобетонных конструкций по прочности, деформациям, образованию
и раскрытию трещин,- Москва, Стройиздат, 1965-415с.
13. Володин Н.М. Влияние податливости соединений на
жесткость сборных диафрагм унифицированного каркаса. Строительная механика и
расчет сооружений, 1979, №1. - С.52-56.
14. Гамбаров Г. А. Железобетонная ребристая панель.
Авторское свидетельство № 713973, 5.02.1980г.
15. Гранев В.В., Кодыш Э.Н., Трекин Н.Н.
Пространственная, работа каркасных систем с учетом реальной жесткости узловых
сопряжений. Доклад на 1-ой Всероссийской конференции «Бетон на рубеже третьего
тысячелетия», книга 2,- Москва,2001г.,с.512-517.
16. Гранев В.В., Ватман Я.П. Пути дальнейшего развития
унификации зданий промышленных предприятий и типизации их конструкции.
-Промышленное строительство. 1983, № 12, с. 13-16.
17. Гуща Ю.П., Лемыш Л.Л. Расчет деформаций конструкций
на всех стадиях при кратковременном и длительном нагружениях,- Бетон
и железобетон. -1985, № 11.
18. Дроздов П.Ф., Лалл Б.Б. Влияние податливости
перекрытий на пространственную работу несущей системы многоэтажного
каркасно-панельного здания. Строительная механика и расчет сооружений, 1969,
№6.
19. Дроздов П.Ф., Ле Тхи Хуан. Перекрытия как связи
сдвига между столбами диафрагм многоэтажного бескаркасного здания. Бетон и железобетон,
1972, №10.
20. Дыховичный Ю.А., Максименко В.А.
Сборный железобетонный унифицированный каркас. М., Стройиздат, 1985.
21. Исследовать пространственную работу каркасов многоэтажных
зданий межвидового назначения с ядрами жесткости и разработать рекомендации по
проектированию. Заключительный отчет. - М.: МИСИ, 1985.
22. Исследование работы дисков перекрытий каркасных зданий.
Отчет МНИИТЭП. - М., 1972, 161с.
23. Ищук М.К. Учет работы дисков перекрытий при расчете
зданий методом конечного элемента. В кн. Исследования по строительным
конструкциям.- М., ЦНИИСК, 1984.
24. Каландарбеков И. Железобетонные диски перекрытий
многоэтажных зданий из плит безопалубочного формования. Диссертация
на соискание ученой степени канд. техн. наук. М.: 1985, 208с.
25. Карабанов Б.В. Пространственный расчет монолитных
ребристых перекрытий // Бетон и железобетон. 1992. - N 3. - С. 25-27.
26. Карабанов Б.В. Расчет монолитных ребристых
перекрытий на локальные нагрузки // Экспресс-информация / Сер. 10 Вып. 4.
- ВНИИИС, 1984. - С. 2-6.
27. Карабанов Б.В. Расчет сборно-монолитных ребристых
перекрытий методом суперэлементов на локальные нагрузки // Экспесс-информация /
Сер.03 Вып.9. - ВНИИИС, 1983. - С. 6-10.
28. Караковский А.К., Дьяченко П.Я. Железобетонные
конструкции, изготавливаемые с применением непрерывного армирования.
Научно-технический реферативный сборник ЦИНИС. Серия 8, Строительные
конструкции, Строительная физика, вып. 10, 1979.
29. Карпенко Н.И. Общие модели
механики железобетона.- Москва, Стройиздат, 1996.-414с.
30. Карпенко Н.И. Теория деформирования железобетона с
трещинами. М., Стройиздат, 1976.-208с.
31. Кац А.С. Расчет неупругих строительных конструкций.
Ленинград, Стройиздат. Ленинградское отделение, 1989г.- 168с.
32. Кащеев Г.В. Володин Н.М. Коровкин B.C. Податливость
стыков сборных железобетонных перекрытий каркасно-панельных зданий. В кн.
Исследование зданий как пространственных систем. Тр. ЦНИИСК, вып. 49. - М.:
ЦНИИСК, 1975.
33. Клевцов В.А., Баканов Б.М. О расчете диска покрытия
с учетом его действительной жесткости. В кн. Совершенствование конструктивных
форм, методов расчета и проектирования железобетонных конструкций. М.,
НИИЖБД983.
34. Клевцов В.А., Баканов Б.М.
Учет деформативности плит при расчете диска покрытия на
горизонтальные нагрузки. Строительство и архитектура. Промышленные комплексы,
здания и сооружения. ВНИИС Госстроя СССР, серия 4, вып. 10, М., 1984.
35. Кодыш Э.Н. Оптимизация проектирования конструкций
массового применения. Проектирование и инженерные изыскания, М., №5, 1992.
36. Кодыш Э.Н. Промышленные многоэтажные здания из
железобетонных конструкций. М.: ВНИИНТПИ, 1989, 84с.
37. Кодыш Э.Н., Трекин Н.Н. Пластинчато-стержневая
модель ячейки перекрытия для расчета на горизонтальные нагрузки. Материалы XXX
Всероссийской научно-технической конференции «Актуальные проблемы современного
строительства». - Пенза, ПГАСА, 1999.
38. Кодыш Э.Н., Трекин Н.Н. Ребристые плиты 2Т без
поперечньрс ребер. -IV Международная конференция «Проблемы прочности материалов
и сооружений на транспорте». С.-Петербург, ПУГПС, 1999.
39. Кодыш Э.Н., Янкилевич Л.М. Работа диска перекрытия в
горизонтальной плоскости в стадии монтажа. Совершенствование конструктивных
решений многоэтажных зданий. Сб. научных трудов ЦНИИпрмзданий. -Москва,
ЦНИИпромзданий, 1992, с.4-17.
40. Кодыш Э.Н., Янкилевич JI.M.
Расчет связевых каркасов многоэтажных зданий в стадии
монтажа. Железобетонные конструкции промышленных зданий. - М.:
ЦНИИпромзданий, 1989, с.179-191.
41. Кодыш Э.Н., Янкилевич JI.M. Совершенствование
монтажа конструкций рамного каркаса. В сб. Конструкции многоэтажных
производственных зданий. - М.: ЦНИИпромзданий, 1988.
42. Краснощеков Ю.В. Взаимодействие сборных настилов с
натурными опорными элементами в железобетонных перекрытиях. Автореф. дисс.
канд. техн. наук. М., 1976.
43. Краснощеков Ю.В., Саунин В.И., Шилов Е.В. Учет
влияния сборного настила при расчете ригелей. Бетон и железобетон,
1983,№6, с.20-21.
44. Кунь В.А., Лучко И.И., Швец В.Я. и др. Исследование
продольных швов между плитами покрытий. Строительные материалы и конструкции, 1985,
№1.
45. Лалл
Б.Б. Исследование работы несущих систем многоэтажных зданий с учетом
податливости дисков перекрытий. Автореферат дисс. канд. техн. наук. М, 1970.
46. Ларионов С.Г. Исследование прочности и жесткости
перекрытий зданий павильонного типа при горизонтальных нагрузках. Автореферат
дисс. канд. техн. наук. - Воронеж, ВГАСА, 1995.
47. Левин С.Е., Дмитриев С.А. Пустотные балки-настилы с
предварительно напряженной арматурой. В кн. Исследование обычных и
предварительно напряженных железобетонных конструкций. - М., ЦНИИПС, 1949.
48. Лепский В.И., Волынский Б.Н. Пути повышения
строительства массовых типов многоэтажных общественных и производственных
зданий. В сб. Полносборные унифицированные конструкции в гражданском
строительстве. М., 1981.
49. Лепский В.И., Паныпин Л.Л., Карабанов Б.В.
Перспективы развития конструктивных решений несущих систем каркасно-панельных
зданий общественного назначения.- Обзорная инф. ЦНТИ Госгражданстроя,
вып. 4. М., 1981.
50. Ли В.А. Зарубежное оборудование для непрерывного формования
железобетонных конструкций. Обзорная информация ЦНИИТЭстроймаш, Москва, 1978.
51. Лишак В.И., Киреева Э.И., Саарян В.В. Совместная
работа многопустотных преднапряженных плит. Бетон и железобетон,!
987,№1.
52. Лукаш П. А. Основы нелинейной строительной
механики.- М.: Стройиздат, 1978.-208с.
53. Мамин А.Н., Карнет Ю.Н. Сопротивление перекрытий из
плит безопалубочного формования действию горизонтальной силы и крутящего
момента. Бетон и железобетон, 1987, №1.
54. Михайлов А.А. Методика определения сдвиго-изгибной
жесткостЛ^ сборных перекрытий. Сейсмостойкость гидротехнических и портовых
сооружений Приморья, часть П. - Владивосток, 1972, с. 113-115.
56. Никулин А.В., Ларионов С.Г. Прочность и
деформации связевого каркаса зданий павильонного типа при
горизонтальных нагрузках // Инженерные проблемы современного железобетона: Сб.
научн. статей; Ивановский инж.-строит. ин-т. Иваново, 1995 - с. 278-282.
57. Паныпин Л.Л. Перераспределение усилий между
элементами несущей системы каркасно-панельного здания.- Бетон и железобетон,
№7,1981,с.30-31.
58. Панышш
Л.Л. Пространственная работа несущих конструкций многоэтажных зданий. В кн.:
Пространственная работа железобетонных конструкций. Сб. тр. МИСИ № 72, вып. 1,
М., 1969.
59. Печенов А.Н. Расчет и конструирование многоэтажных
каркасно-панельных зданий. Киев, Буд1вельник, 1972.
60. Подольский Д.М. Пространственный расчет зданий
повышенной этажности. М.: Стройиздат, 1975.
61. Поляков С.В. Влияние жесткости перекрытий на
распределение усилий между несущими вертикальными и горизонтальными
конструкциями здания. Бетон и железобетон, 1968, № 8, с.42-47.
62. Поляков С.В. К определению усилий в несущих
элементах зданий при действии горизонтальных нагрузок. Строительная механика и
расчет сооружений, №2, 1962,с.12-14.
63.
Проектирование железобетонных конструкций. Под редакцией П. Л. Пастернака. М.,
Стройиздат, 1966.
64. Проценко A.M., Савранский Б.В. Моделирование
упругопластических свойств материала при анализе конструкций с помощью метода
конечных элементов.-Строительная механика и расчет сооружений. №2, 1990,с.1-5.
65.
Рекомендации по проверке прочности сборных дисков перекрытий с применением
многопустотных плит с непрерывными шпонками на боковых гранях на действие
ветровых нагрузок.- Москва, ЦНИИП реконструкции городов, 1990.-32с.
66.
Рекомендации по проектированию стальных закладных деталей для железобетонных
конструкций. -М.:, Стройиздат, 1984, 88с.
67. Ржаницын А.Р. Теория составных стержней строительных
конструкций. -М., Стройиздат, 1948.
68. Сегерлинд JI. Применение метода конечных элементов.- М.,
«МИР», 1979.
69. Семченков А.С. Индустриальные большепролетные
конструкции перекрытий и покрытий общественных зданий: Обзорная информация.
-Москва.: ЦНТИ, 1979 53 с.
70. Семченков А.С., Десятник С.И., Кутовой А.Ф.
Испытание дисков перекрытий из панелей 2Т. Бетон и железобетон, 1985, №2,с.7-9.
71. Семченков А.С. Совершенствование конструктивных
решений настилов общественных зданий. Обзорная информация ЦНТИ Госгражданстроя.
Вып. 4,1984.
72. Семченков А.С. Настилы типа 2Т с подрезкой ребер на
опоре для каркаса серии ИИ-04. Бетон и железобетон, №10, 1980,с. 10-11.
73. Семченков А.С., Третьяков Б.И., Кутовой А.Ф. и др.
Работа дисков перекрытий из настилов с продольными шпонками. Бетон и
железобетон, 1983, № 1, с.35-36.
74. Семченков А.С., Третьяков Б.И., Кутовой А.Ф. Совершенствование
методов расчета и конструирования сборных дисков перекрытий общественных
зданий. Обзорная информация. - Вып. 1. - М.: 1986, 56с.
75. Складнев Н.Н., Бедов А.И., Чистяков В.А. Совместная
работа сборных железобетонных панелей в составе дисков покрытий и перекрытий. В
сб.
76. Расчет
строительных конструкций и сооружений. МИСИ, БТИСМ. -Москва, 1983, с. 118-130.
77. Складнее Н.Н. Исследование ребристых железобетонных
панелей П-образного профиля как неоднородных пространственных систем. Сб.
трудов МИСИ. Москва, МИСИ, 1969, №72, вып.1.
78. Смирнов С.Б., Сеитов Б.М. Метод расчета сборных
перекрытий в стадии предельного равновесия с учетом сил трения. Строительная
механика и расчет сооружений, 1986, №5.
79. Сно
В.Е. Практические расчеты элементов дисков перекрытий и колонн связевого
каркаса. Жилищное строительство, 1974, №7.
80. Темикеев К. Исследования деформативности сборных
железобетонных перекрытий в своей плоскости. Диссертация на соискание ученой
степени канд. техн. наук. М.: НИИЖБ, 1974, 212с.
81. Торкатюк В. Горизонтальные диски жесткости многоэтажных
каркасных зданий. Жилищное строительство, 1972, №10.93 .Травкин Е.М.
Расчет закладных деталей на действие крутящего момента. Бетон и железобетон,
1981, № 5. - С. 18-19.
82. Трекин Н.Н. Деформации ячейки перекрытия из
многопустотных плит в своей плоскости. Сб. научных трудов «Современные проблемы
и перспективы развития железнодорожного транспорта». - РГОТУПС, Москва, 1999.
83. Трекин Н.Н. К расчету податливости защемления
связевых плит. Сб. научных трудов «актуальные проблемы и перспективы развития
железнодорожного транспорта». - РГОТУПС, Москва, 2000.
84. Фролов А.К. Деформативностъ опорных участков
продольных ребер плит покрытий при действии горизонтальных усилий. Бетон и
железобетон, № 12, 1973, с.21-22.
85. Фролов П.Г. Расчет изгибаемых элементов с учетом
действительных условий опирания. Снижение материалоемкости и трудоемкости
строительных конструкций. - Омск: СибАДИ.
86. Ханджи В.В. Расчет многоэтажных зданий
со связевым каркасом. М.: Стройиздат, 1977, 187с.
87. Хечумов Р.А., Кеплер X., Прокопьев В.И. Применение
метода конечных элементов к расчету конструкций. Москва, Изд. Ассоциации
строительных вузов, 1994.-352с.
88. ЮО.Холмянский М.М. Бетон и
железобетон. Деформативность и прочность.-М.: Стройиздат, 1997.-570с.
89. Хромец Ю.Н. Совершенствование объемно-планировочных
и конструктивных решений промзданий. М.: Стройиздат, 1986.
90. Чистяков С.Е. Прочность и жесткость стыковых
соединений железобетонных элементов связевых каркасов многоэтажных зданий. -Автореферат
канд. диссерт., Москва, НИИЖБД996.
91. Чудновский Н.Н., Селиванов В.А., Мартемьянов B.C.
Исследование совместной работы элементов в сборных железобетонных покрытиях.
-Бетон и железобетон, 1970, №11,с.37-39.
92. Шагин П.П. Некоторые вопросы расчета
пространственных систем каркасно-панельных зданий на горизонтальную нагрузку. В
кн. Вопросы расчета и конструирования жилых и общественных зданий со сборными
элементами. М., Госстройиздат, 1958.
93. Юб.Шилов Е.В., Ивасюк И.М. Прочность и деформативность межплитных швов.
Бетон и железобетон, 1982, № 8, с.9-10.
94. Шорохов Г.Г. Анализ работы стыков на закладных
деталях при сдвиге панелей. М.: Стройиздат, 1967.
95. Kemp E.L. Bond in reinforced Concrete. Behavior and Design
Girberia // ACI
96. Journal, Proceedings, 1986 - '6 - pp. 50 . 58 v. 83,
January-February.
97. Kristek V. Coopertation of prestressed concrete box girders
with defbrmabl^5 cross-section. Stavebnisky Casopsis, 18,13, p. 238 273,1970.
98. O.Mac Leod I.A., Green D.R. Frame idealization for shear wall
support sistems.- Struct. Eng., 1973, 51, N 2.
99. I .Span-Deck. Prestressed Hollow Core Concrete Planks. Floors,
Roofs,
100. Ceilings, Wallpanels. «Span-Deck Incorporated Ltd.», USA.
112.Zienkiewicz O.C. Cheung Y.K. The finite element method for analysis of
elastic isotropic and orthotropic slabs. - Proc. I.C.E., х28,1964.