Электрооборудование широкоуниверсального инструментального фрезерного станка модели 67К25В

  • Вид работы:
    Дипломная (ВКР)
  • Предмет:
    Физика
  • Язык:
    Русский
    ,
    Формат файла:
    MS Word
    164,48 Кб
  • Опубликовано:
    2016-11-18
Вы можете узнать стоимость помощи в написании студенческой работы.
Помощь в написании работы, которую точно примут!

Электрооборудование широкоуниверсального инструментального фрезерного станка модели 67К25В

Управление образования и науки Орловской области












Дипломная работа

на тему

Электрооборудование широкоуниверсального инструментального фрезерного станка модели 67К25В









Орел, 2015г.

ВВЕДЕНИЕ


Научно-технический прогресс предполагает повышение производительности труда, технического уровня: и качества продукции, радикальное улучшение использования материалов, топлива и энергии. Именно с этих позиций следует рассматривать вопросы технической эксплуатация и ремонта электрического и электромеханического оборудования!

Важную роль в обеспечении надежной работы и увеличении эффективности использования электрического и электромеханического оборудования играет его правильная эксплуатация, составными частями которой являются, в частности, хранение, монтаж, техническое обслуживание и ремонты Важным резервом является также правильный выбор оборудования по мощности и уровню использования. По оценкам специалистов, это позволяет экономить до 20-25% потребляемой электрической энергии.

Качественный ремонт оборудования может быть обеспечен только на специализированном предприятии с высоким уровнем технологической дисциплины и с использованием технологических процессов, применяемых на заводах-изготовителях этого оборудования. Ремонт крупных электрических машин, мощных трансформаторов и электрических аппаратов, как правило, обеспечивается за счет применения фирменного ремонта, осуществляемого силами предприятия-изготовителя

В масштабах России централизованному ремонту подвергается до 25% электрооборудования, а основная его часть ремонтируется самими потребителями. Если крупные завод металлургической и машиностроительной промышленности обладают для этого специализированными цехами, то на большинстве предприятий ремонт производится по упрощенной технологии с невысоким качеством и повышенной себестоимостью. Ранее такой подход был оправдан дефицитом соответствующего оборудования. Сейчас дефицит практически отсутствует, что делает некачественный ремонт экономически нецелесообразным. Поэтому при определении целесообразности осуществления ремонта и выборе его формы следует иметь в виду, что после капитального ремонта оборудование не должно уступать по своим энергетическим и эксплуатационным свойствам новому. Исключение может быть сделано лишь в случае внезапного отказа оборудования при отсутствии в наличии необходимого равноценного [1, c. 3].

циклограмма электропривод провод кабель


Тип механизма, назначение, его основные технические данные


Станок фрезерный широкоуниверсальный инструментальный модели 67К25В предназначен для горизонтального и вертикального фрезерование изделий из различных материалов цилиндрической, дисковыми, концевыми, фасонными и другими фрезами.

Станок предназначен для работы в инструментальных целях крупносерийного и массового производства и в основных цехах мелкосерийного поставок

Основные технические данные [2, с. 5]:

Ширина рабочей поверхности вертикального стола ………250 мм

Длина рабочей поверхности вертикального стола ………...630 мм

Т-образные пазы:

ширина 2-х верхних……………………………………………I4H8 мм

ширина нижнего………………………………………………I4HI2 мм

Наибольшее перемещение вертикального стола:

Продольное………………………………………………………400 мм

Вертикальное…………………………………………………….450 мм

Конец шпинделя с конусностью / : 24…………………………40 мм

Число Т-образных пазов…………………………………………3 мм

Степень точности конуса конца шпинделя……………………...АТ5

Расстояние от оси горизонтального шпинделя до рабочей поверхности углового горизонтального стола:

наименьшее и при ручном перемещении…………………………45 мм

наибольшее………………………………………………………..595 мм

Расстояние от торца вертикального шпинделя до рабочей поверхности углового горизонтального стола:

наименьшее ……………………………………………………….10 мм

наибольшее………………………………………………………490 мм

Расстояние от поверхности защитной гармонией до оси вертикального шпинделя:

Наименьшее……………………………………………………..165 мм

наибольшее……………………………………………………...485 мм

Наибольшее расстояние от торца горизонтального шпинделя

до переднего торца подвески…………………………………...290 мм

Количество скоростей шпинделей:

горизонтального………………………………………………......….18

вертикального…………………………………………………….….18

Пределы частот вращения шпинделей:

Горизонтального………………………………………40+2000 об/мин

вертикального…………………………………………40+2000 об/мин

Количестве подач стола;

Продольных………………………………………..…..Бесступенчатое

Вертикальных………………………………………..….…..…...То же

Пределы подач стола:

Продольных……………………………………………10+1000 мм/мин

Вертикальных…………………………………………10+1000 мм/мин

Ускоренный ход стола ……………………………………1800 мм/мин

Количество подач шпиндельной бабки……………….Бесступенчатое

Пределы подач шпиндельной бабки…………………10+1000 мм/мин

Ускоренное перемещение шпиндельной бабки…………1800 мм/мин

Усилие затяжки инструмента, не менее……………………….10000 Н

Габаритные размеры станка, не более

длина……………………………………………………………1685 мм

ширина………………………………………………………….1655 мм

высота…………………………………………………………..1865 мм

Масса станка, не более……………………………………….…….1350 кг

Масса электрошкафа, не более……………………..……………….260 кг

Масса инструмента и принадлежностей , не более…………...600 кг

Назначение электроприводов, кинематическая схема и ее описание

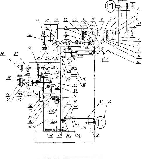
К исполнительным органам движение передается по кинематическим цепям, состоящим из отдельных звеньев - кинематических пар. Кинематические цепи служат также для изменения скоростей и направлений движения исполнительных органов, для согласования движений отдельных узлов станка и преобразования одного вида движения в другое, например, вращательного в поступательное, или наоборот, для суммирования движений и т. д. Кинематическая цепь станка состоит в общем случае из различных передач - ременных, зубчатых, червячных и др. - расположенных в определенной последовательности.

Условное изображение совокупности кинематических цепей станка в одной плоскости - плоскости чертежа, называется его кинематической схемой. Цепь главного движения

От электродвигателя I движение через поликлиновую передачу, муфту 2 передается на вал I коробки скоростей. От вала I через зубчатые колеса 3-14 движение передается на вал II, а затем через колеса 15-18 на вал IV . От вала IV через зубчатую муфту вращение сообщается горизонтальному шпинделю. Шесть нижних скоростей передается от вала II на вал IV через зубчатые колеса 19-20, 21-18.

Вал вертикального шпинделя Ж получает вращение от вала IV через коническую пару 22-23 и цилиндрическую пару 24-25.

Различные положения блоков шестерен 4-6, 8-10, 12-14, 15-17 и шестерни 21 позволяют сообщать горизонтальному и вертикальному шпинделям 18 различных скоростей.

Цепь подач.

Все подачи станка (стола в вертикальном и продольном направлениях, фрезерной бабки в поперечном направлении) осуществляются механически и вручную. Кроме того, для всех направлений предусмотрено ускоренное перемещение.

От электродвигателя подач 29 вращение через зубчатую пару 30, 31 и муфту 34 передается на вал ХIV и через коническую пару 35-36 на вал ХV.

От вала ХV вращение через пару 47-48 передается на вал ХХIV передающего вращение к винтам продольной и вертикальной подачи. Продольное механическое перемещение стола осуществляется от вала ХХIV через пару 49-50, электромагнитную муфту 51, коническую пару 52-53, цилиндрическую пару 54-55 и винт ХХVII с шагом t = 4 мм.

Ручное перемещение стола осуществляется маховиком 58 через муфту 57.

Вертикальное перемещение стола осуществляется от вала ХХIV через пары 49-61, 62-63 и винт XXIII с i. = 6 мм. Ручное перемещение - от маховика 72 через муфту 71, конические пары 70-69, 69-68, 67-66 и цилиндрическую пару 62-63.

Механическое перемещение фрезерной бабки осуществляется при включении электромагнитной муфты 37 от вала ХV через коническую пару 38-39 и винт XX с t = 6 мм.

Ручное поперечное перемещение - от маховика 46 через муфту 45 и коническую пару 41-40. Привод подач станка обеспечивает получение подач рабочих органов от 10 мм/мин до 1000 мм/мин и ускоренный ход - 1800 мм/мин. Регулирование подач - бесступенчатое и производится двигателем постоянного тока 29.

На станке установлены

M1-двигатель гидравлики

М2-электронасос СОЖ

М3-электродвигатель шпинделя

М4-электродвигатель быстроходной головки

М -электродвигатель подач

Рисунок Кинематическая схема

 

Последовательность включения приводов, режимы работы электроприводов


На станке установлены трехфазные асинхронные электродвигатели: главного привода шпинделя, электродвигатель быстроходной головки, двигатель гидравлики, электронасоса охлаждения, а также двигатель привода подач.

Последовательность включения двигателей, электромагнитных муфт, электромагнитов при выполнении определенных операций может быть представлена в виде циклограммы.

Пуске станка осуществляется кнопкой при этом включается электродвигатель гидравлики, после чего можно запустить кнопкой электродвигатель главного привода шпинделя.

Выбор движения рабочих органов выбирается переключателем, включение движения и направления движения производится кнопками, затем подается сигнал на тиристорный преобразователь который подает питание на двигатель постоянного тока.

Переключателем включается электродвигатель насоса СОЖ

Исходя из циклограммы можно сделать вывод, что двигатель главного привода и привод гидравлики работает в продолжительном режиме. Привод СОЖ работает в кратковременном режиме. Привод подач работает в повторно-кратковременном режиме.

Расчет мощности электродвигателей приводов механизма


Расчет мощности электродвигателя главного привода M3

Выбирается тип фрезы, выписываются из справочника [3, с. 187] ее параметры:

Выбрана торцовая фреза, оснащенная вставными ножами из быстрорежущей стали D = 125 мм; числом зубьев z = 14; стойкостью фрезы Т = 180 мин; глубиной фрезерования t = 1,3 мм; подачей на зуб фрезы s = 0,12 - 0,2 мм; шириной фрезерования В = 40 мм.

Рассчитывается скорость резания, м/мин:

V=,

где С, К, m, x, y, u, p - коэффициенты и показатели степени, зависящие от свойств обрабатываемого материала, типа фрезы, вида обработки, определяются по справочнику [3, с. 288].

С = 445; К = 1; m = 0,32; x = 0,15; y = 0,35; u = 0,2; p = 0,; q=0,2

V= = 198 (м/мин)

Рассчитывается главная составляющая усилия резания при фрезеровании - окружное усилие, Н:

F=,

Где n - частота вращения фрезы, об/мин;

С, К, x, y, u, q, w - коэффициент и показатели степени, зависящие от свойств обрабатываемого материала, типа фрезы, вида обработки, определяются по справочнику [3, с. 291].

С =50; К =1; x =0,9; y =0,72; u =1,14; q =1,14; w =0; n=504,6 об/мин

F = = 605 (Н)

Определяется мощность резания, кВт:

Р =

Р = =2 (кВт)

Определяется мощность на валу двигателя, кВт:

Р =

где η - КПД станка, принимается равным 0,75 - 0,8

Р = = 2,5 (кВт)

Расчет мощность электронасоса смазочно-охлаждающие жидкости М2


где Q =0,0037 м/с ;

Н =0,025·10Па ;

η=0,95 ;

η=0,9 ;

К=1,1 ;

(кВт)

Расчет мощность электродвигатель гидравлики М1


где =98.1бар ;

=3,2 л/мин ;

η = 0,94

(кВт)

Выбор питающего напряжения и рода тока

На станке применяется напряжение переменного и постоянного тока:

силовая цепь питается от трехфазного переменного напряжения величиной 380 В и частотой 50 Гц;

цепь питания двигателя привода подач постоянное напряжение;

цепь управления рассчитана на переменное напряжение 110 В частотой 50 Гц, и на постоянное напряжение 24В;

цепь сигнализации ~ 24 В;

цепь местного освещения ~ 24 В;

цепь питания тормозной электромагнитной муфты - 24 В род тока постоянный.

Выбор типа электродвигателей и их проверка

Двигатель главного привода М3:

По рассчитанной мощности и предъявленным требованиям выбирается двигатель марки АИР90L2.

Паспортные данные [4, с. 138]:н=3 кВт - номинальная мощность.

nо=3000 об. / мин. -синхронная частота вращения.

sн=5% - номинальное скольжение

hн=84,5%-номинальный КПД

Cosφ=0,88-номинальный коэффициент мощности.

К1=Мм/Мн=2,2 -кратность максимального момента.

К2=Мn/Мн=2- кратность пускового момента.

К3=Ммин/Мн=1,6- кратность минимального момента.

К4=Іn/Ін=7 - кратность пускового тока

Проверка выбранного двигателя [5, с. 5].

Номинальная частота вращения, об/мин, и номинальная скорость, рад/с

nн = nо ∙(1 - sн )

nн = 3000 ∙(1 - 0,05 )=2850 (об/мин)

ωн = p∙ nн / 30

ωн = p∙ 2850/ 30=298,3 (рад/с)

Номинальный и максимальный моменты двигателя, Н∙м


 = 22,22 (Н∙м)

Значение пускового момента, Н∙м

 =20,2 (Н∙м)

Величина статического момента

=6,7(Н∙м)

Для проверки двигателя на перегрузочную способность необходимо выполнить условие


где Мсмакс - максимальный статический момент; Ммакс - максимальный момент, для асинхронного двигателя равен критическому.


Для проверки двигателя по условиям пуска необходимо выполнить условие


,2 (Н∙м) ≥6,7 (Н∙м)

Двигатель привода СОЖ М2:

По рассчитанной мощности и предъявленным требованиям выбирается двигатель марки 4АА50В2У3

Паспортные данные [4, с. 127]:

Pн = 0,12 кВт - номинальная мощность.

nо =3000 об/мин - синхронная частота вращения.

sн =9,7 % - номинальное скольжение.

ηн =0,63 - номинальный КПД.

cos φн =0,7 - номинальный коэффициент мощности.

К1 = Ммах/Мн =2,2 - кратность мах момента.

К2 =Мп/Мн =2 - кратность пускового момента.

К3 = Ммin/Мн =1,2 - кратность мin момента.

К4 = Iп/Iн =5 - кратность пускового тока.

Номинальная частота вращения, об/мин, и номинальная скорость, рад/с:

 (об/мин)

 (рад/с)

Номинальный и максимальный моменты двигателя, Н·м:

 (Н·м)

 (Н·м)

Значение пускового момента, Н·м:

 (Н·м)

Для проверки выбранного двигателя определяется величина статического момента, Н·м:

М== 0,423(Н·м)

Для проверки двигателя на перегрузочную способность необходимо выполнить условие:

М ≤ 0,8·М,

где М - максимальный статический момент.

,422Нм ≤ 0,8·0,931=0,745(Нм)

Для проверки двигателя по условиям пуска необходимо выполнить условие:

М

,846 Н·м >0,422 Н·м

Двигатель привода гидравлики М1:

По рассчитанной мощности и предъявленным требованиям выбирается двигатель марки АИР71А4

Паспортные данные [4, с. 138]:

Pн = 0,55 кВт - номинальная мощность.

nо =1500 об/мин - синхронная частота вращения.

sн =9,7 % - номинальное скольжение.

ηн =0,705 - номинальный КПД.

cos φн =0,7 - номинальный коэффициент мощности.

К1 = Ммах/Мн =2,2 - кратность мах момента.

К2 =Мп/Мн =2,3 - кратность пускового момента.

К3 = Ммin/Мн =1,8 - кратность мin момента.

К4 = Iп/Iн =5 - кратность пускового тока.

Номинальная частота вращения, об/мин, и номинальная скорость, рад/с:

 (об/мин)

 (рад/с)

Номинальный и максимальный моменты двигателя, Н·м:

 (Н·м)

 (Н·м)

Значение пускового момента, Н·м:

 (Н·м)

Для проверки выбранного двигателя определяется величина

статического момента, Н·м:

М== 3,88(Н·м)

Для проверки двигателя на перегрузочную способность необходимо выполнить условие:

М ≤ 0,8·М,

где М - максимальный статический момент.

,88Нм ≤ 0,8·8,54=6,83(Нм)

Для проверки двигателя по условиям пуска необходимо выполнить условие:

М

,92 Н·м >3,88 Н·м

Расчет и построение механических характеристик выбранных

двигателей

Двигатель главного привода М1:

Критическое скольжение:

 =s·(к+)

 =0,05·(2,2+)=0,2

Уравнение механической характеристики имеет вид:

М =

Угловая скорость, рад/с:

ω =ω·(1-s),

ω- скорость идеального холостого хода, рад/с:

ω=

ω = =340(рад/с)

Задаваясь значением s в пределах (0 ÷ 1,2)·sкр рассчитываются зависимости М =f(s), ω = f(s).

Результаты вычисления заносятся в таблицу.

Таблица Параметры естественной характеристики электродвигателя главного привода

s

0

0,02

0,05

0,1

0,2

0,3

M, Н·м

0

4,4

10,5

17,8

22,2

20,5

ω, рад/с

314

308

298

283

251

220



Рис. Естественная механическая характеристика электродвигателя главного привода

Двигатель привод СОЖ М2:

Критическое скольжение:

Уравнение механической характеристики имеет вид:

М =

Скорость идеального холостого хода, рад/с:

 (рад/с)

Задаёмся значением S в пределах (0÷1,2)·Sкр, результаты заносятся в таблицу.

Таблица Параметры естественной характеристики привода СОЖ

s00,050,10,20,40,6







M, Н·м

0

0,23

0,44

0,75

0,93

0,86

ω, рад/с

314

298

282

251

188

126


Рис. Естественная механическая характеристика электропривода СОЖ

Двигатель привода гидравлики М1:

Критическое скольжение:

Уравнение механической характеристики имеет вид:

М =

Скорость идеального холостого хода, рад/с:

 (рад/с)

Задаёмся значением S в пределах (0÷1,2)·Sкр, результаты заносятся в таблицу.

Таблица Параметры естественной характеристики электродвигателя привода гидравлики

s

0

0,05

0,1

0,2

0,4

0,6

M, Н·м

0

2,1

4

6,83

8,54

7,88

ω, рад/с

157

149

141

126

94

63


Рис. Естественная механическая характеристика электродвигателя привода гидравлики

Выбор аппаратуры и трансформаторов управления

Рассчитывается номинальный ток [5, с. 27], для электроприемников, А:

=I=

I=

Рассчитывается номинальный ток, для электроприемников:

Электродвигатель главного привода М3:

Iн=  = 6,1 (А)

Электродвигатель быстроходной головки М4:

I=  =2,55 (А)

Электродвигатель насос СОЖ М2:

 (А)

Электродвигатель гидравлики М1:

 (А)

Электродвигатель подач М:

I== 10,34 (А)

Номинальный ток пускателя КМ4 (для М3, М4):


8,65

Тип магнитного пускателя определяется по справочнику [6, с. 39] - ПМЛ 11010 Iн = 10А

Номинальный ток пускателя КМ2 (для М1):

1,69

Тип магнитного пускателя определяется по справочнику [6, с. 39] - ПМЛ 11010 Iн = 10А

Номинальный ток пускателя КМ3 (для М2):

0,41

Тип магнитного пускателя определяется по справочнику [6, с. 39] - ПМЛ 11010 Iн = 10А

Номинальный ток тиристорного блока (для М):

10,34

Тип тиристорного блока выбран по справочнику [6, с. 39]

TNC/C-20N-12A/380-110-50 = 12A

Для питания цепей управления, местного освещения и сигнализации сложных схем с целью повышения надежности работы электрических аппаратов и обеспечения более безопасного обслуживания электрооборудования применяют понижающий трансформаторы.

Понижающие трансформаторы для цепей управления, местного освещения и сигнализации следует устанавливать в местах, защищенных от попадания пыли, воды и масла (в шкафах управления, нишах). Трансформаторы должны быть установлены так, чтобы не могло произойти случайных прикосновений обслуживающего персонала к токоведущим частям. Трансформаторы нужно заземлять медным проводом сечением не менее 2,5 мм. Крепление трансформатора не освобождает от необходимости присоединения заземляющего провода [7, с. 123].

Для практического расчета удобно пользоваться следующей формулой для определения мощности трансформаторов управления, исходя из допустимого снижения ∆Uт:


Допускается отклонение напряжения питания трансформатора в пределах (0,85-1,1) Uн, В итоге можно принять

∆Uт < 0,15 Uн.

где еК - падение напряжения в катушке (можно принять еК - 15% Uн., cosφР - коэффициент мощности работающих электроприемников (обычно cosφр = 0,2 - 0,4); cosφВ - коэффициент мощности включаемых электроприемников (обычно cosφв = 0,6 - 0,8).

Выбор трансформатора Т2

SН ≥ (57/48)∙(0,3(7+60+8∙3)+ 0,8(8+68∙3))=220,79 (ВА)

Выбирается трансформатор серии ОСМ1 - 0,25 380/110/24

Выбор трансформатора Т3

тр = U∙I

тp= (0,1∙24∙8)+(0,7∙24∙4)=86,4 (Вт)

По расчитаной мощности с учетом потребляемой энергии сигнальными лампами, конденсатором, электромагнитами, и учитывая потери в проводах выбираем трансформатор ОСМ1 380/24.

Трансформатор Т1 предназначен для питание цепи электро-динамического торможения двигателей М3, М4. В качестве данного трансформатора выбран ОСМ1 380/24.

Выбор защитной аппаратуры

В качестве защитной аппаратуры применяются автоматический воздушный выключатель, тепловое реле - для защиты от перегрузки.

Номинальный ток теплового расцепителя автоматического выключателя QF1 (общий для М1, М2, М3, М4, М):


 (А)

Ток срабатывания электромагнитного расцепителя автоматического выключателя:

,

где Iп - пусковой ток двигателя

I ≥ 1,2·251,5 = 301,8 (А)

По справочнику [8, c. 14] выбирается автоматический выключатель с параметрами Iн, Iрасц, Iсраб.

Выбран автомат: АЕ2046

Параметры: Iн=63 А; Iрасц=31,5 А; Iсраб=12∙31,5=378 (А)

Номинальный ток нагревательного элемента теплового реле КК1 (для М1):


=1,94(А)

По справочнику выбирается тепловое реле марки РТЛ с А. D =(0,75÷1,25) I н.

Номинальный ток нагревательного элемента теплового реле КК2 (для М2):

= 0,47 (А)

По справочнику выбирается тепловое реле марки РТЛ с А. D =(0,75÷1,25) I н.

Номинальный ток нагревательного элемента теплового реле КК3 (для М3):

= 7,02 (А)

По справочнику выбирается тепловое реле марки РТЛ с А. D =(0,75÷1,25) I н.

Номинальный ток нагревательного элемента теплового реле КК4 (для М4):

= 2,93 (А)

По справочнику выбирается тепловое реле марки РТЛ с А. D =(0,75÷1,25) I н.

Выбор питающих проводов и кабелей

Сечение проводов и кабелей для напряжения до 1000 В по условию нагрева определяется по справочнику [5, с. 28] в зависимости от расчетного значения длительно допустимой токовой нагрузки из соотношения:

,

где Iдл - ток расчетной длительной нагрузки, Iн - номинальный ток, для электроприемников, имеющих в установке одиночный асинхронный двигатель

Электродвигатель главного привода М3:

 А

Марка проводов выбирается из справочника [5, с. 28].

Выбран провод марки ПВ3 4(1×1) Iдоп=14 А

Электродвигатель быстроходной головки М4:

 А

Марка проводов выбирается из справочника [5, с. 28].

Выбран провод марки ПВ3 4(1×1) Iдоп=14 А.

Электродвигатель гидравлики М1:

 А

Марка проводов выбирается из справочника [5, с. 28].

Выбран провод марки ПВ3 4(1×1) Iдоп=14 А.

Электродвигатель насос СОЖ М2:

 А

Марка проводов выбирается из справочника [5, с. 28].

Выбран провод марки ПВ3 4(1×1) Iдоп=14 А.

Электродвигатель подач М:

 А

Марка проводов выбирается из справочника [5, с. 28].

Выбран провод марки ПВ3 4(1×1) Iдоп=14 А.

Для всего станка:общ =I+I1 +I2 +I3+I4общ =10,34+1,69+0,41+2,55+6,1=21,09 (А)

Из справочника [5, с. 28] выбираем провод марки ПВ3 4(12,5) с =25А.

Уточняются сечения токопроводов с учетом аппаратов защиты, исходя из следующих условий: I доп ≥ I расц. Выбран провод марки ПВ3 4(1×6) Iдоп=40 А.

Разработка и описание схемы электрической принципиальной

Перед началом работы необходимо убедиться, что все защитные аппараты включены. Включение вводного автомата QF возможно только при наличии напряжения в сети.

В режиме фрезерования пуск станка осуществляется кнопкой SB2 при этом включается пускатель КM2 включается двигатель гидравлики M1 и замыкающим контактом 63-65 становится на самопитание. Запуск электродвигателя М3 шпинделя производится кнопкой SB4, при - этом включается пускатель КM4 или КM5 в зависимости от положения переключателя SA2 (шпиндель вправо или влево). Рукоятка переключения скоростей шпинделя должна быть нажата до упора вверх, микропереключатель SQ2 при этом замкнут. Пускатели КM4 или КM5 замыкающими контактами 70-100 включают реле KT1, которое замыкающим контактом 70-75 ставит пускатели КM4 или КM5 на самопитание.

Реле КT1 имеет пневмопривод, с помощью которой регулируется время торможения электродвигателя шпинделя при его остановке. Замыкающий контакт пневмоприставки реле КT1 52-59 остается замкнутым некоторое время при отключении пускателей КM4 или КM5, при этом включается пускатель KM1, который подключает замыкающими контактами источник постоянного напряжения, собранный на диодах VI-V4 к статору электродвигателя шпинделя. Таким образом осуществляется торможение шпинделя.

Включение движения рабочего органа (стола, суппорта, фрезерной бабки) производится следующим образом. Переключателем SA5 - осуществляется выбор рабочего органа. При этом включается реле КB3 - движение стола, или КL4, КL5 - движение суппорта, или КL6 - движение фрезерной бабки.

Собственно включение движения и направление движения производится кнопками SB7 или SB8. Кнопкой SB7 включается движение выбранного рабочего органа вправо, вниз, назад; при этом включается реле КL7, которое замыкающим контактом 30-32 подключает источник задающего напряжения положительной полярности к регулятору скорости движения R6 и подаваемому затем на вход тиристорного преобразователя.

Кнопкой SB8 включается движение выбранного рабочего органа влево, вверх, вперед; при этом включается реле КB8, которое замыкающим контактом 31-32 подключает источник задающего напряжения отрицательной полярности к регулятору скорости движения R6. Снимаемое напряжение с потенциометра R6 подается затем на вход тиристорного преобразователя.

При включении реле КL7 или КL8 через их замыкающие контакты I69-179 включается реле КL9, которое замыкающим контактом 19-25 подключает внутренний источник напряжения =24В тиристорного преобразователя контакту 30 тем самым дается команда на разблокирование тиристорного преобразователя т.е. на разрешение движения выбранного рабочего органа.

Ускоренное движение рабочего органа производится включением толчковой кнопкой SB10 реле КL10, которое переключающим контактом 38-24-37 отключает регулирующее напряжение скорости движения рабочего органа с потенциометра R6 и подключает повышенное задающее напряжение с делителя R7- R8 непосредственно ко входу тиристорного преобразователя.

Из-за особенности кинематики привода суппорта для сохранения выбранного направления движения суппорта введена дополнительная инверсия задающего напряжения подачи, выполненного на реле КL5 (контакты 30-28-31 и 30-27-31).

Переключателем SA1 - включается пускатель KM3, который в свою очередь включает двигатель М2 насоса СОЖ. Переключателем SA4 включается - отжим инструмента, а переключателем SA5 - поворот шпинделя.

Электромагнит смазки направляющих YC2 включается одновременно с включением рабочих органов контактом 155-156 реле КL9 на время, определяемое выдержкой времени реле времени КT2 (контакт I-56-I57).

Электромагниты зажима направляющих YC6, YC7, YC8 включаются контактами реле КL3 (контакт 155-194) КL4(155-196) и КL6(155-198) или переключателем SA6.

Торможение электродвигателя шпинделя динамическое: на обмотку статора подается постоянное напряжение 24В снимаемое с выпрямителя VI-V4 через силовые контакты пускателя КM1. Время торможения двигателя шпинделя определено реле времени KT1.

Аварийный останов всех механизмов станка производится кнопкой SB1 "Общий стоп".

При подаче напряжения на станок автоматическим выключателем QF на пульте управления зажигается лампа НL1 "Сеть" белого цвета.

При включении движения рабочих органов (столе, суппорте или фрезерной бабки) индицируется их направление движения лампы НLЗ или НL4.

При перегрузке привода подачи на пульте управления загорается лампа НL5 красного цвета. При этом привод теряет свои динамические характеристики т.е. не держит заданную регулирующим резистором R6 скорость подачи. Для восстановления динамических характеристик привода подач необходимо станок отключить автоматом QF от цеховой сети, а затем снова включить и проделать все операции для запуска станка в работу.

На пульт станка выведена индикация состояния масляного фильтра гидросистемы станка (лампа НL8 - красного цвета). Если загорается лампа НL8, то это означает, что фильтр гидросистемы засорился и его необходимо заменить, при этом срабатывает реле KL12 и замыкающим контактов 155-187 становится на самопитание, вращение шпинделя и движение исполнительных органов станка отключаются.

Блокировка и защита

Невозможно вращение шпинделя и движение исполнительных органов при отжатом инструменте (размыкающий контакт реле КL7 66-67 и 158-159.

Электродвигатель шпинделя отключен при переключении скорости вращения шпинделя (контакт 78-82) микропереключателя SQ9.

Невозможно одновременное включение движений стола, суппорта, фрезерной бабки соответственно вправо-влево, вверх-вниз, вперед-назад.

При включении муфт YCЗ или YC4 или YC5, отключаются электромагниты зажима направляющих YC6 или YC7 или YC8 соответственно.

Защита от тока короткого замыкания в силовых цепях осуществляется автоматическим выключателем QF, в цепях управления переменного тока предохранителями FU7, FU9, в цепях управления постоянного тока предохранителем FU10. В цепи местного освещения предохранителем FU8.

Защита электродвигателей M1, М2, М3 и М4 от перегрузки выполнена тепловыми реле КK1, КК2, ККЗ и КК4 - соответственно. Защита привода подач М, G осуществляется предохранителями FU1, FU2, FU3 в первичной цепи трансформатора Т2 и предохранителями FU4, FU5, FU6 во вторичной цепи трансформатора Т2.

Циклограмма работы электроприводов и цепи управления


Циклограмма работы главного привода следующая:

включаем вводный автомат QF;

-конечные выключатели SQ1, SQ2, SQ9 замкнуты;

нажимаем кнопку SB2;

получает питание магнитный пускатель КМ2

-магнитный пускатель КМ2 замыкает свои контакты в силовой цепи, при этом включается электродвигатель M1;

нажимаем кнопку SB4;

-выбираем направление вращения шпинделя переключателем SA2;

-получает питание магнитный пускатель КМ4 при вращении шпинделя вперед, КМ5 при вращении шпинделя назад;

магнитный пускатель КМ4 (КМ5) замыкает свои контакты в силовой цепи, при этом включается электродвигатель главного привода M3 или М4;

остановка двигателя М3 или М4 осуществляется при нажатии кнопкой SB1.

Циклограмма работы главного приводов приведена на рисунке.

Рис. Циклограмма работы электроприводов и цепи управления

Разработка и описание схемы электрической соединений


Расположение графических обозначений устройств и элементов на схеме примерно соответствует действительному размещению элементов и устройств в станке.

Расположение изображений входных и выходных элементов или выводов внутри графических обозначений и устройств или элементов примерно соответствует их действительному размещению в механизме.

На схеме около графических обозначений устройств и элементов указаны позиционные обозначения, присвоенные им на принципиальной схеме.

Около или внутри графического обозначения устройства указаны его наименование.

Устройства и элементы с одинаковыми внешними подключениями изображены на схеме с указанием подключения только для одного устройства или элемента.

Устройства, имеющие самостоятельные схемы подключения, изображены на схеме изделия без показа присоединения проводов и жил кабелей к входным и выходным элементам.

Для упрощения начертания схемы отдельные провода или кабели (многожильные провода, электрические шнуры), идущие на схеме в одном направлении, слиты в общую линию.

Допускается линии, изображающие провода, группы проводов, жгуты и кабели (многожильные провода, электрические шнуры), не проводить или обрывать их около мест присоединения, если их изображение затрудняет чтение схемы.

На схеме изделия, в состав которого входят многоконтактные элементы, линии, изображающие жгуты, доводятся только до контура графического обозначения элемента, не показывая присоединения к контактам [9, с. 10].

Анализ существующей системы управления механизмом


На станке применяется, электроприводы с асинхронным двигателем с короткозамкнутым ротором и двигатель постоянного тока. Электропривод постоянного тока обладает:

хорошим пусковым моментом

легкой регулирования частоты вращения

высокая перегрузочная способность

Недостаткам таких двигателей является:

наличие щеточно-коллекторного аппарата, который требует тщательного ухода в эксплуатации и снижает надёжность работы машины

для питания требуется специальный источник постоянного тока

сложнее по конструкции и их стоимость

обладают повышенной взрыво-пожароопасностью

Для управления приводом в данном станке применяется тиристорный блок который сложен в ремонте и значительно искажает кривую тока, потребляемого преобразователем из сети.

Модернизация электрооборудования

В качестве варианта модернизации предлагается произвести замену двигателя постоянного тока с системой управления им тиристорным блоком, на частотный преобразователь с асинхронным двигателем с короткозамкнутым ротором. Выбран преобразователь Innovert H3400A01D5K и двигатель 4А71В2У3.

Функции преобразователя Innovert H3400A01D5K [10, с. 3]:

скорость, задаваемую аналоговыми сигналами, цифровой сетью или ручкой потенциометра на лицевой панели

изначально предустановленно 15 скоростей

предусмотрены четыре варианта времени разгона и торможения

реверсирование

компенсация скольжения

температура в электродвигателе и транзисторном модуле контролируется

предусмотрена защита от двигателя от перегрузки по току, напряжению, от обрыва фаз

торможение постоянным током

электронный потенциометр (MOP)

управление по U/f (линейное или квадратичное, компенсация скольжения)

диапазон регулирования с поддержанием номинального момента до 1:20

Регулировка момента, автоматическое увеличение тока двигателя используется: для автоматического увеличения момента в зависимости от условий нагрузки; увеличение момента в зависимости от управляющего сигнала: увеличение момента может быть задано равным 0~20%.

Характеристики:

Выходная мощность 1,5 кВт

Тип сети                                                                      Трехфазная

Диапазон напряжений                                                 380-480 В

Номинальный ток                                                       6 А

Частота сети                                                               50/60 Гц

Выходная частота                                                       400 Гц

Таблица Описание клемм основного контура

Клемма

Описание

е i

Вывод заземления

R, S, T

Входные клеммы для подсоединения источника питания

P/+

Положительная шина звена постоянного тока

P1

Перед подсоединением реактора постоянного тока уберите соединительную перемычку между P1 и P/+. Для мощностей 200кВт и выше этот реактор входит в стандартную комплектацию преобразователя

Pr

Тормозной резистор может быть подсоединен к клеммам P1 и Pr (для моделей с мощностью до 15 кВт)

N/-

Отрицательная шина звена постоянного тока. Запрещено подключение к этой клемме нейтрали сети. Для моделей с мощностью выше 15 кВт тормозной модуль (не путать с тормозным резистором!) может быть подсоединен к клеммам P1 и N/-

U, V, W

Подсоединение двигателя (трехфазного) переменного тока


Таблица Описание управляющих клемм

Клемма

Описание

Примечание

FWD

Вперед-стоп (Многофункциональный вход)

Функции многофункциональных входов S1-S6, FWD и REV могут быть заданы с помощью параметров F3.15 - F3.22, активация входа происходит при замыкании на клемму SC.

REV

Назад-стоп (Многофункциональный вход)


S1

Многофункциональный вход 1


S2

Многофункциональный вход 2


S3

Многофункциональный вход 3


S4

Многофункциональный вход 4


S5

Многофункциональный вход 5


S6

Многофункциональный вход 6


24V

Вспомогательный внутренний источник напряжения постоянного тока, 24 В для питания внешних устройств

Максимальный ток 100 мА

M01

Многофункциональный оптронный транзисторный выход

Максимальное постоянное напряжение /ток 24В/100мА. Конфигурирование выходов с помощью параметров F3.26, F3.27




10V

Источник питания для установки частоты


FIV

Аналоговый вход по напряжению

0~10В (используйте внешний потенциометр с сопротивлением 10 кОм)

FIC

Вход аналогового тока управления

4~20 мА

FOV

Аналоговый выход по напряжению

0-10 В, max. ток нагрузки 1 мА

FOC

Аналоговый токовый выход

0~20 мА

FC

Общий вывод для аналоговых сигналов

Общий для FIV,FIC, 10V,FOV,FOC

SC

Общий вывод для дискретных сигналов

Для FWD,REV,S1-S6,M01,M02

YC

Многофункциональный релейный выход (нормально разомкнутый контакт)

Переменное напряжение 250В/тах.3А, постоянное напряжение 30В/тах.3А, резистивная нагрузка. Конфигурирование выхода с помощью параметра F3.25

YA

Многофункциональный релейный выход (нормально замкнутый контакт)


YB

Многофункциональная выходной переключающий контакт, общий для YC, YB


RS+, RS-

Последовательный порт RS485

Протокол Modbus


Двигатель 4А71В2У3 паспортные данные [4, с. 126]:

Pн = 1,1 кВт - номинальная мощность.

nо =3000 об/мин - синхронная частота вращения.

sн =6,3 % - номинальное скольжение.

ηн =0,775 - номинальный КПД.

cos φн =0,87 - номинальный коэффициент мощности.

К1 = Ммах/Мн =2,2 - кратность мах момента.

К2 =Мп/Мн =2 - кратность пускового момента.

К3 = Ммin/Мн =1,2 - кратность мin момента.

К4 = Iп/Iн =5 - кратность пускового тока.

Эффективность модернизации

Эффективность модернизации привода подач заключается в следующем:

плавное регулирование скорости вращения электродвигателя позволяет отказаться от использования редукторов, что значительно упрощает управляемую механическую систему, повышает ее надежность и снижает эксплуатационные расходы

обеспечивает плавный без повышенных пусковых токов и механических ударов разгон, что снижает нагрузку на двигатель и связанные с ним передаточные механизмы, увеличивает срок их эксплуатации

встроенный микропроцессорный регулятор позволяет реализовать системы регулирования скорости управляемого двигателя и связанных с ним технологических процессов.

обратная связь системе с частотным преобразователем обеспечивает качественное поддержание скорости двигателя при переменных нагрузках и других возмущающих воздействиях

сберегает электроэнергию устранением неоправданных ее затрат, которые имеют место при альтернативных методах регулирования

ОРГАНИЗАЦИЯ ТЕХНИЧЕСКОЙ ЭКСПЛУАТАЦИИ И ОБСЛУЖИВАНИЯ ЭЛЕКТРООБОРУДОВАНИЯ МЕХАНИЗМА

 

Пусконаладочные работы

Первоначальный пуск.

При первоначальном пуске станка необходимо прежде всего проверить надежность заземления и качество монтажа электрооборудования внешним осмотром. После осмотра на клеммных наборах в шкафу управления отключить провода питания всех электродвигателей. При помощи вводного автомата QI станок подключить к цеховой сети. При помощи кнопок и переключателей на пульте управления проверить четкость срабатывания пускателей и реле.

Указания по монтажу и эксплуатации:

При установке станок должен быть надежно заземлен, т.е. подключен к общей системе заземления. Для этой цели в шкафу с электрооборудованием на боковой стенке и на станке расположены болты заземление.

Ввод питающих проводов осуществляется заказчиком, для чего на правой боковой стенке установлен угольник с фланцем. Двери шкафе закрываются специальными ключами, которые должны находиться у спецперсонала.

При уходе за электрооборудованием необходимо периодически проверять состояние пусковой и релейной аппаратуры.

Во время эксплуатации электродвигателей систематически производить их технические осмотры и профилактические ремонты.

Периодичность техосмотров устанавливается в зависимости от производственных условий, но не реже одного раза в два месяца.

При профилактических ремонтах производиться разборка электродвигателя, внутренняя и наружная чистка и замена смазки подшипников. Смену смазки подшипников при нормальных условиях работы следует производить через 4000 часов работы, но при работе электродвигателя в пыльной и влажной среде еёследует производить чаще, по мере необходимости.

Перед набивкой свежей смазки подшипники должны быть тщательно промыты бензином. Камеру заполнять смазкой на 2/3 её объема.

Указание мер безопасности

Персонал, занятый обслуживанием электрооборудования станка, а также его наладкой и ремонтом, обязан:

-иметь допуск к обслуживанию электроустановок напряжением до 1000В;

-знать действующие правила технической эксплуатации и безопасности обслуживания электроустановок промышленных предприятий

руководствоваться указаниями мер безопасности, которые содержаться в настоящем руководстве и в эксплуатационной документации, прилагаемой к устройствам и комплектным изделиям, входящим в состав станка;

-знать принципы работы электрооборудования станка и работу его схемы автоматического управления.

Для обеспечения безаварийной работы станка, напряжение питающей сети на его вводе должно быть в пределах от 0,9 до 1,1 номинального значения, а отклонение частоты от номинального значения в пределах -1 Гц.

Станок и устройства, входящие в его состав, которые могут оказаться под опасным напряжением, должны иметь надежное заземление.

К заземляющему зажиму, установленному на вводе к станку в шкафу с электрооборудованием, должен быть подведен от сети заземляющий проводник.

Качество заземления должно быть проверено внешним осмотром и измерением сопротивления между металлическими частями станка и каждого устройства и зажимом для заземления, находящимся на вводе к станку.

Сопротивление заземления не должно превышать 0,1 0м.

Категорически запрещается производить работы под напряжением.

Электрооборудование станка подключается к источнику питания через один ввод.

Для подключения и отключения станка к питающей сети, на правой боковой стенке шкафа с электрооборудованием установлен вводный выключатель, и имеется устройство для запирания его в отключенном состоянии. Вводный выключатель также используется как аварийный и имеет рукоятку красного цвета.

При ремонте и перерывах в работе вводный выключатель должен быть отключен и заперт устройством для запирания его в отключенном состоянии.

Внимание!

При отключенном вводном выключателе, в шкафу с электрооборудованием остаются под опасным напряжением цепи питания станка и блокировочные контакты вводного выключателя.

Для обеспечения безопасности в шкафу с электрооборудованием контактные зажимы, предназначенные для присоединения кабеля, идущего от источника питания, защищены крышкой из изоляционного материала, а дверцы шкафа снабжены специальным замком.

Категорически запрещается оставлять открытым и не запертым на ключ шкаф с электрооборудованием и загромождать подход к нему.

В станке имеется нулевая защита, исключающая самопроизвольное включение станка.

На пульте управления установлена кнопка "Аварийный стоп" с грибовидным толкателем красного цвета, которая обеспечивает отключение всего электрооборудования станка независимо от режима работы.

Действия кнопки "Аварийный стоп" должно проверяться при первоначальном пуске станка.

Категорически запрещается работа на станке при неисправности электрической цепи отключения от кнопки "аварийный стоп".

Категорически запрещается разъединять и соединять составные части штепсельных разъемов, находящихся под напряжением.

Станок снабжен пристроенным устройством местного освещения, и для питания его применяется напряжение переменного тока 24 В.

Для обеспечения безопасной работы, предупреждения поломок механизмов и брака на станке предусмотрены электрические блокировки, указанные в настоящем разделе.

Внимание!

Действие всех электрических блокировок должно проверяться на холостом ходу и под нагрузкой при первоначальном пуске станка, а также при профилактических осмотрах и ремонтах.

Категорически запрещается работать на станке при обнаружении неисправностей в работе электрических блокировок безопасности [2, с. 56].

Возможные неисправности в работе схемы управления и мероприятия по их устранению


Таблица Характерные неисправности и методы их устранению

Признак неисправности

Вероятная причина

Способ устранения

Электродвигатели

Электродвигатель при пуске не вращается, гудит.

Отсутствие напряжения в одной из фаз электросети.

Устранить разрыв цепи.

При вращении электродвигатель гудит и перегревается.

Междувитковые замыкания. Короткое замыкание между фазами.

Отремонтировать обмотку. Заменить электродвигатель.

Повышенный перегрев обмотки. Срабатывает тепловая защита.

Перегрузка электродвигателя.

Снизить нагрузку до номинальной.

Пониженное сопротивление изоляции.

Загрязнение или отсырение обмоток.

Разобрать электродвигатель, прочистить, продуть и просушить обмотку.

Стук в подшипнике.

Повреждение подшипника.

Заменить подшипник.

Трансформатор

Отсутствие напряжения на одной из клеммных колодок.

Плохой контакт. Обрыв вывода катушки.

Проверить контакт и при необходимости заменить катушку.

Продолжение таблицы 6

Признак неисправности

Вероятная причина

Способ устранения

Пускатели

Пускатель не отключается.

Заедает подвижная система. Обрыв в цепи управления или в обмотке катушки.

Восстановить нормальный ход подвижной системы. Проверить и восстановить цепь управления. При необходимости заменить катушку.

Пускатель сильно гудит.

Загрязнены или повреждены рабочие поверхности полюсов магнитной системы.

Протереть чистой сухой тряпкой поверхность полюсов: при механическом повреждении поверхности подшлифовать.

Пускатели

Пускатель сильно гудит.

Низкое (85%) напряжение в питающей сети.

Проверить наличие напряжения.

Пускатель не отключается.

Приварились контакты силовой цепи или цепи управления. Заедает подвижная система. Неисправны возвратные пружины.

Зачистить контакты, в случае их полного износа - заменить. Восстановить нормальный ход подвижной системы. Заменить пружины.

Конечные выключатели

Пробой выключателя на землю или недопустимое снижение сопротивления изоляции

Провод касается кожуха (ниши). Попадание воды в кожух. Появление токопроводящих пленок на изоляции.

Плотно затянуть выводы аппарата. Высушить аппарат, плотно затянуть крышку. Разобрать контактный элемент, очистить корпус от наплывов серебра.

Отсутствует самовозврат.

Сломана пружина возврата.

Сменить пружину возврата.

Отсутствие четкого возврата.

Сломан упор.

Сменить упор.

Отсутствие контакта.

Подгар или износ контактов.

Зачистить контакты, при необходимости сменить.

Разброс точки срабатывания.

Люфт в креплении аппарата или контактного элемента. Не закреплен кулачок.

Затянуть винты крепления аппарата и контактного элемента. Закрепить кулачок.

Кнопки

Прерывание тока в электрической цепи.

Загрязнены контакты. Ослабление крепления подводящих проводов.

Протереть контакты чистой ветошью, увлажненной спиртом. Затянуть винты крепления подводящих проводов.

Прерывание тока в электрической цепи.

Предельный износ контактов. Сломана контактная пружина.

Заменить кнопку. Заменить пружину.

Нет возврата толкателя.

Сломана возвратная пружина подвижной траверсы.

Заменить возвратную пружину.

ОХРАНА ТРУДА

 

Техника безопасности при эксплуатации и обслуживании электрооборудования механизма.

Безопасность эксплуатации электрооборудования обеспечивается самой конструкцией его (ограждения, блокировки, сигнализация, заземление и т. д.), а также мероприятиями организационного и технического характера, выполняемыми личным составом в процессе обслуживания электрооборудования (приемы безопасной работы, различные защитные средства и т. д).

Изучение устройства электрооборудования и правил его эксплуатации должно быть основой подготовки личного состава. При осмотре и обслуживании электрооборудования следует проверить, нет ли неисправностей, создающих опасность поражения личного состава электрическим током.

Места, где возможно прикосновение к токоведущим частям, должны быть ограждены и снабжены плакатами «Не трогать! Жизнеопасно!».

Защитные ограждения токоведущих частей электрооборудования должны соответствовать своему назначению и иметь достаточную механическую прочность. Все соединения выводных концов электрических машин и подключения кабелей должны быть постоянно ограждены специальными кожухами, исключающими возможность прикосновения к токоведущим частям.

Металлические части электрооборудования, которые не находятся под напряжением, но могут оказаться под ним при повреждении изоляции, должны быть надежно заземлены. Особое внимание необходимо обращать на состояние заземления электрооборудования, установленного на амортизаторах.

Для облегчения обслуживания и возможности быстрого и безошибочного ориентирования кабели и провода электрических трасс должны иметь четкую маркировку. Освещение щитов, пультов и контрольно-измерительных приборов должно быть равномерным и не вызывать слепящего действия.

При осмотрах и обслуживании электрооборудования запрещается:

загромождать проходы вблизи электрооборудования

включать электрооборудование при неисправностях, а также при его Rизол ниже допустимых норм

использовать контрольные лампы в цепях с напряжением выше 220 В;

использовать электрооборудование с превышением мощности и времени перегрузки, указанных в формулярах и инструкциях

подавать питание для переносного электрооборудования от контактных соединений и частей электрооборудования, не предназначенных для этих целей (ножей рубильников, губок предохранителей и т. п.)

подвешивать, а также держать переносные светильники и инструмент за провод

применять автотрансформаторы и сопротивления для понижения напряжения при питании переносного электрооборудования

пользоваться неисправным инструментом и приспособлениями

заменять приборы (амперметры и т. п.), требующие разрыва первичной цепи без снятия напряжения

использовать для промывки электрооборудования растворители и моющие средства, не предусмотренные нормами снабжения кораблей

самостоятельно изменять заводские электрические схемы и установки регулировочных устройств.

Все работы по осмотру и ремонту электрооборудования в обычных условиях должны проводиться при снятом напряжении. Работы под напряжением допускаются только в аварийных случаях с обязательным соблюдением мероприятий, обеспечивающих безопасность их выполнения.

Проводить работы на не отключенном электрооборудовании, установленном в сырых, взрыво - и пожароопасных помещениях, запрещается.

Пуск машин с неисправной пускозащитной аппаратурой запрещается.

При обслуживании работающих электрических машин запрещается:

снимать кожухи, ограждения

заменять щетки

пересоединять обмотки

протирать коллекторы и другие части электроустановки, находящиеся под напряжением, бензином и другими легковоспламеняющимися жидкостями

проводить в помещении, где работают машины, какие-либо работы, вызывающие пылеобразование, разбрызгивание жидкости и разбрасывание (отлетание) металлических частиц.

Запрещается входить за главные распределительные щиты и щиты управления лицам, не допущенным к их обслуживанию.

Все виды защиты должны быть исправны и при действии электрооборудования включены. Запрещается производить принудительное заклинивание и отключение устройств защиты [11].

Устройства, применяемые на механизме для обеспечения безопасности работ

Невозможно вращение шпинделя и движение исполнительных органов при отжатом инструменте (размыкающий контакт реле КL7 66-67 и 158-159).

Электродвигатель шпинделя отключен при переключении скорости вращения шпинделя (контакт 78-82) микропереключателя SQ9.

Невозможно одновременное включение движений стола, суппорта, фрезерной бабки соответственно вправо-влево, вверх-вниз, вперед-назад.

При включении муфт YCЗ или YC4 или YC5, отключаются электромагниты зажима направляющих YC6 или YC7 или YC8 соответственно.

Защита от тока короткого замыкания в силовых цепях осуществляется автоматическим выключателем QF, в цепях управления переменного тока предохранителями FU7, FU9, в цепях управления постоянного тока предохранителем FU10. В цепи местного освещения предохранителем FU8.

Защита электродвигателей M1, М2, М3 и М4 от перегрузки выполнена тепловыми реле КK1, КК2, ККЗ и КК4 - соответственно. Защита привода подач М, G осуществляется предохранителями FU1, FU2, FU3 в первичной цепи трансформатора Т и предохранителями FU4, FU5, FU6 во вторичной цепи трансформатора Т [2, с. 65].

ЗАКЛЮЧЕНИЕ


В данном дипломном проекте рассмотрено электрооборудование широкоуниверсального инструментального фрезерного станка модели 67К25В предназначен для горизонтального и вертикального фрезерование изделий из различных материалов цилиндрической, дисковыми, концевыми, фасонными и другими фрезами.

Станок предназначен для работы в инструментальных целях крупносерийного и массового производства и в основных цехах мелкосерийного поставок.

Приведены основные технические данные и характеристики. Рассмотрена кинематическая схема, назначение приводов. На станке имеются следующие приводы:

- M1-привод гидравлики

 М2-привод насос СОЖ

- М3-привод шпинделя

- М4- привод быстроходной головки

- М- привод подач

Исходя из режима работы электроприводов можно сделать вывод, что двигатель главного привода М3 работает в продолжительном режиме.

На станке применяется напряжение переменного и постоянного тока:

силовая цепь питается от трехфазного переменного напряжения величиной 380 В и частотой 50 Гц;

цепь питания двигателя привода подач постоянное напряжение;

цепь управления рассчитана на переменное напряжение 110 В частотой 50 Гц, и на постоянное напряжение 24В;

цепь сигнализации ~ 24 В;

цепь местного освещения ~ 24 В;

цепь питания тормозной электромагнитной муфты - 24 В род тока постоянный.

В специальной части произведен расчет мощности электродвигателей: расчёт мощности электродвигателя главного привода Рдв =2,5 кВт; расчёт мощности электродвигателя гидравлики Рдв =0,56 кВт; расчёт мощности электродвигателя насоса СОЖ Р0,12 кВт.

К системе управления полуавтоматом предъявляются следующие требования: безопасность и удобство управления - достигается расположением органов управления в легкодоступных местах; быстрота управления.

Произведен выбор типа электропривода и типа рассчитанных двигателей:

для главного привода по рассчитанной мощности выбран электродвигатель АИР90L2 на Рн = 3кВт;

для привода гидравлики по рассчитанной мощности выбран электродвигатель AИР71А4 на Рн=0,56кВт;

для привода насоса CОЖ по рассчитанной мощности выбран электродвигатель 4АА50В2У3 на Рн = 0,12кВт.

Произведена проверка выбранных двигателей и расчет механических характеристик.

Выбраны преобразователи, аппараты защиты и элементы схемы управления: QF1 выбран автомат АЕ2036 с Iн=63А для М1, М2, М3, М4, М;

Выбраны пускатели:

КМ4 ПМЛ 11010 с Iн=10 А для М3, М4;

КМ2 ПМЛ 11010 с Iн=10 А для М1;

КМ3 ПМЛ 11010 с Iн=10 А для М2;

Выбрано тепловое реле:

КК1 РТЛ с Iн=2,05 А для М1;

КК2 реле РТЛ с Iн=0,52 А для М2;

КК3 РТЛ с Iн=8,5 А для М3;

КК4 РТЛ с Iн=3,4 А для М4.

Выбирается трансформатор Т1 серии ОСМ1 - 0,25 380/24 для электродинамического торможения, выбирается трансформатор Т2 серии ОСМ1 - 0,25 380/110/24 для питания цепи управления и трансформатор Т3 серии ОСМ1 - 0,25 380/24 для питания цепи управления постоянного тока.

Сделан выбор проводов: для электродвигателя главного привода М3 выбран провод марки ПВ3 4(1×1) на Iдоп=14А, для электродвигателя привода быстроходной головки М4 выбран провод марки ПВ3 4(1×1) на Iдоп=14А, для электродвигателя привода СОЖ М2 выбран провод марки ПВ3 4(1×1) на Iдоп=14А, для электродвигателя привода гидравлики М1 выбран провод марки ПВ3 4(1×1) на Iдоп=14А, для всего станка выбран провод марки ПВ3 4(12,5) с =25А.

Разработана и описана схема управления, рассмотрено назначение элементов схемы. Приведены возможные неисправности в работе схемы управления мероприятия по их устранению.

В разделе модернизация электропривода произведен анализ существующей системы управления механизмом. Для модернизации предлагается установка частотного преобразователя Innovert H3400A01D5K и двигатель 4А71В2У3.

Рассмотрены пусконаладочные работы, приведены возможные неисправности в работе схемы управления и мероприятия по их устранению.

В дипломном проекте указана техника безопасности при эксплуатации и обслуживании электрооборудования механизма, подробно описаны устройства, применяемые на механизме для обеспечения безопасности работ:

SB1-аварийная остановка любого работающего электродвигателя с одновременным отключением станка от сети;

QF1 -коротких замыканий.

СПИСОК ИСПОЛЬЗОВАННЫХ ИСТОЧНИКОВ


1. Монтаж, техническая эксплуатация и ремонт электрического и электромеханического оборудования. Н. А. Акимова, Н.Ф. Котеленец, Н.И. Сентюрихин -М.: Издательский центр "Академия", 2008-296с

. Руководство по эксплуатации станка модели 67К25В.

3. Справочник технолога - машиностроителя. В 2-х т. Т. 2/Под ред. А.Г. Косиловой и Р.К. Мещерякова. М.: Машиностроение, 1986.

4. Москаленко В.В. Справочник электромонтера-М.: Издательский центр Академия, 2012.

. Методические указания к курсовому проекту по МДК 01.02 Основы технической эксплуатации и обслуживания электрического и электромеханического оборудования.

6. Электромагнитные пускатели. Справочник. М.: Информэлектро, 2013.

7. Сибикин Ю.Д. Электробезопасность при эксплуатации электроустановок промышленных предприятий: Учебник для нач. проф. образования/Ю.Д. Сибикин-2-е изд., испр. и доп.-М.: Издательский центр "Академия"., 2012-240с.

Алиев И.И., Абрамов М.Б. Электрические аппараты. Справочник-М.: Издательское предприятие Радио Софт, 2013-256 с.

9. Правила выполнения электрических схем. ГОСТ 2.702-2011 ЕСКД

Похожие работы на - Электрооборудование широкоуниверсального инструментального фрезерного станка модели 67К25В

 

Не нашли материал для своей работы?
Поможем написать уникальную работу
Без плагиата!
Без нейросетей!