Проектирование и строительство 18-квартирного жилого дома
Содержание
Задание для курсового проектирования
График дипломирования
Аннотация
Введение
Архитектурно-строительный раздел
.1 Общая часть
.1.1 Район строительства
.1.2 Объёмно-планировочное решение
.2 Архитектурно-конструктивное решение
.2.1 Фундаменты
.2.2 Стены и перегородки
.2.3 Перемычки
.2.4 Плиты перекрытия и покрытия
.2.5 Лестницы
.2.6 Крыша, кровля, водоотвод
1.2.7 Окна, двери
1.3 Ведомость отделка помещений
.4 Эксикация полов
.5 Спецификация сборных элементов
.6 Спецификация элементов заполнение проемов
.7 Инженерное оборудование здания
.8 Технико-экономические показатели
. Расчетно-конструктивный раздел
.1 Расчет пустотной плиты перекрытия
.1.2 Основные проектные решения
.1.3 Расчетная схема и расчетное сечение плиты
.1.4 Нагрузка на 1 м2 плиты перекрытия
2.1.5 Материалы для плиты
2.2 Расчет плиты по предельным состояниям первой группы
.2.1 Расчет по прочности сечения, нормального к продольной
оси плиты
.2.2. Расчет по прочности сечения, наклонного к продольной
оси плиты
.3 Расчет плиты по предельным состояниям второй группы
.3.1 Определение геометрических характеристик сечения
.3.2 Определение потерь
Технология и организация строительства
.1 Технологическая карта на устройство 2-х слойной
наплавляемой кровли
.1.1 Область применения технологической карты
.1.2 Определение номенклатуры и подсчет объемов работ
.1.3 Калькуляция трудовых затрат и заработанной платы
.1.4 График производства работ
.1.5 Определение потребности материально-технических ресурсов
.1.6 Технология и организация процесса
.1.7 Контроль качества и приемка работ
.1.8 Охрана труда и техника безопасности
.1.9 Расчёт технико-экономических показателей технологической
карты
.2 Календарный план производства работ
.2.1 Ведомость номенклатуры и подсчёта объемов работ
.2.2 Ведомость затрат труда и машинного времени
.2.3 Выбор методов производства работ
.2.4 Указания по производству работ
.2.5 Указания по технике безопасности
3.2.6 Контроль качества
3.2.7 Подбор крана
3.2.8 Расчет технико-экономических показателей календарного
плана
4 Сметный раздел
.1 Информация о ценообразующих факторах
.2 Локальная смета
.3 Объектная смета на строительство "18 квартирного
жилого дома"
.5 Технико-экономические показатели
Заключение
Список литературы
Введение
Строительство - это та отрасль, которую в первую очередь задевает кризис
и которая в последнюю очередь избавляется от его последствий. Конечно,
сегодняшние показатели еще далеки от предкризисных. До сих пор существует
недозагруженность строительных предприятий, уменьшение объемов ввода многоэтажного
жилья (хотя «малоэтажка» показывает рост). Строительная отрасль только-только
стала оживать. Но положительная динамика в первом квартале текущего года есть.
Объем работ по виду деятельности «Строительство» вырос до 14,4 млрд.рублей по
сравнению с 11,1млрд.рублей за аналогичный период прошлого года. По сравнению с
прошлым годом жители республики стали на треть больше строить жилье
собственными силами, увеличилось производство стройматериалов (кирпича, цемента
др.) в среднем на 30%. Увеличился и покупательский спрос у населения -
количество ипотечных кредитов за квартал текущего года, по сравнению с
аналогичным периодом 2010 года, выросло в 2,5 раза. Да и зарплата в отрасли
увеличилась на 20%.
В области запущена большая программа по повышению доступности кредитов на
строящееся жилье и программа инженерной подготовки строительных площадок для
жилья эконом-класса.
Дипломный проект на тему: «18-квартирный жилой дом» раскрывает
возможности проектирования зданий, максимально рационально вписанных в
городские условия. Поэтому был разработан многоэтажный жилой дом, являющийся
основным типом жилища в городах нашей страны. Высотная композиция таких домов
способствует созданию выразительного силуэта застройки.
1.
Архитектурно-конструктивный раздел
.1 Общая часть
Дипломный проект на тему: «Проектирование и строительство18-квартирный
жилой дом», выполнен студентом группы 12 СЭЗ-з Комаровым Романом Юрьевичем, в
соответствие с заданием на дипломное проектирование, на основе действующих
нормативной, справочной, технической документации.
.1.1 Район строительства
Проект разработан для строительства в г. Кемерово, согласно СНиП
2.01.01-82 «Строительная климатология и геофизика» и СНиП 2.01.07-85 «Нагрузки
и воздействия», район строительства имеет следующие климатические характеристики:
глубина промерзания грунта 2,2 м;
температура наружного воздуха самой холодной пятидневки минус 37°С и
самых холодных суток минус 39°С;
среднегодовое количество осадков - 429 мм;
снежный покров - неустойчивый;
господствующее направление ветров - юго-западное;
четвертый район снеговой нагрузки - 450кг/м.
Рельеф площадки строительства принят условно спокойным.
.1.2 Объёмно-планировочные решения
Проектируемое здание имеет 9 этажей, высота каждого этажа 3,0 м. Здание
прямоугольное в плане с размерами по осям 18,0 ×10,8 м.
Для естественного освещения и вентиляции в здании предусмотрены окна с
открывающимися створками.
Для данного здания планировочной схемой является коридорная, принята
исходя из функциональной структуры здания. Сообщение между этажами
осуществляется при помощи 2-х маршевой лестницы с уклоном 1:2.
Принятый класс здания II;
Степень огнестойкости 2;
Степень долговечности 2. Здание по типу распространения является типовым
жилым.
Таблица 1 Экспликация помещений
|
Номер помещения
|
Наименование
|
Площадь м2
|
|
1-9 этаж
|
|
1
|
Гостиная
|
16,03
|
|
2
|
Кухня
|
9,86
|
|
3
|
Холл
|
4,21
|
|
4
|
Сан/узел
|
4,91
|
|
5
|
Спальня
|
13,16
|
|
6
|
Спальня
|
10,98
|
.2 Архитектурно-конструктивное решение здания
В процессе проектирования данного здания было решено принять в качестве конструктивного
решения бескаркасный тип, конструктивная схема с продольными и поперечными
несущими стенами.
Пространственная жесткость здания обеспечивается за счет сопряжения
наружных и внутренних стен между собой, которые имеют толщину 640мм и 380мм
соответственно; стен лестничных клеток, воспринимающих ветровые нагрузки,
действующие на здание; опирания на стены, креплением или анкеровкой плит
перекрытия со стенами, заполнения растворов швов между перекрытиями, создавая
горизонтальный диск жёсткости в уровне перекрытий.
А также частично с поперечными несущими стенами- в осях 3-4, в связи с
наличием лифта.
1.2.1 Фундаменты
Здание запроектировано бескаркасное и поэтому фундамент принят ленточный
сборный железобетонный блочный. Глубина промерзания грунта составляет 2,2 м,
глубина заложения принята низа подошвы фундамента -4,040м.
Приняты фундаментные плиты серии 1.112-5: марки ФЛ 20.12-1, ФЛ 20.8-1, ФЛ
20.24-1, ФЛ 16.24-1, ФЛ 16.8-1 ,ФЛ 16.12-1,ФЛ 20.30-1.
Фундаментные блоки подвала выполнены:
ГОСТ 1357-78 марки ФБС 24.5.6-т, ФБС 12.5.5-т, ФБС 24.4.6-т, ФБС 12.4.6-т
Гидроизоляция фундаментов принята по системе ТН-ФУНДАМЕНТ Термо.
Защита стен подвала от грунтовой влаги достигается
устройством вертикальной гидроизоляции - ТЕХНОЭЛАСТ ЭПП 2 слоя.
Вдоль наружных стен устанавливается отмостка шириной 1000 мм
с уклоном 3% в сторону здания.
1.2.2 Стены и перегородки
Здание запроектировано с продольными 2-х слойными несущими
стенами из кирпича. Толщина наружных стен принята - 640 мм, внутренних -380мм.
Цоколь западающий, для отделки стен применяется система наружней теплоизоляции “мокрого типа”.
По верху цоколя под кирпичную кладку делается горизонтальная гидроизоляция из
ТЕХНОЭЛАСТ ЭПП 2 слоя
Парапет выполнен из парапетных плит марки АК 15-8, АК 18-8, АКУ 23.8П,
АКУ 23.8Л, по серии 1.238.3.
Перегородки в проекте приняты по системе КНАУФ C112 межкомнатные гипсокартонные на металлическом каркасе
толщиной 100 мм.
Монтаж металлического каркаса перегородок осуществляется из вертикальных
и горизонтальных профилей . Каркас крепится к полу и потолку через
уплотнительную ленту при помощи дюбелей либо саморезов в зависимости от
основания, между собой профиль скрепляется саморезами. Каркас обшивается КНАУФ
- листами (ГКЛ) в два слоя. Далее поверхность шпаклюется для последующей окраски
либо оклейки обоями.
.2.3 Перемычки
Над оконными и дверными проемами устанавливаются сборные железобетонные
перемычки по серии 1.038.1-1 марок 2ПБ 10-1, 3ПБ 18-8, 2ПБ 16-2, 3ПБ 34-4, 3ПБ
25-8, 2ПБ 22-3, 3ПБ 13-37, 2ПБ 13-1, 2ПБ 29-4 . смотри (Таблица №2). Длина
перемычки зависит от размера проема окон и дверей. Глубина опирания несущих
перемычек на стену 250 мм. Для крепления оконных и дверных коробок в проемах
стен закладываются деревянные пробки размером в кирпич, пропитанные в
антисептике.
Для опирания плит покрытия и перекрытия по оси Б, между осями 3-4,
прогоны устанавливаются на несущие стены принятые по серии 1.225-2, марки ПРГ
36.1.4-4т.
Плиты балконов консольно заделаны в наружные несущие кирпичные стены на 250 мм.
Закреплены анкерами к закладным деталям в стене. Плиты балконов приняты по
серии 1.137-19 марки ПБК38.12-5А. Плиты лоджий приняты по серии 1.137.1-8,
марки ПЛП 39-12.
Ограждение лоджий и балконов осуществляется плитами серии 1.137.1-8, марки ПЛП 37-12. Схемы перемычек, смотри таблица 2.
Таблица 2 Ведомость перемычек
|
Марка, кол. штук
|
Схема сечения
|
Ширина проема
|
|
Пр1 (36 шт)
|
|
2430+250*2 2430+120*2
|
|
Пр2 (36 шт)
|
|
1810+250*2 1810+120*2
|
|
Пр3 (9 шт)
|
|
1210+250*2 1210+120*2
|
|
Пр4 (36 шт)
|
|
800+250*2 800+120*2
|
|
Пр5 (18 шт)
|
|
900+120*2
|
|
Пр6 (36шт)
|
|
610+250*2 610+120*2
|
1.2.4 Плиты
перекрытия и покрытия
Перекрытия принимаются из сборных железобетонных плит с круглыми
пустотами толщиной 220 мм. Длина плиты зависит от расстояния между несущими
стенами с учетом опирания на стену 120 мм.
Приняты плиты перекрытия по серии 1.141-1 марок ПК 54.18-8АТУТ-а, ПК
54.10-6АТУТ-а, ПК 54.12-6АТУТ-а, ПК 42.15-3ТА, ПК 42.18-3ТА.
Пустоты в пределах опирания плит на стену замоноличиваются легким бетоном
для предохранения от попадания воды, смытия и улучшения тепло- и звукоизоляции.
Укладку плит на стену производит по выровненному слою цементно-песчаного
раствора с тщательной заделкой швов между плитами.
Для обеспечения пространственной жесткости предусмотрена анкеровка плит
через шов.
.2.5
Лестницы
Лестницы приняты сборные железобетонные, состоящие из маршей и площадок.
Смотри узел 1, узел 2. Лестничные площадки приняты по серии 1.152.1-4 марки ЛПФ
34.13-5-1, ЛП.Ф 34.13в-5-1, лестничные марши по серии 1.151.1-7 марки ЛМ
30.12-15-4е.
Лестничные площадки опираются на стену на 120 мм, концы
заделываются в несущие внутренние стены. Марши опираются на площадки, стыки
заполняются раствором М50.
Ограждение лестничных маршей выполняется металлическими
решетками серии 1.15.1-6,марки ОЛ-33-1, стойки которых привариваются к
закладным деталям марша. Высота ограждений 900 мм.
При входе в жилой дом устанавливается тамбур для защиты
помещения лестничной клетки от переохлаждения. Перед входом в здание
устанавливается входная площадка.
Над входом в здание устанавливается железобетонный козырек по
серии 1.236.1-1в2 марки КВ 20.16-т.
.2.6 Крыша. Кровля. Водоотвод
Покрытия принимают из сборных легкобетонных ребристых плит толщиной 300
мм.
Приняты плиты покрытия по серии 1.165-6 марок ПР3-54.15.3 ПР3-54.12.3.
Конструкция кровли принята в зависимости от уклона и применяемого
материала по тому 2 СНиП «Кровля».
Уклон крыши - i =0,030. Для обеспечения уклона стока воды поверх плит
покрытия выполняется цементно-песчаная стяжка толщиной 20 мм с уклоном от
наружных стен к центру. Уклон по ендове - i =0,010 к водоразборной воронке.
Конструкция кровли принята по системе ТН-КРОВЛЯ Стандарт.
Выравнивающая цемент-песчаная стяжка.
По плитам покрытия устраивается рулонный ковер из1слоя Унифлекс ЭПВ Вент.
Защитный слой по верху водоизоляционного ковра - 1слой Техноэласта ЭКП.
Крыша принята с теплым чердаком с внутренним водоотводом. Поверх плит
перекрытия делается пароизоляция в 1 слой Бикроэласт ТПП . Поверх пароизоляции
укладывается утеплитель- минераловатные плиты ТехноРуф.
Водоприемная воронка диаметром 100 мм устанавливается в лестничной
клетке. Они располагаются в пониженных местах крыши, соединены с трубами,
отводящими воду на отмостку.
Для выхода на крышу над лестничной клеткой устанавливается шахта выхода
на крышу. Выход на крышу осуществляется с лестничной клетки через люк.
Ограждением является парапет высотой 700 мм, вверх которого закрыт парапетными плитами по серии-1.238-3, марки-АКУ 23.8П, АК 18-8, АКУ 23.8Л, АК
15-8.
Для обеспечения в помещениях нормальной влажности воздуха в
здании используются естественная вытяжка (окна, форточки) и вытяжка
вентиляционная. Для этого в стенах здании
предусмотрены вентиляционные каналы, которые выходят на крышу в виде вентиляционных
шахт.
Для профилактических и ремонтных работ лифта, на крыше здания
предусмоторно машинное отделение. Вход
осуществляется через шахту выхода на крышу здания.
1.2.7 Окна, двери
Окна приняты с тройным остеклением. Оконные блоки из ПВХ,
ГОСТ 23.166.99 марки ОП СПП 6-12 ПО, ОП СПП 15-18 ПО, БП СПП 21-75 ПО, ОП СПП
15-6 ПО.
С главного входа для обеспечения пропускной способности
большого потока людей предусмотрены полуторые двери с размером 2300х1500мм ДГ 23-15 ГОСТ 24698-81
Внутренние двери однопольные ДГ 21-9 ГОСТ 24698-81. Все двери открываются
распашным способом. В проемах двери распираются деревянными вставками, зазор
между стеной и дверью заполняется монтажной пеной и закрывается деревянными
наличниками. Пороги устраиваются во всех помещениях кроме санузлов и моечных.
Принятые двери удобны в эксплуатации, экологически чистые, эстетичны и отвечают
всем современным требованиям.
1.3 Ведомость отделки помещений
Во внутренней отделке применяется штукатурка кирпичных и
затирка бетонных поверхностей цементно-песчаным раствором под последующую
окраску, оклейку обоями и облицовку керамической плиткой.
Потолки окрашиваются краской на водной основе белого цвета.
Таблица 3 Ведомость
отделки помещений
|
Наименование помещения
|
Потолок
|
Стены или перегородки
|
Примечание
|
|
Площадь, м2
|
Вид отделки
|
Площадь, м2
|
Вид отделки
|
|
|
Жилые комнаты
|
723,06
|
затирка акриловая окраска
белым цветом
|
1965,78
|
Оштукатуриванием,
шпаклевание, оклейка обоями на бумажной основе
|
На всю высоту стены
|
|
Кухни
|
177,48
|
затирка акриловая окраска
белым цветом
|
954,9
|
Оштукатуриванием,
шпаклевание, оклейка обоями на бумажной основе
|
На всю высоту стены
|
|
Коридоры
|
160,02
|
затирка акриловая окраска
белым цветом
|
1038
|
Оштукатуриванием,
шпаклевание, оклейка обоями, стекло обоями
|
На всю высоту стены
|
|
Сан. узлы и ванные комнаты
|
101,7
|
затирка акриловая окраска
белым цветом
|
531,2
|
керамическая плитка,
затирка швов
|
На всю высоту стены
|
.4 Экспликация полов
Виды полов приняты в зависимости от назначения помещения в соответствии
со СНиП 11-88-71 «Полы» и СНиП 2.03.13-98.
Конструктивное решение пола соответствует назначению помещений и зависит
от звуко-, тепло- и влагоизоляционных требований.
В жилых комнатах приняты полы дощатые, в санузлах и ванных комнатах -
керамические, в коридорах и кухнях - линолеум, в подвальном помещении -
бетонные.
Таблица 4
Экспликация полов
|
Наименование или номер
помещения по проекту
|
Тип пола по проекту
|
Схема пола или номер узла
по серии
|
Элементы полов и их толщина
|
Площадь пола, кв.м
|
|
Комнаты
|
П64
|
|
1. Доски ГОСТ 8242-88 - 40
мм. 2. Лага 100*50 ГОСТ 24454-80 с шагом 800 мм. 3. Древесные изоляционные
плиты - 16мм. 4. Жел.-бет. плита перекрытия -220мм.
|
723,06
|
|
Сан. узлы и ванные комнаты
|
П43
|
|
1. Керамическая плитка ГОСТ
6787-89 - 10 мм. 2. Плиточный клей 20 мм. 3. Гидроизол ГОСТ 7415-86 - 10
мм. 4. Стяжка - цементно-песчаный раствор - 20мм. 5. Жел.-бет. плита - 220
мм
|
101,7
|
|
Коридоры и кухни
|
П71
|
|
1. Линолеум - 4 мм. ГОСТ 7251-66 2. Холодная мастика-
2 мм. 3. Цементно-песчаный раствор - 20 мм. 4. Древесные изоляционные плиты-
16 мм. ГОСТ 4598-60 5. Жел.-бет. плита - 220 мм.
|
337,5
|
|
Подвальное помещение
|
П9
|
|
1. Бетонный слой В 15 - 20 мм. 2. Подстилающий слой
из бетона В7 -80мм. 3. Уплотненный грунт
|
129,14
|
1.5 Спецификация элементов
сборных конструкций
Таблица 5 Спецификация элементов сборных конструкций
|
Марка Поз.
|
Обозн.
|
Наименование
|
Кол-во шт.
|
Масса, кг
|
Объём бетона, м³
|
Расход стали, кг
|
|
|
Балконные плиты
|
|
|
|
|
|
ПБК38.12-5А
|
1.137-19
|
ПБК38.12-5А
|
18
|
1400
|
0.56
|
42.69
|
|
|
Плиты перекрытия
|
|
|
|
|
|
ПК 54.18-8АТУТ-а
|
1.141-1
|
ПК 54.18-8АТУТ-а
|
60
|
3250
|
1,14
|
45,08
|
|
ПК 54.10-6АТУТ-а
|
1.141
|
ПК 54.10-6АТУТ-а
|
42
|
1775
|
0,71
|
23,83
|
|
ПК 54.12-6АТУТ-а
|
1.141
|
ПК 54.12-6АТУТ-а
|
41
|
2150
|
0,86
|
29,35
|
|
ПК 42.15-3ТА
|
1.141
|
ПК 42.15-3ТА
|
40
|
2095
|
0,78
|
29.35
|
|
ПК 42.18-3ТА
|
1.141
|
ПК 42.18-3ТА
|
20
|
2350
|
0.95
|
32.20
|
|
|
Лестничные марши
|
|
|
|
|
|
ЛМ 30.12-15-4е
|
1.151.1-7
|
ЛМ 30.12-15-4е
|
18
|
1700
|
0,68
|
18,31
|
|
|
Лестничные площадки
|
|
|
|
|
|
ЛПФ 34.13-5-1
|
1.152.1-4
|
ЛПФ 34.13-5-1
|
17
|
1500
|
0,474
|
19,88
|
|
ЛПФ 34.13в-5-1
|
1.152.1-4
|
ЛПФ 34.13в-5-1
|
1
|
1720
|
0,474
|
19,88
|
|
|
Плиты лоджий
|
|
|
|
|
|
ПЛП 37-12
|
1,137.1-8
|
ПЛП 37-12
|
18
|
1580
|
0,632
|
52,15
|
|
|
Плиты покрытия
|
|
|
|
|
|
ПР3-54.12.3
|
1,165-6
|
ПР3-54.12.3
|
4
|
1285
|
0,35
|
46,27
|
|
ПР3-54.15.3
|
1,165-6
|
ПР3-54.15.3
|
18
|
1575
|
0,43
|
53,27
|
|
|
Перемычки
|
|
|
|
|
|
2ПБ 10-1
|
1.038.1-1
|
2ПБ 10-1
|
108
|
0,017
|
0,21
|
|
3ПБ 18-8
|
1.038.1
|
3ПБ 18-8
|
9
|
119
|
0,048
|
1,18
|
|
2ПБ 16-2
|
1.038.1
|
2ПБ 16-2
|
27
|
65
|
0,026
|
0,53
|
|
3ПБ 34-4
|
1.038.1
|
3ПБ 34-4
|
36
|
222
|
0,089
|
2,73
|
|
2ПБ 29-4
|
1.038.1
|
2ПБ 29-4
|
108
|
120
|
0,048
|
3,06
|
|
2ПБ 22-3
|
1.038.1
|
2ПБ 22-3
|
108
|
92
|
0,037
|
1,18
|
|
3ПБ 13-37
|
1.038.1
|
3ПБ 13-37
|
108
|
85
|
0,034
|
1,74
|
|
2ПБ 13-1
|
1.038.1
|
2ПБ 13-1
|
90
|
54
|
0,022
|
0,31
|
|
3ПБ 25-8
|
1.038.1
|
3ПБ 25-8
|
36
|
162
|
0,065
|
2,1
|
|
|
Козырек
|
|
|
|
|
|
КВ20.16-Т
|
1.236-1в2
|
КВ20.16-Т
|
1
|
750
|
0,3
|
25,65
|
|
|
Фундаментные плиты
|
|
|
|
|
|
ФЛ 20.12-1
|
1.112-5
|
ФЛ 20.12-1
|
4
|
1950
|
0,78
|
7,69
|
|
ФЛ 20.8-1
|
1.112
|
ФЛ 20.8-1
|
7
|
1250
|
0,5
|
5,30
|
|
ФЛ 20.24-1
|
1.112
|
ФЛ 20.24-1
|
2
|
2380
|
0,95
|
14,66
|
|
ФЛ 20.30-1
|
ГОСТ 13580-85
|
ФЛ 20.30-1
|
14
|
5100
|
3
|
18,36
|
|
ФЛ 16.8-1
|
1.112-5
|
ФЛ 16.8-1
|
2
|
850
|
0,34
|
4,94
|
|
ФЛ 16.12-1
|
1.112
|
ФЛ 16.12-1
|
18
|
1220
|
0,49
|
7,29
|
|
ФЛ 16.24-1
|
1.112
|
ФЛ 16.24-1
|
2
|
2470
|
0,99
|
14,66
|
|
|
Фундаментные блоки
|
|
|
|
|
|
ФБС 24.5.6-т
|
ГОСТ 13579-78
|
ФБС 24.5.6-т
|
104
|
1630
|
0,439
|
1,46
|
|
ФБС 12.5.5-т
|
ГОСТ 13579
|
ФБС 12.5.5-т
|
26
|
790
|
0,265
|
1,46
|
|
ФБС 12.4.6-т
|
ГОСТ 13579
|
ФБС 12.4.6-т
|
18
|
640
|
0,331
|
1,46
|
|
ФБС 24.4.6-т
|
ГОСТ 13579
|
ФБС 24.4.6-т
|
72
|
1300
|
0,526
|
1,46
|
|
|
Парапетные плиты
|
|
|
|
|
|
АК 15-8
|
1.238-3
|
АК 15-8
|
32
|
225
|
0,089
|
|
|
АК 18-8
|
1.238
|
АК 18-8
|
2
|
275
|
0,107
|
|
|
АКУ 23.8Л
|
1.238
|
АКУ 23.8Л
|
2
|
346
|
0,135
|
|
|
АКУ 23.8П
|
1.238
|
АКУ 23.8П
|
2
|
346
|
0,135
|
|
|
|
Прогоны
|
|
|
|
|
|
ПРГ 36.1.4-4т
|
1.225-2
|
ПРГ 36.1.4-4т
|
3
|
430
|
0,17
|
|
1.6 Спецификация элементов
заполнения проемов
Таблица 6 Спецификация
элементов заполнения проемов
|
Марка Поз.
|
Обозначение
|
Наименование
|
Кол-во на этаж,
(шт)
|
Всего, (шт)
|
Примечание
|
|
|
Оконные блоки
|
|
|
|
|
|
ОК 1
|
ГОСТ 23.166-99
|
ОП СПП 6-12 ПО
|
1
|
16
|
|
|
ОК 2
|
ГОСТ 23.166
|
ОП СПП 15-18 ПО
|
4
|
36
|
|
|
ОК 3
|
ГОСТ 23.166
|
ОП СПП 15-18 ПО
|
4
|
36
|
|
|
ОК 4
|
ГОСТ 23.166
|
БП СПП 21-75 ПО
|
4
|
36
|
|
|
ОК 5
|
ГОСТ 23.166
|
ОП СПП 15-6 ПО
|
4
|
36
|
|
|
|
Дверные блоки
|
|
|
|
|
|
Д 1
|
1.136 - 10
|
ДГ 21-9
|
2
|
18
|
|
|
Д 2
|
1.136 - 10
|
ДГ 21-8
|
12
|
108
|
|
|
Д 3
|
1.136 - 10
|
ДГ 21-7
|
4
|
36
|
|
|
Д 4
|
ГОСТ 24698-81
|
ДН 21-13БП
|
1
|
1
|
|
1.7 Инженерное оборудование
Инженерно-техническое оборудование здания производится в
соответствии с CанПин 2.1.2.1002-00 "Санитарно-эпидемиологические
требования к жилым зданиям и помещениям".
Водопровод - хозяйственно - питьевой, расчетный напор на
вводе 22.0м.вод.ст. Водопровод монтируется из полипропиленовых труб марки PPRC
PN10. Поэтажная разводка предусматривается скрыто в полу в гофрошланге.
Магистральный трубопровод прокладывается в подпольных каналах первого этажа,
зашивается и теплоизолируется. Прокладка водопровода из полипропиленовых труб
скрытая.
Канализация - хозяйственно - бытовая во внешнюю сеть,
водосток наружный неорганизованный. Внутренняя канализационная сеть комплекса
выше и ниже отметки 0.000, выпуски монтируется из труб пластмассовых по ГОСТ
22689.1-89. Монтаж оборудования и трубопроводов проектируется россыпью из узлов
и деталей.
Отопление - от малолитражного котла КЧМ-2М. Система отопления
однотрубная с верхней разводкой и однотрубная с нижней разводкой, радиаторами М
- 140 - АО для расчетных температур -20 -25 оС. Температура
теплоносителя 95 - 70 оС.
Вентиляция - естественная.
Горячее водоснабжение - от внешней сети, расчетный напор на
вводе 22.0 м.вод.ст.
Электроснабжение - от внешней сети, напряжение 380/220в. В
качестве вводно-распределительного устройства принят шкаф ВРУ, установленный в
электрощитовой на первом этаже.
Освещение - лампа накаливания.
Устройства связи - телефонизация, радиофикация, молниезащита,
телевидение, охранное оборудование.
.8 Технико-экономические показатели
Таблица 7 Технико-экономические показатели
|
Наименование показателя
|
Характеристика и методика
определения
|
Ед. изм.
|
Кол-во
|
|
Площадь застройки
|
Произведение длины здания
на ширину по наружному обмеру выше цоколя
|
м²
|
602,32
|
|
Строительный объем:
|
Произведение площади
застройки на высоту здания
|
м³
|
7026,00
|
|
Жилая площадь
|
Принимается площадь жилых
комнат здания
|
м²
|
723,06
|
|
Полезная площадь
|
Сумма жилой и
вспомогательной площадей всех квартир
|
м²
|
981,00
|
|
Число квартир
|
|
штук
|
18
|
|
Жилая площадь квартиры
|
Принимается площадь жилых
комнат квартиры
|
м²
|
40,17
|
|
Подсобная площадь квартиры
|
Площади коридора, санузла,
кухни, прихожей, гардероба, кладовой и т.д.
|
м²
|
14,33
|
|
Полезная площадь квартиры
|
Сумма жилой и
вспомогательной площадей квартиры
|
м²
|
54,50
|
|
Планировочный коэффициент
|
Отношение жилой площади к
общей площади здания
|
_
|
0,74
|
|
Объемный коэффициент
|
Отношение строительного
объема здания к жилой площади
|
м³/ м²
|
9,7
|
2. Расчетно-конструктивный раздел
.1 Расчет пустотной плиты перекрытия
.1.2 Основные проектные решения
Плиты изготовлены из тяжелого бетона класса В20. Бетон подвергается
тепловой обработке при атмосферном давлении.
По результатам компоновки конструктивной схемы перекрытия приняты пять
видов плит, шириной 1800, 1500, 1200 1000 мм. Расчетный пролет плиты при
отирании на полки ригелей: 5400-130=5270мм.
.1.3 Расчетная схема и расчетное сечение плиты
Рисунок 2.1 - Схема расположения плит перекрытия
Рисунок 2.2 - Схема опирания плиты перекрытия
.1.4 Нагрузка на 1 м2 плиты перекрытия
Расчетные нагрузки на 1м длины при ширине плиты 1,5м, с учетом
коэффициента надежности по назначению здения, равном gn =1, так как уровень ответственности
здания - I, приведены в таб. 8.
-Для
расчетов по первой группе предельных состояний q=8,09
1,5=12,14кН/м.
Для
расчетов по второй группе предельных состояний
Полная:
qtot=7,06
1,5=10,59кН/м
Длительная:
ql=6.76
1.5=10.14кН/м
Таблица
8 Подсчет нагрузок на 1м2 перекрытия.
|
Нагрузки
|
Нормативные нагрузки, кН/м2
|
Коэффициент надежности по
нагрузке
|
Расчетные нагрузки, кН/м2
|
|
Постоянная:
|
|
|
|
|
от массы плиты ( =0,12м, =25,0
кН/м30,12 25=3,01,13,3
|
|
|
|
От массы пола (
=0,04м,
=6,0 кН/м3
=0,03м,
=18,0
кН/м3
=0,01м,
=8,0 кН/м3)0,04
6=0,24
,03
18=0,54
,01
8=0,08
|
=0,86 1,31,12
|
|
|
|
|
Бетон замоноличивания швов
|
0,2
|
1,1
|
0,22
|
|
перегородки
|
1,5
|
1,1
|
1,65
|
|
Итого постоянная:
|
5,56
|
____
|
6,29
|
|
Временная полная:
|
1,5
|
1,2
|
1,8
|
|
В том числе:
|
|
|
|
|
длительная
|
1,2
|
1,2
|
1,44
|
|
кратковременная
|
0,3
|
1,2
|
0,36
|
|
Всего:
|
7,06
|
____
|
8,09
|
|
В том числе постоянная и
длительная
|
6,76
|
____
|
Расчетные усилия для расчетов по первой группе предельных состояний:
M=ql02/8=12.14
5.572/8=47.08кНм
Q= ql0/2=12.14
5.57/2=33.81кНм
Для
расчетов по второй группе предельных состояний:
Mtot=qtotl02/8=10.59
5.572/8=41.07кНм
Mtot=qtotl0/2=10.59
5.57/2=37,32кНм
2.1.5 Материалы для плиты
Нормативные и расчетные характеристики тяжелого бетона класса В20, при gb2=0,9 (коэффициент работы бетона при влажности 75%):
Rbn = Rb,ser = 15 МПа, btn = Rbt,ser
= 1,4 МПа; b=11,5´0,9=10,35МПа,
Rbt=0,9´0,9=0,81МПа
Плита подвергается тепловой обработке при атмосферном давлении. Начальный
модуль упругости Eb = 27
´ 103 МПа
К трещиностойкости плиты предъявляются требования 3-ей категории.
Технология изготовления плиты агрегатно-поточная. Натяжение напрягаемой
арматуры осуществляется электротермическим способом.
Арматура:
- Продольная напрягаемая класса A-V
- Rsn =Rs,ser = 785 МПа,
- Rs = 680 МПа,
- Es = 19 ´ 104 Мпа
- ненапрягаемая класса Bp-I,
- Rs = 365 МПа,
- Rsw = 265 МПа,
- Еs
= 17 × 104 МПа
.2 Расчет плиты по предельным состояниям первой группы
.2.1 Расчет по прочности сечения, нормального к продольной оси плиты
При расчете по прочности расчетное поперечное сечение плиты принимается
тавровым с полкой в сжатой зоне (свесы полок в растянутой зоне не учитываются).
а) Расчетное сечение плиты для расчетов по первой группе предельных
состояний;
б) Расчетная схема плиты.
Рисунок 2.3 - а) Расчетное сечение плиты; б) Расчетная схема и эпюры
усилий.
При расчете принимается вся ширина верхней полки b’f =146 см, так как:
см,
где
l - конструктивный размер плиты.
Положение
границы сжатой зоны определяется согласно:
;
Где
=h-a=220-30=190мм - рабочая высота сечения.
,08кНм
£ 10,35´1460´31´(190 - 0,5´31) =81,74´106
Н´мм=81,74кНм
Следовательно,
граница сжатой зоны проходит в полке, и расчет плиты ведется как прямоугольного
сечения с размерами b`f ´ h,
согласно п. 3.11
Определяем
значение:
Согласно
[1, табл. 3.1] и [прил. 1, табл. 1.10] при am = 0,086, x = 0,09 и z = 0,955. Вычисляем относительную граничную высоту сжатой зоны
по формулам п. 3.12
. Находим
характеристики сжатой зоны бетона
, где
=0,85 для тяжелого бетона. Тогда:
где
;
ssc,u=500
МПа при
;
Назначаем
величину предварительного натяжения напрягаемой арматуры ssp=745МПа.
Проверяем условие (1)
: при
=0,05ssp=0,05×745=37,25МПа
Так
как sSP+p=
745+37,25=782,3МПа£Rs,ser=785МПа
sSP - p=745 - 37,25=707,8МПа≥0,3
Rs,ser=0,3×785=235,5МПа
Следовательно
условие (1) выполняется.
Предварительное
напряжение при благоприятном влиянии, с учетом точности натяжения арматуры
будет равно:
sSP(1 -
)=745(1-0,1)=670,5МПа,
где
=0,1 согласно п. 1.27
Значение
ssp
вводится в расчет с коэффициентом точности натяжения арматуры gsp
gsp = 1 - Dgsp
= 1 - 0,1 = 0,9
где
=0,1
согласно п. 1.27
Предварительное
напряжение с учетом точности натяжения:
ssp = 0,9 ´ 745 = 670,5 МПа.
При
условии, что полные потери составляют примерно 30% начального предварительного
напряжения, последнее с учетом полных потерь будет равно:
ssp = 0,7 ´ 670,5 = 469,35 МПа.
По формуле:
МПа,
где
ssp
принимается при коэффициенте gsp < 1 с учетом потерь:
sSR = 680 +
400 - 469,35 - 279,04 = 331,61 МПа;
Так
как x = 0,09 < 0,5xR =
0,5×0,677=0,339, то согласно п. 3.7
, коэффициент
s
выше условного предела текучести можно принять
s
=
=1,2
Вычисляем
требуемую площадь сечения растянутой арматуры по формуле:
Принимаем:
6Æ10A-V (As=471мм2)
При
np=6 - количество стержней
Тогда
gsp
= 1 - Dgsp
= 1 - 0,035 = 0,965;
МПа;
ssp = 0,7 ´ 0,965 ´ 748 = 505,27 МПа;
sSR = 680 + 400 - 505,27 - 385,86 = 188,87 МПа;
Проверяем
условие:
Следовательно,
= 1,2 и принятая площадь арматуры остается без
изменения. Максимальное расстояние между напрягаемыми стержнями принимается
около 600 мм, что соответствует требованию п. 5.20 [4] при Мсгс >
0,8 М.
.2.2
Расчет по прочности сечения, наклонного к продольной оси плиты
Расчет
прочности наклонных сечений выполняется согласно п. 3.29…3.31 [4].
Поперечная
сила Q = 33,81 кН.
ql=q=12,14кН/м
Предварительно
приопорные участки плиты заармируем в соответствии с конструктивными
требованиями п. 5.27 [4]. Для этого с каждой стороны плиты устанавливаем по
четыре каркаса длиной l/4 с поперечными стержнями Æ4Вр-I, шаг которых s=10 см (по п.
5.27 [4]
или
мм).
По
[4, форм. 72] проверяем условие обеспечения прочности по наклонной полосе между
наклонными трещинами:
Коэффициент,
учитывающий влияние хомутов, jw1 = 1 + 5amw
£ 1,3,
Коэффициент
поперечного армирования:
; Asw = 0,5 см2 (4Æ4 Bp-I);
jw1 = 1 + 5 ´ 7,08 ´ 0,0013 = 1,05 < 1,3.
Коэффициент
jb1 = 1 - bgb2Rb = 1 - 0,01 ´ 0,9 ´ 10,35 = 0,9, где b = 0,01 для тяжелого
бетона.
Q=25,3кН< 0,3´1,05´0,9´0,9´11,5´37,7´19´100 = 210179 Н = 210,2 кН.
Следовательно,
размеры поперечного сечения плиты достаточны.
Проверяем
необходимость постановки расчетной поперечной арматуры из условия:
Коэффициент
jb3 = 0,6 для тяжелого
бетона.
Проверяем
условие (93)
:
,5Rbtbh0=2.5×0.81×377×190=145.1кН³Q=33,81кН
т.е.
условие выполняется.
Проверяем
условие 93 (4), принимая упрощенно Qb1=Qb,min и с=2,5; h0=2,5×0,19=0,475м.
Находим
усилие обжатия от растянутой арматуры:
P=0,7sspAsp=0.7×745×471=245.6кН
Вычисляем:
тогда
Qb,min=
кН
Qb1 =Qb,min=47,38кН
Так
как Q=Qmax - ql×c=33,81 - 12,14×0,475=28,04кН, следовательно для прочности наклонных сечений по
расчету арматуры не требуется. Поперечная арматура ставится по конструктивным
требованиям.
Рисунок
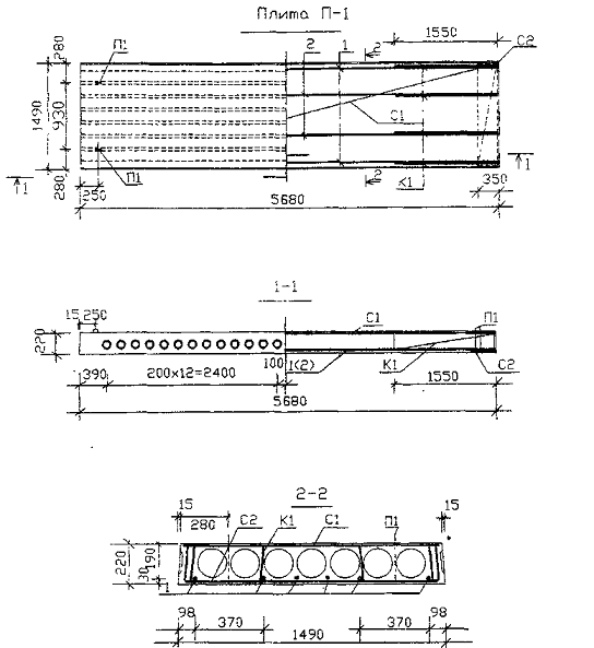
2.4 Расчетное сечение плиты для расчетов по второй группе предельных состояний.
Рисунок
2.5 - Плита П-1
.3
Расчет плиты по предельным состояниям второй группы
Согласно
таблице 2 (2), круглопустотная плита эксплуатируется в закрытом помещении и
армируется напрягаемой арматурой класса А-V диаметром 10мм
и должна удовлетворять 3-й категории требований по трещиностойкости, то есть
допускается непродолжительное раскрытие трещин шириной аcrc1=0,4мм, и
продолжительное аcrc2=0,3мм.
Прогиб плиты от действия постоянных и длительно действующих нагрузок не должен
превышать fn=30,7мм (по таблице 19 (8)).
.3.1
Определение геометрических характеристик сечения
Вычисляем
геометрические характеристики сечения плиты:
Площадь
приведенного сечения:
Ared=bf¢hf¢+bhp+ bf hf+
Asp=
=1460×38,9+458×143,1+1490×38+7,04×402=1817,84×102мм2
Sred=
bf¢hf¢(h-0.5 hf¢)+bhp(hf+0.5hp)+0.5 bf hf2+
Aspa=1460×38,9(220-0,5×38,9)+458×143,1(38+0,5×143,1)+0,5×1490×382+7,04×24=1971,36×104мм3
y0= Sred/ Ared=1971,36×104мм3/1817,84×102мм2=108.5мм0¢=h- y0=220-108.5=111.5мм
Момент
инерции:
Ired=
bf¢hf¢3/12+ bf¢hf¢( y0¢-0.5 hf¢)2+bhp3/12+bhp(y0- hf -0.5hp)2+ bf hf3/12+ bf hf×( y0-0.5 hf)2+
Asp(y0-a)2
Ired=1460×38,93/12+1460×38,9(111,5-0,5×38,9)2+458×143,13/12+458× ×143,1×(108,5-38-0,5×143,1)2+1490×383/12+1490×38(108,5-0,5×38)2+7,04× ×402×(108,5-24)2=1080,86×106мм4
Момент
сопротивления:
W
= Ired/ y0=1080,86×106/108.5=996.18×104мм3
W
= Ired/ y0¢=1080,86×106/111.5=969.38×104мм3
По
таблице 38 (5) находим коэффициент
=1,5
W
=
W
=1,5×996.18×104=1494,27×104мм3
W
=
W
=1,5×969.38×104=969,38×104мм3
2.3.2
Определение потерь
Первые
потери определяем по таблице 5 (2) поз.1-6.
Коэффициент
точности натяжения арматуры p=1. Потери от релаксации
напряжений в арматуре при электротермическом способе натяжения:
.03×745=22,35 МПа
Потери
от температурного перепада между натянутой арматурой и упорами: 1,25×65=81,25МПа
Таким
образом усилие обжатия P1 с учетом потерь по поз. 1-5 таблицы 5 (2)
равно: P1= 471×(745-22,35-81,25)=257,84кH
Точка
приложения усилия P1 совпадает с центром тяжести сечения напрягаемой
арматуры, по этому: eop=y0-а=108,5-30
= 78,5мм
Определяем
потери от быстро натекающей ползучести бетона, для чего вычисляем напряжение в
бетоне в середине пролета от действия силы P1 и изгибающего момента
Мw от собственной массы плиты.
Нагрузка
от собственной массы плиты равна qw=3,0×1,5=4,5кН/м, тогда
Мw=
qwl0/8=4,5×5,572/8=17,45кНм
Напряжение
на уровне растянутой арматуры (т.е. при y= eop=78.5) будет равно:
(257,84×103)/(1817,84×102)+(257,84×103×78,5-17,45×106)×78,5/(1080,86×106)=1,76МПа
Напряжение
на уровне крайнего сжатого волокна (т.е. при у=h-у0=220-
108,5=111,5мм)
bp¢=(257,84×103)/(1817,84×102)-(257,84×103×78,5-17,45×106)×111,5/(1080,86×106)=0,97МПа
Назначаем
придаточную прочность бетона Rbp=20МПа (R
=15МПа, R
=1,4МПа) удовлетворяющую требованиям п.2.6(2).
Потери
от быстро натекающей ползучести бетона будут равны:
на
уровне растянутой арматуры
=0,25+0,025
Rbp=0,25+0,025×20=0,75≤0,8
Поскольку
∆bp/Rbp=1,76/20=0,088£
=0,75, то
∆6=40×0,85(∆bp/ Rbp)=40×0,85×(1,76/20)=2,99МПа (коэффициент 0,85 - учитывает тепловую обработку при
твердении бетона)
на
уровне крайнего сжатого волокна 6¢=40×0,85(0,97/20)=1,65МПа
Первые
потери составят:
∆loc1=∆1+∆2+∆6=22.35+81.25+2.99+106.6МПа
Тогда
усилие обжатия с учетом первых потерь
1= Аsp×(∆sp-∆los1)=471(745-106.6)=256.64кН
Определяем
максимальное сжимающее усилие в бетоне от действия силы P1, без
учета собственной массы, принимаем у=у0=108,5мм,
Поскольку
∆bp/Rbp=3,59/20=0,18≤0,95, требования п.1.29(2)
удовлетворяются.
Определяем
вторые потери предварительного напряжения по позиции 8 и 9 таблицы 5 (2).
Потери
от усадки тяжелого бетона: ∆8-∆8¢=35МПа
Напряжения
от действия силы P1 и изгибающего момента Мw будут равны:
∆bp=
∆bp¢=
Так
как ∆bp/Rbp£0,75 и ∆bp¢/Rbp£0,75, то ∆9=150
(∆bp/Rbp)=150×0,85(1,74/20)=11,09МПа
∆9¢=150×0,85(0,97/20)=6,18МПа
Тогда
вторые потери будут равны:
∆loc2=∆8+∆9=35+11.09=46.09МПа
Суммарные
потери будут составлять:
∆loc=∆loc1+∆loc2=106,6+46,09=152,7МПа³100 МПа, по этому, согласно п. 1.25 (2) потери не
увеличиваем.
Усилие
обжатия с учетом суммарных потерь будет равно:2= Аsp×(∆sp-∆los)=471(745-152,7)=238,1кН
Проверку
образования трещин в плите выполняем по формулам п. 4.5 (2) для выяснения
необходимости расчета по ширине раскрытия трещин и выявления случая расчета по
деформациям.
При
действии внешних нагрузок в стадии эксплуатации максимальное напряжение в
сжатом бетоне равно:
Тогда
=1,6-∆b/ R
=1,6-3,47/15=1,37³1, принимаем
=1, а rsup=
×(W
/ Аred)=1(996.18×104/1817.84×102)=54.8мм
Так
как при действии усилия обжатия P1 в стадии изготовления минимальное
напряжение в бетоне (в верхней зоне) равно:
то
есть будет сжимающим, следовательно верхние начальные трещины не образуются.
Согласно
п. 4.5(2) принимаем:
Mr=Mtot=41.07кНм
Mrp=P2(eop+rsup)=238.1×103(84.5+54.8)=33.17кНмcrc= R
W
+ Mr=1,4×1494,27×104+33,17×106=54,1кНм
Так
как Mcrc=54,1кНм³ Mr=41,07кНм, то трещины в нижней зоне не образуются, то есть не требуется
расчет ширины раскрытия трещин.
Расчет
прогиба плиты выполняем согласно пп. 4.24, 4.25(2) при условии отсутствия
трещин в растянутой зоне бетона.
Находим
кривизну от действия постоянной и длительной нагрузок (М=Мl=37,32кНм,
b1=0.85,
b2=2)
Прогиб
плиты без учета выгиба от усадки бетона при предварительном обжатии будет
равен:
Это
значит, что прогиб допустимый.
3.
Технология и организация строительства
.1
Технологическая карта на устройство 2-х слойной наплавляемой кровли
.1.1
Область применения технологической карты
Данная
технологическая карта разработана на устройство двухслойной рулонной
наплавляемой кровли 18-квартирного жилого дома точечной застройки, размерами в
осях 10,8×18,0 м, высотой 30,1 м. Работы выполняются бригадой из
8 человек в течение 5 дней в 1смену в летний период. Подача материалов
производится крышевым краном Т-108.
В
состав работ предусмотренных картой, входят:
· очистка основания от пыли и мусора;
· осушка основания;
· огрунтовка основания битумным праймером Технониколь №1;
· устройство пароизоляции из 1 слоя Бикроэласта ТПП;
· укладка плитного утеплителя из минеральной ваты Техноруф;
· устройство цементно-песчаной стяжки δ=20мм;
· огрунтовка цементно-песчаной стяжки праймером Технониколь №1;
· устройство бортиков из цементно-песчаного раствора М150;
· устройство 2х слойного водоизоляционного ковра из верхнего
слоя- Техноэласта ЭКП и нижнего слоя Унифлекса ЭПВ Вент;
· оклейка мест примыкания кровли к парапету;
· подача рулонных материалов;
· подача утеплителя;
· подача на покрытие цементно-песчанного раствора.
3.1.2 Определение номенклатуры и подсчет объемов работ
Таблица 9 - Определение номенклатуры и подсчет объемов работ
|
№ п/п
|
Наименование работ
|
Объем
|
Эскиз и формула подсчета
|
|
|
ед. изм.
|
кол.
|
|
|
1
|
Очистка
основания от пыли и мусора
|
м²
|
197,12
|
Fоч=
a* b*Kукл=10,8*18,0*1,014
=197,12
|
|
2
|
Осушка основания
|
м²
|
197,12
|
Fос=
a* b*Kукл=10,8*18,0*1,014
=197,12
|
|
3
|
Огрунтовка основания
битумным праймером
|
м²
|
197,12
|
Fогр=
a* b*Kукл=10,8*18,0*1,014=197,12
|
|
4
|
Устройство пароизоляции из
Бикроэласта в 1 слой
|
м²
|
197,12
|
Fпар=
a* b*Kукл=10,8*18,0*1,014=197,12
|
|
5
|
Укладка плитного утеплителя
|
м²
|
197,12
|
Fут=
a* b*Kукл=10,8*18,0*1,014=197,12
|
|
6
|
Устройство армированной
цементно-песчаной стяжки δ=20мм
|
м²
|
197,12
|
Fц,п=
a* b*Kукл=10,8*18,0*1,014=197,12
|
|
7
|
Огрунтовка
цементно-песчаной стяжки
|
м²
|
197,12
|
Fогр.ц.п=
a* b*Kукл=10,8*18,0*1,014=197,12
|
|
8
|
Устройство цементных
бортиков
|
м
|
57,6
|
B=Bзд*2=28,8*2=57,6
|
|
Устройство 2-х слойного
рулонного ковра
|
м²
|
197,12
|
Fгид=
a* b*Kукл=10,8*18,0*1,014=197,12
|
|
10
|
Оклейка мест примыкания
кровли к парапету
|
м²
|
8.64
|
Fокл=Bзд*2*0,15=28,8*2*0,15=8,64
|
|
11
|
Подача рулонных материалов
|
т
|
2,098
|
Q=(599,64*3,5)/1000=2,09
|
|
12
|
Подача утеплителя
|
т
|
28,61
|
Q=(202,91*141)/1000=28,61
|
|
13
|
Подача на покрытие
цементно-песчаного раствора
|
т
|
9,460
|
Q=2200*4,3=9,460
|
.1.3 Калькуляция трудовых затрат и машинного времени
Таблица 10 - Калькуляция трудовых затрат и машинного времени
|
№
|
Обоснование по ЕНиР
|
Наименование работ
|
Объем
|
Затраты труда, чел.-час
|
Затраты машинного времени,
маш-.час.
|
Расценка, руб.
|
Зарплата, руб.
|
Состав звена
|
|
1
|
Е7-4 №1
|
Очистка
основания от пыли и мусора
|
100 м²
|
1,97
|
0,41
|
0,8
|
-
|
-
|
0-275
|
0-54
|
кров-к 2р-1 3р-1
|
|
2
|
Е7-4 №1
|
Просушка влажных мест
основания
|
100 м²
|
1,97
|
8,6
|
16,94
|
-
|
-
|
6-79
|
13-37
|
кров-к 4р-1
|
|
3
|
Е7-4 №5
|
Огрунтовка поверхности
основания
|
100 м²
|
1,97
|
0,65
|
1,28
|
-
|
-
|
0-514
|
1-01
|
кров-к 4р-1
|
|
4
|
Е7-13 №1
|
Наклейка пароизоляции
|
100 м²
|
1,97
|
6,7
|
13,2
|
-
|
-
|
4-49
|
8-84
|
изолир-к 3р-1 2р-1
|
|
5
|
Е7-14 №12
|
Устройство утеплителя
|
100 м²
|
1,97
|
5
|
9,85
|
-
|
-
|
3-35
|
6-6
|
изолир-к 3р-1 2р-1
|
|
6
|
Е7-15 №1
|
Устройство стяжки
|
100 м²
|
1,97
|
13,5
|
26,6
|
-
|
10-06
|
19-81
|
кров-к 3р-1 2р-1
|
|
7
|
Е7-4 №5
|
Огрунтовка стяжки
|
100 м²
|
1,97
|
0,65
|
1,28
|
-
|
-
|
0-514
|
1-01
|
кров-к 4р-1
|
|
8
|
Е7-15 №3
|
Устройство цементных
бортиков
|
100 м
|
0,57
|
10,4
|
5,92
|
-
|
-
|
7-28
|
4-15
|
кров-к 3р-1
|
|
9
|
Е7-2 №5
|
Устройство кровли 2соев
техноэласта
|
100 м²
|
1,97
|
9,6
|
18,91
|
-
|
-
|
7-16
|
14-10
|
кров-к 4р-1 3р-1
|
|
10
|
Е7-4 №9
|
Оклейка мест примыкания
кровли к парапету
|
100м
|
8,6
|
4,6
|
39,56
|
-
|
-
|
3-43
|
29-5
|
кров-к 4р-1 3р-1
|
|
11
|
Е1-6 №9
|
Подача ц/п р-ра в ящиках
0,25 м3
|
м3
|
4,3
|
1,57
|
6,75
|
0,78
|
3,35
|
1-00,6
|
4-32
|
Такил.2р-2 Машин.6р-1
|
|
12
|
Е1-6 №17
|
Подача рулонных материалов
|
100 м²
|
0,599
|
44,6
|
26,71
|
22,3
|
13,36
|
28-58
|
17-11
|
Такил. 2р-2 Машин. 6р-1
|
|
Итого
|
|
|
|
106,3
|
167,8
|
23,08
|
16,71
|
63-359
|
120-46*
50=6023
|
|
.1.4 График производства работ
Таблица 11 - График производства работ
|
Продолжит раб в час
|
5
|
4
|
5
|
8
|
11
|
5
|
|
|
Состав звена
|
3
|
3
|
2
|
4
|
4
|
6
|
|
|
Затраты труда маш. час.
|
Приня-тая
|
|
|
|
|
|
30
|
30
|
|
Нор мативная
|
|
|
|
|
|
16,71
|
16,71
|
|
Зтраты труда чел. час
|
принятая
|
15
|
12
|
10
|
32
|
52
|
30
|
151
|
|
нормативная
|
17,74
|
14,47
|
9,85
|
33,8
|
58,47
|
33,46
|
167,8
|
|
объем
|
количество
|
1,91
|
1,91
|
1,91
|
1,91
|
1,91
|
41,98
|
|
|
Ед. изм
|
100м2
|
100м2
|
100м2
|
100м2
|
100м2
|
т
|
|
3.1.5 Определение потребности материально-технических ресурсов
Таблица 12. Ведомость потребности материалов деталей и полуфабрикатов
(М-29)
|
№ п/п
|
Наименование работ
|
Объем работ
|
Обоснование по ГЭСН
|
Битум
|
керосин
|
мастика
|
техноэласт
|
унифлекс
|
бикроэласт
|
Плиты теплоиз.
|
раствор
|
|
|
Ед. изм
|
Кол.
|
|
|
|
|
|
|
|
|
|
|
|
|
|
|
Всего
|
Норма
|
Всего
|
Норма
|
Всего
|
Норма
|
Всего
|
Норма
|
Всего
|
Норма
|
Всего
|
Норма
|
Всего
|
Норма
|
Всего
|
Норма
|
|
1
|
Устр-во пароизоляции 1слой
Бикроэласта
|
100м2
|
1,97
|
12-01-015-01
|
0,045
|
0,06
|
0,11
|
0,196
|
0,38
|
|
|
|
|
110
|
216,7
|
|
|
|
|
|
|
2
|
Укладка утеплителя из
мин.ватных плит ТехноРуф
|
100м2
|
1,97
|
12-01-013-03
|
0,049
|
0,058
|
0,114
|
0,402
|
0,79
|
|
|
|
|
|
|
103
|
202,91
|
|
|
|
|
3
|
Устройство
цементно-песчанной стяжки
|
100м2
|
1,97
|
12-01-017-01+02
|
|
|
|
|
|
4,4
|
8,66
|
|
|
|
|
|
|
2,04
|
2,04
|
4,01
|
|
4
|
Устройство двухслойного
рулонного ковра из техноэласта и унифлекса
|
100м2
|
1,97
|
12-01-002-09
|
|
|
|
|
|
114
|
224,58
|
116
|
228,52
|
|
|
|
|
|
|
|
|
5
|
Устройство примыкания
кровли к парапету
|
100м
|
0,57
|
12-01-004-05
|
|
|
|
6,7
|
3,819
|
189
|
107,73
|
|
|
|
|
|
|
0,51
|
0,51
|
0,29
|
|
|
|
|
|
0,094
|
|
0,224
|
|
4,98
|
|
340,97
|
|
228,52
|
|
216,7
|
|
202,91
|
|
|
4,3
|
|
Итого
|
45,53т
|
3.1.6 Технология и организация процесса
Подготовка основания под укладку пароизоляции
До начала выполнения работ по устройству кровли должны быть выполнены
следующие работы:
· срезаны монтажные петли плит покрытия;
· заделаны швы между плитами покрытия цементным раствором ,
поверхность неровных плит и монолитного основания затирается цементно-песчаным
раствором марки не ниже М150;
· закончены все виды строительных работ на покрытии;
· основания должно быть очищено от мусора;
· произведена сушка увлажненных мест не менее 4 % по массе;
· выполнены цементные бортики в местах примыкания к
вертикальным поверхностям.
Устройство пароизоляции
Пароизоляцию рекомендуется укладывать непосредственно перед устройством
теплоизоляционного слоя.
наклейка слоев Бикроэласта производится с нахлестом полотнищ по ширине (в
боковых швах)80-100мм и по длине (в торцевых швах) 150мм.
на все вертикальные поверхности пароизоляционный материал необходимо
наклеивать заводя его выше теплоизоляционного слоя на 30-50 мм
Укладка теплоизоляции
Теплоизоляция устраивается из 2х слоев плитного утеплителя Техноруф
размерами плит 600* 1200мм. Швы между плитами следует располагать «в разбежку»
обеспечивая, плотное прилегание плит друг к другу производить согласно схеме
указанной на листе 5 графической части.
Швы между плитами утеплителя более 5 мм должны заполняться
теплоизоляционным материалом. Укладка теплоизоляционных плит и устройство
стяжки рекомендуется производить в одну и ту же смену. Плиты следует укладывать
в направлении «на себя». Это уменьшит повреждения плит в процессе их укладки.
Укладку утеплителя проще всего начинать с угла кровли. При укладке
теплоизоляционные плиты дополнительно режут так, чтобы стыки плит 1-го и 2-го
слоев не совпали, что соответствует размерам плит 600х1200 мм.
Устройство основания под водоизоляционный ковер
В качестве основания под водоизоляционный ковер устраивается
выравнивающая стяжка из цементно-песчаного раствора М150, состава 1: 3,
армированной металлической сеткой 100*100мм.
Стяжка устраивается шириной 2м, бетонируемыми через одну.
Во вновь устраиваемых цементно-песчаных стяжках выполняют
температурно-усадочные швы шириной около 5мм, разделяющие стяжку на участки не
более чем 6х6 м.
Ровность стяжки проверяется двухметровой контрольной рейкой. Допускается
наличие на основании под укладку кровельного ковра плавно нарастающих
неровностей не более 10мм поперек уклона и не более 5мм вдоль уклона.
Количество неровностей должно быть не более двух на 4м2 площади
основания.
Воронки внутренних водостоков должны быть установлены согласно проекту в
пониженных местах кровли с механическим креплением их к конструкциям здания.
В местах примыкания к стенам, парапетам, вентиляционным шахтам и другим
кровельным конструкциям выполнить наклонные бортики под углом 45° и высотой
100мм из цементно-песчаного раствора.
Вертикальные поверхности конструкций, выступающих над кровлей,
выполненные из кирпича, необходимо оштукатурить цементно-песчаным раствором М
150 на высоту подъема дополнительного водоизоляционного ковра, не менее чем на
350мм.
Подготовительные работы перед укладкой кровельного ковра
Перед устройством водоизоляционного ковра произвести подготовительные
работы:
· основание очистить от пыли, мусора, посторонних предметов (в зимнее время
- от наледи и снега);
· заделать ЦП раствором М150 раковины, трещины, неровности на
поверхности стяжки;
· после получения кровельных материалов необходимо провести
проверку качества применяемых материалов на соответствие ТУ;
· проверить влажность основания. Влажность цементно-песчаных стяжек не
должна превышать 4% по массе;
Температурно-усадочные швы в стяжках необходимо перекрывать полосами
рулонного материала шириной 100-150 мм;
· к устройству верхнего слоя водоизоляционного ковра приступают после
составления и подписания акта освидетельствования скрытых работ на все
нижележащие слои.
Для обеспечения необходимого сцепления наплавляемых рулонных материалов с
основанием кровли все поверхности основания из цементно-песчаного раствора и
бетона должны быть огрунтованы грунтовочными холодными составами (праймерами).
В качестве грунтовки, наносимой на сухие поверхности, рекомендуется применять
праймер битумный ТЕХНОНИКОЛЬ №01 ТУ 5775-011-17925162-2003, производимый
Компанией ТехноНИКОЛЬ. Грунтовку наносят с помощью кистей, щеток или валиков.
Не допускается выполнение работ по нанесению грунтовочного состава
одновременно с работами по наплавлению кровельного ковра.
До начала укладки кровельного ковра основной плоскости кровли в зоне
водоприёмных воронок наклеивается слой усиления из материала размером не менее
700х700 мм без защитной посыпки. Слои основного кровельного ковра и слой
усиления должны заходить на водоприемную чашу, прижимной фланец которой
притягивают к чаше воронки гайками, а чашу воронки крепят к плитам покрытия хомутами.
Кровельные материалы наплавляются только после полного высыхания
огрунтованной поверхности (на приложенном к высохшей грунтовке тампоне не
должно оставаться следов битума).
Укладка наплавляемого рулонного кровельного материала
Наклейка нижних и верхних слоев водоизоляционного ковра осуществляется
при уклоне до 15% скате параллельно скату кровли от пониженных мест к
повышенным .
Перекрестная наклейка полотнищ рулонов не допускается.
Укладку рулонного материала начинают с нижележащих участков.
В процессе производства кровельных работ должен быть обеспечен нахлест
смежных полотнищ 100 мм (боковой нахлест). Торцевой нахлест рулонов должен
составлять 150 мм . Расстояние между крепежными элементами определяется
ветровой нагрузкой, действующей на кровельный ковер, но не может быть более
500мм.
Расстояние между боковыми стыками кровельных полотнищ в смежных слоях
должно быть не менее 300 мм. Торцевые нахлесты соседних полотнищ кровельного
материала должны быть смещены относительно друг друга на 500 мм.
Технологические приемы наклейки наплавляемого рулонного материала
выполняют в следующей последовательности:
· на подготовленное основание раскатывают рулон, примеряют по отношению к
соседним, обеспечивая необходимый нахлест полотнищ.
· полотнища Унифлекс ЭПВ Вент обратно скатывают к середине с
обоих сторон.
· материал приклеивают, разогревая нижнюю сторону и прикатывая
катком. Рулон постепенно раскатывают, материал приклеивают но прикатывая
катком. Особенно тщательно прикатывают места нахлестов.
· аналогично наклеивают вторую половину рулона.
При наплавлении кровельного материала кровельщик раскатывает рулон «на
себя».
Рулон необходимо раскатывать на разогретый нижний слой материала. Нагрев
производят плавными движениями горелки так, чтобы обеспечивался равномерный
нагрев материала и поверхности основания. Хорошей практикой является движение
горелки буквой «Г» с дополнительным нагревом той области материала, которая
идет внахлест.
Деформация рисунка с тыльной стороны полотнищ свидетельствует о
правильном разогреве битумно-полимерного вяжущего с нижней стороны рулонного
материала.
Для качественного наплавления материала на основание или на ранее
уложенный слой необходимо добиваться небольшого валика битумно-полимерного
вяжущего в месте соприкосновения материала с поверхностью
Признаком хорошего, правильного прогрева материала является вытекание
битумно-полимерного вяжущего из-под боковой кромки материала до 15мм. Валик
битумно-полимерной смеси, вытекший из бокового нахлеста, шириной более 5мм,
рекомендуется сверху присыпать посыпкой. Этот валик также является гарантией
герметичности нахлеста. Наклеиваемые полотнища не должны иметь складок, морщин,
волнистости. Для качественной приклейки материала по всей поверхности и
недопущения вышеуказанных дефектов полотнища прикатывают мягкими щетками и
валиками, движения которых должны быть от оси рулона по диагонали к его краям.
Особенно тщательно приглаживают кромки материала
Одновременно с укладкой первого слоя основного кровельного ковра
оклеивают первым слоем выступающие кровельные конструкции и парапетные стены.
Такая укладка препятствует попаданию воды под кровельный ковер в местах
примыканий.
Устройство примыканий кровельного ковра к вертикальным поверхностям.
Основной кровельный ковер в местах примыкания к вертикальным поверхностям
должен заводиться на вертикальную часть выше переходного бортика. В местах
примыкания к вертикальным поверхностям наклеиваются два дополнительных слоя
кровельного ковра с основой из стеклоткани или полиэстера, с заведением до
проектной отметки на вертикальную поверхность.
Первый слой усиления кровельного ковра должен заходить на вертикальную
поверхность не менее чем на 250 мм. Второй слой, из материала с посыпкой,
должен перекрывать на вертикальной поверхности первый минимум на 50 мм.
Примыкания к вертикальным поверхностям при работе с использованием
газовых или соляровых горелок, выполняют в следующей последовательности:
· после укладки 1-го слоя основного кровельного ковра от рулона отрезают
кусок материала длиной, равной проектной высоте заводки на вертикальную
поверхность, плюс 150 мм для заводки на горизонтальную поверхность;
· складывают материал поперек полотна на расстоянии 150 мм от
края и прикладывают к примыканию;
· придерживая нижний конец полотна, начинают подплавление
покровного слоя и приклеивание к вертикальной поверхности;
· затем нижний конец приклеивается к горизонтальной
поверхности;
· после укладки верхнего слоя основного кровельного ковра,
аналогично выполняется наклейка верхнего слоя с напуском на горизонтальную
поверхность 250 мм (на 100 мм перекрывая первый слой усиления кровельного ковра
на примыкании).
Особенности выполнения строительного процесса в зимнее время
Устройство рулонных кровель из Техноэласта допускается при температуре
наружного воздуха не ниже -25°С . Поверхность основания перед наклейкой
рулонного ковра должна быть сухой и отогретой до положительной температуры.
Запрещается наклейка рулонных материалов на поверхность основания, имеющую
отрицательную температуру и не очищенную от снега и льда.
.1.7 Контроль качества и приемка работ
Контроль качества используемых рулонных материалов возлагается на
строительную лабораторию производства работ - на мастера или бригадира.
В процессе производства работ устанавливается постоянный контроль за
соблюдением технологии выполнения отдельных этапов работ.
На объекте заводится «Журнал производства работ», в котором ежедневно
фиксируются:
· дата выполнения работы;
· условия производства работ на отдельных захватках;
· результаты систематического контроля качества работ.
Качество устройства отдельных слоёв покрытия устанавливается путём
осмотра их поверхности с составлением акта на скрытые работы после каждого
слоя. Прочность сцепления водоизоляционного ковра с основанием должна быть не
менее 1 кгс/см2.
Обнаруженные при осмотре слоёв дефекты или отклонения от проекта должны
быть исправлены до начала работ по укладке вышележащих слоев кровли приёмочной
комиссии.
Приёмка законченной кровли сопровождается тщательным осмотром её
поверхности, особенно у воронок, в лотках и местах примыканий к выступающим
конструкциям. В отдельных случаях готовую плоскую кровлю с внутренним
водостоком проверяют путём заливки её водой. Испытание можно производить при
температуре окружающего воздуха не менее +5 °С.
В ходе окончательной приемки кровли предъявляются следующие документы:
· паспорта на примененные материалы;
· данные о результатах лабораторных испытаний материалов;
· журналы производства работ по устройству кровли;
· исполнительные чертежи покрытия и кровли;
· акты промежуточной приёмки выполненных работ.
Таблица 13 СОКК
|
Кто конструирует
|
Мастер устройство
|
|
Операции подлежат контролю
|
|
|
основание
|
Пароизоляция
|
теплоизоляция
|
стяжка
|
Рулонная кровля
|
|
Состав контроля
|
Ровность уклона, заделка
примыканий к верхней поверхности
|
Наличие воздушных пазух,
качество наклейки
|
Объемно-весовой размер по
толщине тщательности укладки
|
Ровность уклона, заделка
примыканий к верху поверхности
|
Тщательность наклейки
перекрытия швов заделки примыканий
|
|
Способ контроля
|
3-х метровая рейка, 3-х
метровая рейка, визуально
|
Визуально Заливка водостока
|
Лаборатория измерения
Стальной метр, визуально
|
3х метровая рейка 3х
метровая рейка, визуально
|
Визуально
|
|
Время контроля
|
До устройства пароизоляции
|
В процессе устройства
пароизоляции
|
В процессе устройств стяжки
|
В процессе устройства
стяжки
|
В процессе устройства
рулонной кровли
|
.1.8 Охрана труда и техника безопасности
Производство работ по устройству кровельных проводиться в соответствии с
требованиями СП49.13330-2012 «Безопасность труда в строительстве». Общие
требования. Часть1.
К работам по устройству кровель допускаются мужчины не моложе 21 года,
прошедшие предварительный и периодический медицинские осмотры в соответствии с
требованиями Минздрава РФ; профессиональную подготовку; вводный инструктаж по
безопасности труда, пожарной и электробезопасности, имеющие наряд-допуск.
Работы по укладке всех слоёв покрытия должны производиться только при
использовании средств индивидуальной защиты (СИЗ).
Допуск рабочих к выполнению кровельных работ разрешается после осмотра
прорабом или мастером совместно с бригадиром основания, парапета и определения,
при необходимости, мест и способов надёжного закрепления страховочных
приспособлений кровельщиков.
Рабочие места должны быть свободными от посторонних предметов,
строительного мусора и лишних строительных материалов.
Зона возможного падения сверху материалов, инструментов и мусора со
здания, на котором производятся кровельные работы, должна быть ограждена. На
ограждении опасной зоны вывешивают предупредительные надписи.
При отсутствии этих ограждений работы следует выполнять с применением
предохранительного пояса, при этом места закрепления карабина
предохранительного пояса должны быть указаны в проекте производства работ.