Ремонт форсунки дизеля 10Д100
Содержание
Введение
.
Периодичность, сроки ремонта и контроля технического состояния локомотивов
.
Основные элементы узла, их назначение и работа
.
Условия работы узла на локомотиве, характерные повреждения и причины их
возникновения
.
Способ очистки, осмотра и контроля
.
Ведомость дефектации узла
.
Технология ремонта и повышение надежности
.
Предельно - допустимые размеры деталей в эксплуатации и различных видах ТО и
ТР, а также в сопряженных деталях
.
Оборудование, применяемое при ремонте узла
.
Испытание узла после ремонта
.
Организация рабочего места
.
Техника безопасности при ремонте узла
.
Графическая часть
Список
литературы
ремонт локомотив узел дефектация
Введение
Повышение эффективности работы железнодорожного
транспорта осуществляется на основе целенаправленной научно-технической
политики отрасли.
Одним из решающих направлений
научно-технического прогресса в отрасли является создание нового поколения
технических средств.
В рамках целевой программы учеными и
специалистами отрасли совместно с организациями транспортного машиностроения и
предприятиями оборонного комплекса ведутся работы по созданию подвижного
состава, отвечающего современному мировому уровню.
Одним из них является электровоз Aventra.
Платформа Aventra была задумана модульной, основанной на базовой конструкции и
неизменной независимо от конфигурации поезда. Используя ее, можно создать,
например, пригородный поезд, максимальная скорость которого не превышает 145
км/ч, или междугородный, рассчитанный на скорость 200 км/ч. при этом имеется
возможность выбора длины вагона, равной 20 или 23 м, и числа вагонов в поезде,
которое может варьироваться от трех до девяти.
Экономичность и ремонтопригодность.
Все тяговое оборудование, включая тяговые и
вспомогательные преобразователи. в каждом вагоне сосредоточено в одном блоке,
расположенном под полом, что позволяет уменьшить протяженность электропроводки
и упростить электрическую схему поезда.
Поезд оснащен системой диагностирования и
прогнозирования технического состояния с дистанционной передачей информации к
центральному компьютеру. Предполагается. что в перспективе заявки на
техническое обслуживание оборудования будут формироваться автоматически на
основе результатов диагностирования, что позволит облегчить контроль состояния
и поддержание исправности всего имеющегося парка.
Кузова вагонов поезда Aventra изготовлены из
алюминия. В то же время в конструкцию внесены несколько существенных изменений,
прежде всего касающихся кабины машиниста. В соответствии с требованиями TSI
усовершенствована конструкция лобовых конструктивных элементов. поглощающих
энергию соударения. Кроме того, увеличены размеры окон в салоне, что позволило
улучшить обзор для стоящих пассажиров, особенно отличающихся высоким ростом.
Для уменьшения потребления энергии поезд оснащен
интеллектуальной системой управления режимами работы оборудования при отстое и
системой автоматического регулирования работы устройств обогрева, вентиляции и
кондиционирования воздуха с учетом количества пассажиров и параметров
окружающей среды.
Значительное уменьшение массы достигнуто
благодаря использованию тележек Flexx Есо (рис. 3). Тележка создана в развитие
конструкции успешно эксплуатируемой тележки В5000. которая получила широкое
применение в Великобритании на дизель - поездах серий 220, 221.222 и 172. Масса
тележки Flexx Есо - 3850 кг, в то время как масса тележки серии 3. применяемой
на поезде Electrostar - 6150 кг. Неподрессоренная масса уменьшена с 3.6 до
2,7т. Примененные в конструкции тележки технические решения способствуют
уменьшению неблагоприятных воздействий на путь при движении поезда.
Поезд Aventra оснащен тяговыми двигателями новой
конструкции мощностью 225 кВт. В девятивагонном поезде Aventra. предназначенном
для линии Crossrail, обмоторены 55% осей, при этом при разгоне обеспечивается
ускорение 1 м/с2.
Во всех вариантах исполнения вагоны поезда
оснащены прислонно-сдвижными дверями шириной 1450 мм. Скорость открытия дверей
можно регулировать при помощи бортового компьютера.
Поезд соответствует требованиям TSI. в том числе
в части обеспечения условий для пассажиров с ограниченной мобильностью.не
планирует создавать дизельную версию поезда Aventra, однако рассматривалась
возможность его оснащения тяговыми аккумуляторными батареями для эксплуатации
на не электрифицированных участках, если на рынке возникнет спрос на такие
модификации.
Сборку первого полносоставного поезда
предполагается завершить на заводе Stadler в Буснанге (Швейцария) в январе 2017
г. Его динамические испытания планируется начать в марте 2017 г. В конце 2019
г. поезда ЕС250 должны поступить в эксплуатацию в сообщении Цюрих - Милан. Они
будут курсировать по линии, проходящей через самый протяженный в мире
Готардский базисный тоннель, строительство которого завершено в июне 2016 г.
Эти поезда заменят оборудованные устройствами наклона в кривых поезда серии
610, которые. в свою очередь, будут задействованы в международных маршрутах
через Симплонский тоннель. В дальнейшем поезда ЕС250 планируется использовать в
сообщении Франкфурт-на-Майне - Милан. Рассматриваются перспективы их
эксплуатации и на других международных маршрутах. Контракт предусматривает
опцию на поставку SBB еще 92 поездов. Намечено получить допуск к их
эксплуатации на сети железных дорог Австрии, Германии и Италии.
Швейцарский электропоезд EC250 Giruno - первый
низкопольный электропоезд, рассчитанный для движения со скоростью 250 км/ч.
Оборудование поезда.
При создании поезда Giruno специалисты Stadler
использовали опыт разработки подвижного состава предыдущих поколений, в
частности поездов междугородного сообщения семейства FLIRT. Однако до сих пор
компания не выпускала поезда, рассчитанные на скорость 250 км/ч.
Дизайн и конструкцию поезда в значительной
степени определило условие низкого уровня пола, что было необходимо для
выполнения требований швейцарского закона BehiG о недопустимости любых форм
дискриминации лиц с ограниченными возможностями. Особенно тщательно требовалось
проработать конструкцию салона вблизи входных дверей, которые расположены в
центральной части каждого вагона.
Обеспечить низкий уровень пола во всех
внутренних помещениях поезда оказалось крайне непросто, поэтому в разных местах
его высота над УГР неодинакова. У входной двери она составляет 880 мм. в
пассажирских салонах первого и второго класса - 1080 мм. в вагоне-ресторане-
1150мм. над тележками, расположенными под узлами сочленения. -1080 или 1150мм.
В двух вагонах в середине поезда выделены места
для пассажиров в инвалидных креслах. Высота пола над УГР у входных дверей этих
вагонов -682 мм. При помощи пандусов пассажиры в инвалидных креслах могут без
затруднений въезжать в вагон с платформ высотой 550 мм. используемых в
Швейцарии и Австрии, и высотой 760 мм в Германии и Италии. Выдвижная подножка
перекрывает промежуток между краем вагона и платформой. В центральной части
каждого из этих двух вагонов между двумя дверьми находится туалет для
пассажиров с ограниченной мобильностью. Высота пола над УГР в низкопольной
части салона - 940 мм.
Поезд рассчитан на работу от контактной сети
постоянного тока напряжением ЗкВ при следовании по территории Италии,
переменного тока напряжением 15 кВ. частотой 16.7 Гц на железных дорогах
Швейцарии и Германии, а также 25 кВ. 50 Гц на высокоскоростных линиях Италии.
Тормозные резисторы, блоки охлаждения
трансформаторов. компрессоры и модули кондиционеров установлены на крыше. Под
вагонами расположены изготовленные компанией АВВ преобразователи BORDLINE
СС1500 MS. предназначенные для питания тягового и вспомогательного
оборудования. Преобразователь достаточно компактный, его размеры -
5500x2144x400 мм. масса - 2000 кг.
Состоящий из 11 вагонов поезд снабжен 12
двухосными тележками. Обмоторены только четыре тележки (4. 5. 10 и 11-я от
головы поезда), каждая из них снабжена двумя тяговыми электродвигателями.
Максимальная суммарная мощность двигателей поезда - 6000 кВт. На вагонах
установлены четыре токоприемника, оснащенные полозами разной длины. При
следовании по железным дорогам Италии и Швейцарии используется полоз длиной
1450мм, в Германии и Австрии- 1950мм.
Кабина машиниста рассчитана на управление
поездом в одно лицо. Ее планировка и оснащение выполнены с учетом современных
требований эргономики.
1. Периодичность, сроки ремонта и контроля
технического состояния локомотивов
Настоящее Руководство по техническому
обслуживанию (ТО) и текущему ремонту (ТР, СР) тепловозов типа ТЭМ2 (далее
Руководство) устанавливает общие требования организации и планирования
технических обслуживания и ремонтов, объемы обязательных работ, способы
ремонта, браковочные признаки, допускаемые и предельные размеры, порядок
контроля и технического диагностирования состояния деталей, сборочных единиц и
испытания тепловоза в целом.
Выполнение требований и положений, изложенных в
настоящем Руководстве, обязательно для работников локомотивных депо, пунктов
технического обслуживания, дорожных ремонтных мастерских связанных с
техническим обслуживанием и ремонтом тепловозов типа ТЭМ2, а так же при
определении трудоемкости их ТО, ТР и реконструкции, проектировании ремонтных
баз.
Организация и планирование ремонта.
Планово-предупредительная система технического
обслуживания и текущего ремонта тепловозов устанавливается Указанием ОАО
"РЖД" и предусматривает.
техническое обслуживание ТО-1;
техническое обслуживание ТО-2;
техническое обслуживание ТО-3;
техническое обслуживание ТО-4;
техническое обслуживание ТО-5;
текущие ремонты ТР-1, ТР-2, ТР-3.
Технические обслуживания ТО-1, ТО-2
предназначены для предупреждения неисправностей тепловозов в эксплуатации,
поддержания их работоспособности и надлежащего санитарно-гигиенического
состояния, обеспечения пожарной безопасности и безаварийной работы.
Техническое обслуживание ТО-1 выполняется
локомотивными бригадами при приемке, в пути следования и сдаче тепловозов в
соответствии с перечнем работ, утвержденным начальником службы локомотивного
хозяйства железной дороги, согласно требованиям действующей Инструкции по
техническому обслуживанию электровозов и тепловозов в эксплуатации.
Техническое обслуживание ТО-2 выполняется
высококвалифицированными слесарями по ремонту подвижного состава совместно с
локомотивными бригадами в пунктах технического обслуживания локомотивов (ПТОЛ),
как правило, крытых и оснащенных необходимым оборудованием, приспособлениями и
инструментом согласно утвержденному регламенту и обеспеченных технологическим
запасом деталей, приборов и материалов.
Техническое обслуживание ТО-3 выполняется
комплексной бригадой слесарей по ремонту подвижного состава на
специализированном стойле цеха ремонта, оснащенного необходимым оборудованием,
приспособлениями и инструментом согласно утвержденному регламенту.
Техническое обслуживание ТО-4 предназначено для
обточки бандажей колесных пар без выкатки из-под тепловоза с целью поддержания
оптимальной величины проката и толщины гребней и должно, как правило,
совмещаться с производством текущего ремонта ТР.
Техническое обслуживание ТО-5 предназначено для
подготовки тепловоза в запас ОАО "РЖД" (с консервацией для
длительного хранения) и резерв управления железной дороги, подготовки к
эксплуатации после изъятия из запаса ОАО "РЖД" и резерва управления
железной дороги, или тепловозу прибывшему в недействующем состоянии после
постройки, ремонта или передислокации, подготовки к отправке на капитальный и
средний ремонт на другие дороги, а также для обследования теплотехнических
параметров дизеля и технического состояния узлов, агрегатов средствами контроля
и диагностики.
Текущие ремонты ТР-1, ТР-2, ТР-3 предназначены
для восстановления основных эксплуатационных характеристик и работоспособности
тепловоза, обеспечения безопасности движения поездов в межремонтные периоды путем
ревизии, ремонта или замены отдельных деталей, сборочных единиц, регулировки и
испытания.
Текущий ремонт ТР-1 выполняется в цехах текущего
ремонта комплексными и специализированными бригадами слесарей по ремонту
подвижного состава.
Продолжительность работы тепловозов между
техническими обслуживаниями ТО-2, текущими и средними ремонтами для каждого
депо устанавливается начальником дороги в зависимости от интенсивности загрузки
тепловозов на основе норм действующего Указания ОАО "РЖД" по системе
технического обслуживания и ремонта локомотивов.
Разрешается производить постановку тепловозов на
текущие и средние ремонты с отклонением от установленных норм пробега до 20%.
Планы текущих ремонтов ТР-1 для отделений дороги
по каждому локомотивному депо утверждаются начальником железной дороги.
Все виды текущих ремонтов производятся в
установленные планом-графиком сроки, утвержденным начальником службы
локомотивного хозяйства.
Начальником железной дороги устанавливается для
каждого локомотивного депо:
межремонтные периоды (пробеги), на основании
среднесетевых норм утвержденных ОАО "РЖД" без превышения их
предельных значений;
нормы деповского процента неисправных
тепловозов, на основании норм установленных Департаментом локомотивного
хозяйства ОАО "РЖД" дороге;
продолжительности технического обслуживания и
текущего ремонта тепловозов (в пределах нормативов установленных ОАО
"РЖД" дорогам) в зависимости от серии, технического состояния и
времени их эксплуатации от постройки и оснащенности ремонтных цехов.
Межремонтные периоды технического обслуживания и
текущего ремонта для новых тепловозов (на период гарантии) регламентируются
техническими условиями на их поставку, согласованными Департаментом
локомотивного хозяйства. Снятые с них для ремонта сборочные единицы должны, как
правило, устанавливаться на свои места.
В интервале ремонтного цикла после постройки
тепловоза до первого среднего ремонта СР постановка на текущие ремонты
планируется по максимально допустимым межремонтным периодам, а в интервале от
последнего среднего ремонта СР до капитального ремонта по минимально допустимым
межремонтным периодам.
Начальникам служб локомотивного хозяйства
разрешается увеличивать объемы обязательных работ, регламентированные настоящим
Руководством.
Ремонт колесных пар, роликовых букс,
ударно-тяговых устройств, автотормозов, скоростемера, АЛСН, радиостанций и другого
специального оборудования тепловозов, а также контроль качества воды для
охлаждения дизеля производится согласно действующим в ОАО "РЖД"
инструкциям.
Качество изготовляемых для текущего и среднего
ремонта деталей, точность взаимной пригонки при установке и сборке должны
соответствовать согласованным ОАО "РЖД" техническим условиям и нормам
чертежей на изготовление для сборки новых тепловозов с учетом последних
изменений, внесенных с целью улучшения конструкции тепловоза. Вновь
изготовленные детали маркируются согласно чертежам.
Материалы, полуфабрикаты и запасные части,
поступающие в депо для ремонта, должны соответствовать Государственным
стандартам и техническим условиям, иметь сертификат. Качество материалов,
применяемых при ремонте тепловоза, периодически (в установленный срок)
проверяется в дорожных или деповских лабораториях.
Измерительные приборы, инструменты и устройства,
используемые для проверки и испытания тепловоза, дизеля, сборочных единиц,
агрегатов, электрических машин, деталей и материалов, должны содержаться в
постоянной исправности и подвергаться проверкам в установленные сроки. Кроме
того, приборы и мерительные инструменты по перечню, установленному
Государственным комитетом Российской Федерации по стандартам и метрологии
перечню должны проходить обязательную государственную поверку.
В процессе ремонта мастера и бригадиры
соответствующих отделений, участков должны лично принимать от исполнителей
выполнение ответственных работ при ремонте и сборке узлов, агрегатов и машин,
участвовать в проверках и испытаниях.
Приемщики локомотивов депо обязаны обеспечить
контроль качества ремонта и сборки агрегатов и тепловоза в целом, а также
своевременную их приемку.
Ремонт сборочных единиц и агрегатов тепловозов
должен производиться в строгом соответствии с настоящим Руководством и
действующими технологическими инструкциями
Порядок и требования на испытания
отремонтированных сборочных единиц и агрегатов (объектов ремонта)
устанавливаются технологическими инструкциями, утвержденными Департаментом локомотивного
хозяйства ОАО "РЖД".
Если нормативы по ремонту отдельных деталей и
сборочных единиц не отражены в настоящем Руководстве, начальнику депо или его
заместителю совместно с приемщиком локомотивов предоставляется право под их
личную ответственность самостоятельно решать эти вопросы, исходя при этом из
технической целесообразности и безусловного обеспечения безопасности движения
поездов и маневровой работы.
На тепловозы, назначенные в ремонт в другие
депо, составляются предварительные описи их технического состояния с записью в
них перечня дополнительного объема ремонтных работ. Описи высылаются в пункты
ремонта не позднее, чем за 15 дней до постановки тепловозов в ремонт. В
предварительной описи должны быть указаны номера и наработка по пробегу дизеля,
электродвигателей (остова, якоря) от постройки и ранее выполненных ремонтов,
градации коренных и шатунных подшипников, а также толщина бандажей колесных
пар.
Вместе с тепловозом направляются в пункты
ремонта заполненные технический паспорт тепловоза, формуляры (паспорта)
основных агрегатов и карты измерений.
Запрещается отправлять в ремонт тепловоз при
отсутствии технических паспортов, незаполненных паспортов или несоответствующих
действительным номерам.
Тепловоз должен быть снабжен исправным
инструментом, противопожарным и средствами, инвентарем для возможности
следования в пункт ремонта и обратно в депо приписки в действующем состоянии.
Подмена сборочных единил, агрегатов,
электрических машин и другого оборудования тепловоза, отправляемого на ремонт в
другое депо, запрещается. Инструмент и вспомогательный инвентарь (посуда,
сигнальные и противопожарные средства), принадлежащие данному тепловозу,
пополняются и ремонтируются в депо приписки тепловоза.
Каждый тепловоз должен иметь технический
паспорт, состоящий из общей части и вкладышей на основные сборочные единицы н
агрегаты и карты измерений основных деталей. В технический паспорт тепловоза
при текущем и среднем ремонтах записывается смена основных сборочных единиц и
агрегатов, объемы основных ремонтных работ и выполнение модернизации. В
технические паспорта электрических машин также заносятся сведения о выполнении
работ, связанных с их разборкой, заменой сборочных единиц и модернизацией.
Измерения деталей ответственных сборочных единиц
тепловоза с занесением результатов в карту измерений производится при текущем и
среднем ремонтах специалистом депо (техником по замерам), сдавшим установленным
порядком экзамен на право производства измерений.
Ответственность за качество работ,
обеспечивающих работоспособность тепловоза в межремонтный период после
технического обслуживания, текущего и среднего ремонта возлагается на ремонтный
персонал приемщиков и руководителей депо.
В порядке осуществления контроля за выполнением
объемов установленных работ ремонтными бригадами при техническом обслуживании,
текущем и среднем ремонтов и в целях принятия мер по устранению недостатков в
организации и технологии ремонта начальники депо и их заместители обязаны
периодически (по утвержденному графику) лично производить осмотр (приемку)
тепловозов при выпуске их из технического обслуживания и ремонта.
Каждый случай отказа в эксплуатации тепловоза
(дизеля, вспомогательного оборудования, электрических машин и др.) должен
расследоваться в соответствии с действующей Инструкцией о порядке расследования
порч, неисправностей, непланового ремонта, повреждений и отказов локомотивов и
мотор-вагонного подвижного состава.
Все ремонтные работы должны производиться в
строгом соответствии с Правилами техники безопасности, производственной
санитарии и пожарной безопасности
. Основные элементы узла, их назначение и работа
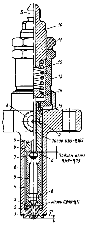
Форсунка 10Д100 (Рис. 1) служит для подачи
топлива в цилиндры дизеля под большим давлением (210-280Ат), в определенные
моменты и в туманно-образном состоянии. На дизеле 10Д100 их 20 штук (по два на
цилиндр).
Она состоит из корпуса 6, имеющего фланцы с
отверстиями для крепления к адаптеру, а также имеет штуцер для подвода топлива
от ТНВД. В корпус форсунки вворачивается стакан 13, внутри которого находится
регулировочная пружина 12. Одним концом она упирается в тарелку 14, а вторым в
регулировочную пробку 10. Пробка вворачивается в стакан и закрепляется
контргайкой 11. В пробке имеется отверстие для просочившегося топлива и на неё
наворачивается трубка низкого давления. В корпусе находится щелевой фильтр 8,
на котором 24 проточки (12 снизу и 12 сверху). Внутри щелевого фильтра
установлен толкатель 9. Ниже в корпусе установлен корпус распылителя 4 с тремя
лысками и тремя отверстиями. Внутри корпуса распылителя находится игла 5. Корпус
и игла не взаимозаменяемы. Через 3 отверстия топливо поступает под иглу и
поднимает ее. Игла упирается в ограничитель иглы подъема 7, а сверху на него
упирается толкатель. В внизу в корпус через медную отожженную прокладку
установлен сопловой наконечник 3. Он имеет 3 отверстия, расположенные под
углом, диаметром 0,56мм. Топливо от ТНВД подается в форсунку, проходит через
щелевой фильтр, между лысками корпуса распылителя и корпусом форсунки, проходит
через три отверстия в корпусе распылителя под иглу и поднимает ее, преодолевая
усилие пружины, и далее через три отверстия в сопловом наконечнике поступает в
камеру сгорания
. Условия работы узла на локомотиве, характерные
повреждения и причины их возникновения
В процессе эксплуатации форсунка подвергается
различным воздействиям, главными из них являются температурные и высокое
давление. Во время сжатия топлива на форсунку действует давление, а при
сгорании и высокие температуры.
Основные неисправности, причины их возникновения
и способы предупреждения
Внешними признаками отсутствия резкой отсечки
являются бесшумный и нечёткий впрыск топлива форсункой (при нормальной затяжке
пружины на давление открытия иглы форсунки, равное 275 кг/см2) и отсутствие
снижения давления на 40-60 кг/см2 после впрыска.
Причинами, обусловливающими недостаточно резкую
отсечку, могут быть:
загрязнённость колодца в корпусе распылителя;
отсутствие герметичности или увеличение ширины
притирочного пояска иглы более 0,5 мм;
зависание иглы или не плотность сопрягаемых
поверхностей иглы и отверстия в корпусе распылителя.
Загрязнённость колодца распылителя может быть
вызвана попаданием в распылитель газов или вследствие расщепления углеводородов
топлива.
Увеличение ширины притирочного пояска иглы и
распылителя чаще всего вызывается частой или неправильной притиркой иглы. Игла,
как известно, имеет большую твёрдость, а поэтому при притирках быстро
изнашивает цементированный слой в распылителе.
Зависание иглы или перекос деталей форсунки
обычно ведёт к так называемым затяжным впрыскам. Внешним признаком затяжного
впрыска является чрезмерное падение (занижение) давления, получающееся после
впрыска в системе стенда. Как уже указывалось, нормальное падение давления
после впрыска должно составлять 40-60 кг/см2. При затяжных впрысках падение
давления обычно достигает 85 кг/см2 и более.
Внешним признаком подтекания распылителя служит
появление спадающих или ниспадающих капель топлива до или после впрыска.
Причинами подтекания могут быть:
неудовлетворительная притирка иглы к седлу
распылителя;
увеличение притирочного пояска иглы по ширине
более 0,5 мм;
образование второго пояска на рабочем конусе
иглы, расположенного на 1-1,5 мм ниже притирочного пояска;
односторонняя притирка пояска;
волнообразность и риски на уплотнительном конусе
седла распылителя.
Все эти недостатки форсунки отрицательно влияют
не только на резкое снижение экономичности двигателя, но и приводят к быстрому
изнашиванию его частей, в особенности шатунно-поршневой группы, поршневых
колец, шеек коленчатого вала и т. д.
Следовательно, такие форсунки должны быть
подвергнуты соответствующему ремонту.
. Способ очистки, осмотра и контроля
До разборки сопло форсунки вываривают и очищают
от нагара. Для этого форсунку устанавливают в ванну так, чтобы вся часть
форсунки, покрытая нагаром, была погружена в раствор. Водный раствор,
содержащий 1% жидкого стекла, 1% кальцинированной соды и 1% мыла, должен быть
нагрет до температуры 90 -100°С. Форсунку выдерживают в нем 60 - 90 мин, после
чего извлекают и погружают в ванну с холодным раствором того же состава. Нагар
удаляют жесткими волосяными щетками, места его плотного скопления очищают
деревянными палочками и кусковой содой. Использовать для этой цели
металлический инструмент нельзя. Если нагар полностью удалить не удалось,
процедуру повторяют. После промывки и очистки деталь продувают сухим сжатым
воздухом и промывают в дизельном топливе или керосине.
Узлы и детали топливной аппаратуры, снятые с
дизеля очищаются от отработавшего масла, нагара, смолистых веществ и коррозии.
Прецизионные пары, кроме того, проходят специальные процессы обезжиривания,
консервации и расконсервации.
В основном существует четыре способа очистки
деталей.
Промывка окунанием. Для этого способа обычно
используется набор из трех ванночек объемом от 5 до 15 л (Рис. 2). Такой блок
ванночек имеет подставку 1, ванны 2 с установленными в них на определенном
уровне сетками 3, поддон 8 с лотком 7 и краном 9. Над ваннами может быть зонт 6
вытяжки или крышки. Детали по мере промывки и размягчения нагара очищают
щетками, затем вместе специальной тарой 5 поднимают над ванной и устанавливают
на съемные полки 4 для стекания моющего раствора, после чего переносят в
следующую ванну с более чистым раствором. По мере загрязнения ванны меняют
местами и очисткой и заменой в одной из них промывочного раствора. Раствор
сливают через краны 9, 10 и по трубопроводу он поступает в емкость, находящуюся
за пределами здания.
В качестве моющего раствора в ваннах обычно
применяют осветительный керосин КС-30 по ГОСТ 4753-68 с температурой вспышки
паров не ниже 48 оС, дизельное топливо марки Д, авиационный бензин. Чтобы
полностью очистить поверхность деталей от жировых пленок, смолистых веществ,
нагара, применяют водные щелочные растворы с добавлением эмульсаторов (масло,
жидкое стекло, клей и др.) с последующим пассивированием и промывкой в горячей
воде. Прецизионные пары топливной аппаратуры, кроме промывки в бензине, очищают
в растворе, состоящем из 30 г. тринатрийфосфата и 3 г. эмульсатора марки ОП-7
или ОП-10 на 1 л воды при температуре 18-20 С. Пассивирующим раствором служит 1
% -ный раствор мыла.
Для механизации и ускорения процессов очистки
деталей используют специальные установки, в том числе для промывки деталей под
давлением (до 2-4 МПа), с использованием в качестве моющей среды осветительного
керосина или дизельного топлива. Рабочее давление в установке создается с
помощью многоплунжерного топливного насоса или пневматических цилиндров,
обеспечивающих поступление топлива к соплам, находящимся в промывочной камере.
Детали при промывке располагают сетке камеры. Установка оборудована зонтом
вытяжной вентиляции, а камера закрыта прозрачным экраном. Оператор имеет
возможность с помощью резиновых рукавов менять положение деталей и направления
струй моющей жидкости.
Процесс удаления нагара с носиков распылителей и
корпусов форсунок, а также затвердевших смолистых веществ с других деталей
топливной аппаратуры промывкой малопроизводителен. Поэтому используют
механические способы очистки, в том числе с применением деревянных скребков или
жестких волосяных щеток. Наиболее совершенным является механический способ
удаления нагара косточковой крошкой (дробленая скорлупа косточек фруктов).
Косточковая крошка в таких установках захватывается струей сжатого воздуха под
давлением 0,4-0,5 МПа и направляется на очищаемую от нагара поверхность.
Косточковая крошка не оставляет царапин на очищаемой поверхности, что очень
важно при ремонте деталей топливной аппаратуры.
Специальными испытаниями определяется
количественное значение утечек топлива для распылителей с различной
характеристикой опрессовки. Большой износ иглы форсунки и ее направляющей можно
обнаружить по заметно увеличивающемуся расходу топлива, вытекающего из сливных
трубок; при этом двигатель начинает работать неравномерно.
Испытание распылителя на гидравлическую
плотность производится на тщательно профильтрованном дизельном топливе при
окружающей температуре помещения 15--25°С. При этом полученная плотность
сравнивается с плотностью эталонной пары, отобранной при вязкости дизельного
топлива 1,43- 1,45 по Энглеру при температуре 20-21 С.
. Ведомость дефектации узла
Таблица 1
|
Название
детали
|
Дефект
|
фактический
|
значительный
|
малозначительный
|
исправный
|
неисправный
|
наружний
|
внутренний
|
эксплутационный
|
производственный
|
конструкционный
|
|
корпус
|
трещины
|
+
|
-
|
-
|
+
|
+
|
+
|
+
|
-
|
-
|
|
срыв
более 2-х ниток резьбы
|
+
|
+
|
-
|
-
|
+
|
+
|
-
|
+
|
-
|
-
|
|
Забоины
и вмятины на резьбе
|
+
|
+
|
-
|
+
|
-
|
+
|
-
|
+
|
-
|
-
|
|
Корпус
распылителя
|
Трещины
и скалывание кромок торцов
|
+
|
+
|
+
|
+
|
-
|
+
|
-
|
+
|
-
|
+
|
|
коррозия
|
+
|
-
|
+
|
+
|
-
|
+
|
-
|
+
|
-
|
-
|
|
Игла
распылителя
|
Коррозия
|
+
|
-
|
+
|
+
|
-
|
+
|
-
|
+
|
-
|
-
|
|
Наклеп
торца
|
-
|
-
|
+
|
-
|
+
|
-
|
+
|
+
|
-
|
|
Сопловой
наконечник
|
Следы
прогара
|
+
|
+
|
-
|
+
|
-
|
+
|
+
|
+
|
-
|
-
|
|
Разработка
отверстий
|
+
|
+
|
-
|
-
|
+
|
+
|
+
|
+
|
-
|
-
|
|
Щелевой
фильтр
|
Зазор
по корпусу распылителя
|
-
|
+
|
-
|
+
|
-
|
+
|
-
|
+
|
+
|
+
|
|
Толкатель
|
Увеличение
зазора по фильтру
|
+
|
+
|
-
|
+
|
-
|
+
|
+
|
+
|
+
|
+
|
|
Наклеп
на сферических поверхностях
|
-
|
+
|
-
|
+
|
-
|
+
|
-
|
+
|
-
|
-
|
|
Не
прямолинейность
|
+
|
+
|
-
|
+
|
-
|
-
|
+
|
-
|
-
|
|
Уменьшение
длины
|
+
|
+
|
-
|
-
|
+
|
+
|
-
|
+
|
-
|
-
|
|
Тарелка
пружины
|
Износ
опорной поверхности
|
+
|
+
|
-
|
+
|
-
|
+
|
-
|
+
|
-
|
+
|
|
Пружина
|
Трещины
|
+
|
+
|
-
|
-
|
+
|
+
|
+
|
+
|
-
|
-
|
|
Изменение
высоты
|
+
|
+
|
-
|
+
|
-
|
+
|
-
|
+
|
-
|
+
|
. Технология ремонта и повышение надежности
При текущих ТР-2, ТР-3 и капитальных ремонтах
форсунки разбирают в такой последовательности: укрепляют форсунку в специальном
гнезде верстака, вывертывают стакан пружины, вынимают пружину с тарелкой, а затем
толкатель и щелевой фильтр вместе с уплотнительным кольцом. Затем выжимают
винтовым приспособлением щелевой фильтр вместе с уплотнительным кольцом;
вынимают корпус распылителя с иглой и ограничителем подъема иглы; выталкивают
стержнем сопловой наконечник и его прокладку.
После разборки детали форсунки очищают от
нагара, промывают в осветительном керосине с применением волосяных щеток и
осматривают. Подлежат браковке детали со следующими дефектами: корпус и
регулирующая пробка форсунки-трещины, срыв более двух ниток резьбы, забоины и
вмятины на резьбе, не подлежащие исправлению; корпус распылителя -трещины и
скалывание кромок торцов, коррозия на рабочей поверхности; игла распылителя
-коррозия на рабочих поверхностях, наклеп торца, упирающегося в ограничитель;
сопловой наконечник- следы прогара, разработка отверстий; щелевой фильтр-зазор
по корпусу распылителя более 0,20 мм (при текущих ремонтах ТР-2 и ТР-3 более
0,15 мм); толкатель-увеличение зазора по фильтру более 0,5 мм, наклеп на
сферических поверхностях или износ их более 0,5 мм; не прямолинейность более
0,03 мм на длине толкателя, уменьшение длины более 0,5 мм; тарелка
пружины-износ опорной поверхности под пружину более 0,5 мм допускаемых размеров
(проверяют на длинномере);; пружина форсунки -трещины и износ более 0,3 мм,
высота в свободном состоянии менее 28,5 мм (для дизеля 11Д45-менее 33,0 мм).
Особое внимание уделяют состоянию иглы
распылителя и корпуса. Риски и выработка на притирочных поясках не допускаются.
Проверяют правильность прилегания притирочных поясков иглы и корпуса
распылителя. Игла считается годной при ширине пояска 0,4 мм и менее.
Натиры на цилиндрической поверхности корпуса
распылителя и его иглы или заедание иглы в корпусе исправляют притиркой на
станке ПР279.27 с применением притира ПР-433 и пасты М-3. Качество притирки
проверяют следующим образом: иглу выдвигают из корпуса на 1/3 длины, и при
наклоне корпуса под углом 45° она должна плавно опуститься на седло под
действием собственной массы при любом повороте вокруг своей продольной оси
относительно корпуса распылителя. Износ и механическое повреждение конусов
исправляют притирами или перепаровкой деталей.
Проверяют подъем иглы, используя индикаторную
стойку с индикатором М4-10 (Рис. 3). Подъем иглы у дизелей типа Д100
допускается (0,45±0,05) мм (при техническом обслуживании ТО-3 не более 0,65 мм;
у дизеля 11Д45-не более 0,7; Д50-не более 0,8 мм). Увеличенный подъем иглы
вызывает интенсивный износ конуса иглы и корпуса распылителя. Регулируют подъем
иглы шлифованием торцовой поверхности корпуса распылителя (дизель Д50) или
подбором по высоте ограничителя подъема иглы 3 (рис. 63).
Риски и забоины на торцовых поверхностях корпуса
распылителя выводят притиркой или шлифовкой с последующей притиркой пастой М-14
на плите. При этом не параллельность торцовых поверхностей допускается не более
0,012 мм, не плоскостность-не более двух интерференционных полос, высота
корпуса распылителя-не менее 4о,8 мм, а шероховатость поверхности-не ниже 11-го
класса. Разработку отверстия соплового наконечника форсунки проверяют
приспособлением (пневматическим длинномером) с применением эталонных сопловых
наконечников, имеющих диаметры отверстии: для нижнего предела измерения
0,56+002 мм, для верхнего 0,6 мм.
Сопловой наконечник считается годным, если
поплавок длинномера при его испытании будет находиться между указателями
нижнего и верхнего пределов шкалы длинномера. Запрещается установка сопловых
наконечников со срезом.
Риски и забоины на торцовой поверхности
соплового наконечника устраняют притиркой на плите пастой М-14 или М-20. При
проверке поверхности после притирки интерференционным стеклом допускается не
более двух полос. Сопловой наконечник при установке в корпус форсунки должен
выходить на 1,2-2,2 мм (при техническом обслуживании ТО-3 - не менее 1,0 и не
более 2,4 мм). Выход его регулируют подбором толщины медной прокладки.
При наличии рисок и забоин на торцовой
поверхности щелевого фильтра со стороны корпуса распылителя эту поверхность
шлифуют и притирают пастой М-7 или М-10. Неперпендикулярность торцовой
поверхности к цилиндрической поверхности щелевого фильтра не должна превышать
0,01 мм. Выработку или овальность отверстия в фильтре под толкатель устраняют
притиркой пастой. Зазор между толкателем и фильтром должен быть в пределах
0,3-0,5 мм. При большем зазоре толкатель заменяют. Зазор между фильтром и
отверстием в корпусе форсунки более 0,15 мм (при техническом обслуживании ТО-3
более 0,20 мм) устраняют заменой фильтра.
Риски и выработку торцовых поверхностей
толкателя выводят шлифовальным бруском с последующей полировкой. Забоины, риски
и выработку торцовой поверхности стакана со стороны кольцевого выступа
устраняют шлифовкой. При этом высота кольцевого выступа диаметром 14 А4
допускается до 2,8 мм [нормальная высота (4±0,2)мм]. Биение торцовой поверхности
со стороны кольцевого выступа относительно резьбы М30Х1,5 не должно превышать
0,04 мм на диаметре 14 мм.
При выработке торцовой поверхности
регулировочной пробки под опору пружины до 1 мм торец пробки шлифуют не более 1
мм. Выработку опорной поверхности в тарелке под пружину до 0,5 мм устраняют
шлифовкой при условии сохранения толщины борта не менее 2,7 мм. Выработку,
заусенцы и неперпендикулярность торцов пружины к ее оси (биение опорной
поверхности пружины относительно цилиндрической поверхности по диаметру не
должно превышать 0,05 мм) устраняют шлифовкой. Смятие или деформацию конусных
наконечников трубки высокого давления исправляют наклепом, наплавкой с
последующей обработкой или приваркой нового наконечника. Отремонтированную
трубку опрессовывают дизельным топливом давлением 60-70 МПа с выдержкой в
течение 2 мин.
. Предельно - допустимые размеры деталей в
эксплуатации и различных видах ТО и ТР, а также в сопряженных деталях
Игла распылителя. У иглы изнашиваются следующие
поверхности: направляющая часть, запорный конус, верхнее за плечико и верхний
торец хвостовика.
Направляющая поверхность иглы изнашивается с
нижней стороны. Величина износа составляет 0,001... 0,003 мм. В результате
цилиндрическая поверхность приобретает коническую форму (распылитель
РШ6-2Х250).
К наиболее слабым местам иглы относится запорный
конус, особенно поддающийся износу. Запорная поверхность иглы воспринимает
ударную нагрузку пружины форсунки и абразивное действие имеющихся в топливе
твердых частиц.
Огромное количество ударов иглы с большой
нагрузкой от пружины форсунки воспринимается небольшим притертым пояском
(шириной 0,2...0,25 мм) на игле и запорной фаске корпуса распылителя. Металл
при такой большой нагрузке претерпевает наклеп, поверхность его уплотняется,
происходят явления усталости металла, при этом микрообъемы шелушатся, а
проходящее с большой скоростью топливо вместе с твердыми абразивными частицами
в момент впрыска смывает отставшие частицы металла.
Поверхность запорного конуса иглы изнашивается
неравномерно: больше (0,07...0,08 мм) - в средней части, меньше (0,055...0,06
мм) - у нижнего основания и еще меньше (0,04...0,075 мм) - у верхнего.
В эксплуатационных условиях подтекание
распылителя проявляется дымным выхлопом и снижением мощности двигателя.
Наибольшему износу на цилиндрических
поверхностях иглы подвергается штифт. Поверхность его из цилиндрической
становится конической, меньшее основание конуса направлено в сторону нижнего
торца. На нижнем конце штифт по диаметру изнашивается на 0,025...0,03 мм, а верхней
части - на 0,01...0,12 мм по диаметру.
Больший износ в средней части поверхности
распыливающего конуса определяется характером работы штифтового распылителя:
удар топливной струй приходится на среднюю часть поверхности конуса; абразивные
частицы, находящиеся в топливе, снимают микро-стружку, оставляя риски на
металле, которые постепенно размываются.
Во время работы форсунки игла совершает большое
количество подъемов и опусканий, верхний торец направляющей части иглы в момент
подъема ударяется о нижний гонец корпуса форсунки. Значительная ударная
нагрузка, сосредоточенная па малой кольцевой площадке верхнего торца иглы,
ведет к износу, сопряженных поверхностей в виде наклепа металла.
Промерами установлено, что износ лежит в
пределах 0,045...0,068 мм, подрезка торца в 90° к оси иглы нарушается па
6...8°. Изношенная поверхность занимает примерно 2/3 всей плоскости верхнего
торца и выглядит кольцевой канавкой матового оттенка.
От смятия верхнего торца иглы на кромке
образуются заусенцы, которые иногда вызывают зависание иглы в направляющем
отверстии распылителя. Суммарный износ торца направляющей поверхности иглы,
нижнего торца корпуса форсунки и запорных конусов распылителя увеличивает
высоту подъема иглы на 0,16...0,31 мм (наработку 5000 мото-ч). Предельная
высота подъема иглы доходит до 0,7 мм вместо устанавливаемой заводом
0,35...0,42 мм,
в связи с чем скорость опускания иглы
увеличивается. Поэтому относительно быстро разбивается запорная часть
распылителя и прогрессивно нарастает износ распыливаюшего конуса.
Таблица 2 - Предельно допустимые размеры деталей
|
Наименование
контролируемых параметров
|
Чертежные
|
КР-1
|
Брак
|
|
Величина
подъема иглы
|
0,4-0,5
|
0,4-0,7
|
0,8
|
|
Выход
носика распылителя из корпуса форсунки
|
4,5-5,83
|
4,5-5,83
|
5,9
|
|
Зазор
между штангой и корпусом форсунки
|
0,04-0,12
|
0,3
|
более
0,3
|
|
Ширина
притирочного пояска
|
0,4
|
0,4
|
0,5
|
|
Зазор
между щелевым фильтром и корпусом
|
0,1-0,144
|
0,1-0,144
|
0,15
|
. Оборудование, применяемое при ремонте узла
Проверку на чёткость работы предпочтительнее
производить на стенде с механическим приводом (Рис. 5). Стенд с механическим
приводом состоит из секции топливного насоса 14, имеющей плунжер диаметром 10
мм. Кулачок насоса приводится во вращение электродвигателем 15. Топливо
поступает из бачка 6 через фильтр 7 и трубку 8. Схема ручного стенда для
испытания и схема стенда с механическим приводом регулировки форсунок.
Из насоса топливо под давлением нагнетается по
трубке 10 в аккумулятор 11, имеющий объём около 2 л. От аккумулятора по
нагнетательной трубке 2 топливо поступает к форсунке 1, установленной на
стенде. Давление дизельного топлива в аккумуляторе и его нарастание
контролируются манометром 3. Количество топлива, подаваемого насосом 14, и
скорость нарастания давления в системе регулируются рейкой 13. Поднятие
давления в аккумуляторе от нуля до 265 кг/см2 осуществляется насосом 14 при полной
подаче со скоростью 10 кг/см2 за 1'0-12 с. Дальнейшее нарастание давления
происходит медленно, и это необходимо для того, чтобы точно определить, при
каком давлении осуществляется впрыск, что позволит проверить затяжку пружины
форсунки.
Таблица 3 - Оборудование, применяемое при
ремонте узла
|
Наименование
|
Тип
и краткая характеристика оборудования
|
|
Стенд
типа А106
|
Ручной,
предназначен для испытания и регулировки форсунок
|
|
Блок
промывочных ванн
|
Предназначен
для мойки деталей форсунки в осветительном керосине
|
|
Верстак
типа А146.01
|
Предназначен
для разборки деталей форсунки, а так же для производства ремонта деталей
|
|
Станок
типа ПР279
|
Предназначен
для восстановления подвижности иглы распылителя, восстановления
работоспособности запирающего конусного соединения
|
|
Индикаторная
стойка с индикатором часового типа
|
Предназначен
для проверки величины подъема иглы у отремонтированных форсунок
|
9. Испытание узла после ремонта
По окончании ремонта контролируют чистоту всех
деталей, поступивших на сборку, обращая особое внимание на внутренние каналы
корпуса, распылителя и сопла, которые проверяются магнитной проволокой.
После сборки в приспособлении форсунку
устанавливают на стенд типа А106 (Рис. 4), регулировочным винтом изменяют
натяжку пружины для получения давления 0,1 - 0,2 МПа (1 - 2 кгс/см2) и
прокачивают через форсунку топливо.
Проверку подъема иглы распылителя выполняют с
помощью индикатора который подводят к торцу корпуса распылителя и устанавливают
с натягом так, чтобы стрелка находилась против нулевого деления. Замеряют
подъем иглы распылителя, т. е. расстояние от торца корпуса до поверхности иглы,
которое должно быть не более 0,6 мм. Разрешается регулировать подъем иглы
шлифованием торца корпуса распылителя.
Распыливающие отверстия проверяют пневматическим
длинномером, тарировку шкалы длинномера производят при помощи двух эталонных
распылителей, устанавливая на ней указатели нижнего и верхнего пределов.
Для контроля герметичности запорного корпуса
распылителя постепенно зажимая пружину форсунки и подкачивая рычагом топливо,
создается давление 300 кгс/см2. Такое давление поддерживается в течение 1-2
мин., периодически подкачивая топливо насосом. Если за это время на кончике
распылителя не появится капля топлива, то герметичность запорного конуса
распылителя считается удовлетворительной. Проверяется дважды.
Затяжка пружины форсунки (или давление начала
подъема иглы) регулируется поворотом регулировочного болта таким образом, чтобы
при медленном нажатии на рычаг стенда впрыск топлива произошел (игла начала
подниматься) при давлении
кгс/см2.
Качество распыливания и отсечки топлива
форсункой контролируется визуально. Для этого в минуту делается примерно 30
равномерных впрысков топлива. Нормально работающая форсунка впрыскивает топливо
в туманнообразном виде; длина и форма струй (факелов) из всех ее распыливающих
отверстий должны быть одинаковыми. Начало и конец каждого впрыска
сопровождается четким и резким звуком. Кроме того, после 1-6 впрысков на
кончике распылителя форсунки не должна появляться капля топлива. Подтекание
топлива в виде капель или «подвпрысков» в виде слабых струй указывает на
неудовлетворительное распыливание и плохую отсечку топлива форсункой.
Наглядным признаком правильной сборки форсунки
служит так называемый «дробящий впрыск», т. е. когда при медленном опускании
рычага стенда происходят частые, следующие один за другим четкие впрыски
топлива. При удовлетворительных распыливании и отсечке топлива отсутствие
«дробящего впрыска» не является признаком негодности форсунки. После всех
операций регулировочный болт форсунки крепят контргайкой, а штуцера закрывают
заглушками.
Отремонтированную форсунку помещают на стенд для
хранения исправных форсунок. Исправные форсунки хранятся в вертикальном
положении, чтобы обеспечивалось их правильное хранение.
. Организация рабочего места
Работы по техническому обслуживанию и текущему
ремонту форсунок проводить согласно требованиям «Правил по охране труда при
техническом обслуживании и текущем ремонте тягового подвижного состава».
Установка и снятие форсунок должна производиться
только на неработающем дизеле. Для транспортировки форсунок необходимо
использовать специальные тележки или приспособления. При снятии форсунок
необходимо применять специальные съемники.
Слесарь, выполняющий работы в отсеке дизеля,
должен использовать для освещения переносные электрические светильники
напряжением не выше 12 В. Снимать и ставить агрегаты массой более 30 кг следует
с использованием грузоподъемного механизма крана , а при ручном снятии установке
- вдвоем. При разборке топливных насосов высокого давления слесарь должен
применять приспособления для сжатия пружины плунжера.
Перед работой необходимо проверить легкость и
быстроту открытия и закрытия клапана включения пневматического инструмента,
отсутствие пропуска воздуха в закрытом положении, у электроинструмента и ручных
электрических машин - четкость выключения и их работу на холостом ходу. У
электроинструмента и ручных электрических машин класса I дополнительно
необходимо проверить исправность цепи заземления между его корпусом и
заземляющим контактом штепсельной вилки.
Промывка осветительным керосином, бензином,
обдувка сжатым воздухом и испытания топливной аппаратуры на стенде должны
производиться с включенной местной вытяжной вентиляцией. Запрещается
непосредственный контакт с рабочей поверхностью и рабочей жидкостью
ультразвуковой моечной машины во время ее работы. Загрузку подлежащих очистке
деталей и их выгрузку следует производить при выключенной машине.
При этом для защиты рук от неблагоприятного
воздействия контактного ультразвука необходимо пользоваться специальными
перчатками. По окончании работы слесарь должен привести в порядок свое рабочее
место сложить инструмент, инвентарь и приспособления в специально
предназначенные для них места или сдать в инструментальную кладовую Спецодежду,
спец обувь и другие средства индивидуальной защиты слесарь должен снять и
убрать в шкаф гардеробной. При применении в процессе работы для защиты кожных
покровов рук защитных паст, кремов, мазей по окончании работы следует вымыть
руки с мылом и смазать борным вазелином или ланолиновым кремом, слегка втирая
его в кожу. Не допускается применение керосина или других нефтепродуктов для
очистки кожного покрова и средств индивидуальной защиты.
Таблица 4 - Типовые элементы оснащения рабочего
места.
|
Вид
оснащения
|
Примеры
оснащения
|
|
Основное
технологическое оборудование
|
Блок
промывочных ванн, стенд для испытания форсунок, верстак для производства
ремонта, ультразвуковая установка
|
|
Вспомогательное
оборудование
|
Индикаторные
краны
|
Стол
для притирки деталей, стол для обмера деталей, инструменты для выполнения
основных операций
|
|
Организационная
оснастка
|
Стеллаж
для форсунок, шкаф для сушки деталей, шкаф для обдувки деталей
|
. Техника безопасности при ремонте узла
Перед началом работы слесарь должен надеть
полагающуюся ему исправную спецодежду, спец обувь и привести их в порядок:
застегнуть на пуговицы обшлага рукавов;
заправить свободные концы одежды так, чтобы она
не свисала.
Не допускается носить спецодежду расстегнутой и
с подвернутыми рукавами.
Спецодежду и спец обувь слесарь не должен
снимать в течение всего рабочего времени.
Совместно с руководителем смены (мастером,
бригадиром) слесарь внешним осмотром должен проверить состояние инструмента, приспособлений,
строп, траверс для перемещения оборудования, у грузоподъемных механизмов и
переносных лестниц - наличие трафаретов со сроками следующих испытаний,
переносных домкратов - наличие клейма или бирки с обозначением номера, даты
испытания и грузоподъемности.
При получении средств индивидуальной защиты
слесарь должен проверить их целость, исправность, на диэлектрических перчатках
и предохранительном поясе - дату их испытания, у респиратора - целость и
чистоту фильтра, ковра резинового диэлектрического - отсутствие проколов,
надрывов, трещин.
Слесарь должен осмотреть рабочее место, привести
его в порядок, убрать посторонние детали, не используемые в работе
приспособления и инструмент, проверить наличие на стеллажах и ремонтных
установках запасных частей и материалов.
Неисправный инструмент и приспособления должны
быть заменены на исправные.
Инструмент на рабочем месте следует располагать
так, чтобы исключалась возможность его скатывания или падения.
Бойки молотков, кувалд и другого инструмента
ударного действия должны иметь гладкую, слегка выпуклую поверхность без косины,
сколов, выбоин, трещин и заусенцев.
Рукоятки молотков, кувалд и другого инструмента
ударного действия должны быть изготовлены из сухой древесины твердых лиственных
пород (березы, дуба, бука, клена, ясеня, рябины, кизила и граба) без сучков и
косослоя или из синтетических материалов, обеспечивающих эксплуатационную
прочность и надежность в работе. Рукоятки молотков и кувалд должны иметь по
всей длине в сечении овальную форму, быть гладкими и не иметь трещин.
К свободному концу рукоятки должны несколько
утолщаться (кроме кувалд) во избежание выскальзывания рукоятки из рук при
взмахах и ударах инструментом. У кувалд рукоятка к свободному концу должна
несколько утончаться. Кувалда должна быть насажена на рукоятку в сторону
утолщенного конца без клиньев.
Клинья для укрепления инструмента на рукоятке
должны выполняться из мягкой стали и иметь насечки (ерши).
Напильники и шаберы должны иметь исправные,
надежно насаженные рукоятки с металлическими бандажными кольцами.
Зубила, крейцмейсели, бородки и керны должны
иметь гладкую затылочную часть без трещин, заусенцев, наклепа и скосов. Длина
их должна быть не менее 150 мм. На рабочем конце инструментов не должно быть
повреждений.
Средняя часть зубил не должна иметь острых ребер
и заусенцев на боковых гранях.
Рабочие поверхности гаечных ключей не должны
иметь сбитых скосов, а рукоятки - заусенцев.
Воздушные резиновые шланги пневматического
инструмента не должны иметь повреждений, должны быть надежно закреплены на
штуцерах для присоединения к пневматическому инструменту и воздушной
магистрали.
Не допускается применение проволоки вместо
стяжных хомутиков для закрепления шлангов на штуцерах. Штуцеры должны иметь
исправные грани и резьбы, обеспечивающие прочное и плотное присоединение шланга
к пневматическому инструменту и воздушной магистрали. Рабочая часть вставного
сменного инструмента (сверл, отверток, ключей, зенкеров и т.п.) не должен иметь
трещин, выбоин, заусенцев и прочих дефектов, а хвостовики должны быть правильно
центрированы и плотно входить в буксу пневматического инструмента.
Электрифицированный инструмент не должен иметь
повреждений кабеля (шнура), его защитной трубки и штепсельной вилки,
изоляционных деталей корпуса, рукоятки, крышек щеткодержателей и защитных
кожухов.
Рис. 1 Форсунка дизеля 10Д100
,2 - уплотнительная прокладка; 3 - сопловой
наконечник; 4 - корпус распылителя; 5 - игла; 6 - корпус; 7 - ограничитель
подъема иглы; 8 - щелевой фильтр; 9 - толкатель; 10 - регулировочная пробка; 11
- контргайка; 12 - пружина; 13 - стакан; 14 - тарелка; 15 - уплотнительное
кольцо
Рис. 2 Блок промывочных ванночек.
-подставка; 2-ванны; 3-сетки; 4-съемные полки;
5-специальная тара; 6-зонт; 7-лоток; 8-поддон; 9-10 - краны.
Рис. 3 Индикаторное приспособление для измерения
подъема иглы распылителя форсунки
-индикатор часового типа; 2-зажимная гайка;
3,7-направляющие; 4,8-удлинители; 5-ограничитель подъема иглы; 6,9-распылитель

Рис. 4 Стенд А106 для проверки работы форсунок.
-стол; 2-сборник; 3-проверяемая форсунка;
4-зажимное устройство; 5,9-краны; 6-манометр; 7-пневмоцилиндр; 8-топливный
насос; 10-ручка насоса; 11-выключатель; 12-топливный бак; 13-фильтр;
14-промывочный аккумулятор; 15-отстойник; 16-вентиляционный патрубок
Рис. 5 Ручной стенд проверки форсунки на
четкость работы
-форсунка; 2-нагнетательная трубка; 3-манометр;
4-вентиль; 5-трубка; 6-бачок с топливом; 7-фильтр; 8-трубка, подводящая топливо
к секции; 9-спускная трубка; 10-нагнетательная трубка; 11-аккумулятор;
12-стрелка, показывающая положение рейки: 13-рейка секции насоса; 14-насос;
15-электродвигатель
Список литературы
1. Нотик
З. Х. Тепловозы ЧМЭ3, ЧМЭ3Т, ЧМЭ3Э.
. Рахматулин
М. Д. Ремонт тепловозов.
. Н.
Г. Лушкин. Технология ремонта тепловозов.
. Федотов
Г. Б., Г. И. Левин. Топливные системы тепловозных дизель