Реконструкция здания средней школы
СОДЕРЖАНИЕ
ВВЕДЕНИЕ
. АРХИТЕКТУРНО-СТРОИТЕЛЬНЫЙ РАЗДЕЛ
1.1 Объемно планировочное решение
.2 Конструктивное решение
.2.1 Фундаменты
.2.2 Стены и перегородки
.2.3 Перекрытия, лестницы
.2.4 Кровля
.2.5 Окна, двери, полы
.3 Теплотехнический расчет наружной
стены
.4 Внешняя и внутренняя отделка
.4.1 Внешняя отделка
.4.2 Внутренняя отделка
.5 Инженерное обеспечение
.6 Технико-экономические показатели
здания
. РАСЧЕТНО-КОНСТРУКТИВНЫЙ РАЗДЕЛ
.1 Расчет фундаментов
.1.1 Геологическое строение
.1.2 Глубина заложения
.1.3 Сбор нагрузок
.1.4 Определение размеров опорной
плиты в плане
.1.5 Определение толщины опорной
плиты из условия прочности на изгиб
.1.6 Расчет траверсы
.1.7 Расчет анкерных болтов
.1.8 Определение ширины подошвы
фундамента
.2 Расчет несущих конструкций
покрытий (фермы)
.2.1 Расчет стержней стропильной
фермы
.2.2 Расчет опорного узла фермы
.2.3 Расчет раскосов
. ТЕХНОЛОГИЧЕСКИЙ РАЗДЕЛ
.1 Область применения
.2 Технология и организация
выполнения работ
.3 Требования к качеству и приемке
работ
.4 Техника безопасности и охрана
труда
.4.1 Требования к технике
безопасности
.4.2 Указания по охране труда
.5 Потребность в ресурсах
.5.1 Выбор монтажных приспособлений
.5.2 Определение объемов
строительно-монтажных работ
.5.3 Выбор монтажного крана
.6 Технико-экономические показания
.6.1 Определение трудоемкости и
продолжительности монтажных работ
.6.2 График производства работ
. ОРГАНИЗАЦИОННЫЙ РАЗДЕЛ
.1 Анализ условий строительства
.2 Природно-климатические условия
.3 Общая организация работ
.4 Стройгенплан объекта
.5 Расчет численности персонала
строительства
.6 расчет временных зданий и
сооружений
.7 Потребности в ресурсах
.7.1 Расчет поребностей в воде
.7.2 Расчет потребностей в
электроэнергии
.7.3 Расчет потребностей в тепле
.8 Расчет потребностей в
транспортных средствах
.9 Расчет площадей складов
материалов, изделий и конструкций
.10 Технико-экономические показатели
. БЕЗОПАСНОСТЬ ЖИЗНЕДЕЯТЕЛЬНОСТИ
.1 Анализ опасных и производственных
факторов при организации отделочных работ на объекте
.2 Меры по обеспечению безопасных и
здоровых условий труда
.2.1 Техника безопасности при
штукатурных работах
.2.2 Техника безопасности при
малярных работах
.2.3 Техника безопасности при
стекольных работах
.2.4 Техника безопасности при
облицовочных работах
.3 Расчет времени эвакуации из
здания пристройки
.4 Действия персонала в условиях ЧС
. ЭКОЛОГИЧЕСКИЙ РАЗДЕЛ
.1 Особенность учета экологических
факторов при проектировании школьных учреждений
. НАУЧНО-ИССЛЕДОВАТЕЛЬСКИЙ РАЗДЕЛ
.1 Сравнительный анализ конструкций
сэндвич-панелей
.2 Конструктивные узлы
ЗАКЛЮЧЕНИЕ
СПИСОК ИСПОЛЬЗОВАННЫХ ИСТОЧНИКОВ
ПРИЛОЖЕНИЕ 1
ПРИЛОЖЕНИЕ 2
ПРИЛОЖЕНИЕ 3
ВВЕДЕНИЕ
Реконструкция - это коренное переустройство, перестройка или
восстановление каких-либо зданий и сооружений по сохранившимся остаткам,
чертежам или описаниям. Наряду с капитальным ремонтом реконструкция является
одним из видов восстановления объектов. Этот вид строительных работ стал в
последнее время довольно популярным. Цель реконструкции заключаются в улучшении
планировочной структуры, повышении архитектурно - пространственных качеств
застройки, совершенствовании транспортной и инженерной инфраструктур.
Основными задачами переустройства и реконструкции зданий являются
следующие: повышение конструктивной и эксплуатационной надежности зданий, получение
дополнительной площади, сокращение энергопотребления в зданиях за счет
утепления, модернизации систем инженерного оборудования, улучшение
архитектурной композиции здания и окружающего его пространств.
Для дипломного проектирования выбрана тема «Реконструкция здания средней
школы по адресу, Архангельская область, Устьянский район, п. Октябрьский». К
существующему зданию школы запроектирована пристройка, которая представляет
собой двухэтажный объем, где будут расположены учебные классы, спортивный зал,
столовая и читальный зал.
Актуальность темы обоснована тем, что помещение столовой, спортзала и
некоторых учебных классов данной школы не отвечают современным требованиям к
учебным учреждениям.
Район
строительства относится по снеговому покрову к IV с расчётной снеговой
нагрузкой Sq = 2,4 кПа, и к II по ветровому давлению, с нормативным ветровым
давлением
= 0,29 кПа. Здание относится ко II группе
капитальности с нормативным сроком эксплуатации 125 лет. Степень огнестойкости
здания II.
1.
АРХИТЕКТУРНО - СТРОИТЕЛЬНЫЙ РАЗДЕЛ
1.1 Объемно-планировочное решение
Существующее здание средней школы двухэтажное, частично имеет подвал. В
плане здание П-образной формы с габаритными размерами в осях 49,84×21,12
метров. В дипломном проекте
разрабатывается пристройка к существующему зданию.
Здание имеет ΙI степень огнестойкости.
К существующему двухэтажному зданию средней школы предусматривается
строительство пристройка высотой в два этажа. На первом этаже располагается
столовая, комната инструктора, спортивный зал, душевые, бытовые помещения и
сан. узлы. На втором этаже располагаются учебные классы и просторный, светлый
читальный зал.
Объемно-планировочные решения по зданию пристройки выполнены на основании
современных требований к детским учебным заведениям, а так же с учетом
технологического оснащения, эксплуатации, длительного пребывания детей.
1.2 Конструктивное решение
.2.1 Фундаменты
В качестве основания фундаментов предусматривается грунтовая подушка,
которая перераспределяет давление на грунты основания. Она выполняется из смеси
щебня средней фракции и песка. Грунт для устройства грунтовой подушки должен
уплотняться при оптимальной влажности. Отсыпку каждого последующего слоя
подушки выполняют только после проверки качества уплотнения и получения
проектной плотности (1,65т/м3) по предыдущему слою. Толщина отсыпаемого слоя
подушки принимается равной 20-25см. и уточняется в ходе производства работ. При
уплотнение рекомендуется использовать катки на пневмоходу.
1.2.2 Стены и перегородки
Стены запроектированы из навесных сэндвич панелей, толщиной 150 мм.
Перегородки - гипсовые пазогребневые в 1 и 2 слоя с утеплением, толщиной
80мм, 200 и 260 мм.
1.2.3 Перекрытия, лестницы
Перекрытия
над этажами запроектированы из сборных железобетонных плит по металлическим
балкам, монтаж плит производится по выровненному
слою
цементного раствора М50 с тщательной заделкой швов между плитами раствором
М100.
Лестница -
железобетонные ступени по металлическим косоурам.
1.2.4 Кровля
Крыша здания пристройки: кровельные сэндвич панели толщиной 200 мм по
металлическим фермам.
1.2.5 Окна, двери и полы
Окна
принимаем по ГОСТ 30674-99 из поливинилхлорида одинарной конструкции со
стеклопакетом с поворотно- откидным открыванием, двери - блоки стальные по ГОСТ
31173-2003 для наружных и деревянные по ГОСТ 6629-88 для внутренних.
Полы в классах, кабинетах, коридорах, столовой и бытовых помещениях
-линолеумные и керамические, позволяющие максимально снизить образование пыли и
облегчить уборку помещений.
В помещении
спортивного зала предусматривается покрытие Taraflex Actionsport, предназначенное для восприятия
динамических нагрузок.
1.3 Теплотехнический расчет наружной стены
Стеновая сэндвич-панель c
утеплителем минеральная вата.
Расчетный
коэффициент теплопроводности
Вт/(м*оС).
Из
условий энергосбережения:
Приведенное
сопротивление теплопередаче Rо ограждающих конструкций следует принимать не
менее нормируемых значений Rred, в зависимости от градусо-суток района строительства
Dd.
Определим
градусо-сутки отопительного периода.
,
°С·сут., (1.1)
где
Dd - градусо-сутки отопительного периода, °С·сут.,
tint - расчетная
средняя температура внутреннего воздуха здания, °С;
tht - средняя
температура наружного воздуха (для периода со средней суточной температурой
наружного воздуха не более 8 ˚С) °С;
zht -
продолжительность отопительного периода (для периода со средней суточной
температурой наружного воздуха не более 8 ˚С) сут.,
°С·сут.
Определим
нормируемое значение сопротивления теплопередаче наружной стены:
,
м·°С/Вт, (1.2)
где
Rreq - нормируемое значение сопротивления теплопередаче,
м·°С/Вт.;, b - коэффициенты, значения которых следует принимать по данным
таблицы «нормируемые значения сопротивления теплопередаче ограждающих
конструкций» для соответствующих групп зданий
м·°С/Вт
Определим
приведенное сопротивление теплопередаче - Rо
,
м·°С/Вт, (1.3)
где
αint -
коэффициент теплоотдачи внутренней поверхности ограждающей конструкции;
αext -
коэффициент теплоотдачи (для зимних условий) наружной поверхности ограждающей
конструкции
Определим
толщину утеплителя Х
х=0,122м=>130мм.
Принимаем
утеплитель толщиной 150 мм
>100мм
-толщина стеновой панели удовлетворяет требованиям [4] 1.4 Внешняя и внутренняя
отделка
1.4.1 Внешняя отделка
Фасады
школы оштукатурены и окрашены. Внешняя декоративная отделка стен выполнена из
пенополиуретановых профилей и деталей.
1.4.2 Внутренняя отделка
Потолки, полы и стены всех помещений должны быть
гладкими, без трещин, деформаций и допускать проводить их уборку влажным
способом с применением дезинфицирующих средств. Все материалы должны быть
разрешенными для применения в детских общеобразовательных учреждениях.
Потолки в учебных помещениях, кабинетах, рекреациях и
других помещениях могут быть предусмотрены из подвесных конструкций, при
условии сохранения высоты помещений не менее 2,75 м., а во вновь строящихся не
менее 3,6 м. Высота этажей пристройки: первого этажа - 3,95м; второго этажа -
3,6м. Данная пристройка будет оборудована подвесными потолками «Армстронг».
Полы во всех помещениях должны быть без щелей,
дефектов и механических повреждений. В проектируемом здании пристройки полы в
классах, кабинетах, коридорах и бытовых помещениях - линолеумные. Полы
туалетных и умывальных комнат из керамической плитки с матовой поверхностью, не
допускающей скольжение. Такие напольные покрытия позволяют максимально снизить
образование пыли и облегчить уборку помещений.
Стены должны быть гладкими, ровными, выдерживающими влажную уборку,
устойчивыми к истиранию. Используемые отделочные материалы и краски должны
создавать матовую поверхность с высоким коэффициентами отражения, для
рационального использования искусственного света и равномерного освещения. В
проектируемой пристройке эти условия соблюдаются.
1.5 Инженерное обеспечение
Здание обеспечивается всеми инженерными коммуникациями: холодной и
горячей водой, электроснабжением.
Централизованным водоснабжением обязательно обеспечиваются помещения
общеобразовательного учреждения: помещения пищеблока, столовая, душевые,
умывальные, помещения для обработки уборочного инвентаря и туалеты как во вновь
строящихся, так и в реконструируемых общеобразовательных учреждениях. В данной
пристройке холодным и горячим централизованным водоснабжением обеспечиваются
столовая, помещения пищеблока, помещения для обработки уборочного инвентаря и
туалеты. Холодное водоснабжение осуществляется от городской водопроводной сети.
Горячее водоснабжение и водяное отопление от котельной.
В зданиях общеобразовательных учреждений система канализации столовой
должна быть отдельной от остальной. Через производственные помещения столовой
не в коем случае не должны проходить стояки системы канализации от верхних
этажей. В проектируемой пристройке столовая имеет отдельную систему канализации
и самостоятельный выпуск в наружную систему канализации.
1.6 Технико-экономические показатели здания
Объемный коэффициент, к определяется по формуле:
к2 = Vстр/Sобщ , (1.4)
к2 = 6145/613,8= 10,01
Таблица 2.1 - Технико-экономические показатели
|
Наименование
|
Единица измерения
|
Показатель до реконструкции
|
|
Строительный объем
|
м3
|
7542
|
|
Общая площадь
|
м2
|
1423,8
|
|
Расчетная площадь
|
м2
|
1046,5
|
|
Полезная площадь
|
м2
|
1202,2
|
|
Объемный коэффициент
|
м
|
10,01
|
2. РАСЧЕТНО-КОНСТРУКТИНЫЙ РАЗДЕЛ
2.1 Расчет фундаментов
2.1.1 Геологическое строение
В геолого-литологическом строении проектируемого участка по полезным и
лабораторным данным на разведанную скважинами глубину принимают участие
(сверху-вниз):
современные технологические отложения, представленные шлаком котельным
насыпным и насыпным суглинком тугопластичным с гравием и строительным мусором;
современные почвенные отложения, представленные почвенно-растительным
слоем с корнями растений;
верхнечетвертичные озерно-ледниковые отложения, представленные суглинками
тяжелыми пылеватыми мягкопластичными с маломощными 0,2 - 0,5м линзами песка
крупного и гравелистого;
верхнечетвертичные ледниковые отложения, представленные суглинком тяжелым
пылеватым полутвердым с гравием и галькой до 10 - 15%.
В
качестве основания фундаментов в целях перераспределения давления на грунты
основания предусматривается грунтовая подушка, которая выполняется из смеси щебня
средней фракции и песка, отсыпанных с послойным трамбованием до плотности
1,65т/
. Грунт для устройства грунтовой подушки должен
уплотняться при оптимальной возможности, отсыпку каждого последующего слоя
подушки надлежит производить только после проверки уплотнения и получения
проектной плотности по предыдущему слою, толщина отсыпаемого слоя подушки
принимается равной 20 - 25см и уточняется в ходе производства работ, уплотнение
рекомендуется производить катками на пневмоходу.
Расчет
фундаментов выполняется по двум сечениям:
1
сечение: по внутренней несущей колонне по оси 8;
2
сечение: по наружной несущей колонне по оси Н;
2.1.2 Глубина заложения
Согласно
инженерно-геологическим изысканиям основанием грунтовой подушки проектируемого
здания приняты: суглинки пылеватые полутвердые.
Нормативную
глубину сезонного промерзания грунта dfn определяем:
(2.1)
где
d0 - глубина промерзания при ∑|Tf| = 1°С, принимаемая для суглинков и глин- 0,24;
Мt - безразмерный
коэффициент, численно равный сумме абсолютных значений среднемесячных
отрицательных температур за зиму в данном районе, °С, принимаемых по [5].
Глубина заложения фундаментов отапливаемых сооружений по условиям
недопущения морозного пучения грунтов основания должна назначаться:
df = khdfn, м, (2.2)
где kh - коэффициент, учитывающий влияние теплового режима
сооружения и принимаемый для отапливаемых зданий в зависимости от конструкции
полов и температуры внутри помещений, а для наружных и внутренних фундаментов
неотапливаемых зданий kh = 1,1 (кроме районов с отрицательной среднегодовой
температурой).
df =1,1
1,52=1,7 м;
Принимаем
глубину заложения 1,9 м.
2.1.3 Сбор нагрузок
Сбор нагрузки на 1м2 перекрытия осуществляется в табличной форме таблицы
2.1,2.2.
Таблица
2.1 - Сбор нагрузок на кровлю, Н/м
|
Наименование нагрузки
|
Нормативная нагрузка, кН/м γnγfРасчетная
нагрузка, кН/м
|
|
|
|
|
Постоянная
|
|
1.ферма металлическая
|
0,19
|
1
|
1,05
|
0,2
|
|
2. Кровельные сэндвич
панели, толщиной 200мм, вес 27,85 кг/ 0,27911,10,31
|
|
|
|
|
|
3. Прогоны,16,3кг/ 0,16311,050,17
|
|
|
|
|
|
Итого:
|
0,632
|
|
|
0,7
|
|
Временная
|
|
1.Снеговая
|
2,4*0,7*0,85*1=1,43
|
|
1,4
|
2
|
|
Всего:
|
2,06
|
|
|
2,7
|
Таблица
2.2 - Сбор нагрузок на междуэтажное перекрытие, Н/м
|
Наименование нагрузки
|
Нормативная нагрузка, кН/м γnγfРасчетная
нагрузка, Н/м
|
|
|
|
|
1
|
2
|
3
|
4
|
5
|
|
Постоянная
|
|
1. Линолеум 0,003х11
|
0,033
|
1
|
1,2
|
0,04
|
|
2. Цементно-песчаная стяжка
0,02х30
|
0,6
|
1
|
1,3
|
0,66
|
|
3. Гидроизоляция из двух
слоев рубероида
|
0,2
|
1
|
1,2
|
0,22
|
|
3. Железобетонная плита
0,11х25
|
2,75
|
1
|
1,1
|
3,025
|
|
4. Утеплитель ПЕНОПЛЭКС
0,05х0,3
|
0,015
|
1
|
1,2
|
0,018
|
|
5. Перегородки из
гипсокартона
|
0,25
|
1
|
1,2
|
0,3
|
|
Итого:
|
3,85
|
|
|
4,26
|
|
Временная
|
|
1.От людей и оборудования
|
2
|
1
|
1,2
|
2,4
|
|
Всего:
|
5,85
|
|
|
6,66
|
Сечение по колонне 1-1.
Рисунок 2.1 - Сечение по колонне 1-1
Нагрузка от перекрытия:
нормативное
n= qнтб3.2∙l1∙ l2, кН/м , (2.3)
n = 5,85∙ 5,44∙6=190,94 кН/м
расчетное
= qтб3.3∙ l1∙ l2 , кН/м , (2.4)
= 6,66∙ 5,44∙6=217,38 кН/м
Нагрузка от кровли:
нормативное
N2n= qнтб3.1∙ l1, кН/м, (2.5)
n =5,44∙2,06 =11,2 кН/м
расчетное
= qтб1∙l1, кН/м, (2.6)
=5,44∙2,7 =14,7 кН/м
Нагрузка от колонны:
=Нк1∙Рк,кН/м, (2.7)
где Нк1 - высота колонны;
Рк - вес колонны,
нормативное N3=8,01∙0,415
= 3,32 кН/м,
N3= Нк1∙Рк∙γf∙γn, кН/м, (2.8)
где γf - коэффициент надежности,
расчетное N=8,01∙0,415∙1,05∙1
= 3,49 кН/м.
Нагрузка от ригеля:
= Рр ∙lp, кН/м, (2.9)
нормативное N4=0,28 ∙5,44=1,52кН/м.
= Рр ∙lp ∙ γf∙ γn ,кН/м, (2.10)
расчетное N4=0,28∙5,44∙1,05∙1
= 1,6 кН/м
Сумма нагрузок:
∑= 217,38+11,2+3,49+1,6=233,67 кН/м
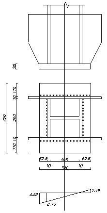
2.1.4 Определение размеров опорной плиты в плане
Ширина опорной плиты:
, мм,
(2.11)
=195+2(10+100)=420мм
Рисунок
2.2 - Конструкция базы и эпюра напряжений
где
- толщина траверсы базы колонны, принимается
=8-12 мм;
-
размеры консольных свесов, принимаются
=
60-120мм.
Длина
опорной плиты:
,мм,
(2.12)
где
=8,5*1,2=10,2 МПа;
-
расчетное сопротивление бетона смятию;
-
расчетное сопротивление бетона осевому сжатию, принимается для бетона класса:
В15
.
, (2.13)
где
- площадь верхнего обреза фундамента.
В
дипломном проекте
принимается равным 1,2.
Длину
опорной плиты принимаем 340 мм.
2.1.5 Определение толщины опорной плиты из условия прочности на
изгиб
а) Краевые напряжения в бетоне фундамента под опорной плитой
(2.14)
(2.15)
(2.16)
б)
Изгибающие моменты в опорной плите
Участок
I, опертый на 4 канта
(2.17)
где
- коэффициент, принимаемый в зависимости от отношения
более длинной стороны «
» к более короткой «
»,
, α=0,094;
-
максимальное напряжение на участке I.
Участок
II, опертый на 3 канта
(2.18)
где
- коэффициент, принимаемый в зависимости от длины
закрепленной стороны «
» к незакрепленной «
»,
β=0,133;
-
максимальное напряжение на участке II.
Участок
III
(2.19)
в)
Толщина опорной плиты
, (2.20)
где
- максимальный момент из
,
,
.
Принимаем
2.1.6 Расчет траверсы
а) Нагрузки на траверсу:
отпор (давление) в бетоне в сжатой зоне под опорной плитой:
(2.21)
усилия
в анкерных болтах в растянутой зоне:
, (2.22)
где
- расстояние от оси колонны до центра тяжести сжатой
зоны эпюры;
-
расстояние от оси анкерных болтов до центра тяжести сжатой зоны эпюры
.
б)
построение эпюры
и
и
определение расчетных усилий.
Расчетные
сечения:
I -
,
,
(из эпюр
и
)
II -
,
,
в)
Определение высоты траверсы
(2.23)
где
- максимальный из моментов в сечении I или
II траверсы.
-
принимается кратно 10 мм. Принимаем
=10мм
г)
Проверка прочности траверсы:
по
нормальным напряжениям
,МПа,
(2.24)

принимаем
60мм,
где
- максимальный изгибающий момент в траверсе (
или
);
на
срез
, МПа,
(2.25)
,
где
- максимальная поперечная сила в траверсе (
или
).
,
, (2.26)
=0,01*0,06=0,0006
.
Расчет угловых швов, соединяющих траверсу со стержнем колонны
, (2.27)
где
,
-
расчетная длина углового шва, определяется
мм
- катет
шва, принимается не менее расчетного с учетом требований,
где
по таблице 38 [7];
, данная
проверка проходит, значит принимаем
.
2.1.7 Расчет анкерных болтов
Расчетные
усилия:
и
а)
Краевые напряжения в бетоне фундамента под опорной плитой см. формулу (2.15) и
(2.16)
(2.28)
б)
Растягивающее усилие в анкерных болтах
(2.29)
где
- расстояние от центра тяжести сжатой зоны бетона до
оси колонны;
-
расстояние от центра тяжести сжатой зоны до оси анкерного болта.
в)
Требуемая площадь сечения болтов:
(2.30)
где
=225МПа- расчетное сопротивление растяжению анкерных
болтов по таблице - площади сечения болтов.
По
требуемой площади сечения болтов 1,4
принимаю
2 анкерных болта диаметром 16 мм с
.
Нормативное значение нагрузки:
N5n =(0,8∙0,8∙1,3+1,2∙1,2∙0,3)∙24=30,34
kH;
Расчетное значение:
N5= N4n ∙ γf∙γn, kH, (2.31)
N5=
30,34∙1,1∙1=33,37 kH
Нормативное значение нагрузки:
∑N=206,98 +30,34=237,32 kH;
Расчетное значение нагрузки:
∑N=237,17+33,37=270,54 kH.
Сечение 2-2 по колонне.
Рисунок 2.3 - Сечение 2-2
Нагрузка от перекрытия:
нормативное (по формуле 2.3)n= qнтб3.3∙ 5,44∙6n = 5,85∙
5,44∙6+ 9,24∙4,15∙6=421,01 кН/м
расчетное (по формуле 2.4)= qтб3.3∙ 5.44∙6= 6,66∙ 3,34∙6=217,38
кН/м
Нагрузка от кровли:
нормативное (по формуле 2.5)n =5,44∙2,06 =11,2кН/м
расчетное (по формуле 2.6)=5,44∙2,7 =14,7 кН/м
Нагрузка от колонны:
нормативное (по формуле 2.7)
N3=8,01∙0,415
= 3,32 кН/м.
расчетное (по формуле 2.8)
N=8,01∙0,415∙1,05∙1
= 3,49 кН/м
Нагрузка от ригеля:
нормативное (по формуле 2.9)
N4=0,28
∙5,44=1,52 кН/м.
расчетное (по формуле 2.10)
N4=0,28∙5,44∙1,05∙1
= 1,6 кН/м
От фундамента:
Нормативное значение нагрузки:
N5n=(a1∙b1∙Hf+a2 ∙b2 ∙Hf)∙ρ,kH, (2.32)
n =(0,8∙0,8∙1,15+1,5∙1,5∙0,45)∙24=41,96кН
Расчетное значение:= 41,96∙1,1∙1=46,16 kH.
Нормативное значение нагрузки
∑N=N1n+N2n+N3n+N4n+Nn5=190,94+11,2+3.32+1.52+41,96=248,94 kH;
Расчетное значение нагрузки
∑N=N1+N2+N3+N4+N5=217,38+14,7+3.49+1,6+46,16=283,33
kH.
2.1.8 Определение ширины подошвы фундамента
Основанием здания является суглинок пылеватый полутвердый:
γ= 22,61 кН/м2,
R0=326
кПа. Ширина подошвы фундамента под колоннами- 1,2х1,2м.; 1,5х1,5м.
Фактическое давление:
(2.33)
где
b - ширина подошвы фундамента,
R1-1 = 
= 165.96
кПа
R2-2 = 
= 188.9
кПа
Учет
уплотнения грунта:
R=
, кПа, (2.34)
где
γс1, γс2 -
коэффициент условий работы (γс1=1,25,
γс2 =1,1);
κ - коэффициент, принимаемый равным 1, т.к. характеристики грунта
определены непосредственными испытаниями;
Mγ , Mq , Mc - коэффициенты, принимаемые по таблице 4 [16 ]:
Mγ = 0,84, Mq = 4,37, Mc =
6,90;
κ z - коэффициент,
принимаемый равным 1, т.к. b‹10 м;
γII - осредненное
расчетное значение удельного веса грунтов, залегающих ниже подошвы фундамента
(при наличии подземных вод определяется с учетом взвешивающего действия воды), γII =
22,61 кН/м3;
γIII - то же
залегающих выше подошвы:
γIII=22,61 кН/м3
;
сII=19,5
кПа;
dI - глубина
заложения фундаментов от уровня планировки, dI= 1,6 м.
- по сечению 1-1
R0=
кПа;
по
сечению 2-2
R0=
кП;
Расчетная
ширина подошвы фундамента
bфакт=1,5 м; bфакт≥
bтр - значит, несущая способность фундамента
обеспечена.
bфакт=1,2 м; bфакт≥
bтр - значит, несущая способность фундамента
обеспечена.
2.2 Расчет несущих конструкций покрытий (фермы)
.2.1 Расчет стержней стропильной фермы
Общие
данные:
Характеристики
района строительства:
- климатический район - IIВ;
расчетная температура наиболее холодной пятидневки - (-32)°С;
расчетная снеговая нагрузка - 2,4 кН/м²;
- нормативный скоростной напор ветра - 0,23 кН/м².
Расчёт металлической фермы был произведён в ПК «SCAD».
При расчёте были приняты следующие нагрузки:
кровельные сэндвич панели - вес 0,279 кН/м2 (нормативная нагрузка);
прогоны - вес 0,0769 кН/м2 (нормативная нагрузка);
снеговая нагрузка (IV
снеговой район) - 2,4 кПа.
Рисунок 2.4 - Геометрическая схема фермы
Таблица 2.3 - Сбор нагрузок на ферму
|
Наименование нагрузки
|
Нормативная нагрузка, кН/м γnγfРасчетная
нагрузка, кН/м
|
|
|
|
|
Постоянная
|
|
1. Кровельные сэндвич
панели, толщиной 200мм, вес 27,85 кг/ 0,27911,10,31
|
|
|
|
|
|
2. Прогоны,16,3кг/ 0,16311,10,17
|
|
|
|
|
|
Итого:
|
0,442
|
|
|
0,48
|
|
Временная
|
|
1.Снеговая
|
2,4*0,7*0,85*1=1,43
|
1
|
1,4
|
2
|
|
Всего:
|
2,06
|
|
|
2,7
|
Собственный вес конструкции фермы рассчитывается в ПК «SCAD» с учетом коэффициента надёжности по
нагрузке.
Рисунок 2.5 - Номера элементов и узлов фермы
Рисунок 2.6 - Коэффициенты использования фермы
Перемещения в узлах фермы представлены в Приложении А.
Усилия в стержнях фермы от расчётного сочетания усилий представлены в
Приложении Б.
2.2.2 Расчет опорного узла фермы
Рисунок 2.7 - Опорный узел фермы
А= 26,9см2 ; ix= iy = 5,482 см
Расчет на продавливание участка пояса, контактируемого с элементом решетки:
(2.35)
где
γd
- коэффициент влияния знака усилия в примыкающем элементе, принимаемый равным
1,2 при растяжении и 1,05 - в остальных случаях;
γd - коэффициент влияния продольной силы
в поясе, определяемый при сжатии в поясе, если
|F|
/ (ARy) > 0,5,
по формуле
γd = 1,5 - |F| / (ARy),
в остальных случаях γd = 1,0;
b - длина участка линии пересечения примыкающего
элемента с поясом в направлении оси пояса, равная db / sin α;
g - половина расстояния между смежными стенками
соседних элементов решетки или поперечной стенкой раскоса и опорным ребром;
f = (D-d) /2, мм, (2.36)
,
sinα=sin46=0,72
132,21≤198,92
кН.
Несущая
способность элемента решетки в зоне примыкания к поясу:
(2.37)
где
t=5 мм;
D= 140мм; h=1;
Ry= 240 МПа;
Ad=7,7см2,
,21
≤ 170,7 кН
Прочность
сварных швов прикрепляемых элементов решетки :
(2.38)
где
Rwf - расчетное сопротивление угловых швов срезу
(условному) по металлу шва;
Rwf=200 МПа;
βf = 0,7 - коэффициент для расчета углового шва при
полуавтоматической сварке;
γw = γwf
= γwz =1 - коэффициенты условий работы
шва;
kf -
катет шва;
γс - коэффициент условий работы.
,46
≤ 200 МПа
Расчет раскосов
а)
Рисунок 2.8 - Узел 2
A=
26,9 см2;
ix= iy = 5,482 см;
sinα=sin36 = 0.59,
M= e×N=
0.01×174.89 = 1,75 кНм
Расчет на продавливание участка пояса, контактируемого с элементом
решетки:
(2.39)
N= 132,21 кН ;
M= 1,75 кНм;
γс - коэффициент условий работы, γс=1;
b=80/0.59
= 135,6;
f =
100-80/2 = 10;
с = 0,01.
165,62 ≤ 568,23 кН
Несущая способность элемента решетки в зоне примыкания
к поясу:
(2.40)
t=4 мм; D=
100мм; h=1; Ry= 240 МПа; Ad=7,7см2;
,21
≤ 175,73 кН.
Прочность
сварных швов прикрепляемых элементов решетки :
(2.41)
где
Rwf - расчетное сопротивление угловых швов срезу
(условному) по металлу шва, Rwf=200 МПа;
βf = 0,7 - коэффициент для расчета углового шва при
полуавтоматической сварке;
γw = γwf
= γwz =1 - коэффициенты условий работы
шва;
kf -
катет шва;
γс - коэффициент условий работы.
,03
≤ 200 МПа
б)
A= 26.9 см2; ix= iy = 5,482 см; sinα = sin 48 = 0.75
Расчет
на продавливание участка пояса, контактируемого с элементом решетки:
N= -103,51 кН , M=
1,75 кНм
γс - коэффициент условий работы, γс=1;
b=140/0,75
= 186,6;
f =
100-80/2 = 10;
с = 0,01;
,51
≤ 709,9 кН
Несущая
способность участка боковой стенки пояса в месте примыкания сжатого элемента
решетки:
(2.42)
где
γt
- коэффициент влияния тонкостенности пояса, для отношений Db/t ≥ 25
принимаемый равным 0,8, в остальных случаях - 1,0;
,51
≤ 273,06 кН
Несущая способность элемента решетки в зоне примыкания
к поясу:
t=4 мм; D=
100мм; h=1; Ry= 240 МПа; Ad=7,7см2;
,45
≤ 139,47 кН
Прочность
сварных швов прикрепляемых элементов решетки :
где
Rwf - расчетное сопротивление угловых швов срезу
(условному) по металлу шва, Rwf=200 МПа;
βf = 0,7 - коэффициент для расчета углового шва при
полуавтоматической сварке;
γw = γwf
= γwz =1 - коэффициенты условий работы
шва;
kf -
катет шва;
γс - коэффициент условий работы
,89
≤ 200 МПа
в)
A= 26.9 см2; ix= iy = 5,482 см; sinα = sin 48 = 0,74
Расчет
на продавливание участка пояса, контактируемого с элементом решетки:
Рисунок
2.9 - Узел 5
N= -27,5 кН, M= 0,015×205,77 = 3,02кНм
γс - коэффициент условий работы, γс=1;
b=80/0.74
= 108,1;
f =
140-80/2 = 30;
с = 0,01;
,15
≤ 330,98 кН
Несущая
способность участка боковой стенки пояса в месте примыкания сжатого элемента
решетки:
;
γt - коэффициент влияния тонкостенности
пояса, для отношений Db/t ≥ 25 принимаемый равным 0,8, в
остальных случаях - 1,0;
,5
≤ 226,8 кН
Несущая способность элемента решетки в зоне примыкания
к поясу:
t=5 мм; D=
140мм; h=1; Ry= 240 МПа; Ad=21,6см2;
,37
≤ 232,11 кН
Прочность
сварных швов прикрепляемых элементов решетки :
Rwf -
расчетное сопротивление угловых швов срезу (условному) по металлу шва, Rwf=200 МПа;
βf = 0,7 - коэффициент для расчета
углового шва при полуавтоматической сварке;
γw = γwf
= γwz =1 - коэффициенты условий работы
шва;
kf -
катет шва;
γс - коэффициент условий работы
,8
≤ 200 МПа
г)
A= 26.9 см2; ix= iy = 5,482 см; sinα = sin 67 = 0,92
Расчет
на продавливание участка пояса, контактируемого с элементом решетки:
N= -19,8 (кН) , M= 0,015×205,77 = 3,02 кНм;
γс - коэффициент условий работы, γс=1;
b=80/0.92
= 87; f = 140-80/2 = 30; с = 0,01;
,42
≤ 133,9 кН
Несущая
способность участка боковой стенки пояса в месте примыкания сжатого элемента
решетки:
,
γt - коэффициент влияния тонкостенности
пояса, для отношений Db/t ≥ 25 принимаемый равным 0,8, в
остальных случаях - 1,0;
,8
≤ 226,8 МПа
Несущая способность элемента решетки в зоне примыкания
к поясу:
t=5 мм; D=
140мм; h=1; Ry= 240 МПа; Ad=21,6см2;
,6
≤ 162,5 кН
Прочность
сварных швов прикрепляемых элементов решетки :
,34
≤ 200 МПа
д)
A= 26,9 см2; ix= iy = 5,482 см; sinα = sin 52 = 0,788
Расчет
на продавливание участка пояса, контактируемого с элементом решетки:
N= 18,71 (кН) , M= 0,02×205,77 = 4,11 кНм
b=80/0.788
= 101;
f =
140-80/2 = 30;
с = 0,01;
,87
≤ 99,25 кН
Несущая способность элемента решетки в зоне примыкания
к поясу:
t=5 мм; D=
140мм; h=1; Ry= 240 МПа; Ad=21,6см2;
,39
≤ 137,09 кН
Прочность
сварных швов прикрепляемых элементов решетки:
,17
≤ 200 МПа
3. ТЕХНОЛОГИЧЕСКИЙ РАЗДЕЛ
3.1 Область применения
Технологическая карта разработана на монтаж покрытия здания.
Для ферм, колонн, связей и ригелей принята сталь С255 по ГОСТ 27772-88.
Колонны запроектированы из двутавров 20К1 по [10].
Ригели разработаны из двутавров 26Б1 по [11].
Фермы и связи - из стальных квадратных труб по [12].
В состав технологической карты входят следующие работы:
выгрузка колонн и их монтаж;
выгрузка балок и их монтаж;
выгрузка ферм и их монтаж;
выгрузка связей и их монтаж;
выгрузка сэндвич панелей и их монтаж.
Работы выполняются поточным методом в одну смену в летний период.
3.2 Технология и организация выполнения работ
До начала монтажа металлических конструкций должны быть выполнены
следующие работы:
закончены и сданы по акту все работы нулевого цикла;
выполнена геодезическая разбивка осей колонн здания;
завезены на складские площадки необходимые материалы, конструкции;
подготовлен кран, с помощью которого осуществляется подъем необходимых
материалов;
приготовлена рабочая зона бригады: установлен инвентарь, приспособления и
инструмент для безопасного производства работ.
Во избежание ржавчины перед монтажом производят зачистку и окраску
металлических конструкций алкидной противокоррозионной краской. После
монтажа все наружные поверхности стыков, включая головки болтов, гайки и
выступающие из них части резьбы болтов должны быть очищены, огрунтованы,
окрашены, а щели в местах перепада толщин и зазоры в стыках зашпатлеваны. Также
металлические конструкции подлежат покрытию огнезащитным составом. Оставлять
поверхности конструкций без защитных покрытий запрещается.
Огнезащитную обработку производить при температуре воздуха не ниже +10°С
и относительной влажности не более 70%. В раствор добавляют краситель для
контроля качества нанесения.
Закрепление колонн в фундаментах жесткое. Они прикрепляются к
подколоннику при помощи траверсы и опорной плиты. Траверса приваривается к
колонне и крепится к фундаменту при помощи анкерных болтов.
Монтаж металлических балок осуществляется при помощи болтового соединения
с последующей сваркой по контуру соединительного ребра. Для крепления балок
используются монтажные болты нормальной точности по ГОСТ 1759.0-87, ГОСТ
7798-80 и ГОСТ 5915-70.
Фермы и связи также крепятся на болтовых соединениях с последующей
сваркой по контуру.
Монтажные швы выполняются ручной дуговой сваркой электродами Э46 по ГОСТ
11534-75*. Катет шва принимается по наименьшей толщине свариваемых элементов.
Во избежание откручивания гаек в болтовых соединениях применяются
пружинные шайбы по ГОСТ 6402-70*.
Конструкции должны быть очищены от грязи, поврежденное антикоррозийное
покрытие - восстановлено.
При установке монтажных элементов должны быть обеспечены:
устойчивость и неизменяемость их положения на всех стадиях монтажа;
безопасность производства работ;
точность их положения с помощью постоянного геодезического
контроля;
прочность монтажных соединений.
3.3 Требования к качеству и приемке работ
Контроль качества монтажа начинают с момента приемки доставленных сборных
элементов. Все они должны соответствовать по внешнему виду и размерам
требованиям проекта и не должны иметь отклонений, превышающих значения,
представленные в таблице 3.1.
Качество элементов проверяется несколько раз - на складе, во время
установки и после окончательного закрепления. По окончании монтажа конструкций
работы принимаются по акту, в котором указывается смонтированы ли они в
соответствии с проектом, определяют качество монтажных работ и выносят
заключение о готовности здания для производства последующих
строительно-монтажных работ.
Главным критерием качества монтажных работ является тщательность сварки и
заделки стыков, а также точность установки конструкций в соответствии с
проектом.
На все конструкции, которые при дальнейшем производстве работ закрываются
другими конструкциями, составляют акты на скрытые работы.
Качество выполненных работ необходимо контролировать систематически,
применяя соответствующие инструменты и приспособления, к которым относятся
уровень, отвес, складной метр, рулетка, шаблон и др.
Перечень технологических процессов, подлежащих контролю, представлен в
таблице 3.1.
При приемочном контроле должна быть представлена следующая документация:
заводские технические паспорта на стальные конструкции;
документы (сертификаты, паспорта), удостоверяющие качество материалов,
примененных при производстве строительно-монтажных работ;
акты освидетельствования скрытых работ;
акты промежуточной приемки ответственных конструкций;
исполнительные геодезические схемы положения конструкций;
журналы работ;
документы о контроле качества сварных соединений;
акты испытания конструкций.
3.4 Техника безопасности и охрана труда
.4.1 Требования по технике безопасности
1) Монтажные работы
Все монтажные работы следует выполнять в соответствии с требованиями
утвержденного проекта производства работ, проект производства работ должен
находиться на строительной площадке.
Запрещается производить монтажные работы во время тумана, исключающего
видимость в пределах фронта работ, грозы и ветра скоростью 15 м/с и более.
При выполнении монтажных работ на высоте монтажник должен пользоваться
предохранительными поясами и страховочными канатами толщиной не менее 15 мм;
места закрепления карабина должны быть указаны мастером или прорабом; канаты
для закрепления поясов не должны тереться на острых гранях строительных
конструкций, а в таких местах следует уложить предохранительные подкладки;
В связи с возможным падением с высоты инструмента, материалов необходимо
устраивать вдоль наружных стен здания ограждение зоны.
Таблица 3.1 - Перечень технологических процессов, подлежащих контролю
|
Наименование
технологического процесса
|
Предмет контроля
|
Способ контроля и инструмент
|
Время проведения контроля
|
Ответственный за контроль
|
Техническая характеристика
оценки качества
|
|
1
|
2
|
3
|
4
|
5
|
6
|
|
Монтаж металлических
конструкций
|
|
|
При монтаже
|
Бригадир, мастер
|
Предельные отклонения
|
|
Колонны и опоры
|
|
|
|
|
|
|
|
Отклонения отметок опорных
поверхностей колонны и опор от проектных
|
Измерительный, каждая
колонна и опора, геодезическая исполнительная схема
|
|
|
5
|
|
|
Разность отметок опорных
поверхностей соседних колонн и опор по ряду и в пролете
|
То же
|
|
|
3
|
|
|
Смещение осей колонн и опор
относительно разбивочных осей в опорном сечении
|
То же
|
|
|
5
|
|
|
Отклонение осей колонн от
вертикали в верхнем сечении при длине колонн, мм: св. 8000 до 16000
|
То же
|
|
|
12
|
|
|
Стрела прогиба (кривизна)
колонны, опоры и связей по колоннам
|
Измерительный, каждый
элемент, журнал работ
|
|
|
0,0013 расстояния между
точками закрепления, но не более 15
|
|
Фермы, ригели, балки,
прогоны
|
|
|
При монтаже
|
Бригадир, мастер
|
|
|
|
Отметки опорных узлов
|
Измерительный, каждый узел,
журнал работ
|
|
|
10
|
|
|
Стрела прогиба (кривизна)
между точками закрепления сжатых участков пояса фермы и балки ригеля
|
Измерительный, каждый
элемент, журнал работ
|
|
|
0,0013 длины закрепленного
участка, но не более 15
|
|
|
Расстояние между осями
ферм, балок, ригелей, по верхним поясам между точками закрепления
|
То же
|
|
|
15
|
|
|
Совмещение осей нижнего и
верхнего поясов ферм относительно друг друга (в плане)
|
То же
|
|
|
0,004 высоты фермы
|
|
Расстояние между прогонами
|
То же
|
|
|
5
|
|
Монтаж сэндвич панелей
|
Отклонение от вертикали
продольных кромок панелей Разность отметок концов горизонтально
установленных панелей при длине панели Толщина шва между смежными панелями
по длине
|
теодолит, рулетка, нивелир,
уровень, отвес
|
При монтаже
|
Бригадир, мастер
|
0,001L (длина панели) до 6
м - ±5 мм; свыше 6 до 12 м - ±10 мм ±5 мм
|
Способы строповки элементов конструкции и оборудования должны
обеспечивать их подачу к месту установки в положении близком к проектному.
Строповка грузов производится инвентарными грузозахватными устройствами.
Способы строповки должны исключать падение или скольжение груза.
Элементы при перемещении удерживаются от раскачивания и вращения гибкими
оттяжками.
Во время перерывов элементы нельзя оставлять на весу.
Расстроповку элементов конструкций и оборудования, установленных в
проектное положение, производят после постоянного или временного надежного
закрепления.
К монтажным работам допускаются рабочие, прошедшие медицинский осмотр,
вводный и другие инструктажи по охране труда согласно ГОСТ 12.0.004 . К
самостоятельным работам по монтажу стальных конструкций допускаются рабочие,
прошедшие обучение и получившие удостоверение на право производства работ.
Монтажник, не усвоивший инструктаж или показавший при проверке знаний по
безопасности труда неудовлетворительный знания, к самостоятельной работе не
допускается, он обязан вновь пройти инструктаж и проверку знаний.
Перед началом работы монтажник должен получить от мастера (прораба)
инструктаж о безопасных способах выполнения полученного задания, быть в
спецодежде и спецобуви, надеть каску, иметь предохранительные приспособления.
) Сварочные работы
Место производства работ, а также нижерасположенные места должны быть
освобождены от горючих материалов в радиусе не менее 5 м.
Сварка должна осуществляться с применением двух проводов, один из которых
присоединяется к электрододержателю, а другой (обратный) - к свариваемой
детали. Запрещается использовать в качестве обратного провода сети заземления
металлические конструкции зданий, технологическое оборудование, трубы
санитарно-технических сетей (водопровод, газопровод и т.п.).
Сварочные провода должны соединяться способом горячей пайки, сварки или
при помощи соединительных муфт с изолирующей оболочкой. Места соединений должны
быть заизолированы; соединение сварочных проводов методом скрутки не
допускается.
) Транспортные работы
Организация - владелец транспортных средств обязана обеспечить их
своевременное техобслуживание и ремонт.
Транспортировка длинномерных, тяжеловесных, крупногабаритных грузов
осуществляется на специализированном транспорте.
Груз должен быть размещен и закреплен в соответствии с техническими
условиями погрузки и крепления.
Подача автомобиля задним ходом в зоне работ производится по команде
работающих.
3.4.2 Указания по охране труда
Конструкции, поднимаемые краном, надо удерживать от раскачивания
оттяжками из пенькового каната или троса.
При подъеме элементов, устанавливаемых в горизонтальное положение, к
обоим их концам прикрепляются парные оттяжки.
Запрещается передвигать конструкции после их установки и снятия захватных
приспособлений.
При подъеме элементов с транспортных средств запрещается перемещать груз
над кабиной водителя.
На монтажных работах обязательно должна быть предусмотрена сигнализация.
Все сигналы машинисту крана и рабочим на оттяжках подает один человек -
бригадир.
Временные связи, расчалки, кондукторы разрешается снимать только после
окончательного закрепления конструкций.
Машинисты кранов, строповщики, сигнальщики и сварщики проходят обучение
по спецпрограммам.
Монтажники, имеющие стаж работы менее одного года и разряд ниже третьего,
к работе на высоте не допускаются.
3.5 Потребность в ресурсах
.5.1 Выбор монтажных приспособлений
При производстве монтажных работ следует пользоваться типовой оснасткой.
Она зависит от вида и массы монтируемой конструкции.
Перечень машин, механизмов и оборудования приведен в таблице 6.2.
Перечень технологической оснастки представлен в таблице 6.3.
Таблица 3.2 - Перечень машин, механизмов и оборудования
|
Наименование машин,
механизмов и оборудования
|
Марка, тип
|
Техническая характеристика
|
Назначение
|
Количество на звено, шт
|
|
1
|
2
|
3
|
4
|
5
|
|
Кран гусеничный
|
МКГ-25
|
Длина стрелы 17,5 м
Грузоподъемность до 20 т
|
Подъем, подача и установка
элементов конструкций и материалов
|
1
|
|
Строп 2-х ветвевой
|
2СК-2.0
|
Грузоподъемность 2 т Масса
32 кг Расчетная высота 4.2м
|
Крепление элементов
(строповка) для перемещения, фиксация элементов
|
1
|
|
Лестница приставная
|
|
|
Ведение монтажных работ на
высоте
|
2
|
|
Сварочный агрегат
(трансформатор для монтажа)
|
Dallas
|
Мощность 5,5 кВт
Номинальный сварочный ток 120 А Ø электрода 1.6-3.2 мм Масса 16 кг
|
Сварочные работы
|
5
|
Таблица 3.3 - Перечень технологической оснастки
|
Наименование инструмента,
оснастки, инвентаря и приспособлений
|
Марка, ГОСТ или
организация- разработчик, номер рабочего чертежа
|
Техническая характеристика
|
Назначение
|
Количество на звено
|
|
1
|
2
|
3
|
4
|
5
|
|
Оправка монтажная
|
ГОСТ 1405-83
|
|
Предназначен для подводки и
совмещения отверстий при монтаже и укрупнительной сборке металлических
конструкций
|
5
|
Ключи
гаечные с открытым зевом, двухсторонние ГОСТ 2839-80Е Ключ 7811-0003 Ключ
7811-0021 Ключ 7811-0023 Ключ 7811-0025 8
10 мм
14 мм
19 мм
|
22 24ммПрименяется для завертывания (отвертывания) гаек
на болтах при монтаже стальных конструкций5
|
|
|
|
|
Молоток слесарный
|
ГОСТ 23177Е
|
Масса 1 кг
|
Предназначен при работе с
зубилом слесарным для сруба окалин и наплывов после сварных работ
|
5
|
|
Чертилка прямая
односторонняя
|
ГОСТ 24473-80Е Чертилка
7840-1001
|
|
Используются для разметки
металлических конструкций при их сборке и монтаже
|
5
|
|
Кернер слесарный
|
ГОСТ 7213-72 Кернер
7843-0036
|
100 мм
|
Предназначен для разметки
металлических деталей при сборке конструкций и мест сверления отверстий при
монтаже
|
5
|
|
Зубило слесарное
|
ГОСТ 7211-86Е
|
20 60 с
шириной рабочей части 20 мм и углом заточки 60 Применяется
для удаления заусенцев, окалин и наплывов после сварных работ5
|
|
|
|
Отвес строительный
|
ГОСТ7948-80 Отвес ОТ 1000-1
|
|
Предназначен для проверки
отклонений конструктивных элементов от вертикали при их монтаже
|
5
|
|
Уровень строительный
|
ГОСТ9416-83 Уровень
УСА-1-11
|
Длина 300 мм с ценой
деления ампул 4,4мм/м (15 мин)
|
Используются для проверки
горизонтального и вертикального положения элементов конструкций при их
монтаже
|
5
|
|
Рулетка измерительная
металлическая
|
ГОСТ7502-80
|
|
Используются для
окончательной выверки установленных элементов конструкций при монтаже зданий
и сооружений
|
5
|
.5.2 Определение объемов строительно-монтажных
работ
На основании данных задания определяем количество монтажных элементов, их
массу и размеры, количество стыков. Данные по определению количества элементов
и перечень рабочих процессов занесены в таблицу 3.4.
Таблица 3.4 - Потребность в материалах, изделиях и конструкциях
|
Наименование материалов,
изделий и конструкций, марка, ГОСТ, ТУ
|
Ед. изм.
|
Исходные данные
|
Потребность на измеритель
конечной продукции
|
|
|
Обоснование нормы расхода
|
Ед. изм по норме
|
Объем работ в нормативных единицах
|
Норма расхода
|
|
|
1
|
2
|
3
|
4
|
5
|
6
|
7
|
|
Колонны металл.
|
шт
|
по проекту
|
1
|
1
|
43
|
43
|
|
Фермы металлические, масса 1.2т
|
шт
|
по проекту
|
1
|
1
|
11
|
11
|
|
Ригели металлические
|
шт
|
по проекту
|
1
|
1
|
6
|
6
|
|
Электроды Э46 для сварки
монтажных стыков ригелей, ГОСТ 11534-75*
|
м
|
по проекту
|
1 шт
|
6
|
0.84
|
5,04
|
|
Болты монтажные нормальной
точности для крепления ферм и ригелей, ГОСТ 7798-80
|
шт
|
по проекту
|
1 шт
|
40
|
4
|
160
|
|
Связи металлич.
Вертикальные по колоннам
|
шт
|
по проекту
|
1
|
1
|
4
|
4
|
|
Связи металлич. по фермам
|
шт
|
по проекту
|
1
|
1
|
15
|
15
|
|
Электроды Э46 для сварки
монтажных стыков связей, ГОСТ 11534-75*
|
м
|
по проекту
|
1 шт
|
15
|
1.2
|
18
|
|
Сэндвич-панели стеновые
|
шт
|
по проекту
|
1
|
1
|
172
|
172
|
|
Сэндвич-панели кровельные
|
шт
|
по проекту
|
1
|
1
|
160
|
160
|
.5.3 Выбор монтажного крана
На основании объемов работ выбираем группу элементов, которая
характеризуется максимальными монтажными параметрами, для этой группы подбираем
монтажный кран с необходимыми характеристиками.
Первоначально определяем параметры крана из условия монтажа фермы
(наиболее высокий элемент).
Требуемая грузоподъёмность крана определяется как сумма масс элементов,
навешиваемых одновременно на крюк крана:
, кг,
(3.1)
где
-масса монтируемого элемента;
-масса
стропов;
Минимальное
требуемое расстояние от уровня стоянки крана до верха строп
, м,
(3.2)
где
- превышение опоры монтируемого элемента над нулевой
отметкой, м;
-запас
высоты, м (принимается 0,5м);
- высота
элемента, м;
- высота
строп, м.
Требуемый
вылет стрелы:
,м, (3.3)
е-половина
толщины конструкции стрелы на уровне вероятных касаний, м (ориентировочно
0,5м);
d- минимальный
зазор между стрелой крана и конструкциями здания, м (принимаем 1м);
- высота
оси крепления шарнира стрелы на уровне стоянки крана, м (ориентировочно 1,5м);
-
расстояние от оси вращения крана до оси шарнира крепления стрелы, м
(ориентировочно 1,5м);
-
расстояние от крайней конструкции здания до центра тяжести монтируемого
элемента, м;
- высота
полиспаста, м (ориентировочно 1,5м).
Необходимая
длина стрелы:
(3.4)
Максимальные
параметры крана требуются при монтаже фермы, поэтому окончательно для монтажа
всех элементов выбираем кран: МКГ-25 со стрелой 17,5 м с гуськом 5м.
3.6 Технико-экономические показатели
.6.1 Определение трудоемкости и продолжительности
монтажных работ
Основным документом, определяющим затраты труда, стоимость,
продолжительность работ является калькуляция (таблица 3.5). Объемы работ
берутся из таблицы 3.4.
Суммарное время работы крана определяет общую продолжительность монтажных
работ. Состав комплексной бригады определяем по ежедневному участию в монтаже
рабочих различной квалификации.
Затраты труда:
ЗТ = Нвр × V, чел×ч; (3.5)
где Нвр - норма времени на выполнение единицы работы;
V-
объем работы.
Зарплата:
ЗП = Расц × V, руб; (3.6)
где ЗП - зарплата звена монтажников на весь объем;
Расц - расценка на выполнение единицы работы.
Таблица 3.5 - Калькуляция затрат труда и машинного времени
|
Наименование работ
|
Ед. изм.
|
Количество
|
Параграф ЕНиР
|
Состав звена
|
На единицу
|
На весь объем
|
|
|
|
|
|
Нвр , чел. час.
|
Расценка,р.
|
Трудоемкость
|
Зарплата, р.
|
|
1
|
2
|
3
|
4
|
5
|
6
|
7
|
8
|
9
|
|
Выгрузка колонн массой до
1,5 т
|
100 т
|
0,16
|
Е1-5, т.2, стр. 2, а, б
|
МК4-1 Т2-2
|
6,1 12,2
|
4-85 5-76
|
1,01 0,92
|
0-78 0-92
|
|
Монтаж колонн
|
1элемент
|
43
|
Е5-1-9 стр.1, а, б
|
3,5 7 3,5 0,7
|
2-83 0-74,2
|
150,5 301 150,5 30,1
|
121-69 31-91
|
|
1 т
|
16
|
Е5-1-9 стр.2, а, б
|
М6-1 М4-2 М3-1 МК6-1
|
0,75 1,5 0,75 0,15
|
0-60,6 0-15,9
|
12 24 12 2,4
|
9-70 2-55
|
|
Выгрузка связей массой до
0,5 т
|
100 т
|
0,05
|
Е1-5, т.2, стр.1, а, б
|
МК4-1 Т2-2
|
11,0 22,0
|
8-75 10-57
|
0,55 1,1
|
0-43,8 0-52,8
|
|
Монтаж связей
|
1 элемент
|
15
|
Е5-1-6 Т.2, Стр 1,3,г
|
М5-1 М4-1 М3-1 МК6-1
|
0,21 0,21 0,21 0,21
|
0-51,2 0-22,3
|
3,15 3,15 3,15 3,15
|
7-68 3-35
|
|
1 т
|
5
|
Е5-1-6 т.2, стр 2, 4, г
|
М5-1 М4-1 М3-1 МК6-1
|
1 1 1 1
|
2-40 1-06
|
5 5 5 5
|
12 12
|
|
Сварка стыков связей
|
10м
|
3,7
|
Е22-1-6, 8 д
|
Э5-1
|
2,7
|
3-63
|
9,99
|
13-43,1
|
|
Выгрузка ригелей массой до
0,5 т
|
100 т
|
0,036
|
Е1-5, т.2, стр.1, а, б
|
МК4-1 Т2-2
|
11,0 22,0
|
8-75 10-57
|
0,396 0,79
|
0-315 0-38,1
|
|
Монтаж ригелей
|
1элемент
|
6
|
Е5-1-6 т.2, стр.1, 3, б,
|
М5-1 М4-1 М3-1 МК6-1
|
0,3 0,3 0,3 0,3
|
0-24 0-10,6
|
1,8 1,8 1,8 1,8
|
1-44 0-63,6
|
|
1 т
|
3,6
|
Е5-1-6 т.2, стр.2, 4, б,
|
М1-1 М4-1 М3-1 МК6-1
|
0,33 0,33 0,33 0,33
|
0-80 0-35
|
1,19 1,19 1,19 1,19
|
2-88 1-26
|
|
Справка стыков ригелей
|
10 м
|
4,99
|
Е22-1-6 9 д
|
Э5-1
|
2,7
|
4-19
|
13,47
|
20-95
|
|
Выгрузка ферм массой до 2 т
|
100 т
|
0,076
|
Е1-5, т.2, стр. 2, а, б
|
МК4-1
|
6,1 12,2
|
4-85 5-76
|
0,46 0,93
|
0-37 0-44
|
|
Монтаж ферм
|
1элемент
|
11
|
Е5-1-6 т.2, стр.1, 3, а,
|
М6-1 М4-3 М3-1 МК6-1
|
0,58 1,74 0,58 0,58
|
2-40 0-61,5
|
6,38 19,14 6,38 6,38
|
26-4 6-76,5
|
|
1 т
|
7,6
|
Е5-1-6 т.2, стр.2, 4, а,
|
М6-1 М4-3 М3-1 МК6-1
|
0,11 0,33 0,11 0,11
|
0-43,8 0-11,7
|
0,76 2,28 0,76 0,76
|
3-33 0-88,9
|
|
Постановка болтов
|
100 шт
|
8,8
|
Е5-1-19 стр.1
|
М4-1 М3-1
|
5,75 5,75
|
8-57
|
50,6 50,6
|
75-41,6
|
|
Монтаж стеновых
сэндвич-панелей
|
100 шт
|
1,72
|
|
М6-1 М4-3 М3-1 МК6-1
|
74,24
|
82-13
|
127,7
|
141-26
|
|
Монтаж кровельных
сэндвич-панелей
|
100 шт
|
1,6
|
|
М6-1 М4-3 М3-1 МК6-1
|
74,24
|
82-13
|
118,784
|
131-40,8
|
|
|
|
|
|
|
|
|
|
|
Для выполнения монтажных работ принимаем звено:
МК6-1;
М5-1;
М6-1;
М4-2;
М3-1;
Э5-1.
3.6.2 График производства работ
График составляется на основе калькуляции трудовых затрат и нормативной
продолжительности работ в табличной форме.
Наименование работ записывается в соответствии с принятой технологической
последовательностью монтажа.
Значение трудоемкости на весь объем работ:
ЗТ = ЗТ (чел. × ч) / 8,2 , (чел. × дн.),
где ЗТ (чел. × ч) - затраты труда;
,2 - продолжительность одной смены, ч.
Продолжительность работ:
Т=ЗТ (чел. × ч.) /8,2N ,
(дн.),
где N - кол-во рабочих в одном звене
монтажников.
Определив продолжительность, взаимно увязывают работы во времени.
Выбирают монтажные работы, оказывающие влияние на продолжительность монтажа
(установка колонн, монтаж связей, ферм). Устанавливают последовательность и
совмещенность ведущих монтажных работ, подчиняя темпу их выполнения остальные
виды работ (заделка стыков, постановка болтов), с тем расчетом, чтобы
обеспечить устойчивость в любой момент времени каждого возводимого элемента и
здания в целом.
4. ОРГАНИЗАЦИОННЫЙ РАЗДЕЛ
4.1 Анализ условий строительства
Проект реконструкции школы разработан для района строительства со
следующими характеристиками:
район строительства - пос. Октябрьский;
характер строительства -пристройка;
существующая застройка - имеется;
площадка свободна от зеленых насаждений.
Наличие постоянных инженерных коммуникаций.
Источники водоснабжения - питьевая вода для нужд строителей, а так же для
технологических нужд используется из существующей системы водоснабжения.
Канализация - сточные бытовые воды собираются в существующую сеть
канализации. Отработанная технологическая вода собирается в ёмкости и вывозится
с объекта на утилизацию строительных отходов.
Источником покрытия потребности в рабочей силе являются кадровые рабочие
генподрядчика. Строительными механизмами строительство обеспечивается так же
генподрядчиком.
4.2 Природно-климатические условия строительства
Характеристики:
температура наружного воздуха наиболее холодных суток - 450С;
температура наружного воздуха наиболее холодной пятидневки - 370С;
средняя температура воздуха наиболее холодного периода -10,150С;
-
расчетная снеговая нагрузка - 2,4 кН/
;
значение
ветрового давления - 0,17 кПа;
продолжительность
зимнего периода - 236 суток;
рельеф
местности - ровный;
глубина
промерзания грунтов - 1,5 м;
особые
условия - нет.
4.3 Общая организация работ
Для
того что бы объект был сдан качественно и в установленные сроки, организация
строительного производства должна обеспечивать целенаправленность всех
организационных, технических и технологических решений.
Строительство
каждого объекта допускается осуществлять только на основе предварительно
разработанных решений по организации строительства и технологии производства
работ. Состав и содержание проектных решений и документации в проекте
организации строительства и проектах производства работ определяются в
зависимости от вида строительства и сложности объекта строительства.
Строительство
объекта следует организовывать с учетом целесообразного расширения
технологической специализации в выполнении строительно-монтажных работ.
Применять в строительстве такие организационные формы управления, которые
основаны на рациональном сочетании промышленного и строительного производства.
Во
время строительного производства должны обеспечиваться:
согласованная
работа всех участников строительства объекта. Координацией их деятельности
занимается генеральный подрядчик, решения которого по вопросам, связанным с
выполнением утвержденных планов и графиков работ, являются обязательными для
всех участников независимо от ведомственной подчиненности;
своевременная
комплектная поставка материальных ресурсов в сроки, предусмотренные
календарными планами и графиками работ;
соблюдение
технологической последовательности при выполнении строительных, монтажных и
специальных строительных работ;
соблюдение
правил техники безопасности;
соблюдение
требований по охране окружающей природной среды.
Выполнение
работ сезонного характера (включая отдельные виды подготовительных работ)
необходимо предусматривать в наиболее благоприятное время года в соответствии с
решениями, принятыми в проекте организации строительства.
При
организации строительного производства должно предусматриваться своевременное
строительство подъездных путей, создание складских помещений и площадок.
Обязательна подготовка помещений жилищного и социально-бытового назначения и
коммунального хозяйства в объеме, необходимом для нужд строительства.
Когда
строительство осуществляется в условиях сложившейся городской застройки
необходимо согласовывать с органами государственного надзора и местной
администрацией следующие условия: условия производства работ с выделением
опасных зон, границ и осей подземных сооружений и коммуникаций, схемы движения
транспорта и пешеходов для обеспечения безопасных подъездов и подходов к
действующим предприятиям.
4.4 Стройгенплан объекта
На строительном генеральном плане нанесены контуры реконструируемого
здания.
В зоне размещения монтажного механизма показаны опасные зоны. Соблюдается
свободный проход между зданием и краном. Также соблюдается минимальная ширина
дорог - 5 м.
Временные здания расположены вне зоны действия монтажного механизма.
Расстояние между временными зданиями не менее одного метра.
4.5 Расчет численности
персонала строительства
Расчётная численность персонала строительства определяется по формуле:
=1,06(No+Nнеосн+Nитр+Nмоп+Nучен),чел, (4.1)
где 1,06- коэффициент, учитывающий отпуска и невыходы рабочих по
болезни;- максимальная численность рабочих основного производства в одну смену.
Численность рабочих основного производства определяется как максимальная
численность рабочих в 1 смену, No=26чел.
неосн-20%отNo, (4.2)итр-6-8%от(No+Nнеосн), (4.3)моп-4%от(No+Nнеосн),
(4.4)учен-5%от(No+Nнеосн), (4.5)
N=1,06
(26+5+2+1+1)=1,06×21=37чел.,
количество мужчин - 30 чел;
количество женщин - 7 чел.
4.6 Расчет временных зданий и
сооружений
Временные здания служат только на период строительства к ним относятся
подсобно-вспомогательные и обслуживающие объекты для обеспечения производства
строительно-монтажных работ. От точного расчета потребности, правильности
выбора типов зданий и рациональное их размещение зависят затраты на временное
строительство.
Таблица 4.1 - Потребность во временных зданиях и
сооружениях
|
Наименование помещений
|
Нормативный показатель на
1чел. м2
|
Формула подсчета
|
Площадь помещений, м2
|
|
Контора прораба
|
4
|
4 х 1
|
4,0
|
|
Комната приема пищи
|
0.25
|
0,25 х 37
|
9,25
|
|
Вагончик для рабочих
|
0,6
|
0,6 х 37
|
22,2
|
|
Помещение для обогрева
|
0,1
|
0,1 х 37
|
3,7
|
|
Сушилка
|
0,20
|
0,2 х 37
|
7,4
|
|
Уборная
|
0,1
|
0,1 х 26 х 0,3
|
1,0
|
Примечание:
помещение для личной гигиены женщин расположено в
женской части туалета;
площадки для отдыха, мест курения и т.п. должны
предусматриваться общей площадью 0.2 м2 на работающего.
Подбор временных зданий произведен в соответствии с
численностью рабочих, занятых в производстве.
4.7 Расчет потребности в
ресурсах
.7.1 Расчет потребности в
воде
Вода на строительной площадке используется на
хозяйственно - бытовые и производственные нужды и пожаротушения.
Общая потребность в воде:
Р = Рпожар + 0,5 (Рхоз+ Рпр), л/сек (4.6)
где Рпожар - принимается в зависимости от S застройки
до 30 га- 10 л/сек,
до 50 га - 20 л/сек;
Рпожар=10 л/сек;
Рхоз - расход на хозяйственно-бытовые
нужды:
Рхоз =Рхоз// , л/сек; (4.7)
Рхоз' - расход воды на принятие душа, л
/сек ;
Рхоз" - расход воды на другие нужды
(умывание, принятие пищи), л/сек:
, (4.8)
где
в - норма водопотребления на 1 человека в смену; при отсутствии
канализации 10-15 л; при ее наличии - 20-25 л;
к2 - коэффициент неравномерности потребления воды
1,2-1,3;
п - продолжительность рабочей смены, в час.
Рпр - расход воды на производственные нужды:
, (4.9)
где
1,2 - коэффициент на неучтенные потребности;
к3 - коэффициент неравномерности водопотребления равен
1,3-1,5;
Sq - суммарный расход воды в смену в л, на
производственные нужды по норме.
,
,
Р
= 10 + 1/2 (0,033+0,018)=10,026 л/сек.
По
требуемому расходу воды определяем диаметр временного трубопровода
, (4.10)
где
;
V - скорость
воды в трубах временного водопровода;
V = 2 м/с по
[9].
Принимаем
Д = 100 мм
4.7.2 Расчет потребности в электроэнергии
Электроэнергия
при строительстве расходуется:
на
питание силовых потребителей;
технологические
нужды;
внутреннее
освещение зданий и сооружений;
наружное
освещение строительной площадки, дорог и т.д.
Требуемая
мощность трансформаторной подстанции определяется по формуле:
(4.11)
где
1,1 - коэффициент, учитывающий потери в сети;
к1,
к2, к3, к4 - коэффициенты спроса
учитывающие несовпадение нагрузок:
к1 = 0,3 - 0,8 , примем 0,36- средняя для механизмов;
к2 = 0,7; к3 = 0,8; к4 = 1;
SРсил - сумма мощностей силовых потребителей, кВт;
SРтехн - сумма мощностей аппаратов, участвующих в
технологическом процессе, кВт;
SPов, Pон - сумма мощностей приборов внутреннего и наружного
освещения;
cosj1, cosj2 -
коэффициент мощностей, зависящий от загрузки потребителей; cosj1 = 0,6; cosj2 = 0,75.
Таблица
4.2 - Потребители энергии
|
Наименование
|
Мощность, кВт
|
|
Технологические
потребители: сварочный аппарат ТД-300 электрокраскопульт СО-61 растворонасос
СО-496 трамбовка ТВЭ-1 Наружное освещение: прожектор ПКН-1000 с лампой ПЖ-53
Внутреннее освещение: - помещения временные
|
20 0,27 0,25 4 20,9
|
,
Подбираем
1 трансформатор площадь которого близка к расчетной, КТПМ-100-100 кВт.
Сечение
проводов во временной электросети:
, мм,
(4.12)
где
Руч - сумма мощностей потребителей на рассматриваем участке сети, кВт;
L - длина
участка, м;
q - удельная
проводимость материала провода:
медь
- 57;
алюминий
- 34,5;
сталь
- 20;
U -
номинальное напряжение: для силовых - 380В, освещение - 220В;
,
принимаем
диаметр 1,8мм ;
,
принимаем
диаметр 6 мм.
Необходимо
взять 2 подстанции СКТП-100-6/10/0.4, мощностью 20 кВт*А.
4.7.3 Расчет потребности в тепле
Тепло
на строительной площадке используется на отопление зданий или технические
нужды.
Общая
потребность тепла для строительных нужд:
, (4.13)
где
Q1 - расход
тепла на отопление здания;
Q2 - расход тепла на технологические нужды;
k1 - коэффициент учитывающий потери в сети, k1 = 1,15;
k2 - коэффициент неучтенные расходы тепла, k2 = 1,2.
, (4.14)
где
a - коэффициент, зависящий от расчетной температуры
наружного воздуха:
tн ≥ -
10°С => а =1,2;
tн ≥ -20°C
=> a= 1,1;
tн ≥ -30°C
=> а=1.
q - удельная
тепловая характеристика здания 2,5кДж/м3*час*гр;
V - объем
здания по наружному обмеру, м3
;
tB -
расчетная температура внутри помещения 18ºС ;
tH -
расчетная температура наружного воздуха -32ºС;
Q2 - зависит от времени, вида и объема работ.
4.8 Расчет потребности в транспортных средствах
Требуемое количество машино-смен работы автотранспорта определяется по
формуле:
, (4.15)
где
Q - количество перевозимого однородного вида груза, т;
Рсм - сменная производительность транспорта
т /см
(4.16)
где
пр - количество рейсов в смену
q -
паспортная грузоподъемность машины, т
кгр - коэффициент использования грузоподъемности машины в
зависимости от вида груза.
Количество
рейсов в смену:
, (4.17)
где
Т - продолжительность смены в час;
=8,2 ч;
tnp - нормативное
время погрузоразгрузочных работ в часах;
L -
расстояние перевозки, км ;
V
- средняя скорость движения в
условиях мороза, V=20 км/ч ;
Перевозка
железобетона (плиты перекрытия, фундаментные блоки):
Q= 326, 35т;
L =100 км; tnp = 0,4час,
1 рейс в
смену,
Рсм=1
· 10 · 1,1 =11 т/см,
N = 326,35/11 =
29,67 машино-смен.
Принимаем 4 автомашины КамАЗ-5511 грузоподъемностью q = 10 т, которые будут работать 8
смен.
4.9 Расчет площадей складов
материалов, изделий и конструкций
Требуется площадь склада для хранения однородного
груза:
где
Р - запас материалов в натуральных единицах (шт.м2):
,шт.,
(4.19)
где
Q - количество однородных материалов для объекта (в
натуральных единицах);
Т - продолжительность выполнения работ с использованием
данного материала, дн.;
п - норма запаса материалов, при автомобильных перевозках
п = 2 - 5 дней;
к - коэффициент неравномерности снабжения, к =
1,2;
r - норма
хранения материала на 1 м2 площади;
кп - коэффициент учитывающий проходы на складах:
закрытые
- кп = 0,5 - 0,7;
открытые
- кп = 0,4 - 0,5.
Складские
помещения:
а) Плиты перекрытия:
P=(82/5)х3х1,2=59
шт,
S=59/1х0,5=
29,5 м2.
б) Колонны и балки:
P=(270/5)
х 3х 1,2=194 шт,
S=194/3х0,5=
32,4м2.
4.10 Технико-экономические
показатели
Таблица 4.3 - Технико-экономические показатели ППР
|
Наименование показателей
|
Ед. измер.
|
Количество
|
|
1 Площадь стройплощадки
|
м2
|
5976
|
|
2 Площадь бытовых
помещений
|
м2
|
38,6
|
|
3 Площадь открытых складов
|
м2
|
61,9
|
|
4 Длина временной дороги
|
м
|
261
|
|
5 Длина временного
ограждения
|
м
|
358
|
|
6 Длина линии освещения
|
м
|
350
|
|
7 Длина противопожарного
водопровода
|
м
|
33
|
|
8 Длина временной
канализации
|
м
|
28
|
|
9 Длина временного
водопровода
|
м
|
42
|
|
10 Площадь застройка
|
м2
|
1787
|
5. безопасность жизнедеятельности
.1 Анализ опасных и вредных производственных факторов при
организации отделочных работ на объекте
Вредными производственными факторами называются такие,
факторы, воздействие которых на работающего может привести к заболеванию или
снижению работоспособности.
Физические факторы:
влажность;
производственный шум;
тепловое излучение;
вибрация (локальная, общая);
освещение - естественное (отсутствие или
недостаточность), искусственное (недостаточная освещенность, пульсация
освещенности, избыточная яркость, высокая неравномерность распределения
яркости, прямая и отраженная слепящая блесткость).
аэрозоли (пыли)
Химические факторы:
летучие органические соединения, используемые в
производстве отделочных материалов.
повышенная загрязненность воздуха, кожных покровов,
спецодежды пылью.
применение различных растворов и химических материалов
в зимний период в отделочных работах.
Опасными производственными факторами называют
такие факторы, воздействие которых на работающего в определенных условиях
приводят к травме или другим профессиональным заболеваниям.
Высотные работы, когда рабочее место расположено на
значительной высоте. Следствием этого могут являться: падение человека с
высоты, падение различных предметов с высоты на человека.
Так же опасными факторами при отделочных работах
являются острые кромки, заусенцы и шероховатость на поверхностях заготовок,
инструментов и оборудования (для стекольных и облицовочных работ).
Воздействие электрического тока.
5.2 Меры по обеспечению
безопасных и здоровых условий труда
.2.1 Техника безопасности при
штукатурных работах
При выполнении штукатурных работ причинами
производственного травматизма чаще всего являются: падение работающих с высоты
или обрушение лесов, подмостей; вредное воздействие на рабочих извести и других
химических материалов, применяемых при работе в зимний период; ожоги при
применении растворов с негашеной известью и т. д.
Внутренние штукатурные работы производят со
специальных передвижных столиков и подмостей, а на лестничных клетках- с
подмостей (столиков), имеющих разную длину опорных стоек. Наружные штукатурные
работы осуществляют с разборных металлических или деревянных лесов . Для зданий
большой высоты применяют подвесные леса и люльки. Не в коем случае нельзя
использовать в качестве лесов или для их изготовления случайные предметы
(приборы отопления, раковины, бочки).
Особой осторожности и соблюдения техники безопасности
требуется при эксплуатации машин, работающих под давлением.
При работе в зимний период, при отсутствии системы
отопления, помещения, которые оштукатуривают, просушивают специальными
нагревательными приборами (калориферами, газовыми горелками, электрокалориферами
или воздухонагревателями, работающими на жидком топливе). Запрещается применять
для сушки и обогрева помещений приборы и приспособления выделяющие в помещение
продукты сгорания топлива. При эксплуатации электрических калориферов соблюдают
правила безопасности при работе электрических установок. В просушиваемых
помещениях рекомендуется находиться не более 3 ч в день.
5.2.2 Техника безопасности
при малярных работах
При производстве малярных работ на работающих
оказывают свое воздействие следующие вредные факторы: выделение пыли при
смешивании сухих материалов и при шлифовке поверхностей, распыление краски в
окружающую среду при механизированном нанесении, выделение вредных паров,
веществ и газов при высыхании лакокрасочных составов.
Во время предварительной подготовки поверхностей
шлифованием, сглаживанием и другими методами, а также при очистке конструкций
рабочие используют шлемы, защитные очки и респираторы. Рабочих, применяющих
электрические щетки и шлифовальные аппараты, обеспечивают резиновыми перчатками,
а в сырых местах - резиновой обувью - сапогами или галошами. В помещениях
должно быть обеспечено непрерывное сквозное проветривание или принудительная
вентиляция.
Малярные составы, приготовляются централизованно в
специальных помещениях, оборудованных вентиляцией и не допускающих превышения
предельно допустимых концентраций вредных веществ в воздухе.
При выполнении малярных работ широко применяют
различные машины с электрическим приводом (электрощетки, электрокраскопульты
итд.), при пользовании которыми необходимо соблюдать правила
электробезопасности. При работе на высоте необходимо соблюдать технику
безопасности при эксплуатации лесов, подмостей и люлек.
Малярные работы, которые выполняются внутри помещений
с применением вреднодействующих составов производят только с обеспечением
надлежащей вентиляции: при открытых окнах, не допуская при этом сквозняков; при
наличии вентиляционной системы, обеспечивающей не менее чем двукратный обмен
воздуха в течение 1 ч.
Применение огня или действий вызывающих искрообразование
запрещается в местах применения нитрокрасок и других лакокрасочных материалов,
образующих взрывоопасные пары. Эти помещения должны быть первоначально
обесточены на весь период работ, либо проводка в них должна быть выполнена во
взрывобезопасном исполнении.
В помещениях, свежеокрашенных масляными красками или
нитрокрасками, запрещается находиться больше 4 ч. В процессе высыхания масла
происходит поглощение кислорода и выделение углекислого газа, что может вызвать
отравление. Все работающие, подвергающиеся воздействию вредных или ядовитых
веществ, обязаны через каждые три месяца проходить медицинский осмотр.
При производстве малярных работ рабочих обеспечивают
спецодеждой, защитными очками с плотной оправой и респираторами.
Применение большого количество пожароопасных
растворителей и материалов при малярных работах требует особого внимания к
средствам пожаротушения. Оборудование должно быть легкодоступным, в состоянии
постоянной готовности для пользования, и окрашено в ярко-красный цвет.
5.2.3 Техника безопасности
при стекольных работах
Стекло - это достаточно хрупкий материал, который
может причинить серьезные порезы и ранения.
К самостоятельному выполнению стекольных работ
допускаются лица не моложе 18 лет, прошедшие медицинский осмотр, специальное
обучение, инструктаж по охране труда на рабочем месте.
При стекольных работах большое значение имеет
правильная организация работ. Работу следует выполнять на исправном
оборудовании, пользоваться исправными инструментами, приспособлениями и только
по их прямому назначению. Работник должен быть обеспечен специальной одеждой,
обувью и другими средствами индивидуальной защиты в соответствии с
установленными нормами. Переносить стекло следует сбоку от него, запрещается
переносить стекло, держа его перед собой, а также в горизонтальном положении.
Переносить стекла нужно с помощью вакуум-присосов, либо его берут руками,
обязательно в рукавицах, снизу и сверху. До начала работ следует визуально
проверить прочность и исправность оконных переплетов. При удалении отходов
стекла необходимо пользоваться рукавицами, складывая отходы в специальные
ящики.
При работе на высоте необходимо соблюдать требования
по охране труда при выполнении работ на высоте. Выполнение работ на высоте
более 3 м без специального ограждения возможно только с предохранительным
поясом. Одновременное производство стекольных работ на нескольких ярусах (по
высоте) без соответствующих ограждений не допускается.
Для раскроя стекла используют специальный
стол-верстак, поверхность которого обшита войлоком или сукном. Во избежание
получения травмы запрещается выполнять раскрой и резку стекла в вертикальном
положении или расположив его на колене либо каких-либо случайных подставках.
При раскрое, резке стекла, очистке рам от старых стекол следует надевать
защитные очки, при необходимости - рукавицы. При сверлении в стеклах отверстий
для установки болтов пользуются защитными очками, а сверло смазывают
скипидаром.
В зимнее время стекольные работы разрешается вести
только в утепленных и отапливаемых помещениях. Выполнять наружные стекольные
работы при отрицательной температуре допускается только в тех случаях, когда
невозможно снять и перенести переплеты.
5.2.4 Техника безопасности
при облицовочных работах.
При облицовочных работах, как и при других отделочных
работах, главными условиями безопасности являются правильная организация труда
и содержание в исправности применяемых инструментов, лесов, подмостей,
использование специальной защитной одежды и приспособлений. Для зашиты от
механических воздействий облицовщики обязаны использовать комбинезоны
хлопчатобумажные, рукавицы комбинированные, в зимний период года - костюмы на
утепляющей прокладке и валенки. На территории стройплощадки облицовщики должны
носить защитные каски. При обработке камней следует использовать респиратор и
защитные очки, а при выполнении работ с применением кислоты - резиновые сапоги,
перчатки и фартуки.
Обработку камней и других облицовочных материалов в
пределах строительной площадки производят в отдельных огражденных местах на
расстоянии не менее 3 м одно от другого. Если нет возможности соблюсти данное
расстояние, то между ними устанавливают щиты для предотвращения ранения рабочих
осколками камней. Во время сухой обработки облицовочных материалов внутри
помещений у рабочих мест устанавливают пылеотсасывающие устройства.
При облицовке поверхностей керамическими плитками
наиболее опасными считаются: подколка, подрезка, сверление плиток, подготовка
поверхностей и работа с растворами и мастиками. Подколку, подрезку и сверление
плиток выполняют только исправными инструментами и приспособлениями. При
укладке облицовочных плиток на цементном растворе пользоваться тонкими
резиновыми перчатками, при этом предварительно натерев руки тальком или
порошком из мела. При укладке облицовочных материалов на горячие мастики
разогревать и переносить мастику следует в заправленной брезентовой одежде,
рукавицах и закрытой обуви. Перенос мастики следует производить в бачках,
специально предназначенных для этих целей и оборудованных крышками с
запирающимися устройствами. Работы с применением кислоты следует выполнять в
защитных очках, а также в резиновых сапогах, перчатках и фартуке. Раствор
необходимо приготавливать вливанием кислоты в воду. Помещения, в которых
выполняются работы с применением кислоты, необходимо оборудовать вентиляцией
или регулярно проветривать.
При использовании абразивного инструмента следует
убедиться в отсутствии трещин на абразивном круге.
Средства подмащивания необходимо применять
инвентарные, оборудованные специальными ограждениями. Наружные облицовочные
работы на лесах при изменении погодных условий (снегопад, туман или гроза),
ухудшающих видимость, а также при усилении ветра до скорости 15 м/с и более
следует прекратить.
5.3 Расчет времени эвакуации из здания
пристройки
Степень огнестойкости здания - II
Степень функциональной пожарной опасности - Ф4.1 .
Класс конструктивной пожарной опасности здания - С0, С1 для здания
пристройки.
Расчетное время эвакуации людей из помещений и зданий устанавливается по
расчету времени движения одного или нескольких людских потоков через
эвакуационные выходы от наиболее удаленных мест. В качестве эвакуационных
выходов можно использовать все выходы.
Расчетное время эвакуации людей tр следует определять как сумму
времени движения людского потока по отдельным участкам пути ti по формуле:
(5.1)
где
t1 - время движения людского потока на первом (начальном) участке, мин;
t2, t3,...,
ti -
время движения людского потока на каждом из следующих после первого участка
пути мин.
Время
движения людского потока по первому участку пути t1, мин,
вычисляют по формуле:
(5.2)
где
l1 - длина первого участка пути, м;
v1, - значение скорости движения людского потока по
горизонтальному пути на первом участке, определяется в зависимости от плотности
D, м/мин.
Плотность
людского потока D1 на первом участке пути, м2/м2, вычисляют по формуле:
(5.3)
где
N1 - число людей на первом участке, чел.;
f - средняя
площадь горизонтальной проекции человека, принимаемая равной, м2;
|
взрослого в домашней одежде
|
0,1
|
|
взрослого в зимней одежде
|
0,125
|
|
подростка
|
0,07
|
d1, - ширина первого участка пути, м.
Скорость v1 движения
людского потока на участках пути, следующих после первого, принимается в
зависимости от значения интенсивности движения людского потока по каждому из
этих участков пути, которое вычисляют для всех участков пути, в том числе и для
дверных проемов, по формуле:
(5.4)
где
di, di-1 -
ширина рассматриваемого i-гo и
предшествующего ему участка пути, м;
qi,qi-1 -
значения интенсивности движения людского потока по рассматриваемому i-му
и предшествующему участкам пути, м/мин, значение интенсивности движения
людского потока на первом участке пути (q=qi-1),
определяемое по значению D1 установленному по формуле (5.3)
Табличное
значение интенсивности движения в дверном проеме при плотности потока 0,9 и
более, равное 8,5 м/мин, установлено для дверного проема шириной 1,6 м и более,
а при дверном проеме меньшей ширины d интенсивность
движения следует определять по формуле:
(5.5)
Если
значение qi,
определяемое по формуле (5.4), меньше или равно значению qmax, то время
движения по участку пути ti в
минуту:
,мин,
(5.6)
при
этом значения qmax
следует принимать равными, м/мин:
|
для горизонтальных путей
|
16,5
|
|
для дверных проемов
|
19,6
|
|
для лестницы вниз
|
16
|
|
для лестницы вверх
|
11
|
Если
значение qi, определенное по формуле (5.4), больше qmax,
то ширину di
данного участка пути следует увеличивать на такое значение, при котором
соблюдается условие:
, (5.7)
При
невозможности выполнения условия (5.7) интенсивность и скорость движения
людского потока по участку пути i определяют по табл. при
значении D=0,9 и более. При этом должно учитываться время задержки
движения людей из-за образовавшегося скопления.
При
слиянии вначале участка i двух и более людских потоков интенсивность движения qi,
м/мин, вычисляют по формуле:
,м/мин,
(5.8)
где
qi-1 -
интенсивность движения людских потоков, сливающихся в начале участка i, м/мин.
di-1 - ширина
участков пути слияния, м;
di - ширина
рассматриваемого участка пути, м.
Если
значение qi,
определенное по формуле (5.8), больше qmax, то ширину di данного участка пути следует увеличивать на такую величину, чтобы
соблюдалось условие (5.7). В этом случае время движения по участку i
определяется по формуле (5.6).
Для
обеспечения безопасной эвакуации людей расчетное время не должно быть больше
необходимого времени эвакуации.
t≤tнб
(5.9)
При
расчете весь путь движения людского потока разделяют на участки.
Время
движения людского потока по первому участку пути определяется по формуле (5.6).
Для этого определяем плотность людского потока на первом участке D1:
D1=(20·0,07)/(10·1,6)=0,09
м/мин;
q1=7,4 м/мин; v1=84м/мин;
t1=10/84=0,12 мин.
На
втором участке:
D2=(30·0,07)/(20·2,2)=0,05м/мин;
q2=6,42 м/мин; v2=100
м/мин; t2=20/100=0,2 мин.
На
третьем участке происходит слияние людских потоков:
D3=(50·0,07)/(26·1,6)=0,08
м/мин;
q3= 6,8м/мин; v3=88
м/мин; t3=26/88=0,3 мин
На
четвертом участке происходит слияние людских потоков:
D4=(120·0,07)/(18·3)=0,16
м/мин;
q4= 10,3м/мин; v4=68
м/мин; t4=18/68=0,26 мин
На
пятом участке:
D5=(50·0,07)/(16·3)=0,07
м/мин;
q5= 7,14м/мин; v5=98
м/мин; t5=16/98=0,16 мин
На
шестом участке:
D6=(50·0,07)/(28·3)=0,042
м/мин;
q6= 4,17м/мин; v6=100
м/мин; t6=28/100=0,28 мин
На
седьмом участке происходит слияние людских потоков
tр=0,12+0,2+0,08+0,26+0,16+0,28=1,41
мин =1 мин 6с
tнб=2 мин
Вывод:
tp<tнб - обеспечивается безопасная эвакуация людей.
5.4 Действия в условиях ЧС
Весь
персонал независимо от занимаемой должности, обязан четко знать и строго
выполнять установленный порядок действий при угрозе и возникновении ЧС мирного
и военного времени и не допускать действий, которые могут вызвать угрозу жизни
и здоровью людей.
При
обнаружении пожара или признаков горения (задымление, запах гари, повышение
температуры и т.п.) каждый работник обязан должен:
сообщить
об этом по телефону 01 или 112 в службу спасения, при этом необходимо назвать
адрес, место возникновения пожара, свою фамилию и другие сведения необходимые
диспетчеру;
сообщить
о пожаре по телефону дежурному по зданию;
оповестить
руководителей организации о пожаре;
принять
необходимые меры по оповещению и эвакуации детей из опасной зоны;
приступить
к тушению пожара подручными средствами только в случае отсутствия явной угрозы
жизни и наличию возможности покинуть опасное место в любой момент .
Руководители
и должностные лица организаций, лица, назначенные ответственными за обеспечение
пожарной безопасности, по прибытии к месту пожара должны:
сообщить
о возникновении пожара в пожарную охрану, поставить в известность руководство и
дежурные службы объекта;
в
случае угрозы жизни людей немедленно организовать их спасание, используя для
этого имеющиеся силы и средства;
проверить
включение в работу автоматических систем противопожарной защиты (оповещения
людей о пожаре, пожаротушения, противодымной защиты);
при
необходимости отключить электроэнергию (за исключением систем противопожарной
защиты), остановить работу транспортирующих устройств, агрегатов, аппаратов,
перекрыть сырьевые, газовые, паровые и водяные коммуникации, остановить работу
систем вентиляции в аварийном и смежном с ним помещениях, выполнить другие
мероприятия, способствующие предотвращению развития пожара и задымления
помещений здания;
прекратить
все работы в здании, кроме работ, связанных с мероприятиями по ликвидации пожара;
удалить
за пределы опасной зоны всех работников и посетителей, не участвующих в тушении
пожара;
осуществить
общее руководство по тушению пожара (с учетом специфических особенностей
объекта) до прибытия подразделения пожарной охраны;
обеспечить
соблюдение требований безопасности работниками, принимающими участие в тушении
пожара;
одновременно
с тушением пожара организовать эвакуацию и защиту материальных ценностей;
организовать
встречу подразделений пожарной охраны и оказать помощь в выборе кратчайшего
пути для подъезда к очагу пожара;
сообщать
подразделениям пожарной охраны, привлекаемым для тушения пожаров и проведения
связанных с ними первоочередных аварийно-спасательных работ, сведения о
перерабатываемых или хранящихся на объекте опасных (взрывоопасных), взрывчатых,
сильнодействующих ядовитых веществах, необходимые для обеспечения безопасности
личного состава.
По
прибытии пожарного подразделения руководитель организации (или лицо, его
замещающее) информирует руководителя тушения пожара о конструктивных и
технологических особенностях объекта, прилегающих строений и сооружений,
количестве и пожароопасных свойствах хранимых и применяемых веществ,
материалов, изделий и других сведениях, необходимых для успешной ликвидации
пожара, а также организовывает привлечение сил и средств объекта к
осуществлению необходимых мероприятий, связанных с ликвидацией пожара и
предупреждением его развития.
6. ЭКОЛОГИЧЕСКИЙ РАЗДЕЛ
Особенности учета экологических факторов при проектировании школьных
учреждений.
Вопросам экологии при проектировании и строительстве школьных зданий
уделяется особое внимание, тем более в последние годы, когда резко повысились
требования к качеству строительной продукции. Прежде всего встали вопросы, из
чего строятся и чем производится отделка зданий детских учреждений и каковы их
особенности в эксплуатации, влияние на детей их здоровье и эмоциональное
состояние. Некачественные строительные и отделочные материалы могут содержать и
выделять вредные химические вещества и соединения. К таким веществам относятся
главным образом низкомолекулярные продукты, выделяющиеся из полимерных
материалов: - остаточные мономеры - формальдегид, фенол, стирол; - органические
растворители - ацетон, бензол, толуол, эфиры и т.п.; - летучие пластификаторы -
например, дибутил-диоктилфталат. Предельно допустимые концентрации (ПДК) - это
максимально допустимое содержание вредных веществ в материалах и покрытиях .
Минздрав России разработал список отделочных материалов, которые имеют
сертификат экологического качества, этот список регулярно обновляется и
дополняетсяновыми материалами. Только те материалы, которые прошли обязательную
сертификацию допускаются к использованию при строительстве и отделочных работах
в зданиях школ, детских садов и других мест с длительным пребыванием детей.
В основе проектирования детских учебных заведений лежит обеспечение
микроклиматического комфорта, защищенности воздушной среды от загрязнения
вредными веществами, сохранение здоровья детей. Так же обязательно учитываются
естественное освещение, инсоляция, воздухообмен, шумовое воздействие, качество
строительных материалов, электромагнитные излучения, все это регламентируется
нормативами.
Экологический фактор является одним из наиболее актуальных при выборе
участка для строительства школьного учреждения наряду с градостроительными и
санитарно-гигиеническими требованиями. Это происходит из-за того, что
неблагоприятные экологические условия оказывают отрицательное действие на
здоровье обучающихся, преподавателей и обслуживающего персонала. Негативные факторы
окружающей среды требуют их обязательного устранения, что влечет за собой
дополнительные финансовые расходы.
Район для строительства школ должен быть экологически благоприятным. Не
допускается соседство здания с железнодорожными путями, автомагистралями, с
промышленными предприятиями, гаражами, стоянками, складами и т.д. Магистральные
инженерные коммуникации городского назначения, такие как водоснабжение,
канализация, теплоснабжении и линии электропередач не должны пересекать
пришкольный участок.
Территории школьных учреждений должны быть сухими, хорошо освещенными,
проветриваемыми, уровень грунтовых вод не должен превышать 0,7 м отметки
спланированной поверхности территории.
Очень важно организовать правильное озеленение участка. Зеленые
насаждения служат естественным натуральным пособием для знакомства детей с
природой и свойствами отдельных растений, помогают воспитывать у них
нравственно-эстетические чувства, сострадание и любовь к природе, повышать
трудолюбие и терпение, развивать мелкую моторику. В связи с этим при озеленении
территорий детских садов, лагерей, школ необходимо использовать по возможности
наиболее разнообразный породный и видовой состав растений.
Незаменимо оздоровительное значение растений, они влияют как на
физическое, так и на эмоциональное самочувствие детей. Насаждения организуют с
учетом частого пребывания детей разных возрастных групп на воздухе во время
занятий физической культурой, природоведеньем, географическими и биологическими
предметами, а так же во время перемен и групп продленного дня. Территории
детских участков должны быть максимально озеленены и изолированы от прилегающих
к ним улиц путем создания пограничных древесно-кустарниковых полос.
Пришкольный зеленый участок должен занимать не менее 45-50% общей
площади, сад планируют с учетом его использования в течение всего учебного
года. Размер площади занимаемой под ее озеленение диктует необходимые
составляющие, которые должны располагаться на отведенной территории:
учебно-опытный сад и огород, декоративные и защитные кустарники и деревья,
цветники, газоны и живые изгороди. Участок под декоративные культуры отводят
вблизи зданий, в зоне ожидания родителей или парадной части предназначенной для
торжественных мероприятий, школьных линеек. Так как в учебных классах должен быть
высокий уровень инсоляции, деревья и кустарники следует располагать так, чтобы
они не затеняли окон (деревья на расстоянии 5-10 м, кустарники - 1,5-6 м в
зависимости от высоты). На всей площади пришкольного участка должны быть
предусмотрены разные виды насаждений: травяное покрытие или газон с травянистым
составом устойчивым к вытаптыванию, цветники, декоративные клумбы с
многолетними и однолетними растениями, неприхотливыми в уходе, кустарники и
деревья, в том числе обязательно хвойные, обеспечивающие наличие зелени в
течение всего года. Так же следует учитывать при озеленении редкие виды
растений произрастающих в регионе. Не следует использовать ядовитые деревья и
кустарники, так же растения с колючками и шипами, исключить растения вызывающие
аллергические реакции.
Участок территории школьных и дошкольных учреждений должен быть
огороженным по периметру от прилегающих территорий, с двумя отдельными входами
и въездами. Обязательно наличие хозяйственного проезда. Хозяйственная площадка
состоит из разворотной площадки перед загрузочной пищеблока и контейнерной
площадки для сбора мусора.
Функциональное зонирование заключается в выделении
необходимых для обучения и отдыха зон: физкультурно-спортивную, зону отдыха,
хозяйственную, учебно-опытную, географическую. Состав и площади зон
рассчитываются исходя из количества учащихся, числа параллелей классов,
соотношения потоков возрастных групп учащихся.
Игровая территория включает групповые площадки, индивидуальные для каждой
возрастной группы. Они формируются с освещенными и затененными участками,
оснащаются спортивным инвентарем и малыми архитектурными формами. Должны быть
пригодны для спокойных и активных игр.
Озеленение территории играет важную роль в санитарно-гигиеническом,
противопожарном и художественном отношении. Функциональная значимость зеленых
насаждений весьма разнообразна: насыщение окружающей среды кислородом, ветровая
защита, а так же деревья и кустарники предохраняют от пыли, вредных газов и
шума. Большую ценность представляет их роль в защите от прямых солнечных лучей
и регулирования пешеходных потоков.
Работы по озеленению территорий - это завершающий этап. Поэтому они
должны проводиться только после завершения строительства или реконструкции,
после того как устроены все проезды, дорожки, площадки с твердым покрытием, и
после уборки строительного мусора. Далее вся площадь засыпается растительным
грунтом. Растительный грунт, который сохраняется в естественном состоянии весь
период строительных и дорожных работ, должен быть подготовлен для проведения озеленения
территории, в соответствии с агротехническими требованиями, соответствующими
климатическим условиям, в котором размещается реконструируемый объект.
Основной въезд на территорию школьных и дошкольных учреждений, проезды,
пешеходные дорожки к детским групповым площадкам, хозяйственный проезд,
хозяйственная площадка и контейнерная площадка для сбора мусора должны иметь
твердое покрытие.
Все площадки соединяют между собой единой дорожкой замкнутой в круг
шириной не менее 1,5 м. Она также может использоваться как беговая в летний
период, для хождения на лыжах - зимой.
Между полосами насаждений следует соблюдать санитарные разрывы:
не менее 3 м между групповыми площадками, между групповой и спортивной
площадками;
не менее 6 м между групповой и хозяйственной площадками; между общей
физкультурной и хозяйственной площадками;
не менее 2 м между ограждением участка и групповыми или общими
физкультурными площадками.
Соблюдение экологических требований необходимо для создания безопасных,
комфортных условия для пребывания детей в образовательных учреждениях.
7.
НАУЧНО-ИССЛЕДОВАТЕЛЬСКИЙ РАЗДЕЛ
7.1 Сравнительный анализ конструкции
сэндвич-панелей
В данном проекте стены пристройки выполнены из сэндвич-панелей. Панели
имеют очень много достоинств, именно поэтому они стали так распространены в
последнее время в строительной индустрии. Они имеют небольшой вес и высочайший
уровень качества. У них прекрасная теплоизоляция, легкость сборки-разборки,
прочность, высокая влагостойкость.
Состав панелей:
. Наружные металлические облицовки, тонколистовая оцинкованная сталь с
полимерным покрытием.
. Минераловатный сердечник (слой утеплителя)
. Адгезионный слой, полиуретановый клей
Рисунок 7.1 - Состав сэндвич-панели
Наружные облицовки. Наружные поверхности обшивки сэндвич-панелей имеют
устойчивое к коррозии полимерное покрытие. Полимерное покрытие обладает высоким
сопротивлением к истиранию, устойчиво к взаимодействию с кислотными средами, а
также к ультрафиолетовому излучению. для покрытия могут применяться: эпоксидное
покрытие, пластоизоль, полиэфирное покрытие, полиуретановый лак,
поливинилденфторид.
Рисунок 7.2 -Типы профилирования металлических облицовок и размеры
панелей
Внутренняя поверхность покрывается защитным лаком толщиной 10 мкм. При
производстве сэндвич-панелей компания используется оень большая палитра цветов
полимерного покрытия.
В качестве теплоизоляционного слоя в панелях используются
теплоизоляционные плиты из минеральной ваты. Поперечно-ориентированные волокна
утеплителя, обеспечивают стабильность механических свойств сердечника и его
плотное приклеивание к стальной облицовке.
Для обеспечения прочностного соединения облицовки и утеплителя
используется высококачественный клей на полиуретановой основе.
Эксплуатационные характеристики трехслойных изолирующих панелей
свидетельствуют о том, что их можно без каких либо ограничений использовать при
строительстве объектов различного назначения как в районах с жарким климатом,
так и в районах с суровым холодным климатом с расчетной зимней температурой
наружного воздуха до -65С.
Высокая теплоизолирующая способность сэндвич-панелей дает возможность в
разы уменьшить толщину ограждающих конструкций и внутренних перегородок при
строительстве зданий различного назначения, что приводит к увеличению полезной
площади.
Рисунок 7.3 - Сравнительная толщина стен из разных строительных
материалов
Чтобы достичь теплоизолирующих свойств ограждающей конструкции сравнимых
с сэндвич-панелью толщиной 80 мм, необходимо изготовить стены толщиной:
мм - из кирпича глиняного обыкновенного;
мм - из кирпича керамического пустотелого;
мм - из керамзитобетона;
мм - из деревянного бруса (сосна, ель)
Описание технологического процесса по монтажу панелей
Преимущества сэндвич панелей
1. Возможность круглогодичного монтажа в любой климатической зоне.
2. Неизмеримо более высокая скорость монтажа по отношению к
строительству из традиционных материалов. Даже небольшая бригада из двух
квалифицированных монтажников и одного грузоподъемного механизма за одну смену
может перекрыть до 200 м2 поверхности. Таких темпов сборки и минимума
трудозатрат не может противопоставить ни одна другая строительная система.
. Сокращение эксплуатационных и накладных расходов на устройство
фундамента.
. В половине случаев заказчику нет необходимости делать внутреннюю
отделку помещений.
Недостатки сэндвич панелей:
1. Сэндвич панели являются самонесущими и не могут взять на себя
существенную дополнительную нагрузку.
2. Есть вероятность повредить полимерное покрытие или замять панель
в процессе монтажа или эксплуатации. В таком случае возможно косметическая
коррекция (царапины), либо замена панели (если она была сломана или замята).
. Возможны промерзания панелей в стыках или образование льда в
точке росы в зимнее время.
. Вздутие металла или деламинирование панели.
Данные проблемы могут возникнуть при несоблюдении технологии изготовления
или монтажа сэндвич-панелей.
Чаще всего сэндвичи монтируются на деревянную, железобетонную или
металлическую несущую конструкцию здания. Способ крепления выбирается в
зависимости от типа конструкции. Для крепления используются специальные
самонарезающиеся винты или специальные крепежные элементы.
Основная проблема при монтаже сэндвичей - это удачный или неудачный стык
панелей, поэтому производители и сами строители непосредственно перед работой
уделяют особое внимание решению "замка". От этих самых стыков зависит
очень многое: и прочность соединения конструкции, и отсутствие маленьких
зазоров, куда будет проходить холодный воздух, и наивысшая плотность
конструкции во избежание проникновения влаги и паров в утеплитель. Необходимо
точно подгонять углы, стыки и швы, чтобы не было деформации всей системы.
Швы и стыки могут дополнительно заполняться герметизирующей мастикой,
прокладками из полиуретана, неопрено-полиуретановой лентой или полиуретановой
пеной. В некоторых системах также дополнительно устанавливается алюминиевая
фольга. Алюминиевая фольга на стыке предохраняет от диффузии газов и проникновения
паров в утеплитель. Торцевые швы панелей заполняются монтажной пеной или
минеральной ватой и закрываются нащельником.
При монтаже панелей используются также фасонные элементы. Это очень
прочные металлические изделия, которые применяются для закрытия возможных
стыков, получающихся при монтаже панелей. На строительной площадке цокольные
стеновые панели можно смонтировать без применения механизмов. В ходе монтажа
следует прижимать панель с помощью специального монтажного инструмента, который
позволяет правильно соединить элементы без риска их повреждения. Панели должны
крепиться к конструкции с помощью соединителей, рекомендуемых
заводом-изготовителем многослойных панелей. Для установки соединителей следует
пользоваться специальным шуруповертом. Не рекомендуется производить монтаж
панелей, если скорость ветра превышает 9 м/сек, а также во время атмосферных
осадков или при густом тумане. Различают два вида технологии монтажа панелей -
горизонтальный и вертикальный монтаж.
7.2 Конструктивные узлы
Рисунок 7.4 - Схема расположения элементов и материалов на примере стыка
панелей на стальной конструкции. 1 - элементы стальной конструкции, 2 -
сэндвич-панель, 3 - сэндвич-панель, 4 - саморез - соединитель, 5 - прокладка,6
- карнизная планка, 7 - индивидуальные элементы, 8 - плотная заклепка, 9 -
утеплитель, 10 - самоклеящаяся полиуретановая прокладка, 11 - бутиловая лента,
12 - уплотняющая масса на стыке панелей
Рисунок 7.5 Примыкание
к цоколю, вариант 1
Рисунок 7.6 Примыкание
к цоколю, вариант 2
Рисунок 7.6 - Примыкание к цоколю, вариант 3
Рисунок 7.7 - Деформационный, температурный шов
Рисунок 7.8 - Примыкание к стене, вариант 1
Рисунок 7.9 - Примыкание к стене, вариант 2
Рисунок 7.10 - Стык по наружному углу
строительный фундамент конструкция здание
ЗАКЛЮЧЕНИЕ
В данном дипломном проекте на тему «Реконструкция здания средней школы по
адресу: Архангельская обл., пос. Октябрьский» запроектирована двухэтажная
пристройка с размещением в ней спортзала, столовой, читального зала и учебных
классов.
В архитектурно-строительном разделе произведено описание объемно-
планировочного решения, конструктивного решения, так же выполнен
теплотехнический расчет.
В расчетно-конструктивном разделе произведены расчеты столбчатого
фундамента и несущих конструкций покрытий (фермы).
В технологическом разделе разработана технологическая карта на монтаж
покрытия, а именно составлена калькуляция трудозатрат, календарный план
выполнения работ, подобран монтажный кран и состав бригады.
В организационном разделе разработан стройгенплан на ведение строительных
работ, выполнен расчет численности персонала, временных зданий и сооружений, а
также необходимых для строительства ресурсов.
В экологическом разделе проекта описаны особенности экологических
факторов при проектировании школьных учреждений. Подробно рассмотрено озеленение
прилегающей территории. А в разделе безопасности описана техника безопасности
при отделочных работах и рассчитано время эвакуации школьников из здания
пристройки.
В целом, проект выполнен в полном объеме и дает необходимую
характеристику производимых работ.
СПИСОК ИСПОЛЬЗОВАННЫХ ИСТОЧНИКОВ:
1. СП 42.13330.2011. Свод правил. Градостроительство.
Планировка и застройка городских и сельских поселений. Актуализированная
редакция СНиП 2.07.01-89*(утв. Приказом Минрегиона РФ от 28.12.2010 N 820). - Введ. 20.05.2011.- М.:
Минрегион России, 2011. - 68с.
. СНиП 3.01.01.85*. Строительные нормы и правила. Организация
строительного производства. - Введ. 01.01.86.-М.: ЦНИИОМТП Госстроя СССР, 1987.
- Взамен СНиП III-I-76, СН 47-74 и СН 370-78.
. СНиП 12.03-2001. Строительные нормы и правила. Безопасность
труда в строительстве. часть 1. - Введ.01.09.2001. - Госстрой России, 2001. -
Взамен СНиП 12-03-99*.
. СП 23-101-2000. Свод правил. Проектирование тепловой защиты
зданий. - Одобрен постановлением Госстроя России от 22.12.2000 г. N 134. - Введен впервые.
. СНиП 2.02.01-83*. Строительные нормы и правила. Основания
зданий и сооружений. СНиП 2.02.01-83* является переизданием СНиП
2.02.01-83(утв. Постановлением Госстроя России от 9.12.1985 N211). - Взамен СНиП II-15-74 и СН 475-75.
. СНиП 23-01-99*. Строительные нормы и правила. Строительная
климатология. - Введ. 01.01.2003./Госстрой России-М.: ГУП ЦПП, 2003. - Взамен
СНиП 2.01.01-82. -70 c.
. СП 16.13330.2011. Свод правил. Стальные конструкции.
Актуализированная редакция СНиП II-23-81*:
утв. Минрегион России 27.12.2010г. №791.- Введ. 20.05.2011г. - М.: ОАО «ЦПП»,
2011. - 171 с.
. СНИП 2.02.01-83*. Строительные нормы и правила. Основания
зданий и сооружений. Актуализированная редакция СНиП 2.02.01-83(утв.
постановлением Госстроя России от 9.12.1985г. N211). Взамен СНиП II-15-74 СН 475-75.
. СНиП 2.04.01-85*. Строительные нормы и правила. Внутренний
водопровод и канализация. Является переизданием СНиП 2.04.01-85(утв.
постановлением Минстроя России от 11.07.1996г. N18-46).- Взамен СНиП II-30-76 и СНиП II-34-76.
. Справочное пособие к СНиП 2.08.02-89*. Проектирование
спортивных залов, помещений для физкультурно-оздоровительных занятий и крытых
катков с искусственным льдом. Рекомендовано к изданию решением
научно-технического совета ЦНИИЭП им. Мезенцева Госкомархитектуры.
11. СП 52.13330.2011. Свод
правил. Естественное и искусственное освещение»
<http://www.docload.ru/Basesdoc/1/1898/index.htm>. Актуализированная
редакция СНиП 23-05-95*: утв. Минрегионразвития 27.12.2010г. №783. - Введ.
20.05.2011. - М.: Минрегион России, 2011.
12. Пособие по расчету и конструированию сварных
соединений стальных конструкций(к главе СНиП II-23-81): утв. ЦНИИСК
им.Кучеренко 28.11.83г. №372/л. - М.: Стройиздат, 1984. - 38с.
. Таблицы для гидравлического расчета стальных,
чугунных, асбестоцементных, пластмассовых и стеклянных водопроводных труб /
Шевелев Ф.А. - М.: Стройиздат; 1973. - 112с.
. СНиП 3.01.001-85*. Строительные нормы и правила.
Организация строительного производства: утв. Минстрой России 01.04.1995г. -
Взамен СНиП III-I-76, СН 47074 и СН 370-78; введ.01.01.86. -М.:ГПИПП,1985 -
56с.
15. Б 10-382-00. Правилам устройства и безопасной
эксплуатации грузоподъемных кранов: утв.Госгортехнадзор России 30.12.99г. №98.
- СПб.: ЦОТПБСП, 2000. - 65с.
16. ГОСТ 12.1.004-91
<http://doc-load.ru/SNiP/Data1/4/4653/index.htm>. Пожарная безопасность.
Общие требования: -Введ. 01.07.1992. - М.: Госстрой СССР, 1993. - 21с.
. СНиП 21-01-97*.
Строительные нормы и правила. Пожарная безопасность зданий и сооружений: утв.
13.02.1997г. №18-7. - Введ. 01.01 98. - М.:ФГУП ЦПП Госстроя России, 1999.
-24с.
18. СНиП 12-04-2002. Строительные нормы и правила.
Безопасность труда в строительстве. Часть 2. Строительное производство: утв.
Госстрой России 17.09.2002г. №123. - Введ. 01.01.2003. - М.: ФГУП ЦПП, 2003.- 54 с.
. СНиП 23-02-2003. Строительные нормы и правила.
Тепловая защита зданий: введ. 01.10.2003 - М: ФГУП ЦПП Госстроя России, 2004. -
27 с.
20. Пособие к МГСН 4.06-96. Общеобразовательные
учреждения. Утв. указанием Москомархитектуры от 14.03.1997г. N 11.
. ГОСТ 6629-88. Двери деревянные внутренние для жилых и
общественных зданий. - Введ. 01.01.1989. - Госкомстрой СССР, 1980.
. Строительные правила: СНиП 2.04.05-91*. Отопление,
вентиляция и кондиционирование.- Введ. 28.11.1991. - М.: Госстрой СССР 1997. -
81 с.
23. СНиП 2.08.02-89*. Строительные нормы и правила.
Общественные здания и сооружения: введ. 01.01.90- М.: ФГУП ЦПП Госстроя России,
2004. - 63 с.
. ГОСТ 12.1.046-85 Нормы освещения строительных площадок.-
введ. 01.01.86- М.: Госстрой, 1986. - 14 с.
. ГОСТ 23407-78 Ограждения инвентарные строительных площадок
и участков производства строительно-монтажных работ. - Введ. 01.01.86. - М.: ГП
ЦПП, 2001-5 с.
26. Строительные краны: Справочник/ В.П. Станевский, В.Г.
Моисеенко, Н.П. Колесник, В.В. Котушко; Под общей ред. В.П. Станевского.- Киев: Будивельник, 1984.- 240 с.
. Технология строительных процессов: Методические указания к
курсовому проекту. - Вологда: ВоГТУ, 1999. - 31 с.
. ГОСТ 24259-80 Оснастка монтажная для временного закрепления
и выверки конструкций зданий. Классификация и общие технические требования:
введ. 01.01.82. - М.: Издательство стандартов, 1983. - 3 с
. ГОСТ 24258-80 Средства подмащивания. Общие технические
условия: введ. 01.07.89. . - М.: Издательство стандартов, 1990. - 8 с
ПРИЛОЖЕИЕ 1
(обязательное)
Перемещения в узлах фермы представлены ниже
Единицы измерений - мм.
Параметры выборки:
список узлов/элементов - все;
список загружений/комбинаций - все;
список факторов - все.
Таблица 1.1
|
Перемещения
|
|
Узел
|
Загружение
|
Значения
|
|
|
X
|
Z
|
|
1
|
1
|
1.349
|
-1.541
|
|
1
|
2
|
6.475
|
-7.399
|
|
2
|
1
|
0.596
|
0
|
|
2
|
2
|
2.863
|
0
|
|
3
|
1
|
-0.753
|
|
3
|
2
|
-3.612
|
-7.399
|
|
5
|
1
|
-0.37
|
-3.707
|
|
5
|
2
|
-1.775
|
-17.796
|
|
6
|
1
|
0.09
|
-4.544
|
|
6
|
2
|
0.432
|
-21.813
|
|
7
|
1
|
0.506
|
-4.544
|
|
7
|
2
|
2.431
|
-21.813
|
|
8
|
1
|
0.966
|
-3.707
|
|
8
|
2
|
4.638
|
-17.796
|
|
9
|
1
|
0.41
|
-2.919
|
|
9
|
2
|
1.969
|
-14.014
|
|
10
|
1
|
0.468
|
-4.368
|
|
10
|
2
|
2.245
|
-20.965
|
|
11
|
1
|
0.298
|
-4.578
|
|
11
|
2
|
1.431
|
-21.976
|
|
12
|
1
|
0.129
|
-4.368
|
|
12
|
2
|
0.618
|
-20.965
|
|
13
|
1
|
0.186
|
-2.919
|
|
13
|
2
|
0.894
|
-14.014
|
ПРИЛОЖЕНИЕ 2
(обязательное)
Усилия в стержнях фермы от расчётного сочетания усилий
Единицы измерений - мм.
Параметры выборки:
список узлов/элементов - все;
список загружений/комбинаций - все;
список факторов - все.
Таблица 2.1
|
Усилия и напряжения
|
|
Элемент
|
Сечение
|
Загружение
|
Значения
|
|
|
|
N
|
M
|
Q
|
|
1
|
2
|
3
|
4
|
5
|
6
|
|
1
|
1
|
1
|
27.544
|
0
|
0
|
|
1
|
1
|
2
|
132.212
|
0
|
0
|
|
1
|
2
|
1
|
27.544
|
0
|
0
|
|
1
|
2
|
2
|
132.212
|
0
|
0
|
|
1
|
3
|
1
|
27.544
|
0
|
0
|
|
1
|
3
|
2
|
132.212
|
0
|
0
|
|
2
|
1
|
1
|
27.544
|
0
|
0
|
|
2
|
1
|
2
|
132.212
|
0
|
0
|
|
2
|
2
|
1
|
27.544
|
0
|
0
|
|
2
|
2
|
2
|
132.212
|
0
|
0
|
|
2
|
3
|
1
|
27.544
|
0
|
0
|
|
2
|
3
|
2
|
132.212
|
0
|
0
|
|
3
|
1
|
1
|
36.435
|
0
|
0
|
|
3
|
1
|
2
|
174.889
|
0
|
0
|
|
3
|
2
|
1
|
36.435
|
0
|
0
|
|
3
|
2
|
2
|
174.889
|
0
|
0
|
|
3
|
3
|
1
|
36.435
|
0
|
0
|
|
3
|
3
|
2
|
174.889
|
0
|
0
|
|
4
|
1
|
1
|
43.777
|
0
|
0
|
|
4
|
1
|
2
|
210.127
|
0
|
0
|
|
4
|
2
|
1
|
43.777
|
0
|
0
|
|
4
|
2
|
2
|
210.127
|
0
|
0
|
|
4
|
3
|
1
|
43.777
|
0
|
0
|
|
4
|
3
|
2
|
210.127
|
0
|
0
|
|
5
|
1
|
1
|
39.65
|
0
|
0
|
|
5
|
1
|
2
|
190.319
|
0
|
0
|
|
5
|
2
|
1
|
39.65
|
0
|
0
|
|
5
|
2
|
2
|
190.319
|
0
|
0
|
|
5
|
3
|
1
|
39.65
|
0
|
0
|
|
5
|
3
|
2
|
190.319
|
0
|
0
|
|
6
|
1
|
1
|
43.777
|
0
|
0
|
|
6
|
1
|
2
|
210.127
|
0
|
0
|
|
6
|
2
|
1
|
43.777
|
0
|
0
|
|
6
|
2
|
2
|
210.127
|
0
|
0
|
|
6
|
3
|
1
|
43.777
|
0
|
0
|
|
6
|
3
|
2
|
210.127
|
0
|
0
|
|
7
|
1
|
1
|
36.435
|
0
|
0
|
|
7
|
1
|
2
|
174.889
|
0
|
0
|
|
7
|
2
|
1
|
36.435
|
0
|
0
|
|
7
|
2
|
2
|
174.889
|
0
|
0
|
|
7
|
3
|
1
|
36.435
|
0
|
0
|
|
7
|
3
|
2
|
174.889
|
0
|
|
8
|
1
|
1
|
-21.565
|
0
|
0
|
|
8
|
1
|
2
|
-103.513
|
0
|
0
|
|
8
|
2
|
1
|
-21.565
|
0
|
0
|
|
8
|
2
|
2
|
-103.513
|
0
|
0
|
|
8
|
3
|
1
|
-21.565
|
0
|
0
|
|
8
|
3
|
2
|
-103.513
|
0
|
0
|
|
9
|
1
|
1
|
6.336
|
0
|
0
|
|
9
|
1
|
2
|
30.415
|
0
|
0
|
|
9
|
2
|
1
|
6.336
|
0
|
0
|
|
9
|
2
|
2
|
30.415
|
0
|
0
|
|
9
|
3
|
1
|
6.336
|
0
|
0
|
|
9
|
3
|
2
|
30.415
|
0
|
0
|
|
10
|
1
|
1
|
-5.73
|
0
|
0
|
|
10
|
1
|
2
|
-27.505
|
0
|
0
|
|
10
|
2
|
1
|
-5.73
|
0
|
0
|
|
10
|
2
|
2
|
-27.505
|
0
|
0
|
|
10
|
3
|
1
|
-5.73
|
0
|
0
|
|
10
|
3
|
2
|
-27.505
|
0
|
0
|
|
11
|
1
|
1
|
-4.125
|
0
|
0
|
|
11
|
1
|
2
|
-19.799
|
0
|
0
|
|
11
|
2
|
1
|
-4.125
|
0
|
0
|
|
11
|
2
|
2
|
-19.799
|
0
|
0
|
|
11
|
3
|
1
|
-4.125
|
0
|
0
|
|
11
|
3
|
2
|
-19.799
|
0
|
0
|
|
12
|
1
|
1
|
3.898
|
0
|
0
|
|
12
|
1
|
2
|
18.711
|
0
|
0
|
|
12
|
2
|
1
|
3.898
|
0
|
0
|
|
12
|
2
|
2
|
18.711
|
0
|
0
|
|
12
|
3
|
1
|
3.898
|
0
|
0
|
|
12
|
3
|
2
|
18.711
|
0
|
0
|
|
13
|
1
|
1
|
3.898
|
0
|
0
|
|
13
|
1
|
2
|
18.711
|
0
|
0
|
|
13
|
2
|
1
|
3.898
|
0
|
0
|
|
13
|
2
|
2
|
18.711
|
0
|
0
|
|
13
|
3
|
1
|
3.898
|
0
|
0
|
|
13
|
3
|
2
|
18.711
|
0
|
0
|
|
14
|
1
|
1
|
-4.125
|
0
|
0
|
|
14
|
1
|
2
|
-19.799
|
0
|
0
|
|
14
|
2
|
1
|
-4.125
|
0
|
0
|
|
14
|
2
|
2
|
-19.799
|
0
|
0
|
|
14
|
3
|
1
|
-4.125
|
0
|
0
|
|
14
|
3
|
2
|
-19.799
|
0
|
0
|
|
15
|
1
|
1
|
-5.73
|
0
|
0
|
|
15
|
1
|
2
|
-27.505
|
0
|
0
|
|
15
|
2
|
1
|
-5.73
|
0
|
0
|
|
15
|
2
|
2
|
-27.505
|
0
|
0
|
|
15
|
3
|
1
|
-5.73
|
0
|
0
|
|
15
|
3
|
2
|
-27.505
|
0
|
0
|
|
16
|
1
|
1
|
6.336
|
0
|
0
|
|
16
|
1
|
2
|
30.414
|
0
|
0
|
|
16
|
2
|
1
|
6.336
|
0
|
0
|
|
16
|
2
|
2
|
30.414
|
0
|
0
|
|
16
|
3
|
1
|
6.336
|
0
|
0
|
|
16
|
3
|
2
|
30.414
|
0
|
0
|
|
17
|
1
|
1
|
-21.565
|
0
|
0
|
|
17
|
1
|
2
|
-103.513
|
0
|
0
|
|
17
|
2
|
1
|
-21.565
|
0
|
0
|
|
17
|
2
|
2
|
-103.513
|
0
|
0
|
|
17
|
3
|
-21.565
|
0
|
0
|
|
17
|
3
|
2
|
-103.513
|
0
|
0
|
|
18
|
1
|
1
|
-23.337
|
0
|
4.08
|
|
18
|
1
|
2
|
-112.017
|
0
|
19.584
|
|
18
|
2
|
1
|
-22.604
|
2.819
|
0
|
|
18
|
2
|
2
|
-108.497
|
13.531
|
-3.553e-015
|
|
18
|
3
|
1
|
-21.87
|
0
|
-4.08
|
|
18
|
3
|
2
|
-104.977
|
0
|
-19.584
|
|
19
|
1
|
1
|
-41.967
|
0
|
3.96
|
|
19
|
1
|
2
|
-201.44
|
0
|
19.008
|
|
19
|
2
|
1
|
-41.255
|
2.655
|
-5.551e-016
|
|
19
|
2
|
2
|
-198.023
|
12.746
|
0
|
|
19
|
3
|
1
|
-40.543
|
0
|
-3.96
|
|
19
|
3
|
2
|
-194.607
|
0
|
-19.008
|
|
20
|
1
|
1
|
-42.87
|
0
|
3.96
|
|
20
|
1
|
2
|
-205.775
|
0
|
19.008
|
|
20
|
2
|
1
|
-42.158
|
2.655
|
-4.441e-016
|
|
20
|
2
|
2
|
-202.358
|
12.746
|
-8.882e-016
|
|
20
|
3
|
1
|
-41.446
|
0
|
-3.96
|
|
20
|
3
|
2
|
-198.941
|
0
|
-19.008
|
|
21
|
1
|
1
|
-41.446
|
0
|
3.96
|
|
21
|
1
|
2
|
-198.941
|
0
|
19.008
|
|
21
|
2
|
1
|
-42.158
|
2.655
|
0
|
|
21
|
2
|
2
|
-202.358
|
12.746
|
-3.553e-015
|
|
21
|
3
|
1
|
-42.87
|
0
|
-3.96
|
|
21
|
3
|
2
|
-205.775
|
0
|
-19.008
|
|
22
|
1
|
1
|
-40.543
|
0
|
3.96
|
|
22
|
1
|
2
|
-194.607
|
0
|
19.008
|
|
22
|
2
|
1
|
-41.255
|
2.655
|
0
|
|
22
|
2
|
2
|
-198.023
|
12.746
|
4.441e-015
|
|
22
|
3
|
1
|
-41.967
|
0
|
-3.96
|
|
22
|
3
|
2
|
-201.44
|
0
|
-19.008
|
|
23
|
1
|
1
|
-21.87
|
0
|
4.08
|
|
23
|
1
|
2
|
-104.977
|
0
|
19.584
|
|
23
|
2
|
1
|
-22.604
|
2.819
|
0
|
|
23
|
2
|
2
|
-108.497
|
13.531
|
0
|
|
23
|
3
|
1
|
-23.337
|
0
|
-4.08
|
|
23
|
3
|
2
|
-112.017
|
0
|
-19.584
|
|
|
|
|
|
|
|
|