10-этажный 70-квартирный жилой дом
СОДЕРЖАНИЕ
ВВЕДЕНИЕ
. АРХИТЕКТУРНО-СТРОИТЕЛЬНЫЙ РАЗДЕЛ
1.1 Объемно-планировочное решение
.2 Конструктивное решение здания
.3 Внешняя и внутренняя отделка
.4 Инженерное оборудование
.5 Генеральный план
.6 Благоустройство
.7 Технико-экономические показатели
здания
. РАСЧЕТНО-КОНСТРУКТИВНЫЙ РАЗДЕЛ
.1 Теплотехнический расчет
ограждающих конструкций
.2 Расчет и конструирование свайных
фундаментов и ростверков
.3 Расчет лестничного марша
.3.1 Определение нагрузок и усилий
.3.2 Предварительное назначение
размеров сечения марша
.3.3 Подбор сечения продольной
арматуры
.3.4 Расчет наклонного сечения на
поперечную силу
.4 Расчет площадочной плиты
.4.1 Определение нагрузок и усилий
.4.2 Расчет полки плиты
.4.3 Расчет лобового ребра
.4.4 Расчет наклонного сечения
лобового ребра на поперечную силу
.5 Сравнение и выбор кровельного
материала
. ТЕХНОЛОГИЧЕСКИЙ РАЗДЕЛ
.1 Технологическая карта на работы
«0» цикла
.1.1 Область применения
.1.2 Технология и организация
строительного процесса
.1.3 Материально - технические
ресурсы
.1.4 Выбор крана
.1.5 Выбор копровой установки
.1.6 Техника безопасности
.1.7 Технико-экономические
показатели
. ОРГАНИЗАЦИОННЫЙ РАЗДЕЛ
.1 Общие данные
.1.1 Характеристика условий
строительства
.1.2 Природно-климатические условия
строительства
.2 Описание методов выполнения
основных СМР с указаниями по технике безопасности
.2.1 Подготовительный период
.2.2 Основной период строительства
.3 Стройгенплан
.4 Расчет численности персонала
строительства
.5 Расчет временных зданий и
сооружений
.6 Расчет потребности в коммунальном
обеспечении
.6.1 Расчет потребности в воде
.6.2 Расчет потребности в
электроэнергии
.6.3 Расчет потребности в сжатом
воздухе
.6.4 Расчет потребности в тепле
.6.5 Расчет потребности в
транспортных средствах
.7 Расчет площадей складов материалов,
изделий и конструкций
.8 Технико-экономические показатели
. БЕЗОПАСНОСТЬ ПРОЕКТА
.1 Проектирование мер безопасности
при организации земляных работ
.2 Расчет устойчивости откоса
котлована
.3 Меры пожарной безопасности на
стройплощадке
. ЭКОЛОГИЧНОСТЬ ПРОЕКТА
.1 Мероприятия по охране окружающей
среды в процессе строительства
.2 Мероприятия по охране окружающей
среды по окончании строительства и при эксплуатации
.3 Мероприятия по удалению твердых
бытовых отходов
.4 Расчет количества контейнеров для
ТБО
.5 Мероприятия по предотвращению
загрязнения грунтовых вод
ЗАКЛЮЧЕНИЕ
СПИСОК ИСПОЛЬЗОВАННЫХ ИСТОЧНИКОВ
ВВЕДЕНИЕ
Строительство - это пожалуй одна из главных отраслей народного хозяйства
нашей страны, позволяет обеспечивать создание новых, расширение и реконструкцию
существующих основных фондов. Капитальное строительство имеет огромное значение
в решении социальных и экономических задач. В связи с этим в нашем государстве
разработана стратегия развития ипотечного жилищного кредитования до 2020 года.
Настоящая Стратегия разработана в соответствии с целевыми показателями и
задачами государственной политики по развитию рынка жилья и ипотечного
жилищного кредитования. Целями Стратегии являются: формирование у участников
рынка ипотечного жилищного кредитования единых ориентиров в отношении
принципов, ожиданий и долгосрочных перспектив развития этого рынка.
Многие промышленные преобразования, на транспорте и в других областях
производства тесно связано со строительством. От реализации программ
капитального строительства зависит успех будущего расширения производственных
мощностей и улучшения социально бытовых условий населения.
В строительстве непрерывно происходят серьезные структурные изменения.
Увеличивается удельный вес возведения объектов непроизводственного назначения,
существенно выросли объемы реконструкции зданий, сооружений, новых
микрорайонов, а также требования, которые предъявляются к качеству работ,
защите окружающей среды, продолжительности инвестиционного цикла строительства
каждого объекта. Появляются новые взаимные интересы между участниками
строительства, возникают элементы состязательности и конкуренции. Разительно
изменился размер цен, заработной платы, ресурсопотребления. В условиях
современной рыночной экономики более ощутимыми становятся результаты
принимаемых строителями решений. К современным требованиям, предъявляемым к
инженеру-строителю, относится и умение работать с новейшими компьютерными
программами.
Реализация задач по последовательному усовершенствованию
материально-технической базы общества и повышению благосостояния общества
требует постоянного увеличения объемов строительства в различных отраслях
народного хозяйства.
Особенно наглядно данный фактор становится заметным в социальной сфере.
Все же достигнутые объемы возведения жилых зданий далеко не удовлетворяют
потребности населения. В связи с вышеизложенным в данном проекте разработан
10-ти этажный 70-ти квартирный жилой дом. Цели которые преследуют строительство
это обновление ветшающего жилищного фонда города Вологды и частичное решение
проблемы обеспечения населения комфортным жильем.
1. АРХИТЕКТУРНО-СТРОИТЕЛЬНЫЙ РАЗДЕЛ
1.1 Объемно-планировочное решение
Настоящим проектом предусматривается строительство 10-ти этажного 70-ти
квартирного жилого дома с чердачным помещением и подвалом, размерами в осях
14,50х27,60м.
Проектируемый жилой дом 1-подъездный. Вход в подъезд расположен со двора.
В здании запроектированы одно-, двухкомнатные квартиры, площадью от 33,86м2 до
50,31м2. В каждой квартире предусмотрено устройство лоджии или балкона.
1.2 Конструктивное решение здания
Конструктивная схема здания - с продольными и поперечными несущими
стенами. Основные несущие конструкции здания - это наружные и внутренние
кирпичные стены, выполненные из керамического кирпича.
Толщина наружных стен принята 680 мм с эффективным утепляющим слоем
внутри. Внутренние стены выполнены сплошные, толщиной 510 мм, 380 мм и 250 мм.
Перегородки - пазогребневые, толщиной 65 мм.
Роль горизонтальной диафрагмы жесткости выполняет перекрытие, связь
которого со стенами выполняется при помощи анкеров. Перекрытие - железобетонные
многопустотные плиты. Устойчивость несущего остова зависит от устойчивости
стен, жесткости перекрытия и надежной связи между всеми элементами.
Вертикальная пространственная жесткость обеспечивается за счет перевязки стен.
Фундаменты приняты свайные, по сваям запроектирован монолитный
железобетонный ростверк, стены подвала - фундаментные бетонные блоки.
Конструкция крыши - плоская с покрытием полимерной мембраной Экстроруф.
Окна приняты ПВХ с тройным остеклением.
Под здание запроектированы свайные фундаменты, из забивных ж/б свай
сечением 350х350мм по серии 1.011.1-10, в.1, длиной 10,3 м. Расчет свай
представлен в расчетно-конструктивном разделе.
Ростверки - монолитные ж/б ленточные из бетона класса В15, по
морозостойкости F50,
водонепроницаемость W4 с армированием
пространственными арматурными каркасами из арматуры класса А400.
Под ростверком предусмотреть подушку из уплотненного непучинистого
песчаного грунта толщиной 300 мм. Верх ростверка находится на отметке -2,74 м.
Кладку стен подвала из бетонных блоков следует выполнять с учетом
требований:
горизонтальные и вертикальные швы и пазы между блоками заполнять
цементным раствором М50 на всю толщину стены и высоту шва, толщина
горизонтальных и вертикальных швов - не более 20мм;
перевязку блоков выполнять по серии 2.110-1 вып.1 деталь 19;
в углах здания, в местах примыкания внутренней стены подвала к наружной
через два ряда блоков уложить арматурные сетки ф6 с ячейками 100мм (серия 2.110
вып.1 деталь 19);
монолитные участки в стеновых блоках выполнять из бетона кл. В7,5 (во
внутренних стенах подвала, не соприкасающихся с грунтом - кладкой из кирпича
керамического рядового полнотелого обыкновенного).
Для защиты конструкций фундаментов и стен от воздействия грунтовых вод
проектом предусмотрена гидроизоляция из двух слоев гидроизола на битумной
мастике и из цементного раствора состава 1:2 толщиной 20 мм.
Для отвода поверхностных вод по периметру здания устраивается отмостка
шириной 1000 мм (уплотненный грунт, крупнозернистый песок, фигурный камень).
Запроектирован дренаж жилого дома, сброс которого предусмотрен в
существующую ливневую канализацию.
Сеть дренажа запроектирована из асбестоцементных перфорированных труб
ф150мм и полиэтиленовых двухслойных профилированных труб ф200мм.
После монтажа инженерных коммуникаций все оставленные для отверстия в
наружных и внутренних стенах заделываются бетоном с обеспечением герметичности
вводов.
В проекте принят вариант многослойной кладки. Наружные стены 680мм. Наружная
верста выполняется из керамического облицовочного кирпича марки М125.
Внутренняя верста выполняется из полнотелого керамического кирпича М100. В
качестве утеплителя принят пенопласт толщиной 50мм.
Кирпичную кладку выполнить с полным заполнением горизонтальных швов:
с наружной стороны под расшивку швов;
со стороны утеплителя «в подрезку»;
с внутренней стороны в пустошовку.
Рисунок 1.1- Конструкция наружной стены
Внутренние
стены - сплошной кладки из красного керамического полнотелого кирпича марки
М100 толщиной 510 и 380 мм. В местах прохождения вентканалов в количестве 2 и
более укладывать сетки из проволоки В500 с ячейкой 50
50мм через 3 ряда кладки. В трех верхних рядах под
перекрытием сетку укладывать в каждом ряду. В местах открытия вентканалов 3 и
более в несущих стенах укладывать перемычки под плиты перекрытия.
Пазогребневые
гипсовые перегородки и конструкции ставят не на бетонное основание перекрытия,
а на готовую стяжку пола.
В
качестве монтажного клея при работе с обычными плитами применяется шпаклевка
«Фугенфюллер», а с гидрофобизированными - «Фугенфюллер-гидро».
Чтобы
пазогребневая конструкция получилась достаточно жесткой, плиты укладываются
«вразбежку», причем пазом как вверх, так и вниз.
Укладка
пазом вверх предпочтительнее, поскольку при этом шпаклевка в пазогребневом
соединении распределяется более равномерно. В таком случае у пазогребневых плит
первого ряда необходимо срезать гребень.
Вертикальные
швы пазогребневых гипсовых плит, находящиеся по соседству с дверным проемом, не
должны располагаться ближе, чем в 20 см от кромки проема.
В
местах пересечения и углах плиты укладываются с поочередным перекрыванием
стыков нижних рядов. Швы заделываются шпаклевкой «Кнауф Фугенфюллер», а чтобы
при последующей отделке улучшить адгезию поверхности, применяют грунтование
такими составами, как «Кнауф Тифенгрунд».
Обычно
перегородки из ПГП крепятся к несущим перекрытиям жестко, с помощью дюбелей, а
зазор между потолком и верхним рядом плит заделывается шпаклевкой.
Для
улучшения звукоизоляционных свойств перегородки можно использовать так
называемое эластичное присоединение. В этом случае с помощью шпаклевки
наклеивают прокладку (толщиной 3-5 мм) из пробки, битумированного войлока или ДВП
низкой плотности. Такая прокладка гасит звуковые колебания, проходящие через
несущие конструкции здания. Как обычные, так и влагостойкие пазогребневые плиты
выпускаются двух типоразмеров: 667-500 и 900-300 мм.
Перемычку
над дверной коробкой устраивают из 2-3 стержней арматуры, залитых гипсовым
раствором.
В
проекте разработан вариант сборного железобетонного перекрытия из плит с
круглыми пустотами (серия 1.141-1 вып. 60 и 63). Спецификация элементов
перекрытия приведена в графической части, лист 4. Они придают сооружению
пространственную жесткость, воспринимая все приходящиеся на них нагрузки, а
также обеспечивают тепло- и звукоизоляцию помещений. Одновременно выполняют
несущие и ограждающие функции. Плиты перекрытия анкеруются между собой и с
несущими стенами через один шов. В продольных боковых гранях плит
предусматривается устройство круглых углублений, которые после замоноличивания
стыка между плитами перекрытий образуют шпоночный шов, гарантирующий совместную
работу на сдвиг в вертикальном и горизонтальном направлениях.
Плиты
укладывать на стены по выровненному слою цементного раствора М-100 с тщательной
заделкой швов между ними. Величина опирания на стены не менее 120мм. В местах
опирания на стены уложить арматурную сетку ф5мм с размерами ячейки 70
70мм.
Необходимые
отверстия в плитах для пропуска сетей инженерного оборудования просверлить по
месту, не нарушая несущих ребер, с последующей заделкой их цементным раствором
М100. В уровне перекрытия на каждой трубе предусмотрены металлические гильзы из
обрезков труб большего диаметра или кровельной стали. Зазор между трубой и
гильзой зачеканивается паклей, смоченной в гипсовом растворе. Зазор между
гильзой и конструкцией перекрытия заделывается жестким цементно-песчаным раствором
на всю толщину перекрытия. Места прохода канализационных стояков из пластмассы
через перекрытия заделаны цементным раствором М-100 на всю толщину. Участок
стояка выше перекрытия на высоту 8-10см (до горизонтального отводного
трубопровода) защищен цементным раствором толщиной 2-3см. Перед заделкой стояка
раствором трубы обертываются без зазора рулонным гидроизоляционным материалом.
В
проектируемом здании кровля плоская. По ж/б плите укладывается слой
пароизоляции, затем утеплитель пенополистирол экструдированный. По верх
утеплителя для создания уклона уложен керамзитовый гравий, по нему выполнена
стяжка из цементно-песчаного раствора. По стяжке укладывают полимерную мембрану
Экстроруф.
По
периметру кровли выкладывается парапет высотой 900 мм и толщиной 380 мм.
Для
сообщения между этажами в проекте разработана ж/б лестница, состоящая из
лестничного марша и лестничной площадки. Ширина проступи 300 мм, подступенка -
150 мм. Ширина лестничного марша принята 1200 мм.
В
проекте приняты ПВХ окна [31]. Окна приняты тройного остекления (листовое
стекло и стеклопакет).
Оконный
блок закрепляют в оконном проеме при помощи рамных дюбелей. Также по периметру
окна проставляется уплотняющая лента. Швы между окном и простенком заполняют
монтажной пеной.
Двери
приняты по ГОСТ [23] и [24].
Спецификация
окон и дверей приведена в графической части проекта, лист 2.
1.3 Внешняя и внутренняя отделка
Наружная
кладка стен выполняется керамическим облицовочным кирпичом марки М125. Кладка
ведется под расшивку.
Подоконные
фартуки-сливы выполнить из оцинкованной кровельной стали.
Покрытие
кровли - полимерная мембрана Экстроруф.
На
лестничной клетке потолок оштукатуривается и наносится клеевая побелка. Во всех
помещениях чердака сначала осуществляется затирка потолков, потом - известковая
побелка. Во всех остальных помещениях сделать затирку швов и окрасить
вододисперсионными красками.
На
лестничных клетках: оштукатурить и покрасить масляной краской на высоту h=1,8
м, выше - клеевая побелка.
Все
помещения чердака: затирка и известковая побелка.
Все
помещения подвала: оштукатурить и окрасить вододисперсионными красками.
Общие
комнаты, спальни, прихожие, кладовые: оштукатурить и оклеить обоями.
Санузлы:
поверхность облицевать керамической плиткой на высоту h=1,8м, дальше
клеевая побелка.
Кухни:
поверхность стены облицевать керамической плиткой между напольными и навесными
шкафами и приборами по всей длине кухонного фронтона на высоту h=0,6м.
включая боковые стенки. Остальная поверхность стен оклеивается обоями на всю
высоту.
Экспликация
полов представлена в графической части, лист 2.
1.4 Инженерное оборудование
В данном проектируемом жилом доме трубы холодного
водоснабжения выполняются из стальных труб. Стояки, подводки к приборам, трубы
горячего водоснабжения выполняются из труб PPRS по ТУ 2248-006-41989945-98. Водопровод данного здания
подключен к существующей водопроводной сети города. Сети водопровода
запроектированы из полиэтиленовых труб. Смотровые колодцы приняты из сборных
ж/б элементов по типовому проектному решению 901-09-11.84. Для учета воды на
вводе водопровода установлен водомерный узел с крыльчатым счетчиком ВСХ-40.
Отвод сточных вод от санитарных приборов осуществляется внутренней
системой канализации через выпуски в дворовую сеть. Сети канализации
запроектированы из асбестоцементных безнапорных труб. Смотровые колодцы приняты
из сборных ж/б элементов по типовому проектному решению 902-09-22.84.
Газоснабжение
- центральное. Трубы выполняются из стальных труб. В кухнях устанавливается 4-х
горелочная газовая плита. Для учета расхода газа в квартирах устанавливается
счетчик газа. Для автоматического перекрытия газопровода при достижении 100
запроектирован термозапорый клапан.
Отопление.
Система отопления здания - центральная.
Вентиляция. Вентиляция здания запроектирована приточно-вытяжная с
естественным побуждением. Приток воздуха в помещения осуществляется через
открывающиеся окна, вытяжка воздуха - через внутристенные каналы кухонь и
сан.узлов. Вен.каналы кухонь и сан.узлов не объединяются.
В здании запроектированы лифты марки ПП-0411Щ Щербинского
лифтостроительного завода. Грузоподъемность лифта 400 кг, скорость 1 м/с. Лифты
запроектированы на основании требований «Правил устройства и безопасной
эксплуатации лифтов», «Правила устройства электроустановок».
1.5 Генеральный план
Проектируемый десятиэтажный жилой дом расположен в жилом комплексе г.
Вологда. Рельеф местности ровный.
Здание ориентировано главным фасадом на восточную сторону. Генеральный
план проектируемого жилого дома решен с учетом существующей застройки, а также
обеспечения санитарных и противопожарных требований, рационального
использования площадки строительства, организации движения автотранспорта.
1.6 Благоустройство
Уровень пола 1 этажа принят за относительную отметку 0,000 и
соответствует абсолютной отметке 115,40 м в Балтийской системе координат.
Комплекс работ по благоустройству предусматривает устройство
асфальтированных проездов, тротуаров и площадок, асфальтированной временной
стоянки для легковых автомашин, площадок для отдыха детей и взрослых с
гравийно-песчаным основанием.
Запроектировано озеленение территории с посадкой деревьев и кустарников и
устройством газонов.
Площадка для мусорных контейнеров размещена на расстоянии 20 м от жилого
дома и имеет асфальтобетонное покрытие. Также запроектирована и хозяйственная
площадка.
Для отвода ливневых и талых вод с проездов и площадок выполнена
вертикальная планировка методом проектных горизонталей. Водоотвод
осуществляется открытым способом в пониженные места естественного рельефа.
Планировочная застройка приведена в графической части, лист 1.
Технико-экономические показатели застройки:
Площадь участка - 4950 м2;
Площадь застройки - 521 м2;
Площадь покрытий - 1520м2;
Площадь озеленения - 2909 м2.
1.7 Технико-экономические показатели здания
1. Площадь квартир жилого здания - 4640 кв.м;
2. Строительный объем - 12535 куб.м.
2. РАСЧЕТНО - КОНСТРУКТИВНЫЙ РАЗДЕЛ
2.1 Теплотехнический расчет ограждающих
конструкций
Конструкция наружной стены показана на рисунке 1.1.
В ходе расчета определяется R0тр (минимально допустимое) и R0ф.
Должно выполняться условие:
R0ф ³ R0тр (2.1)
R0тр
должно быть не менее значений:
а) R0тр исходя из условий
энергосбережения определяют с учетом ГСОП (градусо-сутки отопительного периода)
ГСОП = (tв - t от.пер.) ´Zот.пер. (2.2)
где - tв - температура внутреннего воздуха
(16-220С),
t
от.пер. - средняя температура периода со среднесуточной температурой
t £ 8 0С [3],
Zот.пер.
- продолжительность отопительного периода со средне суточной температурой t £ 8 0С [3],
для города Вологды t
от.пер = -4,10С ; zот.пер. = 231
сут.
ГСОП = (22 +4,1) ´ 231 = 6029,1
R0тр
определяем по таблице 3 [3]. Промежуточные значения определяем интерполяцией.
Для стен : R0тр = 3,009 м2 *
0С / Вт.
б) R0тр исходя из санитарно-гигиенических
(комфортных) условий:
R0тр =
n ´ (tв - tн) / Dtн´ aв (2.3)
n -
коэффициент, принимаемый в зависимости от положения наружной поверхности
ограждающих конструкций к наружному воздуху; (n = 1 для наружных стен и покрытий),
tв -
расчетная температура внутреннего воздуха, tв=22 0С,
tн -
расчетная зимняя температура наружного воздуха, равная средней температуре
наиболее холодной пятидневки, обеспеченностью 0,92, tн = -320С,
Dtн -
нормативный температурный перепад между температурой внутреннего воздуха и
температурой на внутренней поверхности ограждающих конструкций, Dtн= 4,5 0С,
aв - коэффициент тепловосприятия, равный 8,7 Вт/м2 *0С,
R0тр =
1´ (22+32) / 4,5´8,7 = 1,354 м2*0С / Вт.
Выбираем наибольшее из двух полученных значений, т.е.
R0тр =
3,009 м2*0С / Вт.
R0ф
определяется в зависимости от конструкции стены.
R0ф =
1/aв + d1/l1 +…+ dn/ln + 1/aн , (2.4)
aн = 23 Вт/м2*0С ,aв =
8,7 Вт/ м2*0С
R0ф =
1/8,7 +0,02/0,87 +0,25/0,81 +0,25/0,81 + х /0,046 +0,02/0,93 +1/23= 3,009 м2*0С
/ Вт.
Х= 100,68 мм принимаем Х = 140 мм.
R0ф =
3,86 м2*0С / Вт > R0тр =
3,009 м2*0С / Вт - условие выполняется.
Конструкция чердачного перекрытия показана на рисунке 2.1.
Рисунок 2.1 - Конструкция чердачного перекрытия
а) Для покрытий чердачных: R0тр =
3,41 м2 * 0С / Вт,
б) R0тр исходя из санитарно-гигиенических
(комфортных) условий:
R0тр =
1´ (22+31) / 4´8,7 = 1,523 м2*0С / Вт.
Выбираем наибольшее из двух полученных значений, т.е.
R0тр =
3,41 м2*0С / Вт.
R0ф =
1/8,7+0,03/0,18+0,13/2,04 + Х /0,04+1/23=3,41 м2*0С / Вт.
Х = (3,41- 0,257) ´ 0,04 = 0,126 м, принимаем Х = 130 мм.
R0ф =
3,51 м2*0С / Вт > R0тр =
3,41 м2*0С / Вт - условие выполняется.
2.2 Расчет и конструирование свайных
фундаментов и ростверков
Проектируемое здание - 10-ти этажный 70-ти квартирный жилой дом с
чердаком и подвалом, с продольными и поперечными несущими стенами, принят
нормальный уровень ответственности, коэффициент надежности по ответственности γn=0.95. Район строительства - г.
Вологда.
На фундамент передаются нагрузки от веса стены, покрытия и междуэтажного
перекрытия.
Таблица 2.1 - Сбор нагрузок на междуэтажное перекрытие, кН/м2
|
Вид нагрузки
|
Подсчет
|
Нормативная нагрузка
|
Расчетная нагрузка
|
|
|
Линолеум
|
0,033 0,040
|
|
|
|
|
Мастика
|
0,032 0,038
|
|
|
|
|
Стяжка из легкого бетона
|
0,900 1,17
|
|
|
|
|
Изофон супер
|
0,007 0,009
|
|
|
|
|
Итого вес пола
|
|
0,972
|
-
|
1,257
|
|
Вес ж/б плиты
|
3,143 3,457
|
|
|
|
|
Итого постоянная
|
4,115-4,714
|
|
|
|
|
Временная (полезная)
|
СП20.13330.2011
|
1,5
|
1,950
|
|
|
Вес перегородок
|
0,841 0,925
|
|
|
|
|
Итого полная
|
|
6,456
|
-
|
7,589
|
г. Вологда относится к IV
району по снеговой нагрузке.
Вес
снегового покрова земли -
Коэффициент
перехода от веса снегового покрова к снеговой нагрузке на покрытие -
, так как уклон кровли
Нормативная
снеговая нагрузка:
S0 = 0,7 ce ∙ct ∙m ∙Sg , Па, (2.5)
где
ce =
1,0, ct = 1,0, μ=1.
Таблица
2.2 - Сбор нагрузок на горизонтальную проекцию покрытия
Таблица 2.3 - Сбор нагрузок на 1м2 чердачного перекрытия, кН/м2
Вес стены:
, (2.6)
где
- плотность кирпичной кладки,
,
-
толщина стены,
,
- высота
этажа и количество этажей,
,
.
Вес
фундаментных блоков:
, (2.7)
где
- плотность тяжелого бетона,
,
-
толщина фундаментных блоков,
,
- высота
подвала,
,
.
Рисунок
2.3 - Схема грузовой площадки
Грузовая
площадь на фундамент по оси равна:
. (2.8)
.
Нагрузка
на 1 погонный метр фундамента по оси 3 определяется по формуле:
, (2.9)
Принимаем
высоту ростверка
из условия заделки головы сваи не менее 50 мм и
выпусков арматуры не менее 250 мм.
По
схеме взаимодействия с грунтом свая является висячей, но есть передает нагрузку
за счет трения по боковой поверхности и через острие.
Принимаем
сваю С35-9.
Площадь
сечения сваи:
, м2 (2.10)
- ширина
поперечного сечения сваи.
Периметр
сваи:
, м (2.11)
Коэффициент
работы сваи в грунте
.
Коэффициент
условий работы грунта под нижним концом сваи
(погружение
забивных свай дизель-молотом).
Коэффициент
условий работы грунта по боковой поверхности сваи
.
Глубина
погружения нижнего конца сваи:
Определяем
расчетное сопротивление под нижним концом забивной висячей сваи:
при
, (2.12)
.
Вычерчиваем
колонку грунтов и расчетную схему свайного фундамента.
Рисунок
2.4 - Расчетная схема свайного фундамента
Таблица
2.4 - Определение расчетного сопротивления по боковой поверхности забивной
висячей сваи
Торф



-
Супесь





59,9
,68
,2289,85
,02
, (2.13)
Определяем
несущую способность забивной висячей сваи:
, кН (2.14)
Допускаемая
нагрузка на сваю:
, Кн (2.15)
где
- коэффициент надежности.
.
Определяем
шаг свай в ленте:
.
Так
как
.
Принимаем
2 х - рядное расположение свай в ленте.
Шаг
свай
.
Определяем
ширину ростверка:
, м (2.16)
-
предельное отклонение свай от проектного положения.
.
принимаем
.
Ростверк
рассчитываем как железобетонную многопролетную балку с опорами на головы свай.
Расчетная
нагрузка на 1 пог. м ростверка с учетом его собственного веса:
, кН/м (2.17)
где
,
-
плотность железобетона,
.
Максимальный
изгибающий момент:
, кН∙м (2.18)
.
Армирование
ростверка производим арматурными каркасами из арматуры класса А400. Для
монолитного ростверка принимаем бетон класса В15.
Расчетные
характеристики
,
.
Ростверк
укладываем по бетонной подготовке класса В7,5.
Толщина
защитного слоя
.
Расчетное
сечение ростверка - прямоугольное.
Рабочая
высота сечения:
, мм (2.19)
.
Определяем
табличный коэффициент:
. (2.20)
.
Определяем
площадь рабочей арматуры:
. (2.21)
Принимаем
9 каркасов, следовательно 18 рабочих стержней (в каркасе ростверка рабочей
является и верхняя и нижняя продольная арматура).
Принимаем
.
Рисунок
2.5 - Армирование ростверка
К
факторам, вызывающим физическую коррозию бетонных и железобетонных конструкций,
относятся: попеременное увлажнение и высыхание материала, которое
сопровождается деформации усадки и набухания; отложение растворимых солей в
порах цементного камня; попеременное замерзание и оттаивание бетона и других
температурных воздействий.
Химическая
коррозия бетонных и железобетонных конструкций вызывается контактом материала с
кислотами, щелочами, растворами солей, различными органическими соединениями,
всеми видами агрессивных газов, а также различными микроорганизмами,
развивающимися на поверхности конструкций.
Из
мероприятий по защите бетонных и железобетонных конструкций наиболее важны:
обработка среды для уменьшения степени ее агрессивности;
применение для бетонных и железобетонных конструкций бетонов
повышенной плотности (в условиях эксплуатации), уплотнение бетонов;
изготовление бетонов для конструкций, эксплуатируемых в
агрессивных условиях, на специальных цементах, стойких в данных условиях;
введение добавок, улучшающих структуру бетона;
выполнение конструктивных мероприятий по максимальной защите
конструкций от действия агрессивной среды.
В процессе эксплуатации необходимо вентилировать помещение, чтобы удалять
агрессивные газы, отвести влагу, атмосферные осадки. Для этого следует
содержать в постоянной исправности конструктивные элементы, защищающие от
увлажнения и агрессивного воздействия среды основные несущие части зданий. Несущие
конструкции должны иметь простые геометрические формы, исключающие возможность
скапливания на них агрессивных растворов, пыли, газов и паров.
Улучшить коррозийную стойкость бетонных и железобетонных конструкций
можно путем применения поверхностно-активных добавок сульфитно-спиртовой барды,
кремнийорганических жидкостей ГКЖ - 94, ГКЖ- 10, ГКЖ - 11.
В качестве основной меры, которую необходимо осуществлять в процессе
эксплуатации по защите бетонных железобетонных конструкций от коррозии,
является устройство антикоррозийных покрытий. Для покрытий наносят
лакокрасочный слой, обмазочную изоляцию из штукатурки, оклеечную изоляцию,
облицовку химически стойкими материалами. Защиту от коррозии выполняют в
соответствии с требованиями СНиП III. 4. 03 - 85 «Защита стропильных
конструкций от коррозии».
Для обмазочной изоляции конструкций используют мастики из полимерных
материалов, силикатные кислотоупорные замазки или мастики на основе битумных
вяжущих.
Для оклеечной изоляции применяют химически стойкие рулонные и листовые
полимерные материалы или рулонные материалы на битумной основе.
Также агрессивное воздействие оказывается на деревянные конструкции
дереворазрушающими грибами, вызывая биологическую коррозию древесины, а так же
химически агрессивные среды, вызывающие химическую коррозию древесины.
Защита деревянных конструкций от коррозии предусматривает
антисептирование. В качестве антисептиков предусматривается применение таких
составов, как «Вуприн» (декоративный огнезащитный состав для обработки
древесных материалов и конструкций). Он обладает хорошими антисептическими и
огнезащитными свойствами, технологичен в применении.
2.3 Расчет лестничного марша
.3.1 Определение нагрузок и усилий
Марш железобетонный шириной 1,10м.
Высота этажа 2,8м.
Угол
наклона марша
.
Ступени
размером 150мм х 300мм.
Бетон
марки М300, арматура каркаса А400, сеток В500.
Рисунок
2.6 - Расчетная схема лестничного марша
Таблица
2.5 - Сбор нагрузок на 1м2 лестничного марша, Па
|
Вид нагрузки
|
 
|
|
|
|
Постоянная
|
|
|
|
|
Ж/б лестничный марш
|
3600
|
1,1
|
3960
|
|
Итого постоянная:
|
gн = 3600
|
|
g = 3960
|
|
Временная
|
|
|
|
|
От людей и оборудования
|
3000
|
1,3
|
3900
|
|
Всего
|
qн = 6600
|
|
q = 7860
|
Расчетная нагрузка на 1 метр погонный марша
. (2.22)
Расчетный
изгибающий момент в середине пролета марша
. (2.23)
Поперечная
сила на опоре
. (2.24)
2.3.2 Предварительной назначение размеров сечения
марша
Применительно
к типовым заводским формам назначаем: толщину плиты (по сечению между
ступенями)
, высоту ребер (косоуров)
и толщину ребер
.
Действительное сечение марша заменяем на расчетное тавровое с полкой в сжатой
зоне
; ширину полки
при
отсутствии поперечных ребер принимаем не более
или
, принимаем за расчетное значение меньшее
.
2.3.3 Подбор сечения продольной арматуры
По
условию устанавливаем расчетный случай для таврового сечения при
нейтральная ось проходит в полке.
Условие
выполняется; расчет арматуры выполняем по формулам для прямоугольных сечений
шириной
.
Вычисляем
. (2.25)
Находим
площадь арматуры
. (2.26)
Принимаем
минимально допустимый диаметр арматуры Ø14А400,
. В каждом устанавливаем по одному плоскому каркасу
К-1.
2.3.4 Расчет наклонного сечения на поперечную
силу
Проверяем условия
, (2.27)
Условие
удовлетворяется, принятые размеры сечения достаточные.
, (2.28)
.
Условие
удовлетворяется, расчет поперечной арматуры не требуется.
Принимаем
поперечную арматуру Ø6А240 с шагом 100мм.
Плиту
марша армируем сеткой из стержней Ø6мм с шагом 100мм. Плита монолитно связана со ступенями, которые
армируем исходя из конструктивных соображений, и ее несущая способность с
учетом работы ступеней обеспечивается. Ступени, укладываемые на косоуры,
рассчитываются как свободно опертые балки треугольного сечения. Рабочую
арматуру ступеней с учётом транспортных и монтажных воздействий назначаем
исходя из длины ступени 1,05м Ø6А240,
хомуты выполняем из арматуры Ø4В500
с шагом 200мм.
2.4 Расчет площадочной плиты
.4.1 Определение нагрузок и усилий
Ширина плиты 1,50 м.
Толщина плиты 60 мм.
Ширина лестничной клетки в свету 5,14 м.
Временная нормативная нагрузка 3 кН/м2.
Коэффициент перегрузки 1,3.
Бетон марки М300, арматура каркаса А400, сеток В500.
Рисунок 2.7 - Расчетная схема плиты
Таблица 2.6 - Сбор нагрузок на 1м2 площадочной плиты, Па
|
Вид нагрузки
|
 
|
|
|
|
Постоянная
|
|
|
|
|
Площадочная плита
|
1500
|
1,1
|
1650
|
|
Итого постоянная:
|
gн = 1500
|
|
g = 1650
|
|
Временная
|
|
|
|
|
От людей и оборудования
|
3000
|
1,3
|
3900
|
|
Всего
|
qн = 4500
|
|
q = 5550
|
Собственный расчетный вес лобового ребра (за вычетом веса плиты)
.
Собственный
расчетный вес крайнего ребра
.
При
расчете площадочной плиты рассматриваем отдельно полку, упруго заделанную в
ребрах, лобовое ребро на которое опираются марши, и пристенное ребро,
воспринимающее нагрузки от половины пролета полки плиты.
2.4.2 Расчет полки плиты
Полку
плиты при отсутствии поперечных ребер рассчитываем как балочный элемент с
частичным защемлением на опорах. Расчетный пролет равен расстоянию между
ребрами 1,28м.
При
учете образования пластического шарнира изгибающий момент в пролете и на опоре
определяем по формуле, учитывающей выравнивание моментов.
(2.29)
При
и
(2.30)
(2.31)
Укладываем
сетку С-1 марки 200/200/4/4, As=0,63см2 на 1 пог.м. с отгибом на опорах.
2.4.3 Расчет лобового ребра
На
лобовое ребро действуют следующие нагрузки:
Постоянная
и временная, равномерно распределенные от половины пролета полки и от
собственного веса.
Рисунок
2.8 - Расчетная схема лобового ребра
. (2.32)
Равномерно
распределённая нагрузка от опорной реакции маршей, приложенная на выступ
лобового ребра и вызывающая его кручение.
. (2.33)
Расчетный
изгибающий момент в середине пролета
. (2.34)
Расчетное
значение поперечной силы
. (2.35)
Расчетное
сечение лобового ребра является тавровым с полкой в сжатой зоне шириной
. Так как ребро монолитно связано с полкой,
способствующей восприятию крутящего момента, то расчет ребра можно не
выполнять.
В
соответствии с общим порядком расчета изгибаемых элементов определяем:
Расположение
нейтральной оси при
:
Условие
выполняется, нейтральная ось проходит в полке.
. (2.36)
.
Принимаем
2Ø14А400 As=3,08см2
Процент
армирования
. (2.37)
2.4.4 Расчет наклонного сечения лобового ребра на
поперечную силу
.
Проверяем
соблюдение условия
, (2.38)
Условия
удовлетворяются, сечение ребра достаточное поперечная арматура (хомуты) по
расчету не требуется из конструктивных соображений принимаем закрытые хомуты
(учитывая крутящий момент) из арматуры диаметром 6мм класса А240 с шагом 150мм.
Консольный
выступ для опирания сборного марша армируют сеткой С-2 из арматуры диаметром
6мм класса А240 поперечные стержни этой сетки скрепляют с хомутами каркаса К-2
ребра.
2.5 Сравнение и выбор гидроизоляционного покрытия на
кровле
При
выборе покрытия кровли проведем анализ технических и экономических
характеристики двух разных материалов: битумного и полимерного. Для сравнения
возьмем битумный материал Бикрост (производитель ТехноНиколь) и ПВХ мембрану
ЭкстраРуф F 1,2.
Бикрост
- гидроизоляционное полотно, состоящее из прочной основы, на которую наносится
смесь битумного вяжущего и наполнителей.
Бикрост
получают путем двустороннего нанесения на стекловолокнистую (стеклохолст,
перфорированный стеклохолст, каркасная стеклоткань) или полиэфирную основу
битумного вяжущего, состоящего из битума и наполнителя, с последующим
нанесением на обе стороны полотна защитных слоев. В качестве защитных слоев
используют крупнозернистую (сланец, асбагаль), мелкозернистую (песок) посыпки и
полимерную пленку.
Бикрост
наплавляется газовой горелкой на предварительно подготовленное (сухое, чистое,
загрунтованное) основание. Также для приклеивания материала Бикрост подойдет
битумная мастика.
Материал
предназначается для устройства и ремонта кровельного ковра.
Различают
два типа Бикроста, отличающиеся друг от друга видом защитного слоя и областью
использования:
Бикрост
К - чаще всего применяют в качестве верхнего слоя кровельного покрытия, так как
с наружной стороны защитный слой образован крупнофракционной посыпкой из сланца
или гранулята, препятствующий механическим повреждениям и воздействию
ультрафиолетовых лучей.
Бикрост
П - используют в целях защиты от проникновения влаги в различных строительных
конструкциях, а также в качестве нижнего слоя при монтаже многослойной мягкой
кровли. Материал с двух сторон покрыт полимерной пленкой или мелкофракционным
песком.
ПВХ
мембрана ЭкстраРуф F 1,2 мм - это полимерная гидроизоляционная мембрана на
основе ПВХ, армированная сеткой из полиэстера. Она предназначена для
гидроизоляции кровель с механическим креплением. Может успешно применяться для
гидроизоляции кровель производственных и жилых зданий, выставочных, складских и
торговых комплексов.
На
участках подверженных частому хождению укладываются дополнительно «пешеходные
дорожки». Они защищают мембрану от проколов и разрывов. Верх покрытия имеет
агрессивный противоскользящий узор, приваривается к полотну кровельной
мембраны.
Группа
горючести ЭкстроРуф- Г1, что позволяет применять материал без ограничений по
площади покрытия.
ПВХ
мембрана обладает высокой стойкостью к воздействию факторов внешней среды:
ветра, УФ-излучения, низких и высоких температур. Срок службы полимерной
гидроизоляции ЭкстроРуф составляет не менее 30 лет (по техническому заключению
ОАО "ЦНИИПромзданий).
Таблица
2.7 - Технические характеристики рулонных материалов
|
Наименование показателя
|
Ед. измерения
|
Бикрост
|
ПВХ мембрана Экстраруф
|
|
Срок службы
|
год
|
10
|
30
|
|
Водонепроницаемость
|
|
водонепроницаем
|
водонепроницаем
|
|
Группа горючести
|
степень
|
Г4
|
Г1, Г2
|
|
Группа распространения
пламени
|
степень
|
В3
|
В2
|
|
Монтаж
|
|
наплавляемая
|
механический
|
|
Ширина рулона
|
м
|
1
|
от 1 до 15
|
Сравним ценовые характеристики материалов:
При применении материала Бикрост конструкция покрытия должна состоять из
двух слоев: основого слоя Бикрост ХПП (ЭПП, ТПП) и защитного слоя Бикрост ХКП
(ЭКП, ТКП).
Стоимость Бикрост ХПП (основа) 895 руб. за рулон. Размер рулона 15х1 м
(15 м2). Стоимость 1 м2 составит 59.6 руб.
Стоимость Бикрост ХКП (финишное покрытие) 726 руб. за рулон. Размер
рулона 10х1м (10 м2). Стоимость 1 м2 составит 72.6 руб.
Общая стоимость покрытия Бикрост (2 слоя) составит 131 руб за м2.
Стоимость ПВХ мембраны ЭкстраРуф F 1,2 - 250 руб за м2.
Вывод:
При рассмотрении двух видов гидроизоляционного покрытия мы видим, что
стоимость двух слоев (основа и финиш) битумного материала на 50% дешевле чем
слой ПВХ мембраны.
С технической точки зрения ПВХ мембрана ЭкстраРуф F 1,2 имеет много
преимуществ:
большой срок службы кровли - срок службы ПВХ мембран 30 лет;
возможность производить кровельные работы практически
круглогодично (до -20 °С) благодаря их высокой эластичности;
устройство гидроизоляционного покрытия в один слой благодаря их
высокой прочности, химической стойкости;
высокая скорость монтажа благодаря большой ширине и длине
рулонов (мембраны выпускают в рулонах шириной 1-15 м, их монтаж осуществляется
однослойно);
возможность производить кровельные работы на пожароопасных
объектах благодаря их высоким противопожарными характеристиками и отсутствием
открытого пламени при монтаже;
отличные эстетические качества кровельного покрытия - мембраны
имеют матовую гладкую поверхность, выпускаются в широком диапазоне цветов;
ремонтопригодность благодаря сохранению способности к
свариванию на протяжении многих лет;
устойчивость к УФ-облучению;
большой выбор комплектующих - неармированная мембрана для
деталей и усилений, мембрана для дорожек на кровле, металлические листы с ПВХ
покрытием для устройства отливов и окончаний, готовые внутренние и внешние
углы, воронки, скапперы и т.д.
Таким образом, стоимость кровли из ПВХ мембраны благодаря своим
качествам, таким как скорость монтажа, большой срок службы и ремонтопригодность
на протяжении многих лет, вполне сопоставима со стоимостью решений по
гидроизоляции кровли из серии материалов Бикрост.
В данном проекте делаем выбор в пользу ПВХ мембраны ЭкстраРуф F1,2.
3. ТЕХНОЛОГИЧЕСКИЙ РАЗДЕЛ
3.1 Технологическая карта на работы «0» цикла
3.1.1 Область применения
Технологическая карта разработана на работы нулевого цикла при
строительстве 10-ти этажного жилого дома в г. Вологда, производимый бригадой в
составе 17 человек при обслуживании копровой установки СП-49Д, краном КС-3571.
3.1.2 Технология и организация строительного
процесса
Перед началом работ по забивке свай необходимо составить и согласовать
график поставки комплектов свай с заводом-изготовителем на строительную
площадку.
Сваи, поставляемые на объект должны иметь необходимую сопроводительную
документацию для каждой партии в соответствии с нормативными требованиями.
Складирование элементов свай на стройплощадке должно производиться в
штабеля по номенклатуре. Сваи в штабеле следует укладывать по пять штук в два
ряда.
После установки сваи на точку забивки отклонение острия сваи в плане не
должно превышать 1 см от проектного положения. Копровая стрела и свая
необходимо привести в вертикальное положение с соблюдением соосности молота и
сваи.
Первоначальное погружения сваи нужно производить одиночными ударами с
небольшой высоты падения ударной частью молота. Необходимо особенно строго
следить за правильным положением сваи как в плане, так и по вертикали. К полной
забивке можно приступать только после того, как будет обеспечено погружение
элемента в заданном направлении.
По мере забивки элементов сваи обязательно вести наблюдение за
соответствием скорости погружения характеру грунтовых пластований. Ускоренное
погружение элемента, когда его острие проходит плотные слои грунта, вполне может
свидетельствовать об изломе. В таком случае нужно прекратить забивку и
пригласить представителя проектной организации для принятия соответствующего
решения.
В процессе забивки свай должное внимание необходимо уделить техническому
состоянию молота, в виду того что для передачи на сваю всей энергии удара
продольные оси ударной части молота и самой сваи должны совпадать, тогда удар
будет центральным.
Число забитых свай, имеющих тангенс угла наклона продольной оси и
вертикали (1/100), должно не превышать 25 % от общего количества свай под
здание.
Если элементы , в свайном поле погруженные с наклоном в одну сторону,
расположены группами, необходимо забить дополнительные сваи. В случае когда
сваи с наклоном расположены в отдельных местах, дополнительные меры по усилению
свайного поля проводить не обязательно.
При забивке свай в зимний период слой промерзшего грунта в точке засыпки
должен быть пройден пробойником или бурением. При глубине промерзания более 0,3
м следует выполнить оттаивание грунта в местах погружения свай прогревом с
помощью ТЭНов.
В процессе производства свайных работ требуется вести журнал забивки
свай.
Приемка окончательно установленных свай должна производиться на
основании: проекта свайных фундаментов; исполнительных планов забивки свай;
актов геодезической разбивки свайных фундаментов; рабочих чертежей элементов
свай; паспортов на изготовление элементов свай; журнала забивки свай.
Отклонения свай не должны превышать приведенных в СП [6].
Приемка свайных фундаментов оформляется в виде акта, в котором должны
быть указаны все дефекты, выявленные в процессе, срок их устранения и требуется
дать оценку качества работ.
Забивка железобетонных свай выполняется составом звена, приведенным в
графике выполнения работ.
Калькуляция трудозатрат приведена в приложении 1.
Операционный контроль качества работ по погружению свай выполняется в
соответствии с требованиями нормативных документов [6, 48].
При всём цикле производства работ следует строго соблюдать правила по
технике безопасности, системе стандартов безопасности труда (ССБТ) и «Правилам
устройства и безопасной эксплуатация грузоподъемных машин».
Таблица 3.1 - Ведомость потребного количества материалов
|
Наименование
|
Марка
|
Ед.изм.
|
Кол-во
|
|
Свая железобетонная
С100.35-9
|
|
шт
|
213
|
|
Электроды
|
Э-46
|
кг
|
110
|
|
Всего
|
|
шт.
|
273
|
3.1.3 Материально-технические ресурсы
Таблица 3.2 - Ведомость потребного количества машин, механизмов,
инвентаря и оборудования
|
Наименование
|
Тип (марка)
|
Кол-во
|
Техническая характеристика
|
|
Копр сваебойный
|
СП-49Д
|
1
|
|
|
Автомобильный стреловой
кран
|
КС-3571
|
1
|
|
|
Сварочный аппарат
|
ТД-500
|
1
|
Переносной
|
|
Теодолит
|
Т-30
|
1
|
|
|
Нивелир
|
Н-3
|
1
|
|
|
Рулетка
|
РС-20
|
1
|
|
3.1.4 Выбор крана
Подбор крана производится сравнением технических параметров крана с
требуемыми.
Требуемую грузоподъемность крана определяется как сумма
масс элементов, подвешиваемых одновременно на крюк крана:
, т (3.1)
где
qЭ - масса наиболее тяжелого элемента, т;
q0 - масса
оснастки, т (ориентировочно принимаем 5% от массы монтажного элемента);
qТ - масса
такелажного устройства этого элемента, т.
.
Требуемая
высота подъема крюка:
, м (3.2)
где h0
-уровень верхнего монтажного горизонта, на который устанавливается и
монтируемая конструкция, м;
hЗ - минимальное расстояние между монтажным горизонтом и
монтируемым элементом, м;
hэ - высота (толщина) элемента, м;
h - высота
захватного устройства, м, обычно для расчетов принимают
,
;
hп,, - длина
грузового полиспаста.
- для
сваи.
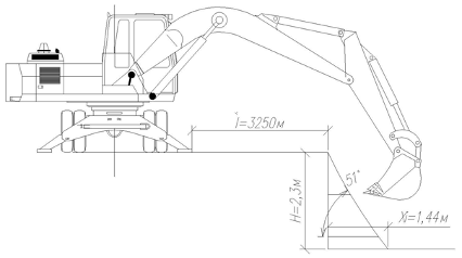
Требуемый
вылет стрелы определяется по формуле:
, м (3.3)
где
- превышение уровня оси крепления стрелы над уровнем
стоянки;
- угол
наклона стрелы к горизонту.
.
, м (3.4)
- сумма
превышения монтажного горизонта
, запаса
по высоте
и толщины элемента
.
, м - для
сваи.
Грузовые
характеристики крана КС-3571А «Ивановец».
Гидравлический автокран Ивановец Маз КС-3571А грузоподъемностью 14 тонн и
вылетом стрелы 14 м, на шасси МАЗ предназначен для погрузочно-разгрузочных и
монтажных работ. Кран оснащен двухсекционной телескопической стрелой. Благодаря
малым габаритам кран свободно передвигается в стесненных условиях.
Таблица 3.4 - Характеристики автомобильного стрелового
крана КС-3571А
|
Наименование характеристики
|
Показатель
|
|
Грузоподъемность
максимальная, т
|
17,0
|
|
Максимальный грузовой
момент, т/м
|
48,0
|
|
Длина двухсекционной
телескопической стрелы, м
|
8,0 - 14,0
|
|
Длина гуська, м
|
7,0
|
|
Вылет стрелы, м
|
1,9 - 17,0
|
|
Высота подъема груза, м
|
Высота подъема груза, м
|
|
- с основной стрелой
|
|
- с основной стрелой и
гуськом
|
21,6
|
|
Максимальная скорость
подъема - опускания груза, м/мин
|
|
|
- номинального груза
|
9,0
|
|
- пустого крюка и груза до
4,5 т
|
18,0
|
|
Скорость посадки груза,
м/мин
|
0,2
|
|
Частота вращения поворотной
части, об/мин
|
2,5
|
|
Скорость передвижения крана
своим ходом, км/ч
|
до 60
|
|
Полная масса с основной
стрелой , т
|
17,81
|
|
Колесная формула базового
автомобиля
|
6 х 6
|
|
Габариты крана в
транспортном положении, м
|
|
|
- длина - ширина - высота
|
10,0 х 2,5 х 3,42
|
Рисунок 3.1 - Характеристики автомобильного стрелового крана КС3571А
3.1.5 Выбор копровой установки
Копер подбираем исходя из требуемого удельного давления копра на грунт
под ходовой частью, полезной высоты стрелы, грузоподъемности лебедки. Молот
подбираем исходя из инженерно-геологических особенностей площадки
строительства, соотношения массы ударной части молота и массы сваи, возможности
применения способа забивки на рассматриваемой площадке. Предварительно
принимаем СП-49Д.
Необходимую
для забивки сваи максимальную энергию удара молота
, Дж, определяют по формуле:
, Дж (3.5)
-
коэффициент,
-расчетная
нагрузка на сваю (по данным проекта),
.
Принятый
тип молота с расчетной энергией удара должен удовлетворять условию:
, Дж (3.6)
- сила
тяжести ударной части молота,
Н=
2,8 м - высота падения ударной части молота,
.
Расчетная
энергия удара принятого типа молота больше необходимой энергии.
Выполняем
проверку условия:
, (3.7)
где
- вес молота,
- вес
сваи,
-
фактическая высота падения ударной части молота, м;
-
коэффициент для железобетонных свай.
-
Условие выполняется.
Выполняем
расчет контрольного остаточного
м,
отказа при забивке и контрольной добивке сваи по формуле:
, (3.8)
где
,
-
площадь поперечного сечения сваи,
-
несущая способность сваи,
,
- масса
молота,
- масса
сваи,
- масса
подбабка.
.
,003
м < 0,005 м - условие выполняется.
Оставляем
предварительно принятый сваебойный копер СП-49Д.
Таблица 3.5 -
Параметры и технические характеристики
|
Наименование параметра
|
Значение
|
|
Длина погружаемой сваи, м,
не более
|
12
|
|
Сечение погружаемой сваи,
мм, не более
|
350x350
|
|
Грузоподъемность, т, не
более
|
12.0
|
|
на канате подъема молота,
т, не более
|
7
|
|
на канате подъема сваи, т,
не более
|
5.0
|
|
Максимально допустимый
уклон стройплощадки, град
|
3
|
|
База трактора, мм
|
3225
|
|
Ширина башмака гусеницы, мм
|
900
|
|
Рабочие наклоны мачты,
град, не более:
|
|
|
вправо-влево
|
7 градусов(1:8)
|
|
вперед
|
7 градусов (1:8)
|
|
назад
|
18 градусов(1:3)
|
|
Продольное перемещение
мачты, мм, не более
|
400
|
|
Ширина направляющих мачты,
мм
|
360
|
|
Скорость подъема молота и
сваи, м/мин
|
16,5
|
|
Масса навесной части (без
базовой машины, погружателя и бурильного оборудования), т, не более
|
8,6
|
|
Масса копра без молота, т,
не более
|
27,5
|
|
Габаритные размеры копра,
мм, не более:
|
|
|
в рабочем положении:
|
|
|
длина
|
4728
|
|
ширина
|
5210
|
|
высота
|
18510
|
|
в транспортном положении:
|
|
|
длина
|
10610
|
|
ширина
|
4700
|
|
высота
|
3540
|
|
Производительность в смену,
свай/смену
|
25-35
|
|
Применяемые молота
|
СП75
|
3.1.6 Техника безопасности
Основные предупредительные меры. Земляные работы в зоне, где расположены
подземные коммуникации, требуют особых мер предосторожности, в связи с этим до
начала земляных работ выявляется присутствие подземного хозяйства.
Если в зоне строительной площадки присутствуют подземные коммуникации,
приступать к земляным работам разрешается лишь после получения разрешения
организаций, ответственных за их эксплуатацию. К разрешению обязательно
прилагается выкопировка плана с указанием трасс и глубины заложения
коммуникаций.
Работы в вышеуказанных случаях следует производить с максимальной
осторожностью; вместо ломов, клиньев, кирок разрешается пользоваться только
лопатами.
Перед началом земляных работ, строительную площадку нужно освободить от
всего, что может мешать в дальнейшем работам.
Во время производства земляных работ главными опасностями являются
обвалы, оползни, падение вынутого грунта обратно в котлован или траншею. В виду
этого меры безопасности включают в себя устройство надежных креплений или
оставление соответствующих откосов грунта при его разработке, а также скопление
выброшенного грунта на расстоянии не менее 50 см. от бровок.
Меры безопасности в процессе производства земляных работ во многом
зависят от физических свойств разрабатываемого грунта. В настоящее время
основная часть подобных работ производятся с помощью разнообразного парка
строительных машин. Для обеспечения их безопасной эксплуатации следует
производить своевременный осмотр, профилактические ремонты, ограждение опасных элементов
машин. Кроме того необходимо, обязательно обучать безопасным методам работы
лиц, эксплуатирующих строительные машины.
Сваебойные машины необходимо оборудовать ограничителями высоты подъема
бурового инструмента или грузозахватного приспособления и звуковой
сигнализацией.
Тросы должны иметь сертификат завода - изготовителя или акт об их
испытании; грузозахватные средства должны быть испытаны и необходимо
присутствие на них бирок или клейм, подтверждающие их грузоподъемность и дату
испытания.
Расстояние между установленными сваебойными или буровыми машинами и
расположенными вблизи них строениями определяется ППР. При работе указанных
машин требуется установить опасную зону на расстоянии не менее 15 м от устья
скважины или места забивки сваи.
Перемещение сваебойных и буровых машин необходимо проводить по заранее
спланированному горизонтальному пути при нахождении конструкции машин в
транспортном положении.
Монтаж, демонтаж и перемещение сваебойных машин производится под
непосредственным руководством лиц, ответственных за безопасное выполнение
работ.
Монтаж, демонтаж и перемещение сваебойных и буровых машин при ветре 15
м/с и более или грозе не разрешается.
Перед подъемом конструкций сваебойных машин все детали должны быть
надежно закреплены, а инструмент и незакрепленные предметы убраны.
При подъеме конструкции, собранной в горизонтальном положении, необходимо
прекратить любые другие работы в радиусе, равном длине конструкции плюс 5 м.
Во время работы сваебойных или буровых машин лица, непосредственно не участвующие
в выполнении данных работ, к машинам на расстояние менее 15 м не допускаются.
Перед тем как начинать буровые или сваебойные работы необходимо
проверить:
исправность звуковых и световых сигнальных приборов,
ограничителя высоты подъема грузозахватного органа;
состояние канатов для подъема механизмов, а также состояние
грузозахватных устройств;
исправность всех механизмов и целостность металлоконструкций.
Перед началом осмотра, смазки, чистки или устранения каких-либо
неисправностей буровой машины или копра буровой инструмент или сваебойный
механизм должны быть опущены и поставлены в устойчивое положение, а двигатель
заглушен.
Спуск и подъем бурового инструмента или сваи производится после подачи
звукового сигнала.
Во время подъема или спуска бурового инструмента запрещается производить
на копре или буровой машине работы, не имеющие отношения к указанным процессам.
Подъем сваи и сваебойного молота необходимо производить отдельными
крюками. При наличии на копре только одного крюка для установки сваи сваебойный
молот должен быть снят с крюка и установлен на надежный стопорный болт.
Во время подъема свая должна фиксироваться от раскачивания и кручения при
помощи расчалок.
Одновременный подъем сваебойного молота и сваи не допускается.
Сваи допускается подтягивать по прямой линии в пределах видимости
машиниста копра только через отводной блок, закрепленный у основания копра.
Запрещается подтягивать копром сваи на расстояние более 10 м и с отклонением их
от продольной оси.
Во время резки погруженных в грунт свай следует предусматривать меры,
исключающие случайное падение отделяемой части.
Установка свай и сваебойного оборудования производится без перерыва до
полного их закрепления.
Оставлять сваи в подвешенном состоянии не допускается.
Таблица 3.6 - Допускаемые отклонения при приемке свай
|
Наименование отклонений
|
Величина отклонений Сваи
призматические и круглые полые
|
|
По длине элементов
(звеньев), мм:
|
|
|
а) при длине до 10 м
|
±40
|
|
По размерам сторон или
наружного диаметра поперечного сечения, мм
|
±5
|
|
По длине острия, мм
|
±30
|
|
По смещению острия от
центра, мм
|
15
|
|
По наклону плоскости
верхнего торца, %:
|
|
|
а) для цельных свай
|
1,5
|
|
По кривизне (стрелке
вогнутости или выпуклости)
|
|
|
при длине элементов, мм:
|
|
|
от 9 до 16 м
|
13
|
|
По толщине защитного слоя,
мм
|
±5
|
|
По шагу сеток, спирали или
хомутов, мм
|
±10
|
|
По расстоянию между
продольными стержнями арматуры, проволоками или прядями, мм
|
±5
|
|
По расстоянию от центра
подъемных петель или меток для строповки до конца свайного элемента, мм
|
±50
|
|
По смещению положения
подъемных петель относительно продольной оси свайного элемента, мм
|
20 -
|
3.1.7 Технико- экономические показатели
Таблица 3.7 - Технико- экономические показатели
|
Наименование показателей
|
Ед. изм.
|
Количество
|
|
1. Трудоемкость на весь
объем
|
чел-дн
|
134
|
|
2. Трудоемкость на 1 сваю
|
чел-дн
|
5,3
|
|
3. Приведенная выработка на
1 рабочего в смену
|
свая
|
1,56
|
|
4. Продолжительность работ
«0» цикла
|
дн
|
26
|
|
5. Затраты машинного
времени
|
маш-смен
|
22,2
|
4.
ОРГАНИЗАЦИОННЫЙ РАЗДЕЛ
4.1 Общие данные
здание строительный монтажный фундамент
Исходными материалами для составления ППР служат:
ранее утвержденный проект; в т.ч. ПОС, РД и сметы;
данные о поставке сборных конструкций, деталей, изделий и полуфабрикатов;
данные о поставке технологического, энергетического и другого
оборудования;
данные строительных и монтажных организаций о наличии парка машин и
механизмов, возможности его расширения и использования;
действующие нормативные документы: СНиПы, инструкции и указания по
производству и приемке строительных, специальных и монтажных работ, в т.ч. и по
охране труда в строительстве.
ППР состоит из трех основных видов технологических документов: графиков
(календарных планов), СГП и технологических карт.
Объемы работ в ППР определяют по РД, спецификациям и сметам, расчеты всех
видов ресурсов ведут по производственным нормам.
ППР на подготовительные работы выполняют в той же номенклатуре, что и для
основных работ, но в меньшем объеме.
Для объектов строящихся по типовым размерам, в состав РД входят основные
положения по производству СМР.
При строительстве комплекса зданий разрабатываются сводные поточные
графики на весь объем строительства.
4.1.1 Характеристика условий строительства
Проектируемое жилое здание расположено в г.Вологда.
Источником покрытия потребности в рабочей силе являются кадровые рабочие.
Обеспечение строительства железобетонными изделиями и конструкциями
производится заводами ЖБИ г.Вологда. Строительными механизмами строительство
обеспечивается предприятиями ПМК Вологдастрой. Доставка на объект строительства
основных материалами, конструкциями и деталями производится автомобильным
транспортом. Относительной отметке 0.000 соответствует абсолютная 119,85.
Начало строительства запланировано на май 2016 г.
4.1.2 Природно-климатические условия строительства
Температура воздуха в зимний период наиболее холодной пятидневки - -32°С,
наиболее холодных суток - -35°С. Глубина промерзания грунта 1,5м. Средняя
глубина заложения фундаментов 3,9 м. Основанием фундаментов служит суглинок
тугопластичный со следующими характеристиками: нормативный угол внутреннего
трения φ=23°;
е=0,477; средняя
плотность грунта γ=1,93тс/м3; модуль упругости Е=23 МПа.
4.2 Описание методов выполнения основных СМР с указаниями по технике
безопасности
4.2.1 Подготовительный период
Строительство проектируемого объекта выполняется в два периода:
подготовительный и основной.
В состав подготовительного периода входят работы, связанные с подготовкой
строительной площадки.
Освоение строительной площадки - расчистка территории строительства, снос
строений, неиспользуемых в процессе строительства.
Монтаж инвентарных зданий и установок, создание общескладского хозяйства.
Инженерная подготовка территории строительства - устройство
внутриплощадочных дорог, прокладка сетей водо-, энергоснабжения, канализации,
теплоснабжения и связи.
Временная дорога, обеспечивающая подъезд к строительной площадке
грунтовая уплотненная щебнем, ширина дороги при одностороннем движении
транспорта - 2,78м. Стоянки крана, монтирующего каркас здания, выкладываются
железобетонными дорожными плитами.
Временное освещение территории строительства производится светильниками
на опорах, прожекторами установленными на инвентарных мачтах и стреле
монтажного крана. Временное освещение выполняется в соответствии с ГОСТ [33].
У въезда на строительную площадку необходимо установить дорожные знаки
ограничения скорости движения автотранспорта и предупреждения о въезде и входе
в опасную зону.
Складирование материалов и конструкций необходимо выполнять в
соответствии с требованиями технических условий и стандартов на материалы, изделия
и конструкции на выровненных площадках, принимая меры против самопроизвольного
смещения, просадки и раскатывания материалов и конструкций.
Во избежание доступа посторонних лиц строительная площадка ограждается
временным забором. Конструкции ограждения выполняются в соответствии
требованиям ГОСТ [16]. Ограждения, примыкающие к местам массового прохода,
людей оборудованы сплошным защитным козырьком.
Работы по прокладке инженерных коммуникаций выполняются с соблюдением
требований нормативных документов [34], [35], [47]. При ограждении строительной
площадки также должны соблюдаться требования [16], [4], [11].
4.2.2 Основной период строительства
Основной период строительства делится на три стадии:
) устройство подземной части здания
) устройство надземной части здания
) отделочные работы.
Возведение подземной части здания.
При производстве работ по устройству оснований и фундаментов зданий и
сооружений всех видов следует руководствоваться [4], [10], [11].
К производству земляных работ можно приступать только после разбивки
котлованов, траншей, земляных сооружений, привязки осей и высотных отметок на
имеющейся геодезической основе и закрепления необходимых разбивочных знаков.
Отрыв траншей коммуникаций и земляные работы по отрывке траншей и
котлованов выполнять экскаватором ЭО-3322А с емкостью ковша 0,5 м3.
Возведение подземной части здания рекомендуется выполнять краном
КС-35714, позволяющим монтировать все элементы и подачу материала с бровки
котлована.
а) Земляные работы.
Земляные работы по устройству котлована выполняются с помощью:
экскаватора ЭО-3322А и а/самосвала МАЗ 503А.
б) Устройство фундаментов.
Ленточные фундаменты и стаканы под колонны монтируются на песчаную
подготовку с проверкой отметок оснований по визиру; установка маячных блоков
предусмотрена по нивелиру, а для установки рядовых блоков натягивают причалку.
Возведение надземной части здания
Возведение надземной части здания производится краном КБ-403Б. Для
погрузочно-разгрузочных работ с автотранспорта и для монтажа кирпичных стен
используется этот же кран. Для монтажа конструкций здания предусмотрено
использование типовой монтажной оснастки, позволяющей осуществлять подъем,
временное крепление и выверку элементов.
Транспортные работы.
Организация - владелец транспортных средств обязана обеспечить их
своевременное техобслуживание и ремонт.
Транспортировка длинномерных, тяжеловесных, крупногабаритных грузов
осуществляется на специализированном транспорте.
Груз должен быть размещен и закреплен в соответствии с техническими
условиями погрузки и крепления.
Подача автомобиля задним ходом в зоне работ производится по команде
работающих.
Монтажные
работы.
На участке, где ведутся монтажные работы, не допускается выполнение
других работ и нахождение посторонних лиц.
Способы строповки элементов конструкции и оборудования должны
обеспечивать их подачу к месту установки в положении близком к проектному.
Строповка грузов производится инвентарными грузозахватными устройствами.
Способы строповки должны исключать падение или скольжение груза.
Элементы при перемещении удерживаются от раскачивания и вращения гибкими
оттяжками.
Во время перерывов элементы не оставляют на весу.
Расстроповку элементов конструкций и оборудования, установленных в
проектное положение, производят после постоянного или временного надежного
закрепления.
Монтажные работы на высоте не выполняются в открытых местах при скорости
ветра 15 м/с и более, при гололеде или тумане, исключающем видимость в пределах
фронта работ. Работы по перемещению и установке вертикальных панелей прекращают
при скорости ветра 10 м/с и более.
Монтаж конструкций последующего яруса производят после надежного
закрепления предыдущего.
Монтаж лестничных маршей и площадок зданий одновременно с монтажом
конструкций здания. На смонтированных лестничных маршах следует незамедлительно
установить ограждение.
Нельзя находиться под монтажными конструкциями до установки их в
проектное положение.
Рабочее место должно быть оснащено необходимыми техническими средствами:
подмостями, люльками, монтажными столиками, вышками, лестницами, защитными
ограждениями, должны применяться индивидуальные средства защиты в виде
предохранительных поясов, прикрепляемых к устойчивым элементам. Кроме того,
должны применяться ограждения в виде защитных сеток для падающего предмета.
Указания по
осуществлению контроля и оценки качества монтажных работ:
Контроль качества монтажа начинают с момента приемки доставленных сборных
элементов. Они должны соответствовать требованиям проекта и не должны иметь
отклонений, превышающих допустимые по СниП.
По окончании монтажа конструкций работы принимают по акту, в котором
указывают соответствие монтажа проекту, выносят заключение о готовности здания
для производства последующих работ.
Главным критерием качества монтажных работ является тщательность сварки и
заделки стыков и точность установки конструкций в соответствии с проектом. На
все конструкции, которые при дальнейшем производстве работ закрываются другими
конструкциями составляют акты на скрытые работы.
Указания по
охране труда:
Конструкции, поднимаемые краном, надо удерживать от раскачивания
оттяжками из пенькового каната или троса.
При подъеме элементов, устанавливаемых в горизонтальное положение, к
обоим их концам прикрепляются парные оттяжки.
Запрещается передвигать конструкции после их установки и снятия захватных
приспособлений.
При подъеме элементов с транспортных средств запрещается перемещать груз
над кабиной водителя.
На монтажных работах обязательно должна быть предусмотрена сигнализация.
Все сигналы машинисту крана и рабочим на оттяжках подает один человек -
бригадир.
Временные связи, расчалки, кондукторы разрешается снимать только после
окончательного закрепления конструкций.
Машинисты кранов, стоповщики, сигнальщики и сварщики проходят обучение по
спецпрограммам.
Монтажники, имеющие стаж работы менее одного года и разряд ниже третьего,
к работе на высоте не допускаются.
Отделочные
работы.
Отделочные работы делятся на следующие циклы:
штукатурные работы;
установка и остекление оконных и дверных блоков;
подготовка под окраску и окраска поверхностей;
устройство чистых полов;
окончательная отделка и окраска поверхностей.
Производство штукатурных и облицовочных работ организуется
поточно-расчетным методом, что обеспечивает наиболее полное использование
рабочих по их квалификации.
Раствор и шпаклевку на отделываемые поверхности наносят механизированным
способом. Нанесение раствора вручную допускается лишь в небольших помещениях и
при малом объеме штукатурных работ. Водные составы для окраски стен и потолков
рекомендуется наносить механизированным способом. Ручную окраску стен и
столярных изделий рекомендуется производить малярным валиком.
Качество применяемых отделочных материалов (краски, лаки, шпаклевки)
должны удовлетворять нормативным требованиям.
4.3 Стройгенплан
Строительный генеральный план участка, являясь важным документом после
ППР, влияет на эффективность организации производства, поскольку в нем решаются
вопросы размещения и транспортировки строительных конструкций и материалов, что
отражается на производстве труда и себестоимости работ.
Стройгенплан разработан на основании архитектурно-строительного генплана
объекта, согласно техники безопасности в строительстве.
При проектировании стройгенплана предусмотрено:
ограждение стройплощадки;
наличие временных дорог;
пересечение дорог с ЛЭП выполнено под прямым углом;
размещение складских площадок в зоне действия крана;
размещение двух пожарных гидрантов на расстоянии < 150м друг от друга,
не далее 2м от дороги с твердым покрытием.
Проектом предусмотрены бытовые временные помещения, которые обеспечивают
рабочих водоснабжением, канализацией, отоплением.
Элекроснабжение осуществляется за счет трансформаторной подстанции,
установленной на объекте.
4.4 Расчёт численности персонала строительства
Численность персонала строительства определяется по формуле:
N = 1,06 × (Nосн + Nн.о.+ Nитр +
Nмоп + Nуч.), (4.1)
где 1,06 - коэффициент, учитывающий отпуска и невыходы рабочих по
болезни.
Nосн.
= 29 чел. − численность рабочих основного производства,
Nн.о =
29×
20% = 6 чел. −
численность рабочих неосновного производства
Nитр =
(29 + 6) × 6% = 2 чел. − численность инженерно-технических работников
Nмоп.
= (29 + 6) × 4% = 1 чел. − численность младшего обслуживающего персонала
Nуч. =
(29 + 6) × 5% = 2 чел. − численность учеников
N=1,06 × (29 + 6 + 2 + 1+ 2) = 42 чел.
.5 Расчет временных зданий и сооружений
Таблица 4.3 - Расчет временных зданий и сооружений
|
Наименование зданий и
сооружений
|
Расчетная численность
персонала
|
Норма на одного чел-ка
|
Требуется
|
Принято
|
|
Всего
|
% одновременно пользующихся
|
Ед. изм.
|
Кол-во
|
Ед. изм.
|
Кол-во
|
Марка
|
Кол-во
|
|
1
|
2
|
3
|
4
|
5
|
6
|
7
|
8
|
9
|
|
Проходная
|
-
|
-
|
м2
|
7
|
м2
|
7
|
«Модуль» 2,4х2,8
|
1
|
|
Контора прораба
|
2
|
100
|
м2
|
4
|
м2
|
8
|
Вагончик 3x6
|
1
|
|
Медицинское помещение
|
-
|
-
|
м2
|
12
|
м2
|
12
|
Вагончик 3x6
|
1
|
|
Помещение для приёма пищи
|
42
|
30
|
м2
|
1
|
м2
|
12,6
|
Вагончик 3x6
|
1
|
|
Помещение для обогрева
рабочих
|
42
|
100
|
м2
|
0,1
|
м2
|
4,2
|
Вагончик 3x3
|
|
Кладовая
|
-
|
-
|
м2
|
15
|
м2
|
15
|
Вагончик 3x6
|
1
|
|
Помещение для сушки и
обеспыливание одежды
|
42
|
50
|
м2
|
0,2
|
м2
|
4,2
|
Вагончик 3x3
|
|
|
Гардеробные с умывальными
|
42
|
70
|
м2
|
0,5
|
м2
|
14,7
|
Вагончик 4x4
|
|
|
Душевые
|
42
|
30
|
м2
|
1рожок
|
8чел.
|
2
|
|
|
|
|
|
|
1рожок
|
4м2
|
8
|
3x3
|
|
|
Туалет
|
42
|
100
|
м2
|
1очко
|
20чел.
|
3
|
Вагончик
|
|
|
|
|
|
1очко
|
2м2
|
6
|
3x3
|
|
|
Помещение для личной
гигиены женщин
|
|
|
|
|
|
|
Вагончик 3x3
|
|
|
1 кабина с гигиеническим
душем, при числе работающих женщин до 100 чел, размещается в женском туалете.
|
-
|
-
|
м2
|
4
|
м2
|
1
|
|
|
4.6 Расчёт потребности в коммунальном обеспечении
.6.1 Расчёт потребности в воде
Р
= Рпож + 0,5 ×
(Рб + Рпр);
, (4.2)
где Рпож = 10 л/с − расход воды на пожаротушение,
Рб = Рб' + Рб'' − расход воды на бытовые нужды, (4.3)
;
− расход воды на принятие душа, (4.4)
а - норма водопотребления на 1 человека пользующегося душем: при
отсутствии канализации 30 литров, а при ее наличии-80 литров.
к1
= 0,3
0,4 - коэфф., учитывающий количество моющихся,
t = 0,75 ч -
время работы душевой установки в часах,
= 0,1367
.
;
− расход воды на умывание, принятия пищи и др.
(4.5)
b - норма
водопотребления на 1 чел. в смену, при отсутствии канализации − 10
литров,
к2
= 1,2
1,3 - коэфф. неравномерности потребления воды,
n = 8,2 ч -
продолжительность смены,
= 0,018
,
Рб
= 0,1367 + 0,018 = 0,1547
.
Расход
воды на производственные нужды
,
(4.6)
,2
- коэффициент на неучтенные потребности
к3
= 1,3
1,5 - коэффициент неравномерности водопотребления,
Σq = 0,16
-
суммарный расход воды в 1 смену на все производственные нужды.
= 0,1
,
Р
= 10 + 0,5 ×
(0,1547 + 0,1) = 10,127
.
Диаметр
трубопровода временного водопровода:
, (4.7)
где v = 2 м/с − скорость воды во
временном водопроводе.
= 80,31
мм, принимаем Д = 102 мм.
4.6.2 Расчёт потребности в электроэнергии
Требуемая мощность трансформатора для строительной площадки определяется:
, (4.8)
где 1,1 − коэфф., учитывающий потери в сети,
ΣРС, ΣРтех, ΣРОВ, ΣРОН − сумма мощностей всех
потребителей, см. в таблице 4.4,
сosφ1 = 0,6; сosφ2 = 0,75 − коэфф. мощности,
зависящие от загрузки потребителей,
к1
= 0,3
0,8; к2 = 0,7; к3 = 0,8; к4 = 1 - коэффициент спроса
учитывающих не совпадение нагрузок.
Таблица
4.4 - Расчет потребности в электроэнергии
|
Наименование
|
Мощность, кВт
|
|
Силовые потребители: Кран
башенный КБ-403Б Технологические потребители: вибратор глубинный И-18
сварочный аппарат ТД-300 электрокраскопульт СО-61 растворонасос СО-496
виброрейка СО-47 полотерная машина СО-37 Наружное освещение: прожектор
ПКН-1000 с лампой ПЖ-53 Внутреннее освещение: - помещения временные
|
121 0,8 20 0,27 4,0 0,6
1,1 4 20,9
|
= 159,14
кВт .
Принимаем
одну передвижную комплексную трансформаторную подстанцию закрытой конструкции:
СКТП-200-6/10/0,4 Р=200кВт 3,05x1,55м
Сечение проводов во временной электросети:
;
(4.10)
где Руч - сумма мощностей потребителей на рассмотренном участке сети,
кВт,
L -
длина участка, м,
q -
удельная проводимость материала провода:
медь - 57, алюминий - 34,5, сталь - 20;
U -
номинальное напряжение : для силовых - 380В, освещение -220В;
= 2,05
мм2 принимаем диам.6 мм2
= 0,87
мм2 принимаем диам.6 мм2.
4.6.3 Расчет потребности в сжатом воздухе
Требуемая мощность компрессорной установки:
Q = 1,3 × Sq
× к, м3/мин (4.11)
где Sq - суммарный расход воздуха
приборами,
,3 - коэффициент учитывающий потери в сети,
к - коэффициент одновременно работающих аппаратов
при 1 аппарате к = 1,
- 3 к = 0,9,
- 6 к = 0,8.
Q =
1,3 × 3,4× 0,9 = 3,98 м3/мин.
Принимаем компрессоры ПКС-3М - 4 шт.
Определяем
Ø
подводящих шлангов: 
= 5,0
см.
4.6.4 Расчет потребности в тепле
Общая потребность тепла для строительных нужд:
, кДж/час (4.12)
где
Q1 - расход тепла на отопление здания
Q2 - расход
тепла на технологические нужды
к1
- коэффициент учитывающий потери в сети, к1 = 1,5;
к2
- коэффициент неучтенные расходы тепла, к2 = 1,2.
Q1 = a × q × V× (tв - tн), кДж/час (4.13)
где
а - коэффициент зависящий от расчетной температуры наружного воздуха:
tн ³ - 10 0С Þ а = 1,2;
tн ³ - 20 0С Þ а = 1,1;
tн ³ - 30 0С Þ а = 1.
q - удельная
тепловая характеристика здания,
V - объем здания
по наружному обмеру, м3
tв и tн
-расчетная температура внутри помещения и наружного воздуха
Q2 = 0 - зависит
от времени, вида и объема работ.
Q1 = 1 × 1,6 × 5289,6 × (22 - (-
32) = 457021,55 кДж/час.
Qобщ =
(457021,55 + 0) ×
1,5 × 1,2 = 822638,6 кДж/час.
4.6.5 Расчет потребности в транспортных средствах
Требуемое количество маш.-см. работы автотранспорта:
, м-см
(4.14)
где
Q - количество перевозимого однородного вида груза, т;
Рсм
= пр × q × кгр −
сменная производительность транспортной единицы,т/см;
пр
- количество рейсов в смену
q - паспортная
грузоподъемность машины, т
кгр
- коэфф. использования грузоподъемности машины в зависимости от вида груза, в
данном случае равен 1.
(4.15)
где
Т = 8,2- продолжительность смены
tпр -
нормативное время погрузоразгрузочных работ, в час, примем 0,25(час)
L - расстояние
перевозки, км. Принимаем L=10 км
V = 20 км/ч -
средняя скорость движения в условиях города,
Перевозка
грунта:
Q =
1451,1*1650=2394,315 т
Рсм
= 7*9*1 = 63 т/см.
= 38
маш.-см.
Принимаем
2 автомашины КАМАЗ 55-10, грузоподъемность которой 9 т.
4.7 Расчет площадей складов материалов, изделий и конструкций
Требуется площадь склада для хранения однородного груза:
, м2
(4.16)
, (4.17)
где
Р - запас материалов в натуральных единицах :
Q - количество
однородных материалов для объекта (в натуральных единицах);
T -
продолжительность выполнения работ с использованием данного материала, дн.
n - норма запаса
материалов, дн.
При
автомобильных перевозках n = 2 - 5 дн.
к
- коэффициент неравномерности снабжения, к = 1,2;
r - норма
хранения материала на 1 м2 площади;
кп
- коэффициент учитывающий проходы на складах:
закрытые
- кп = 0,5 - 0,7
открытые
- кп = 0,4 - 0,5;
Складские
помещения:
кирпич
P=(221120/83)*3*1,2
= 9590 шт;
S=9590/750*0,5=
25,6 м2 в 2 яруса.
пиломатериалы
P=(22,57/9,5)*3*1,2
= 8,55 м3;
S=8,55/1,8*0,5 =
9,5 м2 в 2 яруса.
.8 Технико-экономические показатели
Таблица 4.5 - Технико-экономические показатели
|
Наименование
|
Ед.изм.
|
Кол-во
|
|
Объем здания
|
м3
|
12535
|
|
Полезная площадь
|
м2
|
4002
|
|
Нормативная трудоемкость
работ
|
Чел-дн.
|
7376,38
|
|
Планируемая трудоемкость
работ
|
Чел-дн.
|
7312,38
|
|
Процент выполнения норм
выработки
|
%
|
100,9
|
|
Затраты труда на 1 м3
здания
|
Чел-дн.
|
0,58
|
|
Затраты труда на 1 м2
полезной площади
|
Чел-дн.
|
1,83
|
|
Энерговооруженность
|
кВт
|
16
|
|
Продолжительность
строительства:
|
|
|
|
нормативная
|
дн.
|
331
|
|
планируемая
|
дн.
|
318
|
5. БЕЗОПАСТНОСТЬ ПРОЕКТА
5.1 Проектирование мер безопасности при
организации земляных работ
В данном проекте для строительства 10-ти этажного жилого дома
предусматривается устройство свайных фундаментов, разработка котлована
требуется для монтажа ростверка на глубину 2,3м.
Большинство несчастных случаев во время производства земляных работ это
обрушение грунта при его разработке в процессе дальнейших действий в траншеях и
котлованах. Обрушение чаще всего происходит в виду превышения допустимых
значений глубины разработки выемки без должных креплений или неправильного их
устройства; разработки траншей и котлованов с недостаточно устойчивыми
откосами; нарушения технологии земляных работ; появления неожиданных излишних
нагрузок от строительных материалов и конструкций, землеройных и транспортных
механизмов, а также при отсутствии или неправильном устройстве водоотлива.
Несчастные случаи также могут произойти при несоблюдении нормативных расстояний
от действующих электрокабелей и трубопроводов, неправильной эксплуатации
строительных машин и механизмов.
Мероприятия по безопасности труда при производстве земляных работ
зависят, в основном, от предотвращения обвалов грунта. Предупредить обрушение
можно разными способами: устройством откосов и установкой креплений.
В связи с тем что вблизи места предстоящих земляных работ расположены
действующих подземных коммуникаций (электрические кабеля, газопровод, бытовая
канализация и теплосеть), необходимо получить разрешение на проведение этих
работ от организации, ответственной за эксплуатацию коммуникаций. К разрешению
обязательно прилагается выкопировка плана с указанием трасс и глубины заложения
коммуникаций.
Перед началом производства работ на разрабатываемой площадке
устанавливают знаки безопасности, указывающие расположение и глубину заложения
действующих подземных коммуникаций.
Вблизи существующих подземных коммуникаций земляные работы необходимо
производить под обязательным наблюдением прораба или мастера, а в
непосредственной близости от них, кроме того, под наблюдением работников
организации, ответственной за эксплуатацию этих коммуникаций. Во избежание
повреждения электрических кабелей или трубопроводов разработка грунта
механизированным способом разрешается на расстоянии не менее 2 м от боковой
стенки и не менее 1 м над верхом трубы, кабеля, сооружения. Оставшийся грунт
дорабатывают вручную только при наличии лопат, не допуская резких ударов. Не
разрешается пользоваться ударными инструментами (ломами, кирками,
пневматическими инструментами).
Если в процессе выполнения работ возможно появление вредных газов,
инженерно-технический персонал и рабочие должны быть предупреждены об этом и
проинструктированы, о способах борьбы с ними, а также о способах индивидуальной
защиты. Строительный участок должен быть обеспечен достаточным количеством
противогазов и индикаторов для определения состава газа. Применять открытый
огонь и курить в таких местах запрещается. При обнаружении газов работы
немедленно прекращают, рабочих удаляют из опасных зон вплоть до их
обезвреживания и выявления причин появления газа.
При рытье траншей или котлованов в местах движения людей и транспорта
вокруг места производства работ устанавливают сплошное ограждение высотой 1,2
м. В ночное время на нем должно быть сигнальное освещение. Расстояние между
ограждением и осью ближайшего рельса железнодорожного пути должно быть не менее
2,5.
В пределах призмы обрушения грунта при устройстве траншей и котлованов
без креплений запрещается складирование материалов и оборудования, установка и
движение машин и механизмов, прокладка рельсовых путей.
До начала разработки траншей и котлованов необходимо выполнить все
мероприятия по отводу поверхностных и грунтовых вод. Во избежание оползания
грунта при появлении грунтовых вод на откосах выемок следует принять меры к
отводу или понижению уровня грунтовых вод (устройство дренажей, лотков или
откачка воды).
5.2 Расчет устойчивости откоса котлована
Безопасность труда при разработке котлованов н траншей должна быть
обеспечена:
- устройством
откосов при глубине выемки до 5 м в однородных грунтах [11, табл.1];
- устройством вертикальных откосов без креплений на глубину не
свыше 1.5 м в нескальных, незамерзаемых грунтах ненарушенной структуры выше
уровня грунтовых вод и при отсутствии вблизи подземных сооружений [11, п.
5.2.4];
- устройством механических креплений траншей глубиной не свыше
5 м из инвентарных н типовых деталей;
- устройством деревянных и стальных креплений по расчету при
глубине выемки свыше 5 м и в сложных гидрогеологических условиях
(переувлажнение» напластование грунтов);
- извлеченный из выемки грунт необходимо размещать на
расстоянии не менее 0,5 м от бровки этой выемки [11, п. 5.3.2]:
- устройством водоотлива поверхностных дождевых и грунтовых
вод;
- устройством ограждений, указателей и световой сигнализации в
опасной зоне у выемки.
- механизацией работ по планировке дна н откосов котлованов н
траншей;
- организации надзора за безопасностью ведения работ и
состоянием устойчивости бортов выемок.
Глубина котлована в проекте составляет 2,3м, грунт суглинок.
Крутизна откоса для суглинка при глубине выемки до 3 м должна быть не
более 1:0,5.
Исходные данные:
Вид грунта: суглинок
Плотность грунта: γ=2710
кг/м3
Характеристики связности грунта: С=19кПа
φ=20°
Р0=5000
кПа
Расчетная часть:
, (5.1)
где
В = Р0*tgφ+C =
5000* tg20° + 19000 = 20820 Па, (5.2)
А
= γ*zi* tgφ, (5.3)
Рисунок
5.1 - Схема построения профиля равно устойчивого откоса
Таблица 5.1 - Результаты расчета
|
Номер слоя
|
zi, м
|
γ*zi, Н/м2
|
tgφ
|
А= γ*zi*
tgφ,
ПаА+В, Па  Xi=(5)*(10)
|
|
|
|
|
|
|
|
|
1
|
2
|
3
|
4
|
5
|
6
|
7
|
8
|
9
|
10
|
11
|
12
|
|
1
|
1
|
27100
|
0,364
|
0,00028
|
9864
|
30684
|
0,679
|
-0,388
|
1790
|
0,498
|
64
|
|
2
|
2
|
54200
|
0,364
|
0,00014
|
19729
|
40549
|
0,513
|
-0,667
|
5850
|
0,815
|
51
|
|
3
|
0,3
|
8130
|
0,364
|
0,00093
|
2959
|
23779
|
0,876
|
-0,133
|
192
|
0,179
|
80
|
Рисунок 5.2 - Схема безопасной установки экскаватора
5.3 Меры пожарной безопасности на стройплощадке
Все строительно-монтажные работы производятся в соответствии с правилами
пожарной безопасности в Российской Федерации.
Стройгенплан разрабатывают с учетом всех требований пожарной
безопасности. Должны быть правильно определены противопожарные разрывы между
строящимися сооружениями, подсобными предприятиями, складами. Необходимо
предусмотреть соответствующие площади строительства, количество въездов,
площадок для разворота пожарных автомобилей, обеспечить свободный подъезд ко
всем строящимся и эксплуатируемым зданиям.
Строительную площадку следует постоянно содержать в чистоте. Строительные
отходы (обрезки лесоматериалов, щепу, кору, стружку, опилки и т. п.) ежедневно
убирают с места выполнения работ и с территории строительства. Можно временно
хранить горючие отходы на территории строительства на площадке, расположенной в
30м от строящихся и подсобных зданий. Отходы, поступающие на площадку,
разрешается хранить не более трех суток. Здесь организуют раздельное хранение
обрезков древесины, щепы и опилок. Опилки ссыпают в специальные места или
ящики. Тряпки, обрывки бумаги, картона, рубероида держат отдельно от древесных
отходов. Разводить костры для сжигания мусора, отходов, разогрева битума,
обогрева рабочих и т. п. на территории строительства запрещается.
На всех участках строительства, где это требуется по условиям работы,
возле оборудования, машин и механизмов, на подъездных путях, автомобильных
дорогах и в других опасных местах должны быть вывешены хорошо видимые, а в
темное время суток освещенные предупредительные и указательные надписи или
знаки безопасности, плакаты и инструкции по технике безопасности.
Основную пожарную опасность при производстве строительно-монтажных работ
представляет неисправное электрооборудование или токоведущие части, сгораемый
утеплитель и рулонные кровельные материалы; легковоспламеняющиеся и горючие
жидкости, клеи, мастики, битумы и полимерные материалы; сварочные и другие виды
огневых работ; сушка помещений.
Значительную опасность в пожарном отношении представляют лесоматериалы.
Расходные склады этих материалов на строительной площадке располагают от
строящихся зданий на расстоянии 30м для пиломатериалов и 15м - для круглого
леса. Штабеля пиломатериалов могут занимать участок не более 750м2. Если этой
площади недостаточно, отводят другой участок на расстоянии не менее 25м от
первого. При хранении лесоматериалов особенно важно систематически очищать
склад от горючих отходов и сухой травы. Кору, щепу, стружки сразу увозят или
складывают на специально отведенной площадке, расположенной не ближе 80м от
границ склада лесоматериалов, строящихся объектов, временных зданий и
сооружений.
Все лесоматериалы укладывают в штабеля, соблюдая при этом противопожарные
разрывы. Из круглого леса делают штабеля шириной, равной длине бревна, длиной
не более 100м, высотой не более 1,5м. Из пиломатериалов оформляют штабеля,
высота которых при рядовой укладке должна составлять не более половины ширины
штабеля, а при укладке в клетки - не более его ширины. По длине и ширине
штабель не должен превышать длины доски (бруса), а по высоте - 8м. Разрывы
между штабелями принимают равными не менее 1м.
Битумные мастики, разогреваемые в котлах, представляют большую опасность
пожаров, и при работе с ними следует соблюдать особую осторожность. На рабочие
места их доставляют в металлических бачках, заполненных не более чем на 2/3.
Температура мастики не должна превышать 180° С. Внутри помещений битумные
составы подогревают в электрических бачках специальной конструкции.
При проведении огневых работ место проведения работ должно быть
обеспечено средствами тушения пожара. Все огневые работы следует заканчивать до
начала устройства сгораемых полов, укладки сгораемой теплоизоляции, отделочных
работ, связанных с применением сгораемых материалов.
Для сушки помещений строящихся зданий применяют газовые горелки
инфракрасного излучения и воздухонагреватели, работающие на газе или жидком
топливе. Воздухонагреватели, работающие на газе или жидком топливе,
используемые для сушки помещений, должны быть только заводского изготовления.
6. ЭКОЛОГИЧНОСТЬ ПРОЕКТА
Здания и сооружения оказывают большое влияние на окружающую среду. Их
появление вызывает значительные изменения в воздушной и водной средах, в
состоянии грунтов участка строительства. Непродуманные технологии, организация
и само производство работ определяют большие затраты энергии и материалов,
высокую степень загрязненности окружающей среды. Процесс строительства является
относительно непродолжительным. Взаимодействие здания или сооружения с
окружающей средой, его характер и последствия определяются в период длительной
эксплуатации, отсюда вытекает важность этого периода в определении экологичности
проекта.
В процессе проектирования необходим тщательный учет экологических
последствий принимаемых решений. Экологический подход должен быть выдержан при
решении как объемно-планировочном, так и конструктивном; при выборе материалов
для строительства, при определении технологии возведения и т. д.
6.1 Мероприятия по охране окружающей среды в
процессе строительства
Строящееся здание находиться в городской черте. Рядом со зданием проходит
автодорога, которая продувается ветром, что обеспечивает обмен воздуха и
отсутствие мест застоя воздуха. Посадки деревьев и кустарников между
автодорогой и зданием, запроектированные в благоустройстве территории, ведут к
защите от шума автотранспорта. Зеленые насаждения ведут к улучшению газового
состава воздуха и его очищению.
Водоснабжение административного здания предусмотрено из городской сети с
полным циклом очистки и обезвреживания воды. Хозфекальные воды сбрасываются по
сетям на очистные сооружения, где проходят полный цикл очистки и утилизации.
Основные конструкции для жилого здания запроектированы из природных
экологически чистых материалов.
С целью уменьшения воздействия вредных производственных факторов для
охраны окружающей среды на стадии разработки строительных технологий
принимаются технические решения, которые отражаются в проектах производства
работ.
Для снижения уровня шума на строительной площадке вводится временное
ограничение (запрет работ ночью) для наиболее шумных работ.
Выброс в атмосферу пылевых частиц средних и мелких фракций - наиболее
сложно контролируемый параметр. Максимальное количество пылеватых частиц
выбрасывается в атмосферу в основном при отделочных работах, таких как
шпатлёвка, затирка, покраска. Поэтому обеспечив поставку на строительную
площадку предварительно окрашенные изделия и оборудование, можно свести до
минимума выброс строительной пыли. Кроме того в процессах, связанных с
механическим воздействием на твердые материалы (бурение, шлифовка,
выдалбливание и др.) рекомендуется в процессе работы производить увлажнение
обрабатываемой поверхности. Это приводит к осаждению пылеватых частиц,
связыванию их водой и последующей уборке вместе со строительным мусором.
Уборные с выгребными ямами на стройплощадке могут устраиваться только с
разрешения СЭС и Госгортехнадзора. С целью предупреждения заражения почвы и
грунтовых вод, при устройстве выгребных ям предусматривают глиняные замки,
препятствующие проникновению жидкостей и отходов из ям в грунт. По окончании
строительства выгребные ямы должны быть очищены, а грунт вывезен и заменен
новым.
На стоянке автотранспорта и строительных машин должен быть полностью
привозной грунт. На этой площадке разрешена стоянка и слив масел и
нефтепродуктов. После производства работ этот грунт вывозится и заменяется
новым. Срезанный растительный слой вновь укладывается или заменяется
черноземом, торфом или их смесями.
С самого начала строительства объекта скапливается огромное количество
строительного мусора, что может привести к загрязнению прилегающих территорий.
Поэтому необходимо наладить чёткую систему сбора и вывоза бытового и
строительного мусора с объекта. Сбрасывать с этажей здания отходы и мусор можно
только с применением закрытых лотков и бункеров-накопителей. На территории
строительной площадки устанавливаются стоящие отдельно контейнеры под
строительный мусор, в том числе и под сдаваемые отходы, такие, как металлом,
бой стекла, кирпича, бытовой мусор. По мере наполнения контейнеры вывозят на
городские свалки, полигоны или пункты приёма отходов стройматериалов. Подрядная
организация заключает договора с местными администрациями на использование
свалок и полигонов, с указанием планируемых объёмов отходов.
Серьёзную экологическую проблему необходимо решать при отводе
поверхностных и производственных вод. Планируемый объём стоков должен
определятся при проектировании и получении технических условий на
водоотведение. Трудности возникают с несанкционированным выпуском на
существующий рельеф, при этом вода перемешанная с грунтом заливает прилегающие
территории забивает ливневую канализацию. На строительной площадке установить
зоны мойки транспорта и строительных машин. В процессе проведения работ
запретить любой сброс воды не соответствующий установленным схемам водоотвода.
Временные автомобильные дороги и другие подъездные пути устраиваются с
учетом требований по предотвращению повреждений древесно-кустарниковой
растительности.
В процессе строительства, при проведении вертикальной планировки площадки
нарушается естественное состояние почв и рельефа местности. Поэтому в проекте
строительства предусматривается рекультивация земель.
Сохранность снятого плодородного слоя почвы заключается в том, чтобы не
допустить его загрязнения и засорения строительными отходами, исключить
возможность его смешивания с нерастительным грунтом при срезке,
транспортировании или после укладки в гурты.
При проведении технического этапа рекультивации выполняются следующие
основные работы:
- грубая и чистая планировка поверхности отвалов, засыпка нагорных
и водоотводных каналов;
- освобождение рекультивируемых поверхностей от крупногабаритных
обломков пород, производственных конструкций, строительного мусора с
последующим их захоронением или организованным складированием;
укрепление откосов и оформление остаточных траншей;
создание и улучшение структуры рекультивационного слоя;
покрытие поверхности равномерными слоями потенциально
плодородными породами и плодородными слоями почвы;
посев трав, восстановление кустарниковой и древесной
растительности или новые посадки.
6.2 Мероприятия по охране окружающей среды по
окончании строительства и при эксплуатации
После завершения строительства на территории объекта должен быть убран
строительный мусор, ликвидированы ненужные выемки и насыпи, засыпаны или
выположены овраги, выполнены планировочные работы и проведено благоустройство
земельного участка.
Овраги и промоины на территории засыпают или выполаживают за счет
имеющихся повышенных форм рельефа: холмов, бугров, курганов.
Для предупреждения затопления территории ливневыми и талыми водами на
поверхности участка застройки должна быть предусмотрена система ливневой
канализации и водоотвода. При размещении объекта в нижней части склона с
большой водосборной площадью по верхней границе участка должны размещаться
нагорные и ловчие канавы для перехвата и отвода поверхностного стока с
застраиваемой территории.
После завершения планировочных работ на восстанавливаемую поверхность
участка наносят из резерва почвенный слой мощностью до 30см и проводят
озеленение территории. Остаток резерва почвенного слоя передают другим
землепользователям, для землевания малопродуктивных сельскохозяйственных
угодий.
После сдачи объекта в эксплуатацию ответственность за содержание объекта
строительства ложится на эксплуатирующую организацию. Её основная задача
следить за состоянием окружающей среды, проводить мероприятия по восстановлению
флоры и фауны, осуществлять профилактику по предотвращению аварий на инженерных
сетях, осуществлять организованный вывоз бытовых отходов, проводить работы по
санитарной уборке территории, проводить мероприятия по повышению общей культуры
поведения служащих административного здания
6.3 Расчет количества контейнеров для ТБО
Письмо №13-0-1/2399/28-5913 от 29.06.2011г норма накопления ТБО на 1
человека в благоустроенном жилье для г. Вологды составляет 1,93 м3/год
Плотность отходов 0,21 т/м3 количество жителей в проектируемом доме 224
человека
Количество ТБО составит:
Тогда,
количество контейнеров равно:
, (6.1)
где
- годовое накопление доходов,
-
периодичность удаления отходов (принимается = 1),
-
неравномерность накопления отходов (принимается=1,25) ,
-
коэффициент, учитывающий ремонт контейнеров (принимается=1,05) ,
-
вместимость контейнера = 0,75 м3 или
.
Принимаем
3 контейнера для мусора объемом 0,75м3.
6.5 Мероприятия по предотвращению загрязнения
грунтовых вод
Строительные отходы образуются при производстве земляных работ (места
складирования плодородного грунта, пыль), кладочно-монтажных, малярных
(различная тара для хранения краски и разбавителей красок) и отделочных работ.
Непродуктивные грунты, изымаемые при земляных работах, вывозят на другие
стройки , например при устройстве дорог или в места, требующие подсыпки грунта
до необходимых отметок. Часть такого вида грунта может поступать на полигоны
(свалки), где его используют в качестве изолирующих слоев или для засыпки
рекультивируемых карьеров и выемок.
Бытовые (коммунальные отходы) - это твердые отбросы, не утилизированные в
быту (при эксплуатации здания), образующиеся в результате амортизации предметов
быта и самой жизнью людей.
Основная причина загрязнения рек, водоемов и подземных вод - сброс
неочищенных или недостаточно очищенных сточных вод промышленными и
сельскохозяйственными предприятиями, коммунальными хозяйствами. В них
присутствуют нефтепродукты, фенолы, соединения металлов, аммонийный нитритный
азот.
Источниками загрязнения подземных вод могут быть:
- места хранения и транспортировки промышленной продукции и
отходов производства;
- места хранения (свалки) коммунальных и бытовых отходов;
- сельскохозяйственные поля или любые угодья, на которых
применяются удобрения, пестициды и другие химические вещества;
- загрязненные участки земли (например, открытые стоянки
автомашин и строительной техники, хранение нефтепродуктов и т.п.);
- загрязненные участки водоносного горизонта, естественно или
искусственно связанного со смежными водоносными горизонтами;
- участки инфильтрации загрязненных атмосферных осадков;
- промышленные площадки предприятий, автохозяйств, поля
фильтрации и др.
По происхождению загрязнение подземных вод подразделяют на микробное и
химическое.
Микробному загрязнению чаще всего подвергаются грунтовые воды, когда
очаги загрязнения (выгребные ямы, скотные дворы) напрямую фильтруют воду. И
если грунты в зоне аэрации теряют свои очищающие свойства, начинается
загрязнение грунтовых вод. Особенно опасны очаги загрязнения в местах, имеющих
трещиноватые и крупнообломочные породы, где загрязнения могут проникать в
подземные воды вместе с атмосферными осадками. Загрязнение артезианских вод
может произойти при сбросе сточных вод в отработанные скважины и за трубное
пространство заброшенных скважин, имеющих дефекты.
Загрязнение подземных вод химическими веществами может идти через
загрязненные поверхностные воды. На промышленных предприятиях для очистки вод
применяются пруды-отстойники, пруды-накопители, золоотвалы, шламовые пруды,
поля фильтрации и другие сооружения. Однако такие очистные сооружения являются
ненадежными средствами защиты. В подземные воды могут поступать и
поверхностно-активные вещества, а также атмосферные осадки, загрязняющиеся на
территориях, занятых промышленными и хозяйственными отходами, на участках
хранения нефтепродуктов, сырья готовой продукции химической промышленности,
складов ядохимикатов и минеральных удобрений.
Поскольку подземные воды являются основными источниками водоснабжения
населенных пунктов, то они должны быть надежно защищены. Прежде всего
необходимо обеспечить водонепроницаемость грунтов в местах расположения всех
загрязняющих источников, что основывается на инженерно-геологических изысканиях
и фильтрационных расчетах. Не допускается строительство в начале делювиальных
или пролювиальных конусов выноса или шлейфов, на нижних речных террасах,
трещиноватых участках. Необходимо принимать тщательные меры по предотвращению
загрязнения подземных вод при проведении геологоразведочных работ, эксплуатации
месторождений полезных ископаемых, разрабатываемых открытым способом.
Под охраной подземных вод понимается комплекс мероприятий, направленных
на сохранение и улучшение такого качественного и количественного состояния
подземных вод, которые позволяют использовать их в народном хозяйстве. Охрана подземных
вод заключается в строгом соблюдении водного законодательства, предусматривает
комплекс профилактических мер и специальных водоохранных мероприятий, которые
подразделяются на профилактические и специальные.
В профилактические меры входит следующее: выбор месторасположения объекта
с минимальным воздействием на окружающую природную среду и подземные воды;
тщательное соблюдение зон санитарной охраны водозаборов подземных вод.
Специальные мероприятия включают в себя: сооружения защитных водозаборов
для перехвата загрязненных подземных вод и гидравлические водоразделы (завесы)
между областью вод и эксплуатируемыми чистыми подземными водами, а также
создание непроницаемых экранов (стенок) вокруг очага загрязнения.
Для подземных вод основными отрицательными последствиями антропогенного
воздействия являются загрязнение и истощение.
Проведение специальных защитных мероприятий требует больших затрат,
зачастую представляет собой сложную и громоздкую техническую систему, в которую
входит обязательная очистка откачиваемых загрязненных вод.
Под истощением подземных вод понимается уменьшение их естественных или
искусственных запасов вследствие превышения расходования подземных вод над их
питанием. Причинами подобного истощения могут быть вырубка лесов, распашка земель,
спрямление и отвод рек, отбор подземных вод водозаборами, водопонизительными
установками, дренажами и т.д. При этом истощение может иметь временный может
иметь временный (сезонный) и постоянный (из-за хозяйственной деятельности)
характер.
Пополнение запасов подземных вод осуществляется: благодаря созданию
плотин, дамб, запруд, прудов, регулирующих сток водотоков или атмосферный сток;
путем перекачки вод из напорных горизонтов; задержки снеготаяния; благодаря
применению биохимически очищенных сточных вод; уменьшению испарения.
Нерациональное использование подземных вод имеет экономические, социальные и
экологические аспекты воздействия, как на человека, так и на природу.
ЗАКЛЮЧЕНИЕ
Выпускная квалификационная работа выполнена в полном объеме в соответствии
с заданием на проектирование в составе: графическая часть 6 листов и 117
печатных листов пояснительной записки.
В архитектурно - строительном разделе дано обоснование и описание
примененных конструкций, указана внутренняя и наружная отделка здания, рассмотрено
инженерное обеспечение здания и привязка к существующим сетям.
В расчетно - конструктивном разделе выполнены расчеты: теплотехнические
расчеты ограждающих конструкций, расчет и конструирование свайных фундаментов и
ростверков, расчет лестничного марша и площадочной плиты.
В технологическом разделе разработана технологическая карта на нулевой
цикл, подобран кран. В организационном разделе разработан стройгенплан с
указанием опасных зон действия крана, расположением временных инженерных сетей,
зданий и сооружений, а также указания по технике безопасности.
В разделе безопасность проекта рассмотрены вопросы по проектированию мер
безопасности при организации земляных работ и мер пожарной безопасности на
стройплощадке. В разделе экологичность проекта предусмотрены мероприятия по
охране окружающей среды в процессе строительства, по окончании строительства и
при эксплуатации здания, мероприятия по удалению ТБО.
СПИСОК ИСПОЛЬЗОВАННЫХ ИСТОЧНИКОВ
1. СП 131.13330.2011. Свод правил. Строительная климатология.
Введ. 01.01.2011// Техэксперт: инф.-справ. Система/ Консорциум «Кодекс».
. СП 20.13330.2011. Свод правил. Нагрузки и воздействия.
Актуализированная редакция СНиП 2.01.07-85: введ. 20.05.2011// Техэксперт:
инф.-справ. Система/ Консорциум «Кодекс».
3. СП 50.13330.2012. Свод правил. Тепловая защита зданий:
введ. 01.01.2012 - М: НИИСФ РААСН, 2012. - 100 с.
. СНиП 3.03.01-87. Строительные нормы и правила. Несущие и
ограждающие конструкции: введ. 01.01.87. - М.: ЦИТП Госстроя СССР, 1987. - 43
с.
. СП 50-102-2003. Свод правил. Проектирование и устройство
свайных фундаментов. Введ. 21.06.2003// Техэксперт: инф.-справ. Система/
Консорциум «Кодекс».
. СП 22.13330.2011. Свод правил. Основания зданий и
сооружений. Введ. 20.05.2011.- М.: НИИОСП им. Н.М. Герсеванова, 2010. -138 с.
7. СП 42.13330.2011. Свод правил. Градостроительство.
Планировка и застройка городских и сельских поселений. Актуализированная
редакция СНиП 2.07.01-89*. Введ. 20.05.2011.-М.: ЦНИИП градостроительства,
2011. - 80 с.
8. СП 15.13330.2010. Свод правил. Каменные и армокаменные
конструкции. Актуализированная редакция СНиП II-22-81*: введ. 2011.-М.: ЦНИИСК Кучеренко, 2011.-76 с.
9. СНиП 1.04.03.-85*. Строительные нормы и правила. Нормы
продолжительности строительства и задела в строительстве предприятий, зданий и
сооружений: введ. 17.04.85.- М.:Стройиздат, 1985.-232 с.
. СНиП 12-03-2001. Строительные нормы и правила. Безопасность
труда в строительстве/ часть 1, Госстрой России.-М.: ФГУП ЦПП, 2002.-46с.
. СНиП 12-04-2002. Строительные нормы и правила. Безопасность
труда в строительстве/ часть 2, Госстрой России.-М.: ФГУП ЦПП, 2003.-54с.
. ГОСТ 21.204-93. Условные графические обозначения и
изображения элементов генеральных планов и сооружений транспорта: введ.
01.09.94 - М.: Издательство стандартов, 1995. - 25 с.
. ГОСТ 21.205-93. Условные обозначения элементов
санитарно-технических систем: введ. 01.07.94 - М.: Издательство стандартов,
1995.-10с.
. ГОСТ 21.508 - 93. Правила выполнения рабочей документации
генеральных планов предприятий, сооружений и жилищно-гражданских объектов;
взамен ГОСТ 21.508 - 85; введ. 10.11.94. - М.: Издательство стандартов, 1995. -
28 с.
. ГОСТ 21.501-93. Правила выполнения архитектурно
строительных чертежей: введ.01.09.94. - М.: Издательство стандартов, 1995. - 28
с.
. ГОСТ 23407-78. Ограждения инвентарные строительных площадок
и участков производства строительно-монтажных работ: введ. 01.01.86. - М.: ГП
ЦПП, 2001-5 с.
. СНиП 2.04.02-84*(2002). Строительные нормы и правила.
Водоснабжение. Наружныесети и сооружения.: введ. 01.01.85, с попр. 2000. - М.:
Госстрой России, 2002.- 159 с.
. Строительные краны: Справочник/ В.П. Станевский, В.Г.
Моисеенко, Н.П. Колесник, В.В. Котушко; Под общей ред. В.П. Станевского.- Киев: Будивельник, 1984.- 240 с.
. СНиП 31-01-2003. Строительные нормы и правила. Здания жилые
многоквартирные: введ. 01.10.2003.- М.: Госстрой России, 2003.- 22 с.
. ГОСТ 12.4.107-82 (2001). Канаты страховочные. Общие
технические требования: введ. 01.01.83, с попр. 2001. - М.: ГП ЦПП, 2002-4 с.
. ГОСТ 12.4.059-89 (2001). Строительство. Ограждения
предохранительные инвентарные. Общие технические условия: введ. 01.01.90, с
попр. 2001. - М.: ГП ЦПП, 2002-9 с.
. ГОСТ Р 12.3.047-98*. Система стандартов безопасности труда.
Пожарная безопасность технологических процессов. Общие требования. Методы
контроля: введ. 03.08.98, с попр. 2002 - М.: Госстандарт России, 2000. - 88 с.
. ГОСТ 6629-88. Двери деревянные внутренние для жилых и
общественных зданий. Типы и конструкция: взамен ГОСТ 6629-74; введ. 01.01.89. -
М.: Издательство стандартов, 1989. - 17 с.
. ГОСТ 31173-2003. Двери дверные стальные: введ. 01.03.2004.
- М.: Госстрой России, 2003. - 28 с.
. ГОСТ 24259-80. Оснастка монтажная для временного
закрепления и выверки конструкций зданий. Классификация и общие технические
требования: введ. 01.01.82. - М.: Издательство стандартов, 1983. - 3 с.
. ГОСТ 24258-80. Средства подмащивания. Общие технические
условия: введ. 01.07.89. . - М.: Издательство стандартов, 1990. - 8 с.
. ГОСТ 530-2007. Кирпич и камень керамические: введ. 24.05.07.-М.:
ОАО ВНИИСТРОМ им. П.П.Будникова, РОИС, 2007.-38 с.
. СП 63.13330.2010. Свод правил. Бетонные и железобетонные
конструкции. Основные положения. Актуализированная редакция СНиП 52-01-2003:
введ. 01.01.2013.-
М.: НИИЖБ им. А.А. Гвоздева, 2012.- 161 с.
. ГОСТ 13579-78*. Блоки бетонные для стен подвалов.
Технические условия: взамен ГОСТ 1379-68; введ. 01.01.79. - М.: Издательство
стандартов, 1979. - 11 с.
. ЕНИР Е4-1. Единые нормы и расценки на строительные,
монтажные и ремонтно-строительные работы: утв. Госстроем СССР 05.12.86 г. Сб.
Е4: Монтаж сборных и устройство монолитных железобетонных конструкций. Вып. 1:
Здания и промышленные сооружения. - М.: Стройиздат,1987. - 64с.
. ГОСТ 30674-99 (2001). Блоки оконные из поливинилхлоридных
профилей. Технические условия.: введ. 01.01.2001. - М.: Издательство
стандартов, 2001. - 26 с.
32. ГОСТ 8242-88. Детали профильные из древесины и древесных
материалов для строительства. Технические условия; введ. 01.01.1989. - М.:
Госстрой России, 1989. - 11 с.
. ГОСТ 12.1.046-2001. Система стандартов безопасности труда.
Нормы освещения строительных площадок: введ. 25.04.85., с попр. 2001. - М.:
Госстрой России, 2001.- 14 с.
. СНиП 3.05.06-85. Строительные нормы и правила.
Электротехнические устройства: введ. 11.12.85.- М.: Госкомитет СССР, 1985.- 34
с.
. СНиП 3.05.03-85*. Строительные нормы и правила.
Электротехнические устройства: введ. 15.04.85.- М.: Госкомитет СССР, 1985.- 16
с.
36. Приказ
от 16 ноября 2010 г. № 107. Об утверждении территориальных сметных нормативов
Вологодской области в области сметного нормирования и ценообразования в сфере
градостроительной деятельности. от 16.11.2010.-Департамент развития
муниципальных образований Вологодской области.
37. Сборники территориальных единичных расценок на
строительные и специальные строительные работы в Вологодской области (ТЕР -
2001) / Администрация Вологодской области. - Вологда, 2001.
. Сборники территориальных единичных расценок на монтаж
оборудования в Вологодской области (ТЕРм - 2001) / Администрация Вологодской
области. - Вологда, 2001.
39. ТСЦ
81-01-2001. Территориальный сборник сметных цен на материалы, изделия и
конструкции: в 5 ч. / Администрация Вологодской области. - Вологда, 2001
40. МДС 81-33.2004. Методические указания по определению величины накладных
расходов в строительстве./ Госстрой России - Введ. 12.01.04., с попр.
17.03.2011 - М., 2004. - 10с.
1. МДС 81-25.2001. Методические указания по определению величины сметной
прибыли в строительстве./ Госстрой России - Введ. 01.03.01. - М., 2001. - 11с.
. Письмо Минпромэнерго России от 18.11.2004 г. №
АП-5536/06. О порядке применения нормативов сметной прибыли в строительстве.
43. Сборник сметных норм затрат на строительство временных
зданий и сооружений (ГСН 81-05-01-2001) / Госстрой России. - М., 2002.
. Сборник сметных норм дополнительных затрат при производстве
строительно - монтажных работ в зимнее время (ГСН 81-05-02-2007) / Госстрой
России. - М., 2007, - 89 с.
45. МДС
81-35.2004. Методика определения стоимости строительной продукции на территории
РФ./ Госстрой России - Введ. 05.03.04., с попр. 20.03.2006 - М., 2004. - 25с.
6. Налоговый кодекс РФ. Часть вторая. Глава 21. Налог на добавленную
стоимость., введ. 21.12.02. - М., 2002. - 26с.
47. СНиП 3.05.04-85*. Строительные нормы и правила. Наружные
сети и сооружения водоснабжения и канализации: введ. 10.11.84.- М.: Госкомитет
СССР, 1990.- 33 с.
. СНиП 12-01-2004. Строительные нормы и правила. Организация
строительства: введ. 01.01.2005.- М.: Госстрой России, 2005.- 23 с.
. СНиП 3.04.03-85. Строительные нормы и правила. Защита
строительных конструкций и сооружений от коррозии: введ. 07.01.86.- М.:
Госкомитет СССР, 1986.- 17 с.
. СНиП 3.04.01-87. Строительные нормы и правила. Изоляционные
и отделочные покрытия: введ. 01.07.88.- М.: Госкомитет СССР, 1988.- 41 с.