Двоичный шифратор телефонного номера

  • Вид работы:
    Курсовая работа (т)
  • Предмет:
    Информатика, ВТ, телекоммуникации
  • Язык:
    Русский
    ,
    Формат файла:
    MS Word
    312,9 Кб
  • Опубликовано:
    2016-03-08
Вы можете узнать стоимость помощи в написании студенческой работы.
Помощь в написании работы, которую точно примут!

Двоичный шифратор телефонного номера

Министерство образования Республики Беларусь

Учреждение образования

Гомельский государственный технический университет

им. П. О. Сухого

ФАИС

Кафедра «Промышленная электроника»







Курсовой проект

по дисциплине «Цифровая электроника»

на тему: «Двоичный шифратор телефонного номера»

Исполнитель: студентка гр. ПС-31

Макарова Ю.К.

Руководитель: преподаватель

Котова Ю.Е.






Гомель 2016

СОДЕРЖАНИЕ

Введение

1.       Постановка задачи

2.      Таблица истинности

.        Генератор импульсов

.        Счётчик импульсов

.        Схемы совпадения кодов

.        Регистры памяти

.        Минимизация Булева выражения

Заключение

Литература

Приложение

ВВЕДЕНИЕ

Последнее десятилетие характеризуется высоким совершенством как профессиональной, так и любительской радиоэлектронной аппаратуры. Дальнейшее повышение технического уровня радиоэлектронной аппаратуры достигается путем ее миниатюризации на основе развития функционально-узлового метода конструирования и использование новой элементной базы- интегральных микросхем. Благодаря таким достоинствам, как высокая надежность, малые габариты и энергопотребление, сравнительно невысокая стоимость, производство интегральных микросхем бурно расширяется во всех странах мира.

Проникнув в самые разнообразные виды радиоэлектронной техники - от сложнейших управляющих комплексов до бытовых приборов и устройств, микросхемы значительно расширили сферу применения радиоэлектронных средств и обеспечили высокий технико-экономический эффект от их внедрения. Постепенно возрастает такой показатель современной аппаратуры, как количество функций, приходящихся на единицу объема и массы, существенно повышается срок службы аппаратуры, снижается ее эквивалентная стоимость.

Однако возможности интегральной электроники далеко еще не использованы в практике, особенно в радиолюбительской. Внедрение интегральных микросхем в радиолюбительскую аппаратуру значительно отстает от темпов развития профессиональной аппаратуры, в которой используются микросхемы.

Слабое внедрение микросхем в радиолюбительскую аппаратуру можно отнести за счет недостаточного освещения в литературе возможностей и преимуществ микросхем и опыта их применения. В связи с этим до сих пор наблюдается определенная «робость» радиолюбителей при использовании микросхем.

Переход радиолюбителей к широкому применению микросхем в аппаратуре позволит не только повысить качество аппаратуры в целом, но и ускорить сроки ее разработки и создания, избежать ряда традиционных неудобств, в том числе настроек и подстроек, свойственных сборке узлов и блоков из навесных компонентов. В то же время он потребует отказа от некоторых традиционных схемных решений, более продуманного выбора элементной базы - интегральных микросхем, знания их номенклатуры и принципов синтеза устройств. Интегральная технология, возникшая как дальнейшее развитие и совершенствование способов и процессов, принятых в производстве полупроводниковых приборов, не только породила новые представления об оптимальных функциональных структурах и рациональных способах их построения, но и вызвала к жизни новые принципы проектирования и конструирования аппаратуры, оказала глубокое влияние на все этапы разработки, производства и эксплуатации радиоэлектронных устройств.

Из многочисленных серий цифровых микросхем на полевых транзисторах наибольшее распространение получили серии микросхем КМОП.

Сокращение КМОП - это начальные буквы четырех слов из полного определения: комплементарные полевые транзисторы со структурой металл - окисел - полупроводник. Слово комплементарный переводится как взаимно дополняющий. Так называют пару транзисторов, сходных по абсолютным значениям параметров, но с полупроводниковыми структурами, взаимно отображенными как бы в виде негатива и позитива. В биполярной схемотехнике - это транзисторы n-p-n и p-n-p, в полевой p-канальные и n-канальные. Здесь p - первая буква слова positive, и- negative.

Интересно, что на первых этапах развития биполярных цифровых микросхем предсказывали широкое распространение комплементарных биполярных логических элементов на p-n-p и n-p-n транзисторах. К примеру, если в ТТЛ удалось бы заменить выходной каскад на двухтактный комплементарный, принципиально повысилась бы экономичность элемента. Однако биполярная комплементарная транзисторная логика не прижилась из-за трудности изготовления на кристалле большого количества» компактных по площади и высококачественных по параметрам интегральных p-n-p транзисторов.

Напомним, что в аналоговой схемотехнике, где p-n-p транзисторы просто необходимы как для упрощения схемотехники, так и для улучшения свойств усилителей, проблема создания хороших p-n-p транзисторов для технологов все еще существует. Поэтому реально биполярные микросхемы ТТЛ имеют на выходе так называемый квазикомплементариый каскад. На кристалле, делают только n-p-n транзисторы. Эта компромиссная схема элемента ТТЛ оказалась оптимальной и перспективной на многие десятилетия.

Первые попытки выпускать серии простых полевых элементов к успеху не привели. Логические элементы получались крайне медленнодействующими, поскольку внутреннее сопротивление канала у полевого транзистора на порядок больше, чем сопротивление между коллектором и эмиттером насыщенного биполярного транзистора. Однополярные микросхемы МОП не отличались ни помехоустойчивостью, ни малой потребляемой мощностью. Хорошие результаты дало применение двуполярного инвертора, построенного на комплементарной полевой паре.

В середине 60-х годов был достигнут большой прогресс в разработке МОП - транзистора - элемента с ничтожно малым тепловыделением и простой конструкцией. Эти факторы позволили изготовить ИС с еще более высокой плотностью расположения элементов, что, в свою очередь, привело к сборке целого процессора (т. е. основы ЭВМ) на одном кристалле небольших размеров.

В начале 70-х годов фирме Intel (США) удалось разработать микропроцессор (Р), хотя вначале его набор команд и разрядность шины данных были небольшими. За первым микропроцессором типа 4004 вскоре был создан микропроцессор типа 8008 с 8-разрядной шиной передачи данных, а затем - микропроцессор 8080 с более совершенной системой команд.

В настоящее время разрабатываются микропроцессоры с 16-разрядными шинами передачи данных (1 бит-1 двоичному числу) и с еще большим набором команд.

Одновременно с созданием микропроцессоров разрабатывались полупроводниковые ЗУ на МОП - транзисторах, поэтому в настоящее время уже на одной плате можно разместить целый компьютер. Цена такого компьютера составляет от сотни до нескольких тысяч долларов, а зависимости от объема ЗУ и состава системы внешних устройств для ввода данных и вывода на магнитную ленту.

С появлением микропроцессоров область применения ЭВМ существенно расширилась. Если вначале компьютеры применялись только в научно-исследовательской работе и АСУ, то сегодня их можно встретить и в швейных машинках, бензоколонках и в кассовых аппаратах. Можно назвать также персональные компьютеры, которые используются не только любителями разнообразных хобби, но и профессионалами, занимающимися разработкой проектов автоматизации систем распределения газа, электричества и воды и других систем управления процессами.

Несмотря на интенсивную разработку микропроцессоров, потребность в схемах на ТТЛ- и КМОП - элементах с относительно невысокой степенью интеграции остается, как и прежде, большой. Это связано с тем, что такие элементы обеспечивают большую гибкость при разработке логических схем, предназначенных для применений, в которых важную роль играют скорость переключения, небольшие размеры и небольшая стоимость.

1. ПОСТАНОВКА ЗАДАЧИ

В данной работе необходимо спроектировать электронную схему на цифровых ИМС. Схема должна осуществлять генерацию четырехбитного кода цифр, а также выводить последовательности этих кодов в соответствии с наименованием и количеством цифр номера телефона исполнителя, с целью последующей обработки и отображения на буквенно-цифровом индикаторе.

Поставленную задачу можно решить, используя структурную схему представленную на рисунке 1.1:

Рисунок 1.1. - Структурная схема устройства

1.      Составить таблицу истинности для четырех входных переменных A,B,C,D и n=7 выходных функций 1,0,2,9,0,6,0. В каждом из n столбцов правой части 1 будет только в одной строке, соответствующей двоичному коду порядкового номера этой цифры.

2.      Разработать схему генератора импульсов с f =(250+n×10)(кГц), относительная нестабильность частоты , где n - последняя цифра суммы цифр номера телефона, тогда f =(250+10×4)=290(кГц).

Студентам, номера которых чётные, разработать схему на ТТЛ микросхемах.

3.      К выходу генератора импульсов подключить счётчик с числом разрядов, равным 4.

4.      К выходам разрядов счётчика подключить n схем сравнения кодов, обеспечивающих формирование импульсов записи в моменты совпадения кодов 4 младших разрядов счётчика кода цифр с интервалом времени, соответствующем каждой цифре номера.

.        По каждому из этих n импульсов записи произвести запись четырех разрядного двоичного кода каждой цифры в соответствующий регистр памяти.

.        Преобразовать таблицу истинности: объединить в одном столбце правой части таблицы все единицы всех столбцов первоначальной правой части таблицы. По такой преобразованной таблице истинности заполнить карту Карно. Произвести минимизацию Булева выражения по карте Карно и записать минимизированное Булево выражение.

.        Разработать структурную схему по первоначальной таблице истинности.

.        Разработать принципиальную схему.

. ТАБЛИЦА ИСТИННОСТИ

Составляем таблицу истинности для четырех входных переменных (А,B,C,D). В правой части таблицы будет n столбцов F1, F2, F3,…Fn, где n=7. В каждом из n столбцов правой части единица будет только в одной строке, соответствующей двоичному коду десятичной цифры.

Таблица 2.1. - Таблица истинности для четырех входных переменных, соответствующих порядковому номеру цифры номера телефона.

А

В

С

D

Цифра

5

3

5

3

0

8

 







F1

F2

F3

F4

F5

F6

F7

F∑

0

0

0

0

0

0

0

0

0

0

1

1

0

2

1

0

0

0

1

1

0

0

0

0

0

0

0

0

2

0

0

1

0

2

0

0

0

0

0

0

0

0

3

0

0

1

1

3

0

1

0

1

0

0

0

2

4

0

1

0

4

0

0

0

0

0

0

0

0

5

0

1

0

1

5

1

0

1

0

0

0

0

2

6

0

1

1

0

6

0

0

0

0

0

0

0

0

7

0

1

1

1

7

0

0

0

0

0

0

0

0

8

1

0

0

0

8

0

0

0

0

0

0

1

1

9

1

0

0

1

0

0

0

0

0

0

0

0


Исходя из Таблицы 2.1, получаем необходимые нам коды цифр “1029060” которые выделим в отдельную таблицу - Таблица 2.2

Таблица 2.2. - код цифр

Цифра

Разряды кода цифр



A

B

C

D

1

5

0

1

0

1

2

3

0

0

1

1

3

5

0

1

0

1

4

3

0

0

1

1

5

0

0

0

0

0

6

0

0

0

0

0

7

8

1

0

0

0


Булево выражение, соответствующее преобразованной таблице истинности, будет выглядеть следующим образом:

F=ABCD+ABCD+ABCD+ABCD+ABCD

3. ГЕНЕРАТОР ИМПУЛЬСОВ

Генераторы импульсов на логических элементах основаны на том, что логические элементы используются как усилители с коэффициентами усиления от 20 до 100. Так как разброс аналоговых параметров очень большой, то расчёт импульсных устройств на логических элементах.

По условию необходимо разработать схему генератора импульсов с частотой повторения f = 290 кГц и относительной нестабильностью частоты Δf / f = ± 30 % на микросхемах ТТЛ - серии.

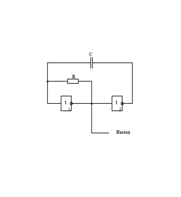
Данным условием нестабильности частоты соответствуют генераторы, выполненные на логических элементах. Выберем схему генератора на двух инверторах с конденсатором в цепи обратной связи. Схема генератора и временные диаграммы его переключений приведены на рисунке 3.1.

а) б)

Рисунок 3.1 а) схема генератора с конденсатором в цепи обратной связи; б) временные диаграммы его переключений

Для ТТЛ микросхем R выбирают R = 150 …680 Ом. Резистор R выполняет две функции: смещает рабочую точку логического элемента ЛЭ1 на крутой участок передаточной характеристики, обеспечивая этим мягкое самовозбуждение, и вместе с конденсатором C служит времязадающим элементом. Длительность каждого полупериода колебаний Т1 и Т2 примерно равна 2∙ R∙C.

В качестве инверторов в схеме генератора использована ИС К155ЛН1 [2], которая имеет следующее условное графическое изображение:

- питание

- общий

Рисунок 3.2. - Структурная схема ИС К155ЛН1.

Микросхема типа ЛН представляют собой инверторы и выполняют логическую операцию НЕ. Микросхема имеет двухтактный выходной каскад и содержит внутри себя шесть инверторов, два из которых используются непосредственно в самом генераторе, а ещё два включаются на выход генератора для формирования более крутых фронтов выходных импульсов.

Период выходных колебаний кратен 4-м RC:

                                                                                          (3.1)

Частота прямо пропорциональна периоду Т:

                                                                                        (3.2)

Зададимся R = 680 Ом, тогда конденсатор С равен:

C=1/4RF=1/4*680*290000=1.27нФ                                              (3.3)

Выбираем C и R:

С = 1.3 нФ :

= 680Ом    : МЛТ 6.8кОм  1% 0.125Вт

. СЧЕТЧИК ИМПУЛЬСОВ

Разрядность двоичного параллельного цифрового кода N = 4.

Формирование двоичных кодов, соответствующих порядковым номерам цифры в номере телефона, будем осуществлять за один полный цикл работы устройства. Таким образом, когда на выходах формирователя кода будут все единицы, коды, соответствующие порядковым номерам цифры в номере телефона, пройдут все по одному разу и нужные из них запомнятся в соответствующих устройствах хранения.

Разрядность формирователя двоичного кода будет равна числу переменных, кодирующих цифр, т.е. четырем.

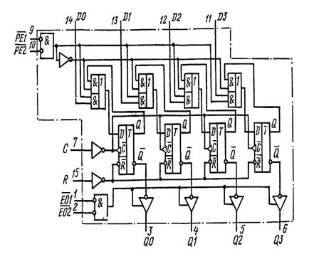
В качестве МС счётчика выберем К155ИЕ19 (смотри рисунок 4.1), которая содержит два одинаковых четырехразрядных двоичных счетчика с индивидуальной синхронизацией и сбросом.

- питание

- общий

Рисунок 4.1. - Условное обозначение и цоколёвка ИС К155ИЕ19

Каждый из четырехразрядных счетчиков имеет инверсный динамический вход синхронизации С, инверсный статический вход сброса R и четыре выхода Q.

Если на вход сброса R подать напряжение высокого уровня, то счетчик по всем выходам устанавливается в нулевое состояние (низкий уровень напряжения). Когда на вход R подано напряжение низкого уровня, то с приходом на вход С отрицательного перепада (спада) тактового импульса начнется режим отсчета.

Рисунок 4.2. - Функциональная схема ИС К155ИЕ19

К инверсному входу сброса счетчиков подключим RC цепочку, которая будет сбрасывать счетчик в ноль при включении питания. Для надёжного сброса необходимо, чтобы постоянная времени RC равнялась 100мс. Выберем значение сопротивления R = 1 кОм , тогда

.

По справочнику [1] выбираем:

R2 - МЛТ 0,125 1 кОм ±1%;

С2 - К50-31 100 мкФ 40 В ±1%.

5. схема совпадения кодов

К четыре разрядам счетчика импульсов подключается схема совпадения. Схема совпадения предназначена для формирования импульсов, по которым будет разрешена запись данных в регистры памяти. Разрешающие импульсы будут формироваться в моменты времени, когда код выдаваемый счетчиком будет совпадать с кодом цифры в номере телефона студента. Число схем совпадения будет равно числу неповторяющихся цифр в номере телефона студента. Таким образом схема совпадения нужна для выделения из последовательностей комбинаций кодов, выдаваемых счетчиком кодов, соответствующих цифре в номере телефона студента.

Схема совпадения представляет собой двоичный дешифратор, с соответствующих выходов которого подаются импульсы на регистры.

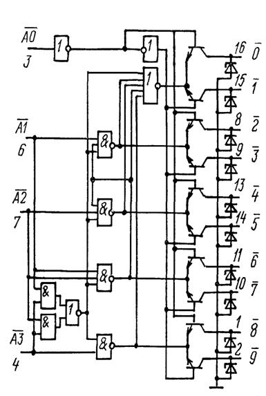
В качестве ИС дешифратора в схеме совпадения используется 155ИД1.

Рисунок 5.1. - Условное обозначение и цоколёвка ИС 155ИД1

Микросхема ИД1 - двоично-десятичный дешифратор преобразующий четырехразрядный код в напряжение низкого уровня, появляющегося на одном из девяти выходов Y0…Y8.

На входы А0-А3 поступают числа от 0 до 9 в двоичном коде, при этом открывается соответствующий выходной транзистор.

Рисунок 5.2. - Функциональная схема ИС 155ИД1

Таблица 5.1 Состояние дешифратора ИД1


Формирование правильной последовательности номера телефона

Для формирования правильного счета номера телефона к выводам дешифратора подключим шифратор К155ИВ3 так, что первый вывод дешифратора будет подан на пятый вход шифратора и будет соответствовать цифре 5,второй вывод DC подаем на третий вход шифратора (цифра 3), четвертый вывод DC на пятый вход шифратора(цифра 5 ), четвертый вывод к 3 входу шифратора (цифра 3). Для того чтобы не закоротить выводы дешифратора к выводам 1,2,3,4 ставим диод КД521А (см. схему)

.Пятый и шестой вывод DC подаем на разрешающие входы регистров для записи нуля т.к. нулевого входа шифратор ИВ3 не имеет.Седтмой вывод DC будет соответствовать восьмому входу CD (цифра 8).

Для формирования кода номера телефона на входы шифратора подаются низкие уровни с дешифратора


. РЕГИСТРЫ ПАМЯТИ

код четырехбитный генератор импульс

Для запоминания кодов соответствующих цифр номера телефона студента будем использовать ИС регистров памяти. Таким образом, необходимое количество ИС регистров памяти будет равно количеству неповторяющихся цифр в номере телефона студента. Выпускаемые промышленностью ИС регистров памяти имеют число разрядов, кратное степени числа два, поэтому все неиспользуемые разряды мы просто заземлим.

В качестве ИС регистров памяти будем использовать 155ИР15 (смотрите рисунок 6.1):

Рисунок 6.1. - Условное обозначение и цоколёвка ИС 155ИР15

Микросхема 155ИР15 - четырехразрядный регистр. Он построен на четырех синхронных D-триггерах с асинхронным входом сброса R, тактовый вход С.

Разрешение на прием параллельных данных от входов D0…D3 дается по входам управления PE1 и PE2. Если на обоих входах действует напряжение низкого уровня, то с приходом положительного тактового импульса на вход С произойдет загрузка данных от входов D0…D3 в регистр. Для обнуления регистра необходимо на вход R подать высокий уровень напряжения, тогда на выходах Q0…Q3 установятся низкие уровни напряжения.

Рисунок 6.2. - Функциональная схема 155ИР27

Таблица 6.1-Состояние выходов


Таблица 6.2-Состояние регистра


. МИНИМИЗАЦИЯ БУЛЕВА ВЫРАЖЕНИЯ

При разработке логических схем можно минимизировать необходимое число элементарных схем. Схему можно упростить с помощью правил булевой алгебры. Другой способ оптимизации основан на применении карт Карно - графического метода, который легко усваивается и оказывается гораздо проще чисто алгебраического.

Проведём минимизацию булева выражения, соответствующего таблице 2.3, полученной в пункте 2. Минимизацию будем проводить c помощью Карты Карно. Карта Карно для четырех переменных, заполненная исходным булевым выражением приведена на рисунке 7.1:


_ _ AB

_ AB

 AB

_ AB

_ _ СD

 0

 0

 1

_ СD

 0

 1

 0

 0

 СD

 1

 0

 0

 0

_ СD

 0

 0

 0

 0

Рисунок 7.1. - Карта Карно для четырех переменных

Минимизированное булево выражение будет выглядеть следующим образом:

ЗАКЛЮЧЕНИЕ

В ходе выполнения курсового проекта в соответствии с заданием было разработано цифровое устройство, осуществляющее генерацию четырехбитного кода цифр, а также выводить последовательности этих кодов в соответствии с наименованием и количеством цифр номера телефона исполнителя.

При проектировании были выбраны следующие элементы:

1)  Резисторы МЛТ, как наиболее дешевые и распространенные;

2)      Конденсаторы серий К10 и К50, а что касается подстроечного, то предпочтение было отдано КТ4-28, его диапазон емкости соответствует заданному условию;

)        ИС были взяты 155-ой. 155-ая серия ИС обладает широким функциональным рядом, имеет повышенное быстродействие, обусловленное применением технологии Шотки, относительно невысокую потребляемую мощность.

При проектировании схемы делался акцент на использование минимального числа корпусов микросхем и максимально полное их использование. Работа выполнена в полном объеме без отклонений от условия задания.

ЛИТЕРАТУРА

1.      Пухальский Г.И., Новосельцева Т.Я. Проектирование дискретных устройств на интегральных микросхемах: Справочник.- М.: Радио и связь, 1990;

.        Цифровые интегральные микросхемы: Справочник.- Богданович М.И. и др.- Мн.: Беларусь, 1991;

.        Шило В.Л. Популярные цифровые микросхемы: Справочник.- 2-е изд., исправленное.- М.: Радио и связь, 1989;

.        Зельдин Е.А. Цифровые интегральные микросхемы в информационно-измерительной аппаратуре. Л. Энергоатомиздат. 1986 г;

.        Резисторы конденсаторы трансформаторы дроссели РЭА: Справочник. Н.Н.Акимов, Е.П. Ващуков, В.А. Прохоренко.- Мн.:Беларусь.1994;

. сайты http://vicgain.sdot.ru/spmikro/smikr12.htm , http://www.inp.nsk.su/~kozak/cd4000/cdh00.htm.

Похожие работы на - Двоичный шифратор телефонного номера

 

Не нашли материал для своей работы?
Поможем написать уникальную работу
Без плагиата!
Без нейросетей!