Будова і принцип роботи перетворювачів тиску

  • Вид работы:
    Курсовая работа (т)
  • Предмет:
    Информатика, ВТ, телекоммуникации
  • Язык:
    Украинский
    ,
    Формат файла:
    MS Word
    341,76 Кб
  • Опубликовано:
    2015-12-21
Вы можете узнать стоимость помощи в написании студенческой работы.
Помощь в написании работы, которую точно примут!

Будова і принцип роботи перетворювачів тиску

Міністерство освіти і науки України

Національний університет "Львівська політехніка"

Кафедра ІВТ










Курсова робота

Будова і принцип роботи перетворювачів тиску


Виконала:

ст. гр. МВТм-12 Криванчик Р.П.

Прийняв: доц. Питель І.Д.





Львів 2015 р.

Технічне завдання

Будова і принцип роботи перетворювачів тиску

МВТм12/06.12.2015

Діє без доповнення

Погоджено

Озгович А.І.

(керівник (заступник) підприємства(організації) - виконавця НДР)

1.      Назва НДР. Шифр. Підстава для виконання роботи

Назва: Будова і принцип роботи перетворювачів тиску;

Шифр: МВТм12/06.12.15;

Підстава: Лекційний курс "Проектування вимірювальних приладів" кафедри ІВТ, ІКТА;

Термін початку НДР: 10.10.2015;

Термін закінчення НДР: 27.10.2016.

2.      Мета і призначення НДР

Метою виконання роботи є: проаналізувати основні принцип роботи перетворювачів тиску.

У ході виконання роботи проведено аналіз роботи перетворювачів тиску, а також принципи будови перетворювачів.

3.      Вихідні дані для проведення НДР

Аналіз існуючих літературних джерел, наукових статей, доповідей та ін.

4.      Виконавці НДР

Виконавцем даної НДР є студент групи МВТм-12, Національного Університету "Львівська політехніка", Інституту комп’ютерних технологій, автоматики і метрології, кафедри "Інформаційно-вимірювальні технології" - Криванчик Ростислав Петрович.

5.      Вимоги до виконання НДР

В процесі виконання роботи потрібно здійснити пошук відповідних літературних джерел за якими потрібно проаналізувати будова і принцип роботи перетворювачів тиску доцільність використання їх у термометрії.

6.      Етапи НДР і терміни їх виконання

Етапи, які міститиме НДР наведено у табл. 6.1:

Таблиця.6.1

Етап НДР

Зміст етапу

Форма подачі звіту

Термін виконання

1.Вибір напряму дослідження

Розглядання можливих напрямів досліджень та їх оцінювання. Вибір напряму дослідження. Обґрунтування прийнятого напряму досліджень. Розроблення, погодження та затвердження ТЗ на складові частини НДР

Інформаційний звіт

10.11.2015/24.12.2015

2. Теоретичні та експериментальні дослідження

Теоретичний пошук, виконання розрахунків і досліджень принципових питань. Розроблення документації , програми. Проведення експериментальних робіт та досліджень

Докладний опис методики розрахунку, алгоритму та результати експерименту

24.12.2015/12.3.2016

3. Узагальнення і оцінювання результатів досліджень, складання звітної документації

Узагальнення результатів теоретичних досліджень і експериментальних робіт. Оцінювання повноти і якості вирішення поставлених завдань.

Попередній звіт

12.03.2016/22.7.2016

4.Приймання НДР

Заходи щодо підготовки НДР до приймання

Кінцевий звіт

22.7.2016/ 27.10.2016


7.      Очікувані результати та порядок реалізації НДР

Отримана інформація може бути корисною для широкого кола наукових та інженерних працівників, що займаються як створенням нових матеріалів, з заздалегідь заданими властивостями, так і практичним застосуванням їх, зокрема, в об’єктах нової техніки.

8.      Матеріали, які подають під час закінчення НДР та її етапів

Після завершення НДР подається звіт про НДР (повинен містити: аналітичний огляд та аналіз літературних джерел, існуючих методів та засобів вимірювальної техніки, їх порівняльний аналіз, синтез структурної і функціональної схем, розрахунковий розділ, аналіз похибок, проведення досліджень, конструкторсько-технологічна частина, техніко-економічне обґрунтування, охорона праці, основні результати та висновки).

9.      Вимоги до розроблення документації

Першочерговою умовою при виборі чутливого елементу мають бути ряди властивостей, такі як: висока стабільність, довговічність роботи, лінійність температурної залежності, висока надійність роботи у робочих умовах, а також відтворюваність його електрокінетичних параметрів (термо-е.р.с., електричний опір) оскільки вони мають досить широке застосування в пристроях електротермометрії.

В кінці потрібно проаналізувати отримані результати і зробити відповідні висновки по роботі.

Зміст

Вступ

Розділ 1. Аналітичний огляд перетворювачів тиску

.1 Методи вимірювання тиску

.2 Промислові перетворювачі тиску

.3 Перетворювачі тиску компанії Honeywell

.4 Перетворювач тиску ДДМ

.5 Масштабована архітектура перетворювача тиску Rosemount 3051S

Розділ 2. Будова і принцип роботи перетворювачів тиску

.1 Традиційна конструкція перетворювача тиску

.2 Перетворювач тиску з герметизованою камерою

.3 Мембранно-важільний перетворювач

.4 Мембранно-важільний перетворювач для вимірювання різниці тисків

.5 Перетворювач різниці тисків

.6 Перетворювач надлишкового тиску

Література

Вступ

Прилади, що поєднують у собі датчик тиску та засіб відображення значення тиску і призначені для вимірювання надлишкового тиску називаються манометрами, або напоромірами, для вимірювання вакуумметричного тиску (нижче атмосферного, розрідження) - вакуумметрами або тягомірами, для одночасного вимірювання надлишкового і вакуумметричного тиску - мановакуумметрами або тягонапорометрами.

Ці прилади класифікуються за видом тиску, що вимірюється і типом вихідного сигналу. Вимірювальні перетворювачі тиску розрізняються також, по одиницях вимірювання та за низкою основних технічних характеристик (ГОСТ 22520-85 [1]).

За принципом роботи чи способом перетворення вимірюваного тиску у вихідний сигнал датчики тиску поділяються на:

·              деформаційні (деформаційні переміщення пружного чутливого елемента (мембрани, сильфони, трубка Бурдона) трансформуються за посередництвом проміжних механізмів і перетворювачів в електричний чи електромагнітний сигнал);

·              електричні (вимірюваний тиск, впливаючи на чутливий елемент, змінює його власні електричні параметри: електричний опір, електричну ємність або електричний заряд, котрі стають мірою цього тиску).

В останні роки набули поширення і інші принципи створення вимірювальних перетворювачів тиску: волоконно-оптичні, гальваномагнітні, об'ємного стиску, акустичні, дифузійні та ін.

За видом вимірюваного тиску датчики тиску поділяються на:

·              перетворювачі абсолютного тиску;

·              перетворювачі надлишкового тиску;

·              перетворювачі вакуумметричного тиску;

·              перетворювачі надлишкового/вакуумметричного тисків;

·              перетворювачі різниці тисків;

·              перетворювачі гідростатичного тиску.

За видом вихідного сигналу датчики тиску поділяються на:

·              аналогові (вимірюваний тиск перетворюється в аналоговий уніфікований пневматичний чи електричний сигнал);

Розділ 1. Аналітичний огляд перетворювачів тиску

Методи вимірювання тиску газу ґрунтуються на порівнянні сил тиску, що вимірюється, з наступними силами: тиску стовпця рідини (ртуті, води) відповідної висоти; такими, що утворюються при деформації пружних елементів (пружин, мембран, манометричних коробок, сильфонів та манометричних трубок); а також із пружними силами, що виникають при деформації деяких матеріалів, при яких виникають електричні ефекти.

З точки зору чутливості важлива роль першого перетворювального елемента у вимірювальному каналі. Та його частина, що перебуває під безпосереднім впливом вимірюваної величини, називається чутливим елементом. Розглянемо основні типи первинних перетворювачів тиску, вихідними сигналами яких є електричні сигнали, зручні для подальшої обробки і передачі по вимірювальному каналі.

Ємнісні перетворювачі застосовують для перетворення в електричний сигнал тисків. Ємнісний перетворювач - це конденсатор змінної ємності, керований вхідним сигналом. Електричні ланки з ємнісними перетворювачами живлять змінним струмом підвищеної частоти (від одиниць до десятків кілогерц).

Ємнісні перетворювачі мають звичайно верхню границю перетворюваного тиску 200-800 Па при чутливості 0,5-1,0 пФа/Па. Основна похибка становить 1-2%.

Принцип дії тензометричних перетворювачів засновано на використанні зміни електричного опору провідникових та напівпровідникових матеріалів при їх розтягуванні чи стисканні у межах пружних деформацій.

До головних техніко-метрологічних характеристик тензометричних перетворювачів належать тензочутливість, повний опір, повзучість, механічний гістерезис, температурна нестабільність, динамічні характеристики.

Тензочутливість визначається переважно резистивними властивостями матеріалу чутливого елемента, проте значною мірою залежить від конструкції перетворювача, матеріалу основи та інших чинників.

Головні вимоги до тензоперетворювачів такі:

а) якнайбільше значення коефіцієнта тензочутливості;

б) високий питомий електричний опір;

в) температурний коефіцієнт лінійного розширення чутливого елемента перетворювача повинен по можливості дорівнювати температурному коефіцієнту лінійного розширення матеріалу досліджуваного об'єкта.

За мостовою схемою тензоперетворювачі вмикають в одне, два або чотири плеча. В останньому випадку у два протилежних плеча входять перетворювачі, що реагують на ту саму деформацію (наприклад, розтягування), а у два інших - перетворювачі, що реагують на деформацію протилежного знака (стискання). Міст із двома й чотирма тензоперетворювачами має чутливість відповідно у 2 і 4 рази більше, ніж міст з одним тензоперетворювачем.

Останнім часом з’явився напрямок в напівпровідниковій тензометрії, пов'язаний із застосуванням мостових тензорезистивних структур, які є з’єднаними монолітно в схему одинарного моста напівпровідниковими тензорезисторами.

Габаритні розміри таких перетворювачів становлять 2-6 мм при товщині самого тензорезистора 20-25 мкм. Перетворювачі, виконані на основі мостових тензоструктур, є точнішими від перетворювачів з одиничними напівпровідниковими тензорезисторами (їх похибка 0,1-0,2%). Тут тензорезистор є єдиною ланкою пружного елемента.

Отже, на відміну від наклеюваних тензорезисторів, тут відсутня проміжна ланка між пружним елементом і тензорезистором - клей, який є причиною додаткових похибок у наклеюваних тензорезисторів через його пружну недосконалість. Саме тому, при розробці ІВС тиску газу в газопроводі, використаємо як первинний вимірювальний перетворювач тиску один із перетворювачів на основі мостових тензорезистивних структур, які є з’єднаними монолітно в схему одинарного моста напівпровідниковими тензорезисторами.

.1 Методи вимірювання тиску

Перетворювач тиску - пристрій, фізичні параметри якого змінюються в залежності від тиску вимірюваного середовища (рідини, гази, пари). У перетворювачах тиск вимірюваного середовища перетворюється в уніфікований пневматичний чи електричний сигнали або цифровий код.

Принципи реалізації

Перетворювач тиску складається з первинного перетворювача тиску, у склад якого входить чутливий елемент з приймачем тиску, схема вторинної обробки та пристрій виводу, розміщені у корпусі. Основною відмінністю таких приладів є точність реєстрації тиску, яка залежить від принципу перетворення тиску в електричний сигнал: тензометричний, п'єзорезистивних, ємнісний, індуктивний, резонансний, іонізаційний.

Тензометричний метод

Робота чутливих елементів перетворювачів базується на принципі вимірювання зміни опору тензорезисторів, приклеєних до титанової мембрани в умовах деформації під дією тиску.

Набули поширення дротові і фольгові тензорезистори, що виготовляють із провідників типу манганіну, ніхрому, константану, а також напівпровідникові тензорезистори, що виготовляють із кремнію та германію. Опір тензорезисторів, що виготовляють із провідників, становить 30-500 Ом, а опір напівпровідникових тензорезисторів від 5•10-2...10 кОм.

Удосконалювання технології виготовлення напівпровідникових тензорезисторів створило можливість виготовляти тензорезистори безпосередньо на кристалічному елементі, виконаному із кремнію або сапфіру. Пружні елементи кристалічних матеріалів мають пружні властивості, що наближаються до ідеальних. Кремнієві перетворювачі мають високу часову і температурну стабільність. Для вимірювання тиску чистих неагресивних діелектриків застосовуються вирішення, що базуються на використанні чутливих елементів або без покриття, або з захистом силіконовим гелем. Для вимірювання тиску агресивних середовищ і у більшості промислових застосуваннях використовується перетворювач тиску в герметичному метало-скляному корпусі, з роздільною діафрагмою з нержавіючої сталі, що передає тиск вимірюваного середовища за допомогою кремнійорганічної рідини.

Класи точності тензорезисторних вимірювальних перетворювачів надлишкового тиску, вакууму та різниці тисків 0,6; 1,0; 1,5.

Діапазони вимірювання:

·              надлишкового тиску - від 0...10-3 до 0...60 МПа;

·              розрідження -1...0 кПа;

·              абсолютного тиску - від 0...2,5 кПа до 0...2,5МПа;

·              різниці тисків - від 0...1 кПа до 0...2,5МПа.

П'єзоелектричний метод

П'єзоелектричні вимірювальні перетворювачі тиску. В основу роботи цих перетворювачів покладене перетворення вимірювального тиску в зусилля за допомогою деформаційного чутливого елемента і наступного перетворення цього зусилля в сигнал вимірювальної інформації п'єзоелектричним перетворювальним елементом. Принцип дії п'єзоелектричного перетворювального елемента заснований на п'єзоелектричному ефекті, який спостерігається в ряді кристалів, таких, як кварц, турисін, титанат барію і ін. Суть п'єзоелектричного ефекту полягає в тому, що якщо кварцові пластини Х- зрізу піддати стиску силою N, то на її поверхні виникнуть заряди різних знаків. Значення заряду Q пов'язане із силою N співвідношенням

,

де k - п'єзоелектрична постійна, котра не залежить від розміру пластини і визначається природою кристалу. Вимірювальні перетворювачі цього типу мають високі динамічні характеристики, що обумовило їхнє широке застосування при контролі тиску в системах зі швидкопротікаючими процесами. Чутливість п'єзоелектричних вимірювальних перетворювачів тиску може бути підвищена шляхом застосування декількох, паралельно включених кварцових пластин і збільшення ефективної площі мембрани.

Верхні межі вимірювання п'єзоелектричних перетворювачів тиску із кварцовими чутливими елементами 2,5-100 МПа. Класи точності 1,5; 2,0. Через витік заряду із кварцових пластин перетворювачі тисків цього типу не використовують для вимірювання статичних тисків.

Ємнісний метод

Ємнісні сенсори використовують метод зміни ємності конденсатора при зміні відстані між обкладками. Відомі керамічні або кремнієві ємнісні сенсори тиску і сенсори, виконані з використанням пружної металевої мембрани. При зміні тиску мембрана з електродом деформується і відбувається зміна ємності. В елементі з кераміки або кремнію, простір між обкладками зазвичай заповнений маслом або іншою органічною рідиною. Недолік - нелінійна залежність ємності від прикладеного тиску.

Резонансний метод

В основі методу лежать хвильові процеси: акустичні або електромагнітні. Це і пояснює високу стабільність перетворювачів і високі вихідні характеристики приладу. Частковим прикладом може служити кварцовий резонатор. При прогині мембрани, відбувається деформація кристалу кварцу, підключеного в електричну схему і його поляризація. У результаті зміни тиску частота коливань кристала змінюється. Підібравши параметри резонансного контуру, змінюючи ємність конденсатора або індуктивність котушки, можна домогтися того, що опір кварцу падає до нуля - частоти коливань електричного сигналу і кристала збігаються - настає резонанс.

До недоліків можна віднести індивідуальну характеристику перетворення тиску, значний час відгуку, неможливість проводити вимірювання в агресивних середовищах без втрати точності показів приладу.

Індукційний метод

Індукційний спосіб базується на реєстрації вихрових струмів (струмів Фуко). Чутливий елемент складається з двох котушок, ізольованих між собою металевим екраном. Перетворювач вимірює зміщення мембрани за відсутності механічного контакту. У котушках генерується електричний сигнал змінного струму таким чином, що заряд і розряд котушок відбувається через однакові проміжки часу. При відхиленні мембрани створюється струм у зафіксованій основній котушці, що призводить до зміни індуктивності системи. Зсув характеристик основний котушки дає можливість перетворити тиск у стандартизований сигнал, прямо пропорційний прикладеному тиску.

Перевагою такої системи, є можливість вимірювання низьких надлишкових і диференціальних тисків, досить висока точність і незначна температурна залежність. Однак перетворювач чутливий до магнітних впливів, що пояснюється наявністю котушок, які при проходженні змінного сигналу створюють магнітне поле.

Іонізаційний метод

В основі лежить принцип реєстрації потоку іонізованих частинок. Аналогом є лампові діоди. Лампа оснащена двома електродами: катодом і анодом, - нагрівачем а також. У деяких лампах останній відсутній, що пов'язано з використанням досконаліших матеріалів для електродів. Корпус лампи виконаний з високоякісного скла.

Перевагою таких ламп є можливість реєструвати низький тиск - аж до глибокого вакууму з високою точністю. Однак слід суворо враховувати, що подібні прилади не можна експлуатувати, якщо тиск у камері близький до атмосферного. Тому подібні перетворювачі необхідно поєднувати з іншими датчиками тиску, наприклад, ємнісними. Крім іншого, іонізаційні лампи повинні оснащуватися додатковими приладами, оскільки залежність сигналу від тиску є логарифмічною.

Рис. 1.1. Манометр Бурдона

Інструменти, використовувані для вимірювання тиску називаються манометри і вакуумметри.

Манометр - це прилад для вимірювання тиску рідин і газів.

Вакуумметр (вакуум-манометр) - прилад для вимірювання тиску розріджених газів або для вимірювання глибини вакууму: різниці між атмосферним тиском і тиском розрідженого газу. Поширені теплові вакуум-манометри, зокрема з термопарами, дія яких ґрунтується на залежності теплопровідності газу від тиску.

Електронні перетворювачі тиску

Тиск - перетворювач - вимірювальний перетворювач тиску рідини або газу в електричний, пневматичний та іншого вигляду вихідний сигнал. Служить також для виміру розрядок і перепаду тиску. На тиск до 10Мн/м2 (100 кгс/см2) і вище. Тиск перетворювачі будують за принципом прямого перетворення вимірюваного тиску в зусилля і потім у вихідний електричний сигнал наприклад п'єзоелектричні перетворювачі, магнітопружні перетворювачі. Для виміру відносно малого тиску, тиск перетворювачі будують з проміжними і крайовими перетворювачами. Проміжними можуть служити рідинні манометричні перетворювачі, пружини мембрани, сильфони і ін. Як крайові застосовують реостатні, індуктивні, ємкісні перетворювачі.

П'єзоелектричний перетворювач - вимірювальний перетворювач механічного зусилля в електричний сигнал; його дія заснована на використанні п'єзоелектричного ефекту. Один з варіантів конструкції п'єзоелектричного датчика тиску показаний на рис . Під дією вимірюваного тиску на зовнішній і внутрішній сторонах пари пластин п’єзоелектрика виникають електричні заряди, причому сумарна ерс (електрорушійна сила) (між виводом і корпусом) змінюється пропорційно тиску. П'єзоелектричний перетворювач доцільно застосовувати при вимірі швидкозмінюючого тиску; якщо тиск міняється повільно, то зростає похибка перетворення із-за "стікання" електричного заряду з пластин на корпус. Включенням додаткового конденсатора паралельно п'єзоелектричного перетворювача, можна зменшити погрішність виміру, проте при цьому зменшується напруга на виводах перетворювача. Основні переваги п'єзоелектричних перетворювачів - їх високі динамічні характеристики і здатність сприймати коливання тиску з частотою від десятків гц до десятків Мгц. Застосовуються при тензометричних вимірах, у вагових і сортувальних (по вазі) пристроях, при вимірах вібрацій і деформацій і т.д.

Магнітопружний перетворювач (магнітострикційний датчик) - вимірювальний перетворювач механічних зусиль (деформацій) або тиску в електричний сигнал. Дія магнітопружного перетворювача заснована на використанні залежності магнітних характеристик деяких матеріалів (наприклад, пермалою, інвару ) від механічної напруги в них. Робочий елемент магнітопружного перетворювача - магнітопровід, на якому розміщено одна або декілька обмоток, що включаються в міст вимірник. Магнітопровід магнітопружного перетворювача укріплюють на поверхні деталі (або споруди) у напрямі зусиль, що діють, або деформацій. Зміни магнітних характеристик, зокрема магнітній проникності матеріалу магнітопровода, виявляються в зміні індуктивності або взаємоіндуктівності обмоток. Магнітопружний перетворювач найдоцільніше застосовувати при вимірах малих деформацій (як постійних, так і швидкозмінних) в твердих тілах, а також вимірах тиску рідин і газів, коли потрібна висока чутливість вимірів при відносно малої їх точності.

.2 Промислові перетворювачі тиску

Перетворювач тиску у вибухозахищеній оболонці відрізняється довготривалою стабільністю і малою додатковою температурною похибкою. Такі перетворювачі тиску мають конструкцію вибухозахисту "вибухонепроникна оболонка" і "іскробезпечне електричне коло".

Типові галузі застосування цих перетворювачів тиску - хімія, нафтохімія, нафтова і газова промисловість, енергетика, металургія.

.3 Перетворювачі тиску компанії Honeywell

Рис. 1.7. Зовнішній вигляд перетворювачів тиску компанії Honeywell

Сьогодні, в епоху високих технологій, на ринку електронних компонентів присутньо багато п'єзорезистивних перетворювачів тиску різних виробників. Але часто розробникові важко знайти необхідний перетворювач тиску. Зазвичай вимагається, щоб перетворювач відповідав наступним вимогам:

·        широкий діапазон виміру;

·        висока точність виміру;

·        широкий діапазон робочих температур;

·        тривалий життєвий цикл виробу;

·        можливість роботи і виміру в агресивних середовищах;

·        доступність на ринку.

Компанія Honeywell виробляє серії перетворювачів тиску 13C(U) і 19C(U). Ці перетворювачі надають великі можливості для розробки, конструювання і власного виробництва перетворювачів тиску індустріального застосування, використовуваних в усіх високотехнологічних галузях виробництва.

де: 1 - мікропровідник

- кремнієво - органічний гель

- кремнієвий чутливий елемент

- роздільна мембрана

- місце з’єднання чутливого елементу з корпусом

- корпус перетворювача

- електричний вивід

Рис 1.8. Конструктивні відмінності перетворювачів: а) перетворювач тиску абсолютного типу, б) перетворювач тиску відносного типу

Перетворювачі дозволяють вимірювати різні типи тиску. Тип "A" (absolute) - перетворювачі для абсолютного виміру тиску, типи "G" (gage) і "S" (sealed gage) - перетворювачі для відносного виміру тиску, тип "V" (vacuum) призначений для виміру ступеня розрідження. Перетворювачі типу "A", призначені для виміру абсолютного тиску, мають у складі конструктиву чутливого елементу герметичну порожнину з прецизійним референсом, з яким і порівнюється тиск (рис. 1.8.а), що підводиться до перетворювача. Перетворювачі типу "G" вимірюють відносно поточного значення атмосферного тиску. Конструктивно порожнина під мембраною у перетворювачів цього типу має канал для зв'язку з атмосферним тиском (рис. 1.8.б), a у перетворювачів типу "S" цей канал загерметизований в процесі виробництва. Перетворювачі типу "S" вимірюють тиск P2, що підводиться, відносно тиску з іншого боку мембрани чутливого елементу, яке відповідає атмосферному тиску на заводі в процесі виробництва перетворювача.

Ці серії перетворювачів призначені для роботи з агресивними середовищами в діапазоні температур від - 40 до 125°С. Усі перетворювачі в процесі виробництва проходять цикл лазерного калібрування. Такі важливі параметри перетворювачів, як нелінійність і гістерезис, складають величини близько 0,1% від повного діапазону. Температурна компенсація в серіях з буквою "С" реалізована в діапазоні температур від 0 до 82°С. Виробник гарантує ресурс роботи перетворювачів один мільйон циклічних вимірів тиску.

Корпус і розділова мембрана, виконані з нержавіючої сталі, забезпечують захист від агресивного середовища. Різні корпуси перетворювачів дозволяють розробникам впроваджувати свої корпусні виконання або використовувати стандартні. Тим самим інженери компанії Honeywell дали розробникам широке поле діяльності для створення нових перетворювачів тиску.

Рис. 1.9. Еквівалентні схеми

Серія перетворювачів тиску 13C(U) призначена для виміру високих тисків абсолютного (A) або відносного (S) типу в діапазонах до 500, 1000, 2000, 3000, 5000 PSI. Живлення може здійснюватися або напругою (15 вольт, модель K) або струмом (2,0 мА, модель L).

Серія перетворювачів тиску 19C(U) призначена для виміру в наступних діапазонах тиску : від 0 до 3, 5, 10, 15, 30, 50, 100, 200, 300, 500 PSI. Діапазон вихідного сигналу складає 40 мВ/В, це означає, що вихідний сигнал пропорційно залежить від амплітуди напруги живлення.

.5 Перетворювач тиску ДДМ

Призначений для безперервного перетворення значень надлишкового (ДДМ-ДВ) тиску і надлишкового тиску і розрідження (ДДМ-ДВВ) в стандартний струмовий сигнал 4-20мА і 0-5мА; використання в систем автоматичного контролю, регулювання і управління технологічними процесами теплоенергетиці, системах вентиляції і інших галузях.

Рис. 1.10. Перетворювач тиску ДДМ

Кожна модель перетворювача має чотири діапазони виміру і два діапазони значень вихідного сигналу (4-20 мА і 0-5 мА). Споживач має можливість перемикання на вибраний діапазон. Відсутність додаткового калібрування при перемиканні діапазонів. Відсутність спеціальних джерел живлення. Довільне просторове положення, можливість монтажу на щиті або на об'єкті (трубі). Стабільність метрологічних характеристик.

Основні технічні характеристики

Межа допустимої основної похибки, %: ± 1

Значення вихідного сигналу постійного струму, мА:

код 42 - 4…20

код 05 - 0…5

Напруга живлення, В:

постійний струм - 36/24В ± 1

змінний струм - 24В ± 3

Опір навантаження перетворювача з вихідним сигналом 4-20 мА, Ом:

при живленні постійним струмом напругою 36В - 1000

при живленні постійним струмом напругою 24В - 500

при живленні змінним струмом напругою 24В (трансформатор) - 500

Опір навантаження перетворювача з вихідним сигналом 0-5 мА, Ом: 2500

Температура навколишнього середовища, °С: від +5 до +55

Додаткова температурна похибка на кожні 10°С із зміни температури в межах робочого діапазону, %: не більше 0,5

Споживана потужність, Вт: не більше 1,5

Ступінь захисту : IP54

Габаритні розміри, мм: довжина х ширина х висота 108х58х41

Маса, кг, не більше 0,6

.5 Масштабована архітектура перетворювача тиску Rosemount 3051S

У 2003 році компанія Emerson Process Management запропонувала принципово новий підхід до вимірів, названий масштабованою архітектурою. Масштабована архітектура, як Лего, є зібраним з різних елементів оптимальним закінченим рішенням. Вона дозволяє, маючи унікальну платформу, створити на її базі практично будь-який існуючий вимірювальний прилад з різними функціями і можливостями.

Базою для створення такого конструктора був вибраний перетворювач тиску Rosemount 3051S, і не випадково.

По-перше, його загальна похибка вимірів, висока стабільність і повторюваність характеристик дозволяють використовувати 3051S для будь-яких процесів. Завдяки вдосконаленій технології вимірювальної ємності останнього покоління вдалося досягти меж основної приведеної похибки для перетворювача різниці тисків Rosemount 3051S γ=±0,025% (варіант виконання перетворювача Ultra) і мінімальних значень додаткових похибок від дії статичного тиску і температури. Стабільність характеристик в робочих умовах експлуатації складає 10 років.

Необхідно звернути Вашу увагу, що значення похибки часто є дуже важливою характеристикою для вузлів і систем комерційного, а у багатьох випадках і технологічного обліку середовищ в різних галузях промисловості. Наприклад, використання витратомірів змінного перепаду тиску в широкому динамічному діапазоні вимагає мінімальних похибок. Для цього перетворювач має варіант виконання Ultra for flow з нормованою відносною похибку виміру тиску для витратомірів з усереднюючими напірними трубками (ОНТ) Annubar і компактними стабілізуючими діафрагмами.

По-друге, застосування так званого компланарного дизайну , коли мембрани перетворювача розташовані не паралельно один одному (як традиційний біпланарний дизайн), а в одній площині рисунок 1). На відміну від поширеної біпланарної схеми, забезпечує мінімальні габарити і масу перетворювача і дозволяє інтегрально з'єднати різні первинні елементи, фланці рівня, клапанні блоки, виносні мембрани та ін.

Рис. 1.11. Розташування мембран залежно від конструктивного виконання перетворювачів тиску. а) Традиційний біпланарний дизайн перетворювачів тиску. б) Компланарний дизайн перетворювачів тиску.

По-третє, унікальна герметична платформа . Вона є зварним корпусом, заповненим інертним газом, з нержавіючої сталі і має дуже високу міру захисту від дії пилу і води IP 68 за ГОСТ 14254.

Рис. 1.12 Платформа перетворювача тиску

Єдина плата електроніки усередині "SuperModule™" перетворить аналоговий сигнал від зміни тиску з ємністю чутливого елементу в найпоширеніший промисловий аналоговий сигнал 4-20 мА з накладеним на нього цифровим протоколом HART™, тобто об'єднує функції аналогово-цифрового і цифро-аналогового перетворювачів. Це дозволяє для вирішення деяких завдань виміру не застосовувати електронний блок, а відразу підключити перетворювач до промислової АСУТП, що підтримує сигнал 4-20 мА або HART™.

Ядром маштабованої архітектури перетворювача Rosemount 3051S, тобто базовим елементом конструктора, є платформа SuperModule™. Саму архітектуру від його базового елементу можна розширювати в двох напрямах - "вгору" і "вниз". Тобто, перетворювач має універсальні підключення або під'єднування як механічної частини ("знизу"), так і електричної частини ("згори"). Масштабованість "згори" - це можливість підключення багатофункціональної електроніки (додаткові інтелектуальні можливості перетворювача), а масштабованість "знизу" - це можливість збирання для виміру рівня і витрати методом змінного перепаду тиску.

Масштабованість "знизу" забезпечується наявністю високошвидкісної шини даних з виходу "SuperModule™". Через шину можна здійснити підключення різних плат функціонального розширення, що встановлюються в окремий електронний блок.

Масштабованість "знизу" забезпечує компланарний дизайн (Coplanar™). Для компланарного з'єднання вбудовані в первинні елементи компактні клапанні блоки з дренажними вентилями, зменшують кількість точок з'єднань перетворювача з вимірюваним середовищем при вимірі рівня витрати і тиску в порівнянні з аналогічними традиційними з'єднаннями. Такий підхід збільшує надійність і робить не потрібною додаткові перевірки на герметичність.

Використання масштабованої архітектури веде до значного зниження економічних витрат у випадку наприклад, заміни однієї плати розширення на іншу.

При необхідності для АСУТП зміни цифрового протоколу HART на більш функціональний і швидкісний протокол Foundation Fieldbus досить встановити в перетворювач нову плату розширення. При цьому платформа, корпус електроніки і первинний елемент залишаються.


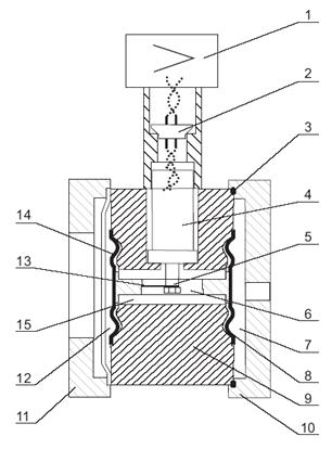
.1 Традиційна конструкція перетворювача тиску

Перетворювач складається з перетворювача тиску (надалі вимірювальний блок) і електронного блока. Перетворювачі мають уніфікований електронний блок.

Вимірюваний параметр подається в камеру вимірювального блоку і перетвориться в деформацію чутливого елементу, викликаючи при цьому зміну електричного опору тензорезисторів тензоперетворювачів, розміщених у вимірювальному блоці.

Чутливим елементом тензоперетворювачів є пластина з монокристалічного сапфіра з кремнієвими плівковими тензорезисторами (структура КНС), міцно сполучена з металевою мембраною тензоперетворювачів. Електронний перетворювач перетворювача перетворить зміну опору моста тензоперетворювача в струмовий вихідний сигнал.

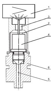
Схема перетворювачів тиску представлена на рис. 2.1.

Мембранний тензоперетворювач 3 розміщений усередині основи 9. Внутрішня порожнина 4 тензоперетворювача заповнена кремнійорганічною рідиною (для перетворювачів кисневого виконання - рідиною ПЭФ- 70/110) і відокремлена від вимірюваного середовища металевою гофрованою мембраною 6, привареною по зовнішньому контуру до основи 9. Порожнина 10 сполучається з навколишньою атмосферою. Вимірюваний тиск передається в камеру 7 фланця 5, який ущільнений прокладенням 8.

Вимірюваний тиск впливає на мембрану 6 і через рідину впливає на мембрану тензоперетворювача, викликаючи її прогин і зміну опору тензорезисторів. Електричний сигнал від тензоперетворювача передається з вимірювального блоку в електронний перетворювач 1.

Рис. 2.1. Схема перетворювача тиску.

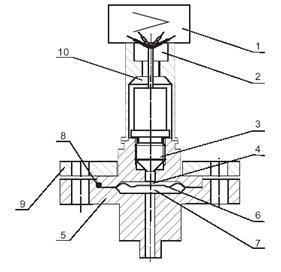
.2 Перетворювач тиску з герметизованою камерою

Конструкція перетворювач тиску з герметизованою камерою (рис. 2.2) відрізняється від вищеописаної тим, що порожнина 10 герметизована і сигнал передається в електронний перетворювач по дротах через герметичний ввід 2.

Мембранний тензоперетворювач 4 розміщений усередині корпусу 6. Вимірюваний тиск подається в камеру 5 і впливає на мембрану тензоперетворювача, викликаючи її прогин і зміну опору тензорезисторів. Порожнина 3 сполучається з навколишньою атмосферою.

Електричний сигнал від тензоперетворювача передається з вимірювального блоку в електронний перетворювач 1.

Рис. 2.2 . Схема перетворювача з герметизованою камерою

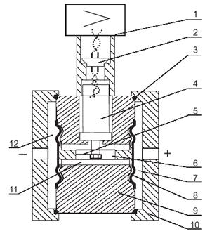
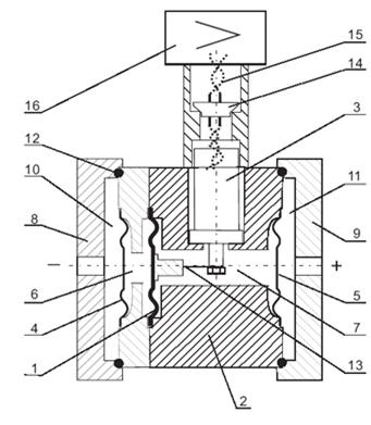
.3 Мембранно-важільний перетворювач

Тензоперетворювач 4 мембранно-важільного типу (рис 3) розміщений усередині основи 9 і відокремлений від вимірюваного середовища металевою гофрованою мембраною 8.

Мембрани 8 і 14 по зовнішньому контурі приварені до основи 9 і сполучені між собою центральним штоком 6, який пов'язаний з кінцем важеля тензоперетворювача 5 за допомогою тяги 13. Вимірюваний тиск подається в камеру 7; порожнина 12 вакуумована і герметизована. Порожнина 15 герметизована. Фланець 10 ущільнений за допомогою прокладки 3.

Дія вимірюваного тиску викликає прогин мембрани 8, вигин мембрани тензоперетворювачів 4 і зміна опору тензорезисторів. Електричний сигнал передається з вимірювального блоку в електронний перетворювач 1 по дротах через герметичний ввід 2.

Рис. 2.3. Схема мембранно - важільного перетворювача

.4 Мембранно-важільний перетворювач для вимірювання різниці тисків

Тензоперетворювач 4 мембранно-важільного типу розміщений усередині основи 9 і замкнутій порожнині II, заповненою кремнійорганічною рідиною (для перетворювачів кисневого виконання використовується рідина ПЭФ- 70/110), і відокремлений від вимірюваного середовища металевими гофрованими мембранами 8. Мембрани 8 приварені по зовнішньому контуру до основи. Мембранний тензоперетворювач 4 розміщений усередині корпусу 8 і відокремлений від вимірюваного середовища металевими гофрованими мембранами 7. Внутрішні порожнини 6 і 10 заповнені кремнійорганічною рідиною (для кисневого виконання використовується рідна ПЭФ- 70/110). Фланці 9 ущільнені прокладкою 3. Вимірювана різниця тисків впливає на мембрани 7 і через рідину впливає на мембрану тензоперетворювача, викликаючи зміну опору тензорезисторів.

Вимірювальні блоки витримують короткочасне одностороннє перевантаження робочим тиском. Електричний сигнал від тензоперетворювача,передається з вимірювального блоку в електронний перетворювач 1 по дротах через герметичний ввід 2.

перетворювач тиск герметизований мембранний

Рис. 2.4. Схема мембранно - важільного перетворювача з заповненням для вимірювання різниці тисків

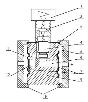
.5 Перетворювач різниці тисків

Мембранний тензоперетворювач 4 розміщений всередині корпусу 8 і відділений від вимірюваного середовища металевими гофрованими мембранами 7. Внутрішні порожнини 6 і 10 заповнені кремнійорганічною рідиною( для перетворювачів кисневого виконання використовується рідина ПЕФ-70/110). Фланці 9 ущільнені прокладками 3. Вимірювана різниця тисків впливає на мембрани 7 і через рідину діє не мембрану тензоперетворювача, спричинює зміну опору тензоперетворювача.

Вимірювальні блоки витримують короткочасне одностороннє перевантаження робочим тиском. Електричний сигнал від тензоперетворювача передається з вимірювального блоку в електронний перетворювач 1 по провідниках через герметичний ввід 2.

Рис. 2.5. Схема перетворювача різниці тисків

.6 Перетворювач надлишкового тиску

Вимірювальна мембрана 1 приварена по зовнішньому контуру до основи 2 перетворювачі, на яких встановлений тензоперетворювач 3. Вимірювальна мембрана і тензоперетворювач, захищені від контакту з робочим середовищем за допомогою двох розділових мембран 4 і 5.

Міжмембранні порожнини 6 і 7 заповнені кремнійорганічною рідиною; зовнішні фланці 8 і 9 утворюють робочі камери перетворювача 10 і 11, герметизовані за допомогою прокладень 12. При дії різниці тисків в робочих камерах перетворювача відбувається переміщення жорсткого центру вимірювальної мембрани, яке передається через гнучкий зв'язок 13 до пружного елементу тензоперетворювача, викликаючи зміну опорів його тензорезисторів. Електричний сигнал від тензоперетворювача передається через герметичний ввід 14 по дротах 15 в електронний перетворювач 16. Вимірювальні перетворювачі перетворювача витримують без порушення працездатності короткочасне одностороннє перевантаження робочим, що гранично допускається, надлишковим тиском.

Рис. 2.6. Схема перетворювача надлишкового тиску

Література

1.      Поліщук Є.С., Дорожовець М.М., Яцук В.О. та ін. Метрологія та вимірювальна техніка: Підручник / Є.С. Поліщук, М.М. Дорожовець, В.О. Яцук, В.М. Ванько, Т.Г. Бойко; За ред. проф. Є.С. Поліщука. - Львів: Видавництво "Бескид Біт", 2003. - 544 с.

.        Энергетическое топливо (ископаемые угли, горючие сланцы, торф, мазут и горющий природный газ): Справочник / В.С. Вдовиченко, М.И. Мартынова, Н.В. Новицкий, Г.Д. Юшина. - М.: Энергоатомиздат, 1991. - 184с., ил.

3.      Боднер В.А., Алферов А.В. Измерительные приборы (теория, расчет, проектирование): Учебник для вузов: В 2-х т. Т. 2: Методы измерений, устройство и проектирование приборов. - М.: Изд-во стандартов, 1986. - 224 с., ил.

.        Поліщук Е. С. Измерительные преобразователи: Учебн. пособие для вузов. - К.: Высш. шк., 1981. -296 с.

.        А. Маргелов. Датчики давления компании Honeywell. // CHIP NEWS Украина, №8(101), 2005. - с. 17-21.

.        Кухарчук В.В., Кучерук В.Ю., Долгополов В.П., Грумінська Л.В. Метрологія та вимірювальна техніка. Навчальний посібник. - Вінниця: УНІВЕРСУМ-Вінниця, 2004. - 252 с.

.        ДСТУ 3619-97 Термоперетворювачі опору. Основні вимоги щодо вибору та використання;

.        Мелек-Шахназаров А.М., Маркатун М.Г.. Измерительные приборы со встроенными микропроцессорами. М.: Енергоатомиздат, 1985

Похожие работы на - Будова і принцип роботи перетворювачів тиску

 

Не нашли материал для своей работы?
Поможем написать уникальную работу
Без плагиата!
Без нейросетей!