Будова вантажного автомобіля МАЗ 555102-220

  • Вид работы:
    Контрольная работа
  • Предмет:
    Транспорт, грузоперевозки
  • Язык:
    Русский
    ,
    Формат файла:
    MS Word
    418,44 kb
  • Опубликовано:
    2011-02-09
Вы можете узнать стоимость помощи в написании студенческой работы.
Помощь в написании работы, которую точно примут!

Будова вантажного автомобіля МАЗ 555102-220

МІНІСТЕРСТВО ОСВІТИ І НАУКИ УКРАЇНИ

Національний університет водного господарства

та природокористування

Кафедра експлуатації і ремонту машин











КОНТРОЛЬНА РОБОТА

з дисципліни

“ТРАНСПОРТНІ ЗАСОБИ”


Виконав:

Бойчук В.А.






Рівне 2010

Вихідні дані

Вид перевезень

Довжина маршруту, км

Характеристика маршруту

Довжана окремих ділянок

Коефіцієнт опору дороги на ділянках

L1

L2

L3

L4

y1

y2

y3

y4

Міжміські

100

25

20

30

25

0,015

0,025

0,04

0,06

МАЗ 555102-220

Призначення та класифікація автомобілів


Автомобілі поділяють на:

- класи (по літражу двигуна або за повною масою автомобіля);

- види (за експлуатаційним призначенням);

- моделі (за реєстраційним номером);

- модифікації моделей автомобілів (за знаком модифікації та за експортним виконанням).

У відповідності до вказаної класифікації всі автомобілі мають умовне позначення.

Перша цифра означає клас автомобіля. Вантажні автомобілі поділяють на сім класів за повною масою автомобіля або автопоїзда: 1 – автомобіль повною масою до 1,2т; 2 – від 1,2 до 2т; 3 – від 2 до 8т; 4 – від 8 до 14т; 5 – від 14 до 20т; 6 – від 20 до 40т; 7 – понад 40т.

Друга цифра означає вид експлуатаційного призначення. Існує дев’ять видів: 1 – легкові автомобілі; 2 – автобуси; 3 – вантажні (бортові); 4 – тягачі; 5 – самоскиди; 6 – цистерни; 7 – фургони; 8 – електромобілі; 9 – спеціальні автомобілі (наприклад панелевози, майстерні та ін.).

Третя та четверта цифри в умовному позначенні – позначення моделі автомобіля, так званий реєстраційний номер.

П’ята цифра (від 1 до 9) вказує на модифікацію моделі автомобіля. Наприклад, збільшений літраж двигуна – 1; правостороннє розміщення керма – 2, і т.д. Цифру знака модифікації встановлює завод-виробник.

Шоста цифра вказує на експортне виконання автомобіля. При цьому використовується лише дві цифри: 6 або 7. Цифра 6 – просте експортне виконання, 7 – експортне виконання для тропічного клімату.

Автомобілі за призначенням поділяються на три групи:

а) вантажні;

б) спеціального призначення;

в) пасажирські (легкові автомобілі та автобуси);

 

Будова автомобіля


Автомобіль складається із чотирьох основних частин: двигуна, кабіни, шасі кузова та спеціального або робочого обладнання.

Двигун призначений для перетворення теплової енергії згоряння палива в механічну роботу. Як правило, на автомобілях встановлюють карбюраторні або дизельні двигуни внутрішнього згоряння. Останнім часом поширене встановлення газобалонних та електричних двигунів.

Кузов призначений для перевезення вантажів та людей. Замість кузова на автомобільному шасі може встановлюватись спеціальне робоче обладнання (кранове, бурове, для приготування бетонних розчинів та ін.).

Кабіна є робочим місцем водія. В ній розміщені важелі та прилади керування автомобілем.

Шасі складається з трьох груп механізмів: трансмісії (силової передачі), ходової частини та механізмів керування.

1. Трансмісія призначена для передачі крутного момента від двигуна на ведучі колеса автомобіля. Вона складається з муфти зчеплення, коробки перемикання передач (КПП), карданної передачі, головної передачі, диференціала, приводних валів коліс (півосей) та ведучих коліс.

Призначення елементів трансмісії:

а) муфта зчеплення призначена для короткочасного від’єднання колінчастого вала двигуна від КПП при перемиканні передач та при гальмуванні, а також для їх плавного з’єднання;

б) коробка перемикання передач дозволяє змінювати крутний момент та забезпечує рух автомобіля заднім ходом, а також призначена для довготривалого роз’єднання двигуна від трансмісії;

в) карданна передача передає крутний момент між двома валами (КПП – головна передача), під кутом, що змінюється;

г) головна передача збільшує крутний момент, який підводиться карданною передачею та передає його на диференціал під кутом 900;

д) диференціал розподіляє крутний момент між півосями коліс і дозволяє їм обертатися з різними швидкостями, якщо колеса за однаковий час проходять ділянки шляху різної довжини (на поворотах, при попаданні коліс однієї осі на ділянку дороги з різним коефіцієнтом зчеплення);

е) півосі передають крутний момент від диференціала на ступиці коліс, або безпосередньо на колеса.

2. Ходова частина – візок, який складається з рами, осей, підвіски (ресори та амортизатори), коліс та ступиць.

Призначення елементів ходової частини:

а) рама є основою для кріплення всіх агрегатів та вузлів автомобіля;

б) осі призначені для кріплення коліс;

в) ресори забезпечують пружний зв’язок між осями та рамою, пом’якшуючи поштовхи, що передаються віссю від дороги;

г) амортизатори гасять коливання ресор;

д) колесо кріпиться до ступиці та складається з жорсткого елемента (диска з ободом) та пневматичної шини. Шина призначена для забезпечення надійного зчеплення з дорожним покриттям та пом’якшення поштовхів та ударів.

Механізми керування автомобілем: рульове керування, гальмівна система

Призначення механізмів керування:

а) рульове керування призначене для зміни напрямку руху автомобіля за допомогою повороту його предніх (керованих) коліс. Воно складається із: рульового колеса, рульової колонки з валом, рульового механізму, сошки, повздовжньої та поперечної тяг, рульових вижелів поворотних цапф. На вантажних автомобілях великої вантажопід’ємності встановлюються гідравлічні підсилювачі рульового керування;

б) гальмівна система призначена для зниження швидкості руху автомобіля та утримання його на місці.

За принципом роботи приводи гальм бувають гідравлічні та пневматичні.

Керування гальмівними механізмами здійснюється за слідуючими схемами:

а) ножний привод керує колісними гальмами всіх коліс, ручний – трансмісійними гальмами;

б) ножний привод керує колісними гальмами всіх коліс, ручний – гальмами задніх коліс, які, таким чином, мають подвійне керування.

Характеристика автомобіля-самоскида МАЗ 555102-220

Рис. 1. Автомобіль-самоскид МАЗ 555102-220

Технічна характеристика автомобіля МАЗ 555102-220

Колісна формула

4х2

Повна маса автомобіля, кг

18000

Розподіл повної маси на передню вісь, кг

6500

Розподіл повної маси на задню вісь, кг

11500

Двигун

ЯМЗ-236НЕ2 (ЄВРО-2)

Потужність двигуна, кВт (к.с.)

169(230)

Максимальний крутний момент, Н*м (кгс*м)

882(90)

Коробка передач

ЯМЗ-236П

Число передач КП

5

Передаточне число ведучого моста

7,14

Розмір шин

12,00R20

Паливний бак, л

200

Допустима вантажопідйомність, кг

10000

Об’єм платформи

5,4


Будова і робота зчеплення


Зчеплення автомобіля (рис. 2) сухе, з демпферним пристроєм, встановлено в литому чавунному картері. Привод вимикання зчеплення -механічний.

Зчеплення складається з двох основних частин: натискного диска з кожухом і важелями вимикання зчеплення в зборі і веденого диску в зборі.

Штампований кожух зчеплення закріплений на маховику шістьма болтами. У кожусі мається три точно розташованих прямокутних вікна.

Ведений диск у зборі зусиллям дев'яти пружин при включенні зчеплення затискається між маховиком і натискним диском. Завдяки силі тертя між фрикційними накладками відомого диска і торцями маховика і натискного диска при включеному зчепленні крутний момент двигуна, передається трансмісії автомобіля.

Для запобігання сильного нагрівання пружин при пробуксовуванні зчеплення під час його включення і вимикання між пружинами і натискним диском ставлять теплоізоляційні шайби.

При натисканні на педаль зчеплення привод вимикання впливає на зовнішній кінець вилки переміщаючи його назад; внутрішній кінець вилки при цьому натискає на муфту вимикання зчеплення, пересуваючи її в напрямку до маховика. Торець підшипника муфти упирається в головки гвинтів, укручених у кінці важелів вимикання зчеплення, що, повертаючи навколо осей пальців, укріплених в опорних качанах, переборюють зусилля натискних пружин і відводять натискний диск зчеплення. У такий спосіб ведений диск звільняється, а зчеплення виключається.

Упорний підшипник муфти вимикання зчеплення змазується за допомогою масельнички закріпленої на кронштейні з правої сторони картера зчеплення у вентиляційного вікна. Масельничка з'єднана гнучким шлангом з муфтою, що має кільцеву порожнину й отвори підведення змащення до підшипника.

Натискний диск із кожухом, пружинами і важелями в зборі проходить статичне балансування.

Ведений диск у зборі складається зі сталевого диска зчеплення, приклепаних до нього шести хвилястих пружних пластин маточини і двох фрикційних накладок одна з яких приклепана до диска, а інша - до пружного пластинам. При включенні зчеплення в міру збільшення натискання на ведений диск ці пластини поступово випрямляються і при повному включенні зчеплення стають плоскими і притиснутими до диска. Завдяки цьому переданий крутний момент, зростає поступово, а зчеплення включається плавно.

Рис. 2. Зчеплення і його привод:

1- маховик; 2- кожух; 3- ведений диск; 4- натискний диск; 5- відтискні важелі; 6- педаль зчеплення; 7- вилка; 8- муфта; 9- кінематичний зв’язок між ведучими елементами зчепленя; 10- пружний пристрій.

Коробка передач


Коробка передач трьохвальна, має п’ять швидкостей для руху автомобіля вперед і одну для руху назад.

Механізм коробки передач вмонтований у литий чавунний картер, що кріпиться до картера зчеплення за допомогою чотирьох шпильок, укручених у картер зчеплення.

Центрування коробки щодо зчеплення забезпечується фланцем кришки первинного вала.

На картері з правої сторони є люк, що закривається штампованою кришкою. Під кришку ставиться паронітова прокладка товщиною 0,8мм.

Первинний вал коробки встановлений на двох підшипниках: передній підшипник змонтований у гнізді колінчатого вала двигуна, задній — у передній стінці картера коробки передач. Останній закріплюється гайкою. Первинний вал за допомогою шліців з'єднується з веденим диском зчеплення.

На задньому кінці первинного вала розташовані конус і два зубчастих вінці: один з косими зубами, що знаходяться в постійному зачепленні з зубами великого вінця блоку шестірень проміжного вала, і інший вінець із прямими зубами, що при включенні прямої передачі зчіплюються з муфтою синхронізатора.

Рис. 3. Кінематична схема трьохвальної коробки передач

Такий же прямозубий вінець і конус маються на шестірні третьої передачі; конічні поверхні цих шестірень притираються на заводі з кільцями, що блокують, і у вузол встановлюються в комплекті.

На конусі і прямозубому вінці первинного вала мається виїмка радіусної форми. Ця виїмка при зборці коробки передач дозволяє установити на місце зібраний первинний вал після того, як у картері уже встановлений блок шестірень проміжного вала.

Від осьового переміщення вперед первинний вал стопориться кришкою, а від переміщення назад - упорним кільцем, вставленим у канавку шарикопідшипника.

Вторинний вал установлений на двох підшипниках: на циліндричному роликопідшипнику, розташованому в гнізді первинного вала, і на шарикопідшипнику, встановленому в задній стінці картера. Роликопідшипник складається з вільних роликів (без сепаратора), що самозамикаються.

В осьовому напрямку передні кінці роликів фіксуються буртиком первинного вала, а задні - упорною плоскою шайбою, вільно вставленої в гніздо підшипника і застопореної розрізним пружинним кільцем, що встановлено в напівкруглій канавці. На задньому кінці вала за шарикопідшипником встановлені і затягнуті гайкою ведуча шестірня привода спідометра, фланець карданного шарніра і шайба. Гайка кернится над пазом вала.

На передньому кінці вторинного вала встановлені і затягнуті гайкою: маточина синхронізатора, з'єднана з валом за допомогою шліців, сталева розпірна втулка і упорна шайба, що упирається в торець шийки, на якій обертається шестірня другої передачі. Розпірна втулка посаджена на вал щільно і стопориться від провертання стопорним штифтом, один кінець якого запресований у втулку, а другий утоплений у шліцьовій паз вторинного вала; на розпірній втулці вільно встановлена шестірня треті передачі. Для змащення тертьових поверхонь на шестірні маються радіальні свердління і канавки на торцях, а на зовнішній поверхні розпірної втулки нарізані спіральні канавки. Для запобігання задирок шестірні третьої і другої передач постачені бронзовими втулками.

Від осьового переміщення вторинний вал за аналогією з первинним стопориться задньою кришкою і упорним кільцем, встановленим у канавку шарикоподшипника.

Гайки на первинному, вторинному і проміжному валах керняться над розташованими на валах пазами.

Маслозаливна (вона ж контрольна) пробка розташована на лівій стінці картера, а маслозливна - унизу, у задній стінці.

Для утримання олії в коробці передач у її задній кришці встановлений сальник. Крім того, на внутрішній поверхні задньої кришки нарізана маслозгінна канавка, що, сполучаючись із шийкою фланця вторинного вала, жене масло від сальника.

Шестірні коробки передач на заводі підбирають по шуму, контакту і бічному зазору, що повинний знаходитися в межах 0,1—0,2 мм і комплектують. Шестірня переміщається по шліцах вторинного вала і служить для включення першої і другої передач.

Для переключення передач у верхній кришці змонтовані три штоки. На штоках включення першої і другої передач, а також заднього ходу в середній частині встановлені перекладні головки, а на задніх кінцях — вилки. На штоку включення третьої і четвертої передач у середині установлена вилка. Для фіксації штоків при включених передачах і в нейтральних положеннях служать кульки, що входять у поглиблення на штоках і притискаються до них пружинами. Штоки першої і другої, а також третьої і четвертої передач мають по три поглиблення: середнє служить для фіксації шестірень у нейтральному положенні, крайнє — для фіксації шестірень у положенні, що відповідає включеній передачі в коробці передач.

 

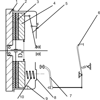
Рульове керування


Рульове керування автомобіля складається з рульового механізму з валом керма і рульовим колесом, рульових тяг і важелів.

Рульове керування призначене для зміни напрямку руху автомобіля за допомогою повороту його передніх (керованих) коліс. Воно складається із: рульового колеса, рульової колонки з валом, рульового механізму, сошки, повздовжньої та поперечної тяг, рульових важелів поворотних цапф.

На вантажних автомобілях великої вантажопід’ємності встановлюються гідравлічні підсилювачі рульового керування;


Рис. 4. Рульовий механізм:

1 — нижня кришка; 2 — регулювальні прокладки; 3 — черв'як; 4 — пробка наливного отвору; 5 — картер кермового механізму; 6 — верхня кришка; 7 — вал рульового механізму; 8 — бічна кришка; 9 — сальник; 10 — гайка; 11 — сошка; 12 — бронзова втулка; 13 — роликопідшипник; 14 — болт зливного отвору; 15 — стопорна шайба; 16 — ковпачкова гайка; 17 — регулювальний гвинт; 18 — стопорний штифт; 19 — сальник; 20 — вісь ролика; 21 — картер; 22 — ролик; 23 — вал сошки

Будова рульового механізму

Подовжня рульова тяга, що з'єднує сошку з важелем поворотного кулака передньої осі, розташована уздовж лонжерона рами з лівої сторони, а рульова трапеція — позад балки передньої осі.

Усередині картера знаходиться робоча пара механізмів, що складає з черв'яка 3 і двухгребневого ролики 22, що знаходиться в зачепленні з черв'яком.

Черв'як рульового механізму напресований на пустотілий вал 7 і встановлений у картері на двох конічних роликопідшипниках; внутрішніми робочими поверхнями підшипників служать конічні поверхні кінців черв'яка. Зовнішні кільця підшипників запресовані в гнізда картера й утримуються чавунними кришками, що прикріплені до картера кермового механізму чотирма болтами з пружинними шайбами.

Гальма


Ножні гальма автомобіля — колодкового типу, що діють на всі колеса. Привод ножних гальм пневматичний.

Гальма передніх і задніх коліс відрізняються лише розмірами. Компонування автомобіля: на передню вісь приходяться 28% від маси автомобіля, а на задній міст — 72%. При гальмуванні автомобіля маса перерозподіляється і навантаження на передню вісь збільшується. Відповідно до розподілу маси на осі, передні гальма мають розміри менші, чим задні.

На рис. 6 показане гальмо переднього колеса. На сталевому штампованому щиті 3 у верхній частиш встановлений колісний циліндр 2, що прикріплений до щита двома болтами, укрученими в корпус колісного циліндра. У нижній частиш щита 3 встановлені опорні пальці 14 колодок гальма, а в середньої— ексцентрики U і П-подібні скоби колодок.

Колодки 5 гальма качаються на бронзових ексцентриках 13, що нерухомо сидять на опорних пальцях 14. Верхні кінці ребер колодок входять у прорізі наконечників поршнів колісних циліндрів. Колодка середньою своєю частиною спирається на регулювальний ексцентрик, а ребро колодки знаходиться в П-образних скобах із пластинчастими пружинами, що утримують колодки від бічного зсуву.

Верхня частина колодок стягнута пружиною 4, що притискає верхні частини ребер колодок до поршнів циліндра, а обід колодки — до регулювальних ексцентриків.

Вісь 8 регулювального ексцентрика має шестигранну голівку, розташовану з зовнішньої сторони шита гальма. Пружина 10 осі ексцентрика створює необхідну силу тертя, що перешкоджає мимовільному повороту ексцентрика 11.

Колодка 5 гальма складається з обода і ребра колодки, що з'єднані між собою електрозварюванням. До обода колодки приклепані фрикційні накладки 6. Для забезпечення однакових питомих тисків, а отже, і зносів накладок довжина їх на передній і задній колодках (по ходу автомобіля) різна. Порозумівається це тим, що при обертанні гальмового барабана проти вартовий стрілки (при русі автомобіля вперед) у випадку гальмування передня колодка захоплюється барабаном, і внаслідок сил тертя виникає, таким чином, явище «заклинювання» передньої колодки і, отже, збільшується питомий тиск на накладку передньої колодки. Тому довжина передньої накладки більше, ніж задньої.

Гвинти розташовані по окружності нерівномірно, що забезпечує установку барабанів на маточинах в одному визначеному положенні.

Переставляти барабани з однієї маточини на іншу не рекомендується, тому що при перестановці "може виникнути биття робочої поверхні барабана щодо накладок гальм. Знімна конструкція гальмових барабанів забезпечує зручність доступу до гальм, не знімаючи маточин і не порушуючи в такий спосіб регулювання підшипників коліс.

Рис. 5. Гальмо в зборі:

1 — захисний ковпак; 2 — колісний циліндр; 5 — щит гальма; 4 — стяжна пружина колодок; 5 — колодка; 6 — фрикційна накладка колодки; 7 — напрямна скосу колодок; 8 — болт регулювального ексцентрика; 9 — шайба; 10 - пружина ексцентрика; 11 — регулювальний ексцентрик; 12 — пластина опорних пальців; 13 — ексцентрик опорних пальців; 14 — опорний палець гальмової колодки; 15 — гайка; 16— пружинна шайба

Підвіска

Підвіска автомобіля виконана на подовжніх напівеліптичних ресорах. Передня підвіска, крім ресор, має амортизатори, а задня — підресорники.

Дві передні листові ресори автомобіля (рис. 6) розташовані уздовж автомобіля під лонжеронами рами. Відстань між ресорами (ресорна колія) дорівнює 806 мм. Ресора 12 передньої підвіски симетрична, має довжину (відстань між опорними кінцями) 1150 мм і ширину листів 65 мм. Вона складається з дванадцяти листів (сім листів товщиною 7 мм і п'ять листів товщиною 6 мм). Висота пакета ресори дорівнює 79 мм. Листи ресори стягнуті центровим болтом 10 і чотирма хомутами, що запобігають бічний зсув листів одного щодо іншого. Кожен хомут ресори знизу прикріплений заклепкою до листа ресори, а зверху стягнуть болтом, на який надіта розпірна втулка, що перешкоджає затисненню аркушів.

До кінців першого і другого корінних аркушів приклепані штамповані чашки 7 і 13, що служать опорними поверхнями гумових подушок. Кінці ресор забиті в кронштейни 1 і 6 за допомогою гумових подушок 8. Передній кронштейн 1 ресори має три подушки (передню, верхню і нижню), а задній — дві (верхню і нижню). Передня подушка 14 сприймає зусилля, спрямоване вперед уздовж осі автомобіля. Верхні опорні подушки переднього і заднього ресорних кронштейнів сприймають масу, що приходиться на передню підвіску, а нижні опорні подушки кронштейнів — масу передньої осі при відриві передніх коліс від дороги під час руху автомобіля. Крім того, на верхню і нижню подушки переднього кронштейна діє горизонтальна реакція, що виникає від опору коченню передніх коліс.

Рис. 6. Передня підвіска:

1 і 6 — передній і задній ресорні кронштейни; 2 — рама автомобіля; 3 — кронштейн амортизатора; 4 — амортизатор; 5 — втулка амортизатора; 7 і 13 —- чашки заднього і переднього кінців ресори; 8 - гумові подушки; 9 — буфер-обмежник ходу (нагору) передньої осі; 10 — центровий і болт; 11 —стремянка;

Верхня і нижня подушки одночасно сприймають гальмовий момент від передніх гальм.

Подовжнє переміщення ресори (зміна її довжини) при прогинах відбувається за рахунок заднього кінця, що має тільки верхню і нижню подушки, що дозволяють задньому кінцю ресори переміщатися уздовж осі автомобіля.

Передні ресори прикріплені до балки передньої осі двома стремянками 11, що охоплюють ресору і проходять через отвори в площадках балки передньої осі. Між ресорою і балкою ставиться чавунна прокладка висотою 30 мм.

Передня підвіска забезпечує максимальний динамічний хід передньої осі нагору (від статичного положення) на 80 мм і вниз на 95 мм.

Амортизатори призначені для гасіння коливань передньої підресореної частини автомобіля, викликуваних ресорною підвіскою при русі автомобіля по нерівній дорозі.

Робота підвіски передніх коліс і стійкість автомобіля при русі багато в чому залежить від роботи амортизаторів.

У зв'язку з тим, що амортизатори гасять коливання як при ході передньої осі нагору, так і при ході вниз, вони є амортизаторами двосторонньої дії, принцип яких заснований на використанні опору, що виникає при перетіканні рідини з однієї порожнини в іншу через малі прохідні перетини.

Розрахунок і побудова зовнішньої швидкісної характеристики двигуна

Зовнішня швидкісна характеристика двигуна – це сукупність залежностей потужності , крутного моменту  та питомої витрати палива  від частоти обертання  колінчатого вала двигуна при повній подачі пального в циліндри.

Для побудови швидкісної характеристики двигуна найбільш часто використовуються наступні залежності параметрів двигуна:

   

Для розрахунку і побудови характеристик двигуна використовуються його дані за технічною характеристикою на номінальному режимі і наступні залежності:

- для карбюраторних двигунів

, кВт;

, г/кВт×год.

де , ,  - відповідно розрахункове (біжуче) значення потужності, потужність двигуна на номінальному режимі та максимальна потужність двигуна; , ,  - відповідно біжуче значення частоти обертання вала двигуна, частота обертання вала двигуна на номінальному режимі та максимальна частота обертання, що відповідає максимальній потужності; , ,  - відповідно біжуче значення питомої витрати палива, витрати палива на номінальному режимі, та питомої витрати палива в режимі максимальної потужності; a, b, c, a1, b1, c1 – коефіцієнти апроксимації.

Значення , , ,  приймаються згідно довідкових даних для кожного конкретного двигуна заданого автомобіля.

Розрахунки виконуються для швидкісних режимів роботи двигуна: від частоти холостого ходу  двигуна (довідкові дані для конкретного автомобіля) через 100 (200) об/хв до номінальної частоти обертання вала двигуна (або максимальної частоти  - для дизелів).

Для автомобілів з карбюраторними двигунами приймають  г/кВт×год.; для автомобілів з дизельними двигунами приймають  г/кВт×год.

Крутний момент  на валу двигуна:

, Н×м.

Годинна витрата палива  визначається за формулою:

, кг

Побудову характеристик двигуна  ,   слід починати з вибору масштабів, виходячи з максимальних значень ефективної потужності , крутного моменту , питомої витрати палива , частоти обертання вала двигуна * та нанесення координатних осей.

За графіком потрібно визначити коефіцієнт пристосування двигуна до збільшення навантажень, який дорівнює відношенню максимального моменту Mmax до моменту при максимальній потужності MN , тобто


Визначення динамічної характеристики автомобіля

 

Динамічна характеристика автомобіля є графічним зображенням залежності динамічного фактора D автомобіля від швидкості його руху на всіх передачах при повній подачі палива в циліндри двигуна та повному завантаженні автомобіля. Визначають її на основі залежності  зовнішньої характеристики двигуна, а необхідні обчислення виконують за такими формулами:


; ;

; ,

де Dі- динамічний фактор автомобіля при і-й частоті обертання колінчастого вала на відповідній передачі; - сила тяги автомобіля при і-й частоті, Н; - сила опору повітря рухові автомобіля, Н.

Обчислення рекомендується починати з прямої передачі (  = 1,0). Для інших передач числові значення величин отримують діленням або множенням на  тих величин, що отримані для прямої передачі.

Література


1. Краткий автомобильный справочник НИИАТ.— М.: Транспорт, 1985.— 220 с.

2. Кисликов В.Ф., Лущик В.В. Будова й експлуатація автомобілів: Підручник. – К.: Либідь, 2000. – 400 с.

3. Тур Е.Я. и др. Устройство автомобиля: Учебник для учащихся автотранспортных техникумов /Е.Я. Тур, К.Б. Серебряков, Л.А. Жолобов.- М.: Машиностроение, 1991.- 352 с.: ил.

4. Михайловский Е.В. и др. Устройство автомобиля: Учебник для учащихся автотранспортных техникумов/ Е.В. Михайловкий, К.Б. Серебряков, Е.Я. Тур. – 5-е изд., перераб. и доп. – М.: Машиностроение, 1985. – 352 с., ил.

Похожие работы на - Будова вантажного автомобіля МАЗ 555102-220

 

Не нашли материал для своей работы?
Поможем написать уникальную работу
Без плагиата!
Без нейросетей!