Расчёт плиты на монтажные усилия

  • Вид работы:
    Контрольная работа
  • Предмет:
    Строительство
  • Язык:
    Русский
    ,
    Формат файла:
    MS Word
    272,36 Кб
  • Опубликовано:
    2016-01-21
Вы можете узнать стоимость помощи в написании студенческой работы.
Помощь в написании работы, которую точно примут!

Расчёт плиты на монтажные усилия

Содержание

1. Исходные данные

. Определение нагрузок, действующих на плиту

. Определение усилий от расчётных нагрузок

. Материалы плиты и их характеристики

. Расчёт прочности плиты по нормативным сечениям

. Расчёт прочности плиты по наклонным сечениям

. Расчёт верхней полки плиты на местный изгиб

. Расчёт монтажных петель

Литература

1. Исходные данные

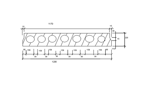
Согласно задания на проектирование к расчёту принята плита перекрытия с круглыми пустотами.

Конструктивные размеры плиты:

 = 6300 мм.

 = 1200 мм.

 = 220 мм.

Проектируемая плита семи пустотная, с диаметром круглых пустот:= 159 мм.

Конструкция пола согласно заданию: асфальтное покрытие по шлакобетонному слою в 30 мм с применением пенобетонной плиты 60 мм и пароизоляции 4 мм.

Временная нагрузка на перекрытие принята согласно задания, её нормативное значение составляет:  = 4900 Па.

. Определение нагрузок действующих на плиту

Определение нагрузок приводим в табличной форме

 Виды нагрузок

Нормативная Нагрузка Па

 Коэф. надёжности по нагрузке

Расчётная нагрузка Па

Постоянная нагрузка 1.Асфальтное покрытие. t= 0,03 ρ= 2100  2. Шлакобетоны слой. t= 0,03 ρ= 16000 3.пенобетонна плитка t= 0,06 ρ= 5000 4. Пароизоляция - 1 слой рубероида. t= 0,004 ρ= 6000 5. ж./бетонная плита t= 0,11 ρ= 25000

 630  480  300  24  2750

 1.3  1.2  1.2  1.2  1.1

 819  576  360  28.8  3025

Итого постоянных  =

4184

=

4808,8

Внешняя нагрузка. Внешняя нагрузка согласно задания

 4900

 1.3

 6370

Итого временных =

4900

=

6370

Постоянная нагрузка  +

 9084

 + =

 11178,8


Расчётная распределённая нагрузка на 1м погонный плиты составляет:

ρ= (g + p) ·  = 11178,8 · 1,2 = 13414Н/м = 13,4 Н/м.

. Определение усилий от расчётных нагрузок

Величина расчётного пролёта:  =  - 2 (  );

Применяем  = 6300 - 2 (  ) = 6115 мм.

Максимальный изгибающий момент от расчётной нагрузки:

 =  =  = 62,63 кН · м

 =  =  = 40, 97 кН.

 

4. Материалы плиты и их характеристики

 = 1,0

Характеристики бетона:

 = 11,5

 = 0, 90

Арматура рабочая класса А- III , с характеристиками для предельных состояний первой группы.

 = 356 МПа.

Арматура монтажная класса А - I, расчётное сопротивление растяжения монтажной арматуры  = 225 МПа.

Арматура поперечная проволочная, расчётное сопротивление поперечной арматуры  = 265 МПа.

Сварные сетки из проволочной арматуры арматуры класса Вр - I , расчётное сопротивление растяжению  = 375 МПа.

Армирование плиты производим 4 - мя сварными плоскими каркасами К-1 и двумя сварными сетками С-1 в верхней и нижней полках плиты.

. Расчёт плоскости по нормальным сечениям

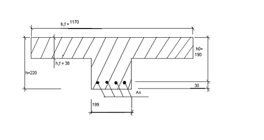
Плиту рассчитываем как балку поперечного сечения с задними размерами:  ·  = 1200 · 220 мм. Проектируем плиту с семью пустотами. При расчёте поперечное сечение плиты приводим к эквивалентному тавровому сечению. При этом площадь круглых пустот заменяем прямоугольными отверстиями той же площади и того же момента инерции.

Вычислить:

 = 0,9d = 0,9 · 159 = 143,1 мм.

Высота верхней и нижней полок:


Приведённая толщина ребра таврового сечения: b =  - 7 ·  = 1200 - 1001 = 199мм.

Расчётная ширина сжатой полки таврового сечения:

b · f =  - (2· 15)мм = 1200 - 2 · 15 = 1170 мм.

Вычислим отношение: =  = 0,173

Т.к.  = 0,173 ≥ 0,1, то в расчёт принимаем всю действительную ширину полки.

Рабочая высота сечения:

 =  -  = 220 - 30 = 190 мм, где  = 30 мм - толщина защитного слоя бетона.

Нормативное сечение плиты.

Эквивалентное тавровое сечение.


При расчёте железобетонных конструкций должно выполняться условие:

 ≤ · · b · Вычислим: 0,35 · 11,5 ·  · 0,19 · 0,19 = 145,3 кН.

Условие выполняется,  40,97кН ≤ 145,3 кН - следовательно, размеры сечения и принятые материалы удовлетворяют условию прочности сечения.

Определим случай расчёта таврового сечения по несущей способности бетона сжатой зоны:

 =  · b ·  f (  -  ) = 11,5 ·  · 1,17 · 0,038 ( 0,19 -  ) = 106,8 ·  Н · м = 106,8 кН ·м.

Проверим условие:  = 62,63 кН · м ≤  = 106,8 кН · м.

При выполнении данного условия имеет место первый случай расчёта таврового сечения, т.е расчёт принимает прямоугольное сечение с размерами  f / h = (1170 · 220) мм.

Определяем значение вспомогательных табличных коэффициентов:

 =  =  = 0,128

По таблице расчётных вспомогательных параметров находим:

При  = 0,128 ξ =0,128 = 0,984.

При этом высота высота сжатой зоны бетона составляет:

Х = ξ ·  = 0,128 · 190 = 24,32 мм ≤  f = 38,5 мм. То есть нейтральная ось сечения проходит в пределах сжатой полки.

Требуемая площадь сечения рабочей арматуры:

 =  =  = 9,1 ·   = 9,1

По сортаменту арматурных стержней принимаем:

4Ø16 с  = 8,04 с.

Поперечную арматуру принимаем из условия сварки арматурных стержней:

 = 0,25 ·  = 0,25 · 16 = 4 см.

Принимаем: Ø4 Вр - I, с  = 0,126 .

Монтажную арматуру принимаем из условия:  = + (2….4)мм = 4+2 = 6 мм.

Принимаем Ø6 А - I, с  = 0,283 с.

6. Расчёт прочности плиты по наклонным сечениям

Проверим условие необходимости постановки поперечной арматуры для проектируемой многопустотной плиты.

Расчетная максимальная поперечная сила: = 40,97 кН.

Несущая способность сечения по поперечной силе определим из условия:  = ; здесь

 - параметр определяемый по формуле:

 = φ · (1+ φf) · Rbt · b ·  ; здесь

φ = 2,0 - для тяжёлого бетона

φf - коэффициент учёта влияния свесов сжатых полок в многопустотной плите при 7 пустотах и 8 рёбрах.

φf = 8 · 0,75 · (  ) = 8 · 0,75 · (  ) = 0,284,

что удовлетворяет условию  ≤ 0,5.

Вычислим параметр :

 = 2,0 · (1+0,284) · 0,9 ·  · 0,199 · 0,1 = 23,11 ·  Н·м = 23,11кН·м

С - проекция наклонного сечения на горизонтальную ось:

С=  =  = 1,9 м ≥ 2 ·  = 2 · 0,19 = 0,38

Принимаем: С=2 ·  = 0,38 м.

Несущая способность бетона по поперечной силе:

 =  =  = 60,81 кН.

Получим  = 60,81 кН ≥ = 40,97 кН - усилие выполняется, несущая способность бетона рассматриваемого поперечного сечения достаточна для обеспечения прочности плиты при действии максимально расчётной поперечной силы. В этом случае постановка поперечной арматуры в каркасе К - 1 по расчёту не требуется. Поперечная арматура ставиться конструктивно.

На приопорных участках (длинной ¼ пролёта) шаг поперечной арматуры принимается из условия    =  = 110 мм. Округляем до ближнего меньшего значения кратного 50 мм. Принимаем  = 100мм.

В средней половине пролёта шаг  стержней принят согласно СНиПа:

При h = 200 мм ≤ 300 мм →  = 500 мм.

. Расчёт верхней полки плиты на местный изгиб

Для проведения расчета условно вырезаем полосу 1 м по верхней полке плиты перпендикулярно направлению пустот.

Рассматриваем эту полосу как многопустотную, балочную плиту сечением b · h (1000 · 38 ) мм, монолитно связанную с рёбрами. Расчётный пролёт такой балочной плиты принимаем равным размеру пустоты в свету, т.е.  = 159.

Определим расчётную нагрузку на 1 м погонный рассматриваемой плиты балки:

От собственного веса полки плиты:

 =  f · yf · p · 1 = 0,038 · 1,1 · 25000 · 1 = 1045 Н/м

- От веса полки:

 = 1738 Н/м

Временная расчётная нагрузка на перекрытие:

Р = 6370 Н/м

Полная нагрузка:

q=  +  + p = 1045 + 1783 + 6370 = 9198 Н/м.

Расчётный изгибающий момент:

М =  =  = 21,1 Н/м,

Рабочая высота сечения полки:

 =  f - 15 = 38,5 -15 = 23,5 = 0,023 м, где толщина защитного слоя = 15 мм.


 =  =  = 0,003

По таблице находим значение вспомогательных, расчётных коэффициентов: при  = 0,003; 0,998.

Требуемая площадь поперечного сечения стержней сетки:

 =  =  = 0,024 ·   = 0,02.

Принимаем для армирования полок плиты сетку с рабочей арматурой в обеих направлениях класса:

С площадью поперечного сечения арматуры:

В продольном направлении 0, 40 с/м,

В поперечном направлении 0, 28 с/м.

. Определение диаметра монтажных петель

Плита проектируемая с 4 - мя петлями из стали класса А - I, расположенными на расстоянии 700 мм от торцов плиты. Расчётная нагрузка от собственного веса плиты:

Р = Kd ·γf · V · ρ = = Kd ·γf · ( ·  · ) · ρ здесь:

Kd = 1,5 - коэффициент динамичности ,

γf = 1,1 - коэффициент надёжности.

V = (  ·  · ) - объём бетона;  =  ·  =  · 220 = 110 мм.= ( 6,3 · 1,2 · 0,11) =0,83

ρ = 25000 Н\ - плотность железобетона.

Вычислим:

Р = 1,5 · 1,1 · 0,83 · 25000 = 34237 Н = 34,23кН.

При подъёме плиты её вес может оказаться переданным на 2 петли. При этом усилие на одну петлю составит:

N =  =  = 17,11.

Требуемая площадь сечения арматуры плиты:

 =  =  = 0,81 ·  = 0,81 .

Принимаем по сортаменту арматуру:

Ø12 А - I, с  = 1,131 с.

Литература

плита нагрузка бетон

СНиП 2.03.01 - 84 «Бетонные и железобетонные конструкции» М 1989

СНиП 2.01.07 - 85 «Нагрузки и воздействия» М 1988г.

Берлинов М.В, Ягунов Б.А « Строительные конструкции» М 1990г.

Похожие работы на - Расчёт плиты на монтажные усилия

 

Не нашли материал для своей работы?
Поможем написать уникальную работу
Без плагиата!
Без нейросетей!