Аппаратная работа на скважине

  • Вид работы:
    Курсовая работа (т)
  • Предмет:
    Геология
  • Язык:
    Русский
    ,
    Формат файла:
    MS Word
    150,45 Кб
  • Опубликовано:
    2016-01-10
Вы можете узнать стоимость помощи в написании студенческой работы.
Помощь в написании работы, которую точно примут!

Аппаратная работа на скважине

1. Акустический каротаж (АК)

акустический цементометрия каротаж скважина

Акустический каротаж - метод геофизических исследований в скважинах, основанный на изучении акустических свойств (скоростей распространения и затухания упругих волн) горных пород, пересечённых скважиной.

Используется при поисках и разведке месторождений, контроле технического состояния скважин, интерпретации данных сейсмической разведки, а также при решении инженерных геологических задач. Первые образцы аппаратуры акустического каротажа выполнены в 1950-х гг. в CCCP и США; промышленное применение начато с 1960. При акустическом каротаже используют звуковой (0,5-15 кГц) и ультразвуковой (20-50 кГц, 0,3-2,0 МГц) диапазоны частот. Акустический каротаж проводят с помощью глубинного датчика, связанного каротажным кабелем с наземными измерительными и регистрирующими приборами. Основные элементы глубинного прибора - излучатели и приёмники упругих волн, а также акустические изоляторы, предотвращающие распространение упругих волн по корпусу глубинного прибора. Излучателями служат магнитострикционные преобразователи, изменяющие радиус металлическими (пермендюр, никель) цилиндра под действием переменного магнитного поля, или пьезоэлектрические преобразователи из титаната бария, цирконата свинца, создающие колебания в результате воздействия переменного электрического поля. Приёмники - пьезоэлектрические элементы, преобразующие механическую энергию упругих волн в электрические импульсы.

При проведении акустического каротажа электрические импульсы поступают из блока синхронизации и управления в излучатели, где преобразуются в импульсы упругих колебаний длительностью 5-10 мс; преобладающая энергия этих импульсов сосредоточена в полосе частот 10-15 кГц. Измеряют времена пробега основных типов волн и коэффициент затухания. По результатам измерений строят геоакустические модели разрезов скважин для интерпретации данных сейсморазведки, проводят оценку пористости продуктивных пластов, определяют упругие модули горных пород (модули Юнга, сдвига, объёмного расширения), выявляют зоны повышенной трещиноватости и кавернозности. Совместное использование данных акустического, электрического и радиоактивного каротажа позволяет осуществлять литологическое расчленение разрезов, выявлять коллекторы нефти, газа, определять коэффициент насыщения, контролировать разработку месторождений нефти и газа.

Акустический каротаж (регистрация кинематических и динамических параметров продольных и поперечных волн и их относительных параметров) относится к основным методам, проводится в открытом стволе во всех поисковых скважинах, перед спуском каждой технической или эксплуатационной колонны, по всему разрезу, исключая кондуктор.

При наличии в разрезе газонасыщенных пластов акустический каротаж рекомендуется проводить в интервалах каждого стандартного каротажа, т.е. в условиях, когда зоны проникновения еще не достигают критических для АК значений.

Метод АК обеспечивает высокое вертикальное расчленение разреза (выделяются контрастные по кинематическим и по динамическим параметрам прослои 0,4-0,6 м).

На показания АК практически не влияют диаметр скважины, наличие и свойства глинистой корки, тип и характеристики промывочной жидкости, свойства вмещающих пород, температура в интервалах замеров, что переводит АК в разряд эффективных методов с минимальным числом поправок при определении пористости.

1.1 Физические основы метода

Акустический каротаж основан на возбуждении в жидкости, заполняющей скважину, импульса упругих колебаний и регистрации волн, прошедших через горные породы, на заданном расстоянии от излучателя в одной или нескольких точках на оси скважины. Возбуждение и регистрация упругих волн при АК осуществляется с помощью электроакустических преобразователей.

При воздействии на элементарный объем породы с помощью ультразвуковой волны (10-75 кГц) происходит деформация частиц породы и их перемещение. Во всех направлениях от точки приложения возбуждающей силы изменяется первоначальное состояние среды.

Процесс последовательного распространения деформации называется упругой волной. Различают продольные и поперечные волны. Продольные волны связаны с деформациями объема твердой или жидкой среды, а поперечные с деформациями только твердой среды.

Продольная волна представляет собой перемещение зон сжатия и растяжения вдоль луча, а поперечная - перемещение зон скольжения слоев относительно друг друга в направлении перпендикулярном лучу. Продольные волны распространяются в 1,5 -10 раз быстрее поперечных.

Упругие свойства горных пород, а значит и скорости распространения упругих волн в них обусловлены их минеральным составом, пористостью и формой порового пространства и, таким образом, тесно связаны с литологическими и петрофизическими свойствами.

Скорость распространения упругих волн в различных средах следующая:

·   воздух - 300-500 м/с,

·   метан - 430 м/с,

·   нефть - 1300 м/с,

·   вода пресная - 1470 м/с,

·   вода минерализованная - 1600 м/с,

·   глина - 1200-2500 м/с,

·   песчаник плотный - 3000-6000 м/с,

·   цемент - 3500 м/с,

·   сталь - 5400 м/с.

Кроме того, различные породы по разному ослабляют энергию наблюдаемой волны по мере удаления от источника возбуждения упругих волн. Чем выше газонасыщенность, глинистость, трещиноватость и кавернозность пород, тем больше затухание колебаний.

Для измерения параметров распространения упругих колебаний используется акустический зонд. В качестве основного используется трехэлементный зонд, состоящий из двух излучателей и приемника (рис. 16). Каждый из излучателей и приемник образуют двухэлементный зонд.

Схема СПАК-6

В процессе регистрации волновых картин выделяются следующие параметры:

T1 время пробега головной волны от ближнего излучателя (время первого вступления продольной волны 1 зонда);

T2 время пробега головной волны от дальнего излучателя (время первого вступления продольной волны 2 зонда);

A1 амплитуда первого вступления волны от ближнего излучателя (максимальная амплитуда сигнала, поступающего от ближнего излучателя в интервале стробирования ~140 мкс, начинающегося в момент фиксации сигнала);

A2 амплитуда первого вступления волны от дальнего излучателя (максимальная амплитуда сигнала, поступающего от ближнего излучателя в интервале стробирования ~140 мкс, начинающегося в момент фиксации сигнала).

На основе этих данных рассчитываются:

D Т - интервальное время пробега продольной волны:  Т= (Т2-Т1) / S;

- a - кажущийся коэффициент поглощения продольной волны:  =20 (1/S) lg (A1/A2);

В каждое из времён Т1 и Т2 входит двойное время пробега волны по раствору. В разности (Т2-Т1) это время исключается (то есть исключается влияние скважины) и (Т2-Т1) соответствует пробегу волны в интервале между излучателями (база зонда S) по прямой. Время (Т2-Т1), отнесенное к пробегу волны на расстояние в 1 м, называют интервальным временем  Т (измеряется в мкс/м).


При акустических исследованиях может также применяться зонд состоящий из одного излучателя и двух приёмников.

При акустическом каротаже возбуждение упругих колебаний частотой 10 - 20 кГц и 20 кГц - 2 Мгц производится с помощью магнитострикционных (или иных) излучателей.

Упругие колебания измеряют с помощью двух пьезоэлектрических сейсмоприемников, расположенных по одной линии на расстояниях 0,5 - 2 м друг от друга и от излучателя.

Между излучателем и ближайшим приемником устанавливается звукоизолятор, например, из резины, препятствующий передаче упругих колебаний по зонду. Все перечисленные приборы вместе с электронным усилителем принятых колебаний размещаются в скважинном снаряде акустического каротажа. Остальная аппаратура располагается в каротажной станции.

Акустический каротаж выполняется как в необсаженных скважинах, заполненных жидкостью, так и в обсаженных скважинах. Радиус исследования пород от оси скважины не превышает 0,5 - 1 м.

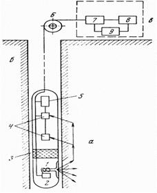
Схема аппаратуры акустического каротажа:

а - скважинный снаряд; б - кабель; в-наземная аппаратура; 1 - излучатель; 2 - генератор акустических колебаний; 3 - акустический изолятор; 4 - приемники; 5 - электронный усилитель; 6 - блок-баланс; 7 - усилитель; 8 - регистратор; 9 - блок питания

Наиболее простой способ акустических исследований - каротаж скорости, когда автоматически регистрируется кривая изменения времени пробега прямой или головной волны между двумя приемниками. Поскольку расстояние между приемниками постоянно, то кривая времени является фактически обратным графиком изменения скорости. При каротаже по затуханию измеряется амплитуда упругой волны и ослабление сигнала между двумя приемниками.

Скорость распространения упругих волн зависит от упругих модулей пород, их литологического состава, плотности и пористости, а величина затухания - от характера заполнителя пор, текстуры и структуры породы (рис. 19). На акустических диаграммах высокими значениями скоростей распространения упругих волн выделяются плотные породы - магматические, метаморфические, скальные, осадочные. В рыхлых песках и песчаниках скорость тем ниже, чем больше пористость. Наибольшее затухание (наименьшая амплитуда сигнала) наблюдается в породах, заполненных газом, меньше затухание в породах нефтенасыщенных, еще меньше - у водонасыщенных.

Общий вид диаграммы скорости (а) и амплитуды (б) при акустическом каротаже: 1 - породы средней пористости, сухие; 2 - породы средней пористости, влажные; 3 - породы высокой пористости; 4 - породы низкой пористости, плотные

Акустический метод применяется для расчленения разрезов скважин по плотности, пористости, коллекторным свойствам, а также для выявления границ газ - нефть, нефть - вода и определения состава насыщающего породы флюида. Кроме того, по данным этого метода можно судить о техническом состоянии скважин и, в частности, о качестве цементации обсадных колонн.

1.2 Оценка качества

В незацементированной колонне отношение амплитуд А1/А2 должно находится в пределах 1-1,1. Отклонение от этого соотношения свидетельствует о неидентичности одноименных элементов зонда.

Интервальное время в свободной незацементированной колонне должно составлять 183 ±5 мкс/м.

Погрешность измерений оценивают по результатам повторных замеров. При неизменных геолого-технических условиях разность показаний при первом и повторном замерах для каналов dТ и w не должно превышать удвоенной предельной погрешности аппаратуры, указываемой в ТО на нее (например для СПАК-6 dТ - 3%, w - 4 дб).

Пористость полученная по данным АК должна соответствовать данным, полученным другими методами (ННКт, ГГКп). Проконтролировать изменение dТ с глубиной можно по палетке.


Палетка акустического каротажа

Основные методологические требования к диаграммам АК:

-    диаграммы должны быть высокого качества;

-        параметры регистрации диаграмм АК (скорость записи, стабильность каналов) должны быть в соответствии со свойствами разреза и обеспечивать качество по всему диапазону изменений измеряемых параметров;

         кинематические параметры (Т1+Т2+∆T) должны регистрироваться одновременно, также как и динамические (A1+A2+lg A1/A2).

         Во всех выявленных или уже известных перспективных интервалах параллельно записи АК в масштабе глубин 1:500 проводятся записи тех же параметров в масштабе глубин 1:200.      

Акустический каротаж реализован на аппаратуре СПАК-6.

2. Акустический каротаж на аппаратуре СПАК-6

Аппаратура акустического каротажа СПАК-6 предназначена для измерения и регистрации кинематических и динамических характеристик упругих волн в нефтяных и газовых скважинах.

2.1 Данные по аппаратуре

Аппаратура обеспечивает исследование скважин диаметром от 140 до 400 мм с температурой до 115° С, с гидростатическим давлением до 100 МПа, в водной промывочной жидкости.

Аппаратура эксплуатируется с трехжильным геофизическим кабелем типа КГ3-67-180 длиной до 5500 м.

Частота излучаемых колебаний - 25 кГц.

Передача информационного сигнала на наземный измерительный пульт осуществляется по первой и второй жилам кабеля. Передача напряжения частоты 400 Гц для питания скважинного прибора осуществляется по средней точке цепи, образованной первой и второй жилами кабеля, согласующим трансформатором скважинного прибора и броней кабеля. По третьей жиле и броне кабеля осуществляется передача в скважинный прибор пусковых импульсов и постоянного напряжения для управления переключателем усиления, а также передача синхроимпульсов скважинного прибора.

Диапазон измерений интервального времени Т от 140 до 600 мкс/м. Диапазон измерений декремента затухания не менее 30 дБ/м.

Сопротивление первой и сопротивление второй жилы кабеля по отношению к оплетке кабеля должны быть равны между собой и примерно соответствовать сопротивлению одной жилы на данной длине кабеля. Сопротивление первой жилы кабеля по отношению ко второй жиле должно быть равно сопротивлению двух жил кабеля. Сопротивление третьей жилы кабеля по отношению к корпусу должно быть порядка 3,5 кОм.

Габаритные размеры:

длина - не более 3527 мм;

диаметр без центраторов - не более 90,3 мм

диаметр с центраторами в свободном состоянии - не более 500 мм;

диаметр с центраторами при предельной деформации полозьев - не более 126 мм.

Масса без центраторов - 75 кг.

Схема аппаратуры акустического каротажа СПАК-6

.2 Инструкция по проведению работ на скважине

1. Подсоедините к прибору кабельный наконечник, предварительно установив в разъем (1, 2 и 3 контакты) штырьки.

. Поднимите скважинный прибор над устьем скважины.

. Опуская прибор в скважину, установите кабельный наконечник на «ноль» глубины.

. В соответствии с «Инструкцией по проведению работ на станции Мега» установите счетчик глубины на 0 и введите цену магнитной метки.

. Произведите спуск скважинного прибора на глубину 100-200 м, т.е. до полного погружения его в промывочную жидкость.

. Укажите в окне «Выбор прибора» требуемый прибор (СПАК-6 (АК), СПАК-6 (АКЦ)) и номер скважинного прибора.

. Отрегулируйте уровень синхронизации используя команду «синхронизация» в окне управления скважинным прибором так, чтобы появилась развертка на осциллографе и устойчивая синхронизация.


. Установите уровень дискриминации сигнала на осциллографе выше наблюдаемых помех так, чтобы амплитуда первого вступления была выше уровня дискриминации. Для регистрации данных в режиме АКЦ в свободной колонне дополнительно установите на осциллографе время первого вступления головной волны в «свободной колонне» («время по колонне») (см. рис).

. Используя кнопки усиления ВК1 «1:2», «1:4», «1:8», «1:16», на экранном осциллографе и команду «усилить» в окне управления скважинным прибором, установите необходимую амплитуду сигнала со скважинного прибора.

. Спустите скважинный прибор на подошву заявленного интервала. Скорость спуска должна быть не более 5000 м/ч.

. Произведите регистрацию данных при подъеме прибора в заявленном интервале. Скорость регистрации не должна превышать 1000 м/ч.

. В заявленном интервале произведите контрольную запись (не менее 50 м).

. Произведите регистрацию интервала не менее 30 м в «свободной колонне».

14. Отключите скважинный прибор.

16. Просмотр, предварительная обработка и вывод на печать зарегистрированного материала производится в соответствии с «Инструкцией по работе с редактором «Megaedit».

. Подъем прибора на поверхность должен производится со скоростью не выше 5000 м/ч.

3. Акустическая цементометрия

Акустическая цементометрия (АКЦ) относится к основным исследованиям, проводится в каждой поисковой и разведочной скважине, в колонне, по всему разрезу.

Определяется наличие цемента и характер его сцепления с колонной и породой.

Измерения проводятся совместно с ОЦК электротермометром.

Измерения дублируются контрольным перекрытием по всему расчетному интервалу цементирования.

Оптимальное время проведения АКЦ устанавливается геологической и геофизической службами для типовых конструкций скважин, глубин, технологий цементажа и свойств цемента. АКЦ рекомендуется повторять непосредственно перед перфорацией каждого объекта.

Акустическая цементометрия производиться при помощи аппаратуры АКЦ-М.

3.1 Акустическая цементометрия на аппаратуре АКЦ-М

 

Аппаратура акустического контроля качества цементирования АКЦ-М предназначена для контроля качества цементирования обсаженных скважин.

Аппаратура обеспечивает исследование скважин с обсадными колоннами диаметром от 130 до 350 мм с температурой до 120оС, с гидростатическим давлением до 80 МПа.

Аппаратура эксплуатируется с трехжильным геофизическим кабелем типа КГ3-67-180 длиной до 6500 м.

Схема прибора АКЦ-М

Прибор содержит магнитострикционный излучатель (И) и пьезокерамический приемник (П). Формула зонда И 2,5 П. Схема прибора изображена на рисунке.

Прибор в комплексе со станцией обеспечивает регистрацию следующих параметров акустического сигнала, характеризующих качество цементирования скважин:

- времени распространения сигнала по породе - Тп (шифр TP);

- амплитуды сигнала, распространяющегося по породе - Ап (шифр AP);

- амплитуды сигнала, распространяющегося по колонне - Ак (шифр AK).

Диапазон регистрации параметра Тп от 350 до 1600 мкс, динамический диапазон регистрации параметров Ап и Ак - 36 дБ.

Питание скважинного прибора осуществляется через трансформатор от источника переменного тока напряжением 220 В, частотой 50 Гц.

Диаметр прибора без центраторов - не более 73 мм;

Длина прибора - не более 4000 мм;

Масса прибора - не более 90 кг.

 

3.2 Инструкция по проведению работ на скважине.

 

1. Подсоедините к прибору кабельный наконечник, предварительно установив в разъем (1-й контакт) штырёк.

. Поднимите скважинный прибор над устьем скважины.

. Опуская прибор в скважину, установите кабельный наконечник на «ноль» глубины.

. В соответствии с «Инструкцией по проведению работ на станции Мега» установите счетчик глубины на 0 и введите цену магнитной метки.

. Произведите спуск скважинного прибора на глубину 100-200 м, т.е. до полного погружения его в промывочную жидкость.

. Укажите в окне «Выбор прибора» требуемый прибор (АКЦ-М) и номер скважинного прибора.

. Отрегулируйте уровень синхронизации используя команду «синхронизация» в окне управления скважинным прибором так, чтобы появилась развертка на осциллографе и устойчивая синхронизация.


. Установите уровень дискриминации сигнала на осциллографе выше наблюдаемых помех так, чтобы амплитуда первого вступления была выше уровня дискриминации. В свободной колонне дополнительно установите на осциллографе время первого вступления головной волны в «свободной колонне» («время по колонне») (см. рис).

. Используя кнопки усиления ВК1 «1:2», «1:4», «1:8», «1:16», на экранном осциллографе и команду «усилить» в окне управления скважинным прибором, установите необходимую амплитуду сигнала со скважинного прибора. Команды «усилить» также включают фильтрацию помехи.

. Опустите скважинный прибор на подошву заявленного интервала. Скорость спуска должна быть не более 5000 м/ч.

. Произведите регистрацию данных при подъеме прибора в заявленном интервале. Скорость регистрации не должна превышать 1500 м/ч.

. В заявленном интервале произведите контрольную запись (не менее 50 м).

. Просмотр, предварительная обработка и вывод на печать зарегистрированного материала производится в соответствии с «Инструкцией по работе с редактором «Megaedit».

. Подъем прибора на поверхность должен производится со скоростью не выше 5000 м/ч.

4. Требования техники безопасности при выполнении работ на скважине

1.      Геофизические исследования в скважине должны проводится в присутствии ответственного представителя «заказчика» (работника геологической службы) под руководством начальника партии или другого ответственного инженерно-технического работника.

.        Геофизические исследования разрешается производить только в специально подготовленных скважинах. Подготовка должна обеспечить беспрепятственный спуск и подъем каротажных зондов и скважинных приборов в течении времени, необходимого для проведения всего комплекса геофизических исследований.

3.      Подготовленность скважины к геофизическим исследованиям оформляется актом, который подписывается ответственными представителями «заказчика» и геофизического предприятия.

.        Запрещается проводить геофизические исследования в скважинах:

а) газирующих и поглощающих;

б) с уровнем бурового раствора ниже статического (на месторождениях нефти и газа);

в) при выполнении на буровой установке работ не связанных с геофизическими исследованиями.

5.      Перед проведением геофизических работ необходимо замерить величину сопротивления заземляющего провода от каротажной станции до места его присоединения к контуру заземления буровой. Суммарная величина сопротивления заземляющего провода и контура заземления буровой (по акту готовности скважины) не должна превышать 10 Ом.

6.      Инструмент и материалы, не имеющие непосредственного отношения к геофизическим работам, должны быть убраны от устья скважины и с приемных мостков, а машинные ключи отведены в сторону и надежно закреплены.

.        Между каротажной станцией и устьем скважины не должны находится предметы, препятствующие движению кабеля, а пол буровой очищен от промывочной жидкости, грязи и т.д.

.        Для подключения геофизического оборудования к силовой или осветительной сети у скважины должна иметься постоянно установленная штепсельная розетка с заземляющим контактом (в исполнении пригодном для наружной установки). Розетка должна устанавливаться в месте, удобном для подключения к ней геофизического оборудования.

.        При работе в темное время суток все рабочие площадки должны иметь освещение, обеспечивающее безопасность работ (см. табл. №1).

Нормы освещенности

Места освещения

Освещенность, лк

Рабочие места у бурового стенка (ротора, лебедки)

40

Щиты контрольно-измерительных приборов

50

Полати, площадка для кронблока

25

Двигатели, насосы

25

Лестницы, входы в буровую, приемный мост, зумпф для промывочной жидкости

10


10.    Персонал каротажного отряда при работе на буровой должен применять защитные каски и предохранительные пояса при работе на высоте более 3 м.

11.    Каротажное оборудование при работе на скважинах должно размещаться на подготовленной для этого площадке так, чтобы была обеспечена хорошая видимость и сигнализация между подъемником, станцией и устьем скважины. Каротажная станция должна быть поставлена на тормоза и надежно закреплена.

.        Спуско-подъемные операции в скважинах разрешается производить как через наземные, так и через подвесные блок-балансы. Блок-баланс должен быть прочно укреплен над устьем скважины. Подвесной ролик, крепящийся на крюке талиевого блока, необходимо укреплять растяжками. Оттяжной ролик необходимо прочно (болтами, хомутами и т.п.) укреплять у ротора или на полу буровой.

Запрещается крепление блок-баланса канатными укрутками.

13.    Запрещается проводить работы при неисправности датчиков глубин и натяжения или при их отсутствии.

14.    Допускается работа без датчиков при использовании лебедки с ручным приводом.

.        Перед спуском прибора в скважину необходимо проверить исправность механизмов подъемника, надежность крепления зонда к кабелю, а также надежность блоков и зацепных крюков, используемых для подъема грузов и снарядов.

.        Прочность крепления скважинных снарядов к кабелю должна быть не более 2/3 разрывного усилия кабеля.

.        Исправность систем тормозного управления, кабелеукладчика, защитных ограждений подъемника и надежность крепления лебедки к раме автомобиля должны проверяться лебедчиком каждый раз перед началом работ в скважине. Не реже одного раза в месяц должен производиться профилактический осмотр спуско-подъемных механизмов.

.        Запрещается в случае повреждения тормоза лебедки останавливать скважинный снаряд за кабель вручную.

.        Во избежание затаскивания скважинных приборов на блок-баланс при подъеме кабеля на кабеле должны быть установлены три предупредительные метки.

.        Скважинные приборы и грузы массой более 40 кг или длиной более 2 м независимо от массы должны подниматься и опускаться в скважину каротажным подъемником, ручной или буровой лебедкой. При применении буровой лебедки к работе привлекается буровая бригада.

.        Длина кабеля должна быть такой, чтобы при спуске скважинного снаряда на максимальную глубину на барабане лебедки оставалось на менее половины последнего ряда витков кабеля.

.        Перед включением лебедки лебедчик обязан установленным сигналом предупредить окружающих о начале подъема или спуска кабеля.

.        Запрещается во время спуско-подъемных операций в скважине:

а) наклонятся над кабелем, переходить через него и под ним, а также браться руками за движущийся кабель. На барабан подъемника кабель должен направляться кабелеукладчиком;

б) производить поправку или установку меток, откусывать торчащие проволоки и заправлять их концы при движении кабеля;

в) очищать кабель вручную от грязи или бурового раствора.

24.    Скорость подъема кабеля при подходе скважинного снаряда к башмаку обсадной колонны и после появления первой предупредительной метки должна быть снижена до 250 м/ч.

25.    Не допускается проведение работ при наличии «фонарей» на бронированном кабеле до их устранения.

.        Измерения в скважинах при наличии на устье давления должны производиться через лубрикатор с самоуплотняющимся сальником. Спуск прибора в работающую скважину разрешается только после проверки герметичности лубрикатора.

.        В процессе соединения и разъединения, а также разрядки лубрикатора скважинный прибор должен быть установлен на полностью закрытую буферную задвижку.

.        При высоких дебитах и давлении газа, создающих вибрацию арматуры, лубрикатор должен крепиться оттяжками.

.        Для освобождения прихваченного или заклинившегося в стволе скважины кабеля следует его непрерывно «расхаживать». Если «расхаживанием» кабель освободить не удается, дальнейшие работы по ликвидации прихвата должны вестись по согласованию руководителей предприятий - геофизического и заказчика.

.        Запрещается находиться между лебедкой и устьем скважины при сильном натяжении кабеля, освобождаемого от прихвата.

.        При возникновении пожара, а также выброса, фонтанирования оператор обязан немедленно прекратить работу, отключить станцию и вывезти ее в безопасное место.

.        Допускается подключать кабель к источнику питания только по окончании сборки рабочей электросхемы станции. О моменте включения должны быть оповещены все работники отряда. Подключение должно производиться лицом, имеющим на это право.

.        Кабель, соединяющий оборудование с электросетью, должен подвешиваться на высоте не менее 2 м или прокладываться на козлах, подставках высотой не менее 0,5 м от земли в стороне от проходов, дорог и тропинок.


Заключение

Проблема обеспечения высокого качества или достоверности промыслово-геофизических данных является одной из актуальнейших задач нефтепромысловой геофизики. Тенденция расширения круга решаемых задач, постоянного усложнения геолого-технических условий производства ГИС, дальнейшая интенсификация производства ставит перед геофизическими предприятиями новые задачи, успешное решение которых может быть обеспечено лишь при постоянном совершенствовании всей технико-методической основы геофизического производства. Обеспечение единства геофизических измерений, достигаемое стандартизацией технических средств измерений и методик обработки геофизических данных, является одним из эффективных направлений решения этой проблемы.

Практика нефтепромысловой геофизики показывает, что стандартизация геофизических СИ является достаточно сложным технологическим процессом, требующим привлечения самых разнообразных средств и методических приёмов. Стандартные образцы веществ, модели пластов и разрезы контрольных скважин представляют собой единую систему физических моделей, использование которых позволяет обеспечить единство геофизических измерений.

Однако при реализации этого подхода исследователь должен помнить о том, что успешность его работы во многом будет определяться полнотой или достоверностью формализации единого технологического процесса получения и обработки геофизических данных и адекватностью инструментальных и методических погрешностей производства, накладываемых на интерпретационные модели ГИС.



Список использованной литературы

1. Геофизические методы исследования скважин: Справочник - М.: Недра, 1983-591 с.

2. Померанц Л.И., Чукин В.Т. Аппаратура к оборудование для геофизических методов исследования скважин. - М.: Недра, 1978-293c.

. Кривко И.Н., Щароварин В.Д., Широков В.Н. Промыслово-геофизическая аппаратура и оборудование. - М.: Недра 1981-290 с.

. Texнические описания и инструкции по эксплуатации геофизической аппаратуры.

. Каталоги продукции основных производителей геофизической аппаратуры.

.СТП 02073453-0102-00

. Ста 02073458-0103-99

8. Дьяконов Д.И., Леонтьев Е.И., Кузнецов Г.С. Общий курс геофизических исследований скважин

. Комаров С.Г. Геофизические методы исследований скважин

. Заворотько Ю.М. Геофизические методы исследования скважин

. Заворотько Ю.М. Методика и техника геофизических исследований скважин

. Итенберг С.С., Дахкильгов Т.Д. Геофизические исследования в скважинах

. Горбачев Ю.И. Геофизические исследования скважин

Похожие работы на - Аппаратная работа на скважине

 

Не нашли материал для своей работы?
Поможем написать уникальную работу
Без плагиата!
Без нейросетей!