Светотехнический и электрический расчеты системы освещения ремонтного цеха

  • Вид работы:
    Дипломная (ВКР)
  • Предмет:
    Физика
  • Язык:
    Русский
    ,
    Формат файла:
    MS Word
    158,75 Кб
  • Опубликовано:
    2016-06-13
Вы можете узнать стоимость помощи в написании студенческой работы.
Помощь в написании работы, которую точно примут!

Светотехнический и электрический расчеты системы освещения ремонтного цеха

ВВЕДЕНИЕ

Рациональное освещение рабочего места является одним из важнейших факторов, влияющих на эффективность трудовой деятельности человека, предупреждающих травматизм и профессиональные заболевания. Правильно организованное освещение создает благоприятные условия труда, для обеспечения комфортности и безопасности труда, улучшения и облегчения его условий, увеличения производительности труда, повышает работоспособность и производительность труда. Освещение на рабочем месте должно быть таким, чтобы работник мог без напряжения зрения выполнять свою работу.

Осветительными электроустановками называются специальные электротехнические устройства, предназначенные для освещения территорий, помещений.

Осветительные электроустановки являются необходимым элементом современных жилых домов, учреждений, общественных и производственных предприятий. Они представляют собой сложные комплексы, состоящие из распределительных устройств, магистральных и групповых электросетей, различных приборов, осветительной арматуры, источников света,

Отличительной особенностью осветительных электроустановок является многообразие применяемых схем и способов исполнения электропроводок, конструкций светильников и других источников света.

ГЛАВА 1. ЭЛЕКТРИЧЕСКОЕ ОСВЕЩЕНИЕ

Основную часть информации человек получает через органы зрения, но и носителем этой информации является излучение, называемое светом. Благодаря действию светового излучения человек может не только воспринимать зрительные образы предметов, но и видеть окружающий мир во всем разнообразии красок.

Современное общество немыслимо без повседневного использования искусственного света. Осветительные установки создают необходимые условия освещения, которые обеспечивают зрительное восприятие (видение), дающие около 90% информации, получаемой человеком из окружающего мира. Без современных средств освещения невозможна работа ни одного предприятия. Особенно важную роль свет играет для работников шахт, рудников, предприятий, имеющих здания без окон, многих взрыво и пожароопасных производств. Без искусственного света не может обойтись ни один современный город, не возможно строительство, а также работа в темное время суток.

Эффективное использование света с помощью достижений современной светотехники - важнейший резерв повышения производительности труда и качества продукции, снижения травматизма и сохранения здоровья людей. Главной задачей современной светотехники является создание комфортной световой среды для труда и отдыха человека.

Свет является разновидностью электромагнитной энергии. Видимый свет представляет собой разновидность электромагнитных колебаний с длинной волны от 380 до 760 Нм. Энергия, передаваемая лучеиспусканием, называется энергией излучения, а ее мощность - потоком излучения. Часть потока излучения, вызывающая световое ощущение, называется световым потоком.

Световые волны разной длины вызывают у человека различные цветовые ощущения. Зрачок человеческого глаза фокусирует лучи на чувствительных рецепторах сетчатки. Зрительные центры мозга синтезируют образ из множества изображений, получаемых обоими глазами, рассматривающими объект в определенной последовательности. Воздействие на глаза видимого излучения вызывает ощущение разных цветов от фиолетового до красного, причем восприимчивость глаза к цветам видимого спектра различна. При одинаковой мощности светового излучения глаз наиболее чувствителен к желтовато - зеленому цвету. В сторону красного и фиолетового цветов чувствительность глаза понижается и доходит до нуля на границах видимой части спектра.

Свет, падающий на предметы, дает достаточную информацию о форме и размерах наблюдаемых объектов. Необходимо выбрать такое освещение, чтобы получить исчерпывающую информацию о них.

1.1 Системы освещения

Для создания нормальной световой среды применяют различные системы освещения.

Естественное освещение - освещение помещений светом, исходящим от неба (прямым или отраженным), проникающим через световые проемы в наружных ограждающих конструкциях. Подразделяется на боковое, верхнее и комбинированное. Нормируемой характеристикой является коэффициент естественной освещенности. Боковое естественное освещение - естественное освещение помещения через световые проемы в наружных стенах. Верхнее естественное освещение - естественное освещение помещения через фонари, световые проемы в стенах (в местах перепада высот здания). Комбинированное естественное освещение - сочетание верхнего и бокового естественного освещения.

Искусственное освещение - освещение помещений и других мест, где недостаточно естественного освещение. Подразделяется на рабочее, аварийное, охранное, дежурное, общее, местное и комбинированное. При необходимости часть светильников рабочего или аварийного освещение используется для дежурного освещения.

Рабочее освещение обеспечивают во всех помещениях, а также на участках открытых пространств, предназначенных для работы, прохода людей и движения транспорта. Для помещений, имеющих зоны с разными условиями естественного освещения и с разными режимами работы, предусматривается раздельное управление рабочим освещение.

Аварийное освещение - освещение объектов различного назначения, не прекращающееся или автоматически вводимое в действие при внезапном отключении рабочих (основных) источников света. Предназначено для обеспечения эвакуации людей или временного продолжения работы на объектах, где внезапное отключение освещение создает опасность травматизма или недопустимого нарушения технологического процесса.

Охранное освещение (при отсутствии специальных технических средств охраны) предусматривается вдоль границ территорий, охраняемых в ночное время.

Дежурное освещение - освещение в нерабочее время. Область применения, величины освещенности, равномерность и требования к качеству не нормируются.

Общее освещение - освещение, при котором светильники размещаются в верхней зоне помещения равномерно (общее равномерное освещение) или применительно к расположению оборудования (общее локализованное освещение).

Местное освещение - освещение, дополнительное к общему, создаваемое светильниками, концентрирующими световой поток непосредственно на рабочих местах.

Комбинированное освещение - освещение, при котором к общему освещение добавляется местное.

Совмещенное освещение - освещение, при котором недостаточное по нормам естественное освещение дополняется искусственным.
Эвакуационное освещение - освещение для эвакуации людей из помещений при аварийном отключении нормального освещение.
Источниками искусственного освещения являются газоразрядные лампы и лампы накаливания.

1.2 Классификация ламп для освещения

В современном мире применяют для освещения различные типы ламп, такие как лампы накаливания, люминесцентные лапы, лампы ДРЛ и ДНаТ, светодиодные лампы.

Лампа накаливания - искусственный источник света, в котором свет испускает тело накала, нагреваемое электрическим током до высокой температуры. В качестве тела накала чаще всего используется спираль из тугоплавкого металла (чаще всего -вольфрама), либо угольная нить. Чтобы исключить окисление тела накала при контакте с воздухом, его помещают в вакуумную колбу, либо колбу, заполненную инертными газами или парами галогенов. Лампа накаливания и её приведена на рисунке 1.

Рисунок 1.1 - Лампа накаливания

- колба; 2 - тело накала; 3 - крючки-держатели тела накала; 4 - ножка лампы; 5 - электроды (токовые вводы); 6 - внешнее звено токопровода, предохранитель; 7 - корпус цоколя; 8 - изолятор цоколя (стекло); 9 - контакт донышка цоколя.

Преимущества:

·              высокий индекс цветопередачи <https://ru.wikipedia.org/wiki/%D0%98%D0%BD%D0%B4%D0%B5%D0%BA%D1%81_%D1%86%D0%B2%D0%B5%D1%82%D0%BE%D0%BF%D0%B5%D1%80%D0%B5%D0%B4%D0%B0%D1%87%D0%B8>;

·              налаженность в массовом производстве;

·              низкая цена;

·              небольшие размеры;

·              отсутствие пускорегулирующей аппаратуры;

·              нечувствительность к ионизирующей радиации;

·              чисто активное электрическое сопротивление (единичный коэффициент мощности <https://ru.wikipedia.org/wiki/%D0%9A%D0%BE%D1%8D%D1%84%D1%84%D0%B8%D1%86%D0%B8%D0%B5%D0%BD%D1%82_%D0%BC%D0%BE%D1%89%D0%BD%D0%BE%D1%81%D1%82%D0%B8>);

·              мгновенное зажигание;

·              невысокая чувствительность к сбоям в питании и скачкам напряжения;

·              отсутствие токсичных компонентов и как следствие отсутствие необходимости в инфраструктуре по сбору и утилизации;

·              возможность работы на любом роде тока;

·              нечувствительность к полярности напряжения;

·              возможность изготовления ламп на самое разное напряжение (от долей вольта до сотен вольт);

·              незаметность мерцания при работе на переменном токе (важно на предприятиях);

·              отсутствие гудения при работе на переменном токе (ввиду отсутствия электронного балласта, драйвера или преобразователя напряжения);

·              устойчивость к электромагнитному импульсу;

·              приятный и привычный в быту спектр; спектр излучения лампы накаливания определяется исключительно температурой рабочего тела и не зависит ни от каких иных условий, что следует из принципа её работы. Он не зависит от применяемых материалов и их чистоты, стабилен во времени и имеет стопроцентную предсказуемость и повторяемость. Это важно в том числе при больших инсталляциях и в светильниках из сотен ламп: нередко можно увидеть, когда при применении современных люминофорных или светодиодных ламп они имеют разный цветовой оттенок в пределах группы. Это уменьшает эстетическое совершенство инсталляций. При неисправности одной лампы часто приходится заменять всю группу целиком, но даже при установке ламп из одной партии встречается девиация спектра.

Недостатки:

·              низкая световая отдача

·              относительно малый срок службы

·              хрупкость, чувствительность к удару и вибрации

·              бросок тока при включении (примерно десятикратный)

·              при термоударе или разрыве нити под напряжением возможен взрыв баллона

·              резкая зависимость световой отдачи и срока службы от напряжения

·              лампы накаливания представляют пожарную опасность. Через 30 минут после включения ламп накаливания температура наружной поверхности достигает, в зависимости от мощности, следующих величин: 25 Вт - 100 °C, 40 Вт - 145 °C, 75 Вт - 250 °C, 100 Вт - 290 °C, 200 Вт - 330 °C. При соприкосновении ламп с текстильными материалами их колба нагревается ещё сильнее.

·              нагрев частей лампы требует термостойкой арматуры светильников

·              световой коэффициент полезного действия ламп накаливания, определяемый как отношение мощности лучей видимого спектра к мощности, потребляемой от электрической сети, весьма мал и не превышает 4 %. Включение электролампы через диод, что часто применяется с целью продления ресурса на лестничных площадках, в тамбурах и прочих затрудняющих замену местах, ещё больше усугубляет её недостаток: значительно уменьшается КПД, а также появляется значительное мерцание света.

Люминесцентная лампа - газоразрядный <https://ru.wikipedia.org/wiki/%D0%93%D0%B0%D0%B7%D0%BE%D1%80%D0%B0%D0%B7%D1%80%D1%8F%D0%B4%D0%BD%D0%B0%D1%8F_%D0%BB%D0%B0%D0%BC%D0%BF%D0%B0> источник <https://ru.wikipedia.org/wiki/%D0%98%D1%81%D0%BA%D1%83%D1%81%D1%81%D1%82%D0%B2%D0%B5%D0%BD%D0%BD%D1%8B%D0%B5_%D0%B8%D1%81%D1%82%D0%BE%D1%87%D0%BD%D0%B8%D0%BA%D0%B8_%D1%81%D0%B2%D0%B5%D1%82%D0%B0> света <https://ru.wikipedia.org/wiki/%D0%A1%D0%B2%D0%B5%D1%82>, в котором электрический разряд в парах ртути <https://ru.wikipedia.org/wiki/%D0%A0%D1%82%D1%83%D1%82%D1%8C> создаёт ультрафиолетовое <https://ru.wikipedia.org/wiki/%D0%A3%D0%BB%D1%8C%D1%82%D1%80%D0%B0%D1%84%D0%B8%D0%BE%D0%BB%D0%B5%D1%82> излучение, которое преобразуется в видимый свет <https://ru.wikipedia.org/wiki/%D0%92%D0%B8%D0%B4%D0%B8%D0%BC%D0%BE%D0%B5_%D0%B8%D0%B7%D0%BB%D1%83%D1%87%D0%B5%D0%BD%D0%B8%D0%B5> с помощью люминофора <https://ru.wikipedia.org/wiki/%D0%9B%D1%8E%D0%BC%D0%B8%D0%BD%D0%BE%D1%84%D0%BE%D1%80> - например, смеси галофосфата кальция с другими элементами.

Световая отдача <https://ru.wikipedia.org/wiki/%D0%A1%D0%B2%D0%B5%D1%82%D0%BE%D0%B2%D0%B0%D1%8F_%D0%BE%D1%82%D0%B4%D0%B0%D1%87%D0%B0> люминесцентной лампы в несколько раз больше, чем у ламп накаливания <https://ru.wikipedia.org/wiki/%D0%9B%D0%B0%D0%BC%D0%BF%D0%B0_%D0%BD%D0%B0%D0%BA%D0%B0%D0%BB%D0%B8%D0%B2%D0%B0%D0%BD%D0%B8%D1%8F> аналогичной мощности. Срок службы люминесцентных ламп около 5 лет при условии ограничения числа включений до 2000, то есть не больше 5 включений в день в течение гарантийного срока 2 года.

Рисунок 1.2 - Люминесцентная лампа

Популярность люминесцентных ламп обусловлена их преимуществами (над лампами накаливания <https://ru.wikipedia.org/wiki/%D0%9B%D0%B0%D0%BC%D0%BF%D0%B0_%D0%BD%D0%B0%D0%BA%D0%B0%D0%BB%D0%B8%D0%B2%D0%B0%D0%BD%D0%B8%D1%8F>):

·              значительно большая светоотдача <https://ru.wikipedia.org/wiki/%D0%A1%D0%B2%D0%B5%D1%82%D0%BE%D0%B2%D0%B0%D1%8F_%D0%BE%D1%82%D0%B4%D0%B0%D1%87%D0%B0> (люминесцентная лампа 20 Вт даёт освещенность как лампа накаливания на 100 Вт) и более высокий КПД <https://ru.wikipedia.org/wiki/%D0%9A%D0%9F%D0%94>;

·              разнообразие оттенков света;

·              рассеянный свет;

·              длительный срок службы <https://ru.wikipedia.org/wiki/%D0%9D%D0%B0%D1%80%D0%B0%D0%B1%D0%BE%D1%82%D0%BA%D0%B0_%D0%BD%D0%B0_%D0%BE%D1%82%D0%BA%D0%B0%D0%B7> (2 000-20 000 часов в отличие от 1 000 у ламп накаливания), при условии обеспечения достаточного качества электропитания, балласта и соблюдения ограничений по числу включений и выключений.

К недостаткам относят:

·              химическая опасность (ЛЛ содержат ртуть в количестве от 10 мг до 1 г);

·              неравномерный, линейчатый спектр, неприятный для глаз и вызывающий искажения цвета освещённых предметов (существуют лампы с люминофором спектра, близкого к сплошному, но имеющие меньшую светоотдачу);

·              мерцание лампы с удвоенной частотой питающей сети <https://ru.wikipedia.org/wiki/%D0%A1%D0%B5%D1%82%D0%B5%D0%B2%D0%BE%D0%B5_%D0%BD%D0%B0%D0%BF%D1%80%D1%8F%D0%B6%D0%B5%D0%BD%D0%B8%D0%B5> (применение ЭПРА <https://ru.wikipedia.org/wiki/%D0%AD%D0%9F%D0%A0%D0%90> решает проблему, при условии достаточной ёмкости сглаживающего конденсатора выпрямленного тока на входе инвертора ЭПРА (производители часто экономят на ёмкости конденсатора);

·              наличие дополнительного приспособления для пуска лампы - пускорегулирующего аппарата (громоздкий шумный дроссель с ненадёжным стартером или же дорогой ЭПРА <https://ru.wikipedia.org/wiki/%D0%AD%D0%BB%D0%B5%D0%BA%D1%82%D1%80%D0%BE%D0%BD%D0%BD%D1%8B%D0%B9_%D0%BF%D1%83%D1%81%D0%BA%D0%BE%D1%80%D0%B5%D0%B3%D1%83%D0%BB%D0%B8%D1%80%D1%83%D1%8E%D1%89%D0%B8%D0%B9_%D0%B0%D0%BF%D0%BF%D0%B0%D1%80%D0%B0%D1%82>);

·              очень низкий коэффициент мощности <https://ru.wikipedia.org/wiki/%D0%9A%D0%BE%D1%8D%D1%84%D1%84%D0%B8%D1%86%D0%B8%D0%B5%D0%BD%D1%82_%D0%BC%D0%BE%D1%89%D0%BD%D0%BE%D1%81%D1%82%D0%B8> ламп - такие лампы являются неудачной для электросети <https://ru.wikipedia.org/wiki/%D0%AD%D0%BB%D0%B5%D0%BA%D1%82%D1%80%D0%B8%D1%87%D0%B5%D1%81%D0%BA%D0%B0%D1%8F_%D1%81%D0%B5%D1%82%D1%8C> нагрузкой <https://ru.wikipedia.org/w/index.php?title=%D0%9D%D0%B0%D0%B3%D1%80%D1%83%D0%B7%D0%BA%D0%B0_(%D1%8D%D0%BB%D0%B5%D0%BA%D1%82%D1%80%D0%BE%D1%82%D0%B5%D1%85%D0%BD%D0%B8%D0%BA%D0%B0)&action=edit&redlink=1> (нивелируется применением очень дорогих ЭПРА с корректором коэффициента мощности);

ДРЛ (Дуговая Ртутная Люминесцентная) - принятое в отечественной светотехнике обозначение РЛВД, в которых для исправления цветности светового потока, направленного на улучшение цветопередачи, используется излучение люминофора <https://ru.wikipedia.org/wiki/%D0%9B%D1%8E%D0%BC%D0%B8%D0%BD%D0%BE%D1%84%D0%BE%D1%80>, нанесённого на внутреннюю поверхность колбы.

Применяется для общего освещения цехов, улиц, промышленных предприятий и других объектов, не предъявляющих высоких требований к качеству цветопередачи и помещений без постоянного пребывания людей.

ДРЛ широко используют в общем освещении улиц, промышленных цехов и территорий, любых малолюдных или безлюдных помещений - там, где требования к качеству цветопередачи низкие, а к энергосбережению - высокие. Этим требованиям вполне удовлетворяют ДРЛ - эти лампы имеют достаточно высокую эффективность.

За это достоинство им прощаются многочисленные недостатки, указать на которые мы считаем необходимым.

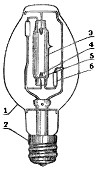
Рисунок 1.3 - Лампа ДРЛ

Устройство лампы ДРЛ: 1 - колба; 2 - цоколь; 3 - горелка; 4 - основной электрод; 5 - поджигающий электрод; 6 - токоограничительный резистор.

К одним из существенных недостатков ламп ДРЛ следует отнести интенсивное образование озона при их горении.

Включение ламп в сеть осуществляют при помощи специальных пускорегулирующих устройств: в обычных условиях с лампой ДРЛ последовательно включают дроссель, в случае температур ниже минус 25 градусов по Цельсию в схему необходимо включить автотрансформатор.

Сам процесс включения ламп ДРЛ сопровождается большим пусковым током. Полное зажигание может занять 7 и более минут, а для повторного ее включения потребуется остудить лампу, выдержав ее незажженной в течение 10-15 минут.

Прочие недостатки ламп ДРЛ

·              низкий коэффициент цветопередачи - 45%;

·              низкая цветовая температура - 3800°К;

·              продолжительное зажигание при включении (примерно 7-10 минут);

·              повторное зажигание ДОЛ после ее отключения допустимо лишь после обязательной выдержки для охлаждения в течение не менее 10-20 минут;

·              лампа ДРЛ может не зажечься, а горящая - погаснуть, если напряжение в сети питания упадет на двадцать или даже менее процентов;

·              зависимость от температуры окружающей среды (проблемы с запуском при температуре ниже -20°С, снижение срока службы);

·              при горении лампы ДРЛ ее колба разогревается до температуры порядка 100°С;

·              у ДРЛ очень высокий коэффициент пульсаций;

·              после 3-6 месяцев службы, что соответствует примерно 2000 часам работы лампы световая отдача ДРЛ снижается вдвое;

·              в излучение ДРЛ преобладает сине-зеленая часть спектра, что ведет к неудовлетворительной цветопередаче, а, значит, исключает возможность применения лампы в случаях, когда объектами освещения являются лица людей, окрашенные и цветные поверхности, мелкие или движущиеся предметы;

·              необходимость включения через специальный балластный дроссель;

·              высокая концентрация паров ртути в лампе ДРЛ (от 0,2 до 0,9 мг) достаточна для отравления людей при случайном повреждении колбы в закрытом помещении объемом 1500 кубических метров (это, например, может быть склад с высотой потолка в 3 метра и площадью в 500 м2).

Светодиоды

Первое отличие светодиодов от других источников света - это низкое потребление электроэнергии, экономичность светодиодных светильников. В основе светодиодной технологии лежит совершенно иной принцип излучения, на несколько порядков экономичней, например, технологии люминесцентных ламп.

Другим важным преимуществом светодиодных светильников является качество света, излучаемого светодиодом. Светодиодные лампы производят свет близкий к естественному, дневному свету, обеспечивая, таким образом, комфортные условия работы и отдыха для человека. Светодиоды отличает высокая степень цветопередачи, близкая к естественной.

Светодиодные лампы экологически чисты, так как не содержат в себе никаких вредных веществ и не связаны с процессами, при которых могут выделяться какие-либо вредные вещества.

Сейчас светодиодные лампы вполне доступны по цене, хотя этот параметр не является главным аргументом в пользу выбора источников света именно этой технологии.

Стоит отметить, что у светодиода отсутствует такой, обязательный для всех остальных видов светильников, элемент как тело накала. Вследствие этого светодиодам присущ необычайно длительный срок службы.

При использовании светодиодов исключается возможность перегрузки муниципальных и городских сетей при наступлении сумерек, когда массово включается большое количество светильников. Ток, потребляемый светодиодной лампой, колеблется от 0,3 до 1,1 ампера, в зависимости от ее мощности. Ток, потребляемый газоразрядной лампой, составляет от 2,2 до 4,5 (в момент пуска) ампер. Экономия от применения светодиодов может достигаться не только за счет снижения потребления энергии, но и благодаря использованию токоподводящих кабелей меньшего сечения.

Светодиодные светильники практически мгновенно выходят на максимальную силу света. Это их свойство не зависит от температуры воздуха, они легко зажигаются и нормально работают даже при экстремальной температуре в - 60°С. Газоразрядные лампы (ДРЛ, ДНАТ), как известно, набирают номинальную силу света постепенно. Кроме того, они очень плохо запускаются при пониженном напряжении и низкой температуре воздуха.

Высокий КПД. Светодиодные прожекторы имеют высокий процент использования светового потока (близкий к 100%), в отличие от обычных уличных светильников, для которых этот параметр составляет 60-75%.

Преимущества светодиодов:

·              низкое энергопотребление - не более 10% от потребления при использовании ламп накаливания;

·              долгий срок службы - до 100 000 часов;

·              высокий ресурс прочности - ударная и вибрационная устойчивость;

·              чистота и разнообразие цветов, направленность излучения;

·              регулируемая интенсивность;

·              низкое рабочее напряжение;

·              экологическая и противопожарная безопасность. Они не содержат в своем составе ртути и почти не нагреваются.

И последнее. Еще одним отличием светодиодных светильников от источников света любого другого вида является то, что у них фактически нет недостатков, или, по крайней мере, они на сегодняшний день не выявлены!

А возможные разговоры о цене вряд ли можно считать сколь-нибудь серьезными: ведь никому не приходит в голову считать цену самым главным фактором при выборе еды.

Рисунок 1.4 - Светодиодная лампа

ГЛАВА 2. ОБЩАЯ ХАРАКТЕРИСТИКА ОБЪЕКТА

Характеристика помещений и требования, предъявляемые к системе электрического освещения.

Объект представляет собой прямоугольный ремонтный цех. Это одноэтажное здание. Высота потолка основного помещения составляет 10 м, вспомогательных помещений 3 м. Общая площадь освещаемого объекта составляет 1728 м2.

Окна расположены по всему периметру здания, вследствие чего создается достаточная естественная освещенность. Помещения, в которых окна отсутствуют (помещение уборочного инвентаря, входные тамбуры) не являются местом постоянного пребывания людей и не требуют естественной освещенности.

Отделка основных помещений выполнена светлой краской, декоративной штукатуркой, пол покрыт светлым линолеумом, коэффициенты отражения: потолка - 50%, стен - 30%, пола - 10%.

Выполняемое задание на дипломное проектирование предполагает проектирование электрического освещения в основном помещении и подсобных помещений для технологического оборудования, для технологических нужд и рабочего персонала, для обеспечения нормальных условий работы.

В данном проекте предусмотрены также подсобные помещения как:

. кладовая

. душевая

. ком. отдыха

. санузлы

. санузлы

. раздевалка

. мастера

. сварочный

. прессовый

. основное

Вводное распределительное устройство (ВРУ) питается от трансформаторной подстанции (ТП) 10/0,4 кВ по радиальной схеме кабелем, проложенным в земле, длинной l = 150 м.

План помещения изображаем на рисунке 2.1.

Рисунок 2.1 - План помещения ремонтного цеха

В таблице 2.1 описаны площади помещений и нормы освещенности необходимые для данных помещений.

Таблица 2.1 - Данные по помещениям.

Наименование помещения

S мм2

Emin, Лк

1

Кладовая

24

50

2

Душевая

32

50

3

Комната отдыха

40

150

4

Санузел М

16

30

5

Санузел Ж

16

30

6

Раздевалка

32

150

7

Мастера

32

250

8

Сварочный цех

54

200

9

Прессовый цех

54

200

10

Основное помещение

1428

200

ГЛАВА 3. РАСЧЕТ ИСКУССТВЕННОГО ОСВЕЩЕНИЯ

.1 Выбор системы электрического освещения, нормируемой освещённости, источника света

Как и в любой проектной разработке выбор источников света осуществляется на основании уже существующих, освещаемых промышленностью источников света, причём выбор их осуществляется на основании сопоставления достоинств и недостатков, требований к освещению рабочей поверхности, пожаробезопасности и взрывобезопасности, а также уже существующих рекомендаций и положений.

Поскольку ВРУ питается от ТП 10/0,4 кВ, то номинальное напряжение осветительной сети принимаем 220/380 В.

Освещение бывает следующих видов:

·   рабочее освещение;

·   аварийное освещение (5% от рабочего).

Аварийное освещение применяется для эвакуации в производственных помещениях с числом работающих не менее 50 человек, и в непроизводственных помещениях не менее 100 человек.

Для заданного типа помещения число работающих не превышает 50 человек, следовательно, для него аварийное освещение не применяем.

Системы освещения бывают:

·   общая;

·   местная;

·   комбинированная.

Общая система освещения предназначена для надлежащих условий видения на всей освещаемой поверхности, включая рабочие поверхности. Оно может быть равномерным и локализованным. Для общего освещения применяется светильники одного типа и мощности.

Комбинированное освещение создает надлежащие условия видения в пределах рабочей поверхности совместно с общим и местным освещением, а по всей основной площади только общим равномерным освещением.

Для нашего помещения принимаем систему общего равномерного освещения.

В данном дипломном проектировании будет проводиться замена всех светильников в помещениях на светодиодные светильники.

Питание осветительных установок, сети и силовой, которая по заданию курсового проекта равна Sнт = 630 кВ×А, производится от трансформаторной подстанции (ТП). ВРУ питается от ТП 10/0.4, по радиальной схеме кабелем, длиной 150 м, проложенным в земле. Осветительная сеть напряжением 380/220В. Коэффициент мощности cosj = 0,86. Коэффициент загрузки трансформатора bт = 0,87.

С учетом вышесказанного, для вспомогательных помещений выбираем источники света, приведенные в таблице 3.1.

Таблица 3.1- Источники света для вспомогательных помещений.

Наименование помещения

Источники

1

Кладовая

Светодиодный светильник “Айрон”

2

Светодиодный светильник “Айрон”

3

Комната отдыха

Светодиодный светильник “Айрон”

4,5

Санузлы

Светодиодный светильник “Айрон”

6

Раздевалка

Светодиодный светильник “Айрон”

7

Мастера

Светодиодный светильник “Айрон”

8

Сварочный участок

Светодиодный светильник “Айрон”

9

Прессовый цех

Светодиодный светильник “Айрон”

10

Основное помещение

Светодиодный светильник “Айрон”


3.2 Выбор приборов электрического освещения и их расположения в плане помещения

Величина нормируемой освещённости является одним из основных исходных данных, определяющих установленную мощность источника света. Освещение рабочих мест нормируется и приводится в справочниках. Нормы устанавливают наименьшую освещенность имея ввиду, что она должна иметь место в ²наихудших² точках освещенность поверхности перед очисткой светильников.

Величина нормируемой освещенности зависит от размеров объектов, коэффициента отражения пола. Выбор освещённости в практических условиях упрощается наличием отраслевых норм, в которых приводятся значения освещенности для основных производственных операций рассматриваемой отрасли промышленности.

При проектировании осветительной установки в расчет вводится коэффициент запаса, учитывающий снижение светового потока источника света вследствие его старения, а также снижение КПД светильника в результате загрязнения ламп, осветительной арматуры и ограждающей поверхности освещаемого помещения.

Значения коэффициентов запаса приведены в справочниках в зависимости от типа светильников, лампы, а также помещений, в которых расположены источники света. Результаты выбора коэффициентов запаса сведён в таблице 3.2.

Одним из условных вопросом, решаемых при проектировании осветительной установки, от которой зависит не только её экономичность, но и надёжность работы, является выбор типа светильников.

Тип светильника определяется:

1. условиями окружающей среды;

2. требованиями к характеру светораспределения;

3. экономической целесообразностью.

Наиболее экономичны светильники прямого светораспределения, которые позволяют различать мелкие дефекты поверхностей.

При выборе светильников по условиям среды в сухих, влажных, сырых помещениях необходимо учитывать, что в сырых помещениях корпус патрона должен быть выполнен из изоляционных, влагостойких материалов, в жарких помещениях все части светильника должны быть из материала необходимой теплостойкости, в пыльных помещениях допустимо полностью или частично пылезащищенное исполнение.

Нормы устанавливают наименьшую освещенность, имея в виду, что она должна иметь место в наихудших точках освещаемой поверхности.

Согласно заданию данного дипломного проектирования минимальная освещенность для основного помещения Emin= 200 Лк.

Нормы освещенности для вспомогательных помещений также даны в задании и приведены в таблице 3.2.

Таблица 3.2 - Нормы освещенности для вспомогательных помещений.

Наименование помещения

Освещённость, лк

1

Кладовая

50

1,3

2

Душевая

50

1,3

3

Комната отдыха

150

1,3

4,5

Санузлы

30

1,3

6

Раздевалка

150

1,3

7

Мастера

250

1,3

8

Сварочный цех

200

1,3

Прессовый цех

200

1,3

10

Основное помещение

200

1,3


В данном дипломном проектировании все светильники являются светодиодными светильниками “Айрон”.

Рассчитаем освещённость для основного помещения методом коэффициента использования светового потока.

Рекомендуемые значения λ=L/Н для КСС типа Г = 0,8-1,1

Кз=1,3

Определяем расчетную высоту установки светильника над освещаемой поверхностью Нр, м.

Нр = H - hр - hс , (3.1)

где    H - высота помещения, Н=10 м;

hp - высота рабочей поверхности, hp=0,8 м;

hc - высота свеса светильника, hc=1,2 м.

Hp = 10 - (0,8+1,2)= 8 м.

Вычислим расстояние между светильниками:

 , (3.2)

где    L - расстояние между светильниками;- расчетная высота подвеса светильника (расстояние по перпендикуляру до расчётной плоскости).

L = Hp×l = 8×1 = 8 м.

Число рядов светильников определяется по формуле:

, (3.3)

где В - ширина помещения, В=24 м;

l - расстояние от стены (принимаем 0,4L), l=3 м.

 шт.

Принимаем R=3 шт.

Число светильников в ряду определяем по формуле:

 , (3.4)

где А - длина помещения, А=64 м.

 шт.

Принимаем N=8 шт.

Рассчитываем реальное расстояние между рядами светильников по формуле:

 , (3.5)

Рассчитываем реальное расстояния между центрами светильников в ряду по формуле:

, (3.6)

Для прямоугольных помещение проверяется условие:

Т. к. условие не выполняется, то принимаем число рядов R=4 шт.

Число светильников в цехе:

N = 8 4 = 32 светильника.

Схемы свеса светильника, расстояния светильника представлены на рисунке 3.1.

Рисунок 3.1 - а - Схема свеса светильника; б -

Похожие работы на - Светотехнический и электрический расчеты системы освещения ремонтного цеха

 

Не нашли материал для своей работы?
Поможем написать уникальную работу
Без плагиата!
Без нейросетей!