Принципы реконструкции отделения по техническому ремонту и диагностике
Введение
Развитие экономики Республики Беларусь во многом зависят от использования
выгодного геополитического положения «на перекрестке Европы». Дороги в
республике становятся основной частью европейских маршрутов. Это существенно
повышает требования к обеспечению качества автомобильных дорог. Для решения
этих задач необходимо внедрение новых технологий, машин оборудования.
Строительные, дорожные и подъемные машины и оборудование составляют
основу комплексной механизации, автоматизации и роботизации строительного
производства. Затраты на поддержание, сохранение и восстановление
работоспособности строительных дорожных машин составляют до 25% себестоимости
машино-часа эксплуатации, а за срок службы они в 6 раз превосходят стоимость
новой.
Основной задачей технической обслуживания является поддержание
работоспособности машин при наименьших затратах на их восстановление, грамотное
диагностирование для проведения предупредительного обслуживания или ремонта
обходясь меньшими затратами.
В строительстве используются машины и оборудование, полностью заменяющие
ручной труд. Отказ одной машины (особенно ведущей) приводит к снижению
эффективности строительного производства.
Для обслуживания и ремонта новой, сложной техники требуется внедрение
нового оборудования для качественного обслуживания в короткие сроки.
В данном дипломном проекте разрабатывается отделение по ТР и диагностика
двигателей. Ремонт и диагностика двигателей позволяет предприятию в кратчайшие
сроки поддерживать СДМ в постоянной работоспособности и снизить затраты на ГСМ
и уменьшить вредные выбросы.
Спецификой ремонта и диагностики двигателей является необходимость
обеспечения высокой точности выполнения работ, поэтому, как правило, ремонт
должен производится на специализированном предприятии, использующем заводскую
технологию.
Ремонт должен производиться на специализированных участках с соблюдением
соответствующих требований нормативно-технической документации.
Для ремонта двигателей также необходим отдельный участок с комплектом
оборудования для обслуживания и ремонта по заводской технологии.
И в связи с этим в данном проекте производится отделений по ремонту
двигателей СДМ в УПТК. Целью реконструкции является повышение
производительности данных отделений, выполнение более качественного
диагностирования и ремонта двигателей.
1. Общая часть
1.1 Характеристика организации
«Управление производственно-технологической комплектации» (УПТК) является
филиалом ОАО «Строительный трест №14» находится в системе схема 1.
Деятельность УПТК регулируется Уставом, а также другими законодательными
и нормативными актами.
Управление производственно-хозяйственной деятельностью предприятия
осуществляет директор согласно структуры схема 2.
УПТК является юридическим лицом, имеет самостоятельный бухгалтерский
баланс, расчетный счет, гербовую печать и штампы. Основным направлением
деятельности предприятия является обеспечением строящихся объектов
строительными материалами, плиты бетонные для тротуаров, выполнение
строительно-монтажных и ремонтных работ по строительству и ремонту автомобильных
дорог.
Схема 1 - Положение организации в министерстве
Хозяйственная деятельность УПТК заключается в том, чтобы получить
прибыль, которая будет использоваться в решении производственных задач, в
социальной сфере и других направлениях согласно законодательства РБ.
Разработка в соответствии с утвержденными показателями и заключенными
договорами плана производственно-хозяйственной деятельности.
Строительство, реконструкция и ремонт автодорог, тротуаров, и т.д.
Выполнение планов и мероприятий по техперевооружению, расширению своей
производственной базы, внедрению новой техники, техническое усовершенствование
и рационализация решений.
Осуществление ТО и ремонта дорожно-строительных машин и автотранспорта.
Организация и осуществление мероприятий по охране труда и
производственной санитарии.
Осуществление мероприятий по постановке целей и решению задач связанное с
повышением культурно-бытовых и жилищных условий работников.
УПТК осуществляет любые виды деятельности, не запрещенные законодательством
РБ и предусмотрены лицензией на производственно-хозяйственную деятельность.
На протяжении долгих лет работы УПТК приобрел огромный опыт в
строительстве.
гидросъемник
автомобиль ремонт трудоемкость
Схема 2 - Структура управления предприятием
Организация имеет списочный состав ДСМ и подвижного состава.
Таблица 1 Величина наработки парка машин
|
Наименование и марка машины
|
№
|
Наработка с начала
эксплуатации, маш-ч.
|
Планируемая наработка на
год, маш-ч.
|
|
1
|
2
|
3
|
4
|
|
Экскаватор одноковшовый
ЭО-5124
|
1
|
11780
|
1800
|
|
Экскаватор одноковшовый
ЭО-5124
|
2
|
12730
|
1800
|
|
Экскаватор одноковшовый
ЭО-10011Е
|
3
|
13460
|
1800
|
|
Экскаватор одноковшовый
ЭО-4124А
|
4
|
14420
|
1800
|
|
Экскаватор одноковшовый ЭО-4124А
|
5
|
11050
|
1800
|
|
Экскаватор одноковшовый
ЭО-4124А
|
6
|
10660
|
1800
|
|
Экскаватор одноковшовый
ЭО-4321Б
|
7
|
9150
|
1800
|
|
Экскаватор одноковшовый
ЭО-4321Б
|
8
|
2900
|
1800
|
|
Экскаватор одноковшовый
ЭО-4301А
|
9
|
14750
|
1800
|
|
Экскаватор одноковшовый
ЭО-3322
|
10
|
14950
|
1800
|
|
Экскаватор одноковшовый
ЭО-4421
|
11
|
12300
|
1800
|
|
Экскаватор одноковшовый
ЭО-2621
|
12
|
13700
|
1800
|
|
Экскаватор одноковшовый
ЭО-2621
|
13
|
13700
|
1800
|
|
Экскаватор одноковшовый
ЭО-2621
|
14
|
3500
|
1800
|
|
Экскаватор планировщик УДС-114А
|
15
|
18050
|
1800
|
|
Бульдозер ДЗ-171
|
16
|
7500
|
1800
|
|
Бульдозер ДЗ-171
|
17
|
8950
|
1800
|
|
Бульдозер ДЗ-171
|
18
|
7530
|
1800
|
|
Бульдозер ДЗ-42Г
|
19
|
5350
|
1800
|
|
Бульдозер ДЗ-42Г
|
20
|
8450
|
1800
|
|
Бульдозер Д-606
|
21
|
6500
|
1800
|
|
Автогрейдер ДЗ-143-1
|
22
|
14450
|
1800
|
|
Автогрейдер ДЗ-99-1-4
|
23
|
12050
|
1800
|
|
Асфальтоукладчик ДС-143
|
24
|
8750
|
1500
|
|
Трактор МТЗ-82
|
25
|
9000
|
1600
|
|
Трактор МТЗ-80Л
|
26
|
7510
|
1600
|
|
Трактор МТЗ-82
|
27
|
5400
|
1600
|
|
Автокран КС-4572А
|
28
|
11196
|
1600
|
|
Автокран КС-3577
|
29
|
19143
|
1600
|
|
Автокран КС-3577
|
30
|
14233
|
1600
|
|
Автокран КС-3577-2
|
31
|
20543
|
1600
|
|
Кран на певмоходу КС-5363А
|
32
|
26880
|
1600
|
|
Кран на певмоходу КС-5363
|
33
|
32515
|
1600
|
|
Кран на певмоходу КС-5363Б
|
34
|
9210
|
1600
|
|
Кран на певмоходу КС-5363
|
35
|
11105
|
1600
|
|
Кран на певмоходу КС-4361А
|
36
|
38105
|
1600
|
|
Кран на певмоходу КС-4362
|
37
|
16440
|
1600
|
|
Погрузчик ТО-49
|
38
|
10060
|
1800
|
|
Кран гусеничный РДК-25
|
39
|
40150
|
1600
|
|
Кран гусеничный РДК-25
|
40
|
56605
|
1600
|
|
Кран на спец. шасси КС-5473
|
41
|
24142
|
1600
|
|
Самоходный каток ДУ-47Б
|
42
|
4650
|
1500
|
|
Самоходный каток ДУ-54А
|
43
|
3355
|
1500
|
|
Самоходный каток ВА-251
|
44
|
2500
|
1500
|
|
Самоходный каток ДУ-47Б
|
45
|
5860
|
1500
|
Таблица 2 Величина пробега подвижного состава
|
Наименование и марка машины
|
№
|
Пробег с начала
эксплуатации, тыс. км
|
Планируемый годовой пробег,
ыс. км
|
|
1
|
2
|
3
|
4
|
|
Автомобиль МАЗ-5551
|
1
|
132,6
|
40
|
|
Автомобиль МАЗ-5551
|
2
|
452,7
|
40
|
|
Автомобиль МАЗ-5551
|
3
|
481
|
40
|
|
Автомобиль МАЗ-5551
|
4
|
424
|
40
|
|
Автомобиль МАЗ-5551
|
5
|
471,2
|
40
|
|
Автомобиль КамАЗ-5511
|
6
|
187,5
|
45
|
|
Автомобиль КамАЗ-5511
|
7
|
556,8
|
45
|
|
Автомобиль КамАЗ-5511
|
8
|
612,4
|
45
|
|
Автомобиль КамАЗ-5511
|
9
|
241,3
|
45
|
|
Автотягач ЗИЛ-130В
|
10
|
120,2
|
10
|
|
Автотягач ЗИЛ-130В
|
11
|
506,1
|
10
|
|
Автотягач МАЗ-5433
|
12
|
347,1
|
15
|
|
Автотягач МАЗ-54323
|
13
|
256,4
|
15
|
|
Автотягач МАЗ-54323
|
14
|
168,6
|
15
|
|
Автотягач МАЗ-54328
|
15
|
172,4
|
15
|
|
Автотягач КамАЗ-5410
|
16
|
120,6
|
35
|
|
Автотягач КрАЗ-258
|
17
|
272,6
|
12
|
|
Автобус ЛАЗ-699Р
|
18
|
343,5
|
10
|
|
Автобус ГАЗ-66ВМ
|
19
|
321,2
|
10
|
|
Поливомоечная машина
ЗИЛ-43336
|
20
|
314,7
|
10
|
|
Автомобиль легковой
ГАЗ-31029
|
21
|
143,3
|
10
|
|
Автомобиль легковой
УАЗ-31512
|
22
|
578
|
20
|
|
Автомобиль легковой
РАФ-2203
|
23
|
327,8
|
42
|
1.2 Организация ТР машин в филиале УПТК ОАО «Строительный трест №14»
На территории филиала УПТК ОАО «Строительный трест № 14».принята система
планово-предупредительных ТО и ТР машин , при которой обслуживание и ремонт
машин производится по достижении машинами определенного значения наработки от
начала эксплуатации или от предыдущего капитального ремонта.
ТР машин осуществляется на рабочих постах расположенных в тупиковом
порядке, т.е посты расположены параллельно друг другу в общем пространстве
мастерской.
Ремонтные работы и диагностирование проводятся персоналом мастерских,
водителями, машинистами, трактористами и т. д. на специально отведенных для
этих целей местах, ремонтных постах, ремонт производится агрегатным методам
из-за отсутствия, оснащенности и специализированного оборудования.
1.3 Недостатки в организации работ по ремонту и проектные
предложения по их устранению в мастерской УПТК ОАО «Строительный трест №14»
Существенным недостатком является недостаточно требуемая организация
работ по ТР и ремонту. Это связано с тем, что машины во время их обслуживания
или ремонта не получают, необходимое для них, оборудование при обслуживании и
запчасти при ремонте, соответственно машина, требующая ТО или ремонта будет
работать в превышенном режиме, отклоняясь от план-графика или вовсе
простаивать.
Так же существуют недостатки в организации работ непосредственно на
участке, а именно это связано с функционированием отделений. Отделение работают
не в полную свою мощь, а некоторые и вовсе не используются за нехваткой
необходимого оборудования пустуют.
На участке также не предусмотрен участок диагностики и ТР двигателей ,
которое позволило бы производить полный комплекс работ по обслуживанию
двигателей ДСМ и подвижного состава.
В связи выше сказанным предлагается разработать участок ТР и диагностики
двигателей ДСМ и подвижного состава и оснастить его необходимым для проведения
этих работ оборудованием. Это позволит выполнять качественное обслуживание
двигателей ДСМ и продление их ресурса. Предлагается так же заниматься ТО, ТР и
диагностированием ДСМ сторонних организаций города - это позволит увеличить
прибыль филиала, а также заработные платы рабочих.
2 Расчетно-технологическая часть
.1 Обоснование и выбор исходных данных для проектирования
Исходными данными для проектирования данного дипломного проекта являются:
· Списочный состав дорожных машин по их фактическому наличию на
предприятии;
· Нормативы ТО и ремонтов дорожно-строительных машин(ДСМ);
· Основные показатели использования ДСМ (наработка с начала
эксплуатации и на планируемый период);
· Принятая на предприятии система технического обслуживания и
ремонта машин;
· Методы ТО и ремонта на предприятии;
· Мероприятия по энергосбережению и ресурсосбережению;
· Отчетные документы по ТБ;
· Мероприятия по соблюдению пожарной безопасности.
Режим работы машин:
Количество рабочих дней машины в году Дг = 255 - принимается из
производственного календаря на 2015 год;
Количество рабочих смен в сутки n = 1;
Продолжительность смены Тсм = 8 часов;
В качестве исходных данных для расчетов взята наработка с начала
эксплуатации и планируемая наработка на год. Данные занесены в таблицы 1, 2.
Таблица 1 Величина наработки парка машин
|
Наименование и марка машины
|
№
|
Наработка с начала
эксплуатации, маш-ч.
|
|
1
|
2
|
3
|
4
|
|
Экскаватор одноковшовый
ЭО-5124
|
1
|
11780
|
1800
|
|
Экскаватор одноковшовый
ЭО-5124
|
2
|
12730
|
1800
|
|
Экскаватор одноковшовый
ЭО-10011Е
|
3
|
13460
|
1800
|
|
Экскаватор одноковшовый
ЭО-4124А
|
4
|
14420
|
1800
|
|
Экскаватор одноковшовый
ЭО-4124А
|
5
|
11050
|
1800
|
|
Экскаватор одноковшовый
ЭО-4124А
|
6
|
10660
|
1800
|
|
Экскаватор одноковшовый
ЭО-4321Б
|
7
|
9150
|
1800
|
|
Экскаватор одноковшовый
ЭО-4321Б
|
8
|
2900
|
1800
|
|
Экскаватор одноковшовый
ЭО-4301А
|
9
|
14750
|
1800
|
|
Экскаватор одноковшовый
ЭО-3322
|
10
|
14950
|
1800
|
|
Экскаватор одноковшовый
ЭО-4421
|
11
|
12300
|
1800
|
|
Экскаватор одноковшовый
ЭО-2621
|
12
|
13700
|
1800
|
|
Экскаватор одноковшовый
ЭО-2621
|
13
|
13700
|
1800
|
|
Экскаватор одноковшовый
ЭО-2621
|
14
|
3500
|
1800
|
|
Экскаватор планировщик УДС-114А
|
15
|
18050
|
1800
|
|
Бульдозер ДЗ-171
|
16
|
7500
|
1800
|
|
Бульдозер ДЗ-171
|
17
|
8950
|
1800
|
|
Бульдозер ДЗ-171
|
18
|
7530
|
1800
|
|
Бульдозер ДЗ-42Г
|
19
|
5350
|
1800
|
|
Бульдозер ДЗ-42Г
|
20
|
8450
|
1800
|
|
Бульдозер Д-606
|
21
|
6500
|
1800
|
|
Автогрейдер ДЗ-143-1
|
22
|
14450
|
1800
|
|
Автогрейдер ДЗ-99-1-4
|
23
|
12050
|
1800
|
|
Асфальтоукладчик ДС-143
|
24
|
8750
|
1500
|
|
Трактор МТЗ-82
|
25
|
9000
|
1600
|
|
Трактор МТЗ-80Л
|
26
|
7510
|
1600
|
|
Трактор МТЗ-82
|
27
|
5400
|
1600
|
|
Автокран КС-4572А
|
28
|
11196
|
1600
|
|
Автокран КС-3577
|
29
|
19143
|
1600
|
|
Автокран КС-3577
|
30
|
14233
|
1600
|
|
Автокран КС-3577-2
|
31
|
20543
|
1600
|
|
Кран на певмоходу КС-5363А
|
32
|
26880
|
1600
|
|
Кран на певмоходу КС-5363
|
33
|
32515
|
1600
|
|
Кран на певмоходу КС-5363Б
|
34
|
9210
|
1600
|
|
Кран на певмоходу КС-5363
|
35
|
11105
|
1600
|
|
Кран на певмоходу КС-4361А
|
36
|
38105
|
1600
|
|
Кран на певмоходу КС-4362
|
37
|
16440
|
1600
|
|
Погрузчик ТО-49
|
38
|
10060
|
1800
|
|
Кран гусеничный РДК-25
|
39
|
40150
|
1600
|
|
Кран гусеничный РДК-25
|
40
|
56605
|
1600
|
|
Кран на спец. шасси КС-5473
|
41
|
24142
|
1600
|
|
Самоходный каток ДУ-47Б
|
42
|
4650
|
1500
|
|
Самоходный каток ДУ-54А
|
43
|
3355
|
1500
|
|
Самоходный каток ВА-251
|
44
|
2500
|
1500
|
|
Самоходный каток ДУ-47Б
|
45
|
5860
|
1500
|
Таблица 2 Величина пробега подвижного состава
|
Наименование и марка машины
|
№
|
Пробег с начала
эксплуатации, тыс. км
|
Планируемый годовой пробег,
тыс. км
|
|
1
|
2
|
3
|
4
|
|
Автомобиль МАЗ-5551
|
1
|
132,6
|
40
|
|
Автомобиль МАЗ-5551
|
2
|
452,7
|
40
|
|
Автомобиль МАЗ-5551
|
3
|
481
|
40
|
|
Автомобиль МАЗ-5551
|
4
|
424
|
40
|
|
Автомобиль МАЗ-5551
|
5
|
471,2
|
40
|
|
Автомобиль КамАЗ-5511
|
6
|
187,5
|
45
|
|
Автомобиль КамАЗ-5511
|
7
|
556,8
|
45
|
|
Автомобиль КамАЗ-5511
|
8
|
612,4
|
45
|
|
Автомобиль КамАЗ-5511
|
9
|
241,3
|
45
|
|
Автотягач ЗИЛ-130В
|
10
|
120,2
|
10
|
|
Автотягач ЗИЛ-130В
|
11
|
506,1
|
10
|
|
Автотягач МАЗ-5433
|
12
|
347,1
|
15
|
|
Автотягач МАЗ-54323
|
13
|
256,4
|
15
|
|
Автотягач МАЗ-54323
|
14
|
168,6
|
15
|
|
Автотягач МАЗ-54328
|
15
|
172,4
|
15
|
|
Автотягач КамАЗ-5410
|
16
|
120,6
|
35
|
|
Автотягач КрАЗ-258
|
17
|
272,6
|
12
|
|
Автобус ЛАЗ-699Р
|
18
|
343,5
|
10
|
|
Автобус ГАЗ-66ВМ
|
19
|
321,2
|
10
|
|
Поливомоечная машина
ЗИЛ-43336
|
20
|
314,7
|
10
|
|
Автомобиль легковой
ГАЗ-31029
|
21
|
143,3
|
10
|
|
Автомобиль легковой
УАЗ-31512
|
22
|
578
|
20
|
|
Автомобиль легковой
РАФ-2203
|
23
|
327,8
|
42
|
2.2 Назначение и режим работы отделения
В отделении по ремонту и диагностике двигателей производят диагностику и
ремонт двигателей , дорожно-строительной техники имеющейся в УПТК.
Отделение ремонта и диагностики двигателей занято проверкой, обнаружением
неисправностей, устранением неисправностей двигателей. Отделения работают в
одну восьмичасовую смену.
.3 Расчет годовой производственной программы
Определение фактического времени работы машин в сутки
(1)
где
- продолжительность смены, ч;
n - количество
смен в сутки;
Кв
- коэффициент использования сменного времени.
Тогда
фактическое время составит:
маш-ч
Выбор нормативов по ТО и ремонту ДСМ осуществляется на основании норм,
которые даны в источнике [1] - данные заносятся в таблицу 3.
Таблица 3 - Нормативы по техническому обслуживанию и ремонту
дорожно-строительных машин
|
Наименование и марка машины
|
Вид ТО и Р
|
Периодичность выполнения ТО
и Р, ч
|
Трудоемкость одного ТО и Р,
ч
|
Продолжительность ТО и Р, ч
|
|
Трактор МТЗ-82 Трактор
МТЗ-80Л Трактор МТЗ-82
|
ТО-1
|
60
|
1,0
|
1,5
|
|
ТО-2
|
240
|
4,67
|
3
|
|
СО
|
2 раза в год
|
6,83
|
8
|
|
ТР
|
960
|
350
|
40
|
|
КР
|
5760
|
500
|
70
|
|
ЭО-4321Б ЭО-4301А ЭО-3322
ЭО-2621 ЭО-2621 ЭО-2621
|
ТО-1
|
60
|
4
|
0,2
|
|
ТО-2
|
240
|
9
|
0,7
|
|
СО
|
2 раза в год
|
32
|
1
|
|
ТР
|
960
|
640
|
9
|
|
КР
|
5760
|
1300
|
20
|
|
Бульдозер ДЗ-171 Бульдозер
ДЗ-171 Бульдозер ДЗ-171 Бульдозер ДЗ-42Г Бульдозер ДЗ-42Г Бульдозер Д-606
|
ТО-1
|
60
|
5
|
0,2
|
240
|
16
|
1
|
|
СО
|
2 раза в год
|
45
|
1,5
|
|
ТР
|
960
|
440
|
7
|
|
КР
|
5760
|
800
|
14
|
|
Кран КС-5363А Кран КС-5363
Кран КС-5363Б Кран КС-5363 Кран КС-4361А Кран гусеничный РДК-25 Кран
гусеничный РДК-25
|
ТО-1
|
60
|
5
|
0,2
|
|
ТО-2
|
240
|
16
|
1
|
|
СО
|
2 раза в год
|
45
|
1,5
|
|
ТР
|
960
|
440
|
7
|
|
КР
|
5760
|
800
|
14
|
|
Самоходный каток ДУ-475
Самоходный каток ДУ-475 Самоходный каток ВА-251 Самоходный каток ДУ-47Б
|
ТО-1
|
60
|
2,8
|
1,4
|
|
ТО-2
|
240
|
6,6
|
3,3
|
|
СО
|
2 раза в год
|
21
|
5
|
|
ТР
|
960
|
186
|
23
|
|
КР
|
5760
|
600
|
60
|
|
Погрузчик ТО-49
|
ТО-1
|
60
|
5
|
3
|
|
ТО-2
|
240
|
15
|
5
|
|
СО
|
2 раза в год
|
35
|
12
|
|
ТР
|
960
|
400
|
40
|
|
КР
|
5760
|
600
|
60
|
|
Асфальтоукладчик ДС-143
|
ТО-1
|
60
|
4,4
|
2,5
|
|
ТО-2
|
240
|
14
|
5
|
|
СО
|
2 раза в год
|
19
|
6
|
|
ТР
|
960
|
417
|
50
|
|
КР
|
5760
|
622
|
130
|
|
Автокран КС-4572А Автокран КС-3577
Автокран КС-3577 Автокран КС-3577-2
|
ТО-1
|
100
|
5
|
0,2
|
|
ТО-2
|
500
|
16
|
1
|
|
СО
|
2 раза в год
|
45
|
1,5
|
|
ТР
|
1000
|
440
|
7
|
|
КР
|
5000
|
800
|
14
|
|
ЭО-4421 ЭО-4321Б ЭО-4124А
ЭО-4124А ЭО-4124А ЭО-10011Е
|
ТО-1
|
60
|
4
|
0,2
|
|
ТО-2
|
240
|
9
|
0,7
|
|
СО
|
2 раза в год
|
32
|
1
|
|
ТР
|
960
|
640
|
9
|
|
КР
|
8640
|
1300
|
20
|
|
Автогрейдер ДЗ-143-1
Автогрейдер ДЗ-99-1-4
|
ТО-1
|
60
|
4
|
0,2
|
|
ТО-2
|
240
|
9
|
0,7
|
|
СО
|
2 раза в год
|
32
|
1
|
|
ТР
|
960
|
640
|
9
|
|
КР
|
6720
|
1300
|
20
|
|
ЭО-5124 ЭО-5124
|
ТО-1
|
100
|
4
|
0,2
|
|
ТО-2
|
500
|
9
|
0,7
|
|
СО
|
2 раза в год
|
32
|
1
|
|
ТР
|
1000
|
640
|
9
|
|
КР
|
10000
|
1300
|
20
|
|
Экскаватор планировщик
УДС-114А
|
ТО-1
|
60
|
4
|
0,2
|
|
ТО-2
|
240
|
9
|
0,7
|
|
СО
|
2 раза в год
|
32
|
1
|
|
ТР
|
960
|
640
|
9
|
|
КР
|
7680
|
1300
|
20
|
|
|
|
|
|
|
Число часов возможной работы машины в году
Наработка на планируемый период определяется из выражения:
Нпл=Тг∙Кв (2)
где Тг - нормативная наработка на год по машине, мото-час.;
Кв - коэффициент использования сменного времени (Кв=0,88).
Результаты расчетов оформляются в виде таблицы 3.
Таблица 4 Планируемая наработка по машинам на год
|
Наименование машин
|
Нормативная наработка на
год (Тг), мото-час
|
Наработка с начала
эксплуатации, маш-ч.
|
Планируемая наработка на
год (Нпл), мото-час
|
|
|
Экскаватор одноковшовый
ЭО-5124
|
1800
|
11780
|
1780
|
|
|
Экскаватор одноковшовый
ЭО-5124
|
1800
|
12730
|
2730
|
|
|
Экскаватор одноковшовый
ЭО-10011Е
|
1800
|
13460
|
4820
|
|
Экскаватор одноковшовый
ЭО-4124А
|
1800
|
14420
|
5780
|
|
Экскаватор одноковшовый
ЭО-4124А
|
1800
|
11050
|
2410
|
|
Экскаватор одноковшовый
ЭО-4124А
|
1800
|
10660
|
2020
|
|
Экскаватор одноковшовый
ЭО-4321Б
|
1800
|
9150
|
3390
|
|
Экскаватор одноковшовый
ЭО-4321Б
|
1800
|
2900
|
290
|
|
Экскаватор одноковшовый
ЭО-4301А
|
1800
|
14750
|
3230
|
|
Экскаватор одноковшовый
ЭО-3322
|
1800
|
14950
|
7270
|
|
Экскаватор одноковшовый
ЭО-4421
|
1800
|
12300
|
4620
|
|
Экскаватор одноковшовый
ЭО-2621
|
1800
|
13700
|
2180
|
|
Экскаватор одноковшовый
ЭО-2621
|
1800
|
13700
|
2180
|
|
Экскаватор одноковшовый
ЭО-2621
|
1800
|
3500
|
3500
|
|
Экскаватор планировщик
УДС-114А
|
1800
|
18050
|
2690
|
|
Бульдозер ДЗ-171
|
1800
|
7500
|
1740
|
|
Бульдозер ДЗ-171
|
1800
|
8950
|
3190
|
|
Бульдозер ДЗ-171
|
1800
|
7530
|
1770
|
|
Бульдозер ДЗ-42Г
|
1800
|
5350
|
5350
|
|
Бульдозер ДЗ-42Г
|
1800
|
8450
|
2690
|
|
Бульдозер Д-606
|
1800
|
6500
|
6560
|
|
Автогрейдер ДЗ-143-1
|
1800
|
14450
|
1010
|
|
Автогрейдер ДЗ-99-1-4
|
1800
|
12050
|
5330
|
|
Асфальтоукладчик ДС-143
|
1500
|
8750
|
2990
|
|
Трактор МТЗ-82
|
1600
|
9000
|
3840
|
|
Трактор МТЗ-80Л
|
1600
|
7510
|
1750
|
|
Трактор МТЗ-82
|
1600
|
5400
|
400
|
|
Автокран КС-4572А
|
1600
|
11196
|
1196
|
|
Автокран КС-3577
|
1600
|
19143
|
4143
|
|
Автокран КС-3577
|
1600
|
14233
|
4233
|
|
Автокран КС-3577-2
|
1600
|
20543
|
543
|
|
Кран на певмоходу КС-5363А
|
1600
|
26880
|
3840
|
|
Кран на певмоходу КС-5363
|
1600
|
32515
|
3715
|
|
Кран на певмоходу КС-5363Б
|
1600
|
9210
|
|
Кран на певмоходу КС-5363
|
1600
|
11105
|
5345
|
|
Кран на певмоходу КС-4361А
|
1600
|
38105
|
3545
|
|
Кран на певмоходу КС-4362
|
1600
|
16440
|
2040
|
|
Погрузчик ТО-49
|
1800
|
10060
|
4300
|
|
Кран гусеничный РДК-25
|
1600
|
40150
|
1750
|
|
Кран гусеничный РДК-25
|
1600
|
56605
|
3850
|
|
Кран на спец. Шасси КС-5473
|
1600
|
24142
|
142
|
|
Самоходный каток ДУ-475
|
1500
|
4650
|
4650
|
|
Самоходный каток ДУ-54А
|
1500
|
3355
|
3355
|
|
Самоходный каток ВА-251
|
1500
|
2500
|
2500
|
|
Самоходный каток ДУ-47Б
|
1500
|
5860
|
100
|
В качестве примера расчет производится по экскаватору ЭО-5124:
Исходные данные:
Птор =11780 маш.-ч;
Ппл =1800 маш.-ч;
Пкр=10000 маш.-ч;
Птр=1000 маш.-ч;
Пто-2=500 маш.-ч;
Пто-1=100 маш.-ч.
Определяем фактическую наработку на очередное техническое обслуживание и
ремонт по формуле (2):
а) Фактическая наработка на КР:
Нк.р.=
.
Принимаем
Нк.р.=1780 маш-ч;
б)
Фактическая наработка на ТР:
Нт.р.=
Принимаем
Нтр.=780 маш-ч;
в)
Фактическая наработка на ТО-2:
Нто-2=
.
Принимаем
Нто-2.=280 маш-ч;
г)
Фактическая наработка на ТО-1:
Нто-1.=
.
Принимаем
Нто-1.=80 маш-ч;
Аналогично
производятся расчеты по остальным машинам, и данные сводятся в таблицу 5.
Таблица
5 Наработка по машинам на ТО и ремонт
|
Наименование машины
|
Марка
|
Фактическая наработка,
маш.-ч …
|
|
|
КР
|
ТР
|
ТО-2
|
ТО-1
|
|
Экскаватор одноковшовый
|
ЭО-5124
|
1780
|
780
|
280
|
80
|
|
Экскаватор одноковшовый
|
ЭО-5124
|
2730
|
730
|
230
|
30
|
|
Экскаватор одноковшовый
|
ЭО-10011Е
|
4820
|
20
|
20
|
20
|
|
Экскаватор одноковшовый
|
ЭО-4124А
|
5780
|
20
|
20
|
20
|
|
Экскаватор одноковшовый
|
ЭО-4124А
|
2410
|
490
|
10
|
10
|
|
Экскаватор одноковшовый
|
ЭО-4124А
|
2020
|
100
|
100
|
40
|
|
Экскаватор одноковшовый
|
ЭО-4321Б
|
3390
|
510
|
30
|
30
|
|
Экскаватор одноковшовый
|
ЭО-4321Б
|
290
|
20
|
20
|
20
|
|
Экскаватор одноковшовый
|
ЭО-4301А
|
3230
|
320
|
80
|
20
|
|
Экскаватор одноковшовый
|
ЭО-3322
|
7270
|
550
|
70
|
10
|
|
Экскаватор одноковшовый
|
ЭО-4421
|
4620
|
780
|
60
|
0
|
|
Экскаватор одноковшовый
|
ЭО-2621
|
2180
|
260
|
20
|
20
|
|
Экскаватор одноковшовый
|
ЭО-2621
|
2180
|
260
|
20
|
20
|
|
Экскаватор одноковшовый
|
ЭО-2621
|
3500
|
620
|
140
|
20
|
|
Экскаватор планировщик
|
УДС-114А
|
2690
|
770
|
50
|
50
|
|
Бульдозер
|
ДЗ-171
|
1740
|
780
|
60
|
0
|
|
Бульдозер
|
ДЗ-171
|
3190
|
310
|
70
|
10
|
|
Бульдозер
|
ДЗ-171
|
1770
|
810
|
90
|
30
|
|
Бульдозер
|
ДЗ-42Г
|
5350
|
550
|
70
|
10
|
|
Бульдозер
|
ДЗ-42Г
|
2690
|
770
|
50
|
50
|
|
Бульдозер
|
Д-606
|
6560
|
740
|
20
|
20
|
|
Автогрейдер
|
ДЗ-143-1
|
1010
|
50
|
50
|
50
|
|
Автогрейдер
|
ДЗ-99-1-4
|
5330
|
530
|
50
|
50
|
|
Асфальтоукладчик
|
ДС-143
|
2990
|
110
|
110
|
50
|
|
Трактор
|
МТЗ-82
|
3840
|
0
|
0
|
0
|
|
Трактор
|
МТЗ-80Л
|
1750
|
790
|
70
|
10
|
|
Трактор
|
МТЗ-82
|
400
|
400
|
160
|
40
|
|
Автокран
|
КС-4572А
|
1196
|
196
|
196
|
96
|
|
Автокран
|
КС-3577
|
4143
|
143
|
143
|
143
|
|
Автокран
|
КС-3577
|
4233
|
233
|
233
|
33
|
|
Автокран
|
КС-3577-2
|
543
|
543
|
43
|
43
|
|
Кран на певмоходу
|
КС-5363А
|
3840
|
0
|
0
|
0
|
|
Кран на певмоходу
|
КС-5363
|
3715
|
835
|
115
|
55
|
|
Кран на певмоходу
|
КС-5363Б
|
3450
|
570
|
90
|
30
|
|
Кран на певмоходу
|
КС-5363
|
5345
|
545
|
65
|
5
|
|
Кран на певмоходу
|
КС-4361А
|
3545
|
665
|
185
|
5
|
|
Кран на певмоходу
|
КС-4362
|
2040
|
120
|
120
|
0
|
|
Погрузчик
|
ТО-49
|
4300
|
460
|
220
|
40
|
|
Кран гусеничный
|
РДК-25
|
1750
|
790
|
70
|
10
|
|
Кран гусеничный
|
РДК-25
|
3850
|
925
|
205
|
25
|
|
Кран на спец. шасси
|
КС-5473
|
142
|
142
|
142
|
22
|
|
Самоходный каток
|
ДУ-475
|
4650
|
810
|
90
|
30
|
|
Самоходный каток
|
ДУ-54А
|
3355
|
475
|
235
|
55
|
|
Самоходный каток
|
ВА-251
|
2500
|
580
|
100
|
40
|
|
Самоходный каток
|
ДУ-47Б
|
100
|
100
|
100
|
40
|
Определение количества ТО и ремонта по машинам на год аналитическим
методом:
(3)
где Nп - количество КР,ТР,ТО-2,ТО-1 по
машине в планируемом году
-
наработка на очередное ТО и ремонт, маш-ч (из таблицы 3)
-
плановая наработка на год, час (из таблицы 2)
-
периодичность ТО и ремонтов, час (из таблицы 1)
Определяем
количество технических обслуживаний и ремонтов по формуле (3):
Nкр=
Принимаем
Nкр=0;
Nтр=
Принимаем
Nтр=2;
Nто-2=
Принимаем
Nто-2=2;
Nто-1=
.
Принимаем
Nто-1=14. Экскаватору в течение года потребуется
провести 2 текущих ремонта, 6 ТО-2 и 14 ТО-1. Сезонные обслуживания проводятся
2 раза в год. Аналогично производится расчет по остальным машинам и данные
сводятся в таблицу 6
Таблица
6 - Производственная программа в номенклатурном выражении
|
Наименование машины
|
Марка
|
Количество ТО и ремонтов в
плановом году
|
|
|
КР
|
ТР
|
ТО-2
|
ТО-1
|
|
Экскаватор одноковшовый
|
ЭО-5124
|
0
|
2
|
2
|
14
|
|
Экскаватор одноковшовый
|
ЭО-5124
|
0
|
2
|
2
|
14
|
|
Экскаватор одноковшовый
|
ЭО-10011Е
|
0
|
1
|
6
|
23
|
|
Экскаватор одноковшовый
|
ЭО-4124А
|
0
|
1
|
6
|
23
|
|
Экскаватор одноковшовый
|
ЭО-4124А
|
0
|
2
|
5
|
23
|
|
Экскаватор одноковшовый
|
ЭО-4124А
|
0
|
1
|
6
|
24
|
|
Экскаватор одноковшовый
|
ЭО-4321Б
|
0
|
2
|
5
|
23
|
|
Экскаватор одноковшовый
|
ЭО-4321Б
|
0
|
1
|
6
|
24
|
|
Экскаватор одноковшовый
|
ЭО-4301А
|
0
|
2
|
5
|
23
|
|
Экскаватор одноковшовый
|
ЭО-3322
|
1
|
1
|
5
|
23
|
|
Экскаватор одноковшовый
|
ЭО-4421
|
1
|
1
|
5
|
23
|
|
Экскаватор одноковшовый
|
ЭО-2621
|
0
|
2
|
5
|
23
|
|
Экскаватор одноковшовый
|
ЭО-2621
|
0
|
2
|
5
|
23
|
|
Экскаватор одноковшовый
|
ЭО-2621
|
0
|
2
|
6
|
23
|
|
Экскаватор планировщик
|
УДС-114А
|
0
|
2
|
5
|
23
|
|
Бульдозер
|
ДЗ-171
|
0
|
2
|
5
|
23
|
|
Бульдозер
|
ДЗ-171
|
0
|
2
|
5
|
23
|
|
Бульдозер
|
ДЗ-171
|
0
|
2
|
5
|
23
|
|
Бульдозер
|
ДЗ-42Г
|
1
|
1
|
5
|
23
|
|
Бульдозер
|
ДЗ-42Г
|
0
|
2
|
5
|
23
|
|
Бульдозер
|
Д-606
|
1
|
1
|
5
|
23
|
|
Автогрейдер
|
ДЗ-143-1
|
0
|
1
|
6
|
23
|
|
Автогрейдер
|
ДЗ-99-1-4
|
1
|
1
|
5
|
23
|
|
Асфальтоукладчик
|
ДС-143
|
0
|
1
|
5
|
19
|
|
Трактор
|
МТЗ-82
|
0
|
1
|
5
|
20
|
|
Трактор
|
МТЗ-80Л
|
0
|
2
|
4
|
20
|
|
Трактор
|
МТЗ-82
|
0
|
2
|
5
|
20
|
|
Автокран
|
КС-4572А
|
0
|
1
|
6
|
9
|
|
Автокран
|
КС-3577
|
1
|
0
|
5
|
10
|
|
Автокран
|
КС-3577
|
1
|
0
|
6
|
9
|
|
Автокран
|
КС-3577-2
|
0
|
2
|
4
|
21
|
|
Кран на певмоходу
|
КС-5363А
|
0
|
1
|
5
|
20
|
|
Кран на певмоходу
|
КС-5363
|
0
|
2
|
5
|
20
|
|
Кран на певмоходу
|
КС-5363Б
|
0
|
1
|
5
|
20
|
|
Кран на певмоходу
|
КС-5363
|
1
|
1
|
4
|
20
|
|
Кран на певмоходу
|
КС-4361А
|
0
|
2
|
5
|
19
|
|
Кран на певмоходу
|
КС-4362
|
0
|
1
|
6
|
19
|
|
Погрузчик
|
ТО-49
|
1
|
1
|
6
|
22
|
|
Кран гусеничный
|
РДК-25
|
0
|
2
|
4
|
20
|
|
Кран гусеничный
|
РДК-25
|
1
|
1
|
5
|
22
|
|
Кран на спец. шасси
|
КС-5473
|
0
|
1
|
6
|
20
|
|
Самоходный каток
|
ДУ-475
|
1
|
1
|
4
|
19
|
|
Самоходный каток
|
ДУ-54А
|
0
|
2
|
5
|
18
|
|
Самоходный каток
|
ВА-251
|
0
|
2
|
4
|
19
|
|
Самоходный каток
|
ДУ-47Б
|
0
|
1
|
5
|
19
|
|
|
|
|
|
|
|
Расчет годовой и производственной программы в трудовом выражении (чел-ч),
осуществляется по формуле
(4)
где NТО(Р) - трудоемкость одного
ТР,СО,ТО-2,ТО-1;
k -
количество одноименных машин в организации.
Пример: производственная программа по машине - экскаватор ЭО-5124
Исходные данные:
Nкр=0; tкр=1300 чел.-ч;
Nтр=4; tтр=640 чел.-ч;
Nто-2=3; tто-2=9 чел.-ч;
Nто-1=26; tто-1=4 чел.-ч;
Nсо=2; tсо=32 чел.-ч.
Пкр=0×1300=0 чел.-ч;
Птр=2×640=1280 чел.-ч;
Пто-2=2×9=18 чел.-ч;
Пто-1=14×4=56 чел.-ч;
Псо=2×32=64 чел.-ч.
Определяем трудоемкость годовой программы технического обслуживания и
ремонта по формуле (6):
Тгод.план.=0×1300+2×640+2×9+14×4+2×32=1422
чел.-ч.
В планируемом году суммарная трудоемкость экскаватора ЭО-5124 составит
1422 чел.-ч.
Аналогично производятся расчеты по другим машинам, и данные сводятся в
таблицу 7.
Таблица 7 - Годовая производственная программа по дорожным машинам
|
Наименование и марка машины
|
Марка
|
Суммарная трудоемкость,
чел.-ч
|
|
|
КР
|
ТР
|
ТО-2
|
ТО-1
|
СО
|
|
1
|
|
15
|
16
|
17
|
18
|
19
|
|
Экскаватор одноковшовый
|
ЭО-5124
|
0
|
1280
|
18
|
56
|
64
|
|
Экскаватор одноковшовый
|
ЭО-5124
|
0
|
1280
|
18
|
56
|
64
|
|
Экскаватор одноковшовый
|
ЭО-10011Е
|
0
|
960
|
228
|
184
|
130
|
|
Экскаватор одноковшовый
|
ЭО-4124А
|
0
|
640
|
54
|
92
|
64
|
ЭО-4124А
|
0
|
1280
|
45
|
92
|
64
|
|
Экскаватор одноковшовый
|
ЭО-4124А
|
0
|
640
|
54
|
96
|
64
|
|
Экскаватор одноковшовый
|
ЭО-4321Б
|
0
|
1280
|
45
|
92
|
64
|
|
Экскаватор одноковшовый
|
ЭО-4321Б
|
0
|
640
|
24
|
96
|
64
|
|
Экскаватор одноковшовый
|
ЭО-4301А
|
0
|
1280
|
45
|
92
|
64
|
|
Экскаватор одноковшовый
|
ЭО-3322
|
1100
|
500
|
45
|
69
|
58
|
|
Экскаватор одноковшовый
|
ЭО-4421
|
1300
|
640
|
45
|
92
|
64
|
|
Экскаватор одноковшовый
|
ЭО-2621
|
0
|
900
|
35
|
69
|
50
|
|
Экскаватор одноковшовый
|
ЭО-2621
|
0
|
900
|
35
|
92
|
50
|
|
Экскаватор одноковшовый
|
ЭО-2621
|
0
|
900
|
42
|
92
|
50
|
|
Экскаватор планировщик
|
УДС-114А
|
0
|
860
|
35
|
69
|
50
|
|
Бульдозер
|
ДЗ-171
|
0
|
880
|
80
|
115
|
90
|
|
Бульдозер
|
ДЗ-171
|
0
|
880
|
80
|
115
|
90
|
|
Бульдозер
|
ДЗ-171
|
0
|
760
|
50
|
92
|
70
|
|
Бульдозер
|
ДЗ-42Г
|
730
|
380
|
50
|
92
|
70
|
|
Бульдозер
|
ДЗ-42Г
|
0
|
760
|
50
|
92
|
70
|
|
Бульдозер
|
Д-606
|
730
|
380
|
50
|
92
|
70
|
|
Автогрейдер
|
ДЗ-143-1
|
0
|
360
|
132
|
184
|
96
|
|
Автогрейдер
|
ДЗ-99-1-4
|
500
|
250
|
60
|
115
|
80
|
|
Асфальтоукладчик
|
ДС-143
|
0
|
380
|
60
|
76
|
32
|
|
Трактор
|
МТЗ-82
|
0
|
200
|
35
|
40
|
50
|
|
Трактор
|
МТЗ-80Л
|
0
|
200
|
28
|
40
|
50
|
|
Трактор
|
МТЗ-82
|
0
|
400
|
35
|
40
|
50
|
|
Автокран
|
КС-4572А
|
0
|
920
|
180
|
72
|
60
|
|
Автокран
|
КС-3577
|
1500
|
0
|
130
|
60
|
52
|
|
Автокран
|
КС-3577
|
1500
|
0
|
156
|
54
|
52
|
|
Автокран
|
КС-3577-2
|
0
|
1600
|
104
|
126
|
52
|
|
Кран на певмоходу
|
КС-5363А
|
0
|
1040
|
160
|
160
|
64
|
|
Кран на певмоходу
|
КС-5363
|
0
|
2080
|
160
|
160
|
64
|
|
Кран на певмоходу
|
КС-5363Б
|
0
|
1040
|
160
|
160
|
64
|
|
Кран на певмоходу
|
КС-5363
|
2500
|
1040
|
128
|
160
|
64
|
|
Кран на певмоходу
|
КС-4361А
|
0
|
1840
|
150
|
133
|
60
|
|
Кран на певмоходу
|
КС-4362
|
0
|
920
|
180
|
133
|
60
|
|
Погрузчик
|
ТО-49
|
560
|
310
|
96
|
88
|
36
|
|
Кран гусеничный
|
РДК-25
|
0
|
2080
|
128
|
160
|
64
|
|
Кран гусеничный
|
РДК-25
|
2200
|
1040
|
160
|
176
|
64
|
|
Кран на спец. шасси
|
КС-5473
|
0
|
1040
|
192
|
160
|
64
|
|
Самоходный каток
|
ДУ-475
|
370
|
180
|
24
|
38
|
40
|
|
Самоходный каток
|
ДУ-54А
|
0
|
390
|
35
|
36
|
44
|
|
Самоходный каток
|
ВА-251
|
0
|
360
|
24
|
38
|
40
|
|
Самоходный каток
|
ДУ-47Б
|
0
|
180
|
30
|
38
|
40
|
Расчет годовой производственной программы по ТО и ремонту подвижного
состава, автомобилей и механизмов.
Расчет годовой программы по диагностике автомобилей будет проводится по
«Методу ускоренного расчета программы», основанной на первоочередном расчете
коэффициента αТ и годового пробега ∑L всего подвижного состава, автомобилей и механизмов.
Расчетный пробег автомобиля до капитального ремонта определяется через
нормативный пробег с таблицы 2.2 и коэффициенты корректирования нормативов К1,
К2, К3 с таблицы 2.7-2.9. Таблицы из «Положения о техническом обслуживании
подвижного состава».
Таблица 8 - Состав приведенного подвижного состава, автомобилей и
механизмов
|
№ гр.
|
Модели автомобилей
|
Наработка с начала
эксплаатации
|
Нормативный пробег до КР,
тыс. км.
|
Нормативная периодичность,
тыс.км
|
Планируемый годовой пробег,
тыс. км
|
|
|
|
|
ТО-1
|
ТО-2
|
|
|
1 2 3 4 5 6 7 8 9 10 11 12
13 14 15 16 17 18
|
Автомобиль МАЗ-5551
Автомобиль МАЗ-5551 Автомобиль МАЗ-5551 Автомобиль МАЗ-5551 Автомобиль
МАЗ-5551 Автотягач ЗИЛ-130В Автотягач ЗИЛ-130В Автотягач МАЗ-5433 Автотягач
МАЗ-54323 Автотягач МАЗ-54323 Автотягач МАЗ-54328 Автотягач КрАЗ-258 Автобус
ЛАЗ-699Р Автобус ГАЗ-66ВМ Поливомоечная машина ЗИЛ-43336 Автомобиль легковой
ГАЗ-31029 Автомобиль легковой УАЗ-31512 Автомобиль легковой РАФ-2203
|
132,6 452,7 481 424 471,2
120,2 506,1 347,1 256,4 168,6 172,4 272,6 343,5 321,2 314,7 143,3 578
327,8
|
600 600 600 600 600 300 300
600 600 600 600 250 400 250 350 300 180 200
|
8 8 8 8 8 3 3 8 8 8 8 2,5 5
4 3 4 3,5 5
|
24 24 24 24 24 12 12 24 24
24 24 12,5 20 16 12 16 14 20
|
40 40 40 40 40 10 10 15 15
15 15 12 10 10 10 10 20 42
|
Lкр.расч.=
Lкр.норм.×
К1×К2×К3 (5)
Lкр.расч.=
600 ×
0,8 × 0,85 × 1=408 тыс.км
Расчетная периодичность технических обслуживаний определяется через
нормативную периодичность технических обслуживаний и коэффициенты К1,К3 с
таблицы 2.7,2.9
Lто-2.расч.=
Lто-2.норм.×
К1×К3,
Lто-2.расч.=
24×0,8
1=19,2 тыс.км.
Lто-1.расч.=
Lто-1.норм.×
К1×К3,
Lто-1.расч.=
8×0,8×1=6,4
тыс.км
На предприятии, расположенном в умеренном климатическом поясе, работает
автомобиль МАЗ-5551, имеющий пробег сначала эксплуатации 132,6 тыс. км.
Результирующий коэффициент корректирования пробега до капитального
ремонта составит:
К11= К1.×К2.×К3=0,8.×0,85×1=0,68
Результирующий коэффициент корректирования периодичности технических
обслуживаний составит:
К21= К1×К3=0,8×1=0,8
Пример: определяем количество технических обслуживаний и ремонтов
автомобиля МАЗ-5551:
Исходные данные:
Птор=11780 тыс. км;
Ппл=40 тыс. км;
Пто-2=24 тыс. км;
Пто-1=8 тыс. км;
Пкр=600 тыс. км.
Определяем количество капитальных ремонтов по формуле(5)
Nкр=
Принимаем
Nкр=0
Определяем
количество ТО-2 по формуле (4):
Nто-2=
,
Принимаем
Nто-2=1
Определяем
количество ТО-1 по формуле (5):
Nто-1=
,
принимаем
Nто-1=6
В
планируемом году автомобиль МАЗ-5551 предстоит пройти 2 ТО-1 и 6 ТО-2.
Аналогично
производится расчет по остальным машинам, и данные сводятся в таблицу 8.
Таблица 8
|
№
|
Модели автомобилей
|
Результирующие коэффициенты
|
Расчетный пробег, тыс. км
|
Количество ТО и ремонтов
|
|
|
К1
|
К2
|
До КР
|
До ТО-2
|
До ТО-1
|
КР
|
ТО-2
|
ТО-1
|
|
1 2 3 4 5 6 7 8 9 10 11 12
13 14 15 16 17 18
|
0,8 0,8 0,8 0,8 0,8 0,8 0,8
0,8 0,8 0,8 0,8 0,8 0,8 0,8 0,8 0,8 0,8 0,8
|
0,68 0,68 0,68 0,68 0,68
0,76 0,76 0,64 0,64 0,64 0,64 0,68 0,6 0,6 0,6 0,8 0,8 0,8
|
408 408 408 408 408 22,8
22,8 38,4 38,4 38,4 38,4 170 240 150 210 240 144 160
|
19,2 19,2 19,2 19,2 19,2
9,6 9,6 19,2 19,2 19,2 19,2 10 16 12,8 9,6 12,8 11,2 16
|
6,4 6,4 6,4 6,4 6,4 2,4 2,4
5,7 6,4 6,4 6,4 2 4 3,2 2,4 3,2 2,8 4
|
0 1 1 1 1 0 2 0 0 0 0 1 1 2
1 0 4 2
|
2 1 1 1 1 1 0 0 0 0 0 0 0 0
0 0 0 0
|
6 6 6 6 6 3 2 2 2 2 2 5 1 1
3 3 3 8
|
2.4 Расчет годовой трудоемкости отделения
Определение трудоемкости годовой программы технических обслуживаний и
ремонта подвижного состава аналитическим методом по формуле:
Т∑
год план.=
+Nто-2×tто-2 расч+ Nто-1×tто-1
расч, чел.-ч (6)
где
Nто-2, Nто-1 - число технических обслуживаний в планируемом
году;
tто-2, tто-1
- трудоемкость одного технического обслуживания машин, чел.-ч;
tтр, -
трудоемкость текущего ремонта, 1000/км.
Пример:
Определение трудоемкости годовой производственной программы технических
обслуживаний и ремонтов автомобиля МАЗ-5511:
Исходные
данные:
tто-2 норм=11
чел.-ч;
tто-1 норм=4,6
чел.-ч.
Lгод=40 тыс. км.
Tтр норм=7,2
чел.-ч.
Определение
расчетной трудоемкости текущего ремонта ведется аналитическим методом по
формуле:
tтр расч.=tтр
норм.×К (7)
где
К - корректирующий коэффициент, К=К1×К2×К3×К3×К5=1,4.
Определяем
расчетную трудоемкость текущего ремонта по формуле
тр
расч.=5,2×1,4=7,2
чел.-ч. (8)
Определение
расчетной трудоемкости технического обслуживания ведется аналитическим методом
по формуле:
tто
расч.=tто норм.×К2 (9)
где tто норм - трудоемкость технического
обслуживания, чел.-ч;
К - корректирующий коэффициент
К=К2×К5=1,1 (10)
Определяем расчетную трудоемкость технического обслуживания по формуле
(10):
tто-2
расч.=11×1,1=12,1
чел.-ч;
tто-1
расч.=4,6×1,1=5 чел.-ч.
Определяем трудоемкость годовой программы технических обслуживаний и
ремонта по формуле (8):
Т∑
год план.=
+1×12,1+6×5=250
чел.-ч.
В
планируемом году суммарная трудоемкость автомобиля МАЗ-5511 составит 250
чел.-ч.
Аналогично производятся расчеты и по другим машинам и сводятся в таблицу
9.
Таблица 9
|
№
|
Модели автомобилей
|
Результирующие коэффициенты
|
Расчетная трудоемкость,
чел.-ч
|
Суммарная трудоемкость,
чел.-ч.
|
|
|
К1=К2××К5
|
К2=К1×К2×К3×К4×К5
|
ТО-1
|
ТО-2
|
ТР на 1000 км
|
КР
|
ТО-2
|
ТО-1
|
|
1 2 3 4 5 6 7 8 9 10 11 12
13 14 15 16 17 18
|
Автомобиль МАЗ-5551
Автомобиль МАЗ-5551 Автомобиль МАЗ-5551 Автомобиль МАЗ-5551 Автомобиль МАЗ-5551
Автотягач ЗИЛ-130В Автотягач ЗИЛ-130В Автотягач МАЗ-5433 Автотягач МАЗ-54323
Автотягач МАЗ-54323 Автотягач МАЗ-54328 Автотягач КрАЗ-258 Автобус ЛАЗ-699Р
Автобус ГАЗ-66ВМ Поливомоечная машина ЗИЛ-43336 Автомобиль легковой ГАЗ-31029
Автомобиль легковой УАЗ-31512 Автомобиль легковой РАФ-2203
|
1,1 1,1 1,1 1,1 1,1 1,1 1,1
1 1 1 1 1,1 0,85 0,85 0,85 1,15 1,15 1,15
|
1,4 2,2 2,2 2,2 2,2 1,1 1,1
1,9 1,7 1,3 1,3 1,8 1,85 1,85 1,6 1,5 2,7 2,5
|
5 5 5 5 5 2,7 2,7 4,8 4,8
4,8 4,8 2,5 4,9 4,7 1,9 2,9 3,5 4,6
|
12,1 12,1 12,1 12,1 12,1
11,7 11,7 11,3 11,3 11,3 11,3 11 20,5 15,3 9,1 12 14,5 17,2
|
7,2 11,5 11,5 11,5 11,5 4,4
4,4 9,5 9,5 9,5 9,5 12 11,7 9,8 5,5 4,5 9,7 11,3
|
30 30 30 30 30 8,1 5,4 9,6
9,6 9,6 9,6 15 9,8 9,4 7,6 8,7 10,5 36,8
|
12,1 0 0 0 0 11,7 0 0 0 0 0
0 0 0 0 0 0 17,2
|
208 208 208 208 208 40 40
75 75 75 75 80,4 65 26,5 34 30 72 186
|
|
Итого:
|
290
|
50
|
1916
|
|
2257
|
Согласно таблицам 5 и 6 трудоемкость годовой программы технических
обслуживаний и ремонта дорожных машин и подвижного состава составляет:
Т∑ год=46627+2257=48884 чел.-ч.
Так как парк машин согласно задания увеличен в 2 раза трудоемкость
годовой программы составит 97786 чел.-ч
Также в течение года происходят внеплановые поломки, а ремонт необходимо
производить и вследствие этого трудоемкость необходимо увечить на 20%.
Окончательно трудоемкость годовой программы технических обслуживаний и
ремонта дорожных машин и подвижного состава принимаем равной:
Т∑ год=97786×1,2=117322 чел.-ч.
2.5 Расчет количества производственных рабочих отделения.
Расчет площади участка.
Определение годовой трудоемкости участка ведется аналитическим методом по
формуле:
Туч=Туд×К, (11)
где Туд - суммарная трудоемкость работ, 117322 чел.-ч;
К - коэффициент учитывающий работы по самообслуживанию, 7%.
Определяем годовую трудоемкость ремонтных работ участка по формуле (11):
Туч=
=8212 чел.-ч.
Определение
количества производственных рабочих ведется аналитическим методом по формуле:
Р=
, (12)
где
Туч- это годовая трудоемкость работ по участку, 8212 чел.-ч;
Фнр-
номинальный годовой фонд времени рабочих, 2015 часов, взятый из
производственного календаря;
- это
коэффициент выполнения норм, зависит от мощности предприятия, 1,1.
Определяем
количество производственных рабочих по формуле (12):
Р=
=3.7
Принимаем
Ряв=4 человека.
2.5.1 Расчет количества производственных рабочих отделения ремонту
двигателей.
Определение годовой трудоемкости участка ведется аналитическим методом по
формуле:
Туч=Туд×К, (13)
где Туд - суммарная трудоемкость работ, 117322 чел.-ч;
К - коэффициент учитывающий работы по самообслуживанию, 5%.
Определяем годовую трудоемкость ремонтных работ участка по формуле (11):
Туч=
=5867 чел.-ч.
Определение
количества производственных рабочих ведется аналитическим методом по формуле:
Р=
, (14)
где
Туч- это годовая трудоемкость работ по участку, 5866 чел.-ч;
Фнр-
номинальный годовой фонд времени рабочих, 2015 часов, взятый из
производственного календаря;
- это коэффициент
выполнения норм, зависит от мощности предприятия, 1,1.
Определяем
количество производственных рабочих по формуле (12):
Р=
=2,65
Принимаем
Ряв=3 человека.
.6
Расчет количества рабочих мест и подбор основного оборудования отделения.
Расчет
числа рабочих мест
nрм =
(15)
nрм -количество
рабочих мест
Пуч-
производственная программа участка
n- число рабочих
смен в сутки
η-коэффициент использования оборудования=0,85-0,90
-Фонд
времени рабочего места, ч
Для участка по текущему ремонту и диагностике двигателей nрм = 4,5
Таблица 1 - Технологическое оборудование моторного отделения
|
Наименование оборудования
|
Тип модель
|
Число единиц
|
Габаритные размеры, мм
|
Площадь занимаемая
оборудованием ,м²
|
Мощность кВт
|
|
Верстак
|
ВС-1
|
1
|
1300x740
|
1,9
|
|
|
Компрессометр
|
179
|
1
|
365x70
|
|
|
|
Пневмотестер
|
К272М
|
2
|
140x70
|
|
|
|
Стенд для обкатки
двигателей
|
С-276-02
|
1
|
2620х695
|
1,8
|
310
|
|
Кран-балка
|
КБУ
|
1
|
|
0,009
|
4
|
|
Комплект ключей гаечных
|
И-153
|
4
|
335x160
|
|
|
|
Комплект торцевых ключей
|
И-157
|
4
|
|
|
|
|
Набор автомеханика
|
И-148
|
4
|
|
|
|
|
Динамометрический ключ
|
К-140
|
4
|
545X120
|
0,06
|
|
|
Устройство для шлифования
клапанных гнезд двигателя
|
Р-176
|
1
|
312x72
|
0,02
|
0,18
|
|
Устройство для притирки
клапанов
|
Р-177
|
1
|
360x80
|
|
0,18
|
|
Установка для шлифования
клапанов
|
Р-186
|
1
|
560x440
|
0,24
|
0,37
|
|
|
Станок
точильно-шлифовальный
|
ОШ-1
|
1
|
420x535
|
0,22
|
3,0
|
|
|
Установка сверлильная
|
Р-175
|
1
|
710x390
|
0,01
|
0,75
|
|
|
Машина сверлильная
электрическая
|
И71505Б7
|
1
|
193x70
|
0,01
|
0,42
|
|
|
Ларь для обтирочных
материалов
|
Собственного производства
|
1
|
800x800
|
0,64
|
|
|
|
Ларь для отходов
|
Собственного производства
|
1
|
800x800
|
0,64
|
|
|
|
Стеллаж для деталей
|
Собственного производства
|
1
|
2000х600
|
1,2
|
|
|
|
Шкаф для приборов и
инструментов
|
Собственного производства
|
1
|
1000x500
|
0,5
|
|
|
|
Устройство для мойки мелких
деталей
|
М-312
|
1
|
1140х690
|
0,8
|
6
|
|
|
Стенд для обкатки
двигателей
|
С-276-02
|
1
|
2620x695
|
1,8
|
30
|
|
|
|
|
|
|
|
|
|
|
|
|
Таблица2 - Подбор оборудования ТР и диагностического участка.
|
Наименование оборудования
|
Тип модель
|
Число единиц
|
Габаритные размеры, мм
|
Площадь, занимаемая
оборудованием, м2
|
Мощность, кВт
|
|
|
Мотортестер
|
МТ-5
|
1
|
630х425
|
0,26
|
0,1
|
|
Комплекс изделий для
очистки и проверки свечей зажигания.
|
Э-203
|
1
|
215х180
|
0,04
|
0,1
|
|
Верстак слесарный
металлический
|
ВС-1
|
2
|
1300х740
|
1
|
-
|
|
Газоанализатор
|
ГИМА-47
|
1
|
525х350
|
0,18
|
2,6
|
|
|
|
|
|
|
|
|
Таблица 3 - Оборудование зоны ТР
|
Наименование оборудования
|
Тип Модель
|
Число единиц
|
Габаритные размеры, мм
|
Площадь, занимаемая
оборудованием, м2
|
Мощность, кВт
|
|
Ларь для отходов и
отработавших деталей
|
ОРГ-1468-07
|
2
|
800*400
|
0,32
|
|
|
Стеллаж для инструментов
|
ОРГ-1468-05
|
2
|
1400*500
|
0,7
|
|
|
Станок сверлильный
|
ПМ-154
|
1
|
710х390
|
0,273
|
3,2
|
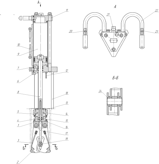
.7 Расчет площади отделений
Расчет площадей участка по ремонту сборке двигателей следует производить
по площади пола, занятого оборудованием, и коэффициенту плотности.
Определяем площадь занимаемую оборудованием по формуле:
Fоб=1,9+1,8+0,009+0,02+0,24+0,22+0,1+0,1+0,64+0,64+1,2+0,5+0,8+1,8=9,1квм2
Определение площади участка ведется аналитическим методом по формуле:
Fуч= Fоб
Кп, (16)
где
Кп- коэффициент плотности расстановки оборудования, 4;
Определяем
площадь участка по формуле (16):
Fуч= 9,1
4=36,4кв м2
Принимаем
Fуч=80 кв м2 .
Расчет
площадей участка ТР и диагностики следует производить по площади пола, занятого
оборудованием, и коэффициенту плотности.
Определяем
площадь занимаемую оборудованием по формуле:
Fоб=0,26+0,04+1+0,32+0,7+2,73=5,02
м2
Определение
площади участка ведется аналитическим методом по формуле:
уч=
Fоб
Кп, (17)
где
Кп- коэффициент плотности расстановки оборудования, 4;
Определяем
площадь участка по формуле (17):
Fуч= 5,02
4=20,2м2
Так
как площадь уставшего участка ничем не занята принимаем её Fуч=244м2
, остается достаточно свободного места для дальнейших реконструкций.
2.8 Организация работ в проектируемых отделениях
Отделение по ремонту и сборке двигателей имеет площадь 80 м2 . В данном
отделении работает три слесаря по ремонту двигателей. Два работают по 5
разряду, и двое по 6 разряду.
В данном отделении имеется стенд обкатки двигателей С-276-02 который
позволит проверять и регулировать двигателя, установим устройство для
шлифования и притирки клапанов и клапанных гнёзд Р-176 , Р-177 и Р -186,
которые позволят производить ремонт и регулировку и замену клапанов . Установим
сверлильную установку ОШ-1 и сверлильную электрическую машину. В отделении
располагаются два слесарных верстака, на которых слесаря выполняют текущий
ремонт двигателей. Для временного расположения узлов и агрегатов служит
подставка под оборудование. Так же имеется стол и шкаф.
Ремонт состоит из замены неисправных деталей на исправные
отремонтированные, при необходимости регулировкой. Для передвижения снятых
агрегатов, применяются передвижные тележки и электроталь.
Участок по ТР и диагностике двигателей имеет оставшую площадь 244 м2 . В
данном отделении работает три слесаря по ремонту двигателей. Один работает по 5
разряду, а двое по 6 разряду, здесь установлен мотор тестер он предназначен для
диагностики систем двигателей, также есть комплекс изделий для очистки и
проверки свечей зажигания Э-203. Пневматестер К272М он переназначен для
проверки цилиндра поршневой группы и клапанов карбюраторных и дизельных
двигателей и выявления и определения причин, есть слесарных верстака с тисками
и двумя комплектами слесарного инструмента, для разборки ремонта и сборки
двигателей. Также есть динамометрический ключ, стеллаж для деталей, шкаф для
приборов и инструментов, ларь для обтирочных материалов и отходов, стеллаж для
инструментов.
3.
Мероприятия по охране труда, защите окружающей среды и энергосбережению.
В филиале «УПТК» организация работ по охране труда и технике безопасности
удовлетворяет всем необходимым требованиям. Служба охраны труда на предприятии
представлена инженером по охране труда, который непосредственно подчиняется
главному инженеру.
Основными обязанностями службы охраны труда являются:
Обеспечение своевременного проведения аттестации рабочих мест по условиям
труда, паспортизации санитарно-технического состояния условий и охраны труда.
Информировать каждого работника о состоянии условий и охраны труда, а также
изменениях на его рабочем месте, о существующем риске повреждения здоровья и
полагающихся средствах индивидуальной защиты (далее - СИЗ), компенсациях по
условиям труда.
Осуществление постоянного контроля уровня опасных и вредных производственных
факторов. Разрабатывать и внедрять процедуры, обеспечивающие идентификацию
опасностей, оценку профессиональных рисков, подготовку и реализацию мероприятий
по снижению профессиональных рисков, анализ их эффективности.
Снижение численности работников в филиалах, занятых на работах с вредными
условиями труда, в том числе женщин.
Укомплектование кабинетов и уголков по охране труда, в соответствии с
требованиями Типового положения о кабинете охраны труда, утвержденным
постановлением Министерства труда Республики Беларусь от 08.11.1999 № 114 (в
ред. постановлений Минтруда и соцзащиты от 19.04.2005 №44, от 19.11.2007 №150).
Обеспечение соблюдения работниками предприятия противопожарного режима и
осуществление своевременной подготовки (обучения), инструктажа, переподготовки,
стажировки, повышения квалификации и проверки знаний работающих по вопросам
охраны труда в порядке, установленном Правительством Республики Беларусь или
уполномоченным им органом.
В соответствии со ст. 226 Трудового кодекса Республики Беларусь
обеспечение работников, занятых на работах с вредными и (или) опасными
условиями труда, а также на работах, связанных с загрязнением или
осуществляемых в неблагоприятных температурных условиях, средствами
индивидуальной защиты, смывающими и обезвреживающими средствами с нормами и в
порядке, определенными Правительством Республики Беларусь или уполномоченным им
органом в установленные сроки.
При выдаче средств индивидуальной защиты руководствуются действующими
типовыми отраслевыми нормами бесплатной выдачи средств индивидуальной защиты по
«Сборнику нормативных правовых актов Республики Беларусь по вопросам выдачи
средств индивидуальной защиты работникам организаций, осуществляющих дорожную
деятельность», выпуска 2008 г.
Обеспечение безопасности при эксплуатации территории, производственных
зданий (помещений), сооружений, оборудования, технологических процессов и
применяемых в производстве материалов, химических веществ, а также эффективную
эксплуатацию средств индивидуальной и коллективной защиты.
Обеспечение проведения технического обслуживания и ремонта, испытаний,
осмотров, технических освидетельствований оборудования в порядке и сроки,
установленные соответствующими нормативными правовыми актами, в том числе
техническими нормативными правовыми актами.
Принимать необходимые меры по профилактике производственного травматизма,
профессиональных и других заболеваний работников; постоянно контролировать
знание и соблюдение работниками требований инструкций по технике безопасности,
производственной санитарии и пожарной безопасности; своевременно и правильно
проводить расследование и учет несчастных случаев на производстве.
На предприятии ежегодно разрабатыватся план мероприятий по охране труда
для работников филиала УПТК.
В филиале УПТК в 2015 году не были зарегистрированы случаи
производственного травматизма. На предприятии разработан план мероприятий по
предупреждению травматизма на 2015 год, а также комплекс дополнительных мер по
предупреждению производственного травматизма на 2015 год.
Охрана окружающей среды
Для снижения вредного воздействия предприятий на окружающую среду при
проектировании, строительстве и эксплуатации должны выполняться природоохранные
мероприятия.
Вокруг предприятия имеется благоустроенная санитарно-защитная зона с
зелеными насаждениями шириной не менее 50 м. Зеленые насаждения обогащают
воздух кислородом, поглощают углекислый газ, шум, очищают воздух от пыли и
регулируют микроклимат.
С целью поддержания чистоты атмосферного воздуха в пределах норм на
предприятии предусматривают предварительную очистку вентиляционных и
технологических выбросов с их последующим рассеиванием в атмосфере.
Снижения выброса вредных веществ котельными установками можно добиться за
счет перевода с факельного сжигания жидкого топлива на процесс сжигания с избытком
воздуха (с наддувом). Кроме того, в течение всего отопительного сезона
необходимо счищать дымоходы не реже одного раза в 2 мес. Важно также
своевременно их ремонтировать.
В тех случаях, когда очистные сооружения установить невозможно или они
отсутствуют, концентрацию вредных веществ в воздухе приземного слоя можно
уменьшить путем рационального рассеивания пылегазовых выбросов в атмосфере. Это
достигается при помощи высоких труб, выхлопных шахт увеличенной высоты или
повышением скорости выброса (факельный выброс).
На участке по техническому обслуживанию и ремонту имеются вытяжные
устройства для улавливания и очистки воздуха от вредных веществ.
Благоприятное воздействие на атмосферу в приземном слое оказывают
искусственные водоемы, которые поглощают пыль, увлажняют, охлаждают и
ионизируют воздух.
Сокращения вредных выбросов двигателями машин можно добиться различными
путями и прежде всего поддержанием исправного технического состояния машины. На
предприятии двигатели должны регулироваться на токсичность и дымность
отработавших газов до показателей, установленных ГОСТ 17.2.2.03-87 и ГОСТ
21393-75.
Уменьшение выброса вредных веществ в атмосферу достигается и за счет
экономии топлива. Чем меньше топлива сжигается, тем меньше будет отработавших
газов и токсичных компонентов.
Утилизация отходов основных и вспомогательных материалов производится в
специально отведенные контейнеры, после чего металлические отходы производства
направляются на металлоперерабатывающие предприятия.
Сточные воды перед попаданием в общую канализацию проходят комплекс
очистных сооружений.
Отработанное масло после использования собирается в отдельные емкости на
территории предприятия, после чего используется для растопки в котельной на
территории предприятия.
Энергетическое хозяйство промышленных предприятий, как, впрочем, и других
производственных предприятий, представляет собой единый взаимосвязанный
технический комплекс, состоящий из цехов, сооружений и агрегатов,
обеспечивающих прием, преобразование, транспортировку и использование различных
видов энергии. Энергохозяйство предприятия включает в себя установки и сети
электро-, тепло-, паро-, воздухо-, газо- и водоснабжения.
Совершенствование систем энергоснабжения промышленных предприятий - одно
из определяющих условий снижения энергозатрат на единицу основной продукции и
обеспечение энергоснабжения. Схемы энергоснабжения предприятий должны строиться
на основе централизации, комплексного использования и комбинированного
производства энергоресурсов, использования новых технических достижений в
области совершенствования технологических и энергетических процессов.
Снижение номинальной (установленной) мощности освещения в первую очередь
означает переход к более эффективным источникам света, дающим нужные потоки при
существенно меньшем энергопотреблении. Такими источниками могут быть компактные
люминесцентные лампы. В общественных зданиях также можно применять более
эффективные светильники. Уменьшение времени использования светильников
достигается внедрением современных систем управления, регулирования и контроля
осветительных установок. Применение регулируемых люминесцентных светильников
позволяет эксплуатировать их при сниженной (по сравнению с номинальной)
мощности. А это значит, что при неизменной установленной мощности освещения
снижается фактически потребляемая мощность и энергопотребление.
Управление осветительной нагрузкой осуществляется двумя основными
способами:
отключением всех или части светильников (дискретное управление);
плавным изменением мощности светильников (одинаковым для всех или
индивидуальным).
Среди мероприятий по экономии топлива важнейшими являются:
совершенствование мастерства водителей и обучение их экономичным приемам
управления транспортным средством;
рациональная организация дорожного движения;
повышение коэффициента использования грузоподъемности и коэффициента
использования пробега машины.
Следует избегать непроизводительной работы двигателя. В холодный период
года при безгаражном хранении машин необходимо предусмотреть их обогрев
(двигателя, коробки передач и других агрегатов) от внешнего источника тепла.
На предприятии для экономии денежных средств запланированы следующие
мероприятия:
внедрение энергосберегающих светильников;
утепление потолка АБК ЛДД-673;
утепление окон и дверей на всех ЛДД;
снижение расхода топлива за счет соблюдения графиков работы котельных в
зависимости от температуры наружного воздуха и снижения температуры в зданиях в
нерабочее время на всех ЛДД;
экономия электроэнергии за счет своевременного выключения наружного и
внутреннего освещения;
оптимизация режима горения топлива котлов (регулировка форсунок);
замена электроотопления на котельную, работающую на местных видах
топлива.
5. Конструкторская часть
Приспособления гидросъёмник предназначен для разборки прессовых
соединений, например для выпрессовки гильз из блоков цилиндров двигателей.
Устройство гидросъемника показано на рисунке 9.
Гидросъемник состоит из силового гидроцилиндра 9, в торец штока 8
которого ввинчена тяга 17 со штифтом 19 на конце. Концентрично штоку
установлены ограничитель 16, снабженный стопорным кольцом 13 и обойма 14.
Ограничитель подпружинен относительно штока пружиной 15, а обойма относительно
ограничителя пружиной 4. В радиальных пазах ограничителя размещены ролики 5,
входящие при выпрессовке гильз в проточки штока или обоймы.
Рисунок 9 − Гидросъемник: 1, 17 − тяги; 2 − захват; 3,
16−ограничители; 4, 15−пружины; 5−ролик; 6−микропереключатель;
7, 11−крышки; 8−шток; 9−гидроцилиндр; 10−трос; 12−упор;
13−стопорное кольцо; 14−обойма; 18−опора; 19−штифт; 20,
23−кнопки; 21−ввертный переходник; 22−рукоятка; 24−ползун
Захваты 2 шарнирно соединены с проушинами ограничителя 16 и снабжены
также ограничителями 3 для центрирования выпрессовываемой гильзы. В наклонные
пазы захватов вставлены ползуны 24, обеспечивающие настройку захватов на
определенный размер гильзы, путем изменения длины тяги 17. На крышке 7
гидроцилиндра закреплены подпружиненные тяги 1, упоры 12, микропереключатели 6,
фиксирующие шток в крайних положениях, опоры 18, вращающиеся вокруг оси. Трос
10 крепится к гидросъемнику за шпильки гидроцилиндра и может перемещаться вдоль
них, благодаря чему обеспечивается удобное для оператора положение
гидросъемника. Шланги маслопровода подсоединяются к проходникам 21, а
электропроводка к кнопкам на рукоятках 22.
.2 Работа приспособления
Гидросъемник вводят в гильзу до упора опорами 18 (рис.) в блок цилиндров
и нажимают на кнопку 23. Масло подается в бесштоковую полость цилиндра, и шток
выдвигается. При упоре ограничителя 16 (рис.) в шайбу тяг 1 он останавливается,
но в этот момент рабочие концы захватов уже выведены за гильзу. Шток, продолжая
двигаться, перемещает тягу 17 и штифт 19 с ползунами 24, которые раздвигают
захваты 2, а ограничители 3 сжимаются. В исходном положении пружина 4 сжата, и
обойму 14 от перемещения удерживают ролики 5. При остановке ограничителя ролики
под действием обоймы перемещаются в проточку штока, предотвращая его движение
относительно ограничителя. Шток опускает вниз подпружиненные тяги 1,
срабатывает микропереключатель 6, и подача масла в бесштоковую полость цилиндра
прекращается. Нажимают на кнопку 20, при этом масло подается в штоковую полость
цилиндра и шток перемещается назад. Обойма 14, дойдя до упора 12,
останавливается и при дальнейшем движении штока ролики 5 перемещаются в ее
кольцевую проточку. Ограничитель 16 с захватами тоже останавливается. Шток,
перемещая тягу 17 со штифтом 19, сжимает захваты. Ограничители 3 центрируют
гильзу, обеспечивая ее свободный сход с захватов. Дойдя до стопорного кольца
13, шток перемещает ограничитель 16 вверх, срабатывает микропереключатель 6 и
подача масла в штоковую полость цилиндра прекращается.
5.3 Расчет на прочность деталей приспособления
Определим усилие выпрессовки гильзы цилиндра из блока.
Усилие запрессовки определяется по формуле [8, с.80]:
,
где
- коэффициент трения при запрессовке (при запрессовке
чугунных деталей
, для пары резина − чугун
);
- номинальный диаметр отверстия, мм;
-удельное давление на поверхность контакта, Па;
- длина отверстия, мм.
Удельное давление определяется по формуле [8, с.80]:
где
- расчетный натяг, мкм;
С1 и С2 - коэффициенты;
Е1 и Е2 - модули упругости материала охватываемой и охватывающей деталей,
равные для чугуна (1,2…1,4)105Н/мм2, для резины (0,08…0,14) 103Н/мм2.
Значение коэффициентов С1 С2 определяются по формулам [8, с.81]:
где
и
−коэффициенты
Пуассона, равные: для чугуна 0,25 , для резины 0,5.
Усилие
распрессовки принимается больше, чем усилие запрессовки на 25…30%:
.
Определим
усилие запрессовки гильзы в резиновое уплотнительное кольцо.
Для
этого случая:
d = 133 мм -
наружный диаметр нижнего опорного бурта гильзы,
который
запрессовывается в уплотнительное кольцо;
d1 = 120 мм -
внутренний диаметр гильзы;
d2 = 141 мм -
наружный диаметр уплотнительного кольца;
L = 7,3 мм -
длина отверстия (высота уплотнительного кольца);
δ = 4000 мкм - величина натяга в посадке уплотнительного кольца
на гильзу.
Вычисляем
значение коэффициентов С1 и С2 по формулам:
Определяем
значение удельного давления по формуле:
Находим
усилие запрессовки по формуле:
Н.
Усилие,
необходимое для выпрессовки гильзы из уплотнительного кольца по формуле:
Н.
Определим усилие, необходимое для запрессовки верхнего установочного
пояска гильзы в блок-картер.
Для этого случая:
d =
135 мм - наружный диаметр верхнего установочного пояска гильзы, который
запрессовывается в блок-картер;
d1 =
120 мм - внутренний диаметр гильзы;
d2 =
164 мм - наружный диаметр охватывающей поверхности;
L =
12,5 мм - длина отверстия (высота установочного пояска гильзы);
δ = 50 мкм - величина натяга в посадке
установочного пояска гильзы в выточку блок-картера.
Вычисляем значение коэффициентов С1 и С2 по формулам:
Определяем значение удельного давления по формуле:
Находим усилие запрессовки по формуле:
Н.
Усилие, необходимое для выпрессовки гильзы из уплотнительного кольца по
формуле:
Н.
Тогда общее усилие, необходимое для выпрессовки гильзы из блока цилиндров
будет равным:
Н.
Определение диаметра гидроцилиндра.
Из стандартного ряда давлений принимаем давление в гидросистеме
МПа [16].
Диаметр гидроцилиндра определяем по формуле [15, с.]:
где −
перепад давления в гидросистеме при работе, Па:
.
− механический кпд гидроцилиндра, учитывающий потери
усилия на преодоление силы трения в уплотнениях, принимается
.
Перепад давления в гидросистеме:
.
Тогда диаметр гидроцилиндра по формуле:
Из стандартного ряда [16] принимаем ближайшее значение
.
6. Экономическая часть
6.1 Планирование численности персонала по ремонтной мастерской
.1.1 Расчет фонда рабочего времени одного рабочего
час.
где
число рабочих дней в году, дней;
продолжительность
смены, час;
число
предпраздничных дней, дней
час.
.1.2
Расчет годового полезного фонда рабочего времени одного рабочего
час.
где
плановые потери времени на отпуск, больничные,
выполнение
государственных
обязанностей
час.
Принимаем
основное число рабочих из исходных данных:
Чосн
= 7 чел.
Таблица 12 - Распределение рабочих по разрядам
|
Разряды рабочих
|
2
|
3
|
4
|
5
|
6
|
|
Тарифные коэффициенты
|
1,16
|
1,35
|
1,57
|
1,73
|
1,9
|
|
Проценты от общего числа
рабочих,%
|
-
|
-
|
57
|
43
|
-
|
|
Число рабочих, чел.
|
-
|
|
4
|
3
|
-
|
Принимаем одного руководителя 12 разряда
Расчет общей численности работников ремонтной службы
чел
чел.
.2
Расчет прямых затрат по ремонтной мастерской
.2.1
Расчет фонда оплаты труда производственных рабочих
Полный
фонд заработной платы включает:
.
Расходы на оплату труда за выполненную работу или отработанное время,
исчисленные исходя из сдельных расценок, тарифных ставок в соответствии с
принятой в дорожной организации системой оплаты труда;
.
Выплату за неотработанное время - оплата очередных (ежегодных) и дополнительных
отпусков, льготных часов подросткам, учебных отпусков, оплата простоев не по
вине работников, оплата времени, связанного с выполнением государственных
обязанностей;
.
Стимулирующие выплаты - премии за выполнение и перевыполнение планов и норм
выработки, экономию материальных ресурсов, доплаты за квалификацию, стоимость
питания, вознаграждение по итогам работы за год и др.;
.
Компенсирующие выплаты - доплата за отклонение от нормальных условий труда,
надбавки за непрерывный стаж работы, доплата за работу в ночное время,
праздничные дни и сверхурочные часы.
Расчет
среднего тарифного разряда
где
число основных рабочих соответственно 2…6 разряда,
чел.;
разряды
от 2 до 6;
;
;
Расчет
среднечасовой тарифной ставки
руб,
где
месячная тарифная ставка рабочего 1-го разряда;
месячный
фонд времени, ч.;
отраслевой
коэффициент повышения ставок рабочих 1,2;
руб.
Расчет
основной заработной платы основных рабочих
В
состав статьи «Основная заработная плата производственных рабочих» включаются:
оплата работ по сдельным нормам и расценкам, а также по тарифным ставкам
рабочих-повременщиков, занятых непосредственно выполнением производственного
процесса и отдельных операций, доплаты и выплаты, предусмотренные
законодательством о труде и положениями об оплате труда, в том числе за
неблагоприятные условия труда, работу в ночное время, за совмещение профессий,
должностей; за расширение зон обслуживания и увеличение объемов работ; надбавки
за профессиональное мастерство, высокие достижения в труде, за стаж работы в
отрасли и др.; премии рабочим за производственные результаты.
Расчет
тарифной части заработной платы
руб.
где
часовая или среднечасовая тарифная ставка, руб.
руб.
Расчет
доплаты бригадиру (
), не освобожденному от основной работы, за
руководство бригадой от 15 до 25% от тарифной ставки рабочего первого разряда.
Постановление Минтруда от 16.01.99г. №7. В зависимости от численности бригады:
5-10 человек - 15%, более 10 человек - до 25%.
, руб.
руб.
Расчет
доплат за профессиональное мастерство (
) от 12
до 24% от тарифной ставки рабочего 1-го разряда. Постановление Минтруда от
16.01.99г. №7. В зависимости от присвоенного разряда: 3разряд - 12%; 4разряд -
до 16%; 5разряд - до 20%; 6разряд - до 24%.
руб;
руб;
Расчет
премии ремонтным рабочим до 30%
руб
руб
Надбавка
за непрерывный стаж работы
от 5 до
20% от зарплаты по тарифу. Приказ Минтранса РБ от 6.07.98г. №127
руб
руб.
Повышение
тарифных ставок по контракту (
от 5% до
50% от заработка по тарифу
руб.
руб.
Основная
зарплата производственных рабочих (
включает
все предыдущие начисления
руб,
где
Д - сумма всех доплат, руб.
руб.
руб.
руб.
В
статью «Дополнительная зарплата производственных рабочих» (
включают выплаты за непроработанное на производстве
(не явочное) время, предусмотренные законодательством о труде и Положением по
оплате труда: оплата очередных и дополнительных отпусков; оплата льготных
часов подростков; оплата перерывов в работе кормящих матерей; оплата времени,
связанного с прохождением медицинских осмотров, выполнением гособязанностей,
оплата учебных отпусков и др., в процентах к основной зарплате работников.
Дополнительная зарплата по данным ДРСУ-113 составляет 12% от основной зарплаты.
руб.
руб.
Расчет затрат на материалы и запасные части для выполнения ремонтных
работ.
Стоимость материалов и запасных частей, необходимых для технического
обслуживания и текущего ремонта машин рассчитываем на основании норматива
расхода. Норматив расхода устанавливается предприятием на основании анализа
(принимаем 1950 тыс.руб. на 100 чел-часов общей трудоемкости работ по данным).
Зм/зч=(Тобщ ∙ Нрм/зч)/100=(7047 ∙ 117322)/100=8267681 руб
Расчет средней заработной платы
руб.
руб.
.2.2
Расчет отчислений от средств на оплату труда (34% - фонд социальной защиты;
0,07% - страховой тариф) Указ Президента РБ от 25 августа 2006 года № 532, код
отрасли-14941:
руб.
руб.
Итого
прямых затрат
руб.
руб.
6.3 Расчет накладных расходов
.3.1 Расчет затрат по содержанию и эксплуатации оборудования
Расчет затрат на электроэнергию для производственных целей
Зэ=[(Ny∙Фоб ∙ Кс ∙ Кз)/(Кд
∙ Ки)] ∙Цэ, руб.
где Ny - суммарная мощность всех
потребителей, кВт/час (по техническому оборудованию);
Кз - коэффициент загрузки оборудования (0,7 - 0,8);
Кс - коэффициент спроса учитывает одновременность работы оборудования и
приборов (0,6 - 0,7);
Кд - КПД электродвигателей (085-0,9);
Ки - коэффициент потерь в сети (0,96);
Цэ - цена одного кВт/час, руб;
Фоб - действительный фонд времени работы оборудования, час:
Фоб=Др ∙ tсм ∙
Псм ∙ Ки - Дпп, час.
где Ки -коэффициент использования оборудования по времени (0,95 - 0,97);
Псм - количество смен работы;
Цэ - цена одного кВт/час, руб.
Фоб=255∙ 8 ∙ 1 ∙ 0,95 - 8=1930 час;
Зэ= [(23 ∙ 1930 ∙ 0,7 ∙ 0,7)/(0,96 ∙ 0,96)] ∙
1497,7=35329583 руб.
Расчет суммы амортизационных отчислений производства на основании
установленных норм амортизации от первоначальной стоимости объектов основных
средств.
Нормы амотризации на: здания - 3,35%; оборудование - 10%; инструмент и
приспособление - 16,67%; производственный и хозяйственный инвентарь - 10%.
Балансовая (первоначальная) стоимость основных фондов включает стоимость здания
(Сзд), оборудования, инструментов и приспособлений, производственного и
хозяйственного инвентаря.
Сзд=V∙Цзд, руб.
где Цзд - цена 1-го м3 здания;
V-объем
здания;
=S∙h, м3
где h - высота здания;
S-
площадь здания;
V= 144∙6
= 864 м3;
Сзд= 864∙945000 = 816480000 руб.
Амортизация здания
Азд=Сзд∙ На/100= 816480000 ∙ 3,35/100= 27352080 руб.
Амортизация оборудования
Аоб=Соб∙ На/100=286040000 ∙ 10/100= 28604000 руб.
Стоимость оборудования (Соб) принимаем на основании перечня
технологического оборудования и действующих цен на момент выполнения курсовой
работы. Стоимость других объектов основных фондов производится в процентах от стоимости
оборудования: стоимость инструментов и приспособлений (Сип) - 8%; стоимость
инвентаря (Си) - 4%.
Сип=Соб∙ 0,08= 28604000 ∙ 0,08= 2288320 руб;
Си=Соб∙ 0,04= 28604000 ∙ 0,04= 1144160 руб;
Аип=Сип∙Наип/100=2288320 ∙16,67/100=381463 руб;
Аи=Си∙Наи/100=1144160 ∙ 10/100=114416 руб;
А=Азд+ Аип + Аи= 27352080 + 381463 + 114416 = 27847959 руб.
Итого первоначальная (балансовая) стоимость основных средств:
СОсп= Сзд + Соб + Сип + Си;
СОсп= 816480000 +286040000 +2288320 +1144160 = 1105952480 руб.
Расчет затрат на содержание и ремонт оборудования. По документам УМ-75
составляет примерно 2,5 % от стоимости оборудования:
Зстр=0,025 ∙ Соб=0,025 ∙ 286040000 = 7151000 руб.
Отчисления от заработной платы:
О’зп=Зстр∙ 0,5 ∙ 0,3407= 7151000 ∙ 0,5 ∙ 0,3407=
1218173 руб.
Итого затрат на содержание и ремонт оборудования:
Зэк=Зэ+Аоб+Зстр+О’зп=35329583 +28604000 +7151000 +1218173 =72302756руб.
.3.2 Расчет общепроизводственных расходов
В статью «Общепроизводственные расходы» включаются: затраты по оплате
труда специалистов и служащих по ремонтной мастерской; затраты по оплате труда
вспомогательных рабочих; затраты на охрану труда и технику безопасности;
амортизационные отчисления по восстановлению инструментов, инвентаря,
приспособлений; расходы на содержание зданий, инвентаря, инструментов,
приспособлений; расходы на хозяйственные нужды (стоимость отопления, освещения,
водоснабжения) и прочие расходы.
Расчет заработной платы мастера по повременно-премиальной системе оплаты
труда
Расчет месячного должностного оклада мастера
Ом = См ∙ Ктар∙ Котр,руб;
Ом = 810000 ∙ 2,84 ∙ 1,2 = 2760480 руб.
Расчет премии руководителям до 30%
Пм = Ом ∙ %пр / 100, руб;
Пм = 2760480 ∙ 30/ 100 = 828144 руб.
Надбавка за непрерывный стаж работы от 5 до 20%
Нсм = Ом ∙ %д / 100, руб;
Нсм = 810000 ∙ 20 / 100 = 162000 руб.
Итого основная и дополнительная зарплата руководителя:
Зр = 11· ( Ом + Пм + Нсм ) ∙ (1 + Кдз), руб;
Зр = 11· (810000+ 828144+ 162000) ∙ (1 + 0,12) = 22177774 руб.
Расчет затрат на холодную и горячую воду и канализацию
Звд, к = ((д ∙ Чобщ ∙ Др) / 1000) ∙
Цв, к,руб.
где д - норма расхода (холодная-25л, горячая-40л,
канализация-50л.);
Цв - цена за м3 воды, руб.
Звд, х = ((25 ∙ 5 ∙ 255) / 1000) ∙
16264 = 518415 руб;
Звд, г = ((40 ∙ 5 ∙ 255) / 1000) ∙ 28800 = 1468800 руб;
Звд, к = ((50 ∙ 5 ∙ 255) / 1000) ∙
6650 = 423938 руб.
Суммарную стоимость воды ∑ Звд.к, руб определяют
по формуле
∑ Звд.к = Звдх + Звдг + Звдк, руб;
∑ Звд = 518415 +1468800 + 423938 = 2411153 руб.
Расчет затрат на отопление
Зо = ((V ∙ Нт ∙
m) / 1000) ∙ Цт,руб.
где V - объем помещения, м3;
Нт - норма расхода условного топлива - 8кг/м3;
Цт - цена за одну тонну условного топлива, руб.;-
длительность отопительного сезона, 5 месяцев.
Зо = ((864 ∙ 8 ∙ 5) / 1000) ∙ 1139782 = 39390866 руб.
Расчет затрат на содержание и текущий ремонт зданий
(по данным УМ-75 составляют примерно 2% от стоимости здания)
Зср = 0,02 ∙ Сзд,руб;
Зср = 0,02 ∙ 816480000 = 16329600 руб.
Расчет затрат на охрану труда и технику безопасности
Зохр = (Нохр ∙ Зпр) / 100,руб;
где Нохр - норматив расходов на охрану труда и технику
безопасности, 8%.
Зохр = (8 ∙74909632) / 100 = 5992771 руб.
Расчет затрат на освещение:
Зос=Wэл ∙ Цэ, руб;
где Wэл - годовой фонд работы
осветительных приборов, ч.
Зос=528 ∙ 1497,7= 790785 руб.
Расчет прочих общепроизводственных и общехозяйственных расходов:
Зпроч = 0,03 ∙ (Зр + Зо + Звд + Зос + Зср + А +
Зохр), руб.
где А - затраты на амортизацию зданий, инструментов и
приспособлений, инвентаря, руб.
Зпроч = 0,03 ∙ (22177774 + 39390866+ 2411153 + 790785+ 16329600 + 27847959
+ 5992771) = 114940908 руб.
Расчет налога на недвижимость
Нн = Сос0∙ ст / 100,руб.
где Сос0- остаточная стоимость недвижимого имущества
(зданий), руб;
ст - ставка налога на недвижимость, %.
Сос0= Сзд - Износ, руб.
Износ основных средств:
Износ = (Сзд ∙ %изн) / 100,руб, (70)
где %изн - процент износа недвижимого имущества
(зданий).
Износ = (816480000 ∙ 44) / 100 = 359251200 руб;
Сос0= 816480000 - 359251200 = 457228800 руб;
Нн = 457228800 ∙ 1 / 100 = 4572288 руб.
Отчисления от заработной платы
Озп’’= [Зр + 0,5 ∙ (Зср + Зохр + Зпроч)] ∙
0,3407, руб;
Озп’’= [22177774 + 0,5 ∙ (16329600 + 5992771 + 114940908)] ∙
0,3407 =50543583 руб.
Итого общепроизводственных и расходов:
Зоп = Зпроч + Зр + Зо + Звд + Зос + Зср + А + Зохр +
Нн + О’’зп, руб
Зоп = 114940908+ 22177774 + 39390866 + 2411153 + 790785 + 16329600 +
27847959 + 5992771 + 4572288 + 50543583 = 284997687 руб.
Уровень накладных расходов
Унр= (НР / Зосн) ∙ 100= (35730044/ 49887074) ∙ 100 = 716 %.
Расчет накладных расходов
НР=Зэк + Зоп= 72302756 + 284997687 = 35730044 руб.
6.5 Расчет стоимости работ по техническому обслуживанию и ремонту
дорожных машин
Таблица 14 - Калькуляция стоимости нормо-часа работ по ТО, ремонту ДСМ
|
№
|
Статьи калькуляции
|
Ед. изм.
|
Сумма
|
|
1
|
Часовая тарифная ставка
ремонтного рабочего
|
руб.
|
3121
|
|
2
|
Премиальные выплаты (не
более 30% к часовой тарифной ставке) и другие выплаты компенсирующего и
стимулирующего характера в соответствии с законодательством (до 54%)
|
руб.
|
2615
|
|
3
|
Зарплата производственного
персонала, непосредственно занятого оказанием услуг
|
руб.
|
5742
|
|
4
|
Отчисления в Фонд
социальной защиты населения и социальной защиты РБ
|
руб.
|
1858
|
|
5
|
Страховой взнос по
обязательному страхованию от несчастных случаев на производстве и
профессиональных заболеваний
|
руб.
|
12
|
|
6
|
Накладные расходы в
процентах к заработной плате производственного персонала, непосредственно
занятого оказанием услуг
|
%
|
716
|
|
7
|
Накладные расходы
|
руб.
|
12287
|
|
8
|
ИТОГО себестоимость
|
руб.
|
18029
|
|
9
|
Рентабельность
|
%
|
32
|
|
10
|
Плановая прибыль
|
руб.
|
6310
|
|
11
|
Стоимость нормо-часа без
НДС
|
руб.
|
24339
|
|
12
|
НДС
|
руб.
|
4056
|
|
13
|
Итого стоимость нормо-часа
с НДС
|
руб.
|
28395
|
Заключение
В дипломном проекте описаны общие принципы реконструкции отделения по ТР
и диагностике.
В расчетно-технологической части я рассчитал необходимое количество
рабочих требуемых для выполнения плана и оптимальное количество прогрессивного
технологического оборудования, также произведен расчет в потребности
электроэнергии.
В целях обеспечения безопасного труда в мастерской, разработаны
мероприятия по пожарной безопасности, охране труда.
Для более полного представления о проектируемой мастерской рассчитана
экономическая деятельность.
Рассчитана заработная плата рабочим, основные фонды, производственная
деятельность и экономическая эффективность. Все экономические показатели
сведены в таблицу.
Для облегчения труда рабочему, было предложено приспособление,
гидравлический съемник для демонтажа деталей. Которое увеличит
производительность труда, культуру производства, и уменьшит трудоемкость
операции по техническому обслуживанию машин.
Список используемой литературы
1 Указания по
организации и проведению технического обслуживания и ремонта дорожных машин ВСН
6-79, М.:Транспорт, 1980. -136 с.
Рекомендации
по организации технического обслуживания и ремонта строительных машин.
ЦНИИМТП.- М.: 1993. -92 с.
С.Ф. Головин,
В.А. Зорин. Проектирование предприятий по эксплуатации дорожных машин.
М.:Транспорт 1991. -215 с.
Положение о
техническом обслуживании и ремонта подвижного состава автомобильного
транспорта. Мн., НПО Транстехника. 1998. -60 с.
В.П. Карташов
.Технологическое проектирование автотранспортных предприятий М.:Транспорт.
1988. 171 с.
Н.Е. Дроздов.
Строительные машины и оборудование, курсовые и дипломные проектирования. М.:
Стройиздат. 1988. -191 с.
Справочник
проектировщика .Внутренние санитарно-технические устройства, под редакцией И.Г
Староверова. Часть 2, Вентиляция. М.:Стройиздат. 1977. -502 с.
Афанасьев, Л.
Л. Гаражи и станции технического обслуживания автомобилей. (Альбом чертежей). -
3-е изд. / Л. Л. Афанасьев, А. А. Маслов, Б. С. Колясинский. - М.: Транспорт,
1980. - 216 с.
Болбас, М. М.
Проектирование предприятий автомобильного транспорта / М. М. Балбас. - Мн.:
Адукацыя i выхаванне, 2004. - 528 с.: ил.
Болбас, М. М.
Проектирование автотранспортных предприятий и станций технического обслуживания
/ М. М. Болбас. - Мн.: Унiверсiтэцкае. - 1997.
Внутренние
санитарно-технические устройства. Справочник проектировщика. Часть II.
Вентиляция и кондиционирование воздуха / под редакцией И.Г. Староверова. - М.:
Стройиздат, 1977. - 502 с.
Гурвич, И. С.
Эксплуатация и ремонт дорожных машин и оборудования. / И. С. Гурвич [ и др.] -
М.: Транспорт, 1989.-126 с.
Рекомендации
по организации технического обслуживания и ремонта строительных машин. - М.:
Стройиздат, 1978. - 92 с.
Ровках, С. Е.
Техническое обслуживание и ремонт строительной техники: Справочник./ С. Е.
Ровках, М. М. Киселев, А. С. Ровках. - М.: Стройиздат, 1986. - 284 с., ил.
Положение о
техническом обслуживании и ремонте подвижного состава автомобильного
транспорта. Мн.: НПО «Транстехника». 1998, 59 с.
Зеленков, Г.
И. Проектирование предприятий по ремонту дорожно-строительных машин. / Г. И.
Зеленков, Б. С. Колясинский. - М.: Высш. шк., 1971. - 240 с.: ил.
Эксплуатация
и техническое обслуживание дорожных машин, автомобилей и тракторов: Учебник для
сред. проф. образования. / С. Ф. Головин [и др.] ; под ред. Е. С. Локшина. - М
.: Мастерство, 2002 . - 4 64 с.
Клебанов, Б.
В. Проектирование производственных участков авторемонтных предприятий. / Б. В.
Клебанов. - М.: Транспорт, 1985 - 176 с.
Савич, А. С.
Проектирование авторемонтных предприятий. Курсовое и дипломное проектирование /
А.С. Савич, А.В. Казацкий, В.К. Ярошевич; под ред. В. К. Ярошевича. - Мн.:
Адукацыя i выхаванне., 2002. - 256 с.: ил.
Указания по
организации и проведению технического обслуживания и ремонта дорожных машин.
ВСН 6 - 79. - М.: Транспорт, 1980. - 136с.
Петров, И. В.
Диагностирование дорожно-строительных машин. / И. В. Петров. - М.: Транспорт,
1980. - 144 с., ил., табл.
Петров, И. В.
Обслуживание гидравлических и пневматических приводов дорожно-строительных
машин. / И. В. Петров. - М.: Транспорт, 1985. - 168 с., ил., табл.
Методические
указания к выполнению дипломных проектов по технической эксплуатации. / П. Н.
Харитоненко. -г. Гомель 2008г.