Розрахунок та проектування спірального теплообмінника для охолодження метанолу
МІНІСТЕРСТВО
ОСВІТИ І НАУКИ УКРАЇНИ
НУ
″Львівська політехніка
Кафедра
хімічної інженерії
Пояснювальна
записка до курсового проекту
з
курсу ПАХТ на тему:
Розрахунок
та проектування спірального теплообмінника для охолодження метанолу
Львів
- 2014
Завдання
Розрахувати та спроектувати
теплообмінник для нагрівання (охолодження, конденсації) G=8000 (кг/год)
речовини від початкової температури t1п=60°С до кінцевої t1 =25°С
теплоносієм з параметрами t2п=16°С і t2к=32°С.
Вступ
Технологічні процеси, швидкість
протікання яких визначається швидкістю підведення або відведення тепла,
називаються тепловими процесам. До теплових процесів відносяться нагрівання,
охолодження, випарювання і конденсація. В теорії теплообміну вивчаються процеси
розповсюдження тепла в твердих, рідких і газоподібних середовищах. Існує три
різних за своєю природою елементарних способи перенесення тепла:
теплопровідність, конвекція і теплове випромінювання.
Теплопровідністю називають процес
розповсюдження тепла внаслідок хаотичного руху мікрочастинок, які знаходяться
безпосередньо в контакті між собою. Для газів і крапельних рідин це рух самих
молекул, для твердих тіл - коливання атомів в кристалічній решітці, для металів
- дифузія вільних атомів. Для твердих тіл теплопровіднінсть є основним видом
передачі тепла.
Тепловим випромінюванням називають
процес розповсюдження тепла у вигляді електромагнітних хвиль різної довжини,
обумовлений тепловим рухом атомів або молекул тіла, яке випромінює тепло. Всі
тіла здатні випромінювати енергію, яка поглинається іншими тілами і
перетворюється в тепло.
На практиці частіше розповсюдження
тепла відбувається одночасно двома-трьома вище вказаними способами, тобто
відбувається складний теплообмін. Наприклад у разі теплообміну між твердою
стінкою і газовим середовищем тепло передається одночасно конвекцією,
теплопровідністю та випромінюванням.
Перенесення тепла від стінки до
газоподібного (рідкого) середовища або в зворотному напрямку називається
тепловіддачею.
Процес передачі тепла від більш нагрітої
рідини (газу) до менш нагрітої через розділюючу стінку називають
теплопередачею.
Під час процесу теплопередачі
перенесення тепла конвекцією супроводжується теплопровідністю та тепловим
випромінюванням. Однак один з видів розповсюдження тепла є переважаючим в
кожному конкретному випадку.
Встановленими (стаціонарними)
називають процеси теплообміну, які здійснюються в неперервно діючих апаратах і
температури в різних точках є сталими в часі. У періодично діючих апаратах, де
температури змінюються в часі (під час нагрівання та охолодження), здійснюються
невстановлені (нестаціонарні) процеси теплообміну.
Теплообмінниками називають пристрої,
які призначаються для передачі тепла від одних тіл до інших. В теплообмінниках
можуть проходити різні теплові процеси: зміна температури, випаровування,
кипіння, конденсація, розплав. В цих процесах тепло може передаватися від
одного тіла до декількох інших тіл і навпаки. Тіла, які віддають або приймають
тепло називають теплоносіями. Теплообмінні апарати мають велике розповсюдження
в усіх галузях промисловості і широко застосовуються в теплових установках. В
залежності від призначення теплообмінники називаються підігрівачами,
конденсаторами, випарниками. По принципу дії теплообмінні апарати діляться на
поверхневі (рекуператори), регенеративні і змішувальні.
Теплообмінники призначені для
передачі тепла від однієї речовини до іншої. Речовини, які беруть участь в
процесі теплообмін називають теплоносіями.
Вибір теплоносія залежить від в
першу чергу від температури, що необхідна для нагрівання чи охолодження. Крім
того, промисловий теплоносій повинен забезпечувати достатньо високу
інтенсивність теплообміну при невеликих масових і об'ємних витратах. Відповідно
він повинен мати малу в'язкість, але густина, теплоємність і теплота пароутворення
повинні бути високими. Бажано, щоб теплоносій був нелегко займистий,
нетоксичний, термічно стійкий, не руйнував поверхню теплообмінника.
В багатьох випадках економічно
доцільним є утилізація тепла деяких напівпродуктів, продуктів і відходів виробництва,
які використовують в якості теплоносіїв в теплообмінних апаратах.
Для охолодження в якості
охолоджуючого агента використовують річкову, озерну, струмкову або артезіанську
воду. При значних витратах охолодження проводять зворотною водою відпрацьованою
охолоджуючою водою теплообмінних апаратів. Цю воду охолоджують в відкритих
басейнах.
Температура охолодження залежить від
початковою температури води. При проектуванні теплообмінників для розрахунку
слід брати найбільш несприятливі (літні) умови для того, щоб забезпечити
надійну і безперервну роботу теплообмінного апарату на протязі всього року.
Вода використовується для
охолодження головним чином в поверхневих теплообмінниках (холодильниках). В
таких холодильниках вода рухається знизу вверх для того, щоб конвекційні
потоки, зумовлені зміною густини теплоносія, співпадали з напрямком його руху.
теплообмінник спіральний
гідравлічний
1. Конструкції
теплообмінних апаратів
В залежності від способу передачі
тепла розрізняють дві основні групи теплообмінників :
1) поверхневі теплообмінники, в
яких перенос тепла між середовищами, що обмінюються теплом, відбувається через
поверхню, що їх розділяє - глуху стінку ;
2) теплообмінники зміщення, в яких
тепло передається від одного середовища до другого при їх безпосередньому
зіткненні.
Значно рідше використовуються в
хімічній промисловості регенеративні теплообмінники, в яких нагрівання рідких
середовищ відбувається за рахунок їх зіткнень з попередньо нагрітими твердими
тілами - насадкою, що заповнює апарат, яка періодично нагрівається іншими
теплоносіями.
Поверхневі теплообмінники найбільш
розповсюджені, і їх конструкції досить різноманітні. Нижче розглянуті типові, в
основному нормалізовані, конструкції поверхневих теплообмінників.
В технології використовуються теплообмінники,
виготовлені із найрізноманітніших металів, а також із неметалічних матеріалів,
вибір матеріалу завжди диктується його корозійною стійкістю" і
теплопровідністю, причому конструкція теплообмінного апарату суттєво залежить
від властивостей вибраного матеріалу.
Конструкції теплообмінників повинні
відрізнятися простотою, зручністю монтажу і ремонту. В деяких випадках
конструкції теплообмінника повинна забезпечувати якомога менше забруднення
поверхні теплообміну і бути легкодоступною для огляду та очистки.
Типи поверхневих теплообмінників:
2) трубчаті:
а) кожухотрубні,
б) " труба в тубі ",
в) зрошувальні,
г) занурені;
3) пластинчаті;
4) спіральні;
5) з
поверхнею, утвореною стінками апарату ;
6) з
поребриною поверхнею теплообміну.
2. Порівняльна характеристика
аналогічних установок
Різноманітність конструкцій
теплообмінників, а також вимог, що до них ставляться, утруднюють вибір апаратів
для різних конкретних умов перебігу процесу. Звичайно жодна з конструкцій не
відповідає цілком усім вимогам і доводиться обмежуватись вибором такої, що
задовольняє лише основні вимоги.
Теплообмінники «труба в трубі»
застосовують при незначних витратах теплоносіїв для теплообміну між двома
рідинами і між рідиною та парою, що конденсується. Ці апарати прості, їх легко
виготовляти, вони дають можливість здійснити чисту протитечію і досягти високих
швидкостей руху для теплоносіїв. Проте при значних теплових навантаженнях вони
громіздкі і матеріалоємні.
Тому доцільно ці теплообмінники
використовувати при невеликих теплових загрузках, коли поверхня теплообміну не
перевищує 20-30 м2.
Теплообмінники типу «труба в трубі»
складаються з кількох послідовно з'єднаних елементів, утворених дама
концентрично розміщеними трубами. Один теплоносій рухається у внутрішніх
трубах, а другий - у кільцевому зазорі між внутрішніми 1 і зовнішніми 2
трубами. Внутрішні труби окремих елементів з'єднані паслідовно колінами
(калачами) 3, а зовнішні - патрубками 4. Завдяки невеликому поперечному
перерізу в теплообмінниках «труба в трубі» досягають високих швидкостей руху
теплоносіїв (для рідин 1,0...1,5 м/с) і високу інтенсивность теплообміну.
Завдяки невеликому поперечному
перерізу в цих теплообмінниках легко досягаються високі швидкості теплоносіїв
як в трубах так і в між трубному просторі. При значних кількостях теплоносіїв
теплообмінник створюють із декількох паралельних секцій, що приєднуються до
загальних колекторів.
Переваги:
) високий коефіцієнт
теплопередачі внаслідок великої швидкості обох теплоносіїв;
) простота виготовлення.
Недоліки :
) громіздкість;
) висока вартість (великий
розхід металу на зовнішні труби, що не беруть участі в теплообміні);
) важкість очистки
міжтрубного простору.
Рис. 1
В одноходових кожухотрубних
теплообмінниках досить великої швидкості в трубах, а отже, і високого
коефіцієнта тепловіддачі можна досягти тільки при значних витратах середовища,
що в них рухається. Це пояснюється відносно великим сумарним поперечним
перерізом труб. Тому такі апарати застосовують, коли швидкість процесу
визначається коефіцієнтом тепловіддачі в міжтрубному просторі, а також як
кип'ятильники.
Рис. 2
. Зрошувальні теплообмінники
Дані теплообмінники складаються із
змійовиків, що зрошуються зовні рідкими теплоносіями (переважно водою), і
використовуються головним чином в якості холодильників. Змійовики виготовляють
з прямих горизонтальних труб З, розміщених одна над одною і послідовно
з'єднаних між собою зварюванням або на фланцях за допомогою калачів 2.
Зрошувальна вода подається з пристрою 1 на верхню трубу, стікає з неї на нижче
розміщену трубу і, пройшовши послідовно по поверхні всіх труб, стікає в піддон
4, розміщений під холодильником. Вода, що зрошує труби . частково випаровується
(1 -2 %). При цьому частина тепла, яку забирається від теплоносія іде на
випаровування води, розхід якого в зрошувальних холодильниках нижчий, ніж у
холодильниках інших типів. Внаслідок сильного випаровування зрошувальної води
зрошувальні холодильники переважно встановлюють на відкритому повітрі,
забезпечуючи їх огорожею у вигляді жалюзі, для уникнення віднесення води
вітром.
Рис. 3
. Пластинчаті
теплообмінники
Пластинчаті теплообмінники мають
плоскі поверхні теплообміну. Такі теплообмінники складаються з ряду паралельних
пластин, виготовлених з тонких металічних листів. Канали між пластинами
згруповані в дві системи: по
одній системі каналів рухається гарячий теплоносій, по іншій суміжними
пластинами, обмиваючи протилежні бокові сторони кожної пластини.
Пластини мають отвори для входу і
виходу рідини, що рухається протитоком. Рідина поступає через штуцер ,
рухається по каналах і виходить через інший штуцер. Пакет пластин затиснутий
між нерухомою і рухомими плитами гвинтовим з'єднанням.
Рис. 4
Спіральні теплообмінники складаються
з двох спіральних каналів прямокутного перерізу, по яких рухаються теплоносії.
Канали утворюють тонкими металевими листами , що в свою чергу є поверхнею
теплообміну. Внутрішні кінці спіралі з'єднані перегородкою. Для фіксування
відстані між спіралями використовують прокладки. Система каналів закрита
кришками.
Спіральні та пластинчасті
теплообмінники використовують у разі теплообміну між двома рідинами, а також
між рідиною і парою, що конденсується. Вони компактні, інтенсивність
теплообміну в них висока.
Рис. 5
Ребристі теплообмінники призначені
переважно для теплообміну між газом і рідиною або парою.
Оболонкові теплообмінники (переважно
періодичної дії) застосовують при малих теплових навантаженнях для охолодження
або нагрівання в'язких рідин і середовищ, які активно хімічно впливають на
матеріал поверхні теплообміну.
Теплообмінні апарати усіх типів
мають працювати в оптимальних теплових режимах, що відповідають поєднанню
заданої продуктивності та інших показників технологічного процесу з мінімальною
витратою теплоти.
5. Опис конструкції
апарата та його роботи
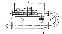
У спіральних теплообмінниках
поверхня теплообміну утворюється двома сталевими стрічками 1 і 2 (рис.
6.8), згорнутими у спіраль так, що утворюються канали а і б
прямокутного перерізу. По каналам у протитечії рухаються «гарячий»
та «холодний» теплоносії. Через листову сталеву стрічку між ними проходить
процес теплопередачі.

Рис. 6. Спіральний теплообмінник: 1,
2 - сталеві стрічки;
3
-
розпірка; 4
-
розпірні диски; 5
-
смугові дистанційні вставки; 6
-
штифти; 7
-
прокладки; 8
-
плоскі кришки; а,
б - канали.
Перший від центру апарату лист
спіралі закріплюється розпірними дисками 4, що фіксуються повздовжньою
розпіркою 3. На поверхні спіралі з кроком 70ч100 мм приварені штифти 6для
надання теплообміннику жорсткості. Для
забезпечення зазору між стрічками спіралі встановлюють смугові дистанційні
вставки 5. Зверху і знизу теплообмінник закривається плоскими кришками 8 на
прокладках 7. В залежності від способу ущільнення спіральних каналів з торців
розрізняються теплообмінники з тупиковими і наскрізними каналами.
Ущільнення спіральних каналів
здійснюється кількома способами. Кожний канал з одного боку заварюється
смуговою вставкою до торця спіралі, а з іншого ущільнюється плоскою кришкою з
прокладкою (тупиковий канал). Таке ущільнення дозволяє механічно чистити обидва
канали від забруднень і виключає змішування теплоносіїв. Якщо один з
теплоносіїв не дає відкладень, то його канал можна заварювати з обох боків, а
для іншого теплоносія канал залишити відкритим з обох боків (він закривається
знімними кришками на прокладках) - наскрізний канал.
Ущільнення обох відкритих каналів
знімними кришками з плоскими прокладками може не забезпечити достатньої
герметичності. Його можна використовувати тоді, коли можливе змішування
теплоносіїв безпечне і не спричиняє їхньому псуванню. Спіральні теплообмінники
з тупиковими каналами виготовляються у двох варіантах: з плоскою кришкою для
теплообмінників типу «рідина - газ» і з конічною або сферичною кришкою для
конденсації пари та нагрівання в’язких рідин. В апаратах з плоскою кришкою
протитечійний рух теплоносіїв, а зі сферичною або конічною - перехресний.
Спіральні теплообмінники компактні, допускають використання підвищених
швидкостей при малих гідравлічних опорах, однак складні у виготовленні і
очищенні від забруднень. Використовуються при робочому тиску, що не перевищує
10 ат і при температурах 20ё200°С, для середовищ рідина-рідина, газ-газ,
газ-рідина, конденсації пари.
6. Вибір речовин які
приймають участь у процесі
Метиловий спирт - рухлива рідина
(в'язкість 0,5513 МПа·с при 25 °C) із слабким запахом, схожим на запах
звичайного спирту. Густина його 0,792 г/см3. Температура кипіння
64,5°С, замерзання −98°С.Температура самозаймання 464 °C.
З водою
<#"877078.files/image009.gif">
Середня різниця температур
Дtб = t1 - t4
= 60 - 32 = 28 °С;
Дtм = t2 - t3
= 25 - 16 = 9 °С;
3. Еквівалентний
діаметр каналу теплообмінника.
Нехай ширина каналу д = 0,012 м,
тоді еквівалентний діаметр
. Визначення числа Rе
для розчину
Задаємо швидкість руху розчину w1
= 0,6 м/с і визначаємо
площу перерізу каналу теплообмінника
звідки ефективна ширина стрічки
(ефективна висота теплообмінника)
bе = f/д = 0,004785/0,012
= 0,399 м.
Приймаємо ширину стрічки 1 м, тоді
площа перерізу каналу= 1·0,012 = 0,012 м2.
Дійсна швидкість руху розчину CH3OH
в каналі
Визначаємо число Rе1:
. Обчислюємо
швидкість і число Rе для води
6. Визначення коефіцієнтів
тепловіддачі.
Приймемо діаметр спіралі 1 м і
перевіримо критичне значення числа Rе за
залежністю:
Rекр = 20 000 (dе/Dс)0,32
= 20 000 (0,024/1)0,32 = 6063.
Згідно з визначаємо коефіцієнт
тепловіддачі від розчину CH3OH
до стінки
= 0,023·198070,8·10,60,33[1
+ 3,54(0,024/1)] = 148,9 ,
звідки
б1= Nu1л1/de=
148,9·0,202/0,024 = 1253 Вт/(м2·К).
Аналогічно знайдемо коефіцієнт
тепловіддачі для води:
= 0,023·146610,8·7,020,33[1
+ 3,54(0,024/1)] = 102,2,
б2 = Nu2л2/dе
= 102,2·0,599/0,024
= 2550
Вт/(м2·К).
. Розрахунок
коефіцієнта теплопередачі та необхідної поверхні теплообміну.
Задаємо товщину стінки дст
= 0,0039 м і матеріал стінки Х18Н10Т, для якої коефіцієнт теплопровідності лст
= 16 Вт(м·К). Термічний опір забруднень:з боку розчину rз1 = 1/5800
м2·К/Вт; з боку води rз2 = 1/2900 м2·К/Вт.
Сума термічних опорів стінки і
забруднень:
∑r = дст/лст
+ rз1 + rз2 = 0,0039/16 + 1/5800 + 1/2900 = 0,001 м2·К/Вт.
Коефіцієнт теплопередачі:
Необхідна поверхня теплообміну
спірального теплообмінника:
Згідно з ГОСТом 12067 - 80 вибираємо
спіральний теплообмінник з такими характеристиками:
Таблица 3
|
площа поверхні теплообміну, м2
|
63
|
|
ширина листа, м
|
1,0
|
|
довжина каналу, м
|
31,5
|
|
площа перерізу каналу 104 м2
|
120
|
|
товщина листа, м
|
0,0039
|
|
діаметр штуцерів для рідких теплоносіїв, мм
|
|
маса теплообмінника, кг
|
4260
|
ІІ. Конструктивний розрахунок
1. Довжина листів спіралі
2. Кількість витків спіралі,
необхідну для отримання ефективної довжини, визначаємо за рівнянням
де t = д
+
дст
= 0,012 + 0,039 = 0,0159 м;
d = 2r + t = 2·0,015 + 0,0159 =
0,0459 м,
(r приймаємо 0,15 м).
Кількість витків обох спіралей
N = 2n = 2·17,3 =27,3.
3.
Зовнішній діаметр спіралі теплообмінника (діаметр апарата) з урахуванням
товщини листа згідно із залежністю:
D = d + 2Nt + дст =
0,0459 + 2·27,3·0,0159 + 0,0039 = 1,15 м.
Знаючи зовнішній діаметр спіралі,
знайдемо критичне значення числа
Rе
Rекр =20000 (de/Dc)0,32=
20000 (0,024/1,15)0,32
= 5798.
Отже, для розчину CH3OH
Rе
= 1981>5798;
для води Rе = 39598 >Rекр.
Тобто вибрана залежність для
визначення коефіцієнтів тепловіддачі коректна.
. Розрахунок штуцерів
В цьому випадку розраховувати
штуцери не потрібно, тому що вибраний стандартизований
теплообмінник має штуцери з умовним проходом dу = 150 мм.
За ГОСТом 1255 - 67 підбираємо
плоскі приварні фланці, розміри яких наведено
нижче
Таблица 4
|
dy
|
D
|
D1
|
D2
|
h
|
n
|
d
|
|
150
|
260
|
202
|
225
|
13
|
8
|
16
|
Рис. 7.
Конструкція плоского приварного фланця
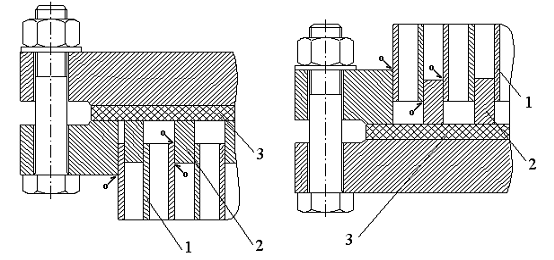
5.
Ущільнення каналів
Кожний канал з одного боку
заварюють, а з протилежного ущільнюють плоскою
прокладкою. Такий спосіб запобігає змішуванню теплоносіїв у разі нещільності
прокладки. Крім того, такий тип ущільнення дає змогу легко очищувати канали в
разі їх забруднення.
Рис. 8.
Ущільнення каналів: 1
- спіраль; 2 - стрічка; 3 - прокладка
ІІІ. Гідравлічний розрахунок
Втрати напору під час проходження
теплоносіїв по каналах теплообміннника
Для 20 % розчину CH3ОН:
Для води
IV. Підбір насоса
Потрібний напір насоса
Об’ємні витрати
Підбираємо насос X8/18, який
забезпечує продуктивність 
, і напір 11,3 м.
. Охорона навколишнього
середовища
Кінець ХХ-го - початок ХХІ-го
століття характери чується значно більшими масштабами виробництва і усіх
галузях світової економіки. Однак, на жаль, технології не стають чистішими,
тому виробництво величезної кількості корисної продукції супроводжується
великою кількістю забруднень.
Кількість і різноманітність
викидів, їх висока температура і токсичність істотно ускладнює вирішення
проблем пило- і газоуловлення, та очистки води. Різноманітних засобів обробки
газів не вистачає.
При виконані проекту слід
згадати про те, що виробництво та циклогексану є потенційно небезпечним і тому
потрібно дотримуватись певних безпечних регламентів. Для ефективного проведення
експлуатації необхідно дотримуватись наступних правил техніки безпеки:
організація безпеки від
механічних пошкоджень апарату;
герметизація та постійний
контроль фланцевих та зварних з'єднань:
своєчасне виділення і
знешкодження відходів виробництва, які являються джерелом забруднень
навколишнього середовища;
проведення профілактичних
ремонтів основних вузлів апарату;
дотримування норм технології
проведення процесу; - використання автоматизації і дистанційного управління; -
забезпечення безпеки робочого персоналу;
оснащення апарату приладами
аварійної сигналізації автоматичного захисту і автоматичного блокування;
перед використанням апарат
повинен бути перевіреним на внутрішній гідравлічний тиск і на герметичність
системи;
організація пожежної охорони;
забезпечення засобами
пожежогасіння;
проведення інструктажу серед
робочого персоналу і атестація професійних навичок;
встановлення драбин для
обслуговування;
для забезпечення охорони
навколишнього середовища, відходи як органічного так і неорганічного походження
подавати у відстійник, а потім після розділення застосовувати на наступних
етапах знешкодження;
необхідно забезпечувати вентиляцією
ділянки технологічною процесу, де можлива дифузія парів бензолу кислоти.
В даному курсовому проекті
використовується теплообмінник типу “спіральний”.
Площа поверхні теплообміннику даного апарату становить 22,84 м. В якості
теплоносія використано технічну воду, яка власне і сприяє зменшенню поверхні
теплообміну.
Матеріалом для виготовлення
даного теплообмінника служить сталь марки X18Н10Т. Вибір такого матеріалу, а
власне сталі, спричинений тим, що сталі-матеріал відносно дешевий, міцний і
завдяки застосуванню легуючих елементів (хрому, нікелю, та інших) стійка до
корозії і довговічна завдяки добрим експлуатаційним характеристикам легко
піддається зварюванню та механічній обробці.
Враховуючи вище приведені
фактори можна зробити висновок, що застосуванні сталі як вихідного матеріалу
для виготовлення нашого теплообмінника є економічно вигідним.
Список використаної
літератури
1. Дитнерський Ю.І. « Основні
процеси та апарати хімічної технології ».
. Йоффе І.Л. «Проектування
процесів та апаратів хімічної технології ».
. Лащинский А.А.;Толчинський
А.Р. «Основи конструювання і розрахунку хімічної апаратури ».
. Касаткін А.Г. « Основні
процеси та апарати хімічної технології . »
5. Павлов К.Ф., Романков П.Г.,
Носков А.А. « Приклади і задачі по курсу процесів та апаратів хімічної
технології».
. Чернін І.М., Кузьмін А.В.
«Розрахунки деталей машин».
. Гончаров А.І., Стеценко О.В.
« Основи хімічної технології ».