|
назначение
и категории поездов
|
участок
A-N
|
участок
N-C
|
|
нечётное
|
чётное
|
нечётное
|
чётное
|
|
1
|
2
|
3
|
4
|
5
|
|
отправительские
маршруты (сквозные поезда)
|
|
У-К
К-У
|
380(6)
|
200(3)
|
380(6)
|
200(3)
|
|
технические
маршруты (сквозные поезда)
|
|
У-К
У-С А-К N-K К-У К-А K-N
|
170(3)
123(2) 89(2)
|
150/230(5) 88(2)
|
170(3)
123(2) 89(2) 137(2)
|
150/230(5) 88(2) 146(2)
|
|
участковые
|
135(2)
|
61/167(4)
|
127(2)
|
37/167(3)
|
|
сборные
|
1
поезд
|
1
поезд
|
1
поезд
|
1
поезд
|
|
грузовые
|
16
|
15
|
18
|
16
|
|
резервные
локомотивы
|
-
|
1
|
-
|
2
|
|
скорые
пассажирские
|
1
|
1
|
1
|
1
|
|
пассажирские
|
1
|
1
|
1
|
1
|
4. Разработка графика движения поездов и расчёт
пропускной способности
.1 График движения поездов
На железнодорожном транспорте движение поездов
осуществляется по графику. График движения поездов является основой организации
перевозок. Он объединяет деятельность всех подразделений и выражает план всей
эксплуатационной работы железных дорог.
Движение поездов по графику обеспечивается
правильной организацией и выполнением технологического процесса работы станций,
депо, тяговых подстанций, пунктов технического обслуживания и других
подразделений железных дорог, связанных с движением поездов.
В соответствии с ПТЭ график движения поездов
должен обеспечивать:
удовлетворение потребностей в перевозках
пассажиров и грузов;
безопасность движения поездов;
наиболее эффективное использование пропускной и
провозной способности участков и перерабатывающей способности станций;
рациональное использование подвижного состава;
соблюдение установленной продолжительности
непрерывной работы локомотивных бригад;
возможность производства работ по текущему
содержанию и ремонту пути, сооружений, устройств СЦБ, связи и электроснабжения.
График движения поездов представляет собой
графическое изображение следования поездов по участкам и направлениям,
выполненное в координатных осях времени (горизонтальная ось) и расстояния
(вертикальная ось). Он устанавливает время прибытия, отправления и
проследования поездов по каждому раздельному пункту, время следования поездов
по перегонам, продолжительность нахождения локомотивов и бригад на участках и
конечных станциях.
Железнодорожная сеть нашей страны
характеризуется различными условиями эксплуатации участков: размерами движения,
числом главных путей, соотношением скоростей грузовых и пассажирских поездов,
разностью размеров движения по направлениям и т.д. В связи с этим различны и
сами графики движения, которые классифицируются по нескольким признакам.
. По соотношению скоростей движения поездов
графики подразделяются на параллельные и непараллельные. При параллельном
графике на перегоне все поезда каждого направления имеют одинаковую скорость
движения, по этому линии хода поездов расположены параллельно. Параллельный
график позволяет наиболее полно использовать пропускную способность участков,
служит основой для изучения свойств и закономерностей всех типов графиков.
При непараллельном графике предусматривается
обращение пассажирских и грузовых поездов с разными ходовыми скоростями
движения, причём поезда могут быть одной или нескольких категорий (скорые, пассажирские,
грузовые нормальной скорости, грузовые ускоренные и др.).
. По числу главных путей на участке графики
подразделяются на однопутные, двухпутные и многопутные. На двухпутных линиях
главные пути специализируются для движения поездов только в одном направлении
(чётном или нечётном), скрещения поездов могут осуществляться не только на
станциях и разъездах, но и перегонах. Графики движения на участках с
однопутными и двухпутными перегонами называются однопутно-двухпутными.
На трёхпутных линиях обычно два пути
специализируют по направлениям, а один используют для следования поездов обоих
направлений. На четырёхпутных участках чаще всего два пути используют для
грузового и два для пассажирского движения со специализацией каждой пары путей
по направлениям.
. По расположению поездов попутного следования.
При следовании поездов с разграничением не менее чем одним раздельным пунктом с
путевым развитием (станцией, разъездом, обгонным пунктом) график на однопутных
линиях называется непакетным или пачечным, а на двухпутных - пачечным.
По перегонам, оборудованным автоматической
блокировкой или имеющим блок-посты при полуавтоматической блокировке, поезда
могут следовать в попутном направлении с разграничением их блок-участками или
межпостовыми перегонами. Графики движения поездов с таким порядком следования
называются пакетными или частично-пакетными. При таких графиках на перегоне
может находиться не один, а два или несколько поездов, следующих в одном
направлении.
На однопутных и двухпутных линиях в целях уменьшения
влияния пассажирских поездов на движение грузовых пропускают группу
пассажирских поездов пачкой.
. По соотношению времени занятия перегонов одной
парой поездов или поездом различают графики идентичные и неидентичные. Степень
неидентичности графиков зависит от неидентичности перегонов, станционных
интервалов τст
и добавок на разгоны и замедления tрз.
. По соотношению размеров движения в чётном и
нечётном направлениях графики разделяют на парные с одинаковым числом поездов в
обоих направлениях и непарные.
.2 Основные исходные данные для составления
графика движения поездов
График движения разрабатывается на основании
следующих элементов:
размеров движения различных категорий поездов и
их весовых норм и длины;
серии грузовых и пассажирских локомотивов и их
тяговых плеч;
времени хода поездов по перегонам tх’,
tx”
и добавок времени к ним на разгон tр
и
на замедление tз,
которые определяются тяговыми расчётами;
станционных интервалов Iст-
промежутков времени, необходимых для выполнения операций при приемке,
отправлении и пропуске поездов через раздельные пункты, обеспечивающих
безопасность движения;
интервалов между поездами в пакете I
при автоблокировке или полуавтоблокировке с блок-постами;
норм стоянок поездов tст
для
выполнения операций на промежуточных станциях;
норм нахождения локомотивов на станциях
основного tосн
и оборотного tоб
депо;
технологических норм времени на обработку
поездов в парках (tпп,
tпот)
участковых, грузовых, пассажирских и сортировочных станций;
продолжительности технологического «окна» tтн
для выполнения работ по текущему содержанию и ремонту пути, контактной сети,
устройств СЦБ и др.
Таким образом, график движения поездов по
существу является планом всей эксплуатационной работы железных дорог, основой
организации движения поездов, грузовой и коммерческой работы станций, депо,
подразделений вагонной службы, службы пути, сигнализации и связи, строительных
организаций, т.е. всех подразделений железнодорожного транспорта. График
движения основан на определении грузопотоков, тесном взаимодействии в работе
железных дорог и всех других видов транспорта.
Скорость доставки грузов, наиболее рациональная
организация их перевозок в поездах, объём оборотных товарно-материальных
ценностей, находящихся в процессе перевозок, качество и быстрота пассажирских
перевозок - всё это зависит от графика движения поездов.
Дальнейшее совершенствование графика
предусматривает:
повышение уровня использования пропускной
способности направлений, позволяющее обеспечить выполнение и перевыполнение
плана перевозок;
повышение массы и скорости движения поездов
(особенно участковой и маршрутной, и как за счёт имеющихся резервов в
действующих графиках, так и за счёт внедрения более мощных локомотивов,
концентрации на полигонах большегрузных вагонов с меньшим сопротивлением
движению и т.д.);
обеспечение более четкого взаимодействия в
перевозочном процессе всех подразделений железнодорожного транспорта;
автоматизацию разработки графика движения на
основе применения вычислительной техники;
разработку более совершенных способов его
оперативной корректировки на основе вариантных графиков для переменных размеров
движения;
выделение в графике ниток для постоянного ядра
поездов, факультативных и дополнительных;
внедрение прогрессивных достижений передовых
работников всех служб железных дорог.
.3 Виды станционных и межпоездных интервалов
Различают и рассчитывают следующие основные виды
станционных и межпоездных интервалов:
Станционный интервал неодновременного прибытия tн
- минимальное время от момента прибытия на станцию поезда одного направления до
момента прибытия на эту же станцию (рис. 4.1,а) или проследования через неё
(рис. 4.1,б) поезда встречного направления на однопутной линии.
Рис. 4.1. Интервал неодновременного прибытия
поездов.
На станциях, где одновременный приём поездов
противоположных направлений разрешен, величина τн
определяется по схеме и графику, приведенных на рис. 4.1, в и 4.2. Когда
одновременный приём поездов противоположных направлений запрещен, при
следовании одного из них без остановки, τн
определяется по схеме и графику, приведенных на рис. 4.1, г, 4.2.
Величина τн
состоит из времени для выполнения станционных операций и прохождения поездом
расчётного расстояния, т.е.
τн
= tсо + 0,06Lпр / Vвх, мин. (4.1)
где tсо - время станционных операций,
мин (tсо=0,5+0,25=0,75 мин);пр - расчётное расстояние, м;вх
- средняя скорость входа поезда на станцию, (Vвх = 0,95 ∙
70 = 66 км/час);
пр =
Lп + lт
+
lв +
lвх,
м (4.2)
где Lп - длина поезда, м. (Lп =
14,3m + 50 = 14,3∙60 + 50 = 858 м);
lт
- тормозной путь или расстояние от предупредительного сигнала до входного, м. (lт
=
1600 м);
lв
- расстояние проходимое поездом за время восприятия машинистом показания
входного или предупредительного сигнала, м ( lв
≈
50 м);
lвх
- расстояние от входного сигнала до предельного столбика пути отправления
поезда, м (lвх =
250 м);
тогда пр = 858 + 1600 + 50 + 250 =
2758 м;
τн =
0,75 + 0,06∙2758 / 66 = 3,26 мин; τн
=
4 мин.
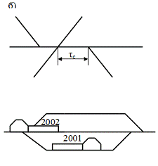
Рис. 4.2. Интервал скрещения поездов.
Станционный интервал скрещения поездов τс
-
минимальное время от момента прибытия на станцию (рис. 4.3, а) или
проследования (рис. 4.3, б) через неё поезда до момента отправления на тот же
перегон встречного поезда. Величина τс
(рис. 4.4) состоит только из времени для выполнения станционных операций tсо.
Принимаю τс
= 1 мин.
Рис. 4.3. Схема разграничения поездов, следующих
в пакете при автоблокировке: а, б - на перегоне; в - при приёме на станцию; г -
при безостановочном пропуске через станцию; д - при отправлении со станции.
4.4 Расчёт
наличной и потребной пропускной способности участков отделения перевозок
Пропускной способностью железнодорожной линии
называется наибольшее число поездов или пар поездов установленной массы,
которое может быть пропущено в единицу времени (сутки, час), в зависимости от
имеющихся постоянных технических средств, типа и мощности подвижного состава и
принятых методов организации движения поездов. Различают пропускную способность
наличную и потребную[ ].
Наличную пропускную способность определяю по
формуле:
Nн
= (1440 - tтн)αн
k / T,
пар поездов (4.7)
tтн
- продолжительность технологического «окна»,мин;
αн
- коэффициент надёжности работы технических устройств;
k - число поездов
или пар поездов в периоде графика;
T - период графика.
Период графика ограничивающего перегона при
заданном времени хода пары поездов и определенных станционных интервалах может
принимать различные значения, в зависимости от порядка пропуска поездов через
раздельные пункты ограничивающего перегона.
Возможны четыре варианта пропуска поездов через
раздельные пункты ограничивающего перегона з-С на однопутном участке N-C
(время хода грузовых поездов дано в задании):
. Оба поезда пропускаются на перегон без
остановки (1- схема);
T1 = (t’ + t”
+ τн
+ τн
+ 2tз) = 23 + 24
+ 4 + 4 + 2∙1 = 57 мин.
2. Оба поезда пропускаются с перегона без
остановки (2- схема);
T2 = (t’ + t”
+ τс
+ τс
+ 2tр) = 23 + 24
+ 1 + 1 + 2∙3 = 55 мин.
3. Нечётные поезда пропускаются безостановочно
через обе станции ограничивающих перегон (3 - схема);
T3 = (t’ + t”
+ τн
+ τс
+ tр
+ tз)
= 23 + 24 + 4 + 1 + 3 + 1 = 56 мин.
4. Чётные поезда пропускаются безостановочно через
обе станции ограничивающих перегон (4- схема);
T4 = (t’ + t”
+ τн
+ τс
+ tр
+ tз)
= 23 + 24 + 4 + 1 + 3 + 1 = 56 мин.
Рис. 4.4. Схемы пропуска поездов через станции
ограничивающие перегон
При четырёх схемах пропуска поездов минимальный
период имеет 2-схема. Это означает, что желательно по ограничивающему перегону
поезда пропускать по 2-схеме, но это не каждый раз удается.
В каждом случае пропуск поездов через станции
ограничивающего перегона, периоды графика перегона отличаются входящими в них
станционными интервалами и добавочным временем на разгон и замедление.
В общем случае пропускная способность
ограничивающего перегона при обычном графике составит:
Nн
= (1440 - tтн)∙
αн
∙ k/(t’+
t”+ τз
+ τС
+tрз),
пар поездов (4.8)
где t’,
t” - время хода
нечётного и чётного поездов по перегону, мин;
τз,
τС
- станционные интервалы на станциях, ограничивающих перегон, мин;
tрз
- добавочное время на разгон и замедление, приходящееся на оба поезда, мин.
Обозначив сумму станционных интервалов и
добавочного времени на разгон и замедление через tд,
определяю величину периода графика:
T = (t’ + t”) + tд,
мин.
(4.9)
= (23 + 24) + 8 = 55 мин.
Тогда для ограничивающего перегона е-ж участка
N-C и ограничивающего перегона г-N участка A-N наличная пропускная способность
равна:е-ж = (1440 - 60) 0,95 / (23 + 24 + 3 + 1 + 3 + 1) = 23 пары
поездов.г-N = (1440 - 60) 0,95 / (23 + 23 + 3 + 1 + 3 + 1) = 24 пары
поездов.
Потребная пропускная способность определяется
для расчётных размеров движения и сопоставляется с наличной при существующих
средствах поездной связи и способа организации движения поездов. При
необходимости намечаются варианты усиления пропускной способности,
обеспечивающие пропуск заданных размеров движения.
Потребную пропускную способность участка, исходя
из заданных размеров грузовых и пассажирских перевозок без учёта резерва,
определяю по формуле:
пт
= Nгр + Nпсεпс
+ Nсбεсб,
пар поездов (4.10)
где Nгр, Nпс, Nсб
- соответственно, количество пар грузовых, пассажирских и сборных поездов;
εпс,
εсб - коэффициенты
съёма грузовых поездов пассажирскими и сборными.
При этом значение εпс
определяю по формуле:
εпс
= εо+εд
= (tпс’ + tпс”
+ 2τст+ tрз)/(t’
+ t” +2τст+
tрз)+tд/(t’ + t”
+2τст + tрз),
(4.11)
где εо,
εд - соответственно,
коэффициент основного и дополнительного съёма:
εо
= (19 + 18 + 2 + 2) / (24 + 23 + 2 + 6) = 0,75.
Величину коэффициента дополнительного съёма εд
можно принять в пределах 0,3 - 0,4. При εд
= 0,4
εпс
= 0,75 + 0,4 = 1,15.
Коэффициент съёма сборных поездов на однопутном
участке составляет εсб
= 1,3-1,5.
Тогда
N
= 15 + 2 ∙
1,15 + 1 ∙ 1,4 = 19 пар поездов,
N
= 17 + 2 ·
1,15 + 1 · 1,4 = 21 пар поездов.
Потребная пропускная способность
меньше наличной, следовательно график движения поездов будет непакетным и
непарным, так как количество поездов в чётном и нечётном направлениях на обоих
участках различно.
Но необходимо определить возможные
способы усиления пропускной способности участка, так как потребная и наличная
пропускная способность скоро сравняются и мы не сможем пропускать увеличившееся
количество пар поездов по участку. В данном дипломном проекте будет
рассматриваться как вариант усиления пропускной способности электрификация
железнодорожного участка.
.5 Составление графика движения поездов
Составлению графика движения поездов
предшествует большая подготовительная работа. В целях достижения высоких
маршрутных скоростей графики составляют сквозными на направлении в пределах
участка обращения локомотивов.
График строится обычно на стандартной сетке с
масштабом времени и расстояний. На сетке каждый час разделен вертикальными
линиями на шесть десятиминутных интервалов, получасовые деления указаны
штриховой линией; горизонтальными линиями обозначены оси раздельных пунктов.
Нечётные поезда наносятся сверху вниз, а - чётные снизу вверх. В точках
пересечения линий движения поездов с осями раздельных пунктов (в тупых углах)
ставят цифру, указывающую число минут сверх целого десятка, соответствующую
моменту прибытия, отправления или проследования поезда.
Поезда на графике прокладываются последовательно
по их категориям. Вначале прокладываются пассажирские поезда в соответствии с
предварительно выбранной схемой их обращения на направлении, затем - ускоренные
грузовые, сборные и остальные грузовые поезда. Местные грузовые поезда
прокладываются на графике в соответствии с предварительно выбранными схемами их
обращения и системой обслуживания местной работы участков. При этом должна
обеспечиваться ритмичность грузовой работы на участке и согласованность
технологических процессов работы станции и подъездных путей.
При составлении графика необходимо соблюдать все
его расчётные элементы и требования безопасности движения поездов.
График движения поездов составляется на участках
A-N и N-C на типовой сетке бланка или на листе ватмана со строгим соблюдением
размеров типовой сетки.
Длину перегонов принимаю в масштабе 4 мм. = 10
мин. и 1 мм. = 1 км. согласно задания.
Прокладку грузовых поездов начинаю с участковой
станции со средним интервалом, равным
Iср
= 1440 - tтн
/ Nпр,
(4.12)
где Nпр
- условное число «ниток» грузовых поездов;
tтн
- технологическое «окно».
В дневное время суток в графике
предусматриваются технологические «окна»: 1 час на однопутном участке.
I
= 1440 - 60
/ 19 = 72 мин;
I
= 1440 - 60
/ 21 = 66 мин.
При построении графика между
соседними «нитками» фактический интервал может быть 0,8Iср до 1,1Iср.
Все поезда прокладываются и на
перегоне соседнего отделения. Время хода поездов по этому перегону принимаю 20
мин. При организации скрещения и обгона поездов на станциях участка учитывается
их путевое развитие. Номера чётных и нечётных поездов проставляются
соответственно на крайних и вторых перегонах участка от участковой и
сортировочной станции.
Поезда различных категорий
нумеруются:
Пассажирские
Скорые (дальние и местные) 1 - 130
Пассажирские (дальние) 171 - 300
Пассажирские (местные) 601 - 699
Пригородные 5001 - 6999
Грузовые
Сквозные 2001 - 2998
Участковые 3001 - 3398
Сборные 3401 - 3498
Вывозные 3501 - 3598
Локомотивы
Диспетчерские 3801 - 3898
Резервные 4301 - 4398
.6 Расчёт показателей графика
движения поездов
После составления графика движения
определяю его качественные показатели по грузовому движению:
1. Техническая, участковая и коэффициент
участковой скорости;
2. Эксплуатационный оборот и парк
локомотивов;
. Среднесуточный пробег локомотивов;
. Средний простой локомотивов в пунктах
оборота;
. Производительность локомотивов.
Скорости движения поездов определяю делением
поездо-километров на соответствующие поездо-часы. При расчёте технической
скорости учитываю поездо-часы без времени стоянок на промежуточных станциях, но
с учётом потери времени на разгоны и замедления, а при расчёте участковой
скорости - общие поездо-часы в пути следования.
Показатели графика движения рассчитываю как по
отдельным участкам, так и в целом по отделению.
Для определения поездо-часов и поездо-километров
составляю ведомости нахождения поездов на участках A-N
и N-C
(таблицы 4.1 и 4.2 соответственно).
Таблица 4.1. Ведомость нахождения поездов на
участке A-N
|
Номер
поезда
|
Чётное
направление
|
Нечётное
направление
|
Время
нахождения локомотива на ст. А
|
|
|
Время
прибытия на ст. А
|
Время
в пути
|
в
том числе
|
Пробег,
поездо-км
|
Время
прибытия на ст. N
|
Время
в пути
|
в
том числе
|
Пробег,
поездо-км
|
|
|
|
|
|
Время
в движении
|
Время
стоянок
|
|
|
|
Время
в движении
|
Время
стоянок
|
|
|
|
1
|
2
|
3
|
4
|
5
|
6
|
7
|
10
|
11
|
12
|
13
|
14
|
15
|
|
3008
|
0-40
|
1-55
|
1-55
|
1-43
|
0-12
|
109
|
9-09
|
2-10
|
1-44
|
0-26
|
109
|
4-19
|
|
2002
|
3-52
|
5-48
|
1-56
|
1-43
|
0-13
|
109
|
10-27
|
1-49
|
1-44
|
0-05
|
109
|
2-50
|
|
3402
|
4-00
|
7-55
|
3-55
|
1-55
|
2-00
|
109
|
14-29
|
3-56
|
1-56
|
2-00
|
109
|
2-38
|
|
2004
|
6-34
|
8-13
|
1-39
|
1-39
|
0
|
109
|
14-11
|
1-49
|
1-44
|
0-05
|
109
|
3-59
|
|
2006
|
7-43
|
9-31
|
1-48
|
1-43
|
0-05
|
109
|
15-52
|
1-49
|
1-44
|
0-05
|
109
|
4-32
|
|
3010
|
11-50
|
13-44
|
1-54
|
1-43
|
0-11
|
109
|
17-46
|
1-40
|
1-40
|
0
|
109
|
2-22
|
|
4302
|
14-30
|
15-44
|
-
|
-
|
-
|
109
|
19-23
|
1-58
|
1-48
|
0-10
|
109
|
1-41
|
|
2008
|
14-58
|
16-58
|
2-00
|
1-43
|
0-17
|
109
|
20-18
|
2-00
|
1-44
|
0-16
|
109
|
1-20
|
|
3012
|
16-07
|
18-17
|
2-10
|
1-47
|
0-23
|
109
|
21-30
|
1-50
|
1-44
|
0-06
|
109
|
1-23
|
|
2010
|
17-49
|
19-39
|
1-50
|
1-43
|
0-07
|
109
|
23-08
|
2-29
|
1-52
|
0-37
|
109
|
1-00
|
|
2012
|
18-29
|
20-32
|
2-03
|
1-47
|
0-16
|
109
|
0-07
|
2-27
|
1-48
|
0-39
|
109
|
1-08
|
|
2014
|
19-24
|
21-31
|
2-07
|
1-43
|
0-24
|
109
|
0-38
|
2-05
|
1-48
|
0-17
|
109
|
1-02
|
|
3014
|
20-35
|
22-32
|
1-57
|
1-47
|
0-10
|
109
|
1-34
|
1-54
|
1-44
|
0-10
|
109
|
1-08
|
|
2016
|
21-34
|
23-25
|
1-51
|
1-43
|
0-08
|
109
|
2-13
|
1-40
|
1-40
|
0
|
109
|
1-08
|
|
2018
|
22-14
|
0-32
|
2-18
|
1-47
|
0-31
|
109
|
3-31
|
1-49
|
1-44
|
0-05
|
109
|
1-10
|
|
2020
|
23-13
|
1-25
|
2-12
|
1-47
|
0-25
|
109
|
6-00
|
2-32
|
1-44
|
0-48
|
109
|
2-03
|
|
|
|
∑Ntвп 31,6
|
∑Ntдв 26,2
|
|
∑Nl 1635
|
|
∑Ntвп 33,95
|
∑Ntдв 28,1
|
|
∑Nl 1744
|
∑Mэl 33,7
|
Техническую скорость определяю по формуле:
Vтех =
, км/ч
(4.13)
Участковая скорость:
Vуч =
, км/ч
(4.14)
Таблица 4.2. Ведомость нахождения поездов на
участке N-С
|
Номер
поезда
|
Время
отправления со ст. N
|
Нечётное
направление
|
Чётное
направление
|
Время
нахождения локомотива на ст. С
|
|
|
Время
прибытия на ст. С
|
Время
в пути
|
в
том числе
|
Пробег,
поездо-км
|
Время
прибытия на ст. N
|
Время
в пути
|
в
том числе
|
Пробег,
поездо-км
|
|
|
|
|
|
Время
в движении
|
Время
стоянок
|
|
|
|
Время
в движении
|
Время
стоянок
|
|
|
|
1
|
2
|
3
|
4
|
5
|
6
|
7
|
10
|
11
|
12
|
13
|
14
|
15
|
|
2021
|
23-53
|
1-48
|
1-55
|
1-49
|
0-06
|
118
|
8-10
|
-
|
-
|
-
|
118
|
4-13
|
|
2023
|
1-16
|
3-54
|
2-38
|
1-53
|
0-45
|
118
|
8-02
|
1-55
|
1-50
|
0-05
|
118
|
1-38
|
|
2025
|
2-05
|
4-29
|
2-24
|
1-49
|
0-35
|
118
|
8-50
|
1-46
|
1-46
|
0
|
118
|
1-26
|
|
2001
|
3-23
|
5-38
|
2-15
|
1-53
|
0-22
|
118
|
10-44
|
3-22
|
1-54
|
1-28
|
118
|
3-28
|
|
3403
|
4-17
|
8-18
|
4-01
|
2-01
|
2-00
|
118
|
14-05
|
1-57
|
1-50
|
0-07
|
118
|
3-50
|
|
2003
|
6-40
|
8-34
|
1-54
|
1-49
|
0-05
|
118
|
4-02
|
2-02
|
2-00
|
118
|
3-43
|
|
2005
|
10-01
|
11-46
|
1-45
|
1-45
|
0
|
118
|
16-33
|
2-03
|
1-50
|
0-13
|
118
|
2-44
|
|
4301
|
11-34
|
13-02
|
-
|
-
|
-
|
118
|
17-20
|
2-06
|
1-50
|
0-16
|
118
|
2-12
|
|
2007
|
11-44
|
13-38
|
1-54
|
1-49
|
0-05
|
118
|
18-30
|
2-20
|
1-54
|
0-26
|
118
|
2-32
|
|
3005
|
14-06
|
16-09
|
2-03
|
1-53
|
0-10
|
118
|
19-56
|
2-12
|
1-50
|
0-22
|
118
|
1-35
|
|
2009
|
15-11
|
17-05
|
1-54
|
1-49
|
0-05
|
118
|
21-31
|
1-46
|
1-46
|
0
|
118
|
2-40
|
|
2011
|
16-36
|
18-39
|
2-03
|
1-53
|
0-10
|
118
|
22-27
|
1-46
|
1-46
|
0
|
118
|
2-02
|
|
2027
|
17-47
|
19-32
|
1-45
|
1-45
|
0
|
118
|
23-23
|
1-46
|
1-46
|
0
|
118
|
2-05
|
|
2013
|
18-33
|
20-40
|
2-07
|
1-53
|
0-14
|
118
|
1-15
|
1-55
|
1-50
|
0-05
|
118
|
2-40
|
|
3007
|
19-12
|
21-36
|
2-24
|
1-57
|
0-27
|
118
|
1-50
|
-
|
-
|
-
|
118
|
1-38
|
|
2015
|
20-08
|
22-32
|
2-24
|
1-57
|
0-27
|
118
|
1-50
|
-
|
-
|
-
|
118
|
0-42
|
|
2029
|
20-47
|
23-07
|
2-20
|
1-57
|
0-23
|
118
|
2-48
|
1-55
|
1-50
|
0-05
|
118
|
1-47
|
|
2017
|
21-32
|
0-15
|
2-43
|
1-57
|
0-46
|
118
|
5-01
|
2-02
|
1-50
|
0-12
|
118
|
2-44
|
|
2019
|
22-28
|
0-50
|
2-22
|
1-53
|
0-29
|
118
|
6-29
|
1-46
|
1-46
|
0
|
118
|
3-53
|
|
|
|
∑Ntвп 40,85
|
∑Ntдв 33,7
|
|
∑N12124
|
|
∑Ntвп 34,7
|
∑Ntдв 29,3
|
|
∑Nl 1888
|
∑Mэl 47,6
|
Коэффициент участковой скорости:
βуч =
, (4.15)
Средний простой локомотивов на
станциях их оборота:

, час (4.16)
Средний простой транзитного поезда
без переработки:
, час (4.17)
Тогда
VтехAN =
км/ч;
VтехNС =
км/ч;
Vтех =
км/ч.
VучAN =
км/ч; VучNС =
км/ч;
Vуч =
км/ч.
βуч =
.

час.
час.
Оборот эксплуатируемого парка
локомотивов на участках их обращения в пределах отделения определяю по формуле:
θл
= 2Lуч
/ Vуч
+ tоб
+ tос
+ tбр,
час (4.18)
где Lуч
- длина участка обращения локомотивов, км;
Vуч
- участковая скорость, км/ч;
tоб
- время нахождения локомотива в пунктах оборота, час (из формулы (4.16));
tос,
tбр
- время нахождения локомотивов на станционных путях основного депо и смены
локомотивных бригад (из задания tос
+ tбр
= 0,5ч).
θлAN
= 2*109 / 51,5 + 2,1 + 0.5 = 6,8 часа;
θлNC
= 2*118 / 53 + 2,5 + 0.5 = 7,5 часа.
Коэффициент потребности локомотивов на пару
поездов определяю по формуле:
Кл = θл
/
24, (4.19)
КлAN
= 6,8 / 24 = 0,28; КлNC
= 7,5 / 24 = 0,31.
Эксплуатируемый парк локомотивов определяю по
формуле:
Мэ = NAN
Кл + NNC
Кл, лок/сут (4.20)
Мэ = 16*0,28 + 19*0,31 = 11 лок/сут.
Пробег поездов по участкам составит:
∑Nl
= NlAN + NlNC,
поездо-км (4.21)
∑Nl
= 3379 + 4130 = 7509 поездо-км.
Пробег локомотивов по участкам составит:
∑Ml
= ∑Nl + Mlвсп,
лок.-км (4.22)
где Mlвсп
- вспомогательный (резервный) пробег равен 463 км.
∑Ml
= 7509 + 463 = 7972 лок.-км.
Работа локомотивного парка:
Qбр
l = 4600*7509 =
34541400 ткм бр.
Производительность локомотива, ткм/лок.-сут:
Qбр
l / Мэ =
34541400 / 11 = 3140127 ткм/лок.-сут.
Среднесуточный пробег, км/сут:
Sл
= ∑Ml / Мэ,
км/сут (4.23)
Sл
= 7972 / 11 = 724 км/сут.
Основные показатели графика движения поездов
заношу в таблицу на Лист №8 ГЧ дипломного проекта.
5. Расчёт
технических норм эксплуатационной работы отделения перевозок
Технические нормативы работы отделения
предусматривают выполнение плана перевозок с наиболее эффективными методами
использования технических средств транспорта и минимальными эксплуатационными
расходами.
Для их расчёта использую косую табл. 1.1
(шахматка). Наименование станций и участков, указываемых в «шахматке»,
определяю по схеме отделения перевозок.
Как видно из «шахматки», погрузка отделения
дороги складывается из погрузки в местном сообщении (на себя) и погрузки
отделения на выход, т.е.
п
= Uмс + Uвыв, ваг.; (5.1)
п
= 230 + 398 = 628 вагонов.
Общая погрузка отделения дороги включает вагоны,
погруженные в местном сообщении, и вагоны, поступившие под выгрузку с других
отделений, т.е.
в
= Uмс + Uвв, ваг.; (5.2)
в
= 230 + 506 = 736 вагонов.
Приём гружёных вагонов складывается из вагонов,
поступивших под выгрузку, и транзита гружёных, т.е.
пргр
= Uвв + Uтр, ваг.; (5.3)
Uпргр = 506 + 900 = 1406
вагонов.
Сдача гружёных включает вагоны, погруженные на
выход, и транзит гружёных, т.е.
сдгр
= Uвыв + Uтр, ваг.; (5.4)
сдгр
= 398 + 900 = 1298 вагонов.
Работа вагонного парка отделения дороги
определяется суммой погруженных и принятых гружёных вагонов или суммой
выгруженных и сданных гружёных вагонов, т.е.
р
= Uп + Uпргр = Uв + Uсдгр,
ваг.; (5.5)
р
= 628 + 1406 = 736 + 1298 = 2034 вагонов.
Оборот вагонов определяю по трёхчленной формуле
путём суммирования времени нахождения вагонов в движении lоб/Vуч,
на технических станциях lоб/Lтехн ∙ tтехн
и под грузовыми операциями Км ∙ tгр:
Өв = (1/24) / (lоб/Vуч
+ lоб/Lтехн ∙ tтехн + Км ∙
tгр). (5.6)
Для определения оборота вагона предварительно
необходимо рассчитать значение всех элементов, его составляющих, а именно:
а) гружённый рейс, км
гр
= ∑ n ∙ Sгр / Uр, (5.7)
б) порожний рейс, км
пор
= ∑ n ∙ Sпор / Uр. (5.8)
где ∑ n ∙ Sгр, ∑ n ∙
Sпор - соответственно, суммарный ваг-км пробег гружёных и порожних
вагонов, определяемый из рис. 1.2 и 1.3, умножая все отправленные вагоны со
всех технических станций отделения на проходимое расстояние. При этом для
вагонов, зарождающихся или погашаемых на участке, расстояние условно принимается
равным половине длины участка.
Тогда
∑ n ∙ Sгр = (0,5*109*1052
+ 109*900) + (0,5*118*1574 + 118*900) = =354500 ваг-км.
∑ n ∙ Sпор = 0,5*109*780
+ 0,5*118*826 = 91244 ваг-км.
Общий ваг-км пробег
∑ n ∙ Sо = ∑ n ∙
Sгр + ∑ n ∙ Sпор = 354500 + 91244 = 445744 ваг-км.
Тогда гр = 354500 / 2034 = 174 км.пор
= 91244 / 2034 = 45 км.
в) полный рейс, км
о
= (∑n∙Sгр + ∑n∙Sпор) / Uр
= lгр + lпор = (l + α)∙lгр,
(5.9)
где α - коэффициент
порожнего пробега
α = ∑n∙Sпор
/ ∑n∙Sгр, (5.10)
α = 91244 / 354500 = 0,26
lо = (354500 + 91244)/2034 =174 + 45
= (1 + 0,26)*174 = 219 км.
Для определении оборота вагона рассчитываю
вагонное плечо, коэффициент местной работы, простои транзитных вагонов без
переработки и с переработкой и местных вагонов под одной грузовой операцией.
Lтех = (∑n∙Sгр
+ ∑n∙Sпор) / ∑nтех; (5.11)
Км = Uп + Uв /
Uр; (5.12)
∑nтех = ∑nтр +
∑nпер, (5.13)
где ∑nтр, ∑nпер
- соответственно, количество транзитных вагонов без переработки и с
переработкой отправленных с технических станций (ст. А,N,С), в том числе порожних.
Значения ∑nтр, ∑nпер определяю из данных
табл. 2.1 (отправительские маршруты) и оптимального плана формирования поездов
(рис. 2.2 и 2.3).
∑nтр = 1023/230 + 1200/230 +
1360/230 = 3583/690 вагона.
∑nпер = 89/108 + 90/167 + 0 =
179/275 вагонов.
∑nтех =3583/690 + 179/275 =
3762/965 вагонов.тех = (354500 + 91244)/(3762/965) = 94,3 км
Км = (628 + 736)/2034 = 0,67.
Средний простой транзитного вагона на одной
технической станции определяю по формуле:
тех
= (∑nтр∙tтр + ∑nпер∙tпер)
/ ∑nтех, (5.14)
где tтр, tпер -
соответственно, средний простой транзитного вагона на станции без переработки и
с переработкой (из задания), ч.
Тогда тех = (3583/690*2,3 +
179/275*5,4) / 3762/965 = 2,6 часа.
Средний простой местного вагона под одной
грузовой определяю по формуле:
гр
= (∑nму ∙ tгру + ∑nмст
∙ tгрст) / Uм, (5.15)
где tгру, tгрст
- соответственно, средний простой местного вагона под одной грузовой операцией
на промежуточных (из табл. 3.3) и технических станциях (задание);
∑nму, ∑nмст
- соответственно, суммарное количество местных вагонов на участках и
технических станциях отделения;м - количество местных вагонов на
отделении, учавствующих в грузовых операциях (из табл. 1.2).гр =
{(42 + 52)*6,8 + 236*8,6 + 227*8,6 + 270*8,6}/827 = 8,3 часа.
Технические нормы рабочего парка вагонов, их
производительность и среднесуточные пробеги определяю по формулам:
nр
= θв ·
Uр,
вагоно-суток; (5.16)
Sв
= lо
/ θв, км/сут; (5.17)
Wв
= P*lнт
/ nр,
ткм нт / вагон (5.18)
где Plнт
=
∑nSгр(qбр
- qт)
- тонно-км нетто;
qбр
- масса вагона брутто, т;
qт
- масса тары вагона (по заданию).
Подставив данные, получаю:
θв
= 1/24(219/52,3 + 219/94,3*2,6 + 0,67*8,3) = 0,65 суток.
nр
= 0,65*2034 = 1322 вагоно-суток.
Sв
= 219 / 0,65 = 143 км/сут.
Plнт
= 354500(76 - 22) = 35343000 ткм нт.
Wв
= 35343000 / 1322 = 26735 ткм нт / вагон.
Полученные технические нормы эксплуатационной
работы отделения перевозок свожу в таблицу 5.1.
Таблица 5.1. Показатели работы отделения
перевозок
|
Показатель
|
Условное
обозначение
|
Величина
|
|
1
|
2
|
3
|
|
Погрузка,
вагон Выгрузка, вагон Приём: гружёных (порожних), вагон Сдача: гружёных
(порожних), вагон Работа отделения перевозок, вагон Коэффициент порожнего
пробега Скорости, км/ч: участковая техническая Оборот вагона (гружёных,
порожних, местных), сут Оборот локомотива, ч Рабочий парк вагонов (гружёных,
порожних, местных), вагон Простой вагона, ч: - на технических станциях - под
грузовыми операциями Производительность, ткм нт: - вагона - локомотива
Эксплуатируемый парк локомотивов, лок Среднесуточный пробег, км/сут - вагона
- локомотива
|
Uп Uв Uпр.гр (Uпр.пор) Uсд.гр (Uсд.пор) Uр α Vуч Vтех
θв θл nр t tтех
tгр W Wв Wл Мл S
Sв Sл
|
628
736 1406 1298 2034 0,26 52,3 62,9 0,65 7,2 1322 2,6 8,3 26735 3140127 11
143 724
|
6. Техническая
деталь
.1 Способы
усиления провозной и пропускной способности
Провозную и пропускную способность линии можно
увеличить как повышением массы поезда, так и увеличением размеров движения.
Наиболее эффективны комплексные решения - увеличение массы поезда и пропускной
способности в поездах. Для изучения технико-экономических характеристик
способов усиления пропускной и провозной способности линии условно различают
меры, увеличивающие провозную способность при тех же размерах движения, и меры,
увеличивающие пропускную способность в поездах при той же массе. К первой
группе мероприятий (увеличение массы) относятся:
увеличение мощности локомотивов, используемой на
повышение норм массы поездов (замена локомотива более мощным, двойная тяга,
подталкивание);
удлинение станционных путей с одновременным
усилением тяги или улучшением использования существующих локомотивов;
организация движения блок-поездов с различными
схемами формирования локомотивов и составов: ЛСС, ЛССЛС, ЛЛСС и др.;
уплотнение погрузки и использование
большегрузных вагонов;
смягчение профиля пути и снижение сопротивления
движению.
Ко второй группе мероприятий (увеличение числа
поездов) относятся:
увеличение ходовых скоростей движения;
уменьшение длины перегонов;
более совершенные устройства автоматики и связи;
уплотнение графика движения поездов (частично-пакетное
движение, организация движения соединённых поездов, снижение съёма грузовых
поездов срочными и др.);
сооружение дополнительных главных путей (вторые
пути на отдельных перегонах и сплошные, двухпутные вставки для безостановочных
скрещений и обгонов поездов и др.).
Одно из наиболее эффективных комплексных
мероприятий - замена тепловозной тяги электрической, при которой всегда
существенно увеличиваются скорости движения и в определённых условиях
повышается масса поезда. Наряду с пропускной и провозной способностью перегонов
в необходимых случаях увеличивают пропускную способность и других элементов
комплекса технических устройств железнодорожных линий: станций, устройств
электроснабжения, локомотивного хозяйства, железнодорожного пути.
Следует отметить, что овладеть возрастающими
перевозками можно не только увеличивая наличную провозную способность, но и
сокращая потребную, рационализируя транспортные связи между регионами в
условиях рынка. До выбора способов усиления пропускной и провозной способности
необходимо принять меры к устранению нерациональных перевозок, правильному
распределению грузопотоков между различными видами транспорта, а также
максимальному сокращению сезонной, месячной и суточной неравномерности работы.
Способы увеличения пропускной и провозной способности железных дорог надо
выбирать, всесторонне оценивая их технические, эксплуатационные и экономические
показатели. При этом разработке мероприятий, требующих существенных капитальных
затрат, должно предшествовать тщательное рассмотрение возможностей улучшения
использования наличных технических средств, применения передовых методов и
приёмов труда, изыскания резервов.
Все способы увеличения пропускной и провозной
способности зависят от размеров капиталовложений и затраты времени на их осуществление.
Они могут быть условно подразделены на организационно-технические (не требующие
больших капиталовложений и времени на их осуществление) и реконструктивные. К
первой группе относятся: применение пакетных графиков, пачковая прокладка
пассажирских поездов, подталкивание и двойная тяга, организация соединенных
поездов и др. сущность этих способов заключается в увеличении массы поездов или
пропускной способности в поездах. Ко второй группе относятся меры
реконструктивного характера, когда существенно меняются постоянные устройства
железной дороги. Эти меры требуют серьёзной проектной разработки, их введение
связано с необходимостью вкладывать весьма значительные капиталовложения и
выполнять строительные работы. Например:
корректировка размещения раздельных пунктов;
открытие дополнительных разъездов;
введение безостановочного скрещения поездов на
раздельных пунктах, на двухпутных вставках посередине перегона или превращение
линии в частично двухпутную с размещением двухпутных вставок на заданную пропускную
способность независимо от расположения существующих разъездов;
строительство вторых путей на отдельных
перегонах, лимитирующих пропускную способность;
сооружение вторых путей [17].
.2 Электрификация железных дорог - комплексное
решение проблем её дальнейшего развития
Переход железнодорожной отрасли на рыночные
отношения требует коренного изменения системы введения и управления
эксплуатацией локомотивов, углубления коммерциализации и широкого внедрения
маркетинга и менеджмента. То есть должна осуществляться политика,
обуславливающая оптимальное использование локомотивов для реализации услуг с
наименьшими затратами и получения прибыли.
Внедрение электрической тяги позволит изменить
условия и характер работы железной дороги, при этом потребуется совершенствование
форм и методов их эксплуатации.
На протяжении десятилетий электрическая тяга
доказывала свою надёжность и жизнеспособность. Поэтому сегодня настала пора
более активно распространять электрификацию на грузонапряжённые участки. При
реализации программы модернизации транспорта страны проект электрификации
железнодорожного транспорта занимает не последнее место. Задачи данного проекта
- определить полигоны электрификации железных дорог, сроки ввода отдельных
линий и участков, потребные инвестиции, экономию эксплуатационных расходов. В
среднем по сети себестоимость перевозок электрической тягой ниже чем при
тепловозной на 60 %. Серьёзное преимущество электрической тяги - экономия
нефтяного топлива, мировые запасы которого ограничены. Также преимуществом
электрической тяги в настоящее время является неудовлетворительное состояние
тепловозного парка, изношенность которого составляет в среднем по сети около 75
%.
Возможности дальнейшего перевода вагонопотоков с
тепловозных на существующие электрифицированные ходы ограничены, да и не всегда
целесообразны по условиям сохранения жизнедеятельности некоторых направлений, а
также по специальным условиям. Существенно увеличить загрузку полигона
электрической тяги можно дальнейшей электрификацией ряда железнодорожных линий
и участков.
Итак, основные задачи данного проекта -
повышение уровня эксплуатационной работы, в том числе скоростей движения
поездов, увеличение весов и длин составов, сокращение работы тепловозного парка
и частичное высвобождение этих локомотивов, уменьшение эксплуатационных
расходов, достижение требуемого уровня экологической чистоты в зоне железных
дорог, обеспечение населения городов и пригородов наиболее удобным видом
транспорта (электропоезда).
Переводить на электрическую тягу, в первую
очередь, надо наиболее загруженные направления и участки, а также
соединительные линии между электрифицированными направлениями для унификации
видов тяги. Электрификация предусматривается, в основном, на переменном токе.
Это около 90% протяжения, преимущественно по системе с экранирующими и
усиливающими проводами, что уменьшает количество тяговых подстанций и затраты
на внешнее электроснабжение.
Электрификация для Казахстана - это ещё и
альтернативный вариант обновления локомотивного парка. Суть этого варианта
сводится к следующему: при наличии большого числа неиспользуемых электровозов
(в эксплуатационном парке числится 443 электровоза, ежесуточно выдаётся под
поезда 170) использовать средства, необходимые для пополнения тепловозного
парка, на электрификацию наиболее загруженных тепловозных направлений (ходов).
При этом решаются две задачи: переход на более прогрессивные перевозочные
технологии; использование имеющихся электровозов, система эксплуатации которых
достаточно хорошо отработана на железных дорогах Казахстана [25].
Вся ценность электрификации состоит в том, что
за, казалось бы частным вопросом сменой вида тяги - тянется решение цепи
проблем. В результате следует оздоровление всего организма магистрали и региона
в целом (Лист №7 ГЧ). Так, глобальная электрификация позволит значительно шире
использовать локомотивы большей мощности, а именно вместо тепловозов -
современные электровозы. Благодаря этому повысятся пропускная и провозная
способность дороги, увеличатся скорости движения поездов и их весовые нормы.
Колоссальное преимущество электрической тяги -
практически ничем не ограниченная мощность, которую может получить в любой
момент электрический локомотив. Поэтому электровоз может обеспечить высокую
скорость движения на самых тяжёлых подъёмах. Применение рекуперативного
торможения позволяет применять большие скорости на крутых спусках при высокой
степени надёжности и дополнительной экономии энергии. Создаются удобные и
экономически выгодные условия для снабжения электрической энергией от электрических
станций через контактную сеть рефрижераторных поездов, пассажирских поездов с
кондиционированием воздуха и т.п., то есть во всех случаях, когда при
тепловозной тяге пришлось бы возить передвижную электростанцию, потребляющую
дизельное топливо.
К настоящему времени протяжённость
электрифицированных железнодорожных линий в Казахстане составляет около 28 %, и
на их долю приходится порядка 54 % от объёма всех железнодорожных перевозок. В
целом такой уровень электрификации железных дорог считается низким. По
современным расчётам, оптимальным представляется обеспечение перевозок на
электрической тяге на уровне 85 %. Для достижения оптимального уровня
электрификации железной дороги необходимо перевести на электрическую тягу
дополнительно к уже электрифицированным линиям около 3000 км железных дорог
[25].
.3 Сравнение эффективности применения
электрической тяги на переменном и постоянном токе
Размеры движения N,
пар поездов в сутки, рассчитываются по Объём работы Σ
Plбр, ткм брутто,
включает тонно-километры нетто и тонно-километры тары и определяется в данном
случае следующим образом.
Рассчитывается отношение веса поезда брутто к
весу поезда нетто. Грузонапряжённость брутто в гружёном направлении - это
величина, равная произведению данного расчётного коэффициента на
грузонапряжённость нетто. Разность грузонапряжённости брутто и нетто даёт
тонно-километры тары, приходящиеся на 1 км линии. Эта величина при равенстве
вагонопотоков в грузовом в грузовом и порожнем направлении будет одинакова для
каждого направления. Поэтому грузонапряжённость брутто на 1 км линии в порожнем
направлении составит сумму заданной грузонапряжённости нетто в этом направлении
и тонно-километров тары на 1 км линии. Суммарная грузонапряжённость брутто в
т/км в год в грузовом и порожнем направлении, умноженная на всю
эксплуатационную длину линии, даст объём работы Σ Plбр,
млн. ткм брутто.
Линейный пробег локомотивов с учётом линейного
вспомогательного пробега в данном случае может быть получен умножением
рассчитанного показателя ∑NL
во гл п на коэффициент k
в лин, учитывающий вспомогательный линейный пробег.
Для переменного тока: ∑М Sлин
= 5244878,61
Для постоянного тока: ∑М Sлин
= 5763791,49
Месячная норма работы бригады определяется по
формуле:
Lбр = 2L
τ
п ; 6.12
Для постоянного тока:
Ч = 2 · 61,34 + 0,13 · 61,34 = 130,65 раб.
Расход электроэнергии для электрификации на
переменном токе:
∙ 132 = 31518960 кВт·ч
Расход электроэнергии для электрификации на
постоянном токе:
∙ 134 = 31842420 кВт·ч
Капитальные затраты рассчитываются по элементам
следующим образом:
а) стоимость парка электровозов рассчитывается
по формуле:
Клок = Цл Мэ + Цл Мэ (Рл + Ррез); 6.17
где Цл - стоимость одного электровоза, тыс.тг.;
Мэ - эксплуатируемый парк электровозов, ед.;
Рл - коэффициент, учитывающий электровозы,
находящиеся в
ремонте; принимаем равным 0,04;
Ррез - коэффициент, учитывающий электровозы,
находящиеся в резерве; принимаем равным 0,1.
Для переменного тока:
Клок = 16500 · 19 + 16500 · 19 ·(0,04 + 0,1) =
357390 тыс.тг.
Для постоянного тока:
Клок = 14450 · 22 + 14450 · 22 ·(0,04 + 0,1) =
362406 тыс.тг.
б) капитальные затраты на вагонный парк
определяются по рассчитанному ранее потребному парку вагонов и стоимости одного
четырёхосного вагона:
для переменного тока К ваг = 1025 · 700 = 717500
тыс.тг. ;
для постоянного тока К ваг = 1091 · 700 = 763700
тыс.тг.
в) капитальные затраты на электрификацию
определяются по стоимости укрупнённых элементов сметы электрификации на 1 км
эксплутационной длины и общего протяжения линии.
для переменного тока К ваг =
(1500+800+300+310+450+800) ·492 =
= 2046720 тыс.тг.;
для постоянного тока К ваг =
(1800+350+180+310+450+1200) ∙ 4920
= 2110680 тыс.тг.
На переменном токе:
К = 357390 + 717500 + 2046720 = 3121610 тыс.тг.
На постоянном токе:
К = 362406 + 763700 + 2110680 = 3236786 тыс.тг.
Сравниваем стоимость капитальных затрат в общей
стоимости электрификации на постоянном и переменном токе:
общая стоимость капитальных затрат на переменном
токе ниже, чем на постоянном (Кпер < Кпост) на 115176 тыс.тг.
Из расчётов видно, что стоимость всех отдельных
элементов затрат на переменном токе ниже, чем на постоянном:
а) стоимость парка электровозов Кпер < Кпост
на 5016 тыс.тг.;
б) капитальные затраты на вагонный парк Кпер
< Кпост на 46200 тыс.тг.;
в) капитальные затраты на электрификацию Кпер
< Кпост на 63960 тыс.тг.;
Если при сравнении учитывать сокращение
стоимости грузовой массы «на колёсах» при системе переменного тока, то
расчётная стоимость грузовой массы при данной системе ниже на 28288 тыс.тг.
Тогда сумма капитальных затрат на переменном токе составит 3555370 тыс.тг., при
постоянном - 3698835,7 тыс. тг. Общая стоимость капитальных затрат с учётом
стоимости грузовой массы «на колёсах» в системе электрификации на переменном
токе на 143465,7 тыс.тг. ниже, чем на постоянном.
Расходы по электроэнергии для тяги поездов
определяются по рассчитанной ранее общей потребной электроэнергии по вариантам
систем тока и соответствующим тарифам на электроэнергию.
Для системы переменного тока: 31518960 ∙ 5
= 157594,8 тыс. тг.
Для системы переменного тока: 31842420 ∙ 5
= 159212,1 тыс. тг.
Расходы на оплату локомотивных бригад включают
годовой фонд заработной платы ФЗП яв, рассчитываемый для явочного контингента
машинистов и помощников машинистов, и дополнительную заработную плату ДЗП
локомотивных бригад на оплату работников, находящихся в отпуске, выполняющих
государственные и общественные задания.
Дополнительная заработная плата принимается
равной 10% от ФЗП яв, т.е. ДЗП = ФЗП яв ∙ 0,1
Сумма фонда заработной платы рабочих локомотивных
бригад и дополнительной заработной платы составит фонд заработной платы ФЗП сп
на списочный контингент работников:
ФЗП сп = ФЗП яв + 0,1 ∙ ФЗП яв = 1,1 ФЗП
яв. (6.19)
Фонд заработной платы явочного контингента
локомотивных бригад рассчитывается умножением среднемесячной заработной платы З
пл на явочный контингент отдельно машинистов и помощников машинистов.
Труд рабочих локомотивных бригад грузового
движения оплачивается по сдельно-премиальной системе. Среднемесячная заработная
плата рабочих локомотивных бригад состоит из месячной тарифной ставки,
приработка, доплат, премии и выплаты выслугу лет. Среднемесячная заработная
плата принимается равной: для машинистов 40000 тг. в месяц, для помощников
машинистов 30000 тг. в месяц.
Рассчитываем расходы на оплату локомотивных
бригад.
Для системы электрификации на переменном токе:
ФЗП яв = 53 ∙ 40000 + 53 ∙ 30000 =
3710 тыс. тг.;
дополнительная заработная плата:
ДЗП = 0,1 ∙ 3710000 = 371000 тг.
Для системы электрификации на постоянном токе:
ФЗП яв = 62 ∙ 40000 + 62 ∙ 30000 =
4340 тыс. тг.;
дополнительная заработная плата:
ДЗП = 0,1 ∙ 4340000 = 434 тыс. тг.
Фонд заработной платы на списочный контингент
работников.
Для системы электроснабжения на переменном токе:
ФЗП сп = 1,1 ∙ 3710000 = 4081 тыс. тг.
Для системы электроснабжения на постоянном токе:
ФЗП сп = 1,1 ∙ 4340000 = 4774 тыс. тг.
Размер отчисления на социальные нужды для
локомотивных бригад принимается равным 37% от фонда заработной платы списочного
контингента.
Для переменного тока: 4081 ∙ 0,37 = 1509,97
тыс. тг.
Для постоянного тока: 4774 ∙ 0,37 =
1766,38 тыс. тг.
Амортизационные отчисления на локомотивы состоят
из отчислений на реновацию (полное восстановление). Отчисления на реновацию
необходимо подсчитать по норме (квоте), которая равна 5,8 % от полной их
стоимости. Размер амортизационных отчислений на локомотивы определяется по
формуле:
А = 0,058 · Клок (6.20)
Для переменного тока:
А = 0,058 · 357390 = 20728,6 тыс. тг.
Для постоянного тока:
А = 0,058 · 362406 = 21019,5 тыс. тг.
Расходы на содержание и ремонт вагонов следует
определить по заданным расходам на один вагон в год и количеству вагонов.
Стоимость всех видов ремонта, осмотра и смазки вагонов составляет в среднем
25000 тг. Отчисления на реновацию вагонов принимаем в размере 3,5 % от их стоимости.
Переменный ток.
Отчисления на реновацию:
· 0,035 = 24,5 тыс. тг.
Расходы на содержание и ремонт вагонов:
Рваг = 25 · 1025 · 24,5 = 627812,5 тыс. тг.
Постоянный ток.
Отчисления на реновацию:
· 0,035 = 24,5 тыс. тг.
Расходы на содержание и ремонт вагонов:
Рваг = 25 · 1091 · 24,5 = 668237,5 тыс. тг.
Расходы на содержание, ремонт и амортизацию
устройств электроснабжения определяем по развёрнутой длине линии и заданной
норме расходов на 1 км линии в год.
Переменный ток:
Рус.. эл = 165 · 492 = 81180 тыс. тг.
Постоянный ток:
Рус. эл = 230 · 492 = 113160 тыс. тг.
Определяем общую сумму эксплуатационных
расходов.
Для электрификации на переменном токе:
Э = 157594,8 + 4081 + 1509,9 + 20728,6 + 627812
+ 81180 =
= 892906,3 тыс. тг.
Для электрификации на постоянном токе:
Э. = 159212,1 + 4774 + 1766,4 + 21019,5 +
668237,5 + 113160 =
= 968169,5 тыс. тг.
Приведённые строительно-эксплутационные затраты
С прив определяются для условий применения переменного и постоянного тока по
формуле:
С прив = Э + Ен (К + М) ;(6.21)
где Э - эксплутационные расходы за год, тыс. тг.
;
К - капитальные вложения, тыс. тг. ;
Ен - нормативный коэффициент эффективности
капитальных вложений; принимаем Ен = 0,1;
М - стоимость грузовой массы «на колёсах», тыс.
тг.
Для условий применения переменно тока:
С прив = 892906,3 + 0,1 ∙ (3121610 +
433760,97) = 1248443,4
Для условий применения переменно тока:
С прив = 968169,5 + 0,1 ∙ (3236786 +
462049,73) = 1338053,1
Годовой экономический эффект от применения
одного варианта по сравнению с другим равен разнице соответствующих показателей
приведённых затрат.
С = 1338053,1 - 1248443,4 = 89609,7
Выполняем анализ всех показателей, сравнивая
технико-экономические показатели вариантов электрификации участка на переменном
и постоянном токе. Для этого составляем таблицу 6.1.
Таблица 6.1. Технико-экономические показатели
вариантов электрификации железнодорожного участка при переменном и постоянном
токе.
|
Показатель
|
Единица
измерения
|
При
переменном токе
|
При
постоянном токе
|
Абсолютное
(+ ; -)
|
к
постоянному току, %
|
|
Технико-эксплуатационные
показатели: Участковая скорость Вес поезда нетто Среднесуточный пробег
электровозов Эксплуатационный парк локомотивов Общий пробег локомотивов
Суточная потребность в четырёхосных вагонах Количество локомотивных бригад
Расход электрической энергии
|
км/ч
т км/сут лок. тыс. лок.-км ваг. бр. кВт ∙ ч
|
49
4100 974 19 5693 1025 53 31518960
|
46
3730 924 22 6258,22 1091 62 31842420
|
+
3 + 370 + 50 - 3 - 565 - 66 - 9 -323460
|
6,5
9,9 5,4 13,6 9 6 14,5 1
|
|
Капитальные
затраты: Стоимость парка электровозов Стоимость вагонов Капитальные затраты
на электрификацию Стоимость груза «на колёсах»
|
тыс.
тг. тыс. тг. тыс. тг. тыс. тг. тыс. тг.
|
3121610
357390 717500 2046720 433761
|
3236786
362406 763700 2110680 462050
|
-
115176 - 5016 - 46200 - 63960 - 28289
|
3,5
1,3 6 3 6,1
|
|
Эксплутационные
расходы: Стоимость электроэнергии для тяги поездов Заработная плата
локомотивных бригад Отчисления на социальное страхование локомотивных бригад
Амортизационные отчисления на локомотивы Расходы на содержание и ремонт
вагонов Расходы на содержание, ремонт и амортизацию устройств
электроснабжения
|
тыс.
тг. тыс. тг. тыс. тг. тыс. тг. тыс. тг. тыс. тг. тыс. тг.
|
892906,3
157594,8 4081 1509,97 20728,6 627812,5 81180
|
968169,5
159212,1 4774 1766,38 21019,5 668237,5 113160
|
-
75263,2 -1617,3 - 693 - 256,41 - 290,9 - 40425 - 31980
|
7,7
1 14,5 14,5 1,2 6,0 28,3
|
|
Приведённые
строительно-эксплуатационные затраты Годовой экономический эффект
|
тыс.
тг.
|
1248443,4
|
1338053
|
-
89609,7 89609,7
|
6,6
6,6
|
7. Управление безопасностью движения и контроль
за ее обеспечением
Реформирование железнодорожного транспорта
предусматривает появление большого числа независимых участников перевозочного
процесса, деятельность которых влияет на безопасность движения поездов. С
учетом этого обстоятельства и на основе фактического уровня обеспечения
безопасности движения 16 марта 2005 г. состоялось расширенное заседание
правления АО «НК «КТЖ», на котором рассматривался вопрос «О состоянии безопасности
движения, дополнительных мерах по стабилизации обстановки и выработки
предложений по совершенствованию действующей системы, направленной на
предупреждение аварийности на сети железных дорог».
В аппарате АО «НК «КТЖ» считают, что в наиболее
короткие сроки можно достичь существенного повышения уровня безопасности
перевозок, прежде всего, в результате реализации мероприятий, направленных на
предотвращение нарушений технологических процессов обслуживания и ремонта
технических средств и подвижного состава хозяйств пути, вагонного и
локомотивного.
К таким мероприятиям следует отнести в первую
очередь следующие:
автоматизированный пооперационный контроль
(надзор) за своевременностью и качеством исполнения технологических процессов
включая контроль за работой персонала;
автоматизированный контроль остаточного ресурса
технических средств;
автоматизированный расчет фактических и
прогнозируемых показателей безопасности перевозок;
автоматизированная выработка оперативных
рекомендаций по предотвращению нарушений условий безопасности перевозок.
Такая постановка задачи базируется на том, что
эти функции реализуются Автоматизированной системой управления безопасностью
движения (АСУ БД), поэтапное внедрение которой началось с 2006 г. на опытных
полигонах.
Внедрение системы не требует больших капитальных
и эксплуатационных затрат, так как ее реализация базируется на уже имеющихся на
сети железных дорог системах получения и передачи необходимой для этих целей
информации через АСУ хозяйств по мере их разработки и внедрения. Поскольку
система УБД находится в стадии организации, приходится говорить о требованиях,
предъявляемых к ней.
Эти требования обусловливаются, во-первых,
структурной реформой системы управления перевозочным процессом и вызываемой
этой реформой существенным изменением правовой среды функционирования системы
управления; во-вторых, необходимостью повышения эффективности мер, снижающих
отрицательное влияние «человеческого» фактора на безопасность перевозок.
Учитывая упомянутые выше факторы, а также положения
и требования международных нормативных актов и законов РК, можно сформулировать
следующие требования к процессу управления безопасностью перевозок пассажиров и
грузов. Такие требования приведены на схеме, рис. 7.1.
С учетом изложенных выше требований процедура
управления безопасностью перевозок должна включать ряд этапов с целью
реализации мероприятий, отсутствующих в действующем процессе управления. Эти
этапы изображены на рис. 7.2.
В структуре АСУ БД предусматриваются
автоматизированные устройства для фиксации и сбора информации, ее обработки и
передачи для последующего анализа и выработки оперативных или долгосрочных мер
повышения безопасности перевозок. При этом необходимо обеспечить обнаружение и
идентификацию всех видов опасных дестабилизирующих факторов (ОДФ), определение
доли каждого вида ОДФ или вероятность его возникновения. Далее следует
определить наиболее эффективные методы предотвращения возникновения или
развития ОДФ, если они уже возникли. Система АСУ БД позволяет также определять
показатели безопасности перевозочного процесса и путем сравнения их с
нормативными установить нарастающую опасность в том или ином элементе
перевозочного процесса или на том или ином участке транспортной системы. Сбор,
обработку и передачу необходимой информации о технических и аппаратных
средствах, выполнении технологических операций железных дорог обеспечивают
аппаратно-программные комплексы (АПК) на основе первичной информации,
получаемой с АСУ отдельных хозяйств, системы АСОУП, АРМ РБ и других источников.
Рис. 7.1 Требования к системе управления
безопасностью перевозок: БП - безопасность перевозок; БФТС - безопасность
функционирования технических средств; ЭЖТ - эксплуатация железнодорожного
транспорта
Рис. 7.2. Этапы управления безопасностью
перевозок: БППиГ - безопасность перевозок пассажиров и грузов, ТС - технических
средств
Далее через сеть Intranet эта информация
поступает в аналитический центр железных дорог, где обобщается, обрабатывается
по специальным программам, и результаты обработки передаются в ГВЦ АО «НК «КТЖ»
для аналогичной обработки в целом по сети железных дорог.
Полученные результаты расчета показателей
безопасности перевозок необходимы также для осуществления надзорных функций
контролирующих и управляющих подразделений транспортной системы и для принятия
этими органами в АО «НК «КТЖ» и на железных дорогах конкретных мер по
результатам рекомендаций, полученных в АСУ БД.
В рамках создания и внедрения в практическую
работу АСУ БД в каждом хозяйстве должны быть разработаны конкретные, с учетом
специфики хозяйства, системы как составные части АСУ БД. Так, в хозяйстве
перевозок осуществлена разработка комплексной системы повышения безопасности
движения (КС БД ЦД).
Такая система включает в себя составные части:
автоматизированную систему месячного
комиссионного осмотра (АС КМО);
автоматизированную систему
техническо-распорядительного акта станции (АС ТРА);
автоматизированную информационную систему
ревизора движения отдела перевозок отделения железной дороги (АИС ДНЧ);
автоматизированную информационную систему
начальника станции (АИС ДС).
Каждая из перечисленных систем обеспечивает
решение ряда самостоятельных задач, но при их решении использует в качестве
исходной информации результаты смежных систем. Таким образом, все многообразие
входных данных преобразовывается в единую общую информационную модель, хранимую
в базе данных.
Комплексный подход к обеспечению безопасности на
станции с использованием КС БД ЦД ориентирован, прежде всего, на строгое
соблюдение технологии работы станции согласно нормативным актам, принятым в
отрасли. Поэтому правомерно говорить о технологическом подходе в создании КС БД
ЦД, которая позволяет осуществлять повседневный контроль за соблюдением правил
БД работниками хозяйства перевозок, оперативно принимать меры по предотвращению
нарушений, угрожающих БД, обучать оперативный персонал и анализировать текущее
состояние БД, основываясь не только на информации о состоявшихся случаях брака
в работе.
Таким образом, ключевыми фигурами в системе КС
БД ЦД являются начальник станции (ДС) и ревизор движения отдела перевозок
(ДНЧ). Новым в этой системе являются паспорт безопасности станции (ПБС), в
котором отражаются случаи брака в работе данной станции.
ПБС предназначен для комплексной оценки уровня
опасности конкретного вида брака и позволяет выявить «узкие» места в ОБД на
станции, а также формулировать конкретные мероприятия по предотвращению браков
в поездной и маневровой работе.
Заключение
поезд железный дорога электрификация
Задачей дипломного проектирования являлась
организация работы отделения перевозок железной дороги. То есть, необходимо
было определить среднесуточные гружёные и порожние вагонопотоки, рассчитать
состав поезда, организовать отправительские маршруты, рассчитать оптимальный
план формирования для сортировочных и участковых станций, организовать местную
работу на участках отделения и разработать график движения поездов. Все эти
вопросы в проекте решены.
Работа отделения перевозок составила Uр
=
2034 вагонов в сутки, из которых 900 вагонов - это транзитный вагонопоток.
Состав гружёного поезда составил 60 вагона, порожнего - 70 вагон. В
отправительские маршруты организовано 580 вагонов, в технические - 1193 вагона.
Также разработан оптимальный план формирования для технических станций
отделения в чётном и нечётном направлениях с указанием вагонопотоков на каждом
участке направления.
В третьем разделе рассчитывается местная работа
и выбирается наиболее рациональная схема взаимного расположения сборных поездов
на участках, которая обеспечивает наименьшую сумму вагоно-часов простоя вагонов
на промежуточных станциях.
В четвёртом разделе были рассчитаны
станционные интервалы при заданных условиях, определена наличная и потребная
пропускная способность участков и разработан график движения поездов с
предоставлением технологического окна, продолжительностью 60 мин, в светлое
время суток. Показатели разработанного графика движения поездов следующие:
техническая скорость Vтех = 62,9
км/ч; участковая скорость Vуч = 52,3 км/ч; эксплуатируемый парк
локомотивов составил 11 локомотивов; средний простой локомотивов в пунктах
оборота
часа;
производительность локомотива 3140127 ткм бр/ лок-сут.
Раздел деталь проекта
рассматривает вопрос повышения пропускной способности отделения перевозок за
счет электрификации линии. В экономической части производится сравнение вариантов
электрификации железнодорожного участка при переменном и постоянном токе.
Из расчётов технико-эксплутационных показателей
вариантов железнодорожного участка при переменном и постоянном токе видно, что
при варианте электрификации на переменном токе увеличивается среднесуточный
пробег электровозов при уменьшении эксплуатационного парка локомотивов, общего
пробега локомотивов, суточной потребности в четырёхосных вагонах, количества
локомотивных бригад, что приводит к экономии средств и большей эффективности
работы.
Из расчётов эксплуатационных расходов при
вариантах электроснабжения при переменном и постоянном токе можно сделать
вывод, что вариант системы переменного тока ведёт к уменьшению общих
эксплуатационных расходов, получаемых из уменьшения стоимости электроэнергии
для тяги поездов, уменьшения заработной платы локомотивных бригад, уменьшения
отчислений на социальное страхование, амортизационных отчислений на локомотивы,
расходов на содержание и ремонт вагонов, расходов на содержание, ремонт и
амортизацию устройств электроснабжения.
Более выгоден вариант электроснабжения на
переменном токе и при учёте капитальных затрат. Уменьшается стоимость парка
электровозов, стоимость вагонов, стоимость сооружения контактной сети, груза на
«колёсах» и т.д.
Из расчётов хорошо видно, что вариант системы
электроснабжения на переменном токе превосходит вариант системы
электроснабжения на постоянном токе практически по всем экономическим
показателям, и при выборе и определении сравнительной эффективности, данная
система электроснабжения является наиболее выгодной и экономически эффективной.
В разделе «Управление безопасностью движения и контроль
над ее обеспечением» рассмотрена Автоматизированная система управления
безопасностью движения (АСУ БД).
Литература
1. Баранов A.M., Козлов В.Е.,
Фельдан Э.Ю. Развитие пропускной и провозной способности однопутных линий.
Труды ВНИИЖТа, вып. 280. - М.: Транспорт, 1964.
. Бекжанов З.С. и др. Оформление и
разработка графика движения поездов. Учебное пособие. 1998.
. Бекжанов З.С. Разработка плана
формирования поездов. Методические указания. - Алматы, 1999.
. Инструктивные указания по
организации вагонопотоков на железных дорогах СССР. - М.: Транспорт, 1984, 255
с.
. Инструкция по расчету наличной
пропускной способности железных дорог. - М.: Транспорт, 1991.
. Инструкция по оперативному
планированию поездной и грузовой работы железной дороги, отделений дорог и
станций. ПД/3797. - М.: Транспорт, 1981.
. Инструкция по определению
станционных и межпоездных интервалов. - М.: Транспорт, 1994.
. Каретников А.Д., Воробьёв Н.А.
График движения поездов. - М.: Транспорт, 1979.
. Кулманов К.А. Определение скоростных
показателей графика движения поездов. Методическое пособие. Т., 1962.
. Правила тяговых расчетов для
поездной работы. М.: Транспорт, 1985.
. Сибаров Ю.Г., Дегтярёв В.О.,
Ефремова Т.К. Охрана труда на железнодорожном транспорте. - М.: Транспорт,
1981.
12. Сметанин А.И. Техническое
нормирование эксплуатационной работы железных дорог. - М.: Транспорт, 1984, 295
с.
.Сотников И.Б. Эксплуатация железных
дорог: в примерах и задачах. - М.: Транспорт, 1990 г.
. Строительные нормы и правила. СНиП
23-05-95
. Технико-экономические расчеты в
эксплуатации железных дорог (в примерах и задачах)/ Под ред. И.Б. Сотникова.
М.: Транспорт, 1983, - 254 с.
. Угрюмов А.К., Кудрявцев В.А.,
Грошев Г.М., Платонов Г.А. Оперативное управление движением на железнодорожном
транспорте. - М.: Транспорт, 1983, - 239 с.
. Управление эксплуатационной
работой и качеством перевозок на железнодорожном транспорте»: Учебник для вузов
/ П.С. Грунтов и др. Под ред. П.С. Грунтова. - М.: Транспорт, 1994 г.
. Управление эксплуатационной работой
железных дорог. Учебное пособие для вузов / Кочнев Ф.П.; Сотников И.Б.-М:
Транспорт, 1990 г.
. Инструкция по проектированию
станций и узлов на дорогах общей сети Союза ССР. - М.: Транспорт, 1978. - 171
с.
. Правила тяговых расчетов для
поездной работы. - М.: Транспорт, 1969. - 276 с.
. Справочник эксплуатационника / Под
ред. Н.А. Гундобина. - М.: Транспорт, 1980. - 255 с.
. Суходоев В.С., Мамаев Ф.П.,
Логинов С.И. Проектирование участковых станций: Методическое пособие. -
Ленинград: ЛИИЖТ, 1985. - 52 с.
. Проектирование железнодорожных
станций и узлов: Справочное и методическое руководство / Под ред. А.М. Козлова.
- М.: Транспорт, 1981. - 592 с.
. Кудрявцев В.А. Управление
движением на железнодорожном транспорте: учеб. пособие для вузов ж.-д. трансп./
В.А. Кудрявцев. - М.: Маршрут, 2003.- 199с.: ил.- (Высшее профессиональное
образование).
. Организация и управление движением
на железнодорожном транспорте: учеб. для студентов учреждений сред. проф.
образования/ В.А. Кудрявцев, В.И. Бадах, К.А. Белов и др.; Под ред. В.А.
Кудрявцева.- М.: "Академия", 2006. - 427с.
. Основы эксплуатационной работы
железных дорог: учеб. пособие для студ. учреждений сред. проф. образования/
В.А. Кудрявцев, В.И. Ковалёв, А.П. Кузнецов и др.; Под ред. В.А. Кудрявцева.-
2-е изд., стереотип. - М.: "Академия", 2005. - 350с.
. Заглядимов Д.П. Организация
движения на железнодорожном транспорте. - М.: Транспорт, 1985.
. Сотников И.Б. Эксплуатация
железных дорог (в примерах и задачах). - М.: Транспорт, 1984.
. Эксплуатационная работа станций и
отделений: учеб. пособие для техникумов и колледжей железнодорожного
транспорта/ Э.З. Бройтман, М.С. Боровикова, А.Т. Осьминин, А.М. Сизых; Под ред.
Э.З. Бройтмана.- М.: Желдориздат, 2002. - 423с.
. Методическое пособие по выполнению
курсового проекта «Организация эксплуатационной работы отделения перевозок
железной дороги», Петько М.А., КСТУ, 2007.