Система питания двигателя КамАЗ–740
ВВЕДЕНИЕ
Камский автомобильный завод -
компания, производитель дизельных грузовых автомобилей и дизелей, действующий с
1976 года <https://ru.wikipedia.org/wiki/1976_%D0%B3%D0%BE%D0%B4>. В
настоящее время также выпускает автобусы, тракторы, комбайны, электроагрегаты,
тепловые мини электростанции и комплектующие. Основное производство расположено
в городе Набережные Челны
<https://ru.wikipedia.org/wiki/%D0%9D%D0%B0%D0%B1%D0%B5%D1%80%D0%B5%D0%B6%D0%BD%D1%8B%D0%B5_%D0%A7%D0%B5%D0%BB%D0%BD%D1%8B>
Республики Татарстан
<https://ru.wikipedia.org/wiki/%D0%A2%D0%B0%D1%82%D0%B0%D1%80%D1%81%D1%82%D0%B0%D0%BD>.
В 1960-х годах
<https://ru.wikipedia.org/wiki/1960-%D0%B5> экономика СССР
<https://ru.wikipedia.org/wiki/%D0%AD%D0%BA%D0%BE%D0%BD%D0%BE%D0%BC%D0%B8%D0%BA%D0%B0_%D0%A1%D0%A1%D0%A1%D0%A0>
нуждалась в увеличении парка грузовых автомобилей
<https://ru.wikipedia.org/wiki/%D0%93%D1%80%D1%83%D0%B7%D0%BE%D0%B2%D0%BE%D0%B9_%D0%B0%D0%B2%D1%82%D0%BE%D0%BC%D0%BE%D0%B1%D0%B8%D0%BB%D1%8C>,
особенно современного типа с грузоподъёмностью от 8 до 20 тонн с более
экономичным дизельным двигателем. Существующие автомобильные заводы эту
потребность восполнить не могли.
Технический проект КамАЗа был
разработан институтом «Гипроавтопром» и проектным управлением КамАЗа совместно
с ведущими предприятиями и организациями СССР
<https://ru.wikipedia.org/wiki/%D0%A1%D0%A1%D0%A1%D0%A0>: институтом
«Промстройпроект» Госстроя СССР
<https://ru.wikipedia.org/wiki/%D0%93%D0%BE%D1%81%D1%81%D1%82%D1%80%D0%BE%D0%B9_%D0%A1%D0%A1%D0%A1%D0%A0>
и «Гипродвигателем
<https://ru.wikipedia.org/wiki/%D0%93%D0%B8%D0%BF%D1%80%D0%BE%D0%B4%D0%B2%D0%B8%D0%B3%D0%B0%D1%82%D0%B5%D0%BB%D1%8C>»
(Ярославль).
Строительно-монтажные работы начаты
с февраля 1970 года
<https://ru.wikipedia.org/wiki/1970_%D0%B3%D0%BE%D0%B4>. Темпы
строительства комплекса заводов возрастали. В начале 70-х КамАЗ был объявлен
ударной комсомольской стройкой.
Первый автомобиль КамАЗ сошёл с
главного сборочного конвейера
<https://ru.wikipedia.org/wiki/%D0%9A%D0%BE%D0%BD%D0%B2%D0%B5%D0%B9%D0%B5%D1%80>
16 февраля
<https://ru.wikipedia.org/wiki/16_%D1%84%D0%B5%D0%B2%D1%80%D0%B0%D0%BB%D1%8F>
1976 года <https://ru.wikipedia.org/wiki/1976_%D0%B3%D0%BE%D0%B4> -
бортовой КамАЗ-5320
<https://ru.wikipedia.org/wiki/%D0%9A%D0%B0%D0%BC%D0%90%D0%97-5320>. Этот
автомобиль сохранился, он был передан потребителям, долгое время работал в
Башкортостане
<https://ru.wikipedia.org/wiki/%D0%91%D0%B0%D1%88%D0%BA%D0%BE%D1%80%D1%82%D0%BE%D1%81%D1%82%D0%B0%D0%BD>,
позже был выкуплен музеем завода и восстановлен, оставлен в качестве музейного
экспоната.
По состоянию на 2010 год КамАЗ
занимал восьмое место в мире по объёмам выпуска дизельных двигателей[2]
<https://ru.wikipedia.org/wiki/%D0%9A%D0%B0%D0%BC%D0%90%D0%97>. ОАО
«КамАЗ» занимает 9-е место среди ведущих мировых производителей тяжёлых
грузовых автомобилей.
Устройство
и назначение системы питания двигателя КамАЗ - 740
Образование горючей смеси у дизелей
происходит не так, как у карбюраторных. У дизелей при такте впуска в цилиндры
поступает чистый воздух, который сжимается там в 15 - 20 раз. В двигателях
автомобилей КамАЗ - в 17 раз. За счет повышения давления температура воздуха
достигает 600 - 900 градусов.
Образование горючей смеси происходит
внутри цилиндра, куда топливо впрыскивается форсункой под давлением. Это
давление значительно превышает давление сжатого в цилиндре воздуха. Скорость
истечения топлива из форсунки достигает 150... 400 м/с. В результате трения о
воздух струя топлива дробится на мелкие капли диаметром 0,002...0,003 мм.
Мелкораспыленное топливо быстро испаряется и сгорает. Угол конуса распылителя
зависит в основном от формы и размеров сопла, давления впрыска, вязкости
топлива и давления воздуха в цилиндре. У дизелей смесеобразование происходит за
20...40° поворота коленчатого вала и составляет всего лишь 0,001 ...0,004 с,
т.е. в 10-15 раз меньше, чем у карбюраторных двигателей. При таком ограниченном
времени однородная качественная смесь может быть получена только при достаточно
хорошем распылении и испаряемости топлива.
Для получения горючей смеси,
способной быстро и полностью сгорать, нужно, чтобы топливо было распылено на
возможно более мелкие частицы. Горение происходит только в присутствии
кислорода, поэтому каждая частица топлива должна быть окружена необходимым для
полного сгорания количеством кислорода воздуха. Это очень сложный процесс, и
для его осуществления приходится наполнять цилиндр гораздо большим количеством
воздуха, чем это требуется для полного сгорания топлива. Коэффициент избытка
воздуха у дизелей достигает 1,2-1,65.
Чтобы уменьшить избыточное
количество воздуха и повысить среднее эффективное давление и литровую мощность
дизеля, необходимо улучшать смесеобразование. Этого можно добиться следующими
мерами: форму камеры сгорания подобрать такую, чтобы она полнее обеспечивала
распыление и перемешивание топливного факела, выходящего из сопел форсунки, с
воздухом; создавать в камерах сгорания вихревое движение воздуха для наилучшего
обеспечения распыления и перемешивания топлива с воздухом еще до момента
самовоспламенения, что способствует более полному сгоранию топлива; путем
оптимизации давления впрыска, давления воздуха в камере сгорания, направления
выброса струй топлива из сопел форсунки добиваться максимально тонкого
распыления топлива, что способствует лучшему испарению и горению топлива; за счет
конструкции распылителей форсунок и формы камер сгорания добиваться однородного
распыления топлива в виде капель примерно одинаковых размеров; дальнобойность
выбрасываемых струй из сопел форсунок должна иметь требуемую величину.
Дальнобойность топливного факела увеличивается при повышении давления впрыска и
уменьшается при возрастании давления в камере сгорания за счет повышения
сопротивления газовой среды проникновению частиц топлива.
Особенностью работы дизеля является
то, что при различных оборотах коленчатого вала количество воздуха,
поступающего в цилиндры двигателя, почти не меняется, а изменяется количество
впрыскиваемого топлива. Из-за этого при малой частоте вращения коленчатого вала
воздуха бывает достаточно с избытком, и топливо сгорает полностью. При
увеличении частоты вращения коленчатого вала количество топлива, подаваемого в
цилиндры, увеличивается, а количество воздуха в цилиндре остается постоянным и
даже из-за уменьшения времени на такт впуска несколько уменьшается. В
результате уменьшается коэффициент избытка воздуха и ухудшается процесс
сгорания топлива. Чтобы дизель обладал наилучшими мощностными и экономическими
показателями, впрыск топлива в цилиндр нужно начинать еще до прихода поршня в
верхнюю мертвую точку (ВМТ) примерно за 10...20°, считая по обороту коленчатого
вала.
Распространению использования
дизелей на грузовых автомобилях способствуют их высокая топливная экономичность
по сравнению с карбюраторными двигателями, надежность и возможность работы на
более дешевом и тяжелом (менее опасном) топливе.
К системе питания дизельного
двигателя относятся топливо- и воздухоподводящая аппаратура, выпускной
газопровод и глушитель шума отработавших газов. В двигателе КамАЗ - 740
используется топливоподводящая аппаратура раздельного типа, у которой топливный
насос высокого давления и форсунки конструктивно выполнены отдельно и соединены
топливопроводами. Топливоподача осуществляется по двум основным магистралям:
низкого и высокого давления. Назначение механизмов и узлов магистрали низкого давления
состоит в хранении топлива, его фильтрации и подачи под малым давлением к
насосу высокого давления. Механизмы и узлы магистрали высокого давления
обеспечивают подачу и впрыскивание необходимого количества топлива в цилиндры
двигателя.
Топливная
аппаратура
Основными механизмами и узлами
топливной аппаратуры двигателя КамАЗ - 740 являются: топливный насос высокого
давления, топливоподкачивающий насос низкого давления, муфта опережения
впрыскивания топлива, форсунки, расположенные в головках цилиндров, топливный
бак, фильтр грубой очистки топлива, фильтр тонкой очистки топлива,
топливопроводы низкого давления, топливопроводы высокого давления, сливные
топливопроводы.
Рис. 1. Схема системы питания дизеля
топливом:
- форсунка; 2 - выпускной
трубопровод; 3 - топливопровод высокого давления; 4 - топливный насос высокого
давления; 5 - топливопровод низкого давления; 6 - фильтр тонкой очистки
топлива; 7 - подкачивающий насос низкого давления; 8 - фильтр грубой очистки топлива;
9 - топливный бак; 10 - поршень; 11 - впускной клапан; 12 - топливопровод
перепуска излишнего топлива.
Привод насоса высокого давления
осуществляется от распределительного вала двигателя посредством зубчатой
передачи. Вал привода установлен в подшипниках, закрытых крышкой. При помощи
автоматической муфты опережения впрыскивания он соединяется с кулачковым валом
насоса, на заднем конце которого под крышкой смонтирован всережимный регулятор
частоты вращения коленчатого вала двигателя.
Взаимодействие механизмов и узлов
топливной аппаратуры, а также циркуляция топлива в них происходят следующим
образом. Топливоподкачивающий насос низкого давления через топливопровод
засасывает топливо из бака через фильтр грубой очистки и нагнетает его под
избыточным давлением по топливопроводу в фильтр тонкой очистки. Из этого
фильтра по топливопроводу топливо поступает к насосу высокого давления, откуда
оно под высоким давлением по топливопроводам подаётся в соответствии с порядком
работы двигателя к его форсункам, через которые впрыскивается в цилиндры.
Неиспользованное топливо и попавший в систему воздух отводятся через
перепускной клапан насоса высокого давления и клапан-жиклер фильтра тонкой
очистки по сливным топливопроводам. Из форсунок лишнее топливо по топливопроводам
поступает в бак через тройник и топливопровод.
У дизелей автомобилей ЗИЛ - 4331 и
семейства КамАЗ к топливной системе присоединено электрофакельное устройство
для облегчения их пуска в условиях отрицательных температур. В это устройство
входят факельные свечи, устанавливаемые во впускном трубопроводе и служащие для
подогрева воздуха, поступающего в цилиндры.
Система
питания двигателя воздухом
Система питания двигателя воздухом
предназначена для забора воздуха из атмосферы, очистки его от пыли и распределения
по цилиндрам.
Основными механизмами и узлами
воздухоподводящей аппаратуры двигателя КамАЗ - 740 являются: воздушный фильтр,
патрубок забора воздуха, расположенный в задней части оперения с установленной
над ним пластмассовой панелью, предохраняющей от попадания в фильтр влаги и
посторонних предметов, гофрированный воздухозаборник, соединяющий фильтр с
патрубком капота.
Воздух через воздухозаборник
поступает в первую ступень фильтра с инерционной решеткой для предварительной
очистки. Здесь направление движения потока воздуха резко изменяется, в
результате крупные частицы под действием центробежных сил и вакуума в патрубке,
соединенном с эжектором глушителя, выбрасываются в атмосферу. Очищенный от
крупных механических частиц воздух поступает во вторую ступень фильтра с
бумажным фильтрующим элементом. Проникая через поры фильтрующего элемента,
воздух оставляет на его поверхности мелкие частицы пыли и, окончательно
очищенный, через трубопроводы поступает в цилиндры двигателя.
В системе питания двигателя воздухом
на впускном трубопроводе установлен индикатор засоренности воздушного фильтра.
По мере засорения воздушного фильтра увеличивается разрежение во впускном
трубопроводе. Если разрежение достигает величины 0,007 МПа, срабатывает
индикатор. При этом в его смотровом окне появляется красный участок барабана,
который остается в таком положении и после остановки двигателя. Это сигнал к
замене воздушного фильтра.
Система автоматической очистки
воздушного фильтра предназначена для отсоса пыли из фильтра и выброса ее через
эжектор в атмосферу. Отсос пыли осуществляется за счет разрежения в патрубке,
соединенном с эжектором глушителя, а затем она выбрасывается в атмосферу.
Система состоит из эжектора и трубопроводов, соединяющих воздушный фильтр с
эжектором. Эжектор установлен на выпускном патрубке глушителя и крепится к
кронштейну топливного бака.
Рис. 2. Система подачи и очистки
воздуха:
- колпак; 2 - труба
воздухозаборника; 3 - индикатор; 4 - левый впускной трубопровод; 5 - входная
труба; 6- воздухоочиститель; 7- патрубок отсоса пыли; 8- выходная труба; 9 -
борт кузова; 10 - кабина.
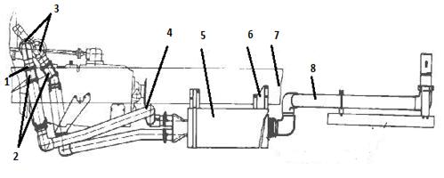
Система
выпуска отработанных газов
Система выпуска отработанных газов
Камаз-740 предназначена для выброса в атмосферу отработавших газов. Она состоит
из двух выпускных коллекторов, двух приемных труб, гибкого металлического
рукава, глушителя.
Рис. 3. Система выпуска отработанных
газов:
- соединительные патрубки; 2 -
натяжные фланцы; 3 - турбокомпрессоры; 4, 8 - трубы выпуска отработавших газов;
5 - глушитель; 6 - кронштейны крепления глушителя; 7 - лонжерон рамы; 8 -
приёмная труба.
Каждый выпускной коллектор
обслуживает ряд цилиндров и крепится к блоку цилиндров тремя болтами.
Коллекторы Камаз-740 соединены с головками цилиндров патрубками. Разъемное
выполнение соединения коллектор-патрубок-головка позволяет компенсировать
тепловые деформации, возникающие при работе двигателя.
Приемные трубы Камаз-740 объединены
тройником и соединены с глушителем гибким металлическим рукавом, который
компенсирует погрешности сборки и температурные деформации деталей системы. В
каждой приемной трубе установлена заслонка вспомогательной моторной тормозной
системы.
Глушитель шума выпуска Камаз-740
активно-реактивный, неразборной конструкции. Активный глушитель работает по
принципу преобразования звуковой энергии в тепловую, что осуществляется
установкой на пути газов перфорированных перегородок, в отверстиях которых
поток газов дробится и пульсация затухает.
Рис. 4. Глушитель шума выпуска:
-труба перфорированная; 2-фланец
упорный; 3-фланец натяжной; 4-стенка передняя; 5-корпус; 6-патрубок выпускной;
7-стенка задняя.
В реактивном глушителе Камаз-740
используется принцип акустической фильтрации звука. Этот глушитель представляет
собой ряд акустических камер, соединенных последовательно.
Турбонаддув
Система турбонаддува Камаз-740
состоит из двух взаимозаменяемых турбокомпрессоров, компрессоров, впускных и
выпускных коллекторов и патрубков.
Турбокомпрессор Камаз-740 установлен
на выпускных коллекторах по одному на каждый ряд цилиндров. Уплотнение газовых
стыков между установочными фланцами турбокомпрессоров и коллекторами
осуществляется прокладками из жаропрочной стали.
Труба выпуска отработавших газов
крепится к турбокомпрессору Камаз-740 с помощью натяжных фланцев, а
герметичность соединений обеспечивается асбостальной прокладкой. Подшипники
турбокомпрессора смазываются от системы смазывания двигателя.
Турбокомпрессор Камаз-740 ТКР 7 -
агрегат, объединяющий центростремительную турбину и центробежный компрессор.
Турбина преобразовывает энергию газов в работу сжатия воздуха компрессором.
Рис. 5. Турбокомпрессор:
- подшипник; 2 - экран; 3-корпус
компрессора; 4 - диффузор; 5, 19 - кольцо уплотнительное; 6 - гайка; 7 -
маслоотражатель; 8 -колесо компрессора; 9 - экран маслосбрасывающий; 10, 18 -
крышки; 11 - корпус подшипника; 12 - фиксатор; 13 -переходник; 14 - прокладка
асбостальная; 15 - экран турбины; 16 - колесо турбины; 17 - корпус турбины
Вращающаяся часть турбокомпрессора
Камаз-740 - ротор - состоит из колеса, турбины с валом, колеса компрессора и
маслоотражателя, закрепляемых на валу гайкой.
Ротор турбокомпрессора Камаз-740
вращается в подшипнике, представляющем собой плавающую невращающуюся
моновтулку, удерживается от осевого и радиального перемещений фиксатором,
который вместе с переходником является маслоподводящим каналом.
В корпусе подшипника устанавливаются
стальные крышки и маслосбрасывающий экран , который вместе с невращающимися
упругими разрезными уплотнительными кольцами предотвращает течь масла из
полости корпуса подшипника.
Корпуса турбины и компрессора
Камаз-740 крепятся к корпусу подшипника с помощью болтов и планок. Для
уменьшения теплопередачи от корпуса турбины турбокомпрессора Камаз-740 к
корпусу подшипника между ними установлен чугунный экран турбины и асбостальная
прокладка.
Диффузор и экран образуют канал, по
которому воздух после сжатия в колесе подается во внутреннюю полость корпуса.
Основные
механизмы и узлы системы питания двигателя КамАЗ - 740
Топливный бак.
Топливный бак состоит из двух
штампованных и сварных половин из листовой стали. Внутри бака вварены
перегородки, придающие ему необходимую жесткость. В нижней части, перегородок
имеются вырезы для прохождения топлива в отсеки. В верхнюю часть бака вварена
горловина для заливки топлива.
В верхнюю часть основного бака
вмонтированы поплавковый датчик электрического указателя уровня топлива и
расходный кран с фильтром. Бак оборудован крышкой, подобной радиаторной, с
двумя клапанами и прокладкой, обеспечивающей его герметичность.
Рис. 6. Топливный бак:
- наливная горловина с крышкой; 2 -
пробка сливного отверстия; 3 - расходный кран: 4 - сетчатый фильтр; 5 -
перегородка; 6- фильтр-отстойник; 7- топливопровод; 8 - датчик уровня топлива;
9 - корпус.
Фильтр
грубой очистки топлива
Фильтр грубой очистки топлива
очищает топливо от крупных механических примесей. Фильтр, устанавливаемый на
дизеля имеет сетчатый фильтрующий элемент, состоящий; из отражателя и латунной
сетки с ячейками размером 0,09 мм. Фильтрующий элемент смонтирован на резьбовой
втулке, которая: ввернута в корпус и прижимает к нему распределитель потока
топлива, имеющий восемь равномерно расположенных по окружности отверстий.
Во время работы двигателя топливо
подводится в фильтр через трубку и отверстия распределителя. Затем оно стекает
вниз через кольцевую щель между отражателем и стенкой стакана. Часть; топлива
по инерции попадает под успокоитель, где оседают крупные механические примеси и
вода, находящаяся в топливе. Через центральное отверстие успокоителя топливо
поднимается вверх к сетке фильтрующего элемента. Пройдя через сетчатый элемент,
оно очищается от мелких механических примесей и поступает через центральное
отверстие корпуса к отводящей трубке.
В фильтре грубой очистки топлива
карбюраторных двигателей в качестве фильтрующего элемента используют набор
пластин, изготовленных из алюминиевой ленты толщиной 0,15 мм. В пластинах выполнены
выступы высотой 0,05 мм; отверстия для прохода топлива и два отверстия для
фиксирующих стержней.
Топливо поступает в фильтр через
входное отверстие и попадает в стакан. Поскольку скорость движения топлива в
стакане резко уменьшается по сравнению со скоростью в топливопроводах, вода и
крупные механические примеси отстаиваются и оседают на дно. Для периодического
слива отстоя служит пробка. Топливо проходит в щель между пластинами и через
отверстия в пластинах выходит очищенным в отводящее отверстие. Частицы крупнее
0,05 мм задерживаются фильтром.

- пробка сливного отверстия; 2 -
колпак; 3 - успокоитель; 4 - фильтрующий элемент; 5 - корпус фильтрующего
элемента; 6 - распределитель топлива; 7 - болт; 8 - фланец; 9 - уплотнительное
кольцо; 10 - корпус.
питание двигатель
топливо газ
Фильтр
тонкой очистки топлива
Фильтр тонкой очистки состоит из
крышки и двух колпаков, внутри которых приварены центральные трубки, имеющие в
нижней части выход наружу. Эти отверстия служат для удаления отстоя и
закрываются пробками. На трубки надеваются фильтрующие элементы, изготовленные
из специальной бумаги. Снизу на этих трубках фильтрующие элементы уплотнены,
чтобы топливо не могло проходить между трубками и элементами. К крышкам
фильтрующие элементы поджимаются пружинами.
В крышке фильтра имеется
клапан-жиклер с пружиной и пробкой клапана. Этот клапан открывается при
избыточном давлении в полости, и излишнее топливо по сливному трубопроводу стекает
в топливный бачок предпускового подогревателя.
Топливо в фильтры тонкой очистки под
давлением поступает из подкачивающего насоса низкого давления, продавливается
через фильтрующие элементы, где очищается от мельчайших механических примесей,
и через канал в крышке и трубопровод отводится в насос высокого давления.
С течением времени фильтрующие
элементы засоряются и их гидравлическое сопротивление возрастает. Поэтому
фильтрующие элементы необходимо периодически заменять, а фильтрующую сетку
фильтра грубой очистки очищать и промывать.
Рис. 8. Фильтр тонкой очистки
топлива:
- пробка сливного отверстия; 2 -
фильтрующий элемент первой ступени; 3 - фильтрующий элемент второй ступени; 4 -
продувочный вентиль; 5 -крышка; 6 - корпус.
Топливный
насос высокого давления
Топливный насос высокого давления
обеспечивает равномерную подачу строго дозированных порций топлива в каждый
цилиндр двигателя в соответствии с порядком работы цилиндров и заданным
режимом.
Топливный насос высокого давления
оборудован топливоподкачивающим насосом низкого давления, автоматической муфтой
опережения впрыска топлива и двухрежимным или всережимным механическим
регулятором частоты вращения коленчатого вала двигателя. Каждый цилиндр
двигателя обслуживается отдельным топливным насосом высокого давления. Для
удобства работы и обслуживания все они собраны в общем корпусе и именуются
секциями топливного насоса высокого давления.
Основными деталями топливного насос
высокого давления является корпус, внутри которого на шариковых подшипниках и
установлен кулачковый вал. Каждая секция насоса имеет втулку плунжера и
плунжер. Над втулкой плунжера установлен нагнетательный клапан. Втулка
плунжера, плунжер и нагнетательный клапан с седлом изготовлены с высокой
точностью и представляют собой прецизионные пары, заменять одну деталь на
другую в этой паре не допускается. Замену можно производить только в комплекте.
К верхнему торцу втулки плунжера штуцером прижато седло нагнетательного
клапана. К резьбовому концу штуцера с помощью накидной гайки прикреплен
топливопровод высокого давления. Второй конец этого трубопровода соединен с
форсункой. Плунжер через роликовый толкатель опирается на кулачки кулачкового
вала. Плунжер имеет возвратную пружину. Пружина своим нижним концом через
разрезную шайбу действует на плунжер, а верхний конец упирается через шайбу в
корпус. На втулке плунжера имеются впускное и перепускное отверстия. Для
изменения количества подаваемого в цилиндр топлива на плунжере сделана винтовая
проточка, а также продольное сверление с выходом радиального сверления в
верхнюю часть винтовой проточки. Для управления подачей топлива имеется
зубчатая рейка и зубчатый сектор, находящиеся в зацеплении. Кулачковый вал
получает вращение от муфты привода топливного насоса.
Каждая секция работает от кулачка
распределительного вала. На кулачок опирается ролик толкателя, помещенного в
корпус насоса. На пяту толкателя опирается плунжер. К толкателю плунжер
прижимается пружиной. Пружина одним концом упирается в опорную шайбу, а через
нее в опорную втулку. Другой конец пружины опирается на тарелку. Тарелка имеет
разрез, а плунжер кольцевую проточку для этой тарелки. Плунжер входит во втулку
плунжера. Втулка имеет впускное отверстие и перепускное отверстие.
Над втулкой плунжера устанавливается
штуцер нагнетательного клапана. Плунжер имеет поворотную втулку и зубчатую
рейку. Для изменения количества топлива, подаваемого в цилиндр двигателя, на
плунжере имеется спиральная канавка, а также внутренний продольный канал с
выходом через радиальное сверление в верхнюю часть спиральной канавки.
При сбегании кулачка
распределительного вала с роликового толкателя толкатель опускается. Под
действием пружины вслед за толкателем опускается и плунжер. При опускании
плунжер сначала открывает впускное отверстие во втулке плунжера, через которое
за счет давления, создаваемого подкачивающим насосом, внутрь втулки поступает
топливо.
После открытия перепускного
отверстия излишки топлива через канал отвода топлива возвращаются в топливный
бак. При дальнейшем вращении распределительного вала кулачок начинает набегать
на роликовый толкатель и поднимает его, а вместе с ним поднимается плунжер. При
подъеме плунжер сначала закрывает перепускное отверстие, а затем и впускное
отверстие. Моментом закрытия этого отверстия определяется начало подачи топлива
к форсунке.
После закрытия впускного отверстия
давление топлива в над-плунжерном пространстве возрастает, и, когда оно
достигает величины 1,6 - 1,8 МПа, нагнетательный клапан, сжимая пружину,
отходит от седла клапана, и топливо по трубопроводу высокого давления поступает
к форсунке. При дальнейшем движении плунжера вверх давление в топливопроводе
возрастает, и при достижении величины 16 - 19 МПа происходит впрыск топлива
форсункой в камеру сгорания. Продолжая движение вверх, плунжер своей винтовой
спиральной канавкой открывает перепускное отверстие во втулке, соединенное с
отводным каналом. При открытии выходного канала топливо из надплунжерного
пространства через осевое отверстие в плунжере и диаметральное отверстие
отводится в топливный бак. Давление топлива над плунжером резко уменьшается и
нагнетательный клапан под действием пружины закрывается. При опускании клапана
до посадки на седло происходит увеличение объема пространства за клапаном и
резкое падение давления в трубопроводе. Этим обеспечивается быстрая посадка в
седло иглы распылителя форсунки и резкая отсечка подачи топлива в цилиндр.
Количество подаваемого плунжером
топлива определяется длиной хода нагнетания, который изменяется поворотом
плунжера относительно втулки, т.е. изменением положения спиральной канавки на
плунжере относительно канала отвода топлива. Чем раньше спиральная канавка
совпадает с каналом отвода топлива, тем меньше топлива будет впрыснуто в
цилиндр и, следовательно, будет меньше частота вращения коленчатого вала двигателя,
и наоборот.
К корпусу топливного насоса высокого
давления в задней части прикреплен регулятор частоты вращения коленчатого вала.
В зависимости от нагрузки двигателя он автоматически изменяет количество
подаваемого в цилиндры топлива и поддерживает частоту вращения коленчатого
вала, заданную водителем с помощью педали управления регулятором.
Рис. 9. Топливный насос высокого
давления:
- рычаг корректора пусковых подач; 2
- фирменная табличка; 3 - вытеснитель топлива; 4 - штуцер топливного насоса; 5
- пружина нагнетательного клапана; 6 - нагнетательный клапан; 7 - плунжер; 8 -
втулка плунжера; 9 - винты выпуска воздуха; 10 - поворотная втулка плунжера; 11
- зубчатый сектор; 12 - зубчатая рейка; 13 - регулировочные прокладки; 14 -
пружина; 15 - толкатель; 16 - корпус насоса; 17 - ролик толкателя; 18, 25 -
шариковые подшипники; 19 - кулачковый вал; 20 - крышка насоса; 21 - отводящий
масляный канал; 22 - опора кулачкового вала; 23 - подводящий масляный канал; 24
- топливоподкачивающий насос; 26 - уплотнительная манжета; 27 - крышка
подшипника; 28 - муфта опережения впрыскивания топлива; 29 - муфта привода
топливного насоса.
Форсунки
Форсунки обеспечивают впрыск
мелкораспыленного топлива под определенным давлением в камеры сгорания и четкую
отсечку подачи в конце впрыскивания. Давление впрыска топлива находится в
пределах 16-20 Мпа.
На дизелях применяют форсунки
нескольких типов: открытые и закрытые, с распылителем, имеющим одно, два или
несколько распыляющих отверстий (сопел). Сопла располагаются под определенными
углами, обеспечивающими тонкое распыление топлива. Закрытыми называются
форсунки с распыляющими отверстиями, закрытыми при помощи иглы. Эти отверстия
открываются только в момент впрыскивания топлива в камеры сгорания. В настоящее
время большинство дизелей имеет распылители форсунок с гидравлически
управляемой иглой. Диаметр распыляющих отверстий 0,34 мм.
Форсунка состоит из корпуса с
фильтрующим элементом и пружины. Сверху пружина упирается в опорную тарелку, а
снизу, через вкладыш, действует на иглу. Пружина находится в предварительно
сжатом состоянии. Давление пружины регулируется винтом. Регулировочный винт
удерживается от самопроизвольного вращения контргайкой. Регулировочный винт
имеет дренажный канал для слива просочившегося из корпуса распылителя топлива,
которое сливается обратно в топливный бак. Распылитель имеет два распыляющих
отверстия, которые закрываются иглой. Корпус распылителя вместе с иглой
крепятся к корпусу форсунки накидной гайкой. Проставка и корпус иглы
фиксируются в одном положении специальными штифтами. Форсунка установлена в
гнезде головки цилиндра и закреплена скобой.
Топливо к форсунке подается из
насоса высокого давления через канал внутрь корпуса распылителя, давление
внутри которого возрастает. Это давление передается на заплечики иглы. Когда
давление достигает величины 19 МПа (190 кгс/см2), игла, преодолевая
сопротивление пружины, поднимается, открывая распыляющие отверстия, через
которые топливо впрыскивается в камеру сгорания цилиндра в мелкораспыленном
виде.
Рис. 10. Форсунка:
- колпак; 2 - штуцер для
топливопровода; 3 - сетчатый фильтр; 4 - гайка распылителя; 5 - корпус
распылителя; 6 - игла распылителя; 7 - штифт; 8 - корпус; 9 - штанга; 10 - пружина;
11 - регулировочный винт; 12 - контргайка.
Воздушный
фильтр
При использовании воздушных фильтров
уменьшается изнашивание деталей цилиндропоршневой группы в несколько раз,
поскольку они очищают воздух от пыли, в которой содержатся твердые частицы. Наибольшее
распространение на автомобилях получили двухступенчатые инерционно-масляные
воздушные фильтры и сухие со сменными фильтрующими элементами.
На автомобилях КамАЗ устанавливается
сзади кабины. Фильтры снабжены сменным фильтрующим элементом с инерционной
решеткой. Фильтр состоит из корпуса, крышки фильтра, фильтрующего элемента,
патрубка отсоса пыли, входного патрубка, выходного патрубка. Забор воздуха
происходит через трубу воздухозаборника, прикрытую колпаком. От
воздухозаборника к фильтру идет входная труба, а от воздухоочистителя выходная
труба. В левой впускной трубе установлен индикатор состояния воздушного
фильтра. Воздух через воздухозаборник поступает внутрь фильтра и проходит через
пылеотстойник. Здесь задерживается основная масса крупных частиц пыли, которые
отсасываются через патрубок в глушитель. Затем воздух, меняя направление,
проходит через фильтрующий элемент, где осуществляется окончательная его
очистка. Чистый воздух из воздушного фильтра через соединительную трубу
поступает к впускным трубопроводам двигателя.
Рис. 11. Воздушный фильтр:
- корпус; 2 - фильтрующий элемент; 3
- выходной патрубок; 4 - патрубок системы отсоса пыли; 5 - защелка; 6 - крышка;
7 - гайка крепления фильтрующего элемента; 8 - держатель фильтрующего элемента;
9 - уплотнительное кольцо; 10 - входной патрубок.
Техническое
обслуживание системы питания двигателя КамАЗ - 740
Своевременное проведение
технического обслуживания двигателя нормализует работу автомобиля и позволяет
качественно и количественно увеличить срок его эксплуатации.
Для мелиоративной техники
предусмотрены следующие виды технического обслуживания: ежесменное обслуживание
(ЕТО), периодические технические обслуживания (ТО-1, ТО-2) и сезонное
техническое обслуживание (СТО).
Установлена периодичность
технического обслуживания: ЕТО - проводиться ежесменно перед началом работы и
по окончанию; ТО-1 - после 8000 км; ТО-2 - после 16000 км; СТО - два раза в год
при значительном сезонном изменении температур окружающей среды.
Основным назначением ежедневного
обслуживания является общий контроль за состоянием узлов и систем,
обеспечивающих безопасность движения и поддержание надлежащего внешнего вида.
Основным назначением первого,
второго и сезонного технических обслуживаний является выявление и
предупреждение неисправностей путем своевременного выполнения
контрольно-диагностических, крепежных, регулировочных и смазочно-очистительных
работ.
Ежесменное
техническое обслуживание (ЕТО)
Ежесменное техническое обслуживание
автомобиля выполняется раз в сутки перед выездом и по возвращении.
При ежедневном техническом
обслуживании перед поездкой проверяют наличие топлива в топливном баке и
отсутствие подтеканий топлива, т.е. герметичной всей системы на автомобиле.
Герметичность системы питания,
дизельного двигателя имеет особое значение. Так, подсос воздуха во впускной
части системы (от, бака до топливоподкачивающего насоса) приводит к нарушению
работы топливоподающей аппаратуры, а не герметичность части системы,
находящейся под давлением (от топливо подкачивающего насоса до форсунок)
вызывает подтекание и перерасход топлива.
Первое
техническое обслуживание (ТО-1)
При первом техническом обслуживании
следует проверить герметичность системы, слить отстой из фильтра-отстойника и
очистить его колпак.
Впускную часть топливной магистрали
проверяют на герметичность с помощью специального прибора-бачка. Часть
магистрали; находящуюся под давлением, можно проверять опрессовкой ручным
топливоподкачивающим насосом или визуально при работе двигателя на частоте
вращения холостого хода.
При ТО-1 проверяется также на
соответствие нормам токсичность отработавших газов.
При проведении операций технического
обслуживания более высокой ступени сначала выполняются все операции более
низких ступеней.
Второе техническое
обслуживание (ТО-2)
При втором техническом обслуживании
проводится регулирование форсунок и замена бумажных фильтрующих элементов
фильтров тонкой очистки топлива.
Форсунки регулируют на давление
подъема иглы на стенде в специализированной мастерской. Величина давления
зависит от применяемой модели форсунки. Регулирование начала давления подъема
иглы осуществляют вращением регулировочного винта, предварительно отвернув
колпак и опустив контргайку. Качество работы форсунки считается удовлетворительным,
если топливо распыливается до туманообразного состояния и равномерно
распределяется по поперечному конусу сечения струи и по каждому отверстию
распылителя. Начало и конец впрыскивания должны быть четкими, появление капель
на носке распылителя не допускается. Качество распыла проверяется при частоте
60 - 80 впрысков в минуту. При ТО-2 так же необходимо проверить крепление
топливного бака и деталей привода управления подачей топлива.
Контроль насоса высокого давления и
форсунок непосредственно на автомобиле проводят при превышении двигателем норм
по дымности и с целью выявления неисправностей и оптимизации технических
воздействий по обслуживанию и ремонту топливной аппаратуры. Наибольшее
распространение получил метод, основанный на анализе изменения давления,
фиксируемого при помощи специального датчика, устанавливаемого у форсунки в
разрыв нагнетательного топливопровода Диагностирование по указанному методу
осуществляется при помощи упрощенных аналоговых приборов с одним встраиваемым
датчиком и стробоскопом (типа К261), обеспечивающих определение частоты
вращения коленчатого вала двигателя, установочного угла опережения впрыска
топлива, возможности проверки качества работы регулятора частоты вращения и
автоматической муфты опережения впрыскивания топлива, а также давления начала
впрыскивания по каждому цилиндру ( при перестановке датчика). Меньшее
распространение имеют дизель-тестеры с осциллографом и одновременной установкой
датчиков на все форсунки из-за сложностей установки и снятия датчиков.
При отсутствии средств
диагностирования для снижения дымности необходимо провести трудоемкие
профилактические работы, в первую очередь по форсункам и насосу высокого
давления с их снятие и последующей переборкой.
Состояние сухих воздушных фильтров
проверяют по разрежению за фильтром при помощи водяного пьезометра.
Основные
неисправности системы питания двигателя КамАЗ - 740 и их ремонт
В процессе эксплуатации автомобиля
нужно обращать внимание на появляющиеся в работе двигателя отклонения от нормы:
стуки, перебои, потери мощности, затруднения при пуске. Указанные неисправности
чаще всего возникают в результате нарушения правил технического обслуживания
приборов системы питания и правил эксплуатации.
Работы по устранению причин
неисправностей системы питания сводятся к проверке нормальной циркуляции
топлива на всем пути от бака до форсунок, к обнаружению и ликвидации подсоса
воздуха в системе, а также к обеспечению нормальной работы топливной аппаратуры
ее регулировкой или разборкой и заменой отдельных неисправных деталей.
Для определения причины
неисправности осуществляется последовательная проверка систем и узлов
двигателя. Последовательность проверок установлена на основании длительных
исследований причин отказов и неисправностей двигателя согласно принципам: «от
наиболее вероятной причины - к менее вероятной», «от простой проверки - к
сложной». Такой подход обеспечивает быстрый поиск причины.
Итак, если двигатель не пускается
при заведомо исправной электрической системе пуска, следует проверить
поступление топлива к ТНВД. Это можно определить прокачиванием системы ручным
топливопрокачивающим насосом. Причиной неисправности может быть отсутствие
топлива в баке, засорение или негерметичность топливопроводов низкого давления.
Малейшая не плотность в соединениях на участке от топливного бака до
топливопрокачивающего насоса влечет за собой подсасывание воздуха, что
уменьшает подачу топлива или исключает ее совсем. Места неплотностей можно
обнаружить прокачиванием магистрали низкого давления топливоперекачивающим
насосом (прикладывается к другим принадлежностям к автомобилю) по подтеканию
топлива. После устранения подтеканий следует удалить воздух из системы питания,
прокачав ее ручным топливопрокачивающим насосом.
Если в магистрали низкого давления
подсоса воздуха нет, то необходимо убедиться в исправности топливного насоса
низкого давления. Для проверки работы насоса нужно отсоединить топливопровод,
подводящий топливо к фильтру тонкой очистки, и провернуть коленчатый вал
двигателя стартером. При исправном насосе топливо будет струей выходить из
топливопровода. В случае отсутствия струи насос неисправен, если при этом не
засорены топливопроводы, идущие к топливному баку, фильтрующий элемент фильтра
грубой очистки или топливозаборник.
При наиболее возможных
неисправностях насоса (поломка пружины или зависание поршня, попадание грязи
между седлом и клапаном) необходимо разобрать его, устранить неисправность и
проверить работу насоса на специальном стенде в мастерской перед установкой на
двигатель.
При исправном топливном насосе
затрудненный пуск двигателя может быть вызван заеданием в открытом положении
клапана-жиклера фильтра тонкой очистки топлива.
Если топливо поступает к ТНВД, а
двигатель не пускается, то причиной этого могут быть засоренные фильтры тонкой
очистки топлива и их следует заменить. При чистых фильтрующих элементах пуск
двигателя может быть затруднен нарушением регулировки угла опережения
впрыскивания топлива.
Если после проверок двигатель
по-прежнему не пускается, то вероятнее всего неисправны форсунки или ТНВД. В
топливном насосе высокого давления чаще всего может происходить заедание рейки,
поломка или ослабление пружины перепускного клапана, попадание грязи между
седлом и клапаном, изнашивание или зависание плунжерных пар и нагнетательных
клапанов и др. Эти неисправности можно выявить и устранить только в условиях
специализированной мастерской с использованием стендового оборудования, поэтому
форсунки и ТНВД необходимо снять и отправить в мастерскую.
В зимнее время возможны замерзание
воды в топливопроводах, фильтрах или на сетке заборника, повышенная вязкость
масла, в результате чего затрудняется перемещение рейки топливного насоса
высокого давления. В этом случае нужно попытаться осторожно прогреть
топливопроводы, фильтры топливный бак, топливный насос высокого давления с
помощью ветоши и горячей воды. Пользоваться открытым пламенем для прогрева
нельзя.
Охрана
труда при выполнении ремонтных работ
При выполнении ремонтных работ
необходимо выполнять следующие требования:
. Любые работы по ремонту и техническому
обслуживанию автомобиля необходимо проводить в просторном, хорошо вентилируемом
и освещенном помещении.
. Оборудование мастерской
(грузоподъемные механизмы, станки, электроинструменты) должно быть специально
приспособлено для выполнения ремонтных операций (например, для питания
переносных осветительных приборов желательно использовать источники низкого
напряжения - 36 или 12 В, а не 220 В).
. Не курите и не пользуйтесь
открытым огнем в помещении, где стоит автомобиль, находятся горюче-смазочные
материалы и пр.
. При работе со слесарным
инструментом используйте перчатки - они защитят руки не только от грязи, но и
от царапин и порезов.
. Любые работы снизу автомобиля
выполняйте в защитных очках.
. При проведении кузовного ремонта
(шпатлевка, покраска, шлифовка) надевайте респиратор и обеспечьте
дополнительную вентиляцию помещения.
. Работы, связанные со снятием и
установкой тяжелых узлов и агрегатов автомобиля, выполняйте с помощником.
. Емкости с горюче-смазочными и
лакокрасочными материалами, хранящимися в мастерской, всегда должны быть плотно
закрыты. Не допускайте нахождения таких материалов в зоне падения искр при
использовании металлорежущего инструмента.
. Не допускайте попадания масел
(особенно отработанных), антифриза и электролита на открытые участки кожи. В
случае попадания смойте как можно быстрее мыльным раствором.
. Не используйте для очистки кожи
рук бензин, дизельное топливо, растворители и т.п.
. Помните, что неправильное
обслуживание электрооборудования и топливной аппаратуры может привести к
пожару.
. Если вы не уверены в своих знаниях
по обслуживанию указанных систем, лучше обратитесь к специалистам. Если вы все
же решили выполнить работу самостоятельно, строго следуйте всем рекомендациям и
предупреждениям.
. Соблюдайте особую осторожность при
ремонте автомобилей, оснащенных подушками безопасности или преднатяжителями
ремней. Не пытайтесь самостоятельно ремонтировать узлы этих систем (электронный
блок управления подушками безопасности, модули подушек безопасности, рулевое
колесо, датчики удара, преднатяжители ремней и пр.), так как неправильное
выполнение работ может привести к срабатыванию этих устройств и, как следствие,
к тяжелым травмам. При выполнении любых работ в зоне расположения этих
устройств внимательно изучите все рекомендации и предупреждения.
. Инструменты и оборудование,
применяемые при ремонте автомобиля, должны быть исправными. Особое внимание
необходимо уделить состоянию изоляции электрических проводов.
. При обслуживании автомобилей,
оснащенных системой кондиционирования воздуха, не допускайте разгерметизации
системы, так как содержащийся в ней хладагент находится под повышенным
давлением и при испарении может вызвать обморожение кожи.
Безопасный подъем автомобиля.
Для безопасного подъема автомобиля
домкратом необходимо выполнить следующее:
. Установите автомобиль на ровную
твердую поверхность.
. Перед подъемом освободите
автомобиль от посторонних предметов. Заранее достаньте из багажника все
необходимое для ремонта (запасные части, инструменты), так как доступ в
поднятый автомобиль может быть затруднен либо невозможен.
. Устанавливайте домкрат только под
те места, которые для этого предназначены. Силовые элементы кузова в этих
местах специально утолщены и имеют повышенную прочность.
. Подложите противооткатные упоры
под колеса автомобиля со стороны, противоположной поднимаемой.
. Для предотвращения проседания и
вдавливания домкрата в землю подложите под него доску.
. Подведите упорную головку домкрата
к кузову автомобиля, при этом домкрат должен стоять перпендикулярно опорной
поверхности.
. Прежде чем поднять автомобиль
домкратом на требуемую высоту, еще раз внимательно проверьте, не накренился ли
он в какую-либо сторону.
. Опоры устанавливайте тоже только
под специально предназначенные для подъема автомобиля места. Между опорой и
кузовом автомобиля подкладывайте резиновую или деревянную прокладку.
. Устанавливайте треногую опору
таким образом, чтобы две ее ноги были со стороны кузова автомобиля, а одна -
снаружи.
. При использовании для подъема
автомобиля подъемника соблюдайте следующие требования безопасности.
. Во время подъема и опускания
автомобиля запрещается находиться рядом с ним во избежание несчастного случая.
. Если возникла опасность падения
автомобиля, немедленно покиньте опасную зону.
. Правильно располагайте на подъемнике
центр тяжести автомобиля, чтобы избежать его падения.
. Берегите ноги, чтобы не прижать их
лапами подъемника или колесами автомобиля при опускании.
. Не прилагайте чрезмерного усилия к
органам управления подъемником.
Управлять подъемником должен только
квалифицированный персонал.
. Не допускайте чрезмерного
раскачивания автомобиля на подъемнике.
. Лапы подъемника устанавливайте
только под те места, которые для этого предназначены. Силовые элементы кузова в
этих местах специально утолщены и имеют повышенную прочность.
. При снятии тяжелых узлов и
агрегатов с автомобиля, находящегося на подъемнике, установите дополнительные
опоры.
Заключение
От четкой и слаженной работы всех
комплектующих КамАЗа зависит не только более полное использование всех мощностей
автомобиля при выполнении различных целевых задач, но и обеспечение норм
безопасности движения транспортных средств.
Комплектующие двигателя играют
особую роль при эксплуатации автомобиля. Своевременное проведение технического
обслуживания и ремонта (текущего и капитального) двигателя нормализует работу
автомобиля и позволяет качественно и количественно увеличить срок его
эксплуатации.
Список
литературы
1. Епифанов
Л. И., Епифанова Е. А. Техническое обслуживание и ремонт автомобилей: учебное
пособие. - 2-е изд. Перераб. и доп. - М.: ИД «ФОРУМ»: ИНФРА-М, 2009. - 352 с.
ил. - (Профессиональное образование).
. Пехальский
А.П. Устройство автомобилей: Учебник для студ. учреждений сред. проф.
образования / А. П. Пехальский, И. А. Пехальский. - М.: Издательский центр
«Академия», 2005. - 528 с.
. Родичев
В. А. Грузовые автомобили: Учебник для нач. проф. образования / Вячеслав
Александрович Родичев. - 4-е изд., перераб. и доп. - М.: Издательский центр
«Академия», 2005. - 240 с.
. Румянцев
С.И. и др. Техническое обслуживание и ремонт автомобилей: Учебник для ПТУ /
С.И. Румянцев, А.Ф. Синельников, Ю.Л. Штоль.-М.: Машиностроение, 1989.-272 с.:
ил.
. Машков
Е.А. Техническое обслуживание и ремонт автомобилей КамАЗ-5320, 53211, 53212,
53213, 5410, 54112, 55111, 55102/Иллюстрированное издание-Издательство «Третий
Рим», 1997-88с.