Проектирование двухступенчатого, цилиндрического соосного редуктора для ленточного конвейера
Введение
Цель курсового проектирования - систематизировать, закрепить, расширить
теоретические знания, а также развить расчетно-графические навыки.
В работе спроектирован двухступенчатый, цилиндрический соосный редуктор
для ленточного конвейера.
Редуктором называют механизм, состоящий из зубчатых или червячных
передач, выполненный в виде отдельного агрегата и служащий для передачи
вращения от вала двигателя к валу рабочей машины. Назначение редуктора -
понижение угловой скорости и соответственно повышение вращательного момента
ведомого вала по сравнению с ведущим.
Механизмы для повышения угловой скорости, выполненные в виде отдельных
агрегатов, называют ускорителями или мультипликаторами. Редуктор состоит из
корпуса, в котором помещают элементы передачи - зубчатые колеса, валы,
подшипники и т.д.
Наиболее распространены двухступенчатые горизонтальные редукторы, эти
редукторы отличаются простотой, но из-за несимметричного расположения колес на
валах повышается концентрации нагрузки на длине зуба.
Применение соосных редукторов ограничивается случаями, когда нет
необходимости иметь два выходных кольца быстроходного или тихоходного вала, а
совпадение геометрических осей входного и выходного валов удобно при намеченной
общей компоновке привода. В соосных редукторах быстроходная ступень зачастую
недогружена, так как силы вызывающие в зацеплении колес тихоходной ступени,
значительно больше, чем в быстроходной, а межосевые расстояния ступеней
одинаковы.
1. Исходные данные и схема привода
Тяговое усилие ленты F
-17,5кН;
Скорость ленты v -
0,5 м/с;
Диаметр барабана D -
320мм;
Коэффициент годового использования - 0,72;
Коэффициент сменности - 0,5.
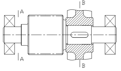
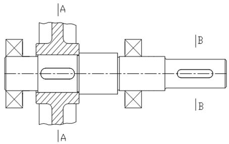
Схема привода:
2. Кинематический расчет привода
Привод - устройство для приведения в действие двигателем различных
рабочих машин. Энергия, необходимая для приведения в действие механизма или
машины может быть передана от вала двигателя непосредственно или с помощью
дополнительных устройств.
2.1 Выбор электродвигателя
Электродвигатель выбирается по мощности, которая затрачивается на привод
рабочей машины. Потребляемую мощность (кВт) привода определяют по формуле:
, кВт,
(1)
где
Рр.м. - мощность на валу рабочей машины, кВт
зпр
- КПД привода равен произведению КПД входящих в привод передач
Мощность
на валу рабочей машины вычислим по формуле:
кВт,
где
F -тяговое усилие ленты, Н;
v - скорость
ленты, м/с.
КПД
привода определим по формуле:
зпр=з2з.пЧзI-IIмуф.Ч зIV-Vмуф = 0,962
Ч 0,98 Ч 1=0,90
где
зз.п - К.П.Д. зубчатой передачи, зз.п=0,96;
змуф1.
- К.П.Д. муфты, на I валу змуф1. =0,98.
змуф2
- К.П.Д. муфты, на III валу змуф2 = 1.
Значения
КПД указаны с учетом потерь в подшипниках.
Теперь
вычисли требуемую мощность электродвигателя по формуле (1):
кВт =
9722 Вт.
Для
рассчитываемого привода подходят двигатели с различными частотами вращения. Но
поскольку в задании на проектирование нет особых указаний, по [Курсовое
проектир. Методичка] таб.1, по требуемой мощности Р выбираем закрытый
обдуваемый электродвигатель серии 4А160S6УЗ.
Выбранный
двигатель имеет следующие параметры:
– Мощность - 11,0 кВт;
– Синхронная частота вращения nc=1000 об/мин;
– Номинальная частота вращения nном=975 об/мин
2.2 Определение передаточного числа привода и распределение
его между ступенями
По известным угловым скоростям электродвигателя и вала рабочей машины
определим передаточное отношение привода, используя формулу:
, (2)
где
щэл - угловая скорость вала электродвигателя, рад/с;
щр.м.
- угловая скорость вала рабочей машины, рад/с.
Для
ленточных конвейеров
щр.м.=
рад/с, (3)
где
D - диаметр барабана, мм.
щэл
рад/с (4)
Тогда
по формуле (2), передаточное число привода равно:
;округляем
до 31,5
Так
как в проектируемой схеме нет ни ременной, ни цепной передачи, следовательно:
Uпр=Uред,
где Uред - передаточное число редуктора;
(5)
где
Uбыс.-
передаточное число быстроходной ступени;
Uтих.- передаточное число тихоходной ступени.
Разбивку
передаточного числа редуктора произведем графическим путем по таблице 2. По
формуле (5) получаем 31,5=5·6,3
2.3 Определение скоростей, мощностей и крутящихся моментов на
всех валах
) Рассчитаем угловую скорость на каждом валу:
– быстроходный вал (I) - щ1=102,1
рад/с;
– промежуточный
вал (II)-
рад/с;
– тихоходный
вал (III)-
рад/с;
2) Теперь рассчитаем мощность для каждого вала:
– вал I Р1
= РТР= 9722 Вт;
– вал II Р2
= Р1∙змуф1.∙зз.п. =9722∙0,98∙0,96
= 9146,46 Вт;
– вал III Р3
= Р2∙зз.п.∙змуф2= 9146,46∙0,96∙1
= 8780,6 Вт;
) Рассчитаем крутящиеся моменты на валах привода:
– вал
I
Н∙м;
- вал II Т2 = Т1
·u1 ·з2
где: u1 - передаточное отношение первой ступени;
з2 - КПД второго вала;
Т2 = 95,22·5·0,92=438 Нм
вал III Тт =Т3 = Т2 · u2 · з3
где: u2 - передаточное отношение второй ступени;
з3 - КПД третьего вала;
Т3 = 438 ·6,3·0,92= 2538,7 Нмм
3. Описание конструкции и типоразмера муфты
Муфта упругая втулочно-пальцевая по ГОСТ 21424-75.
Отличается
простотой конструкции и удобством монтажа и демонтажа. Обычно применяется в
передачах от электродвигателя с
малыми крутящими моментами. Упругими
элементами здесь служат гофрированные резиновые втулки. Из-за сравнительно
небольшой толщины втулок муфты обладают малой податливостью и применяются в
основном для компенсации несоосности валов в небольших пределах (
1...5 мм;
0.3…0,6
мм;
до 1 ).
Материал полумуфт - чугун СЧ20.
Материал пальцев - сталь 45.
Для проверки прочности рассчитывают пальцы на изгиб, а резину - по
напряжениям смятия на поверхности соприкасания втулок с пальцами. При этом
полагают, что все пальцы нагружены одинаково, а напряжения смятия распределены
равномерно по длине втулки:
где
z - число пальцев, z = 6.
Рекомендуют принимать
= 1,8...2 МПа.
Тогда
(Иванов с.362)
4. Расчет прямозубых цилиндрических передач
Размеры закрытых прямозубых цилиндрических передач определяются расчетом
на контактную прочность, а расчет на изгиб зуба будет в этом случае
проверочным.
4.1 Расчёт тихоходной ступени
Расчет начнем с тихоходной ступени, как более нагруженной, чем
быстроходная ступень.
4.1.1 Выбор материалов
Выбираем материалы со средними механическими характеристиками: согласно
таблице 4.6 [стр 119, С.А. Чернавский Проектирование механических передач]
принимаем для шестерни сталь 40Х, термообработка - улучшение, с твёрдостью НВ
257; для колеса - сталь 40Х, термообработка - нормализация, с твердостью 200.
4.1.2 Определение допускаемых контактных напряжений
Допускаемые контактные напряжения определяются при проектном расчёте по
формуле:
, МПа,
(6)
где
уНlimb -
предел контактной выносливости поверхности зубьев, МПа.
Значения
уHlimb определяются в зависимости от твердости поверхностей
зубьев и способа термохимической обработки. Согласно таблице 4 [Методичка] при
средней твёрдости поверхностей зубьев после улучшения или нормализации меньше
НВ350 предел контактной выносливости рассчитывается по формуле:
уHlimb = 2НВ + 70 (7)
уHlimb3 = 2∙257
+ 70 = 584 - для шестерни;
уHlimb4 = 2∙200
+ 70 = 470 - для колеса.
ZR -
коэффициент, учитывающий шероховатость поверхностей;
ZV -
коэффициент, учитывающий окружную скорость передачи.
При
приближенном расчете коэффициенты можно принимать ZR× ZV=1;
SH -
коэффициент безопасности зубчатых колес с однородной структурой материала SН=1,1;
КНL
- коэффициент долговечности, который вычисляется по формуле:
1< КHL £ 2,4…………………….(8)
где NHO - базовое число циклов нагружения,
которое принимают при НВ<
200 NHO=107, при твердости стали
НВ 200-350 значение NHO возрастает
по линейному закону от 107 до 6∙107; NHE - число циклов нагружения каждого из
зубьев, рассчитываемого колеса за весь срок службы передачи.
При постоянной нагрузке NHE вычисляется по формуле
, (9)
где w - угловая
скорость колеса или шестерни, рад/с;
с - число одинаковых зубчатых колес, сцепляющихся с рассчитываемым
зубчатым колесом;
t -
срок службы передачи, часов.
t =
365∙КГ∙24∙kc∙n (10)
где КГ - коэффициент годового использования, kc - коэффициент сменности, n - срок службы привода, лет.
t =
365∙0,72∙24∙0,5∙8=25229 ч.
Для
шестерни
Для
колеса
Так
как NHE >
NHO, то деталь работает в зоне горизонтальной кривой
усталости и КHL=1.
В итоге допускаемое контактное напряжение для шестерни и колеса будет
иметь значение:
МПа;
МПа.
Если
коэффициент долговечности КНL < 1, то при НВ1
> НВ2∙
лимитирует колесо, если НВ1 ≤ НВ2∙
, то лимитирует шестерня. Проверим выполнение этого
условия: 200∙
=245,4 257 > 245,4, следовательно, лимитирует колесо,
и дальнейшие расчеты будем вести относительно колеса, т.е.
МПа
4.1.3 Определение межосевого расстояния
Из условия соосности редуктора аwТ = аwБ
= аw.
Межосевое расстояние найдем по формуле:
, мм,
(11)
где
Ка - обобщённый коэффициент, Ка = 495 для прямозубых
колес;
КHв - коэффициент,
учитывающий неравномерности распределения нагрузки по ширине венца, примем по
таблице 5 [Методичка], КHв = 1
Шba
- коэффициент ширины редукторных зубчатых колес, для улучшенных сталей при
несимметричном расположении зубчатых колес рекомендуют принимать равным
0,315..0,4; примем Шba =
0,315.
u - передаточное
число;
;
Т2
- крутящий момент на колесе тихоходной ступени, Т2 = 2538,7 Н∙м
мм.
Значение
межосевых расстояний aw для зубчатых передач, мм примем по СТ СЭВ
229-75, aw = 400 мм.
.1.4 Модуль зацепления и число зубьев
Модуль зубчатых передач для редукторов определяется по формуле:
, мм.
(12)
Округляем по СТ СЭВ 310-76.
мм.
Примем
m = 6 мм.
Число
зубьев колес:
;
Количество
зубьев шестерни
;
Количество
зубьев колеса
4.1.5 Проверочный расчет на выносливость по контактным напряжениям
Проверочный расчет на выносливость по контактным напряжениям выполним по
формуле:
(13)
где
Zн -
коэффициент формы сопряжённых поверхностей зубьев, Zн=1,76;
Zм - коэффициент, учитывающий механические свойства
материалов, Zм=275;
Zе - коэффициент суммарной длины контактных линий, Zе =0,9;
щHt
- удельная расчётная окружная сила, Н/мм;
uф - фактическое передаточное число;
d3 - диаметр начальной окружности шестерни, мм.
.
Вычислим фактическое передаточное число по формуле:
; (14)
расхождение
с ранее принятым не должно превышать 4%.
Вычислим
погрешность:
< 4%.
.
Вычислим удельную окружную силу по формуле:
, (15)
где
Ft - окружная сила, Н;
KHв - коэффициент, учитывающий неравномерности
распределения нагрузки по ширине венца; KHв
=1;
KHV -
коэффициент динамической нагрузки, определяется по таблице 6 [Методичка]. Для
этого сначала определим окружную скорость в зацеплении и степень точности
передачи.
м/с.
(16)
Степень
точности принимаем 9 (пониженной точности) по таблице 6 [Методичка]. Теперь по
таблице 8 [Методичка] для прямозубых колес KHV = 1,05
b4 - рабочая ширина колеса z4. b4 = шba∙
aw = 0,315 ∙ 400 = 126 мм.
.
Предварительно определяется окружная сила
, Н; (17)
где T - крутящий момент шестерни
d3
=m×Z3 = 6∙18=108, мм
Н.
Подставляя
найденные значения в (15), получим:
Н/мм.
Подставив
значения в формулу (13) получим:
МПа.
Передача
недогружена недогрузка составляет:
,3-414,1
.100%=3,2%
,1
Что
допустимо, допускается до 10 % [4 стр.65]
Проверка
зубьев по контактным напряжениям выполнена
4.1.6 Основные размеры зубчатой пары и силы, действующие в
зацеплении
1. Диаметр начальной окружности шестерни и колеса:
dw3=d3=m×Z3 = 6×18 = 108 мм.;
dw4=d4=m×Z4
= 6×115 = 690 мм.
. Диаметр вершин зубьев:
dа3=d3 + 2m =
108 + 2×6 = 120 мм.;
da4=d4 + 2m =
690+ 2×6 = 702 мм.
. Диаметры впадин зубьев:
df3=d3 - 2,5m =
120 - 2,5×6 = 105 мм.;
df4=d4 - 2,5m =
702 - 2,5×6 = 687 мм.
. Ширина колеса: b4
= шba∙ aw = 0,315 ∙
400 = 126 мм.
. Ширина шестерни: b3
= b4 + (3..5)мм = 126 + (3..5) = 129..131 мм, примем b3 = 130 мм.
. Коэффициент ширины шестерни
.
.
Окружная сила -
Н.
.
Радиальная сила:
, Н; aw=20°
Н.
.
Фаска: n=0.5mn x 45o n=0.5×6 x 45o =3 x 45o
4.1.7 Проверочный расчет по напряжениям изгиба зубьев шестерни и колеса
Проверка зубьев тихоходной ступени на выносливость по напряжениям изгиба
проводится по следующему выражению:
, МПа,
(18)
где
YF - коэффициент формы зуба, выполненный без смещения,
имеет следующие значения; определим по таблице
Таблица
1.
|
Z
|
17
|
20
|
25
|
30
|
40
|
50
|
60
|
80
|
100 и более
|
|
Y
|
4,28
|
4,09
|
3,9
|
3,8
|
3,7
|
3,6
|
3,62
|
3,6
|
3,6
|
[sF] -
допускаемые изгибные напряжения, МПа,
щFt - удельная расчетная окружная сила.
. Определим допускаемые изгибные напряжения для колеса и шестерни:
, МПа,
(19)
где
sFlimb - базовый предел выносливости зубьев по излому, определяется по
таблице 9 [Методиичка], МПа;
SF -
коэффициент безопасности, SF =1,75;
KFC=1
при нереверсивной нагрузке.
Коэффициент
долговечности КFL принимается при НВ £ 350, а
также для зубчатых колес со шлифованной переходной поверхностью зубьев:
1 £ КFL £ 2. (20)
где
NFO - базовое число циклов нагружения, для сталей 4×106.
При
постоянной нагрузке NFE определяется по формуле:
с
- число одинаковых зубчатых колес, сцепляющихся с рассчитываемым зубчатым
колесом;
w - угловая скорость
колеса;
t -
срок службы передачи, часов, t =
25229ч.
Так
как NFE >
NFO, то КFL=1;
Допускаемое
изгибное напряжение шестерни:
МПа;
Допускаемое
изгибное напряжение колеса
МПа.
Лимитирует
колесо, дальнейшие вычисления будем проводить для значений колеса, т.е. [уF]
= [уF4] = 205,7
МПа.
.
Вычислим удельную окружную силу wFt:
, Н/мм,
(21)
где
КFb - коэффициент, учитывающий неравномерности
распределения нагрузки по ширине венца таблица 10 [Методичка], КFb =
1,30;
КFV
- коэффициент динамической нагрузки - определяется по таблице 8 [Методичка], КFV = 1,13.
Н/мм.
Подставив
все найденные значения в (18), получим
.2 Расчёт быстроходной ступени
.2.1 Выбор материалов
Выбираем материалы со средними механическими характеристиками: согласно
таблице 4.6 [стр 119С.А. Чернавский Проектирование механических передач]
принимаем для шестерни сталь 40Х, термообработка - улучшение, с твёрдостью НВ
235; для колеса - сталь 40Х, термообработка - нормализация, с твердостью 190.
.2.2 Определение допускаемых контактных напряжений
По формуле (7):
уHlimb1 = 2∙235 + 70 = 540;
уHlimb2 = 2∙190 + 70 = 450.
По формуле (9)
Так как NHE > NHO, то КHL=1.
По формуле (6)
МПа;
МПа.
Проверим
НВ1 > НВ2∙
190∙
=227,2 227,2 < 235,
следовательно, лимитирует колесо, и дальнейшие расчеты будем вести относительно
колеса, т.е.
МПа
.2.3 Модуль зацепления и число зубьев
По
формуле (12):
мм.
По
СТ СЭВ 310-76 примем m = 4 мм.
Число
зубьев колес:
;
Количество
зубьев шестерни
;
Количество
зубьев колеса
4.2.4 Проверочный расчет на выносливость по контактным
напряжениям
1. Фактическое напряжение по формуле (14)
< 4%.
.
Диаметр делительной шестерни d1 = m×Z1 = 4∙33=132, мм
.
Определим окружную силу по формуле (17)
, Н
4.
Окружная скорость в зацеплении и степень точности передачи.
м/с
Степень
точности принимаем 8 (средней точности) по таблице 6 [Методичка]. Теперь по
таблице 8 [Методичка] для прямозубых колес KHV = 1,16
b2 - рабочая ширина колеса z2. b2 = шba∙
aw = 0,25 ∙ 400 = 100 мм.
.
Удельную окружную силу по формуле (15): KHв =1;
Н/мм.
По
формуле (13) сделаем проверочный расчет на выносливость по контактным
напряжениям:
МПа.
.2.5 Основные размеры зубчатой пары и силы, действующие в
зацеплении
1. Диаметр начальной окружности шестерни и колеса:
dw1=d1=m×Z1 = 4×33 = 132 мм.;
dw2=d2=m×Z2
= 4×167 = 668 мм.
. Диаметр вершин зубьев:
dа1=d1 + 2m =
132 + 2×4 = 140 мм.;
da2=d2 + 2m =
668+ 2×4 = 676 мм.
3. Диаметры впадин зубьев:
df1=d1 - 2,5m =
132 - 2,5×4 = 122 мм.;
df2=d2 - 2,5m =
676 - 2,5×4 = 666мм.
. Ширина колеса: b2
= шba∙ aw = 0,25 ∙
400 = 100 мм.
. Ширина шестерни: b1
= b2 + (3..5)мм = 100 + (3..5) = 103..105 мм, примем b1 = 104 мм.
. Коэффициент ширины шестерни:
.
.
Окружная сила -
Н.
.
Радиальная сила:
, Н; aw=20°
Н.
Фаска:
n=0.5mn x 45o
n=0.5×4 x 45o =2 x 45o
4.2.6 Проверочный расчет по напряжениям изгиба зубьев
шестерни и колеса
1. По формуле (19): допускаемое изгибное напряжение шестерни:
МПа;
Допускаемое
изгибное напряжение колеса
МПа.
.
По формуле (21)
Н/мм.
.
По формуле (18)
5. Основные параметры редуктора
Таблица № 2.
|
Параметры
|
Быстроходная ступень
|
Тихоходная ступень
|
|
Мощность на ведущем валу
|
Р1 = 8,75 кВт
|
|
Общее передаточное число
|
u = 32,67
|
|
Передаточные числа ступеней
|
Uбыс = 5
|
Uтих = 6,3
|
|
Угловые скорости:
|
|
|
|
· ведущего вала
|
щ1=102,1 рад/с
|
|
· промежуточного вала
|
щ 2=20,42 рад/с
|
|
· тихоходного вала
|
щ3=3,24 рад/с
|
|
Тип передачи
|
Прямозубая
|
|
Межосевое расстояние
|
аw =
аwт = аwб = 400 мм
|
|
Числа зубьев шестерен
|
z1 = 33
|
z3 = 18
|
|
Числа зубьев колес
|
z2 = 167
|
z4 = 115
|
|
Модуль
|
m = 4
|
m = 6
|
|
Коэффициенты ширины колес
|
Шba = 0,25
|
Шba = 0,315
|
|
Диаметры делительных окружностей:
|
|
|
|
· шестерен
|
dw1= 132 мм.
|
dw3= 108 мм.
|
|
· колес
|
dw2= 668 мм
|
dw2= 690 мм
|
|
Ширина шестерен и зубчатых колес
|
b1 = 104 b2 = 100
|
b3 = 130 мм b4 = 124 мм
|
|
Силы, действующие в зацеплении:
|
|
|
|
· окружное усилие
|
Ft = 1442,7 Н
|
Ft = 8111,1 Н
|
|
· радиальное усилие
|
Fr = 525 Н
|
Fr = 2952,4 Н
|
6. Предварительный расчет валов
Предварительный расчёт. Определяют диаметр вала из условия прочности на
кручение для каждого вала по формуле:
, мм,
(22)
где
Т - крутящий момент на валу, Н×м;
быстроходный
вал (I) -
мм
Так
как вал редуктора соединен с валом двигателя муфтой, то необходимо согласовать
диаметры ротора dдв и вала dв1. Муфты УВП могут соединять валы с соотношением dв1:dдв
0,75, но
полумуфты должны при этом иметь одинаковые наружные диаметры. У подобранного
электродвигателя dдв=42 мм.
Выбираем МУВП по ГОСТ 21425-93 с расточками полумуфт под dдв=42 мм, dв1=32 мм
Примем
под подшипник dб=35 мм.
Шестерню
выполним за одно целое с валом.
Промежуточный
вал редуктора:
У
промежуточного валов расчетом на кручение определяем диаметр
опасного
сечения под шестерней по пониженным допускаемым напряжениям [t]к = 15Н/мм2
промежуточный
вал (II)-
мм.
Примем
диаметр под подшипник dПР=55 мм.
Диаметр
под зубчатым колесом dзк=60 мм.
Шестерню
выполним за одно с валом.
тихоходный
вал (III)-
мм.
Выбираем
муфту МУВП по ГОСТ 21424-75 с расточкой полумуфт
под dт=87мм.
Диаметр
под подшипник примем dпр=90мм.
Диаметр под колесо dзк=95 мм.
7. Размеры элементов корпуса и крышки редуктора
1. д - толщина стенки
редуктора.
Для редукторов цилиндрических, двухступенчатых:
д = (0,025 aw + 3) = 0,025∙400 + 3 = 13 мм.
2. Расстояние от внутренней
поверхности стенки редуктора:
- до боковой поверхности вращающейся части
e = (1,0... 1,2)д = (1,0... 1,2)∙13 = (13... 15,6) мм;
примем е = 14 мм.
- до боковой поверхности подшипника качения
e1 = 3...5 мм, примем e1= 4 мм.
3. Расстояние в осевом
направлении между вращающимися частями, смонтированными:
- на одном валу е2 = 0...5 мм; примем е2 =
3 мм
- на разных валах е3 = (0,5... 7,0)д =(0,5... 7,0)∙13
= (6,5…91) мм.
4. Радиальный зазор между
зубчатым колесом одной ступени и валом другой ступени (min)
e4 = (1,2... 1,5)д = (1,2... 1,5)∙13 =
15,6…19,5 мм, примем e4 = 17 мм.
5. Радиальный зазор от
поверхности вершин зубьев:
- до внутренней поверхности стенки редуктора
е5 = 1,2д = 1,2∙13 = 15,6 мм; примем е5
= 16 мм.
- до внутренней нижней поверхности стенки корпуса (величину е6
определяет также объем масляной ванны) е6 = (5...10)m =10 мм.
6. Расстояние от боковых
поверхностей элементов, вращающихся вместе с валом, до неподвижных наружных
частей редуктора e7 = 5...8 мм. Примем e7 = 7 мм.
7. Ширина фланцев S, соединяемых болтом
диаметром
dболт2 = 1,5д = 1,5 ∙13 =19,5 мм S2 = k
+ 6 + 6 = 48 +6 + 6 = 60 мм;
dболт3 = 1,0д = 1,0 ∙13 =13 мм S3 = k
+ 6 = 36 + 6 = 42 мм,
где k = f(dболт) (по таблице №3).
Таблица 3. Зависимость k = f(dболт), мм
|
dболт
|
М8
|
М10
|
М12
|
М14
|
М16
|
М18
|
М20
|
М22
|
М24
|
М27
|
М30
|
|
k
|
24
|
28
|
32
|
36
|
40
|
44
|
48
|
52
|
56
|
62
|
68
|
|
с
|
13
|
15
|
17
|
20
|
22
|
24
|
26
|
28
|
30
|
34
|
37
|
8. Размеры боковых крышек
– Наружный диаметр цилиндрической части крышки D1=35мм, D2=55мм, D3=90мм
(равный наружному диаметру подшипника)
– Диаметр болтов крепления крышки d5 = 24 (по таблице 8.4.1
Конструирование узлов и деталей машин)
– Диаметр установки болтов
D1 = D +2,5d5 =35 + 2,5∙24 = 95 мм.
D1= D +2,5d5 =55 + 2,5∙24 = 115 мм.
D1 = D +2,5d5 =90 + 2,5∙24 = 150 мм.
– Наружный диаметр фланца
D2 = D +2,0d5= 35 + 2,0∙24 = 83мм.
D2 = D +2,0d5=55 + 2,0∙24 = 103мм.
D2 = D +2,0d5= 90 + 2,0∙24 = 138мм.
– Толщина фланца крышки h1 = d5 = 24 мм.
– Толщина цилиндрической части крышки д3 = (0,9…1,0)h1 = (0,9…1,0)∙24 = 21,6…24, примем д3
= 24 мм.
– Толщина цилиндрической части Н крышки, контактирующие с
подшипниками Н = 13 мм.
– Размер подточек b = 3
мм. (4.8.3 п. 4 Конструирование узлов и деталей
машин)
– Длина цилиндрической части b1 = (1,2…2,0)b =
3,6…6,0, примем b1 = 6мм.
9. Высота головки болта hгб = 0,8h =12,5 мм.
10. Толщина фланца втулки h2 = h1 = 24 мм.
Толщина
стенки крышки редуктора:
мм.
Толщина
верхнего пояса (фланца) корпуса:
мм.
Толщина
нижнего пояса (фланца) крышки корпуса:
мм.
Толщина
нижнего пояса корпуса:
мм., примем р=31мм.
Толщина
ребер основания корпуса:
мм., примем m=9 мм.
Толщина
ребер крышки корпуса:
мм., примем m=10мм.
Диаметры
болтов:
фундаментальных:
мм., принимаем болты с резьбой М20;
крепящих
крышку к корпусу у подшипников:
мм.,
принимаем болты с резьбой М16;
крепящих
крышку с корпусом:
мм., принимаем болты с резьбой М12;
Гнездо под подшипник:
- Диаметр отверстия в гнезде принимаем равным наружному диаметру
подшипника: Dп1=35 мм, Dп2=55мм, Dп3=90мм.
Размеры радиальных шарикоподшипников однорядных средней серии приведены в
таблице 4:
Таблица 4
|
Условное обозначение подшипника
|
d
|
D
|
B
|
Грузоподъемность,кН
|
|
Размеры, мм
|
С
|
Со
|
|
N307
|
35
|
80
|
21
|
33,2
|
18
|
|
N310
|
55
|
120
|
29
|
71,5
|
41,5
|
|
N318
|
90
|
190
|
43
|
14,3
|
99
|
Размеры штифта:
- Диаметр
мм.
Длина
мм.
Из табл. 10.5[6] принимаем штифт конический ГОСТ 3129-70
мм,
мм.
Зазор
между торцом шестерни с одной стороны и ступицы с другой, и внутренней стенкой
корпуса А1=1,2
=1,2*13=15,6 мм.
Зазор
от окружности вершин зубьев колеса до внутренней стенки корпуса, а также
расстояние между наружным кольцом подшипника ведущего вала и внутренней стенкой
корпуса А=
=13 мм.
Для
предотвращения вытекания смазки подшипников внутрь корпуса и вымывания
пластического смазывающего материала жидким маслом из зоны зацепления
устанавливаем мазеудерживающие кольца, их ширину определяет размер y=8-12
мм. Мы принимаем y=12мм.
8. Проверка долговечности подшипников
.1 Ведущий вал
Реакции
опор:
в
плоскости XZ:
Проверка:
-227,9-1442,7+1237,8+432,8=0
в
плоскости YZ:
Проверка:
-365,1+525-159,9=0
Суммарные реакции:
Подбираем подшипник по более нагруженной опоре №2
Таблица 5
|
Условное обозначение подшипника
|
d
|
D
|
B
|
Грузоподъемность, кН
|
|
Размеры, мм
|
С
|
Со
|
|
N307
|
35
|
80
|
21
|
33,2
|
18
|
Отношение
Этой
величине по таблице 9.18[6] соответствует e=0,22
Отношение
X=0.56, Y=1,99
Эквивалентная
нагрузка по формуле:
, H
где
V=1-вращается внутреннее кольцо подшипника;
коэффициент
безопасности по таблице 9.19[6] КБ=1;
температурный
коэффициент по таблице 9.20[6] КТ=1,0.
H
Расчетная
долговечность, млн. об по формуле :
Расчетная
долговечность, ч по формуле:
ч
Фактическое
время работы редуктора
Срок
службы 8 лет, при двухсменной работе:
дней*16ч.КгодКсут=365*16*0,72*0,5=2102,4
ч.
8.2
Промежуточный вал
Реакции опор:
в
плоскости XZ:
Проверка:
,9-8111,1+1904,5+1442,7=0
в
плоскости YZ:
Проверка:
,3+2952,4-525-1734,1=0
Суммарные реакции:
Подбираем подшипник по более нагруженной опоре №1
Таблица 6
|
Условное обозначение подшипника
|
d
|
D
|
B
|
Грузоподъемность, кН
|
|
Размеры, мм
|
С
|
Со
|
|
N310
|
55
|
120
|
29
|
71,5
|
41,5
|
Отношение
Этой
величине по таблице 9.18[6] соответствует e=0,21
Эквивалентная
нагрузка по формуле:
H
Расчетная
долговечность, млн. об по формуле:
Расчетная долговечность, ч по формуле:
ч
8.3 Ведомый вал
Реакции
опор:
в
плоскости XZ:
Проверка:
-7061+8111,1+1383,2-2433,3=0
в
плоскости YZ:
Проверка:
,7-2952,4+1876,7=0
Суммарные реакции:
Подбираем подшипник по более нагруженной опоре №1
Таблица 7
|
Условное обозначение подшипника
|
d
|
D
|
B
|
Грузоподъемность ,кН
|
|
Размеры, мм
|
С
|
Со
|
|
N318
|
90
|
190
|
43
|
143
|
99
|
Отношение
Этой
величине по таблице 9.18[6] соответствует e=0,23
Отношение
X=0.56, Y=1,99
Эквивалентная
нагрузка по формуле:
H
Расчетная
долговечность, млн. об по формуле :
Расчетная
долговечность, ч по формуле :
ч
9. Проверка прочности шпоночных соединений
Применяются шпонки призматические со скругленными торцами по ГОСТ
23360-78. Материал шпонок - сталь 45 нормализованная.
Таблица 8
|
Диаметр вала d, мм
|
Ширина шпонки b, мм
|
Высота шпонки h, мм
|
Длина шпонки l, мм
|
Глубина паза t1, мм
|
|
32
|
10
|
8
|
40
|
5
|
|
60
|
16
|
10
|
50
|
6
|
|
95
|
25
|
14
|
120
|
9
|
Напряжения смятия и условие прочности по формуле:
Допускаемые
напряжения смятия при стальной ступице
=100...120Мпа
.1
Ведущий вал
При
d=32 мм;
; t1=5мм; длине шпонки l=40 мм;
крутящий момент Т1=95,22Нм
.2
Промежуточный вал
При
d=60 мм;
; t1=7,5 мм; длине шпонки l=50 мм;
крутящий момент Т2=438Нм
.3
Ведомый вал
При
d=95 мм;
; t1=9 мм; длине шпонки l=120мм;
крутящий момент Т3=2538,7Нм
10. Уточненный расчет валов
.1 Ведущий вал
Уточненный
расчет состоит в определении коэффициентов запаса прочности s для
опасных сечений и сравнении их с допускаемыми значениями [s].
Прочность соблюдена при
.
Материал
вала - сталь 40Х улучшенная. По таблице 3.3[6]
Пределы
выносливости:
Сечение А-А.
Концентрация напряжений обусловлена наличием шпоночного паза
Коэффициент запаса прочности по нормальным напряжениям изгиба
Коэффициент запаса прочности по касательным напряжениям
По
таблице 8.5[6] принимаем
;
По
таблице 8.8[6] принимаем
;
Момент
сопротивления кручению по таблице 8.5[6]:
при d=32 мм; b=10 мм; t1=5 мм
Момент
сопротивления изгибу:
При d=32 мм; b=10 мм; t1=5 мм
Изгибающий момент в сечении А-А
My=0;
MА-А=МX
Амплитуда
и среднее значение от нулевого цикла:
Амплитуда
нормальных напряжений:
,
Составляющая постоянных напряжений:
тогда
Результирующий
коэффициент запаса прочности по формуле (8.17 [6])
Условие прочности выполнено.
Сечение В-В
принимаем

Момент
сопротивления изгибу:
Изгибающий момент в сечении B-B
Амплитуда
и среднее значение от нулевого цикла:
Амплитуда
нормальных напряжений:
,
величина
очень маленькая поэтому ее учитывать не будем
тогда
Результирующий
коэффициент запаса прочности по формуле (8.17 [6])
Условие прочности выполнено.
10.2 Промежуточный вал
Материал
вала - сталь 40 улучшенная. По таблице 3.3[6]
Пределы
выносливости:
Сечение А-А.
Концентрация
напряжений обусловлена посадкой подшипника с гарантированным натягом принимаем
Момент
сопротивления кручению при d=55мм:
Момент
сопротивления изгибу:
Изгибающий момент в сечении А-А
Амплитуда
и среднее значение от нулевого цикла:
Амплитуда
нормальных напряжений:
,
величина
очень маленькая поэтому ее учитывать не будем
тогда
Результирующий
коэффициент запаса прочности по формуле (8.17 [ 6 ])
Условие прочности выполнено.
Сечение В-В.
Концентрация напряжений обусловлена наличием шпоночного паза
принимаем
Момент
сопротивления кручению при d=60мм; b=18 мм; t1=7,5 мм
Момент
сопротивления изгибу:
Изгибающий момент в сечении B-B
Амплитуда
и среднее значение отнулевого цикла:
Амплитуда
нормальных напряжений:
,
величина
очень маленькая поэтому ее учитывать не будем
тогда
Результирующий
коэффициент запаса прочности по формуле (8.17 [6])
Условие прочности выполнено.
10.3 Ведомый вал
Материал
вала - сталь 40Х улучшенная. По таблице 3.3[6]
Пределы
выносливости:
Сечение А-А.
Концентрация напряжений обусловлена наличием шпоночного паза
принимаем
Момент
сопротивления кручению при d=95 мм; b=28 мм; t1=10 мм
Момент
сопротивления изгибу:
Изгибающий момент в сечении А-А
Амплитуда
и среднее значение от нулевого цикла:
Амплитуда
нормальных напряжений:
,
величина
очень маленькая поэтому ее учитывать не будем тогда
Результирующий
коэффициент запаса прочности по формуле (8.17 [6])
Условие прочности выполнено.
Сечение В-В.
Концентрация напряжений обусловлена наличием шпоночного паза
принимаем
Момент
сопротивления кручению при d=85,9 мм; b=28 мм; t1=10 мм
Момент
сопротивления изгибу:
Изгибающий момент в сечении B-B
Амплитуда
и среднее значение от нулевого цикла:
Амплитуда
нормальных напряжений:
,
величина
очень маленькая поэтому ее учитывать не будем тогда
Результирующий
коэффициент запаса прочности по формуле (8.17 [6])
Условие прочности выполнено.
11. Выбор смазки редуктора
Для уменьшения потерь мощности на трение и снижения интенсивности износа
трущихся поверхностей, а также для предохранения их от заедания, задиров,
коррозии и лучшего отвода теплоты трущиеся поверхности деталей должны иметь
надежную смазку.
В настоящее время в машиностроении для смазывания передач широко применяют
картерную систему. В корпус редуктора или- коробки передач
заливают масло так, чтобы венцы колес были в него погружены. При их
вращении масло увлекается зубьями, разбрызгивается, попадает на внутренние
стенки корпуса, откуда стекает в нижнюю его часть. Внутри корпуса образуется
взвесь частиц масла в воздухе, которая покрывает поверхность расположенных
внутри корпуса деталей.
Картерную смазку применяют при окружной скорости зубчатых колес червяков
от 0,3 до 12,5 м/с. При более высоких скоростях масло сбрасывается с зубьев
центробежной силой и зацепление работает при недостаточной смазке. Кроме того,
заметно увеличиваются потери мощности на перемешивание масла и повышается его
температура.
Выбор смазочного материала основан на опыте эксплуатации машин. Принцип
назначения сорта масла следующий: чем выше окружная скорость колеса, тем меньше
должна быть вязкость масла, чем выше контактные давления в зубьях, тем большей
вязкостью должно обладать масло. Поэтому требуемую вязкость масла определяют в
зависимости от контактного напряжения и окружной скорости колес. Предварительно
определяют окружную скорость, затем по скорости и контактным напряжениям
находят требуемую кинематическую вязкость и марку масла.
В настоящее время широко применяют пластичные смазочные материалы
ЦИАТИМ-201 и ЛИТОЛ-24, которые допускают температуру нагрева до 130°С.
Предельно
допустимые уровни погружения колес цилиндрического редуктора в масляную ванну
, наименьшую глубину принято считать равной модулю
зацепления. Наибольшая допустимая глубина погружения зависит от окружной
скорости вращения колеса. Чем медленнее вращается колесо, тем на большую
глубину оно может быть погружено.
12. Описание технологического процесса сборки редуктора
После изготовления всех деталей и приёмки их ОТК завода они поступают на
сборку. Перед сборкой внутреннюю часть корпуса редуктора тщательно очищают и
покрывают маслостойкой краской обычно красного цвета.
Кроме того, перед сборкой вторично проверяют правильность расточки гнёзд
под подшипники, отсутствие перекоса и нарушения параллельности осей валов.
Сборку производят в соответствии с чертежом общего вида редуктора.
Перед общей сборкой производится сборка валов с насаживаемыми на них
деталями.
Ведущий вал
Вначале в шпоночный паз вала закладывают шпонку шестерни и при помощи
пресса напрессовывают шестерню до упора её в буртик, имеющийся на валу; затем
надевают распорные втулки и устанавливают шарикоподшипники, предварительно
нагретые в масле до 80-900. Сборку промежуточного вала осуществляем
аналогично ведущему валу.
Выходной вал
Вначале закладывают шпонку и напрессовывают зубчатое колесо, далее
надевают распорные втулки. Затем напрессовывают шарикоподшипники.
Собранные таким образом валы вместе с подшипниками укладывают в основание
корпуса редуктора, после чего надевают крышку корпуса, устанавливают конические
(цилиндрические) штифты, крышку и основание корпуса стягивают болтами.
Предварительно плоскости стыка крышки и основания покрывают лаком. После этого
ставят крышку подшипника ведущего вала с прокладками и закрепляют её болтами.
Если подшипники конические, то при помощи набора латунных прокладок
производят регулировку осевого зазора конического подшипника.
Перед постановкой крышек подшипника ведущего и ведомого валов в специальные
проточки закладывают манжетные уплотнения. Потом устанавливают вместе с
прокладками крышки подшипников и закрепляют болтами.
Затем ввертывают маслоспускную пробку вместе с прокладкой, вставляют в
отверстие маслоуказатель, ввёртывают рым-болты (если имеются) и болтами
закрепляют вместе с прокладкой крышку смотрового люка. После сборки редуктор
подвергают обкатке и испытанию.
электродвигатель цилиндрический редуктор подшипник
13. Посадки деталей редуктора
Посадки назначаем в соответствии с указаниями, данными в табл. 10.13 [6].
Посадка зубчатого колеса на вал H7/p6 по ГОСТ 25347-82.
Шейки валов под подшипники выполняем с отклонением вала k6.
Отклонения отверстий в корпусе под наружные кольца по H7.
Остальные посадки назначаем, пользуясь данными табл. 10.13[6].
Список использованных источников
1. Детали машин. М М.Н. Иванов: «Машиностроение», 1991.
. П.Ф. Дунаев, О.П.Леликов - Конструирование узлов и
деталей машин. М.: «Высшая школа», 1985.
. В.И. Анурьев - Справочник
коструктора-машиностроителя, т.1. М.: «Машиностроение», 1980.
. В.И. Анурьев - Справочник
коструктора-машиностроителя, т.2. М.: «Машиностроение», 1980.
. В.И. Анурьев - Справочник
коструктора-машиностроителя, т.3. М.: «Машиностроение», 1980.
. С.А. Чернавский и др. Курсовое проектирование
деталей машин. М.: «Машиностроение», 1987.
. Д.Н. Решетов - Детали машин. Атлас конструкций. М.:
«Машиностроение», 1970.
. М.И. Анфимов - Редукторы. Конструкции и расчет. М.:
«Машиностроение», 1972.