Проект ленточного ковшового конвейера
Федеральное
агентство по образованию Российской Федерации
Государственное
образовательное учреждение высшего профессионального образования
Воронежская
государственная лесотехническая академия
Кафедра
деталей машин и инженерной графики
Пояснительная
записка к курсовому проекту
По предмету:
Подъёмно-транспортные машины
Тема:
Проект
ленточного ковшового конвейера
Воронеж 2011
Задание 1
Спроектировать ленточный конвейер
Дано:
, т/ч
, м/с
, м
,
Материал-глина
Лист замечаний
Реферат
Ключевые слова: конвейер, производительность,
передача, лента, барабан, привод, редуктор, электродвигатель, расчет.
В курсовом проекте был спроектирован
горизонтальный ленточный конвейер для транспортирования глины с винтовым
натяжным устройством. Разработана конструкция привода, подобраны:
электродвигатель, муфта и редуктор. Произведены расчеты открытой цилиндрической
передачи и приводного вала конвейера, к которому подобраны подшипники качения.
Содержание
Введение
.
Расчет конвейера
.Общий
кинематический анализ
.
Расчет открытой цилиндрической передачи
.
Расчет вала
Заключение
Библиографический
список
Введение
Ленточные конвейеры являются наиболее
распространенными типам и транспортирующих машин непрерывного действия во всех
отраслях промышленности. Их применяют в основном технологическом процессе ряда
деревообрабатывающих отраслей, в частности в лесопилении, производстве плиты, в
мебельном и фанерном производстве. Широко их используют для транспортирования
щепы, технологических дров, строительных материалов, для погрузки отходов в
транспортные средства и т.д.
Ленточные конвейеры отличаются
высокой производительностью (до 30-40 тыс. т/ч), простой конструкции, малой
материалоемкостью, надежностью в работе и удобством в эксплуатации,
относительно небольшой расход энергии. Они бывают: горизонтальные (
) наклонные
(
),
комбинированные.
В качестве грузонесущих органов
ленточных конвейеров применяют ленты тканевые, прорезиненные, проволочные и
стальные. Основными параметрами ленты являются: ширина, обеспечивающая при
данной скорости ее движение, производительность конвейера и толщина или число
прокладок, обеспечивающих ее прочность. Лента на рабочей ветви конвейера в
зависимости от конструкций опор приобретает плоскую или желобчатую форму.
В некоторых конвейерах различают:
приводные, натяжные и отклоняющие, служащие для изменения направления движения
ленты, барабана. Чем больше диаметр барабана, тем меньше напряжение от изгиба
ленты и тем больше срок ее службы.
Конвейеры могут иметь следующие виды
приводов: единичный головной или двух барабанный, раздельный (на головном и
хвостовом барабанах) и комбинированный, а также много приводные, чтобы лента
под влиянием собственной силы тяжести и веса груза не провисала, на раме
конвейера устанавливают поддерживающие роликоопоры: плоские однорядные для
перемещения несущих грузов многороликовые опоры для перемещения насыпных
грузов.
Для создания в ветвях ленты
натяжения применяют натяжные устройства: винтовые и грузовые, лебедочные и
грузо-лебедочные.
1. Расчет конвейера
Рисунок 1. Схема к расчету ленточного конвейера
При транспортировании насыпных грузов ширину
ленты конвейера определяют по формуле:
, м
Где Q -
производительность конвейера, т/ч;
V - скорость
ленты, м/с;
- насыпная плотность груза, т/
;
- коэффициент, учитывающий влияние
угла естественного откоса груза;
- коэффициент, учитывающий влияние
угла наклона конвейера.
, м
Принимаем конвейерную ленту тип 2
шириной 800 мм по ГОСТу из нитей БКНЛ-150 с прочностью ткани 150 Н/мм, которые
имеют максимальную допустимую рабочую нагрузку
Н/м.
B = 800 мм
скорость должна быть:
Определяем погонную массу груза:
, кг/м
Толщина ленты:
Где Z -
количество тканевых прокладок;
- толщина тканевых прокладок, мм;
- толщина резиновой обкладки
рабочей поверхности ленты, мм;
- толщина резиновой обкладки
нерабочей поверхности, мм;
Погонная масса ленты:
Диаметр роликовых опор принимаем
Расстояние между роликовыми опорами:
Рабочей ветви
Холостой ветви
Погонная масса вращающихся частей
роликовых опор:
Движущая сила конвейера:
, Н
- коэффициент сопротивления
движению рабочей ветви ленты;
- коэффициент сопротивления
движению холостой ветви ленты;
Н = 0 - высота подъема груза;
g - ускорение
свободного падения, м/
;
Максимальное статическое натяжение
ленты:
Необходимое число прокладок в ленте:
Где
максимально допускаемая рабочая
нагрузка прокладок, Н/м;
, что меньше принятого z = 3;
Диаметр приводного барабана:
Принимаем по ГОСТу
мм.
Диаметр натяжного барабана:
мм
Принимаем по ГОСТу
мм.
Производим тяговый расчет конвейера
методом обхода по контуру.
Натяжение в т.1 принимаем
неизвестным
.
Сопротивление на холостом участке
1-2:
Н
Натяжение в т.2:
Натяжение в т.3:
Сопротивление на рабочем участке
3-4:
, Н
Н
Натяжение в т.4
Согласно уравнению Эйлера,
Где f -
коэффициент сцепления между лентой и барабаном.
Уточняем необходимое число
прокладок:
Что меньше z = 3,
Движущая сила конвейера:
Минимальное натяжение ленты:
Где
- погонная масса груза, кг/м;
- погонная масса ленты, кг/м;
- расстояние между роликовыми
опорами рабочей ветви конвейера;
Фактические значения
в требуемый
предел не входит, поэтому требуется пересчет.
Принимаем

Натяжение в т.2:
Натяжение в т.3:
Уточняем необходимое число
прокладок:
Что меньше z = 3,
Движущая сила конвейера:
Попадает в рассчитанный промежуток:
Правильность выбора диаметра
приводного барабана:
Длина приводного и натяжного
барабанов:
Мощность электродвигателя при
коэффициенте запаса;
,

;
;
;
;
; 
Частота вращения приводного
барабана:
Где
- диаметр приводного барабана, мм
V - скорость
ленты;
Необходимое передаточное отношение:
Крутящий момент на валу
электродвигателя ( на быстроходном валу редуктора):
Крутящий момент на тихоходном валу
редуктора при
Выбираем редуктор: тип Ц3У-200;
передаточное отношение
; крутящий
момент на тихоходном валу
Нм;
; m = 186 кг.
Уточняем:
А) скорость ленты:

Б) Частота вращения приводного
барабана:
В) мощность электродвигателя:
Г) производительность конвейера:
Где
- коэффициент, учитывающий угол
естественного откоса груза;
Проверка электродвигателя на пуск:
) момент статических сопротивлений,
) динамический момент от вращающихся
масс:
Где
- время пуска;
) динамический момент от
поступательно движущихся масс:
) момент в период пуска:
) коэффициент перегрузки:
Где
- номинальный момент двигателя;
[
] - допускаемое значение
коэффициента перегрузки (для выбранного электродвигателя).
Выбор тормоза. Расчетный тормозной
момент:
Где
- КПД барабана;
- коэффициент уменьшения
сопротивления конвейера;
Тормозной момент на валу
электродвигателя:
Так как получается отрицательный
тормозной момент, то устройство самотормозящееся. Поэтому тормоз выбирать не
нужно.
Расчет величины натяжного
устройства. Натяжное устройство принимаем винтовое. Расчетная величина
натяжного устройства.
Где
и
- натяжение в наибольшей и сбегающих
ветвях ленты на натяжном барабане;
Усилие действующее на один винт:
Допускаемое напряжение на
растяжение:
[
] = 0.6
[
] =
Внутренний диаметр резьбы винта:
Принимаем винт М14
p = 2 мм -
шаг;
d = 14 мм -
внешний диаметр;
- внутренний диаметр;
- средний диаметр;
- угол подъема;
2. Общий кинематический анализ
Необходимое передаточное отношение

Подбираем редуктор, тип редуктора:
Ц2У-160; передаточное отношение
; крутящий момент на тихоходном валу
Нм;
; m = 95 кг.
Угловая скорость рассчитывается по формуле:
- КПД муфта;
Подбор муфты осуществляется по
вращающему моменту:
Где
- коэффициент режима работы,
учитывающий условия эксплуатации:
Выбираем муфту упругую
втулочно-кольцевую. [T] = 63 Нм
. Расчет открытой цилиндрической
передачи
Основным критерием работоспособности
передачи является прочность зубьев на изгиб. Находим min величину
модуля с последующим определением через него основных геометрических
параметров. Из кинематического расчета известно, что число оборотов шестерни
открытой передачи равно числу оборотов редуктора т.е.
число
оборотов колеса равно числу оборотов выходного вала
. По
аналогии вращающий момент на валу шестерни
.
Передаточное число u = 3.07.
Время работы передачи.
Где L - срок
службы в годах;
- коэффициент использования года;
- коэффициент использования суток;
Открытые передачи выполняют обычно
прямозубыми, с твердостью
. Для
изготовления шестерни принимаем сталь 45 с твердостью
,
улучшенную,
;для
изготовления колеса сталь 45 HB 176…217, нормализованную
Допускаемые напряжения изгиба
[
]
где
- базовый предел выносливости
зубьев по излому от напряжений изгиба;
- коэффициент безопасности;
- коэффициент, учитывающий влияние
одно- ли двухстороннего приложения нагрузки;
- коэффициент долговечности;
Базовый предел выносливости
материала шестерни.
Материал колеса:
Коэффициент долговечности при
:
Где
- эквивалентное число циклов при
переменном режиме нагрузки.
Где m = 6;
- наибольший, но не max при
кратковременных перегрузках момент, передаваемый колесом в течение
часов
работы при частоте вращения
Зубьев колеса:
Тогда:
Принимаем
Допускаемое напряжение:
Материала шестерни,
Материала колеса,
Допускаемые предельные напряжения
изгиба при HB<350:
Материала шестерни:
Материал колеса,
Частота вращения шестерни
рекомендуемое
минимальное число шестерни
Число зубьев колеса определяется:
Принимаем
Коэффициенты формы:
Зубьев шестерни,
Зубьев колеса,
Сравниваем отношения:
Поэтому расчеты ведем по
и
Минимальную величину модуля
определяем:
Где
- вспомогательный коэффициент;
- вращающий момент на валу, мм;
По ст. СЭВ 310-76 принимаем из 1-го
ряда m = 8 мм
Определяем необходимое для
дальнейших расчетов геометрические параметры:
Делительный диаметр шестерни,
Делительный диаметр колеса,
Межосевое расстояние,
,
что не соответствует СТ СЭВ 229-75.
В связи с тем что передача специальная, оставляем
;
Определяем ширину венца колеса,
, по ГОСТу
Окружная и радиальная сила
конвейер привод
электродвигатель редуктор
Окружная скорость
Назначаем 9-ю степень точности
изготовления передачи.
Для предотвращения установленного
износа зубьев передачи выполняют сравнение расчетного напряжения
допускаемости
:
Где
- коэффициент учитывающий форму
зубьев;
- коэффициент учитывающий
перекрытие зубьев;
- коэффициент, учитывающий наклон
зубьев.
Коэффициент динамической нагрузки,
Удельная динамическая сила:
Удельная окружная сила:
Фактическое напряжение изгиба:
Условие прочности
Выполняется
условие.
Проверочный расчет на изгиб при
максимальной нагрузке:
Условие прочности,
- выполнено.
Определим остальные геометрические
параметры передачи:
Диаметр вершин зубьев,
Шестерни:
Колеса:
Диаметр впадин зубьев:
Шестерни:
Колеса:
Ширина зубчатого венца шестерни:
по ГОСТу 6636-69: принимаем
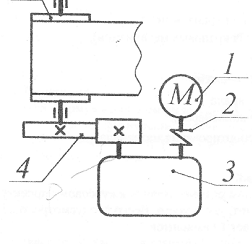
4. Расчет вала
Рисунок 2. Привод ленточного
конвейера
Из расчета ленточного конвейера:
Из кинематического расчета крутящий момент на
валу приводного барабана:
Из расчета открытой цилиндрической
передачи:
Окружная сила
, радиальная
сила
Компоновка вала
Рисунок 3. Схема компоновки вала
- расстояние между колесом и
подшипником, мм
- расстояние между подшипником и
барабаном, мм
- длина подшипниковой опоры,
- длина ступицы колеса,
Предварительно рассчитываем диаметр
выходного участка вала:
- допускаемое напряжение пружины,
С участком ослабления ступица
шпоночного паза увеличим d на 5…10%,
Длина ступицы:
Выбираем подшипник радиальный
однорядный средней серии 312, имеющие ширину
Вторая компоновка вала
Равнодействующая сила оси набегающей
и сбегающей сил:
Приближенный расчет вала
Реакции опор в горизонтальной
плоскости:
Проверка:
Реакции опор в вертикальной
плоскости:
Проверка:
Изгибающие моменты и эпюры в
горизонтальной плоскости:
Строим эпюры изгибающих моментов.
Изгибающие моменты и эпюры в вертикальной плоскости:
Строим эпюру изгибающих моментов.
Строим эпюру крутящего момента. Т =
2296.5 Нм
Суммарные реакции опор и суммарные
изгибающие моменты:
- максимальная радиальная сила
нагружающая подшипник.
Максимальный суммарный изгибающий
момент под барабаном, поэтому эквивалентный момент:
Диаметр вала в основном сечении:
Где
- допускаемое напряжение изгиба,
МПа
Под подшипник диаметр вала будет на
5мм меньше,
Выбираем подшипники радиальные
однорядные средней серии 316:
мм; D = 170 мм;
мм.
Выбор шпонок (берем призматические)
производится по d вала: для d = 85мм b = 22мм, ее
высота h = 12мм,
глубина паза
мм.
Выполняем схему вала:
Рисунок 5. Эскиз вала
Уточненный расчет вала
Определяем коэффициент запаса
прочности 1-1 (под барабаном max изгибающих моментов и
имеется концентратор напряжения - шпоночный паз). Принимаем материал вала:
сталь 40Х. Предел прочности
;
- предел выносливости по нормальным
напряжениям;
Коэффициент запаса прочности по
нормальным напряжениям:
Где
- коэффициент концентрации
напряжений для шпоночного паза;
- коэффициент шероховатости;
- максимальный фактор;
-
коэффициент симметрии цикла;
- амплитуда цикла нормальных
напряжений
Так как нет осевых сил,
Коэффициентом запаса прочности по касательным
напряжениям:
Где
- коэффициент напряжений для
шпоночного паза;
- коэффициент шероховатости;
- масштабный фактор при кручении;
- коэффициент ассиметрии цикла;
- амплитуда цикла и среднее
напряжение цикла касательных напряжений:
Где
- момент сопротивлению кручения,
Общий коэффициент запаса прочности:
Подбор и расчет подшипников качения
Для однорядных радиальных
шарикоподшипников эквивалентная нагрузка:
Где V -
коэффициент вращения;
- влияние нагрузки на подшипник;
- t-й
коэффициент;
- суммарная реакция опоры.
Долговечность определяется:
Где n - частота
вращения вала;
c -
динамическая грузоподъемность.
P = 3
Проверка прочности шпонок
Выбранные шпонки проверяем по
напряжениям смятия:
Где Т - вращающий момент, Нм;
h - высота
шпонки, мм;
Следовательно шпонка будет прочной.
Заключение
В результате расчетов спроектирован
горизонтальный ленточный конвейер для транспортирования опилок (
), длиной 35
м, имеющий производительность 187.6 Т/ч при скорости ленты; 0.55 м/с.
Использовано винтовое натяжение устройств с винтами М8.
Для привода применен двигатель
4А112М443, имеющий мощность 5.5 кВт и частоту вращения 1445
, упругая
муфта МУВГ, двухступенчатый редуктор Ц2У-160 (u = 22.4), и
открытая цилиндрическая передача (u = 3.12).
Проверены: проектировочный и
проверочный расчет указанной передачи, определен модуль зацепления m = 8 мм.
Спроектирован приводной барабан с расчетом шпоночных соединений. Подобраны
радиальные шариковые подшипники 316, с долговечностью 49074,52 ч.
Библиографический список
1.
Александров М.П. Грузоподъемные машины. - М: Высш. шк. 2000 - 552 с.
.
Детали машин: Атлас конструкции (под ред. Д. Решетова - М.: Машиностроение,
1992 - 367 с.
.
Иванов П.Ф., Детали машин - М: Высш. шк, 2000 - 583 с.
.
Проектирование механических передач (С.А. Чернавский, Ф.А. Слесарев, Б.С.
Козинцов и др. - М: Машиностроение, 1984 - 560 с.
.
Карамышев В.Р., расчет передач зацепления: Учебное пособие. Воронеж 1994 - 114
с.
.
Дунаев П.Ф., Леликов О.П., Конструирование узлов деталей машин - М.: Высш. шк.,
2000 - 447 с.
.
Карамышев В.Р. Расчет конвейеров: Учебное пособие. Воронеж: ВГЛТА. 1998 - 199
с.