Привод вальцовой дробилки
Министерство
образования Республики Беларусь
Учреждение
образования
«Могилевский
государственный университет продовольствия»
Кафедра
прикладной механики
Привод
вальцовой дробилки
Пояснительная
записка к курсовому проекту
по
дисциплине «Прикладная механика»
Выполнила
студентка группы
ТРБ-111
Лойко А. Н.
Руководитель
проекта
к. т. н., доцент
Киркор М.А.
Могилёв
2014
1.Введение
привод редуктор дробилка
Объектом разработки курсового проекта является
индивидуальный электромеханический привод. В данном случае привод вальцовой
дробилки, который включает в себя электродвигатель, являющийся источником
механической энергии, направленной на дробление.
Вальцовые дробилки широко применяются в пищевой
промышленности для дробления и помола зерна, солода, плодов и т. д. Рабочей
частью вальцовой дробилки являются горизонтальные валки. Количество валков
может быть различным. Простейшая дробилка имеет один валок, вращающийся вокруг
горизонтальной оси параллельно неподвижной рабочей щеке. В этом случае дробление
происходит между неподвижной щекой и вращающимся валком. Однако чаще дробилки
имеют пару или несколько валков. Парные валки вращаются навстречу один одному,
и дробление происходит между валками. По характеру поверхности валков они могут
быть гладкими, рифлеными и зубчатыми.
На рис. 1 представлена схема вальцовой дробилки.
Подшипники валка 2 неподвижны, валка 1 подвижны и удерживаются при помощи
пружин 3, что позволяет валку 1 смещаться при случайном попадании в дробилку
твердых инородных тел. Размер кусков продукта определяется шириной щели между
валками. Питание дробилки производится непосредственно из бункера при
содействии питающих валков.
При вращении валков куски материала должны быть
захвачены и раздроблены. Чтобы материал был захвачен, между диаметром валков и
размером куска должно быть определенное соотношение. Рассмотрим случай, когда
валки имеют гладкую поверхность и одинаковую частоту вращения (рис. 2). На
валок действует со стороны куска А сила Р, обуславливаемая его тяжестью; со
стороны валка соответственно действует на кусок такая же сила Р. Вертикальная
слагаемая этой силы Р sin α
выталкивает кусок сверху. Такая же сила действует и со стороны другого валка;
следовательно, выталкивающие силы будут равны 2Р sin α.
Сила
трения составит 2fP, а ее вертикальная проекция - 2fPcos α,
где f - коэффициент трения. Эта сила направлена вниз и увлекает куски в щель
между валками. Чтобы частица была затянута валками, должно быть соблюдено
условие:
P sin α
< 2P cos α или tg α
< f. (1)
Однако так как коэффициент трения f равен углу
трения, то tg α < tg φ,
где φ
- угол
трения измельчаемого продукта о материал валка. Угол трения φ
продуктов
дробления зерна составляет для гладкополированного чугуна 12 - 21 º,
коэффициент
трения - соответственно 0,213 - 0,384.
Из рис. 2 видно, что величина зависит от
диаметра валка D, размера куска материала d и ширины щели b. С достаточной для
практических целей точностью можно принять, что
Dmin= (d-b)/(1- cos φ).
(2)
,2 - валки; 3 - пружина.
Рисунок 1- Вальцовая дробилка
Рисунок 2 - Схема работы вальцовой дробилки
На практике гладкие валки для дробления зерна
имеют диаметр 250-350 мм. Если скорость вращения парных валков одинакова,
материал только расплющивается и раздавливается. Чтобы одновременно происходило
и истирание, частота вращения валков должна быть различной с соотношением
1/1,3-1/2,5. Окружная скорость вращения валков при дроблении зерна 2,5-5 м/с.
Для размола зерна применяют валки с рифленой
поверхностью (рис. 3), которую получают нарезкой валков на специальных станках.
Рифли образуют некоторый угол с образующей вала. Такие валки не только
раздавливают, но и раскалывают материал. Они имеют иной угол захвата, чем
гладкие. Если для гладких валков среднее отношение D/d= 20-25, то для рифленых
- 10-12.
Кроме рифленых валков для дробления
употребляются зубчатые валки. На рис. 4 представлена вальцовая дробилка с
зубчатыми валками. Для такой дробилки отношение D/d=2-5. Производительность
вальцовой дробилки может быть ориентировочно рассчитана следующим образом:
объем материала V, м3/ч, выходящего из щели
дробилки:
V=b·l·π·D·n·60,
(3)
где l - длина щели, или, длина валка дробилки,
м;- диаметр валка, м;- частота вращения, об/мин;- ширина щели, м;
часовая производительность дробилки mч, кг/ч:
mч=b·l·π·D·n·60·ρ·φ,
(4)
где ρ
- плотность материала, кг/м3;
φ - поправочный
коэффициент, учитывающий неравномерность питания (для зерна он равен 0,5 -
0,7);
мощность на валу дробилки не поддается
теоретическому определению и устанавливается по данным опыта для каждого
материала и степени дробления.[5]
Рисунок 3 - Рифленый валок
Рисунок 4 - Дробилка с зубчатыми валками
Кинематическая схема привода
Рисунок 5 - Кинематическая схема привода.
Электродвигатель 4А100S2У3 ГОСТ 28330-89:
мощность - 4 кВт;
синхронная частота вращения - 2865 об/мин.
Редуктор КЦ1 - 200 - II- 2 - ЦУ2 ГОСТ 27142 -
86:
передаточное отношение - Uкцр = 20.
Цепная передача:
- передаточное отношение -
Uцп = 3,25.
Таблица 1- Параметры на валах
|
I
вал
|
II
вал
|
III
вал
|
IV
вал
|
|
Мощность,
Вт
|
3378,3
|
3327,6
|
2761,9
|
2488,2
|
|
Угловая
скорость, рад/с
|
299,9
|
299,9
|
15,0
|
3,4
|
|
Крутящий
момент, Н м
|
11,2
|
184,1
|
731,8
|
|
Частота
вращения, об/мин
|
2865,0
|
2865,0
|
143,3
|
33,3
|
2. Расчетная часть
2.1 Кинематический расчет привода
.1.1 Определяем общий к.п.д. привода
η:
(1)
где
= 0,98…0,99 - КПД муфты;
= 0,9…0,92 - КПД открытой цепной
передачи;
= 0,99…0,995 - КПД пары подшипников
качения.
КПД коническо - цилиндрического
редуктора:
(2)
где
=0,91...0,93 - КПД конической
открытой зубчатой передачи;
0,92...0,94 - КПД цилиндрической
открытой зубчатой передачи.
[табл. 1.2.1, 1]
.1.2 Определяем требуемую мощность
электродвигателя Nтр, Вт:
(3)
Вт.
2.1.3 Определяем частоту вращения на
приводном валу n, об/мин:
, (4)
где w - угловая скорость, рад/с,
.
.1.4 Определяем общее оценочное
передаточное отношение привода Umaxmin:
(5)
где
- передаточное отношение цепной
передачи;
- передаточное отношение коническо -
цилиндрического редуктора. [табл. 1.2.2, 1]
.1.5 Определяем диапазон приемлемых
частот вращения nmaxmin вала электродвигателя:
(6)
.1.6 Выбор электродвигателя:
По расчетным данным
Вт
об/мин.
Исходя из условий
и
, выбираем к
установке электродвигатель 4А100S2У3 ГОСТ 28330-89.
Для него
кВт, nдв =
2865 об/мин. [табл. 16.7.1, 1]
Рисунок 6 - Схема асинхронного двигателя
Таблица 2 - Габаритные и
установочные размеры асинхронных электродвигателей
.1.7 Определяем действительное
передаточное отношение привода U
, (7)
.
Принимаем передаточное число
коническо - цилиндрического редуктора из стандартного ряда чисел
[табл.
Б2,6], тогда
(8)
.
.1.8 Определяем мощности, крутящие
моменты, частоты вращения и угловые скорости на валах привода:вал
(9)
об/мин,
(10)
(11)
,
(12)
.
II вал
(13)
,
(14)
,
(15)
,
(16)
вал
(17)
(18)
,
(19)

(20)
IVвал
(21)
(22)
(23)
,
(24)
.2 Выбор редуктора
Коническо - цилиндрический редуктор
выбирают по двум параметрам:
передаточное число редуктора
(стандартное);
крутящий момент на тихоходном валу
редуктора.
По расчетным даннымкцр = 20;
Тт = Т3 = 184,1 Н
м.
Принимаем к установке коническо -
цилиндрический редуктор с межосевым расстоянием 200мм; II - исполнение по
передаточному числу;
- вид сборки; Ц - цилиндрический
конец тихоходного вала; У - климатические условия; 2 - категория размещения:
КЦ1 - 200 - II- 2 - ЦУ2 ГОСТ 15150 - 69. [табл.16,2]
Для него Uкцр = 20, Тт = 647,5 Н
м, dб = 40
мм.
Рисунок 7 - Схема
коническо-цилиндрического редуктора
Таблица 3 - Габаритные и
присоединительные размеры редукторов КЦ1
Рисунок 8 - Быстроходный и
тихоходный вал редуктора
Таблица 4 - Параметры редукторов КЦ1
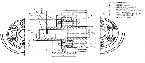
.3 Выбор муфты
Муфту выбираем по двум параметрам:
передаваемый крутящий момент;
диаметры сопрягаемых валов.
По расчетным данным:
Т= 11,2 Н·м;
диаметру вала электродвигателя 
=28 мм;
диаметру быстроходного вала
редуктора 
=40 мм;
выбираем к установке муфту МУВП -
250 - 28 - 1 - 40 - 4 ГОСТ 21424-93. [табл.13.3.1,1]
Рисунок 9 - Муфта упругая
втулочно-пальцевая
Таблица 4 - Параметры и размеры, мм,
упругих втулочно-пальцевых муфт
2.4 Расчет цепной передачи
звено соединительное; 2 - звено
переходное.
Рисунок 10 - Приводные цепи типа
ПР(ПРА)
Таблица 5 - Размеры и параметры
приводных втулочных и роликовых цепей типа ПВ, 2ПВ, ПРД, ПРИ
Исходные данные:цп = 4,3 -
передаточное число;= 2761,9 Вт - мощность на ведущем валу;=143,3 об/мин -
частота вращения ведущего вала.
.4.1 Определяем число зубьев ведущей
и ведомой звездочки Z1 и Z2:
Число зубьев ведущей звездочки Z1:
(25)
Число зубьев ведомой звездочки Z2:
(26)
.4.2 Определяем действительное
передаточное отношение передачи uд:
(27)
.4.3 Определяем коэффициент эксплуатации
Кэ:
(28)
где
- коэффициент, учитывающий
динамичность передаваемой нагрузки. Для равномерной нагрузки
[табл.3.3.2
,1]
- коэффициент, учитывающий межосевое
расстояние. При
[табл.3.3.3,1]
- коэффициент, учитывающий способ
регулировки натяжения цепи. Для натяжения цепи оттяжными звездочками или
нажимными роликами
[табл.3.3.4,1]
- коэффициент, учитывающий наклон
передачи к горизонту. Для угла наклона менее 60
[табл.3.3.5,1]
- коэффициент, учитывающий качество
смазки передачи и условия ее работы. Для работы с хорошим качеством смазки в не
запыленном помещении
[табл.3.3.6,1,табл.3.3.7,1]
-коэффициент, учитывающий режим
работы передачи. При односменной работе
.[табл.3.3.8,1]
(29)
(30)
(31)
где
= 2761,9;
= 143,3;
- коэффициент числа зубьев;
- число зубьев ведущей звездочки
типовой передачи; примем равным 25;
- коэффициент частоты вращения;
- частота вращений типовой передачи;
примем равной 200 об/мин;
- коэффициент, учитывающий число
рядов цепи,
=1.
По расчетным данным n01=200об/мин,
исходя из условия Nр
[N] выбираем
к установке цепи: ПРД-38,1-3180(А) и ПРД-38,0-3000(Б) ГОСТ 13568- 75.
[табл.3.1.2,1]
Таблица 6 - Размеры и параметры
приводных роликовых цепей
|
Цепь
ПРД-38,1-3180 (А)
|
Цепь
ПРД-38,0-3000 (Б)
|
|
Допускаемая
передаваемая мощность [N], кВт при n01 = 200 об/мин.
|
4,80
|
5,50
|
|
Шаг
цепи tц, мм
|
38,10
|
38,00
|
|
Диаметр
валика d, мм
|
5,94
|
7,92
|
|
Длина
втулки b, мм
|
12,70
|
22,00
|
|
Разрушающая
сила F, кН
|
31,8
|
30,0
|
|
Масса
одного погонного метра цепи m, кг
|
1,10
|
1,87
|
Определяем скорость цепи V, м/с:
(32)
Для цепи А:
Для цепи Б:
Определяем окружное усилие Ft, Н:
(33)
Для цепи А:
Для цепи Б:
Определяем удельное давление в
шарнирах цепи Р, МПа:
(34)
Для цепи А:
Для цепи Б:
Для цепи А [P] = 29 МПа, для цепи Б
[P] = 29 МПа. [табл.Б19,6]
Так как условие выполняется, то
дальнейший расчет ведем по двум выбранным цепям.
Определяем минимальное межосевое
расстояние amin,мм:
(35)
Для цепи А:
Для цепи Б:
Определяем число звеньев цепи или
длина цепи, выраженная в шагах, Zц:
, (36)
где
- эмпирический коэффициент:
(37)
Для цепи А:
Для цепи Б:
Принимаем zц = 138.
Определяем расчетное межосевое
расстояние при принятом
ар ,мм:
(38)
Для цепи А:
Для цепи Б:
Определяем действительное межосевое
расстояние ад, мм:
(39)
Для цепи А:
Для цепи Б: 
(40)
(41)
Для цепи А:
Для цепи Б:
Определяем число ударов цепи при
набегании ее на зубья звездочек и сбегания с них W, сек-1:
(42)
Определяем допускаемое значение
числа зубьев [W], сек-1:
(43)
Для цепи А:
Для цепи Б:
Таким образом, условие 
выполняется.
Определяем коэффициент запаса
прочности цепи n:
(44)
где
- центробежная сила:
(45)
Для цепи А:
Для цепи Б:
- сила от провисания цепи
(46)
где
- коэффициент провисания цепи; для
горизонтально расположенной передачи :
= 6.
Для цепи А:
Для цепи Б:
Для цепи А:
Для цепи Б:
Допускаемое значение коэффициента
запаса прочности цепи при n1 = 200 об/мин
для цепи A равняется 8,9, для цепи
Б значения коэффициента нет.
[табл.Б20,6]
Исходя из полученных значений, принимаем
к установке цепь
ПРД-38,1-3180 ГОСТ 13568-75.
2.5 Расчет шпоночных соединений
Рисунок 7 - Соединение «вал-ступица»
призматической шпонкой
Таблица 6 - Размеры призматических
шпонок и сечений пазов, их предельные отклонения, мм
Таблица 7- Длины и материал шпонок
2.5.1 Определяем диаметр приводного
вала d, мм:
, (47)
где T - крутящий момент на приводном
валу, Н·мм;
[τ] - допускаемое напряжение
при кручении, МПа; [τ]=(15-25)
МПа.
Принимаем диаметр вала равным 57мм.
.5.2 Параметры шпонки: при
;
высота шпонки
;
ширина шпонки
;
глубина шпоночного паза
;
число шпонок
[табл.
Б21,6]
.5.3 Определяем рабочую длину
шпонки:
Исходя из условия прочности на
смятие
(48)
где
- допускаемое напряжение на смятие;
=100МПа
Проверяем условие прочности на срез:
(49)

Условие выполняется.
.5.4 Определяем полную длину шпонки
l, мм:
(50)
Окончательно принимаем к установке
шпонку:
3.
Рекомендации по выбору масла и смазки основных элементов привода
Смазка редуктора.
В данной конструкции привода смазки
подвергается коническо-цилиндрический редуктор, цепная передача и подшипники
приводного вала.
Зацепление коническо-цилиндрических
редукторов обычно смазываются жидким маслом. Способы смазки: картерный,
централизованный или струйный. Для нашего вида редуктора рекомендуется один из
этих способов. Способ смазывания выбирается в зависимости от окружной скорости.
При окружных скоростях, не превышающих 10 м/с, применяется картерное смазывание
погружением в масляную ванну редуктора, если требуется охлаждение путем
централизованного подвода охлажденного масла. Температура масла в ванне
редуктора допускается до 65°С и только в редких случаях 85°С. Зубчатое колесо
должно быть погружено в масляную ванну не более чем на 2/3 высоты зуба. Картерный
проточный способ смазывания состоит в том, что в ванну редуктора с одной
стороны подается масло, а с другой отводится и одновременно происходит
охлаждение его. Для очистки масла от грязи и других примесей применяют
сетчато-пластинчатые фильтры. Охлаждение масла осуществляется в трубчатых
холодильниках, по трубкам которого проходит охлажденная вода.
Для сохранения физико-химических
свойств масла при длительной эксплуатации, а так же для лучшего его отстоя, в
смазочную систему добавляют баки-отстойники емкостью от 8 до 20-кратной
минутной производительности насоса. Масло подается сверху не зависимо от
направления вращения зубчатых колес. Давление в смазочной системе
поддерживается примерно 1…1,5 атм., на выходе из сопла - 0,5…0,8 атм.
Подшипники смазываются маслом,
разбрызгиванием колес.
Циркуляционная смазка применяется
при больших скоростях передачи, а также в редукторах небольшой мощности и
скорости, если конструкция не позволяет осуществить картерную смазку. Масло из
картера или специального бака подается насосом в места смазки по трубопроводу
через сопла или при широких колесах через коллекторы.
Смазка цепной передачи.
Для смазки цепной передачи применяют
преимущественно легкие масла, вязкость которых должна быть тем выше, чем больше
удельное давление в цепи. Периодическая смазка назначается при скорости цепи не
более 4 м/с и производится через 6 - 8 часов. Пластичная внутришарнирная смазка
применяется для цепных приводов транспортных машин при скорости цепи не более 8
м/с. Осуществляется она погружением цепи в подогретую до температуры разжижения
смазку. Периодичность 120-180 ч.
Смазка подшипников.
Подшипники приводного вала
целесообразно смазывать индивидуально густой (пластичной) смазкой. В этом
случае подшипник закрывают с внутренней стороны защитным или маслосбрасывающим
кольцом. Свободное пространство внутри подшипникового узла заполняют густой
смазкой. Через каждые три месяца производят добавку свежей смазки, а через год
- разборку, промывку узла и сборку со свежей смазкой.
Для подачи в подшипники густой
смазки применяют пресс-масленки по ГОСТ 19853-74. Смазка подается под давлением
специальным шприцем. Для густой смазки используют также колпачковые масленки.
Для индивидуального подвода жидкой
смазки к подшипникам имеются
масленки различных конструкций.
Самой распространенной из них является пресс-масленка по ГОСТ 19853-74. Широкое
применение находит также наливная масленка
Диаметр отверстия для подвода смазки
в корпусе, крышке, стакане обычно принимают равным диаметру резьбы для масленки
и выполняют его сверлом под резьбу.
В крышках подшипников для подвода
смазки выполняют канавки, а на торце делают один-два паза. В стаканах также
выполняют канавки и сверлят одно-два поперечных отверстия. [2]
4. Краткое описание порядка сборки,
работы и обслуживания привода
Привод вальцовой дробилки включает в
себя электродвигатель 4А100S2У3 ГОСТ 28330-89, являющийся источником
механической энергии. С вала электродвигателя с частотой вращения равной 2865
об/мин передается вращающий момент на входной вал цилиндрического редуктора КЦ1
- 200 - II- 2 - ЦУ2 ГОСТ 15150 - 69 с передаточным отношением равным 20.
Выходной вал редуктора передает вращающий момент через цепную передачу ПРД-38,1-3180
ГОСТ 13568-75 (u=4,3) и приводит в движение рабочий орган машины.
Порядок сборки привода описывается
по сборочным чертежам.
На раму 1 устанавливают
электродвигатель 29 и коническо-цилиндрический редуктор 14. Между
электродвигателем и быстроходным валом редуктора находится муфта упругая 13.
Электродвигатель и коническо-цилиндрический редуктор устанавливают на пазы рамы
и наживляют болтами 8, 9 с предварительно одетыми на валы полумуфтами.
После установки электродвигателя и
редуктора их жестко закрепляют болтами к раме. После чего скрепляют между собой
полумуфты, затем надевается втулочная цепь 15 и устанавливается на каркасе
привода натяжное устройство 2 цепной передачи.
После установки всех элементов
привода осуществляется монтаж защитного кожуха 5; выполняется контроль уровня
масла в редукторе.
При пуске в работу привода
необходимо его вначале обкатать без нагрузки в течение не менее 1 часа.
Обслуживание привода заключается в
том, что необходимо постоянно следить за креплением и смазкой цепной передачи,
а также за количеством масла в редукторе ведь от этого зависит долговечность
его работа.
Порядок работы привода вальцовой
дробилки заключается в следующем:
вал электродвигателя с частотой
вращения 2865 об/мин через муфту передает крутящий момент на быстроходный вал
цилиндрического редуктора с передаточным числом 20, частота вращения
тихоходного вала - 143,3 об/мин. Далее, крутящий момент передается на цепную
передачу с передаточным числом 4,3. Непосредственно через цепную передачу
крутящий момент передается на приводной вал. Частота вращения приводного вала -
33,3 об/мин.
5. Требования техники безопасности к
проектируемому приводу
Вальцовая дробилка предназначена для
дробления и помола зерна, солода, плодов и т.д. Эксплуатироваться в закрытых помещениях.
Конструкция дробилки должна
обеспечивать безопасную эксплуатацию. Элементы механической и электрической
части машины выполняются в требуемом климатическом исполнении. В обязательном
порядке устраивается защитное заземление.
Электродвигатель, пускорегулирующую
аппаратуру и приводную и натяжную станции защищают от попадания капельной влаги
посредством установки кожухов. Для того чтобы не нарушать тепловой режим
электродвигателя, в месте его установки кожух перфорируют.
Конвейер оборудуется сигнализацией о
пуске и остановке. Конструкция горизонтальных и наклонных секций дробилки
должна обеспечивать безопасное перемещение груза.
Механические передачи приводной
станции, а также вращающиеся части дробилки в обязательном порядке оснащаются
ограждениями и защитными устройствами.
В процессе работы категорически
запрещается техническое обслуживание дробилки (устранение неполадок, доливка
или смена масла в редукторе; смазка цепной передачи и т.п.).
Устанавливается дробилка на прочное,
тщательно выровненное основание. Если прочность покрытия недостаточна, то в
месте расположения приводной станции и опорных конструкций устраивается
отдельный фундамент. В обязательном порядке приводная станция и опорные
конструкции дробилки закрепляют анкерными болтами во избежание смещения от
заданного проектного положения в процессе эксплуатации.
При размещении дробилки в
технологической цепочке процесса должно учитываться условие его безопасного
расположения относительно проходящих вблизи от него потоков рабочей силы.
Дробилка должна располагаться таким образом, чтобы не пересекать людские
потоки.
Границы опасной зоны при работе
дробилки размечают белыми линиями или другим цветом покрытия. Рядом с наиболее
опасными участками вывешиваются предупредительные плакаты ''Проход закрыт''. В
местах интенсивного движения людей устраивается защитное ограждение. [5]
Заключение
В ходе курсового проекта разработали
электромеханический привод вальцовой дробилки.
К нему приняли электродвигатель типа
4А100S2У3 ГОСТ 28330-89:
с мощностью равной 4 кВт, частота
вращения равна 2865 об/мин., цилиндрический редуктор типа КЦ1 - 200 - II- 2 -
ЦУ2 ГОСТ 15150 - 69 с крутящим моментом равным 647,5 Н·м, цепную передачу
ПРД-38,1-3180 ГОСТ 13568-75 с передаточным отношением равным 4,3.
Подобрали смазочные материалы для
привода, а также изучили технику безопасности при работе привода.
Список использованных источников
Курмаз,
Л.В. Детали машин. Проектирование: Учеб. пособие / Л.В. Курмаз, А.Т. Скойбеда.
- Мн.: УП «Технопринт», 2001. - 290с.
Анурьев,
В.И. Справочник конструктора-машиностроителя/ В.И. Анурьев. - в 3-х томах. -
М.: Машиностроение, 1975. - Т. З. - 526с.
Методические
указания по курсу «Прикладная механика» раздел «Детали машин» с решением,
справочным материалом и заданием к расчетно - графическим и контрольной работе
для студентов специальности 1-49 01 01 «Технология хранения и переработки
пищевого растительного сырья» дневной и заочной формы обучения/ В.А. Шуляк,
М.А. Киркор - Могилев, 2009. - 46с.
Стабников,
В.Н. Процессы и аппараты пищевых производств/ В.Н Стабников, В.М. Лысянский,
В.Д. Попов. - М.: Агропромиздат, 1985 - 503c.
Никитин,
В.С. Охрана труда на предприятиях пищевой промышленности/ В.С. Никитин, Ю.М.
Бурашников. - М.: Агропромиздат, 1991. - 350с.