|
Строчка
|
Количество стежков в 10 мм строчки
|
|
Стачивающая
|
3 - 5
|
|
Обметочная
|
2 - 3
|
|
Подшивочная
|
2 - 3
|
|
Зигзагообразная
|
4 - 10
|
|
Петельная: Для прямых петель Для фигурных петель
|
18 - 25 10 - 12
|
При соединении деталей одежды из
трикотажных полотен возникает ряд трудностей, обусловленных специфическими
свойствами трикотажного полотна.
Прорубание материала иглой.
Игла швейной машины, прокалывая
трикотажное полотно попадает либо в просвет между петлями, либо в нити,
образующие петли волокна. В последнем случае нить может быть полностью или
частично разрушена. Этот дефект резко ухудшает внешний вид изделий и приводит
их к преждевременному износу.
Для стачивания трикотажных полотен
рекомендуются иглы с шаровой формой заточки острия, что обеспечивает хорошее
раздвижение нитей переплетения и снижает прорубаемость.
Образование затяжек.
При изготовлении одежды из тонких и
гладких трикотажных полотен, на которых возможно появление затяжек, игла должна
быть очень тонкой и не иметь поврежденного острия.
Для предотвращения прорубания
следует выполнять профилактический осмотр и смену игл не реже чем после 8
часовой работы машины, чтобы исключить работу иглой с затупленным острием.
2. Сварные швы.
Помимо ниточных швов при обработке
изделий из синтетических волокон
(капроновых, лавсановых) могут быть
использованы сварные швы, выполняемые на машинах БШМ-1 с помощью ультразвука.
Ультразвуковой сваркой могут быть соединены части подбортов, обтачек, поясов,
срезы воротников, манжет, клапанов, планок и т.п.
8. Особенности обработки
основных деталей и узлов изделий из трикотажного полотна
При изготовлении одежды из
трикотажных полотен для улучшения внешнего вида и повышения устойчивости формы
отдельных деталей применяют прокладочные материалы.
Клеевые материалы.
Для обработки изделий из
трикотажного полотна используются трикотажные термопластичные материалы,
вырабатываемые на основе трикотажного основовязаного переплетения с
прокладыванием уточной нити. Уточные нити могут быть полиэфирными, полиамидными
или вискозными и составляют 70-80% от всей массы полотна.
Дублирование деталей верхней одежды
из трикотажных полотен может быть проведено по всей их поверхности или частично
на отдельных участках деталей. Срезы основных прокладок должны входить в
соединительные швы не менее чем на 1-2 мм или закрепляться отделочной строчкой.
Прокладки внизу полочек, спинки и рукавов закрепляют по припуску на подгибку с
расположением края прокладки по линии перегиба.
В лекалах деталей, подлежащих
дублированию, должны быть предусмотрены припуски (3-4%) на величину усадки
трикотажного полотна при склеивании и обработке его на прессе или утюгом.
Детали прокладки с полиамидным
покрытием приутюживают к деталям кроя из основного материала с изнаночной
стороны с увлажнением; прокладки с полиэтиленовым покрытием - без увлажнения.
Если дублирование выполняется утюгом, то сначала во избежание перекоса полотна
необходимо поставить утюг на один-два участка на короткое время, а затем
зафиксировать по всей поверхности. Необходимым условием качественного
дублирования является охлаждение деталей после обработки в течение 3-5 с.
После дублирования, свойства полотен
сохраняются в полном объеме.
Среди новых видов клеевых
прокладочных материалов для обработки трикотажа с высокой степенью растяжимости
можно выделить мультиэластичныеклеевые тканые полотна. При обработке данными
материалами, свойства трикотажного полотна не нарушаются. Текстурированная нить
утка клеевого полотна предоставляет возможность восстановления формы.
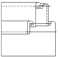
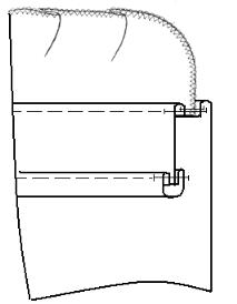
Кромочные материалы.
Прокладывание по срезам кромки
производится по плечевым швам, швам соединения воротника с горловиной и в нижней
части проймы при соединении рукавов с проймами. Применение кромок целесообразно
в том случае, если срезы деталей легко растяжимы. Применяют клеевые кромки с
каркасной нитью. Это укрепленные строчкой ленты из флизелина с точечным клеевым
покрытием, выкроенные под углом 45˚ к нити основы. Кромка легко
укладывается по фигурным срезам деталей без перекосов, а каркасная нить кромки
позволяет четко фиксировать длину шва изделия. Клеевую кромку прокладывают так,
чтобы строчка будущего шва в последствии проходила по каркасной нити (рис. 1)
Рис. 1
Клеевую кромку можно заменить
полоской подкладочного материала. В этом случае, выкроенную полоску укладывают
на изнаночную сторону стачиваемых деталей так, чтобы полоска вошла в шов
стачивания на 2-3 мм. Полоску отгибают, закрывая шов стачивания, и обметывают
вместе со срезами основных деталей.
Рис. 2
9. Сборка изделия
Качество готовых
изделий в большей степени зависит от соединения плечевых срезов спинки и
полочек. Для предотвращения растяжения плечевых швов в них прокладывают тесьму,
долевые полоски из трикотажного полотна, полоску латекса и т.д. Стачивание
плечевых срезов выполняют по срезу полочки, производя посадку среза спинки
(10-15 мм). Ширина шва 4-5 мм.
В изделиях из
формоустойчивых трикотажных полотен боковые срезы при необходимости сначала
обметывают, а потом соединяют стачным швом вразутюжку.
Низ изделий
обрабатывают швом вподгибку с открытым или закрытым срезами (рис. 3).
Рис. 3 Обработка
низа изделия швом вподгибку:
а - строчкой
потайного стежка; б - трехниточной стачивающее-обметочной строчкой цепного
стежка;
в-трехниточной
плоской строчкой
Низ юбок,
изготовленных из полотен типа гофре или плиссе, не подгибают.
10. Обработка вытачек
В изделиях из формоустойчивых
трикотажных полотен вытачки могут обрабатываться неразрезными (рис. 3 а, б) или
разрезными (рис. 3 в, г).
а б
в г
Рис. 3 Обработка вытачек:
а - стачивание неразрезной вытачки
швом взаутюжку; б - стачивание неразрезной вытачки швом вразутюжку;
в-стачивание разрезной вытачки; г - стачивание разрезной вытачки накладным швом
Срезы разрезной вытачки (рис. 3 в)
стачиваются, заутюживаются в центр детали. Конец вытачки сутюживается.
Возможна обработка вытачки
соединительным накладным швом. Припуски на обработку вытачки высекают, оставляя
5 мм на обработку шва. Стороны вытачки совмещают, накладывая припуски на
обработку друг на друга. Строчку стачивания прокладывают от среза до конца
вытачки. Закрепление конца строчки выполняют вручную. Вытачку приутюживают,
сутюживая конец вытачки (рис. 3 г).
. Обработка кокеток
Кокетки (рис. 4) в изделиях из
трикотажных полотен проектируют притачными.
Притачную кокетку (рис. 4 а)
соединяют с основной деталью машинной строчкой, затем отгибают, направляя шов в
сторону кокетки и приутюживают.
Кокетка может соединяться с основной
деталью накладным швом (рис. 4 б). В этом случае, предварительно обмётывают
срезы основной детали и кокетки. Нижний срез кокетки отгибают на изнаночную
сторону по намеченной линии, заутюживают или заметывают. Затем накладывают
кокетку на основную деталь, совмещая подогнутый край кокетки с намеченной
линией на основной детали, и настрачивают кокетку на расстоянии,
предусмотренной моделью.
Рис. 4 Обработка кокеток:
а - стачным швом взаутюжку; б - накладным
швом; в-отделочным стачным швом взаутюжку с кантом
При обработке кокеток с кантом (рис.
4 в) полоску, приготовленную для канта и заутюженную вдоль по длине, лицевой
стороной накладывают на лицевую сторону основной детали, уравнивают срезы и
притачивают по отделочной детали. Образующийся шов имеет ширину 10-15 мм.
Если кокетка имеет углы, то в
области углов присоединения канта с деталью предусматривают посадку во
избежание затягивания кантом края кокетки.
Далее кокетку складывают с основной
деталью лицевыми сторонами внутрь, уравнивают срезы и притачивают, прокладывая
строчку в шов притачивания канта или на 1 мм от него в сторону основной детали.
Затем кокетку отгибают на лицевую сторону, выправляют шов и приутюживают.
. Обработка мелких
деталей
Обработка мелких деталей (пояса,
хлястика, пат и т.п.). Пояса, хлястики и другие мелкие детали могут быть
цельновязаными или выкроенными из полотна. В последнем случае они могут
состоять из одной или двух частей. Для придания формоустойчивости поясу,
хлястику, патам их соединяют прокладкой с клеевым покрытием или без него.
Прокладку из флизелина или ткани без клеевого покрытия накладывают на
изнаночную сторону нижней части детали, уравнивают срезы и настрачивают по
краям. Ширина шва составляет 3-7 мм.
Части кроеного пояса или хлястика
стачивают двухниточной строчкой цепного стежка или стачивающе-обметочной
строчкой, оставляя необтачанным участок длиной 40-50 мм для вывертывания детали
на лицевую сторону. Деталь вывертывают на лицевую сторону, выправляют швы и застрачивают
срезы отверстия или подшивают их ручными потайными строчками. Затем детали
проутюживают утюгом и, если требуется по модели, прокладывают отделочную
строчку из двухниточного цепного или челночного стежка.
Пояс-шнур шириной 7-8 мм изготовляют
на стачивающей машине с отклоняющейся в направлении подачи ткани иглой с
приспособлением, которое позволяет стачивать деталь пояса изнаночной стороной
внутрь и прокладывать соединительную строчку с лицевой стороны.
Бретели, паты, хлястики,
пристегивающиеся к изделию на пуговицы, обтачивают с трех сторон.
. Обработка карманов
Карманы в изделиях из трикотажных
полотен могут быть прорезными, накладными, а также съемными.
Прорезные карманы (рис. 5 а, б)
могут быть с клапанами, листочками (рис. 5 б) или в рамку (рис. 5 а).
Особенность прорезных карманов трикотажных изделий заключается в том, что
подкладка карманов выкраивается из основного материала. При обработке изделий
из рельефных, ворсовых, растяжимых трикотажных полотен рекомендуется применять
подкладку кармана из подкладочной ткани.
а
б
Рис. 5 Обработка прорезных карманов:
а - в рамку; б - с листочкой с
втачными концами
При обработке кармана в рамку (рис.
5 а) на основной детали намечают место расположение кармана четырьмя основными
линиями. Расстояние между горизонтальными линиями равно ширине кармана в
готовом виде, расстояние между вертикальными линиями - длине входа в карман.
Обтачки дублирубт клеевой прокладкой. Верхнюю обтачку заутюживают вдоль по
середине лицевой стороной вверх. Срез нижней обтачки обметывают. Нижнюю обтачку
заутюживают на 1/3 ширины лицевой стороной верх. На обтачках намечают линии
притачивания от сгиба на расстоянии ½ ширины кармана в готовом виде. Нижний срез подзора обметывают.
Подзор настрачивают на подкладку кармана швом шириной 2-3 мм.
На изнаночную сторону основной
детали приметывают подкладку кармана так, чтобы ее верхний и боковые срезы
выходили за ограничительные линии входа в карман на 20 мм с трех сторон.
Приметывают обтачки, совмещая
намеченные линии на обтачках с намеченными горизонтальными линиями входа в
карман. Обтачки должны быть длиннее входа в карман на 2 см с каждой стороны.
Обтачки притачивают, начиная и заканчивая строчки строго у вертикальных линий
входа в карман. Проверяют качество выполнения и симметрию строчек.
Разрезают основную деталь по линии
входа в карман. Припуски на обработку обтачек вывертывают на лицевую сторону.
Швы притачивания обтачек выметывают с лицевой стороны основной детали. Закрепляют
концы кармана тройной машинной строчкой. Удаляют нитки приметывания подкладки
кармана. Припуск на обработку нижней обтачки настрачивают на подкладку кармана
швом шириной 2-3 мм. Срезы подкладки кармана уравнивают, совмещая верхний срез
подкладки с верхним срезом подзора. Стачивают подкладку кармана швом шириной
1,0-1,5 см. Детали подкладки кармана обметывают. Карман приутюживают с лицевой
и изнаночной сторон. Нитки временного назначения удаляют, карман приутюживают в
готовом виде.
При обработке кармана с листочкой с
втачными концами (рис. 5 б) На основной детали намечают место расположение
кармана четырьмя линиями. Расстояние между горизонтальными линиями равно ширине
листочки в готовом виде. Расстояние между вертикальными линиями - длине входа в
карман. На изнаночную сторону основной детали приметывают подкладку кармана
так, чтобы ее верхний и боковые срезы выходили за ограничительные линии входа в
карман на 20 мм с трех сторон. Деталь листочки дублируют клеевой прокладкой,
перегибают в долевом направлении так, чтобы нижний срез выступал на 10 мм.
Нижний срез листочки обметывают. На листочке намечают линию ее ширины в готовом
виде. Нижний срез подзора обметывают. Подзор настрачивают на подкладку кармана
швом шириной 2-3 мм. На подкладке кармана намечают линию притачивания на
расстоянии 20 мм от верхнего среза.
Приметывают листочку, располагая ее
подлисточкой вверх, совмещая с намеченной на основной детали нижней
горизонтальной линией. Боковые срезы листочки должны выходить на намеченные
вертикальные линии входа в карман на 20 мм с каждой стороны. Приметывают
подкладку кармана с подзором, совмещая намеченную линию с верхней намеченной
линией кармана на основной детали. Боковые срезы подкладки кармана должны
выходить на намеченные вертикальные линии входа в карман на 20 мм с каждой
стороны. Листочку и подкладку с подзором притачивают, начиная и заканчивая
строчки строго у вертикальных линий. Проверяют качество выполнения строчек.
Разрезают основную деталь по линии входа в карман. Вывертывают и выметывают швы
притачивания листочки и подкладки с подзором. Закрепляют концы кармана тройной
машинной строчкой. Удаляют нитки приметывания подкладки кармана. Настрачивают
припуск шва притачивания листочки на подкладку кармана швом шириной 2-3 мм.
Стачивают детали подкладки кармана швом шириной 10 мм. Обметывают подкладки
кармана. Удаляют нитки временного назначения. Приутюживают карман в готовом
виде.
При обработке накладных карманов
(рис. 6) для предохранения их от растяжения к верхнему срезу по линии его сгиба
с изнаночной стороны притачивают хлопчатобумажную тесьму (рис. 6 а). Возможно
использование клеевой прокладки, которую прокладывают по всей поверхности
кармана или только в верхней части.
Верхний срез накладных карманов
должен быть обметан. Далее он может быть обработан швом вподгибку с открытым
или закрытым срезом, потайной строчкой или с прокладыванием отделочной строчки,
а также обтачкой, бейкой, кантом и т.п.
Рис. 6 Обработка накладных карманов:
а - без подкладки; б - с подкладкой,
цельнокроеной с верхом; в-с отделочной бейкой; г - соединительными швами
Для изделий могут быть использованы
карманы, обработанные отделочной бейкой (рис. 6 в).
Накладной карман соединяют с
полочкой накладным или стачным швом. Соединение стачным швом обычно применяют в
моделях изделий с большими накладными карманами с закругленными концами.
Накладные карманы могут быть
соединены с полочкой по нижнему срезу стачным, а по боковым срезам накладным
швом (рис. 6 г).
14. Обработка бортов
Бортаобрабатывают
цельновыкроенными и отрезными подбортами, швом вподгибку, отделывают бейками,
тканой, вязаной или плетеной декоративной тесьмой и унифицированными способами
обработки.
Обработка
открытых краев деталей бейкой.
1 способ.
Для обработки края
борта, горловины, проймы, низа рукавов в трикотажных изделиях можно
использовать ткань и трикотаж более тонкий, чем основное полотно изделия.
Полоску ткани выкраивают по косой, а трикотажное полотно поперек петельного
столбика. Полоска может иметь ширину от 2,0 см и более, согласно модели, длина
ее соответствует размеру обрабатываемого участка. Деталь дублируют клеевой
прокладкой (выкроенной под углом 45˚ к нитям основы) на трикотажной основе
или нетканым полотном. Полоску заутюживают вдоль пополам. Для обработки борта и
низа рукавов бейка имеет прямую форму, для обработки горловины - форму окружности,
которую придают с помощью влажно-тепловой обработки. Округлую полоску стачивают
в кольцо, шов разутюживают.
Кольцевой бейкой
огибают горловины так, чтобы шов соединения совместился с левым плечевым швом.
Затем приметывают или закалывают булавками и распошивают на машине 5-ти
ниточного плоского шва с двумя перекрытиями, закрывая необработанный край бейки
(рис. 7).


Рис. 7 Обработка
открытых срезов деталей бейкой
способ.
В соответствии с
направлением моды возможна обработка открытых краев деталей накладным швом.
Особенность данного
способа обработки заключается в том, что отсутствует операция обтачивания краев
деталей. Нижний воротник и подборта выкраиваются из неосыпаемой ткани, которая
хорошо сочетается по цветовой гамме с трикотажными полотнами жакета. Детали
нижнего воротника и подборта должны быть меньше соответствующих основных
деталей на 20 - 30 мм.
Верхний воротник из
трикотажного полотна накладывается на нижний воротник из ткани, наметывается и
настрачивается накладным швом по концам и отлету на машине плоского шва. Борта
обрабатываются аналогичным способом (рис. 8).


Рис. 8. Обработка
открытых срезов деталей накладным швом на машине плоского шва
Подобным способом
может быть обработан верх накладного трикотажного кармана с помощью тканевой
обтачки верха. Этот способ помимо вышеперечисленных преимуществ является
экономичным, т.к. позволяет использовать трикотажное полотно самым выгодным
образом, даже при отсутствии у купона трикотажа специальной заработки края.
При обработке
бортов двойными планками, двойные планки или полоски из основного
полотна соединяют с изделием шириной шва 4-8 мм (рис. 9 а), отступив от нижних
концов бортов на 40-50 мм (ширина подгибки низа изделия), при этом планка
должна быть длиннее обрабатываемого борта на 10 мм.
Нижние концы планки
обтачивают швом шириной 10 мм, вывертывают на лицевую сторону и приутюживают.
Внутренние срезы
планки складывают со срезом борта изделия, укладывая ее на лицевую сторону
основной детали. Нижние углы планки огибают припусками на обработку низа
изделия и притачивают планку швом шириной 4-8 мм (рис. 9 б).
Планку
отворачивают, нижние углы швов притачивания планки выправляют.
а б
Рис. 9 Обработка
бортов двойными планками
.
Обработка застежек
Обработка
супатной застежки с отрезным подбортом (рис. 10).
Для обработки
застежки выкраивают планку шириной 10 см. Подборт дублируют клеевой тканью и
обметывают его внутренний срез. Планку складывают с подбортом лицевыми
сторонами внутрь и обтачивают швом шириной 5-7 мм. Детали выворачивают на
лицевую сторону и выметывают кант из подборта шириной 1-2 мм. Кант закрепляют
строчкой на расстоянии 2 мм. Намечают место расположения петель и обметывают
их. Планку перегибают во внутренней и внешней намеченным линиям. Далее
заметывают открытый срез планки, перегнув его на 10-12 мм на изнаночную
сторону.
Между линиями сгиба
планки вкладывают полочку, совмещая срез борта с внешним сгибом планки. Затем
приметывают планку к полочке на расстоянии 3 мм от сгиба планки застежками
10-15 мм.
Подборт отгибают на
лицевую сторону изделия, обтачивают нижний срез борта швом шириной 10-15 мм и
верхний угол борта до линии полузаноса. В конце строчки выполняют рассечку.
Подборт отгибают на изнаночную сторону изделия и закрепляют отделочной
строчкой, прокладывая ее на расстоянии 1-2 мм от линии сгиба планки.
Рис. 10 Обработка
супатной застежки
Застежки не
доходящие до низа изделия (рис. 11), могут быть обработаны планками (рис. 11 а,
б), окантовочным швом (рис. 11 в), тесьмой-молнией (рис. 11 г., д).
Застежки
обрабатывают с прокладкой или без них в зависимости от вида и свойств
трикотажного полотна.
В зависимости от
вида окантовочного материала разрез застежки обрабатывают окантовочным швом с
открытыми или закрытыми срезами (рис. 11 в).

Рис. 11 Обработка
застежек:
а, б - планкой;
в-кантом на плоскошовной машине
г - настроченной
тесьмой-молнией, д - притачной тесьмой-молнией
При обработке
тесьмы-молнии в шве изделия с изнаночной стороны основной детали на срезы шва,
выполненного вразутюжку, накладывают лицевой стороной застежку-молнию и
притачивают ее по боковым и нижней сторонам к основной детали изделия (рис. 11
г.).
Застежка-молния
может быть потайной. В этом случае ее соединяют с припусками на обработку
застежки (рис. 11 д). Потайная застежка-молния должна быть длиннее разреза для
застежки не менее чем на 2 см. Она притачивается выше или ниже разреза, то есть
при полностью открытых срезах, с помощью однорожковой лапки швейной машины.
Обработка
застежки до низа изделия.
Обработка застежки
цельновыкроенными планками.
При обработке
застежки, цельновыкроенной с полочкой, припуск шва на обработку планки
перегибают по намеченной линии лицевой стороной внутрь и прокладывают строчку
на расстоянии 10 мм от сгиба. Планку цельновыкроенную с подбортом отгибают на
лицевую сторону. Подборт складывают с планкой по линии сгиба лицевыми сторонами
внутрь. Обтачивают верхний и нижний углы борта. Подборт отгибают на изнаночную
сторону. Прокладывают отделочную строчку шириной по модели (рис. 12).
Рис. 12
Обработка застежки
отрезными планками
При изготовлении
одежды возможно планку соединять с полочкой настрочным швом или накладным швом
с закрытым срезом. Внешний край планки обтачивают подбортом и прокладывают
отделочную строчку. Планка может быть цельнокроеной с подбортом (рис. 13).
Рис. 13
.
Обработка воротников
Воротники
трикотажных изделий могут состоять из одной или двух деталей. Цельные воротники
выкраивают чаще всего целънокроенными с нижними воротниками, обтачные -
состоящими из двух деталей (верхнего и нижнего воротника).
Цельный воротник
обтачивают только по концам, предварительно сложив их по линии сгиба лицевыми
сторонами внутрь (рис. 14). Ширина шва обтачивания 7 мм. Воротник вывертывают
на лицевую сторону, выметывают кант и приутюживают.
Рис. 14 Обработка
прямого воротника
При обработке
горловины изделия из легкорастяжимых полотен по шву втачивания воротника по
линии горловины спинки прокладывают кромку.
Обработка
одинарного воротника в женских жакетах.
Край одинарного
воротника закладывают мягкими складками и обрабатывают на краеобметочной машине
плотным застилом цепного стежка (рис. 15). Воротник с горловиной соединяют с
помощью обтачки.
Рис. 15
Соединение
воротника с горловиной с последующим
распошиванием (рис. 16).
Воротник складывают
с изделием лицевыми сторонами внутрь, располагая его между бортом и подбортом.
Воротник втачивают швом шириной 7 мм (рис. 16 а). Затем шов втачивания
распошивают, одновременно прикрепляя верхние срезы подбортов к плечевым швам
изделия.
Соединение
воротника с горловиной с предварительным обметыванием среза и последующим
настрачиванием.
В случае применения
стачивающей машины двухниточного цепного или челночного стежка для втачивания
воротника в горловину срез верхнего воротника предварительно обметывают. Нижний
воротник в горловину втачивают стачным швом шириной 8 - 10 мм в зависимости от
толщины материала. Срезы верхнего воротника настрачивают на изделие на
расстоянии 4 - 5 мм от среза, закрепляя при этом припуск на шов со стороны
нижнего воротника и горловины (рис. 16 б).
Соединение
воротника с горловиной с последующим обметыванием срезов и распошиванием.
Обметывание срезов
воротника может быть выполнено после втачивания верхнего и нижнего воротников в
горловину (рис. 16 в). Затем шов втачивания настрачивают по линии горловины
спинки, а верхние срезы подбортов прикрепляют к плечевым швам изделия строчкой
двухниточного цепного или челночного стежка.
Соединение
воротника с горловиной без распошивания.
При втачивании
воротника без распошивания нижний воротник соединяют с горловиной строчкой
двухниточного челночного стежка (рис. 16 г.). Ширина втачного шва 7 мм. Припуск
на шов направляют в сторону воротника. Верхний воротник подгибают и
настрачивают по линии горловины.
Рис. 16 Обработка
воротников
а - соединение
воротника с горловиной с последующим распошиванием;
б - соединение
воротника с горловиной с предварительным обметыванием среза и последующим
настрачиванием;
в-обработка и
соединение воротника с горловиной с последующим обметыванием срезов и
распошиванием;
г - соединение
воротника с горловиной без распошивания
В изделиях с
застежкой горловину изделия можно обрабатывать бейкой выкроенной по косой (рис.
17) Бейка может быть выкроена из основной или подкладочной ткани. Бейка может
быть двойной (рис. 17 б) или одинарной (рис. 17 а) в зависимости от толщины
ткани. Воротник вкладывают между основной деталью и бейкой, втачивают швом
шириной 7 мм. Воротник отгибают в сторону противоположную изделию, открытый
срез бейки подгибают на 5-7 мм и настрачивают на основную деталь на расстоянии
1-2 мм от подогнутого среза. При обработке двойной бейкой деталь бейки
предварительно заутюживают вдоль полоски. Ширина бейки в готовом виде 10 - 15
мм.
а
б
Рис. 17
.
Обработка горловины в изделиях без воротника
Обработкугорловины
выполняют обтачками или окантовочным швом одинарной или сложенной вдвое
полоской основного или отделочного материала. Обтачки могут быть усилены
прокладками или обрабатываться без прокладки.
При обработке
горловины обтачкой с прокладкой из нетканого материала обтачку накладывают на
лицевую сторону изделия лицевой стороной вниз, а прокладку - на изнанку и
одновременно с обтачиванием горловины производят притачивание прокладки.
Обработку выполняют со стороны обтачки. Ширина шва 0,5 - 0,7 см. Во избежание
затягивания шов в нескольких местах надсекают, обтачку отворачивают в сторону,
противоположную изделию, припуск на шов отгибают в сторону обтачки и
настрачивают на обтачку на расстоянии 0,2 - 0,3 см от шва обтачивания
горловины. Внутренний срез обтачки обметывают, одновременно захватывая
внутренний срез прокладки.
Внутренние края
обтачек прикрепляют к плечевым швам.
Рис. 18 Обработка
горловины не клеевой прокладкой
При обработке
горловины обтачкой без прокладки в изделиях из материалов, подвергающихся
растяжению, необходимо прокладывать тесьму.
Рис. 19 Обработка
горловины обтачкой без прокладки
Обработку горловины
окантовочным швом выполняют одинарной и вдвое сложенной бейкой из основной или
отделочной ткани. При обработке горловины одинарной бейкой выкраивают полоску
шириной 20-25 мм. Бейка из ткани выкраивается под углом 450 к нитям
основы, бейка из трикотажного полотна - поперек петельных столбиков. Бейку
складывают со срезом горловины лицевыми сторонами внутрь и обтачивают швом
шириной 5-7 мм. Бейку отгибают на изнаночную сторону изделия, образуют кант
шириной 1-2 мм. Внутренний срез одинарной бейки подгибают на 7 мм и
настрачивают на расстоянии 1-2 мм от подогнутого среза (рис. 20 а). Двойную
бейку складывают пополам изнанкой внутрь. Вдвое сложенную бейку накладывают на
лицевую сторону изделия, уравнивают срезы и притачивают к изделию швом шириной
5-7 мм. Бейку отгибают на изнаночную сторону изделия, образуют кант и
настрачивают на расстоянии 1-2 мм от подогнутого среза (рис. 20 б).
а б
Рис. 20 Обработка
горловины бейкой
а - одинарной
бейкой; б - двойной бейкой
.
Обработка рукавов
Обработка рукавов
состоит из следующих операций: соединение частей рукавов, обработка низа
рукавов, втачивание рукава в пройму.
В изделиях из
формоустойчивых полотен швы втачивания рукава обрабатывают взаутюжку или
вразутюжку в зависимости от толщины полотен.
При обработке низа
рукавов изделий из трикотажных полотен используют шов вподгибку с открытым или
закрытым срезом.
Для создания
устойчивости низа рукава и придания ему формы при обработке возможно
использование клеевой прокладки.
Если по линии низа
имеется разрез, припуск на подгибание и срезы разреза перегибают на лицевую
сторону, обтачивают нижние углы разреза, затем их высекают, выправляют на
лицевую сторону и подшивают срезы.
Рукава могут иметь
притачные и отложные манжеты. Манжеты обычно выкраивают двойными с прокладкой
или без нее. Для круговой манжеты (без застежки) прокладку не применяют.
Обработка
низа рукавов замкнутыми манжетами.
Боковые срезы манжеты стачивают швом шириной 7 - 10 мм. Швы разутюживают.
Манжету складывают пополам изнаночной стороной внутрь, прикладывают к срезу
низа рукава лицевыми сторонами и притачивают на стачивающе-обметочной машине.
Манжету отгибают на лицевую сторону рукава и закрепляют закрепкой, располагая
ее над швами рукава на расстоянии 5 мм от верхнего края манжеты (рис. 21).
Рис. 21. Обработка
низа рукава замкнутыми манжетами
При втачивании
рукава в пройму происходит растяжение проймы, которое иногда достигает 10 - 14%
проектируемого размера. В результате нарушается посадка изделия на фигуре,
появляются складки и заломы на полочке, в области проймы и бокового шва. Для
предотвращения растяжения в нижнюю часть проймы прокладывают тесьму.
Рукав втачивают в
закрытую или в открытую пройму. В том и другом случае выполняют посадку по
окату рукава в соответствии с контрольными знаками.
Для женских
платьев, жакетов, пальто целесообразно втачивать рукав в закрытую пройму,
поскольку данный способ соединения рукава с изделием обеспечивает лучшую
посадку изделия на фигуре.
.
Окончательная отделка
К окончательной отделке готовых
изделий относят изготовление петель, пришивание пуговиц, выполнение закрепок,
чистку изделий и удаление концов ниток, а также влажно-тепловую обработку.
Окончательная отделка изделий должна производиться таким образом, чтобы изделия
не деформировались.
Обметывание петель выполняют на
машинах-полуавтоматах челночного или однониточного цепного стежка. Чтобы
исключить растягивание полотна при обметывании петель, с лицевой и изнаночной
сторон застежки можно подложить полоску ткани - органзы. Это придаст прочность
петле и предохранит полотно от перекоса. Излишняяорганза затем срезается
вплотную к обметочным стежкам.
В верхних изделиях из мягких и
рыхлых трикотажных полотен пуговицы следует пришивать с подпуговицами.
Окончательная влажно-тепловая
обработка готовых изделий выполняется с помощью прессов, паровоздушных
манекенов и утюгов при температуре, соответствующей волокнистому составу
трикотажного полотна.
После влажно-тепловой обработки
готовые изделия необходимо охладить, чтобы они отдали излишнюю влагу и не
сминались при упаковке.