Технологічні основи електроніки розрахунок дифузійного діоду
Реферат
КП: 36 стор., 8 рис., 4 таблиці, 10
джерел.
Об’єкт дослідження - процес виготовлення дифузійного діода.
Мета роботи - поглибити і розширити теоретичні знання,
сформувати і розвинути навички розробки технологічних процесів виготовлення
напівпровідникових приладів та інтегральних схем.
Методи дослідження - чисельні розрахунки за відомими,
отриманими і спрощеними математичними формулами, що описують особливості
дифузії, структури і роботи діода; використання теоретичних відомостей, що
стосуються корпусів діодів; використання можливостей ЕОМ для визначення
необхідних параметрів і залежностей.
Перша частина роботи присвячена напівпровідниковим приладам.
В другій частині наведено розрахунки параметрів і характеристик приладу, і
побудова прямої гілки ВАХ. В третій частині надано опис технологічного процесу
створення приладу.
ФОТОЛІТОГРАФІЯ, ТЕХНОЛОГІЧНИЙ, ДІОД, РОЗПОДІЛ ДОМІШКИ,
МАРШРУТ, ВАХ P-N ПЕРЕХОДУ, ІНТЕГРАЛЬНА СХЕМА,
ВОЛЬТ-АМПЕРНА ХАРАКТЕРИСТИКА, ДИФУЗІЯ, ЗВОРОТНА ГІЛКА, ПРЯМА ГІЛКА.
Зміст
Перелік
умовних позначень
Вступ
1. Теоретична частина
.1 Ідентифікація приладів
1.2 Види провідності
1.3 Електронно-дірковий перехід
1.4 Напівпровідниковий діод
1.5 Типи діодів
1.6 Транзистор
. Розрахунок дифузійного p-n переходу
2.1 Завдання та вихідні дані
.2 Визначення коефіцієнта дифузії
.3 Визначення глибини залягання p-n-переходу
.4 Визначення градієнта концентрацій
.5 Розрахунок ВАХ
.6 Розрахунок топології
. Технологічний процес
.1 Схема технологічного процесу
Висновки
Перелік посилань
Перелік умовних позначень
ВАХ - вольт-амперна характеристика;
ЕДП - електронно-дірковий перехід;
МОН - метал оксид напівпровідник;
НЗ - носії заряду;
ННЗ - неосновні носії заряду;
НП - напівпровідник;
ОНЗ - основні носії заряду.
Вступ
В
умовах інтенсивного розвитку науково-технічного прогресу електроніка проникла в
усі сфери життя людини. Автоматизація процесів, для полегшення життя людини на
даному етапі розвитку передбачає застосування обчислювальної техніки, що
дозволяє зменшити або взагалі виключити участь людини у більшості процесів.
Якість
цієї заміни напряму залежить від якісних характеристик обчислювальної техніки,
а саме:
швидкодії;
кількості
інформації, що здатна оброблятися за 1 такт;
навантажувальної
здатності;
надійності.
Всі
вони залежать від властивостей матеріалів, з яких вони виготовлені, і
технології, за якою вони виготовлені.
На
даному етапі розвитку найпоширенішими обчислювальними приладами є
напівпровідникові прилади, принцип дії яких заснований на використанні
властивостей гетеропереходів, штучно сформованих в об’ємі або на поверхні
напівпровідника, що в залежності від призначення може мати різні властивості
(випрямляючі, контактні, стабілізуючі, провідні тощо).
На
сучасному розвитку технології відомі 4 основних методи формування
гетеропереходів (цей випадок передбачає те, що зразок, що піддається обробці
вже має власний тип провідності).
В основі роботи абсолютної більшості
напівпровідниковим приладів лежать фізичні явища в електронно-дірковому
переході. Електронно дірковий перехід (р-n - перехід) - це перехідний шар, що
утворюється між двома областями напівпровідника з електропровідністю різного
типу і має підвищений питомий опір. Для одержання електронно-діркових переходів
у напівпровіднику утворюються області з електронною та дірковою провідністю за
рахунок уведення донорних та акцепторних домішок.
Якщо концентрація донорної ND та акцепторної NА домішок при переході з однієї області
в іншу змінюється стрибком, p-n - перехід називається різким або
східчастим, а у випадку плавної зміни домішок - плавним.
Як правило, в напівпровідникових приладах використовуються
несиметричні переходи, які характеризуються різною концентрацією домішок ND та NА. Відношення концентрації може
досягати декількох порядків.
1. Теоретична частина
1.1 Ідентифікація приладів
Техніка напівпровідникових приладів стала самостійною областю
електроніки. Заміна електронних ламп напівпровідниковими приладамиуспішно
здійснена в багатьох радіотехнічних пристроях.
На всьому протязі розвитку радіотехніки широко застосовувалисякристалічні
детектори, що представляють собою напівпровідниковівипрямлячі для струмів
високої частоти. Для випрямлення постійногоструму електричної мережі
використовують купроксние і селеновінапівпровідникові випрямлячі. Однак вони
непридатні для високихчастот.
Ще в 1922 р. співробітник Нижегородської радіо лабораторії О.В. Лосєв
отримав генерування електричних коливань за допомогоюкрістілліческого детектора
і сконструював приймач "Крістадін", вякому за рахунок створення
власних коливань виходило посиленняприйнятих сигналів. Він мав значно більшу
чутливість,ніж звичайні приймачі з кристалічними детекторами. Відкриття
Лосєва, на жаль, не отримало належного розвитку в наступніроки.
Напівпровідникові тріоди, що одержали назви транзисторів,запропонували в 1948
р. американські вчені Бардін, Браттейн і Шоклі.
У порівнянні з електронними лампами у напівпровідникових приладів є істотні переваги:
.Мала вага і малі розміри.
.Відсутність витрати енергії насяють.
.Великий термін служби (до десятків тисяч годин).
. Велика механічна міцність (стійкість до тремтіння, ударів і інших видів
механічнихперевантажень).
5. Різні пристрої (випрямлячі, підсилювачі, генератори) з
напівпровідниковими приладами мають високий ККД, тому що втрати енергії в самих
приладах незначні.
6. Малопотужні пристрої з транзисторами можуть працювати при дуже низьких
живлять напругах.
Разом з тим напівпровідникові прилади в даний час володіютьнаступними
недоліками:
. Параметри і характеристики окремих екземплярів приладів даного типу
мають значний розкид.
.Властивості приладів сильно залежать від температури.
. Робота напівпровідникових приладів різко погіршується під дією
радіоактивного випромінювання. і т.д.
Транзистори можуть працювати майже у всіх пристроях, в якихзастосовуються
вакуумні лампи. В даний час транзистори успішнозастосовуються в підсилювачі,
приймальниках, передавачах, генераторах,вимірювальних приладах, імпульсних
схемах і в багатьох іншихпристроях.
1.2 Види
провідності
Напівпровідники являють собою речовини, які за своєю питомоюелектричної
провідності займають середнє місце між провідниками тадіелектриками. У сучасних
напівпровідникових приладах широковикористовується такі напівпровідники, як
германій, кремній, селен,арсенід галію та ін
Для напівпровідників характерний негативний температурний коефіцієнтелектричного
опору. При зростанні температуриопір напівпровідників зменшується, а не
збільшується, як убільшості твердих провідників. Крім того, електричнеопір
напівпровідників сильно залежить від кількості домішок унапівпровідників сильно
залежить про таких зовнішніх впливів, як світло,електричне поле, іонізуюче
випромінювання та ін
Принципи роботи напівпровідникових діодів і транзисторів пов'язані зтим,
що в напівпровідниках існує електропровідність двох видів.
Так само, як і метали, напівпровідники мають
електронноїелектропровідність, яка обумовлена переміщенням
електронівпровідності. При звичайних робочих температурах в
напівпровідникахзавжди є електрони провідності, які дуже слабо пов'язані
зядрами атомів і здійснюють безладне тепловий рух міжатомами кристалічної
решітки. Ці електрони під дією різниціпотенціалів можуть отримати додаткове рух
в певномунапрямку, що і є електричним струмом. Напівпровідникиволодіють також
доречний електропровідністю, яка не спостерігається вметалах. Відсутність електрона
в атомі напівпровідника, тобто наявність уатомі позитивного заряду, назвали
діркою. Цим підкреслюють, що ватомі не вистачає одного електрона, тобто
утворювалося вільнемісце. Дірки ведуть як елементарні позитивні заряди.
1.3 Електронно-дірковий
перехід
Область на кордоні двох напівпровідників з різними
типамиелектропровідності називається електронно-дірковий або р-n переходом.
Електронно-дірковий перехід має властивість несиметричноїпровідності,
тобто являє собою нелінійне опір. Роботамайже всіх напівпровідникових приладів,
які можна застосувати в радіоелектроніці,заснована на використанні властивостей
одного або декількох pn переходів.
Нехай зовнішнє напруга відсутня Так як носіїзаряду в кожному
напівпровіднику здійснюють безладне тепловерух, тобто мають деякі теплові
швидкості, то і відбувається їхдифузія (проникнення) з одного напівпровідника в
інший. Як і вбудь-якому іншому випадку дифузії, на приклад, що спостерігається
в газах ірідинах, носії переміщуються звідти, де їх концентрація велика,туди, де
їхня концентрація мала. Таким чином, з напівпровідника n -типу в напівпровідник
p-типу дифундують електрони, а у зворотномунапрямку з напівпровідника p-типу в
напівпровідник n-типудифундують дірки. Це дифузійне переміщення носіїв показано
намалюнку 1 суцільними стрілками. В результаті дифузії носіїв по обидвабоки
кордону розділу двох провідників з різним типомелектропровідності створюються
об'ємні заряди різних знаків. Уобласті n виникає позитивний об'ємний заряд. Він
утворенийпозитивно зарядженими атомами донорно домішки та пройшли в цюобласть
дірками. Подібно до цього в області p виникає негативнийоб'ємний заряд,
утворений негативно зарядженими атомамиакцепторній домішки і прийшли сюди
електронами. На рісунке1 дляспрощення носії та атоми домішок показані тільки в
областіпереходу.
Тим утворилися об'ємними зарядами виникають так званаконтактна різниця
потенціалів U = іелектричне поле. Напрям вектора напруженості цього поля
Епоказано на рісунке1.Перемещеніе неосновних носіїв зарядів піддію поля, зване
дрейфом носіїв. Кожну секунду черезкордон у протилежні напрямки дифундує
певнийкількість електронів і дірок, а під дією поля таке ж їхкількість дрейфує
у зворотному напрямку.
Переміщення носіїв за рахунок дифузії називають дифузним струмом, арух
носіїв під дією поля являє собою токпровідності. У сталому режимі, тобто при
динамічномурівновазі переходу, ці струми протилежні за напрямком. Томуповний
струм через перехід дорівнює нулю, що і повинно бути за відсутностізовнішньої
напруги.
1.4 Напівпровідниковий
діод
Нелінійні властивості діода видно при розгляді його
вольтамперноїхарактеристики. Приклад такої характеристики для діода
невеликепотужності даний на рис.2. Вона показує що прямої струм у десяткиміліампер
виходить при прямому напрузі порядку десятих частоквольта. Тому пряме опір має
величину не вище десятківму. Для більш потужних діодів прямий струм становить
сотніміліампер і більше при такому ж малому напрузі, а R відповіднознижується
до одиниць му і менше.
Ділянка характеристики для зворотного струму, малого в порівнянні зпрямим
струмом, зазвичай показують в іншому масштабі, що і зроблено намалюнку вище.
Зворотний струм при зворотному напрузі до сотень вольт удіодів невеликої
потужності складає лише одиниці або десяткимікроампер. Це відповідає зворотного
опору до сотень кілоом більше.
Напівпровідникові діоди підрозділяються за багатьма ознаками. Першза все
слід розрізняти точкові, площинні і полікристалічнідіоди. У точкових діодів
лінійні розміри, що визначають площу pnпереходу, такого ж порядку як товщина
переходу, або менше її. Уплощинних діодів ці розміри значно більше товщини
переходу.
Точкові діоди мають малу ємність pn переходу і томузастосовуються на
будь-яких частотах аж до СВЧ. Але вони можуть пропускатиструми не більше
одиниць або декількох десятків міліампер. Площиннідіоди залежно від площі
переходу володіють ємністю в десяткипікофарад і більше. Тому їх застосовують на
частотах не більше десятківкілогерців. Допустимий струм в площинних діодах
буває від десятківміліампер до сотень ампер і більше.
Основою точкових і площинних діодів є пластинкинапівпровідника, вирізані
з монокристалу, що має у всьому своємуобсязі правильне кристалічну будову. В
якостінапівпровідникових речовин для точкових і площинних діодів
застосовуютьнайчастіше германій та кремній, а останнім часом також і
арсенідгалію і карбід кремнію. Полікристалічні діоди мають pn перехід,
утворенийнапівпровідниковими шарами, що складаються з великої
кількостікристалів малого розміру, по-різному орієнтованих один щодоодного і
тому не представляють собою єдиного монокристала.
Цідіоди бувають селенових, меднозакісние (купроксние) і титанові.
Принцип пристрої точкового діода показано на малюнку 3 (а). У ньомутонка
загострена зволікання (голка) з нанесеною на неї домішкоюприварюється за
допомогою імпульсу струму до пластинки напівпровідника зпевним типом
електоропроводності. При цьому з голки в основнийнапівпровідник дифундують
домішки які створюють в ньому область зіншим типом провідності. Це процес наз.
формуванням діода. Такимчином, близько голки виходить міні pn перехід
напівсферичної форми.
Отже, принципової різниці між точковими і площиннимидіодами немає.
Останнім часом з'явилися ще так звані мікроплощинні або мікросплавние діоди,
які мають дещо більший по площині pnперехід, ніж точкові діоди. Площинні діоди виготовляються, головним чином,
методамисплавки дифузії. Для прикладу на малюнку 4.а) показаний принциппристрої
сплавним германієвих діода. До платівки германію n-типувплавляє при температурі
близько 500 градусів краплю індія, якасплавляючись з германієм, утворює шар
германію p-типу.
Область з електропровідність p-типу має більш високу концентраціюдомішки,
нежлі основна пластинка порівняно високоомного германію,і тому є емітером. До
основної платівці германію та до Індіїприпаюються вивідні зволікання, звичайно
з нікелю. Якщо за вихіднийматеріал взято високоомний германій p-типу, то в
нього вплавляє сурмуі тоді виходить емітерная область n-типу.
Слід зазначити, що сплавним методом отримують так званірізкі або
ступінчасті pn переходи, в яких товщина областізміни концентрації домішок
значно менше товщини областіоб'ємних зарядів, що існують у переході.
1.5 Типи
діодів
За призначенням напівпровідникові діоди підрозділяються
навипрямляючі діоди малої, середньої та великої потужності, імпульснідіоди і
напівпровідникові стабілітрони.
Випрямні діоди малої потужності: до них відносяться діоди,поставляються
промисловістю на прямий струм до 300мА. Довідковіпараметром випрямних діодів
малої потужності є допустимийвипрямних струм (допустимої середнє значення
прямого струму), якийвизначає в заданому діапазоні температур допустиме середнє
заперіод значення довгостроково протікають через діод імпульсів прямогоструму
синусоїдальної форми при паузах у 180 (напівперіод) і частоті 50
Гц. Максимальне зворотне напруги цих діодів лежить в діапазоні
віддесятків до 1200В.
Випрямні діоди середньої потужності: до цього типу відносяться
діоди,допустиме середнє значення прямого струму яких лежить в межах
мА-10мА. Великий прямий струм цих порівняно з малопотужними
діодамидосягається збільшенням розмірів кристала, зокрема робочоїплощі p-n
переходу. Діоди середньої потужності випускаютьсяпереважно кремнієвими. У
зв'язку з цим зворотний струм цих діодівпри порівняно великій площині pn
переходу доситьмалий (кілька десятків мікроампер). Теплота, що виділяється в
кристалі відпротікання прямого і зворотного струмів в діодах середньої
потужності, вже неможе бути розсіяна корпусом приладу.
Потужні (силові) діоди. До даного типу відносяться діоди на струми від
10Аі вище. Промисловість випускає силові діоди на струми 10,16,25,40 іт.д. і
зворотні напруги до3500 В. Силові діоди мають градацію зачастоті охоплюють
частотний діапазон до десятків кілогерців.Потужні діоди виготовляють переважно
з кремнію. Кремнієвапластинка з pn переходом, створюваним дифузним методом, для
такихдіодів являє собою диск діаметром 10-100мм і товщиною 0,3-0,6мм.
1.6 Транзистор
Транзистор, або напівпровідниковий тріод, будучи керованимелементом,
знайшов широке застосування в схемах посилення, а також уімпульсних схемах.
Відсутність напруження, малі габарити і вартість,висока надійність-такі
переваги, завдяки яким транзисторвитіснив з більшості областей техніки
електронний лампи.
Біполярний транзистор є тришаровоюнапівпровідникову структуру з
чергуються типом електропровідностішарів і містить два pn переходу. Залежно від
різних верствіснують транзистори типів pnp і npn (малюнок 5). Їх
умовнепозначення на електронних схемах показано на тому ж малюнки. УЯк вихідний
матеріал для отримання тришаровою структуривикористовують германій та кремній.
Тришарова транзисторна структура створюється за Сплавний абодифузійного
технології, за якою виконується і двошароваструктура провідникових діодів.
Тришарова транзисторна структуратипу pnp, виконана за Сплавний технології
Пластинанапівпровідника n-типу є підставою, базою конструкції. Двазовнішніх
p-шару створюються в результаті дифузії в них акцепторнійдомішки при
сплавленого з відповідним матеріалом. Один з шарівназивається емітерним, а
інший-колекторним. Так само називаються і p-n -переходи створювані цими шарами
із шаром бази, а також зовнішнівисновки від цих верств.
Функція емітерного переходу - інжектірованіе (емітацію)носіїв заряду в
базу, функція колекторного переходу - збірносіїв заряду, що пройшли через
базовий шар. Щоб носії заряду,інжектіруемие емітером і проходить через базу,
повніше збиралисяколектором, площа колекторного переходу.
У транзисторах типу npn функції всіх трьох шарів і їх назвиа налогічні,
змінюється лише тип носіїв заряду, що проходить черезбази: у приладах типу
p-n-p --це дірки, в приладах типу npn-це електрони
Напівпровідникова структура транзистора типів pnp і npn
Існують три способи включення транзистора: з загальною базою (ПРО),
ззагальним емітером (ОЕ), і загальним колектором (ОК). Розходження в
способахвключення залежить від того, який з висновків транзистора є
загальнимдля вхідний і вихідний ланцюгів. У схемі ПРО загальною точкою вхідний
івихідний ланцюгів є база, у схемі ОЕ-емітер, у схемі ОК --колектор. У силу
того, що статичні характеристики транзистора в схемах ОЕабо ОК приблизно
однакові, розглядаються характеристики тільки длядвох способів включення: ОБ
або ОЕ.
2.
Розрахунок дифузійного p-n переходу
.1 Завдання та вихідні дані
Завдання до курсового проекту даються у двох напрямах:
отримання випрямляючих p-n-переходів дифузійним методом;
технологія виготовлення напівпровідникових приладів.
Вихідні дані до виконання курсового проекту представлені в
таблиці 2.1.
Таблиця 2.1 - Вихідні дані
|
Елемент
|
Джерело дифузанта
|
Спосіб дифузії
|
Параметри і
особливості дифузії
|
|
В
|
Борний ангідрид В2О3
Тпп=600 0С
|
У кварцовому або
керамічному кон-тейнері, на повітрі
|
Зміна температури
кремнію в ряду 700¸1300 0С
призво-дить до зміни поверхневої концентрації в діапазоні 1018¸1021 см-3)
|
.2 Визначення коефіцієнту дифузії
Розрахуємо коефіцієнт дифузії за формулою:
,
де k - стала Больцмана; T - температура під час процесу дифузії.
Та спочатку визначимо
температуру, при якій дифузія буде проходити з
нормальною швидкістю. Вона становить Т=1200 °С, D0 = 10,5 см2/с, ΔEa = 3,66 еВ
За такої температури коефіцієнт дифузії дорівнює D = 2,05 10-12 см2/с
2.3
Визначення глибини залягання p-n-переходу
Поверхнева концентрація дифузанту за умовою складає 1021
см-3.
Для визначення розподілу домішки і глибини залягання р-п перехода
застосуємо графічний метод. Знаючи
і,
що дифузія йде з джерела, що не випробовувало виснаження, розподіл описується
функцією доповнення до інтегралу похибок:
,(2.2)
де x - глибина проходження дифузії,
D - коефіцієнт дифузії, визначений у попередньому розділі,
t -
час проведення дифузії (за умовою 2 год.).
Концентрація вихідної домішки
вибирається
на 3-4 порядки менше ніж С0, тобто Св = 1016
см-3.
Занесемо отримані значення залежності в таблицю 2.2.
Таблиця 2.2 - Залежність концентрації домішки.
|
х, 10-4
см
|
С0, см-3
|
|
1
|
3.41E+20
|
|
2
|
1,53E+20
|
|
3
|
5,72E+19
|
|
4
|
1,74E+19
|
|
5
|
4,33E+18
|
|
6
|
8,75E+17
|
|
7
|
|
8
|
1,00E+16
|
|
9
|
1,99E+15
|
За даними таблиці 2.2 побудуємо графік, наведений на рисунку
2.1.
Рисунок 2.1 - Графік розподілу концентрації домішкових атомів
у напівпровіднику від глибини залягання шару
Точка перетину розподілу (2.1)
та графіку С(x)=Cb і буде
значенням глибини залягання. Отже,
хi
= 8,3 10-4 см,
Також можна розрахувати глибину залягання p-n перехода за наближеною формулою:
;(2.3)
За даною формулою маємо, що хi = 8,24 10-4 см.
.4 Визначення градієнта концентрацій
Градієнт концентрації характеризує „плавність" р-n переходу. Для erfc-розподілу він визначається
диференціюванням функції розподілу по кординаті.

;(2.4)
Підставивши значення глибини залягання p-n-переходу маємо таке значення градієнта
концентрації:
а = 3,72 1020 см-4;
Отже, маємо плавний p-n-перехід.
2.5 ВАХ для тонкого р-n переходу
Для розрахунку вольт-амперної характеристики отриманого перехода введемо
кілька припущень:
-носії
заряду рекомбінуютть тільки один з одним;
об`ємний заряд поза межами переходу дорівнює нулю;
перехід діє в області малих сигналів, тобто концентрацією
неосновних носіїв можна знехтувати порівняно з концентрацією основних носіїв
заряду;
вважатимемо область об`ємного заряду досить вузькою, а час
прольоту в ній досить малим щоб нехтувати процесами генерації і рекомбінації в
цій області;
задача
є одномірною і стаціонарною.
Як відомо загальна густина струму через перехід є сумою електронної й
діркової складових.
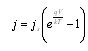
j jp jn , (2.5)
Густина загального струму через перехід дорівнює сумі складових струмів:
де: Dp, Dn - коефіцієнт дифузії;
q
-заряделектрона;
Lp, Ln - середня довжина вільного
пробігу; V - напруга на переході;- стала Больцмана;- температура;
np, pn - концентрація неосновних носіїв
заряду.
Розрахунок ВАХ проводиться при температурі Т=300 К. Концентрації np та pn визначаються з графіку Сх(х).
Якщо до переходу прикладена зворотна напруга. Яка значно перевищує то струм переходу досягає насичення, тобто в значному
діапазоні не залежить від
напруги. Цей струм називається
струмом насичення:
де густина струму насичення:
Залежність густини струму від напруги представлена в таблиці
2.3.
Таблиця 2.3 - Залежність густини струму від напруги.
|
U, B
|
I, A
|
|
-0,4
|
-16,32
|
|
-0,3
|
-16,31
|
|
-0,3
|
-16,31
|
|
-0,2
|
-16,30
|
|
-0,1
|
-15,97
|
|
0,0
|
0,00E+00
|
|
0,1
|
7,61E+02
|
|
0,2
|
3,71E+04
|
|
0,3
|
1,77E+06
|
|
0,4
|
8,44E+07
|
|
0,5
|
4,03E+09
|
|
0,6
|
1,91E+11
|
|
0,7
|
9,15E+12
|
|
0,8
|
4,36E+14
|
|
0,9
|
За даними таблиці 2.3 побудуємо графік залежності густини
струму від напруги (пряму та зворотну гілку). Результати нанесені на рисунках
2.2 - 2.3.
Рисунок 2.2 - Пряма гілка залежності густини струму від
напруги
Рисунок 2.3 - Зворотна гілка залежності густини струму від
напруги
Для побудови ВАХ скористаємося наступною формулою I = jS. Розміри нашого кристалу складають 5*5
мкм. Отже, S = 25 10-8 см. Занесемо дані для
побудови ВАХ в таблицю 2.4.
Таблиця 2.4 - Вихідні дані для побудови ВАХ.
|
U, B
|
j, A/cм2
|
|
-0,4
|
-4,08E-06
|
|
-0,3
|
-4,08E-06
|
|
-0,3
|
-4,08E-06
|
|
-0,2
|
-4,08E-06
|
|
-0,1
|
-3,99E-06
|
|
0
|
0,00E+00
|
|
0,1
|
1,90E-04
|
|
0,2
|
9,27E-03
|
|
0,3
|
4,42E-01
|
|
0,4
|
2,11E+01
|
|
0,5
|
1,01E+03
|
|
0,6
|
4,78E+04
|
|
0,7
|
2,29E+06
|
|
0,8
|
1,09E+08
|
|
0,9
|
5,20E+09
|
За даними таблиці 2.4 побудуємо ВАХ (пряму та зворотну
гілку), яка зображена на рисунках 2.4. і 2.5.
Рисунок 2.4 - Пряма гілка ВАХ
Рисунок 2.5 - Зворотна гілка ВАХ
.6 Розрахунок топології
За допомогою прямої гілки ВАХ отримав значення потужності, що
розсіюється. При значенні
Враховуючи це обираємо робочу точку наступним чином:
I=0,5 A,
U=0,83 B,
P=U∙I;=0,42 Вт;
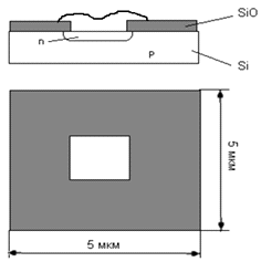
Кристал матиме планарну структуру. Загальний вид кристала
представлений на рисунку 2.6.
Рисунок 2.6 - Загальний вид кристала
Для діодів з потужністю від 0,1 Вт до 1 Вт скляний корпус використовувати
не можна через високий тепловий опір. В цьому випадку використовують металево
скляний корпус.
На рисунку 2.7 зображена
конструкція металево скляного корпусу, яка включає у себе два металевих
тримача, скляну трубку та дві перехідні коварові втулки. Послідовність операцій
створення корпусу полягає в попередньому виготовленні скляного балона корпусу,
що являє собою з’єднання на основі метало скляних спаїв трубки зі скла С-49-2
та двох втулок зі сплаву 29НК. Металеві втулки служать для центрування тримачів
та їх кріплення при кінцевій збірці корпусу приладів. Тримачі кристалу виводу
представляють собою відрізки проволоки різного діаметру, з’єднані між собою
ударною конденсаторною стиковою сваркою. Кінцеву герметизацію корпусу проводять пайкою в конверторній печі в атмосфері
водню. В якості припою використовують ПОС-61 у вигляді штампованих кілець.
1 - скляний балон; 2 - коварова втулка; 3 - вивід; 4 -
припой;
- напівпровідниковий кристал
Рисунок 2.7 - Загальний вид корпуса
Розглянуті металево
скляні конструкції корпусів широко
використовуються в серійному виробництві напівпровідникових приладів.
Позитивні риси корпусу:
- більш висока потужність розсіювання ніж в скляних;
- більш висока надійність спаю металу зі склом;
- забезпечення достатнього тепловідвіду;
- компактність;
- відносна простота у виробництві;
- дешевизна.
Негативні риси корпусу:
наявність на заключному етапі зборки приладу процесу пайки з
використанням флюсу (використання при пайці інертної атмосфери значно підвищує якість готових приладів).
3.
Технологічний процес
Технологічний процес складається з наступних етапів:
) Вхідний контроль. Вхідному контролю піддають злитки
напівпровідникового матеріалу . Найбільш розповсюдженими видами контролю є
вимір типу електропровідності, питомого опору, часу життя і рухливості носіїв
заряду, щільності дислокацій і інших структурних дефектів. На матеріалах,
використовуваних для виготовлення світловипромінюючих приладів, контролюють
квантову ефективність і довжину хвилі фотолюмінесценції.
2) Розрізання злитків на пластини. Відбувається алмазним диском
з внутрішньою ріжучою кромкою, який полягає в наступному. На шпиндель станка
кріплять алмазний диск. В середину пологого шпинделя розміщують держачь з
приклеєним напівпровідниковим злитком. Перед початком весь злиток знаходиться в
середині шпинделя і лише його торцева частина трішки виступає за кромку
алмазного диска. Потім вмикають станок і починають переміщувати держачь в
горизонтальному (чи вертикальному) напрямку, в деякий момент злиток торкається
алмазного диска і починається процес різки. При повному відрізанні пластини від
злитка держачь відводиться у вихідне положення і ви двигається із шпинделя на
довжину, рівну товщині відрізаємої пластини. Після чого процес різки
повторюється.
3) Шліфовка і поліровка пластин.
Шліфування відбувається на твердих доводочних дисках-шліфувальниках абразивними
мікро порошками. Зернистість мікро порошків для шліфування пластин беруть таку:
при попередньому шліфуванні - від М14 до М10, а при кінцевому - від М7 до М5.
це дасть можливість отримати 9-12-й клас чистоти обробки. Далі пластини
піддають односторонній поліровці з використанням вільного абразиву. В
результаті отримуємо поверхню пластин з чистотою обробки, яка відповідає 13-14
класу. Поліровка
складається з декількох етапів:
а)
попередня поліровка:
- на скляний диск наносять допоміжний порошок АСМ3 та кілька крапель
масла для приладів:
обробку проводять на швидкості 30-40 об/хв.. - проводити на станку
ШП-200.
б) проміжна
обробка:
на скляний диск накласти м’який матеріал (велюр), змочений горячою водою
або спиртом;
на поверхню велюру нанести алмазний порошок з маслом для приладів;
обробку проводити при 25-30 об/хв.; - проводити на станку ШП-200.
в) остаточна
обробка:
матеріал -полірувальник - батист;
абразивний матеріал - оксид хрома, оксид кремнію, оксид цирконію; -
частота обертання 80-90 об/хв.;
проводити на станку ШП-200.
) Знежирення. Знежирення проводиться за допомогою фреону-113
(CClF3), речовини з температурою кипіння
47,6˚С і густиною 1,57 г/м3. Він не горить, не токсичний,
забезпечує високу ефективність очистки і дозволяє відмовитись від наступних
операцій промивки в деіонізованій воді.
) Сушіння. Після промивки пластини сушать у термостаті або
під інфрачервоною лампою при температурі 120 - 150 оС.
6) Фотолітографічна обробка. Фотолітографічна обробка захисної плівки - інша основна
операція планарного процесу. На пластину наносять шар фоторезисту -
фотоемульсії, експонують його через фотошаблон, що містить безліч ідентичних малюнків елементів
активних структур приладів із заданою конфігурацією і розмірами, ультрафіолетовим
світлом.
Нанесення фоторезисту відбувається за допомогою центрифуги.
При цьому пластину розміщують в центрі платформи центрифуги, прижимають за
допомогою вакуумного насосу і приводять разом з платформою до обертання при
обертанні в центр пластини наносять дозовану кількість розчину фоторезисту.
Центробіжні сили вирівнюють слой фоторезисту по поверхні. На рисунку 3.2
зображена технологічна операція процесу фотолітографії.
Рисунок 3.2 - Технологічна операція процесу фотолітографії
а) Обезжирення пластини;
б) Нанесення фоторезиста;
в) Сушіння (проводиться для повного видалення органічного
розчінника при цьому температура і час сушіння повинні виключати можливість
термічного задублювання фоторезисту);
г) Формування фотомаски. Скрите зображення фотомаски в слої
фоторезисту досягається експонуванням фоторезисту через груповий фотошаблон.
Експонування фоторезисту проводиться на спеціальній установці для суміщєння та
експанування ЄМ-512;
д) Проявлення фоторезисту. Воно полягає в розчиненні
незадублених ділянок в розчинах, на основі яких виготовлений фоторезист. Після
чого проводять промивку пластин;
е) Задублювання фоторезиста;
ж) Травлення відкритих ділянок плівки;
з) Видалення плівки фоторезиста.
7) Дифузія. Дифузія легуючої домішки - третій
основний етап планарного процесу. Вона служить для створення p-n-переходів,
інших областей напівпровідникових приладів і інтегральних схем. Найбільше
широко застосовується дифузійний метод створення p-n-переходу, оскільки він дає
можливість виготовляти структури з контрольованими геометричними розмірами.
Можливість чи уповільнення повного виключення дифузії домішки в ділянки
кремнію, захищені шаром окислу, визначила вибір планарного процесу для масового
виготовлення НП і ІМС. Процес
дифузії удосконалений до такого ступеня, що стало можливим створення
p-n-переходів, глибина яких контролюється з точністю до часток мікрометра.
Для прецизійного дозування кількості домішки, що
вводиться в кристал, широко використовується процес іонної імплантації. У
багатьох випадках цей метод дозволяє реалізувати структури, не доступні для
реалізації методом дифузії. Тому що більшість НП і ІМС містять понад 2-3 різних p- і n-областей,
то процеси окислювання, фотолітографії, іонній імплантації і дифузії
повторюються багаторазово.
Дифузію будемо проводити, згідно завдання, в відкритій трубі.
Оскільки дифузант вже нанесено на пластину, обираємо
однозонну піч.
Час дифузії оберемо 2 год. Температуру - 1200ºС.
Зовнішній вигляд установки для проведення дифузії наведено на
рисунку 3.3.
- труба, для введення газа-носія; 2 - витяжна система на виході з труби; 3- нагрівач; 4 - керамічний контейнер; 5 - пластини
Рисунок 3.3 - Однозонна піч з керамічним контейнером
) Контроль. Після операції видалення фоторезисту
фотошаблон передається для проведення ретельного контролю його якості, а в разі
необхідності - для ретуші виправлення дефектів.
9)
Скрайбування та розламування пластин на кристали. Ця операція проводиться за допомогою алмазного різця, яким
наносяться риски або розділяючі канавки між готовими структурами. Піся цього
пластини розломлюються на кристали за допомогою механічних напружень, які
створюються валіком.
) Зборка і герметизація. Кристал напаюють на кристалоутримувач,
здійснюють розводку -під'єднування електричних виводів до контактів бази,
емітера і герметизують, поміщаючи в метало-скляний корпус серії КД-5.
11) Випробування приладів та контроль
якості. Для оцінки параметрів і надійності приладів їх надсилають у відділ
технічного контролю, де проводять електричні, радіаційні, кліматичні та
механічні випробування. Вони важливі для правильної інформації про якість і
надійність приладів. Крім цього кожна технологічна операція супроводжується
контролем якості обробки, наприклад вимірюванням глибини дифузії, товщину
епітоксіального шару чи питомого або поверхневого опору. Після того, як в
структурі створені р-n-переходи, виробляють контроль електричних параметрів -
напруги пробою, струму витоку, місткості.
) Пакування і збереження. Випробувані
прилади упаковуються та зберігаються на складі до тих пір, доки вони не
реалізуються. Важливо зазначити, що склад повинен відповідати певним умовам
збереження продукції (не бути занадто вологим, брудним, тощо).
Висновки
В результаті виконання курсового проекту були вивчені методи
і технологічні схеми виготовлення напівпровідникових приладів, монолітних і
гібридних ІС; основні технологічні процеси, їх фізичні основи і методи
розрахунку; принципи дії технологічного обладнання; математичний апарат, що
застосовується при розробці і конструюванні технологічного процесу
напівпровідникових приладів й ІС. Було проаналізовано технологічні процеси; виконано розрахунок параметрів
напівпровідникових приладів й ІС з використанням ЕОМ; оцінювати отримані
результати.
У даному курсовому проекті був розроблений випрямляючий,
планарний, дифузійний діод, а саме розроблений технологічний маршрут, за
ретроградними діаграмами обрана оптимальна густина дифузанту на поверхні зразка
(C0=1016 см-3),
отриманий розподіл густини домішки у емітерній області, розрахована глибина
залягання ЕДП (xi = 8,3 мкм), густина струму насичення (js = А/см2),площа ЕДП(S=25∙10-8 см2),
отримана залежність густини зворотного струму від прикладеної напруги, пряма
гілка ВАХ діода, на прямій гілці ВАХ визначена робоча точка, та обраний корпус
(метало-скляний) і розроблений технологічний маршрут.
Перевагами даного технологічного маршруту є:
- простота технології та устаткування;
- технологічність;
поширеність та відносна дешевизна матеріалів;
досить велика надійність;
порівняно добра контрольованість параметрів та
відтворюваність;
можливість одночасного проведення дифузії для групи
пластин;
великий вихід гідних приладів;
тепловідвід корпусу більше 100 мВт;
значне здешевлення при багатосерійному виробництві.
Перелік посилань
дифузійний перехід напівпровідник атом
[1] Словник з кібернетики / За редакцією академіка В. С.
Михалевича. - 2-е. - Київ: Головна редакція Української Радянської Енциклопедії
імені М. П. Бажана, 1989. - 751 с. - (С48). - 50000 прим. - ISBN 5-88500-008-5.
[2] Велика радянська енциклопедія, В. І. Баранов.
[3] Електронні прилади: Підручник для вузів / В.
Н. Дулін, Н. А. Аваєв, В. П. Дьомін та ін; Під ред. Г. Г. Шишкіна. - М. : Вища школа,
1989. - 496 с.
[4] Клейнер Е. Ю. Основи теорії електронних ламп.
- М. , 1974.
[5] Чернишов А. А. , Іванов В. І. , Галахов В. Д. та ін
Діоди і тиристори / Під. заг. ред. А. А. Чернишова. - 2-е вид. , Перераб. і
доп. - М. : Енергія, 1980. - 176 с. - (Масова радіобібліотека; Вип. 1005).
[6] А. І. Лебедєв. Фізика напівпровідникових приладів.
Фізматліт, 2008.
[7] Пасинков В. В. , Чиркин Л. К. Напівпровідникові
прилади: Підручник для вузів. - 4-е перероб. і доп. вид. - М. : Вища школа,
1987. - С. 184-188. - 479 с.
[8] С. М. Зі. Фізика напівпровідникових приладів (у 2
книгах). М. , Мир, 1984, т. 2, с. 226-269.
[9] В. В. Пасинков, Л. К. Чиркин Напівпровідникові
прилади: Підручник для вузів - 4-е вид. - М. : Вища школа, 1987. - 478 с.
[10] Методичні вказівки до виконання курсового проекту
з дисципліни "Технологічні основи електроніки" для студентів
спеціальності 8.050801 "Мікро- та наноелектроніка" денної й заочної
форм навчання / Укл.: В.М.Матюшин.- Запоріжжя: ЗНТУ, 2009 - 27 c.