Одинарні мости постійного струму
Лабораторна
робота
Мета
роботи: ознайомлення з конструкцією моста Р333 та методикою вимірювання опорів
Розробив
Хмара А.О.
Зміст роботи
1. Ознайомитися з конструкцією
моста Р333 та ознайомитись із руководством з експлуатації
. Виміряти опори 3 зразків за
двозажимною схемою та визначити чутливість мосту
. Виміряти опір по дво- та
чотиризажимній схемах, та визначити похибку, що виникає при вимірюванні по
двозажимній схемі
1. Ознайомитися з конструкцією моста
Р333 та ознайомитись із руководством з експлуатації
По табличці, прикріпленій із
внутрішньої сторони на кришці моста, ознайомитися зі схемою й короткою
конструкцією по експлуатації приладу й визначити його технічні характеристики.
2. Виміряти опори 3
зразків за двозажимною схемою та визначити чутливість мосту
міст
конструкція чутливість опора
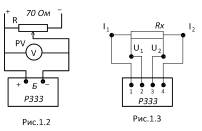
Готуємо міст для
виміру опорів по двозажимній схемі включення (мал. 1.1,а).
Збираємо схему
(мал. 1.2), живлення моста здійснюється від зовнішнього джерела. Напруга
живлення моста вибирається згідно табл. 1.1 залежно від передбачуваної величини
вимірюваного опору.
Врівноважуємо міст.
Визначаємо Rx по положеннях перемикачів декад і записуємо в табл. 1.1.
Визначаємо чутливість моста.
При всіх натиснутих кнопках урівноваженого моста обертанням перемикачів
молодших декад домагаємося відхилення стрілки гальванометра на 5 поділок (
). По
положеннях перемикачів визначити Rневр і записати в табл. 1.2. Робимо необхідні
обчислення.
. Виміряти опір по
дво- та чотиризажимній схемах, та визначити похибку, що виникає при вимірюванні
по двозажимній схемі
Аналогічно робимо
всі виміри й обчислення ще для 2 опорів.
Таблиця 1.2 - Виміри опорів по
двозажимній схемі
n
|
U, B
|
Rвp, Oм
|
Rневр Ом
|
Rx, Ом
|
Ом подS,
Под/ОмS', Под
|
|
|
|
|
43
|
0,01
|
3
|
4698
|
4662
|
46,98
|
36
|
-5
|
-0,14
|
-6,525
|
|
390
|
0,1
|
10
|
3824
|
382,4
|
8
|
-5
|
-0,625
|
-23,9
|
|
3000
|
1
|
10
|
3083
|
3077
|
3083
|
6
|
-5
|
-0,83
|
-25,7
|
Готуємо міст для
виміру опорів по чотиризажимній схемі
включення.
Врівноважуємо міст.
Результати заносимо в табл. 1.3.
За результатами
виміру Rx і по заданим довжині L, і діаметру d дротових опорів розраховуємо
питомий опір. Вимірюємо той самий опір по двозажимній
схемі, для чого міст готуємо згідно п.3. Розраховуємо погрішності виміру
малих опорів по двозажимній схемі, прийнявши
за дійсне значення величину обмірюваного опору по чотиризажимній схемі включення:

Таблиця 1.3 - Вимір
малих опорів
|
Геометр. розміри опорів d, L
|
n
|
U, B
|
Чотирихзажимна схема
|
Двозажимна схема
|
|
|
|
Rур4, Ом
|
Rх4, Ом
|
,
Ом*мRур2, ОмRх2, Ом , %
|
|
|
|
|
0,001м; 0,34м
|
0,0001
|
1,5
|
4997
|
0,4997
|
1,15*10-6
|
5095
|
0,5095
|
1,96
|
|
0,003м; 0,26м
|
0,0001
|
467
|
0,0467
|
1,27*10-6
|
890
|
0,089
|
90,57
|
При виконанні
роботи ознайомились з основами роботи мосту постійного струму та методикою
знаходження опору на прикладі мосту Р333. Були виміряні опори для двозажимної
та чотиризажимної схем та визначена чутливість приладу. Практично знайшли
питомий опір провідника, отриманому результату відповідає нiхром.