Повышение эффективности работы составителей поездов ст. З Свердловской железной дороги

  • Вид работы:
    Курсовая работа (т)
  • Предмет:
    Транспорт, грузоперевозки
  • Язык:
    Русский
    ,
    Формат файла:
    MS Word
    110,74 Кб
  • Опубликовано:
    2016-05-26
Вы можете узнать стоимость помощи в написании студенческой работы.
Помощь в написании работы, которую точно примут!

Повышение эффективности работы составителей поездов ст. З Свердловской железной дороги












Повышение эффективности работы составителей поездов ст. З Свердловской железной дороги

 

 

Введение

станция пассажирский маневровый поезд

Железнодорожный комплекс имеет особое стратегическое значение для России. Он является связующим звеном единой экономической системы, обеспечивает стабильную деятельность промышленных предприятий, своевременный подвоз жизненно важных грузов в самые отдаленные уголки страны, а также является самым доступным транспортом для миллионов граждан.

В настоящее время и в ближайшей перспективе главными являются финансово-экономические проблемы. Ведется работа по сокращению эксплуатационных расходов. Необходимо значительное ослабление тарифного давления железнодорожного транспорта на промышленность, одним из способов снижения давления является дифференцированное снижение тарифов на перевозки ряда важнейших топливно-сырьевых грузов.

Требуется дальнейшее углубление технологических решений, обеспечивающих эффективную эксплуатационную деятельность железных дорог в условиях сокращения объемов перевозок.

Одним из важнейших направлений в структуре ОАО «РЖД» является приведение ее к требованиям международного стандарта ИСО 9001 с целью выхода компании на европейский уровень для привлечения инвесторов других государств.

Производственно-хозяйственная деятельность станции должна обеспечивать беспрепятственное выполнение заданного объема работы по пропуску поездов и вагонов, погрузки и выгрузки при достижении наименьшей задержки подвижного состава под техническими и грузовыми операциями, безаварийного приема и отправления поездов, а также выполнения маневров и соблюдения правил личной безопасности станционных работников.

Основной задачей данного дипломного проекта является повышение эффективности работы составителя поездов. Для решения данного вопроса, выбрана система осуществления информационной радиопередачи об опасной зоне при приближении к негабаритному месту. Таким образом рассмотрев функциональность и работоустойчивость данной системы, я пришла к выводу что время на производство маневровой работы сокращено, маневровая работа осуществляется с безопасностью и без нарушения норм охраны труда для составителя поездов.

1. Технико характеристика инфраструктуры станции З

.1      Техническая характеристика станции

Железнодорожная станция З расположена на 2236 километре направления Тюмень - Называевская. Станция грузовая, отнесена к 3 классу

Путевое развитие состоит из одного парка путей. На станции работает один маневровый локомотив серии ТЭМ 18ДМ.

Прилегающие к станции перегоны, основные средства сигнализации и связи при движении поездов и порядок их использования для организации движения:

а) в нечетном направлении:

З - Я - двухпутный.

по I главному пути - односторонняя автоблокировка для движения пассажирских и грузовых поездов нечетного направления;

по II главному пути - односторонняя автоблокировка для движения пассажирских и грузовых поездов четного направления;

перегон оборудован устройствами для движения поездов по неправильному пути по сигналам АЛСН.

б) в четном направлении:

З - Н З - двухпутный.

по I главному пути - односторонняя автоблокировка для движения пассажирских и грузовых поездов нечетного направления;

по II главному пути - односторонняя автоблокировка для движения пассажирских и грузовых поездов четного направления;

перегон оборудован устройствами для движения поездов по неправильному пути по сигналам АЛСН.

На станции имеется 15 действующих путей. Ведомость железнодорожных путей представлена в таблице 1

Таблица 1 - Ведомость железнодорожных путей

№ путей

Назначение путей

Длина в метрах

Вместимость в условных вагонах



между предельными столбиками

полезная


I

Главный. Прием, отправление и пропуск пассажирских и грузовых поездов обоих направлений.

1128

1101

75

II

Главный. Прием, отправление и пропуск грузовых поездов обоих направлений. Пропуск пассажирских поездов обоих направлений.

1104

1077

73

3

Приемо-отправочный пассажирских и грузовых поездов обоих направлений.

1101

1086

74/86

4

Приемо-отправочный пассажирских и грузовых поездов обоих направлений.

1108

1082

73/85

5

Приемо-отправочный грузовых поездов обоих направлений.

-

1118

76/88

8

Погрузочно-выгрузочный.

368

362

25/30

9

Выставочный.

-

217

15

10

Весовой.

118

118

8

11

Выгрузочный. Для отстоя вагонов с ВМ.

102

102

7/8

12

Вытяжной.

-

362

24/28

13

Погрузочно-выгрузочный. Повышенный.

166

166

11/13

15

Выставочный.

756

750

53/62

14

Погрузочно-выгрузочный. Повышенный.

103

103

7/8


Пути (из числа перечисленных в таблице 1), выделенные для приема, отправления и пропуска поездов с «ВМ», негабаритными грузами и для стоянки вагонов с грузами «ВМ»:

Пути, выделенные для приема, отправления и пропуска поездов с грузами «ВМ»:

Пути: I, II, 3, 4 в обоих направлениях для пропуска поездов.

Пути: I, II, 3, 4, 5 для приема и отправления поездов.

В случае временного оставления на станции состава поезда с «ВМ» без локомотива, (за исключением стоянки под технологическими операциями на станциях: смена локомотива, ожидание расформирования и т.п.) он должен быть закреплен и огражден переносными сигналами остановки. Стрелки, ведущие на соответствующий путь, ДСП устанавливает в изолирующее положение. На стрелочные кнопки пульта управления ДСП навешивает красные колпачки. Закрепление и ограждение состава, запирание стрелок на закладки и навесные замки по указанию ДСП производят: закрепление и запирание стрелок - составитель поездов, ДС, свободный от дежурства ДСП, ограждение - работники ПЧ-12. Ключи от запертых стрелок хранятся у ДСП.

Пути, куда следует направлять вагоны с опасными грузами для выполнения мер, указанных в аварийной карточке, при возникновении утечки, разлива груза, пожара - путь №11

Пути, предназначенные для приема, отправления и пропуска поездов с негабаритными грузами:

Пути: II, 3, 4, 5 (согласно специализации пути) - для грузов всех зон и степеней негабаритности без ограничений;

Путь: I - для грузов 1-5 нижней, 1-5 боковой и 1-3 верхней степени негабаритности;

Прием, отправление и пропуск поездов с негабаритным грузом 6 нижней, 6 боковой степенью негабаритности запрещается.

1.2 Оснащенность станции

На станции в работе 27 централизованных стрелочных перевод:

стрелки №№42 сс/46, 60/62, 33 сс, 5/7 оборудованы автовозвратом;

все стрелочные переводы оборудованы пневмообдувкой;

стрелки №№33 сс, 42 сс/46 являются сбрасывающими.

Нормальное положение сбрасывающих стрелок «плюсовое».

Работник, проверяющий свободность стрелки, обязан убедиться в наличии проходов по смежным путям, о чем доложить ДСП.

Нецентрализованных стрелочных переводов, не обслуживаемых дежурными стрелочных постов 6. Из них 5 нецентрализованных стрелочных переводов оборудованы ШКЗ и 1 нецентрализованный стрелочный перевод оборудован ШКЗ и замком Мелентьева.

Централизованные стрелочные переводы приведены в таблице 2, нецентрализованные стрелочные переводы приведены в таблице 3

Таблица 2 - Централизованные стрелки


Номера стрелок, входящих в пост

Кто переводит стрелки

Порядок убеждения в свободности стрелки от подвижного состава




при нормальном действии устройств СЦБ

при неисправности устройств СЦБ

ЭЦ

2/4, 10/12, 14, 18, 20, 44, 42 сс/46, 60/62, 1/3, 5/7, 11/13, 19, 21, 23/25, 27, 29, 31, 33 сс

ДСП

по контрольным приборам

После натурной проверки лично ДСП или ДС, свободный от дежурства ДСП, составитель поездов, ДНЧ, с докладом ДСП


Таблица 3 - Нецентрализованные стрелки

№ районов

№ стрелок, входящих в районы

Нормальное положение стрелок

Система запирания стрелок

Кто переводит стрелки

Кто осуществляет техническое обслуживание и очистку стрелок

У кого хранятся ключи от запертых стрелок

Освещение стрелок

1

40

к стр. 22

ШКЗ

составитель поездов

ПЧ-12

-

не осв.

1

36

к стр. 24

ШКЗ

составитель поездов

ПЧ-12

-

не осв.

1

32

к стр. 16

ШКЗ

составитель поездов

ПЧ-12

-

не осв.

1

24

к стр. 36

ШКЗ

составитель поездов

ПЧ-12

-

не осв.

1

22

к стр. 24

ШКЗ

составитель поездов

ПЧ-12

-

не осв.

1

16

на 13 путь

ШКЗ - МЛН

составитель поездов, ДС, ДСП свободный

ПЧ-12

у ДСП

не осв.


При производстве маневровой работы на путях с нецентрализованными стрелками, не оборудованными стрелочными контрольными замками и не обслуживаемыми дежурным работником, отвечающим за их перевод:

а) перед выездом на стрелку:

при движении локомотивом вперед машинист маневрового локомотива обязан остановить маневровый состав;

при движении вагонами вперед составитель поездов обязан передать команду машинисту маневрового локомотива на остановку;

б) после остановки состава составитель поездов обязан:

осмотреть стрелку (стрелки) на предмет отсутствия неисправностей, которые можно выявить без инструментальной проверки;

при необходимости перевести стрелку в требуемое положение, закрыть на закладку, навесной замок (карабин);

при отсутствии препятствий для движения и неисправностей передать команду машинисту маневрового локомотива на движение;

при выявлении одной из неисправностей, прекратить маневры по данному стрелочному переводу и сообщить дежурному по железнодорожной станции для принятия мер в соответствии с требованиями Правил технической эксплуатации железных дорог Российской Федерации

При нарушении нормальной работы устройств СЦБ, работник хозяйства движения должен принять все необходимые меры к бесперебойному и безопасному пропуску пассажирских поездов.

Места хранения инвентаря, применяемого при нарушении нормальной работы устройств СЦБ приведены в таблице 4.

Таблица 4 - Места хранения инвентаря

Наименование инвентаря

Место хранения

Количество

Курбель

помещение ДСП

3 (1, 2, 3)

Красные колпачки на кнопки сигналов

помещение ДСП

10

Красные колпачки на кнопки перевода стрелок

помещение ДСП

10

Навесной замок

помещение ДСП

16

Табличка «Дрезина»

помещение ДСП

3

Табличка «Выключено»

помещение ДСП

3

Табличка «Напряжение снято»

помещение ДСП

3

Табличка «Путь занят»

помещение ДСП

5


Сведения приведенные в таблице 5 при возникновении аварийных и нестандартных ситуаций, связанных с нарушением безопасности движения поездов, каждый работник хозяйства движения обязан знать информацию о место нахождении восстановительных и пожарных поездов, аварийно-спасательных команд, летучек связи и бригад контактной сети, медицинских и ветеринарных пунктов, полиции.

Таблица 5 - Место нахождения поездов, аварийно-спасательных команд

Наименование

Станция приписки или нахождения

Порядок вызова

Восстановительный поезд

Тюмень

через ДНЦ участка

Пожарный поезд

Тюмень

через ДНЦ участка

Аварийно-полевая команда

Заводоуковская

по тел. 781-00

Медицинский пункт

Заводоуковская

по тел. 781-31

Полиция

Заводоуковская

по тел. 781-12

Летучка связи

Тюмень

через диспетчера связи

Бригада контактной сети

Вагай

через энергодиспетчера


В пределах железнодорожной станции и на прилегающих перегонах имеются действующие переезды, при производстве маневровой работы с выездом за границу станции, необходимо особое внимание уделять исправной работе переездов

Наличие переездов на станции и прилегающих перегонах и порядок действий при неисправности переездной сигнализации приведены в таблице 6.

Таблица 6 - Наличие переездов на станции и прилегающих перегонах

Наименование перездов

Тип переездной сигнализации

Порядок действия ДСП при неисправности перездной сигнализации

Переезд 2233 км 7 пк (22326+45) перегон Ялуторовск-Заводоуковкая, обслуживаемый дежурным работником, регулируемый

Автоматическая переездная сигнализация с автоматическими шлагбаумами и устройством заграждения переезда (УЗП)

Обнаружив по показаниям контрольных приборов или получив сообщение от дежурного по переезду о неисправности переездной сигнализации, ДСП Заводоуковская а) предупреждает по радиосвязи машинистов поездов о неисправности, об особой бдительности и проследовании переезда со скоростью не более 20 км/ч;

Переезд 2243 км 9 пк (22428+92) перегон Заводоуковская-Новая Заимка, не обслуживаемый дежурным работником, регулируемый

Автоматическая переездная сигнализация

Обнаружив по показаниям контрольных приборов неисправность переездной сигнализации, ДСП Заводоуковская а) предупреждает по радиосвязи машинистов поездов о неисправности, об особой бдительности и проследовании переезда со скоростью не более 20 км/ч; б) последующим поездам выдает соответствующие предупреждения установленным порядком; в) сообщает ДСП станции Новая Заимка. г) делает запись в журнале формы ДУ-46 о неисправности, сообщает электромеханику СЦБ, ПД, ДНЦ д) получить приказ от ДНЦ и производить выдачу письменных предупреждений на поезда.

Переезд 2225 км 1 пк (22240+42) перегона Ялуторовск - Заводоуковская, обслуживаемый дежурным работником, регулируемый

Автоматическая переездная сигнализация с автоматическими шлагбаумами и устройством заграждения переезда (УЗП)

Получив сообщение от ДСП станции Ялуторовск о неисправности переездной сигнализации, ДСП Заводоуковская а) предупреждает по радиосвязи машинистов поездов о неисправности, об особой бдительности и проследовании переезда со скоростью не более 20 км/ч; б) последующим поездам выдает соответствующие предупреждения установленным порядком.


1.3 Пассажирские и грузовые обустройства станции

Сведения о пассажирских и грузовых обустройствах станции З описаны в таблице 7

Таблица 7 - Пассажирские и грузовые устройства:

№ путей

Наименование устройств

Длина (в метрах или вагонах)

Между I и 3

Низкая пассажирская платформа

300 м

4

Низкая пассажирская платформа

154 м

8

Открытая грузовая площадка

25 м

8

Высокая грузовая платформа

102 м

13

Повышенный путь

44,3 м

14

Повышенный путь

43,1 м


Устройства связи на станции обеспечивают быструю и четкую передачу распоряжений ДСП работникам станции о приеме и отправлении поездов, о порядке производства маневровой работы и других указаний.

В помещении дежурного по станции имеется: поездная диспетчерская связь с ДНЦ участка, поездная межстанционная связь с дежурными по станции Я, Н З; постанционная связь дежурного по станции со станциями; диспетчерская внутристанционная связь ДСП со станционными работниками; служебная с диспетчером ШЧ внутристанционная АТС, проводная двухсторонняя радиосвязь с машинистами поездных локомотивов; маневровая двусторонняя радиосвязь с машинистами маневровых локомотивов и составителями поездов, двухсторонняя парковая связь.

Кроме того, имеется маневровая радиосвязь составителя поездов с машинистами маневровых локомотивов.

В данном разделе представлена техническая характеристика станции «З», на основании которой можно сделать следующий вывод: станция З играет очень важную роль в транспортной системе Техническая оснащённость станции «З» позволяет быстро и безопасно перевозить пассажиров, оперативно работать с грузовыми поездами.

2. Эксплуатационная характеристика работы станции

.1 Назначение грузовой станции

Грузовая станция является линейным предприятием железной дороги по организации перевозок грузов и непосредственно подчиняется отделению дороги. Грузовая станция состоит из транспортно-складского комплекса, технического парка с приёмоотправочными и вытяжными путями, На грузовой станции также размещена техническая контора, помещение дежурного по станции, пункта технического обслуживания вагонов и др.

Наиболее существенными признаками для классификации грузовых станций служат характер и объём работы, схема путевого развития. По характеру выполняемых операций данная грузовая станция является погрузочно-выгрузочной.

Главные задачи грузовой станции - своевременное выполнение планов погрузки, выгрузки грузов в условиях наиболее рационального использования технических и транспортных средств разных видов транспорта.

На станции производится:

организованный прием, отправление и пропуск пассажирских и грузовых поездов;

расформирование составов и групп вагонов, прибывших на станцию и формирование передач отправляемых со станции;

отправление передач на станции Новая - Заимка, Ялуторовск.

подача вагонов на места грузовой работы и уборка их после выполнения грузовых операций;

приемо-сдаточные операции на местах грузовой работы;

погрузка, выгрузка вагонов и оформление перевозочных документов;

перевозка пассажиров и продажа билетов;

информация грузополучателей, грузоотправителей о подходе, прибытии и подаче вагонов;

технический и коммерческий осмотр вагонов.

Схема среднесуточных поездопотоков представлена в приложении В

2.2 Оперативное руководство и планирование работы станции

Руководит всей деятельностью станции начальник станции. Оперативное руководство работой станции, контроль за выполнением суточных и сменных планов, организацией грузовой и коммерческой работы, обработкой поездов и вагонов по технологическому процессу в смене возложено на дежурного по железнодорожной станции.

Дежурный по железнодорожной станции обеспечивает:

составление плана работы станции на смену, в том числе по приёму и отправлению поездов, и согласование с ДЦУП, составление плана маневровой работы, выполнение сменного плана по приёму, формированию и отправлению поездов, грузовой работе;

своевременную подачу, расстановку и уборку вагонов на местах погрузки, выгрузки, обслуживаемых локомотивом станции, выполнение технологических норм на обработку поездов и вагонов;

сокращение межоперационных интервалов и общего времени нахождения вагонов на станции;

совмещение операций расформирования с формированием поездов, подборку вагонов по местам погрузки, выгрузки и др.;

согласованную работу станции с другими службами, железнодорожными путями необщего пользования в соответствии с технологическим процессом;

контроль за эффективным использованием технических средств станции путевого развития, маневровых локомотивов, средств святи, сигнализации, централизации и блокировки и др.;

применение передовых методов труда;

соблюдение правил безопасности движения поездов и охраны труда;

подведение итогов работы за смену, а также обеспечивает выполнение иных обязанностей, возложенных на него должностной инструкцией, инструкционно-технологической картой организации труда, ТРА станции, настоящим технологическим процессом и другими руководящими документами.

Распоряжения дежурного по станции по обеспечению своевременного и безопасного приёма и отправления поездов, выполнению маневровых и грузовых операций, а также рациональному использованию технических средств станции являются обязательными для работников всех служб, связанных с подготовкой, приёмом, отправлением поездов, грузовой и коммерческой работой.

Маневровая бригада обслуживает станции З, Н З. Маневровая бригада состоит из машиниста маневрового локомотива (работающего «в одно лицо») и составителя поездов. Руководит маневровой бригадой составитель поездов.

Порядок работы составителей и машинистов «в одно лицо» определяется действующими инструкциями станции и локомотивного депо. Персональные списки маневровых бригад утверждаются заместителем начальника дороги по территориальному управлению (по Тюменскому региону).

2.3 Сменно-суточное планирование работы станции

Суточный план работы передается на станцию из ДЦУП не позднее, чем за два часа до начала планируемых суток, содержит следующие данные:

а) количество и номера поездов, подлежащих приему станцией с каждого направления;

б) количество и номера поездов, которые должны быть отправлены со станции по направлениям, с указанием поездов своего формирования;

в) размеры погрузки, выгрузки с выделением важнейших грузов;

д) задание на погрузку маршрутов;

В суточном плане выделяется объем работы, который должен быть выполнен станцией в первой половине суток.

Начальник станции на основании установленных суточных объемов погрузки и выгрузки в целом по станции составляет суточный план грузовой работы по отправлению основных родов грузов каждым грузоотправителем и выгрузке вагонов каждым грузополучателем.

Оперативное планирование поездной и грузовой работы производится по технологиям, определяющим взаимодействие всех уровней управления эксплуатационной работой при использовании единых информационных баз и единого порядка решения задач.

Сменно-суточный план выгрузки составляется на основании данных: о наличии груженых вагонов на станции, в том числе на путях необщего пользования; наличии вагонов под выгрузку в поездах на подходе к станции; информации о различных ограничениях по выгрузке вагонов (временное закрытие мест выгрузки, конвенционные запрещения и т.д.).

Проект суточного плана по выгрузке должен отвечать следующим требованиям: восполнение отставания плана выгрузки за прошлые сутки; эффективное использование грузовых фронтов в целях сокращения времени простоя вагонов на станции в ожидании подачи под выгрузку; обеспечение сроков доставки грузов (своевременная подача вагонов под выгрузку); рациональное использование маневровых локомотивов.

Суточное планирование погрузки осуществляется на основании уточненного сводного суточного заказа, составленного СТЦФТО и предоставляется диспетчеру по регулированию вагонного парка (по грузовой работе) района управления Диспетчерского центра управления движением (далее по тексту ДНЦВ Гр РУ ДЦУП) не позднее 12-00 часов московского времени предшествующих суток.

Утвержденный суточный план поездной и грузовой работы на предстоящие сутки передается на станцию из ДЦУП не позднее, чем за два часа до начала планируемых суток.

План работы станции на сутки уточняется и корректируется к началу второй половины суток в зависимости от сложившейся оперативной обстановки и результатов работы за первую половину суток.

Целью сменного планирования является разработка заданий работникам смены для обеспечения выполнения суточного плана работы станции с учетом сложившегося положения поездной и грузовой работы на станции и на подходах к ней.

Сменным заданием, передаваемым начальнику станции из ДЦУП в форме диспетчерского приказа не позднее, чем за 2 часа до начала смены, устанавливаются те же показатели эксплуатационной и грузовой работы, что и суточным планом.

План работы станции на смену составляется начальником станции на основании информации о подходе поездов и вагонов, графика движения и плана формирования поездов, поступившего суточного плана и сменного задания, а также исходя из ситуации на станции к началу планируемого периода, технологических норм на обработку поездов, вагонов и мест погрузки, выгрузки, информации о готовности грузоотправителей к погрузке и полученных специальных заданий.

К 6-00 приемосдатчик станции подводит итоги работы станции в первую половину суток и передает начальнику станции данные для планирования грузовой работы на вторую половину текущих суток и на следующие сутки. Начальник станции планирует работу с грузоотправителями, грузополучателями и ответственным за планирование работником Заводоуковского ЛАФТО.

До 7-30 начальник станции, учитывая итоги работы в первую половину суток, информацию о подходе поездов и грузов, поступившего суточного плана и сменного задания, а также исходя из ситуации на станции, технологических норм на обработку поездов, вагонов и мест погрузки, выгрузки, информации о готовности клиентов к погрузке, выгрузке и полученных специальных заданий, составляет план грузовой работы станции по погрузке и выгрузке на вторую смену текущих суток и на предстоящие сутки, и передает его диспетчеру по регулированию вагонного парка Восточного района управления ДЦУП, по организации грузовой работы.

ДНЦВ Гр РУ ДЦУП передает на станцию приказ по выполнению сменно-суточного плана текущих суток, согласованный руководством Свердловской дирекции управления движением.

Задание сменного плана выдается в письменном виде дежурному по станции. ДСП доводит задание до сведения работников смены.

В 9-00 диспетчер оперативный (по грузовой работе) Восточного района управления ДЦУП передает на станцию в электронном виде приказ, согласованный руководством Дирекции управления движением, по выполнению сменно-суточного плана текущих суток.

К 15-00 приемосдатчик станции по телефону собирает сведения о грузовой работе станции и подводит итоги работы станции за текущие сутки с учетом поступления вагонов за дневную смену и передает данные начальнику станции.

На 15-00 начальник станции передает оперативному диспетчеру (по грузовой работе) Восточного района управления ДЦУП выполненный объем работы станции за текущие сутки (выгрузка по роду груза, в т.ч. собственных; погрузка в вагонах и тоннах по роду подвижного состава, роду перевозимого груза, остаток с полным сроком на следующие сутки).

До 16-00 часов московского времени оперативный диспетчер (по грузовой работе) Восточного района управления ДЦУП доводит до станции утвержденный суточный план поездной и грузовой работы на предстоящие сутки, а также передает запланированный подвод порожних вагонов под погрузку и задание станции на подачу подвижного состава на подготовку под погрузку с учетом рода груза и необходимой категории годности.

Ведомость железнодорожных путей необщего пользования станции З представлена в таблице 8.

Таблица 8 - Ведомость

№ п/п

Наименование

Место примыкания

Развернутая длина, в метрах

Кол-во вагонов

Ведомость мест погрузки и выгрузки, ваг.

Тип механизмов

Род груза

Система связи

 






Погрузка

Выгрузка




 

А) Железнодорожные пути необщего пользования, обслуживаемые локомотивом, принадлежащим перевозчику

 

1

ОАО Заводоуковский машиностроительный завод

является продолжением пути №17 н/п ООО Заводоуковский элеватор»

510

12

Боковая грузовая платформа, вместимость 1 вагон Открытая площадка, вместимость 4 вагона

Козловой кран

тарно-штучные грузы Тяжеловесные грузы, прочие

Телефон

 


ООО Заводоуковский элеватор

Стрелками №24, 32 пути №9

1532

11

Путь 16 - пункт погрузки/выгрузки, 8 вагонов односторонний повышенный путь, 2 вагона Путь 17 - открытая площадка, 1 вагон - грузовой фронт зерна, 4 вагона

Электролебедка Автокран

Зерно Сыпучие и прочие  Прочие  Зерно

Телефон

1.

ООО Сибтоппром

через железнодорожные пути №16 и 19 н/п ОАО Заводоуковский элеватор стрелкой №50

119,

7

Путь 1 - повышенный путь, вместимость 7 вагонов

Автомобильный кран

Минеральные удобрения  Каменный уголь

Телефон

В) Железнодорожные пути необщего пользования, обслуживаемые локомотивом, не принадлежащие перевозчику

2.

Заводоуковское ДРСУ

В нечетной горловине стрелками №29,31; в четной горловине стрелками №60/62к приемоотпра-вочному пути №5

12873,

71

Путь 3 Двухсторонний повышенный путь, 14 вагонов Открытая площадка, 5 вагонов Путь 4 Двухсторонний повышенный путь, 10 вагонов

Авто-кран КС-55713-1К

Щебень песок, ЖБИ  Соль, техника, Битум  щебень

Телефон

3.

ЗАО Заводоуковский КСМ

Стрелкой №18 к пути 1А Заводоуковское ДРСУ

1008

20

Путь 1 - склад готовой продукции, 1 вагон Путь 2 - пункт механизированной выгрузки, 10 вагонов - повышенный путь, 3 вагона

Мостовой кран Многоковшовый разгрузчик

ЖБИ Щебень Щебень Цемент  Песок

Телефон


В данном разделе представлена эксплуатационная характеристика станции «З», на основании которой можно сделать следующий вывод: станция «З», осуществляет работу направленную на грузовые операции, что позволяет работать с клиентами и выполнять месячные план-задания.

3. Организация маневровой работы в зоне негабаритных мест

.1 Общая характеристика производства маневровой работы

Маневровая работа производится составителем поездов, который должен получать задание на маневровую работу только от одного лица, распоряжающегося маневрами. Задание на маневровую работу должно быть дано четко и ясно и доведено руководителем маневров до каждого причастного работника. Если в процессе производства маневров возникает необходимость изменить намеченный план работы, то с характером этих изменений должны быть заблаговременно ознакомлены все работники, участвующие в маневрах.

Передвижение маневрового локомотива (с вагонами или без вагонов) из одного маневрового района в другой допускается только по разрешению дежурного по станции

Руководитель маневров обязан:

точно и своевременно выполнять задания на маневровую работу;

обеспечивать правильную расстановку и согласованность действий всех работников, участвующих в производстве маневров, на основе ознакомления их с планом и способами выполнения предстоящей маневровой работы;

формировать поезда в точном соответствии с требованиями Правил технической эксплуатации, инструкций и указаний МПС;

организовать маневровую работу так, чтобы были обеспечены безопасность движения, личная безопасность работников, занятых на маневрах, сохранность подвижного состава и груза. Маневры с вагонами, занятыми людьми, негабаритными и разрядными грузами, производить с особой осторожностью

При вступлении на дежурство составитель поездов должен ознакомиться с наличием и расположением подвижного состава на путях своего района, проверить надежность его закрепления, убедиться в наличии установленных для района средств закрепления. О результатах проверки доложить дежурному по станции.

Перед началом маневровой работы руководитель маневров обязан:

а) убедиться, что все работники, участвующие в маневрах, в том числе и локомотивная бригада, в полном составе находятся на своих местах;

б) ознакомить машиниста и работников станции, участвующих в маневрах, с планом предстоящих маневров и порядком его выполнения;

в) проверить, нет ли препятствий для передвижения вагонов (тормозных башмаков под колесами и др.).

В процессе работы руководитель маневров обязан:

а) четко и своевременно передавать сигналы и указания, касающиеся маневровых передвижений;

б) следить за своевременной подготовкой стрелок для маневровых передвижений, своевременной и правильной подачей сигналов операторами постов централизации, дежурными стрелочных постов и машинистом локомотива;

в) находиться в таком месте, откуда обеспечивается лучшая видимость сигналов, маневрирующего состава и маршрута его передвижения;

г) при движении по станционным путям вагонами вперед находиться, как правило, на первой по движению специальной подножке (тормозной площадке, тамбуре), а при невозможности - идти по междупутью или обочине пути впереди осаживаемых вагонов, следить за показаниями маневровых светофоров, подаваемыми сигналами, положением стрелок по маршруту, отсутствием препятствий и людей на пути; при необходимости - принимать меры к остановке маневрового состава. В исключительных случаях, при неисправности радиосвязи привлекать для передачи сигналов операторов постов централизации, дежурных стрелочных постов и других работников станции;

д) при производстве маневров с большими составами на кривых участках пути или в условиях плохой видимости (туман, метель, снегопад и т.д.) принимать дополнительные меры для обеспечения безопасности - чаще передавать сигналы и указания по радиосвязи или двусторонней парковой связи;

е) не допускать пропуска подвижного состава по взрезанной стрелке впредь до ее осмотра и ремонта;

ж) прежде чем подъехать к составу, убедиться в отсутствии сигналов ограждения;

з) не допускать оставления вагонов без закрепления или с закреплением менее установленной в техническо-распорядительном акте станции нормы вне зависимости от предполагаемого времени стоянки этих вагонов;

и) не допускать передвижений маневровых составов (с локомотивами спереди или вагонами вперед), не убедившись в том, что все вагоны сцеплены между собой и с локомотивом;

к) при маневрах толчками своевременно принимать меры, исключающие возможность движения отцепов в обратном направлении или выхода вагонов за предельный столбик в противоположном конце пути;

л) если при маневрах толчками или при надвиге составов на горку расчетные рычаги по условиям работы устанавливаются в положение «на буфер», то после отделения отцепа от состава немедленно приводить рычаги в нормальное положение;

м) при заезде маневрового локомотива (одиночного или с вагонами) на тот или иной занятый вагонами путь для отцепки или прицепки других вагонов, а также при сжатии стоящих вагонов для расцепки не допускать выполнения этих операций, не убедившись в надежном закреплении вагонов с противоположной от маневрового локомотива стороны;

н) если к стоящей на том или ином пути группе вагонов, в том числе и закрепленных по установленной норме, дополнительно прицепляются вагоны, проверять, не нарушилась ли в результате этого правильность установки ранее уложенных башмаков, а также достаточно ли этих башмаков на увеличившееся количество вагонов;

о) перед передвижением маневрового состава в местах погрузки и выгрузки грузов убедиться в отсутствии препятствий для движения;

п) маневры с вагонами, погрузка и выгрузка которых не закончены, производить только после согласования с работником, распоряжающимся погрузочно-разгрузочными операциями.

Руководитель маневров должен так организовать работу, чтобы не допустить выхода подвижного состава за предельные столбики (изолирующие стыки или сигналы) противоположного конца путей.

Порядок согласования действий руководителя маневров с работниками противоположного конца парка (путей), обеспечивающий выполнение указанного требования, устанавливается в техническо-распорядительном акте станции.

При производстве маневров в местах работы ремонтных бригад (путевых, СЦБ), с пересечением переездов, около пассажирских платформ, на путях грузовых складов, грузовых дворов, складов топлива, вагонных и локомотивных депо, на территории заводов, мастерских и т.п. составительские и локомотивные бригады должны проявлять особую бдительность, своевременно подавать звуковые сигналы при приближении состава к находящимся около пути или на платформах людям, а также предупреждать о движении состава людей, работающих на погрузке, выгрузке, ремонте пути, вагонов и др.

При движении у высоких платформ нахождение работников на специальной подножке вагона со стороны платформы запрещается.

Порядок прекращения маневров перед приемом или отправлением поезда:

Распоряжение о прекращении маневров ДСП передает руководителю маневров и машинисту локомотива по радиосвязи, парковой связи, или лично. Убеждается в фактическом прекращении маневров по докладам руководителя маневров по радиосвязи, парковой связи, машиниста - по радиосвязи или лично.

Перед приемом или отправлением поезда дежурный по станции обязан прекратить маневровые передвижения на стрелках и путях, не изолированных от маршрута предстоящего приема или отправления поезда. До убеждения в фактическом прекращении маневров ДСП запрещается открывать сигнал или давать другое разрешение на прием или отправление поезда.

3.2 Работа составителя поездов на путях необщего пользования

Путь необщего пользования ОАО «Заводоуковск машиностроительный завод» является продолжением пути №17 н/п ООО «Заводоуковский элеватор». Обслуживается путь необщего пользования локомотивом перевозчика. Развёрнутая длина пути необщего пользования - 510 метров погонных. Подача вагонов на путь необщего пользования производится круглосуточно по уведомлению, которое передаётся приемосдатчиком станции З по телефону не позднее, чем за 2 часа до предстоящей подачи лицам, уполномоченным предприятием и сообщенным начальнику станции.

Об окончании погрузки, выгрузки и готовности к уборке одновременно поданных вагонов к фронту, предприятие уведомляет по телефону приёмосдатчика станции З с последующим письменным подтверждением, передаваемым на станцию, не позднее чем через 30 минут.

На территории предприятия находятся «Негабаритное место» - боковая грузовая платформа, вместимость 1 вагон

Путь необщего пользования предприятия ООО «Заводоуковский элеватор» примыкает к пути №9 станции З стрелками №24, 32. Развёрнутая длина составляет 1532,2 метра. Подача и уборка вагонов производится локомотивом станции с расстановкой вагонов по фронтам погрузки и выгрузки. Подача вагонов производится круглосуточно по уведомлению, передаваемому приемосдатчиком станции З за 2 часа до предстоящей подачи лицам, уполномоченным предприятием.

Об окончании погрузи или выгрузки и готовности к уборке одновременно поданных к фронту вагонов представитель пути необщего пользования уведомляет приемосдатчика станции З по телефону с последующим представлением письменного уведомления не позднее, чем через 30 минут.

На территории предприятия находятся «Негабаритные места»:

ворота предприятия

склады №1,2

погрузочная площадка

Путь необщего пользования ООО «Сибтоппром» примыкает через железнодорожные пути №16 и 19 н/п ОАО «Заводоуковский элеватор» стрелкой №50. Развёрнутая длина составляет 119 метров погонных.

Подача и уборка вагонов производится локомотивом станции с расстановкой вагонов по фронтам погрузки и выгрузки. Подача вагонов производится круглосуточно по уведомлению, передаваемому приемосдатчиком станции З за два часа до предстоящей подачи лицам, уполномоченным директором предприятия и сообщенным начальнику станции.

Об окончании погрузи или выгрузки и готовности к уборке одновременно поданных к фронту вагонов представитель пути необщего пользования уведомляет приемосдатчика станции З по телефону с последующим представлением письменного уведомления не позднее, чем через 30 минут.

На территории предприятия находятся «Негабаритные места»:

ворота предприятия

повышенная платформа

При маневровых передвижениях через ворота составитель поездов должен перед воротами остановить маневровый состав, сойти с подножки вагона, проверить надежность закрепления ворот, обеспечить безопасность движения, пройти в ворота по обочине пути и из безопасного места дать команду машинисту локомотива на дальнейшее движение.

Составитель поездов перед передвижением маневрового состава в местах погрузки или выгрузки обязаны убедиться в отсутствии препятствий для движения.

Подача и уборка вагонов производится на основании наряда, подаваемого приёмосдатчиком груза дежурному по станции с указанием номеров вагонов рода подвижного состава и рода груза. Время подачи или уборки вагонов отмечается в памятке приёмосдатчика. Подачу вагонов на грузовые фронта и их уборку выполняет составитель поездов.

Технология выполнение маневровой работы на путях необщего пользования ОАО «Заводоуковский машиностроительный завод», ООО «Заводоуковский элеватор», ООО «Сибтоппром» указана в таблице 9

Таблица 9 - Технология выполнения маневровой работы

Наименование операции

полурейс

Длина

Кол-во вагонов

Время в часах


Начало

Конец




Получение распоряжения на маневровую работу





0,37

Полурейс

6п

М5

457


1,90

подготовка маршрута, передача машинисту команды на движение





0,30

Полурейс

М5

9п

939


3,90

Прицепка





1,10

Зарядка воздушной магистрали и опробование а/тормозов




4

3,56

Соединение концевых рукавов




4

0,13

Открытие концевых кранов а/т магистрали





0,14

Уборка т/башмаков





0,41

Проход 56 м



56


0,56

Уборка т/башмаков





0,41

Доклад ДСП включении тормозов и уборке т/башмаков





0,30

Подготовка маршрута, передача машинисту команды на движение





0,30

Полурейс

9п

стр. 24

140

4

0,65

перевод стрелки





1,00

Полурейс

стр. 24

стр. 32

80

4

0,45

перевод стрелки





1,00

Полурейс

стр. 32

ворот

95

4

0,45

Открытие ворот





3,00

Полурейс

ворот

стр. 50

392

4

1,65

перевод стрелки и открытие ворот





4,00

Полурейс

ворот

место выгр

100

4

0,45

Закрепление вагона с проходом





0,86

Перекрытие концевых кранов





0,14

Разъединение концевых рукавов





0,12

Отцепка





0,08

Полурейс

место выгр

место выгр

160

2

0,85

Закрепление вагона с проходом





0,72

Разъединение концевых рукавов






Отцепка






Полурейс

место выгр

стр. 24

443

1

1,95

Перевод стрелки





1,00

Полурейс

стр. 24

ворота

570

1

2,35

Открытие ворот





3,00

Полурейс

ворота

место выгр

456

1

1,95

Закрепление вагона с проходом





0,72

Перекрытие концевых кранов





0,14

Разъединение концевых рукавов





0,12

Расцепление локомотива с вагоном





0,08

Полурейс

место выгр

М28

1200


4,50

Доклад ДСП о выполненной работе





0,30

Всего на подачу





44,91

Итого





89,82


Дежурный по станции, после получения сообщения о готовности вагонов к уборке, даёт указание составителю поездов об уборке вагонов с грузовых пунктов и формировании очередного состава. Об окончании формирования состава составитель поездов докладывает дежурному по станции.

Руководителем маневровой работы является составитель поездов, работающий в «одно лицо». Передвижение локомотива осуществляется по сигналу составителя поездов. Маневровая работа производится одним маневровым тепловозом ТЭМ18 ДМ осуществляется путём осаживания. Маневровый тепловоз оборудованным двухсторонней маневровой радиосвязью с дежурным по станции З и обслуживается одним машинистом. Экипировка, маневрового локомотива производится на пути №9 станции З.

3.3 Работа составителя поездов на станционных путях

Путь №8 является погрузочно-выгрузочным полезная длина 363 метра, негабаритным местом является повышенная платформа протяженностью 125 метров

Путь №10 является весовым, полезная длинна 117 метров - негабаритным местом является помещение весовой протяженность1,5 метра

Работа составителя поездов в зоне негабаритных мест должна производиться с особой бдительностью с постоянным выходом на связь с машинистом и дежурным по станции

Технология выполнение маневровой работы на путях общего пользования указана в таблице 10.

Таблица 10 - Технология работы

Наименование операции

полурейс

Длина

Кол-во вагонов

Время в часах


Начало

Конец




Подача вагонов на 8 путь станции

Получение задания на маневровую работу





0,37

Полурейс

М17

5п

98


0,45

Прицепка





1,10

Соединение тормозных рукавов




12

0,13

Открытие концевых кранов а/т магистрали





0,14

Зарядка воздушной магистрали и опробование а/тормозов




12

4,68

Уборка 4 тормозных башмаков с проходом





3,32

Доклад ДСП о включении тормозов и уборки т/башмаков





0,30

Подготовка маршрута, передача машинисту команды на движение





0,30

Полурейс

5п

М5

527

12

2,55

Подготовка маршрута, передача машинисту команды на движение





0,30

Полурейс

М5

М30

1022

12

4,75

Полурейс

М30

фронт работ

350

12

1,65

Укладка 1 тормозного башмака с накатом





0,29

Проход 28 м



28


0,28

Укладка 2 тормозных башмаков





0,58

Перекрытие концевых кранов а/т магистрали





0,14

Разъединение тормозных рукавов





0,12

отцепка 5 вагонов




5

0,08

Доклад ДСП о закреплении вагонов и готовности к выезду





0,30

Подготовка маршрута, передача машинисту команды на движение





0,30

Полурейс

М30

М24

151


0,80

Всего на подачу





22,93

Итого





45,86

Подача 5 вагонов на 13 путь станции

Подготовка маршрута, передача машинисту команды на движение





0,30

Полурейс

М24

М28

190

0,93

Полурейс

М28

стр. 40

256

7

1,33

Перевод стрелки





1,00

Полурейс

стр. 40

стр. 36

199

7

0,93

Перевод стрелки





1

Полурейс

стр. 36

стр. 32

27

7

0,33

Перевод стрелки





1

Полурейс

стр. 32

стр. 16

92

7

0,53

Перевод стрелки





1

Полурейс

стр. 16

повыш. путь

203

7

1,13

Закрепление вагонов





0,87

Проход 70 м



70


0,7

Перекрытие концевых кранов а/т магистрали





0,14

Разъединение тормозных рукавов





0,12

отцепка 5 вагонов




5

0,08

Доклад ДСП о выполненной работе





0,3

Всего на подачу





11,69

Итого





23,38

Подача 1 вагона на 11 путь станции

Полурейс

повыш. путь

стр. 16

85

2

0,45

Перевод стрелки





1

Полурейс

стр. 16

фронт работ

80

2

0,45

Закрепление вагона с проходом





0,72

Перекрытие концевых кранов а/т магистрали





0,14

Разъединение тормозных рукавов





0,12

Отцепка 1 вагона




1

0,08

Доклад ДСП о выполненной работе





0,3

Всего на подачу





3,26

Итого





6,52

Подача 1 вагона на 14 путь станции

Полурейс


стр. 40

384

1

1,65

Перевод стрелки





1,00

Полурейс

стр. 40

стр. 22

113

1

0,65

Перевод стрелки





1,00

Полурейс

стр. 22


137

1

0,65

Закрепление вагона с проходом





0,72

Перекрытие концевых кранов а/т магистрали





0,14

Разъединение тормозных рукавов





0,12

Отцепка 1 вагона





0,08

Доклад ДСП о закреплении вагонов и готовности к выезду





0,30

Полурейс


М28

460


1,90

Подготовка маршрута, передача машинисту команды на движение





0,30

Полурейс

М28

М24

190


0,8

Всего на подачу





9,31

Общее время подачи





47,19

Итого на подачу и уборку





94,38


Одним из стандартов железнодорожного транспорта является «Габарит приближения строений». Он устанавливает контур, внутрь которого не должны заходить никакие предметы, кроме контактной сети и устройств, специально предназначенных для контакта с подвижным составом. Этот контур обеспечивает достаточно большой зазор между вагонами, грузами на них и сооружениями. Но иногда бывает так, что какое-то устройство все-таки входит внутрь этого контура, например платформы для погрузки-выгрузки грузов.

По станции и на подъездных путях, на негабаритных местах установлены предупреждающие знаки «Осторожно! Негабаритное место!» и нанесена предупреждающая окраска в виде чередующихся желтых и черных полос.

При движении состава у негабаритных мест (имеющими предупредительную окраску в виде чередующих желтых и черных полос), нахождение составителя поездов на специальной подножке вагона со стороны негабаритных мест запрещается. Не доезжая негабаритных мест составитель поездов за 50 метров должен остановить состав, сойти с вагона и идти по обочине пути впереди осаживаемых вагонов.

В этом случае составитель поездов должен находиться на переходной площадке первого по ходу движения вагона (при движении вагонами вперед) или площадке маневрового локомотива (при движении локомотивом вперед), а при отсутствии или неисправности у первого по ходу движения вагона переходной площадки должен перед негабаритным местом остановить состав и пройти это место по обочине пути впереди осаживаемых вагонов на расстоянии, обеспечивающем видимость составителя поездов локомотивной бригадой.

При маневровых передвижениях через ворота составитель поездов должен перед воротами остановить маневровый состав, сойти с подножки вагона, проверить надежность закрепления ворот, обеспечить безопасность движения, пройти в ворота по обочине пути и из безопасного места дать команду машинисту локомотива на дальнейшее движение.

Составитель поездов перед передвижением маневрового состава в местах погрузки или выгрузки обязаны убедиться в отсутствии препятствий для движения.

В данном разделе представлена основная работа составителя поездов, направлена обработку путей с наличием «Негабаритного места», что осложняет производственный процесс. Изучив данный раздел сделаны выводы, что безопасное производство маневровой работы - одна из важнейших задач при организации работ на грузовой станции.


4. Обеспечение требований безопасности труда при организации рабочего места составителя поездов

.1 Характеристика возможных опасных и вредных производственных факторов на рабочем месте

Составитель поездов отвечает за формирование и расформирование поездов, различных составов, безопасность при производстве маневровой работы. Является руководителем маневровых передвижений на путях общего и необщего пользования. Составитель поездов в процессе работы выполняет следующие операции:

по радиосвязи, а также ручными и звуковыми сигналами дает команды на движение маневровому локомотиву, ССПС с вагонами и без;

- отцепку и прицепку вагонов;

соединение / разъединение тормозных рукавов;

закрепление состава при его остановке;

перевод нецентрализованных стрелок;

вытормаживание отцепов.

В процессе работы на составителя поездов могут воздействовать следующие опасные и вредные производственные факторы указаны в таблице 11

1) При выходе на железнодорожные пути:

движущийся железнодорожный подвижной состав или транспортные средства;

повышенная или пониженная температура воздуха;

шум и вибрация;

повышенная влажность и подвижность воздуха;

недостаточная освещенность рабочей зоны;

тяжесть трудового процесса.

) При возникновении аварийной ситуации:

факторы взрыва;

пожара;

воздействия химических веществ;

повышенного значения напряжения электрической цепи, замыкание которой может пройти через тело человека.

Для защиты от воздействия вредных и опасных производственных факторов необходимо соблюдать требования инструкций по охране труда, правильно примерять средства индивидуальной и коллективной защиты (Распоряжение ОАО «РЖД» от 17.11.2015 №2705 «Об утверждении инструкции по охране труда для составителя поездов»).

Таблица 11 - Воздействующие факторы в процессе работы составителя поездов

Воздействующий фактор

Характер воздействия

Существующие системы защиты составителя поездов

Метеорологические условия

Нарушение теплообмена и терморегуляции

Защита временем, питьевой режим, места обогрева

Световой климат

При работе в темное время суток - снижение работоспособности, утомление

Обеспечение достаточного освещения участка работ

Воздушная среда

Дыхательные пути, кожный покров

Использование СИЗ

Шум

Шум от подвижного состава - действие на слуховой анализатор и центральную нервную систему

Звукопоглощающие и звукоизолирующие индивидуальные средства защиты.

Вибрация

Вибрация от подвижного состава,

Виброизолирующие и вибропоглощающие средства защиты, смазка вибрирующих деталей

Тяжесть труда

Перемещение и подъем в ручную используемых в работе приспособлений, прибывание в вынужденной позе

Соблюдение норм руководства по оценке условий труда по гигиеническим критериям

Электромагнитное излучение

Влияние на костно-мышечные ткани




4.2 Наличие опасных зон и эффективность действия технических средств, обеспечивающих безопасность и обслуживания оборудования

В процессе выполнения должностных обязанностей составителя может находиться вблизи опасных зон оборудования и подвижного состава. Такими зонами являются:

подвижные части стрелочного перевода при попадании частей тела и одежды между остряком и рамным рельсом в момент перевода стрелки;

оборудование и бытовые приборы, находящиеся под напряжением при отсутствии заземления, неисправности вилок, розеток, кабелей.

Средствами безопасности являются:

а) защитное заземление и отключение - для защиты работающих от опасных и вредных производственных факторов должна быть обеспечена безопасная эксплуатация производственного оборудования, т.е. оно должно отвечать требованиям безопасности труда, установленным государственными стандартами и другими нормативными документами при выполнении всех заданных функций.;

б) отсутствие доступа к опасным зонам - безопасными должны быть и производственные процессы. Для создания безопасных технологий решающее значение имеют автоматизация и механизация производственных процессов, что позволяет вывести работников из зоны действия опасных и вредных производственных факторов.;

в) применение средств индивидуальной защиты - Для предотвращения или уменьшения воздействия на работающих и даже на одного работника опасных и (или) вредных производственных факторов используют средства защиты. Они могут быть коллективными (для защиты двух и более работников) и индивидуальными (для защиты 1 чел.).;

д) обучение безопасным приёмам эксплуатации оборудования;

е) наличие инструкций и правил по пользованию оборудованием.

4.3 Характеристика производственного процесса на рабочем месте

Рабочим местом составителя поездов являются район работы железнодорожной станции, служебные и технологические проходы междупутья и обочины путей железнодорожной станции (участка обслуживания) и обслуживаемых путей необщего пользования, переданных в ведение подразделений ОАО «РЖД», кабина маневрового локомотива, установленные места проезда на вагонах, санитарно-бытовое и служебное помещения.

Рациональная планировка рабочего места должна обеспечивать: наилучшее размещение орудий и предметов труда, не допускать общего дискомфорта, уменьшать утомляемость работника, повышать его продуктивность труда.

Требования к рабочему месту составителя поездов описаны в таблице 12.

Таблица 12 - Требования к рабочему месту составителя поездов

Элемент рабочего места

Наличие и размещение

Назначение

Ссылка на нормативный документ

Рабочая зона

1

Рабочая зона асфальт, настил или засыпка шпальных ящиков

Пути, междупутья и площадка (настил) должны находиться в одном уровне с нижней гранью головки рельсов, расстояние от концов шпал до края балластного слоя с обеих сторон пути не менее 1,5 метров

Для безопасного перемещения составителей поездов и обеспечения безопасных условий труда

П. 8.8 Правил и норм проектирования устройств на железных дорогах колеи 1520 мм





Пп. 2.1.23, 3.4 Правил по охране труда в хозяйстве перевозок федерального железнодорожного транспорта от 20.09.2001 г. N ПОТ РО-32-ЦД-855-01

Разметка и указатели

1

Указатели Маршрут служебного прохода

По территории станции к служебным помещениям, рабочим местам (зонам), ширина проходов - не менее 1 метра

Обеспечение безопасности при нахождении на железнодорожных путях

Пп. 3.10, 3.11 Правил по охране труда в хозяйстве перевозок федерального железнодорожного транспорта от 20.09.2001 г. N ПОТ РО-32-ЦД-855-01

Наличие и размещение инструмента и инвентаря

1

Переносная радиостанция

В индивидуальном пользовании

Для служебных переговоров с ДСП обеспечения безопасности и правильного взаимодействия между работниками в процессе выполнения операций формирования-расформирования составов

П. 8.8 Правил и норм проектирования устройств на железных дорогах колеи 1520 мм. - ГОСТ 16019-2001 Аппаратура сухопутной подвижном радиосвязи. Требования по стойкости к воздействию механических и климатических факторов и методы испытаний.

2

Переговорные колонки парковой связи громкого оповещения

B местах согласованных начальником станции



3

Ручные и звуковые сигнальные приборы

В индивидуальном пользовании

Обеспечение безопасности при нахождении на ж.д. путях

Правила по охране труда в хозяйстве перевозок федерального железнодорожного транспорта от 20.09.2001 г. N ПОТ РО-32-ЦД-855-01

4

Емкость для песка

Около маршрутов служебного прохода, на расстоянии не менее 2500 мм от оси пути, изолированные от попадания влаги

Для хранения песка

Инструкция по работе станции. - П. 2.1.23, 3.17 Правил по охране труда в хозяйстве перевозок федерального железнодорожного транспорта от 20.09.2001.г. N ПОТ РО-32-ЦД-855-01.

5

Сухой песок

В специально установленных емкостях

Обеспечение безопасных условий труда


6

Стеллаж для тормозных башмаков

На обочине пути или междупутье

Для размещения (хранения) тормозных башмаков

Правила учета, маркировки (клеймения), выдачи и хранения тормозных башмаков на железных дорогах - филиалах ОАО «РЖД», утвержденные распоряжением ОАО «РЖД» от 30.08.2005 г. №1353 р. П. 3.7.2 Техническо-распорядительного акта станции.

7

Тормозные башмаки

На стеллаже

Для закрепления подвижного состава


Санитарно-бытовые помещения

1

Санитарно-бытовое помещение

Должно быть расположено не более, чем в 500 м до рабочего места на открытом воздухе, и на расстоянии не менее 3000 мм от оси пути

Создание благоприятных и здоровых условий труда, способствующих снижению риска нарушения здоровья обеспечение температурного режима в холодное и жаркое время года

Пп. 4, 8 Правил по охране труда в хозяйстве перевозок федерального железнодорожного транспорта от 20.09.2001 г. N ПОТ РО-32-ЦД-855-01.

Внешние факторы

1

Освещение

На участке расцепления вагонов вертикальную освещенность 10 лк вдоль оси пути на уровне 1 м от поверхности земли

Для обеспечения выполнения технологического процесса формирования- расформирования составов

П. 8.8 Правил и норм проектирования устройств на железных дорогах колеи 1520 мм. ГОСТ 12252-86 Радиостанции с угловой модуляцией сухопутной подвижной службы. Типы, основные параметры, технические требования и методы измерений.


Составитель поездов перед началом маневров:

убеждается, что все работники станции, участвующие в маневрах, а также машинист маневрового локомотива, в полном составе находятся на своих местах;

знакомит машиниста маневрового локомотива и работников, участвующих в маневрах, с планом выполнения маневров. Если в процессе выполнения маневров намеченный план по каким-либо причинам изменяется, то с этими изменениями составитель заблаговременно знакомит всех работников, участвующих в маневрах, и машиниста маневрового локомотива;

убеждается в отсутствии препятствий (тормозных башмаков, посторонних предметов, негабаритных предметов и других препятствий) для передвижения вагонов, в том, что рычаги автосцепок установлены в нормальное положение;

проверяет надежность радиосвязи с машинистом маневрового локомотива, а также с ДСП. В случае возникновения неисправности носимой радиостанции во время работы прекращает маневры, ставит в известность машиниста маневрового локомотива, а также ДСП, и принимает меры по ее замене.

при нахождении в установленной ТРА станции зоне неустойчивого действия радиосвязи поддерживает связь с машинистом маневрового локомотива при помощи других работников станции (ДС, свободный от дежурства ДСП, приёмосдатчик), назначаемых по распоряжению дежурного по станции.

В процессе маневровой работы:

четко и своевременно в соответствии с ИСИ передаёт указания и сигналы, касающиеся маневровых передвижений, машинисту локомотива;

не допускает без разрешения дежурного по станции занятия подвижным составом приемо-отправочных путей станции, выезда маневрового локомотива или маневрового состава на главные и приемо-отправочные пути станции или их пересечение;

следит за своевременной и правильной подготовкой стрелок для маневровых передвижений, своевременной и правильной подачей указаний или сигналов ДСП и машинистом маневрового локомотива;

после перевода нецентрализованной стрелки запирает ее установленным порядком и убеждается в плотности прилегания остряка к рамному рельсу;

не пропускает подвижной состав по взрезанной стрелке до ее осмотра и ремонта мастером или монтером пути и получения от дежурного по станции сообщения об открытии движения по этой стрелке;

при выполнении маневров выбирает место своего нахождения таким образом, чтобы обеспечивалась лучшая видимость сигналов и маршрута передвижения маневрового состава;

при движении маневрового состава вагонами вперед находится, как правило, на первой по ходу движения специальной подножке вагона (переходной площадке, тамбуре), а при ее отсутствии - идёт по междупутью впереди осаживаемых вагонов, следит за сигналами светофоров; положением стрелок по маршруту, отсутствием препятствий и людей на пути станции; в случае необходимости - принимает меры для остановки маневрового состава;

при движении одиночного локомотива или маневрового состава локомотивом вперед находится в кабине на стороне помощника машиниста и следит за правильностью положения стрелок в маршруте и отсутствием препятствий для движения;

при производстве маневров с большими составами на кривых участках пути станции или в условиях ограничения видимости (туман, ливень, метель) принимает дополнительные меры для обеспечения безопасности движения - чаще передаёт сигналы и указания по радиосвязи или двусторонней парковой связи, ограничивает при необходимости длину маневрового состава;

не допускает оставления вагонов без закрепления тормозными башмаками, а также с закреплением вагонов менее установленной в ТРА станции нормы вне зависимости от предполагаемого времени стоянки этих вагонов;

не допускает передвижений маневровых составов (локомотивом вперед или вагонами вперед), не убедившись в том, что все вагоны сцеплены между собой и с локомотивом;

при заезде маневрового локомотива или маневрового состава на путь станции, занятый вагонами, для отцепки или прицепки других вагонов, а также при сжатии стоящих вагонов для расцепки не допускает выполнения этих операций, не убедившись в надежном закреплении вагонов с противоположной от маневрового локомотива стороны;

при выполнении маневров по прицепке дополнительных вагонов к стоящей на пути станции группе вагонов, в том числе и закрепленных по установленной норме, проверяет, не нарушилась ли в результате этого правильность установки ранее уложенных башмаков, а также достаточно ли этих башмаков на увеличившееся число вагонов;

убеждается в отсутствии препятствий для движения перед передвижением маневрового состава в местах погрузки и выгрузки грузов; производит маневры с вагонами, погрузка и выгрузка которых не закончены, только после согласования с работником, распоряжающимся погрузочно-разгрузочными операциями.

При производстве маневров не допускает выхода подвижного состава за предельные столбики путей станции (изолирующие стыки или светофоры) и размещает подвижной состав в пределах их полезной длины. О производимых маневрах ставит в известность ДСП.

При движении вагонами вперед составитель поездов подаёт указание о начале движения с предстоящим выездом на стрелки только при наличии разрешающего показания маневрового светофора или личного убеждения в готовности стрелок для маневрового передвижения.

При производстве маневров на путях, расположенных на уклонах, во всех случаях, в соответствии с требованиями ТРА станции, соблюдает меры предосторожности (установка стрелок в изолирующее положение, укладка башмаков под отдельные группы вагонов), исключающие возможность столкновений отцепленных вагонов с маневровым составом, а также ухода вагонов на маршруты следования поездов. Не выполняет осаживание и соединение вагонов без принятия мер безопасности, установленных ТРА. Перед осаживанием убеждается в отсутствии тормозных башмаком под вагонами и в нормальном положении расцепных рычагов автосцепки. В условиях ограничения видимости (туман, ливень, метель), выполняет маневры с особой осторожностью, а в необходимых случаях - и с пониженной скоростью.

Маневры на главных путях станции или с их пересечением, а также с выходом за входные стрелки могут допускаться в каждом случае только с разрешения дежурного по станции, при закрытых соответствующих входных сигналах, ограждающих вход на пути станции и стрелки, на которых производятся маневры.

Выполняет маневры только на тех приемо-отправочных путях (стрелках, ведущих на эти пути) станции, которые будут указаны дежурным по станции при передаче задания составителю поездов на маневровую работу.

Выезд маневрового состава на приемо-отправочные пути при производстве маневров допускает в каждом отдельном случае только с разрешения ДСП.

При необходимости заезда маневрового локомотива на пути грузовых районов, складов, пути других служб и т.п. выполняет меры безопасности, установленные ТРА и местными инструкциями.

4.4 Эргономический анализ организации рабочего места

Рабочее место - это зона пространства, оснащена необходимым оборудованием, где происходит трудовая деятельность одного работника или группы работников.

Рациональная планировка рабочего места должна обеспечивать: наилучшее размещение орудий и предметов труда, не допускать общего дискомфорта, уменьшать утомляемость работника, повышать его продуктивность труда. Площадь рабочего места должна быть такой, чтобы работник не делал лишних движений и не чувствовал неудобства во время работы. Важно иметь также возможность изменить рабочую позу, положение корпуса, рук, ног. Однако целесообразно исключить или минимизировать все физиологических неестественные и неудобные положения тела.

Рабочая поза - это основное положение работника в пространстве. Удобная рабочая поза должна обеспечивать устойчивость положения корпуса, ног, рук, головы работника во время работы, минимальные затраты энергии и максимальную результативность работы.

Составитель поездов работает только на открытом воздухе при различных погодных ситуациях. Кроме того, он подвергается воздействию шума от проходящих поездов и маневровых локомотивов. Режим работы - сменный (по 12 часов в ночное и дневное время).

Работа составителя поездов характеризуется неудобной позой (стоя, согнувшись и т.д.), значительными физическими нагрузками, что особенно выражено при выполнении операций по расцепке и сцепке вагонов.

Важное значение в трудовой деятельности составителя поездов имеет нервно - эмоциональное напряжение, напряжение внимания, органов зрения и слуха, что обусловлено высокой опасностью травматизма (нахождение на путях при движущихся локомотивах и вагонах, перемещение по району производства работ на подножке движущегося вагона или локомотива и т.п.), необходимостью приема световых и звуковых сигналов.

Условия их труда требуют непрерывного напряжения внимания, зрительного и слухового анализаторов, что обусловлено постоянным риском и опасностью для жизни, так как, перемещаясь в быстром темпе перед движущимися вагонами, они должны одновременно воспринимать необходимую информацию и реагировать действиями на извещения и указания по громкоговорящей связи, а также сигналы, подаваемые машинистами локомотивов.

4.5 Оптимальные и допустимые значения факторов санитарно гигиенических условий труда

Санитарно-гигиеническая производственная обстановка (СГПО) характеризуется следующими параметрами:

) Метеоусловиями - различные сочетания температур, влажности, скорости движения воздуха;

) чистотой или загрязненностью воздушной среды, то есть наличием вредных веществ в рабочей зоне;

) качеством освещения

) наличием шума и вибрации

Предельно - допустимые значения - это такие значения, которые еще не оказывают вредного воздействия на организм человека.

Гигиена труда - это профилактическая медицина, изучающая условия и характер труда, их влияние на здоровье и функциональное состояние человека и разрабатывающая научные основы и практические меры, направленные на профилактику вредного и опасного воздействия на работников факторов производственной среды и трудового процесса.

Основой защиты работников от негативных производственных факторов является всестороннее изучение условий труда (совокупности факторов трудового процесса и производственной среды, в которых осуществляется трудовая деятельность человека). На основе научных исследований создается нормативная документация, носящая обязательный характер. В нормативах регламентируются безопасные для здоровья человека уровни воздействия факторов среды и трудового процесса (критерии безопасности).

В помещениях с избытками тепла предусматривается регулирование подачи теплоносителя - для соблюдения нормативных параметров микроклимата.

В холодный период года температура воздуха, его подвижность и относительная влажность 22-24°С, 1 м/с и 60-40% соответственно, температура воздуха может колебаться от 21 до 25°С при сохранении остальных параметров микроклимата.

В теплый период года температура воздуха, его подвижность и относительная влажность 23-25°С, 1-2 м/с и 60-40% соответственно; температура воздуха может колебаться от 22 до 26°С при сохранении остальных параметров микроклимата.

Кондиционирование обеспечивает автоматическое поддерживание параметров микроклимата в необходимых пределах в течение года, очистку воздуха от пыли и вредных веществ, создание небольшого избыточного давления в помещениях для исключения поступления неочищенного воздуха. В отдельных помещениях предусматривается возможность индивидуальной регулировки раздачи воздуха (с температурой не ниже 19°С).

Оборудование, аппараты, приборы устанавливаются на специальные амортизирующие прокладки - для снижения шума и вибрации. Уровни звука и эквивалентные уровни звука в помещениях офиса не должны превышать 50 дБА.

Составитель поездов в процессе своей деятельности осуществляет работу в достаточно сложных и вредных условиях, таким образом воздействуют различные недопустимые факторы, данные по оптимальным и допустимым значениям факторов санитарно гигиенических условий труда приведены в таблице 13.

Таблица 13 - Факторы санитарно-гигиенических условий труда

Воздействующий фактор

Фактические значения

Допустимые значение

Метеорологические условия

Влажность 40 -60% Температура 18-22 С

Влажность 40 -70% Температура 15-22 С

Световой климат

4 Люкс

5 Люкс

Воздушная среда

5 Мг/м3

4 Мг/м3

Шум

82 дБА

80 дБА

Вибрация

118 ДБ

116 ДБ

Тяжесть труда

5-7 кг

4-6 кг

Электромагнитное излучение

10 В/м2

10 В/м2



5. Повышение эффективности работы составителя поездов станции «З» Свердловской ж.д.

.1 Разработка системы передачи информации при производстве маневровой работы в зоне негабаритных мест

На железнодорожном транспорте опасными зонами являются железнодорожные пути, места вблизи контактной сети, вблизи работающих грузоподъемных кранов, внутрицехового транспорта и др.

Наименьшее допустимое для безопасного труда расстояние между работником и источником опасности является безопасным. Так, при движении поездов по железной дороге со скоростью до 140 км/ч безопасное расстояние должно быть не менее 2 м от крайнего рельса. Для предотвращения несчастных случаев в опасной зоне и повышения эффективности работы составителя поездов, предложено внедрить в работу, устройство безопасности при работе в зоне «Негабаритного места» и зоне повышенной опасности при работе на путях.

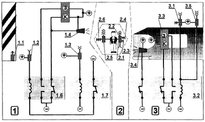
Устройство содержит блок приборов составителя поезда и блок локомотивных приборов контроля. Кроме того, введен дополнительный стационарный блок приборов постоянного негабаритного места, состоящий из связанных между собой радиопередатчика опасной зоны негабаритного места, радиоприемников контроля опасной зоны негабаритного места и зоны оповещения негабаритного места, звукового сигнализатора зоны оповещения негабаритного места, светофора напольного, реле контроля опасной зоны и зоны приближения. Блок приборов составителя поездов включает связанные между собой радиоприемник опасной зоны с кнопкой бдительности, радиопередатчик связи с маневровым локомотивом с кнопкой блокировки движения, дублирующий радиопередатчик связи с маневровым локомотивом. Мобильный блок локомотивных приборов включает поездную радиостанцию, реле контроля локомотивных приборов, дублирующую поездную радиостанцию, тифон звукового сигнала и локомотивный светофор. Устройство позволяет составителю поездов нажатием кнопки блокировки движение маневрового локомотива при возникновении непредвиденных обстоятельств, способных привести к несчастному случаю или случаям, угрожающим безопасности движения. Благодаря этому обеспечивается повышенная безопасность составителя поездов.

Система содержит генератор несущей частоты, передатчик, имеющий блок сигнализации и приемник. Причем передатчик установлен на подвижном составе и содержит модулятор, выполненный из двух последовательно соединенных мультивибраторов и ключевого каскада. Выход модулятора соединен с выходом генератора несущей частоты и подключенный к входу резонансного усилителя в режиме класса В. Усилитель подключен к первому входу развязывающего устройства и выходу передатчика локомотивной радиосвязи. Приемник содержит два последовательно включенных резонансных усилителя, а кроме того, смеситель, усилитель промежуточной частоты, амплитудный детектор, неинвертирующий и инвертирующий усилители низкой частоты, две батареи питания, блок контроля уровня напряжения.

При этом выход второго резонансного усилителя подключен к одному входу смесителя, другой вход которого соединен с выходом гетеродина, а выход к одному из входов усилителя промежуточной частоты, выход последнего соединен с входом амплитудного детектора. Выход амплитудного детектора соединен с другим входом усилителя промежуточной частоты и входом неинвертирующего усилителя низкой частоты, выход последнего соединен с выходом инвертирующего усилителя низкой частоты. Причем блок сигнализации выполнен в виде звукового сигнализатора и имеет пьезоэлектрический преобразователь. К выводам питания резонансных усилителей высокой частоты смесителя и гетеродина подключена первая батарея питания. А к выводам питания инвертирующего и неинвертирующего усилителей низкой частоты подключен источник питания, образованный двумя батареями питания, включенными последовательно и связанными с блоком контроля уровня напряжения.

Предложенная система для оповещения о приближении подвижного состава обеспечивает оповещение работающих на путях, решает проблему обеспечения безопасности составителей поездов.

Устройство содержит три взаимосвязанных блока приборов


стационарный блок приборов постоянного негабаритного места 1;

носимый блок приборов составителя поездов 2;

мобильный блок локомотивных приборов контроля и блокировки движения 3.

Стационарный блок приборов постоянного негабаритного места 1 содержит:

радиопередатчик опасной зоны негабаритного места 1.1;

радиоприемник контроля опасной зоны негабаритного места 1.2;

радиоприемник зоны оповещения негабаритного места 1.3;

звуковой сигнализатор зоны оповещения негабаритного места 1.4;

светофор напольный 1.5;

реле контроля опасной зоны (с одним нормально замкнутым и одним нормально разомкнутым контактами) 1.6;

реле контроля зоны приближения (с одним нормально замкнутым контактом) 1.7.

Приборы блока 1 устанавливаются следующим образом.

Радиопередатчик 1.1, радиоприемник 1.2 и радиоприемник 1.3 устанавливаются непосредственно в зоне негабаритного места.

Носимый блок приборов составителя поездов 2 содержит:

радиоприемник опасной зоны -2.1.

«Зеленая» кнопка бдительности 2.3;

радиопередатчик связи с маневровым локомотивом -2.2

«Красная» кнопка блокировки движения 2.4;

дублирующий радиопередатчик связи с маневровым локомотивом-2.5.

«Желтая» кнопка 2.6, переключающей режимы работы устройства

Блок 2 конструктивно дополняет штатную носимую радиостанцию составителя поездов.

Мобильный блок локомотивных приборов контроля и блокировки движения 3 содержит:

поездную радиостанцию 3.1;

реле контроля локомотивных приборов (с одним нормально разомкнутым и двумя нормально замкнутыми контактами) -3,2

дублирующую поездную радиостанцию - 3.5.

Также к локомотивному блоку приборов условно отнесены штатные приборы локомотива, которые используются устройством для обеспечения безопасности при работе в зоне негабаритных мест, а именно:

локомотивный светофор - 3.3;

тифон, выдающий звуковой сигнал - 3.4;

система торможения локомотива -3.6

Приборы 3.1, 3.2 и 3.5 дополняют штатные приборы локомотива и могут размещаться в любом удобном месте кабины маневрового локомотива так, чтобы не создавать помех и обеспечивать свободный доступ при использовании штатных приборов и оборудования.

Настройка устройства.

Зона приема радиоприемником 1.3 сигнала радиопередатчика 2.3 настраивается исходя из расчета длины участка оповещения I0 (расстояния до составителя поездов от негабаритного места, приблизившись на которое составитель должен получить сигнал оповещения);

Зона приема радиоприемником 2.2 сигнала радиопередатчика 1.1 настраивается исходя из расчета максимально возможной длины участка торможения I* маневрового состава до негабаритного места.

Зона приема радиоприемником 1.2 сигнала радиопередатчика 1.1 не регулируется. В данном случае достаточно установить сам факт работы этого радиоканала.

Зона приема поездной радиостанцией 3.1 сигнала радиопередатчика 2.3 не регулируется, а задается как максимально возможная технически.

Зона приема радиоприемником 2.2 сигнала радиопередатчика 2.1 не регулируется. В данном случае также достаточно установить сам факт работы этого радиоканала.

Работа устройства может осуществляться в четырех режимах:

активной бдительности Р1;

автоматического оповещения составителя и ограждения места работ Р2;

автоматического предупреждения наезда Р3;

ручной блокировки движения маневрового локомотива составителем поездов Р4.

Режим активной бдительности Р1.

В режиме активной бдительности могут одновременно находиться или все, или только некоторые блоки устройства, т.е. блоки 1, 2 и 3, а соответственно, можно рассмотреть и частные случаи этого режима:

Этот режим устанавливается автоматически, когда составитель поездов находится на расстоянии I от постоянного негабаритного места большем, чем линейный размер зоны оповещения I0 (т.е. I>I0), а маневровый электровоз удален еще больше и не может создать опасности наезда.

При этом блок приборов негабаритного места 1 работает следующим образом.

Радиопередатчик 1.1 передает, а радиоприемник контроля опасной зоны воспринимает его сигнал. Этот принимаемый сигнал управляет работой транзистора (на схеме радиоприемника 1.2 не показан), т.е. принимая этот сигнал, транзистор «открывается» и через него подается питание («плюс» источника) на обмотку возбуждения реле контроля опасной зоны 1.6. «Минус» питания обмотки возбуждения реле 1.6 подается через нормально замкнутый контакт реле контроля зоны приближения 1.7. При этом через нормально разомкнутый контакт реле 1.6 подается питание светового (белый или зеленый) сигнала светофора 1.5, разрешающего движение маневрового локомотива. В режиме осуществляется постоянный контроль за работоспособностью блока 1. Так, при любом нарушении работы радиопередатчика 1.1 радиоприемник 1.2, не получая радиосигнала, обесточит реле 1.6, что вызовет переключение светофора 1.5 на запрещающий (красный или синий, в зависимости от используемого светофора) сигнал и подачу звукового сигнала 1.4.

Блок 2 в состоянии активной бдительности предусматривает проверку его работоспособности до начала работы. С этой целью, по согласованию с машинистом маневрового локомотива, составитель поездов включает радиопередатчик 2.1 и, убедившись в работоспособности блока, т.е. в возможности блокировки движения локомотива (подробнее см. в описании режима Р3), включает этот радиопередатчик. Блок 2 и маневровый электровоз переходят в штатные режимы, устройство готово к работе в режиме активной бдительности и осуществляет питание радиопередатчика 2.3, который выдает постоянный радиосигнал и обеспечивает режим.

Сигнал радиопередатчика 2.3 воспринимается поездной радиостанцией и пока поездная радиостанция 3.1 воспринимает этот сигнал, «открыт» транзистор (на схеме не показан), через который осуществляется питание («плюс» источника) обмотки возбуждения реле 3.2, а соответственно, и подается питание на приборы локомотива, разрешающие его движение, в том числе подается питание и на световой сигнал (зеленый) локомотивного светофора 3.3.

В состоянии активной бдительности устройство безопасности осуществляет непрерывный контроль исправности всех элементов, а в случае их неисправности и (или) появления составителя поездов в контролируемой зоне переходит в режим Р2 автоматического оповещения составителя поездов и ограждения негабаритного места или режим Р3 блокировки движения маневрового локомотива.

Режим автоматического оповещения составителя поездов и ограждения места работ Р2.

Этот режим устанавливается автоматически при входе составителя в зону приближения к постоянному негабаритному месту (I<I 0), с этого момента радиоприемник 1.3 воспринимает сигнал радиопередатчика 2.3. С получением радиосигнала 1.3 открывается транзистор (на схеме не показан), через который подается питание («плюс» источника) на обмотку возбуждения реле 1.7. Нормально замкнутый контакт реле 1.7 разомкнется и произойдет потеря питания обмотки возбуждения реле 1.6, а соответственно, и переключение сигнала светофора 1.5 на запрещающий («красный» или «синий», в зависимости от типа установленного светофора), а также подачу ревуном 1.4 звукового сигнала тревоги. Ревун 1.4 оповещает о необходимости особой бдительности при проследовании составителем поездов негабаритного места, а других железнодорожников - о необходимости принять меры безопасности для исключения наезда.

Итак в режиме Р2 составитель поездов оповещается о приближении к опасной зоне негабаритного места, а показания напольного светофора запрещают машинисту маневрового локомотива дальнейшее движение к негабаритному месту, т.е. осуществляется автоматическое ограждение негабаритного места.

Режим автоматического предупреждения наезда Р3.

Этот режим устанавливается автоматически при дальнейшем приближении в составителя поездов к негабаритному месту (I<I *), когда дальнейшее приближение маневрового локомотива может привести к наезду.

Составитель поездов может производить работы в двух режимах:

В первом режиме маневровый локомотив находится в «хвосте» железнодорожного состава (состав движется вагонами вперед) и предусматривается прохождение негабаритного места составителем пешком впереди железнодорожного состава. Этому режиму работы составителя поездов соответствует режим Р3.1 работы данного устройства. Если составитель поездов нажал и удерживает «Зеленую кнопку контроля бдительности» 2.4, то устройство будет продолжать работу в режиме Р2.

Если же, нарушая требования безопасности, составитель поездов не подтвердил нажатием кнопки 2.3 адекватное восприятие оповещения, то при дальнейшем опасном приближении к негабаритному месту радиоприемник 2.1, получив радиосигнал от передатчика 1.1, «открывает» транзистор (на схеме не показан) через который подается питание на реле (на схеме также не показано), которое, в свою очередь, обесточивает радиопередатчик 2.2. Отсутствие питания, а соответственно, и отсутствие радиосигнала передатчика 2.3, соответственно, приведет к тому, что радиоприемник 3.1 не обеспечивает подачу питания обмотки возбуждения реле 3.2. Нормально замкнутые контакты реле 3.2 замкнутся и вызовут срабатывание локомотивной системы экстренного торможения, включение тифона 3.4 и переключение показания локомотивного светофора 3.3 на запрещающий (красный) сигнал.

Если же в соответствии с требованиями правил составитель поездов, восприняв сигналы оповещения, нажал и удерживает в нажатом положении кнопку 2.3, т.е. подтверждает свою повышенную бдительность в зоне негабаритного места, то автоматической блокировки движения локомотива не происходит. Нажатие кнопки 2.3 приводит к потере питания радиоприемником 2.1 и невозможности автоматически прервать подачу радиосигнала передатчика.

Во втором режиме работы составителя поездов маневровый локомотив находится впереди состава, составителю поездов разрешен проезд на этом составе. Этому режиму работы составителя соответствует режим 3.2 работы устройства обеспечения безопасности. Восприняв сигналы, подаваемые в режиме 2, составитель поездов должен нажать фиксируемую в нажатом состоянии «Синюю» кнопку 2.6. Нажатие этой кнопки приводит к включению питания радиопередатчика 2.5 и отключению радиопередатчика 2.2. Отключение радиопередатчика 2.2 приводит к переходу устройства в режим Р1.3. При этом разрешающий сигнал напольного светофора разрешает маневровому локомотиву продолжить движение, а прием локомотивным радиоприемником 3.5 включившегося сигнала радиопередатчика 2.5 позволяет это движение технически, т.к. и в этом случае удерживается под напряжением обмотка возбуждения реле 3.2. Однако и в этом случае составитель поездов должен подтвердить свою повышенную бдительность нажатием и удержанием в нажатом состоянии «Зеленой» кнопки 2.1 (см. режим Р3.1) до момента проезда негабаритного места. В противном случае также произойдет автоматическая блокировка движения маневрового локомотива, т.е. автоматическое предупреждение наезда.

Режим ручной блокировки движения маневрового локомотива составителем поездов Р4.

Дополнительно устройство может обеспечивать безопасность (например, в межвагонном пространстве) самого составителя поездов или других людей, оказавшихся в опасном состоянии и (или) обеспечить безопасность техники, сооружений и т.д. при опасности наезда на них. Для этой цели составителю поездов достаточно нажать «Красную» кнопку 2.4. При этом питание радиопередатчиков 2.2 и 2.5 будет прервано, а отсутствие радиосигналов на поездных радиостанциях 3.1 и 3.5 приведет к блокировке движения маневрового локомотива (см. описание этого процесса в режиме Р3).

Цель достигается тем, что предлагаемое устройство содержит стационарный блок приборов постоянного негабаритного места, в штатный блок приборов составителя поездов включены дополнительные радиопередатчики связи с маневровым локомотивом, пультом управления и кнопкой блокировки движения, а в мобильный блок локомотивных приборов включена система, воспринимающая сигналы этих радиопередатчиков и специальный сигнал, блокирующие движение локомотива.

5.2 Мероприятия по повышению безопасности работы составителя поездов на станции З

Исходя из перечня опасных и вредных производственных факторов, которые воздействуют на составителей поездов, можно предложить следующие мероприятия по повышению безопасности труда. Учитывая, что основной и главной опасностью является сам движущийся подвижной состав, транспортные средства, механизмы, целесообразно сконцентрировать внимание на минимизации контактов составителей поездов с этим фактором. Выполненный анализ современных технических средств обеспечения безопасности труда на станции позволил установить наиболее перспективные направления их развития:

а) Для целей обеспечения безопасности маневровой работы наиболее перспективным является применение устройств радиоуправления с кодовой передачей команд.

б) Воздействие повышенного уровня шума можно снизить с помощью применения СИЗ со встроенной гарнитурой радиосвязи для устойчивой связи с соответствующими службами.

в) Воздействие повышенного уровня вибрации можно снизить с помощью применения виброизолирующих прокладок на различных площадках, используемых составителями поездов.

г) Воздействие повышенного уровня запыленности и загазованности воздуха рабочей зоны снижается за счет применения СИЗ.

С внедрением системы обеспечения безопасности при работе в негабаритных зонах, будет достигнуто:

а) уровень безопасности при производстве маневровой работы является максимальным;

б) функциональные возможности всех составляющих комплекса расширены;

в) управление системой происходит централизованно и т.п.

Устройство безопасности составителя поездов, содержащее блок приборов составителя поезда и мобильный блок локомотивных приборов контроля, отличающееся тем, что включен дополнительный стационарный блок приборов постоянного негабаритного места, состоящий из связанных между собой радиопередатчика опасной зоны негабаритного места, радиоприемников контроля опасной зоны негабаритного места и зоны оповещения негабаритного места, звукового сигнализатора зоны оповещения негабаритного места, светофора напольного, реле контроля опасной зоны и зоны приближения, при этом блок приборов составителя поездов включает связанные между собой радиоприемник опасной зоны с кнопкой бдительности, радиопередатчик связи с маневровым локомотивом с кнопкой блокировки движения, дублирующий радиопередатчик связи с маневровым локомотивом, а мобильный блок локомотивных приборов включает поездную радиостанцию, реле контроля локомотивных приборов, дублирующую поездную радиостанцию, тифон звукового сигнала и локомотивный светофор. Устройство, отличающееся тем, что радиопередатчик опасной зоны негабаритного места, радиоприемник контроля опасной зоны негабаритного места и радиоприемник зоны оповещения негабаритного места установлены непосредственно в зоне негабаритного места.

5.3 Расчет затрат на внедрение мероприятий по повышению эффективности работы составителя поездов

На этапе технико-экономического обоснования в число рассматриваемых должны включаться все возможные варианты, обеспечивающие реализацию поставленной задачи в полном объеме и отвечающие заданным ограничениям: экологическим требованиям, социальным стандартом и т.д.

По каждому из рассматриваемых вариантов определяются необходимые затраты, ожидаемые результаты и экономический эффект. Лучшим признается вариант, у которого величина экономического эффекта максимальна. В случае выявления нескольких вариантов с одинаковой величиной эффекта предпочтение должно быть отдано варианту, требующему меньших затрат на достижение этого эффекта.

Экономический эффект от внедрения новых устройств безопасности движения определяется по формуле: Годовой экономический эффект от реализации инноваций определяется по формуле

 (1)

Эт - годовой экономический эффект от реализации инноваций, руб.;

РТ - стоимостная оценка результатов от реализации инновационных мероприятий, руб.;

ЗТ - суммарные годовые затраты на внедрение инноваций, руб.;

 - количество выполняемых работ, в результате которых получена экономия;

ат - коэффициент приведения (дисконтирования) разновременных затрат и результатов к одному моменту времени - определяется по формуле

 (2)

 - норматив приведения разновременных затрат и результатов, численно равный коэффициенту эффективности капитальных вложений

(= 0,1); t - количество лет, отделяющих затраты и результаты данного года от расчетного года.

Коэффициентам приведения (at) по годам будут соответствовать следующие значения:= (1+0,13) 1-3=0,433 - 2014 г.= (1+0,13) 1-4=0,285 - 2015 г.

В качестве расчетного года принимается наиболее ранний из всех рассматриваемых вариантов инноваций календарный год, предшествующий началу выпуска продукции (организации перевозок и т.п.) или использованию новой технологии, новых методов организации труда или управления.

Если затраты осуществляются до начала расчетного года, их умножают на коэффициент приведения , а если после расчетного года - делят на него.

 определяется по формуле

 (3)

где:

 - стоимостная оценка основных результатов от реализации инноваций в году t;

 - стоимостная оценка сопутствующих результатов от реализации инноваций в году t;

 - начальный год расчетного периода;

 - конечный год расчетного периода;  - коэффициент приведения к расчетному году.

В качестве начального года расчетного периода принимается год начала финансирования по осуществлению инноваций, включая проведение научных исследований.

Конечный год расчетного периода определяется моментом завершения жизненного цикла инновации, включающего в себя разработку, освоение, серийное производство, а также использование результатов реализации инноваций на предприятиях железнодорожного транспорта, или плановыми (нормативными) сроками обновления продукции по условиям ее производства и применения, или сроками службы средств труда с учетом морального старения.

Стоимостная оценка сопутствующих результатов включает в себя дополнительные экономические результаты, получаемые в других отраслях народного хозяйства, а также экономические оценки социальных и экологических последствий реализации инноваций на железнодорожном транспорте.

Стоимостная оценка затрат на реализацию инноваций за расчетный период определяется по формуле

 (4)

 - стоимостная оценка затрат при производстве продукции, услуг за расчетный период;

 - стоимостная оценка затрат при использовании продукции, услуг (без учета затрат на их приобретение) за расчетный период.

Затраты при производстве (использовании) продукции рассчитываются единообразно

 (5)

 - текущие издержки при производстве (использовании) продукции в году t (без учета амортизации на реновацию);

 - единовременные затраты при производстве (использовании) продукции в году t;

 - остаточная стоимость (ликвидное сальдо) основных фондов, выбывающих в году t;

 - коэффициент приведения к расчетному году.

Экономическая эффективность от реализации мероприятий (в расчете за год) определяется по формуле

 (6)

 - показатель экономической эффективности инноваций;

 - годовой экономический эффект от реализации инноваций, руб.;

 - суммарные годовые затраты, связанные с внедрением инноваций, руб.

Срок окупаемости инвестиций, вложенных в реализацию инноваций, рассчитывается по формуле

 (7)

где:  - срок окупаемости инвестиций, год;  - инвестиции в реализацию инноваций, руб.;  - прибыль годовая от реализации инноваций, руб.

Таблица 14 - Вспомогательная таблица для расчета IRR

Показатели

2014 год

2015 год

ЧДП

5123,42

6298,03

Коэффициент дисконтирования (r=50%)

0,29

0,19

Чистая текущая дисконт. стоимость

1460,17

1177,73

Чистая текущая дисконт. cтоимость нарастающим итогом

-5400,77

-4223,04

ЧДП

5123,42

6298,03

Коэффициент дисконтирования (r=50%)

0,29

0,19


 (8)

Так как 24,24% > 20%, то проект эффективен.=>1, (9)

Следовательно, проект эффективен.

 (10)

Период окупаемости проекта:

Ток = 4,77 - 1 = 3,77 года

Эт=-10575,52+2444,19+2831,54+2971,58+3023,05=694,85

Таким образом, на основе рассчитанных показателей можно сделать вывод, что продукт в целом эффективен и принесет предприятию доход в размере 694,85 тыс. руб.

Произведя необходимые расчеты можно констатировать, что внедрение данного проекта в деятельность исследуемого предприятия является эффективным.

В данном разделе представлены мероприятия, направленные на повышение эффективности работы составителя поездов:

Разработан способ передачи информации об опасной зоне в процессе производства маневровой работы

Установлен основной источник передачи информации

Сформирован принцип работы системы передачи информации

Срок окупаемости проекта 1 год - экономия в финансовом соотношении составляет 694, 85 тыс. руб.

Заключение

В соответствии с заданием в данном дипломном проекте рассматривались вопросы повышения эффективности работы составителя поездов, в современных условиях

Проведённое дипломное исследование позволило сформулировать следующие выводы:

а) Организация маневровой работы на грузовой станции в сложных условиях, является постоянной:

б) «Негабаритные места» в связи с повышением грузооборота на станции, являются препятствием при производстве маневровой работы:

в) Техническая характеристика работы станции, позволяет допиться результата, для максимального снижения риска нарушения безопасности при работе составителя поездов в зоне опасности при возникновении нестандартных ситуаций

Таким образом, для повышения эффективности работы составителя поездов:

а) разработана система передачи информации при производстве маневровой работы в зоне негабаритных мест.

б) предложено включение в радиоканал датчика распознавания негабаритных мест

в) разработаны мероприятий по повышению эффективности работы составителя поездов.

г) проработаны вопросы организации рабочего места составителя поездов с учётом требований охраны труда.

Мной сделаны выводы, что от правильной и безопасной организации маневровой работы на станции зависит многое. В том числе, своевременная подача вагонов клиенту ОАО «РЖД», уменьшение простоя вагонов - что является основной задачей. А применение в работе устройства безопасности - обеспечит своевременную и безаварийную работу станции З.

Список используемых источников

1 Нормирование маневровых работ, выполняемых на ж.д.т: методические указания по выполнению курсовых и дипломных проектов для студентов специальностей «Управление процессами перевозок» и «Экономика и управление на транспорте» / П.Р. Перевалов [и др.] - Екатеринбург, 2006. С. 76.

Правила технической эксплуатации метрополитенов РФ: Издательский центр ТА Инжиниринг., 2003. С. 128.

Организация движения поездов и работа станций / сост. А, С Бакулин, В.А Пронин, Е.А Федоров, К.И Кудринская -1981. С. 230.

Распоряжение ОАО «РЖД». Об утверждении инструкции по охране труда для составителя поездов. 2705 М-17.11.15 - 39 с

ГОСТ 12.1.003-83 ССБТ. Шум. Общие требования безопасности.

ГОСТ 12.2.033-78. ССБТ. Рабочее место при выполнении работ стоя. Общие эргономические требования (3.1.22., 4.14.).

ГОСТ 12.2.061-81. ССБТ. Оборудование производственное. Общие требования безопасности к рабочим местам.

СанПиН 2.2.4.548-96: Гигиенические требования к микроклимату производственных помещений // М. - 1996. С. 14.

ГОСТ 12.1.005-88. Общие санитарно-технические требования к воздуху рабочей зоны. - Взамен ГОСТ 12.1.005. - 76; введ. 1989-01-01. - М., 1996. - 88 с.

СТП ОмГУПС-1.1-02. Работы студенческие учебные и выпускные квалификационные. Основные положения / Омский гос. ун-т путей сообщения. Омск, 2002.С. 13.

СТП ОмГУПС-1.2-2005. Работы студенческие учебные и выпускные квалификационные. Общие требования и правила оформления текстовых доку-ментов / Омский гос. ун-т путей сообщения. Омск, 2005. С. 29.

Филатов И.Н. Планирование и организация перевозочного процесса на полигоне дороги / И.Н. Филатов, В.Н. Зубков, Н.Н. Мусиенко // Ж.-д. трансп. - 2008. №9. С. 24-30.

Сотников Е.А. Эксплуатационная работа на железных дорогах мира / Е.А. Сотников, И.Н. Шапкин // Ж.-д. трансп. 2009. №1. С. 72-77.

14 Техническо-распорядительный акт станции З

15 Технологический процесс работы З

Похожие работы на - Повышение эффективности работы составителей поездов ст. З Свердловской железной дороги

 

Не нашли материал для своей работы?
Поможем написать уникальную работу
Без плагиата!
Без нейросетей!