Розроблення модуля для проведення вікторини на базі мобільних технологій

  • Вид работы:
    Дипломная (ВКР)
  • Предмет:
    Информационное обеспечение, программирование
  • Язык:
    Украинский
    ,
    Формат файла:
    MS Word
    550 Кб
  • Опубликовано:
    2015-07-01
Вы можете узнать стоимость помощи в написании студенческой работы.
Помощь в написании работы, которую точно примут!

Розроблення модуля для проведення вікторини на базі мобільних технологій

Вступ

управління програмний тестування

Віки та епохи люди ламали голови над таємницями становлення особистості. Сьогодні головною метою є формування і розвиток високоінтелектуальної, свідомої особистості з громадською позицією, готової до конкурентного вибору свого місця в житті. Пріоритетним є всебічний та гармонійний розвиток особистості, яка здатна до саморозвитку, самовиховання і самореалізації, у своїй діяльності. Одним із засобів для саморозвитку можна використовувати вікторину яка ідеально підходить для цієї справи.

Вікторина - вид гри, що полягає у відповідях на усні чи письмові запитання з різних галузей знань. Її можна використовувати як у вільний час для розваги так і у навчальному процесі.

Вікторини в основному відрізняються правилами, що визначають тип і складність питання, а також винагороду за правильну відповідь. Існують різні види вікторин із заздалегідь підготовленими питаннями. Дуже часто на ринку вікторин одночасно представлено кілька версій однієї і тієї ж гри, що розрізняються набором (часто рівнем складності) питань. Зустрічаються також додаткові набори питань, що продаються окремо від гри.

Готуючи вікторину, потрібно дозволити користувачам вибирати тему, яка їх цікавить, і форму проведення вікторини. Щоб вікторина допомогла отримати ефективний результат, щоб вона могла стати цілісним доповненням у системі саморозвитку користувача.

Об’єктом розробки в роботі є процес проведення вікторини за участю одного користувача й винесення результатів.

Предмет розробки - засоби сучасних інформаційних технологій в процесі розробки модуля вікторини в одно-користувальницькому режимі.

Мета - розробка модуля вікторини в одно-користувальницькому режимі, який дає можливість грати у різні типи вікторин на різноманітну тематику, яку можна вибрати перед грою та за рахунок цього інтелектуально самовдосконалюватися.

Під час проектування були використані наступні засоби: MS Visual Studio 2013, Erwin 7, Rational Rose, Pasre.com.

Результати, отримані у дипломному проекті, можуть бути використані як і у навчальному процесі так і в якості розваги.

1. Аналіз предметної області «Розроблення модуля для проведення вікторини на базі мобільних технологій. Створення модуля вікторини в одно-користувацькому режимі»

Вікторина - це гра на основі запитань і відповідей. Проведення вікторини на будь-якій події може оживити і урізноманітнити вечір. Важливо творчо підійти до створення такої гри.

1.1 Коротка характеристика об’єктів управління «Nix Solutions»


Компанія NIX Solutions була заснована в 1994 році і в наш час є однією з найбільших компаній IT-аутсорсингу в Україні з великою кількістю виконаних проектів за плечима. За організаційно-правовою формою це товариство з обмеженою відповідальністю.

Персонал компанії на даний момент найрізноманітніший. В компанії працює багато молодих людей віком близько 25 років зі середнім стажем 6 років. Багато робітників - випускники вузів чи студенти. Персонал висококваліфікований, кожний працівник фахівець у своїй області.

Компанія «Nix Solutions» займається створенням простих у використанні інструментів для ефективного управління бізнесом на основі програмних продуктів. Проекти виконують на багатьох платформах розробки, а саме PHP,.NET, Java, C ++, Flash, CMS, iPhone / Android. У своїй практиці активно застосовують закордонний досвід та останні інноваційні тенденції й ідеї в області програмування.

Основна мета, яка була визначена перед підприємством, - це впровадження в Україні останніх розробок, а також розвиток потужної школи виробничої підготовки для роботи на різних платформах.

На даний момент підприємство має сформовану клієнтську базу в Україні та декілька вдалих проектів, впроваджених у закордонних підприємствах.

Розуміння бізнес-процесів з середини дозволяє запропоновувати клієнтам оптимальні вирішення проблем, що робить проекти максимально адаптованими к потребам клієнта. Розроблені інструменти враховують усі тонкості бізнесу та зорієнтовані на вирішення конкретних задач. Знання нових технології допомагає створювати складні багатофункціональні проекти, що легко масштабуються.

Функціонування компанії як єдине ціле забезпечує якісна комунікація між усіма учасниками розробки. Кожен співробітник має можливість створити свою ідею, проголосувати та прокоментувати ідеї інших. Такі системи стимулюють людей цілої організації обмінюватися ідеями та знахідками, що в свою чергу виховує культуру новаторства у колективі, підтримує корпоративний настрій та полегшує вирішення деяких задач. Крім того, такі системи дозволяють прискорити процес опитування співробітників, скоротити час на заповнення різних анкет. Обговорення ідеї допомагає виявити унікальність та самодостатність кожного співробітника, реалізувати потенціал кожного.

Організаційна структура «Nix Solutions» наведена на рис. 1.1.

У відділі розробки та програмування.Net була поставлена задача щодо розробки модуля для проведення вікторини на базі мобільних технологій.

При розробці програмних продуктів широко застосовуються різноманітні технології компанії Microsoft. Також проводиться юніт - тестування для запобігання помилок у проектах.

Відділ розробки та програмування охоплює група високоваліфікованих спеціалістів, працюючих у різних галузях та з різними програмними інструментами й інформаційними технологіями. Постійно вдосконалюючись, обмінюючись знаннями, відділ досяг успіху за короткий строк. Професійний досвід і масштаби відділу й всієї компанії охоплюють широкий спектр завдань.

Даний відділ використовує такі мови програмування, як:

)         C #;

)         VB.NET;

3)       Javascript.

Найпопулярніші технології при розробці програмних продуктів:

1)       ASP.NET;

)         WinForms;

)         WPF;

)         Windows Phone Windows 8;

)         Xamarin;

)         Unity3D;

)         Windows Azure.

Рис. 1.1 Організаційна структура підприємства «Nix Solutions»

Схема організаційної структури відділу розробки та програмування.Net наведена на рис. 1.2

Рис.1.2. Організаційна схема відділу розробки та програмування.Net

1.2 Опис предметної області


В наш час існує чимало функціональних задач, які виконуються користувачами вікторин. На мою думку виділяють наступні функції:

ведення обліку списку тем;

ведення обліку видів вікторини;

аналіз відповідей на питання та відображення результатів таблиці рекордів.

Ці функції можуть бути впроваджені у програмний продукт, що буде надавати зручний та інтуїтивний інтерфейс, а також швидкий та зручний вибір даних.

Досягнення поставленої мети здійснюється впровадженням рішення наступних задач:

використання Windows Phone;

використання сайту Parse.com.

Головною метою та бізнес процесом додатку є створення вікторини в одно-користувальницькому режимі.

Контекстна діаграма цього бізнес процесу у стандарті IDEF0, наведена на рис. 1.1 Опис контекстної діаграми наведений у табл. 1.1.

Таблиця 1.1. Характеристика бізнес процесу «Проведення одно-користувальницького режиму»

Назва характеристики

Значення

Ім'я бізнес-процесу

Проведення одно-користувальницького режиму

Основні учасники

Користувач

Вхідна подія

Запит на вибір питань вікторини; запит на вибір теми вікторини; відповіді на питання вікторини; запит на вибір типу вікторини

Вихідна подія

Результати проведення вікторини

Вихідні документи

Результати проведення вікторини користувачів



Рис. 1.3. Контекстна діаграма бізнес-процесу «Проведення одно- користувальницького режиму»

Внаслідок декомпозиції контекстної діаграми були виділені наступні роботи:

1.  Формування вікторини;

2.       Аналіз результатів відповідей;

Діаграма першого рівня декомпозиції наведена на рис. 1.3, а її опис наведений а табл.1.2-1.3.

Рис 1.4. Перший рівень декомпозиції бізнес-процесу «Проведення одно- користувальницького режиму»

Таблиця 1.2. Характеристика бізнес-процесу «Формування вікторини»

Назва характеристики

Значення

Ім'я бізнес-процесу

Створення вікторини

Основні учасники

Користувач

Вхідна подія

Запит на вибір теми вікторини; запит на вибір питань вікторини; запит на вибір типу вікторини

Вихідна подія

Вибранні питання вікторини


Таблиця 1.3. Характеристика бізнес-процесу «Обробка відповідей»

Назва характеристикиЗначення


Ім'я бізнес-процесу

Обробка відповідей вікторини

Основні учасники

Користувач

Вхідна подія

Вибрані питання вікторини; відповіді на питання вікторини

Вихідна подія

Результат проведення вікторини

Внаслідок декомпозиції бізнес-процесу «Створення вікторини» були виділені наступні роботи:

1.  вибір режиму вікторини;

2.       вибір теми вікторини;

.         формування питань вікторини.

Діаграма декомпозиції бізнес-процесу «Формування звіту по списку тем» наведена на рис. 1.5, а її опис наведений у таблиці 1.4-1.6.

Рис. 1.5. Декомпозиція бізнес-процесу «Формування вікторини»

Таблиця 1.4. Характеристика бізнес-процесу «Вибір режиму вікторини»

Назва характеристики

Значення

Ім'я бізнес-процесу

Вибір типу вікторини

Основні учасники

Користувач

Вхідна подія

Запит на вибір режиму вікторини

Вихідна подія

тип вікторини


Таблиця 1.5. Характеристика бізнес-процесу «Вибір теми вікторини»

Назва характеристикиЗначення


Ім'я бізнес-процесу

Вибір теми вікторини

Основні учасники

Користувач

Вхідна подія

Тип вікторини

Вихідна подія

Тема вікторини


Таблиця 1.6. Характеристика бізнес-процесу «Формування питань вікторини»

Назва характеристики

Значення

Ім'я бізнес-процесу

Формування питань вікторини

Основні учасники

Користувач

Вхідна подія

Тема вікторини

Вихідна подія

Вибранні питання вікторини


Внаслідок декомпозиції бізнес-процесу «Обробка відповідей» були виділені наступні роботи:

1.  надання відповідей на запитання;

2.       обробка відповідей;

3.       формування результатів

Діаграма декомпозиції бізнес-процесу «Аналіз результатів вікторини» наведена на рис. 1.6 а її опис наведений у табл.1.7-1.9.

Рис. 1.6. Декомпозиція бізнес-процесу «Звіт по рівням складності вікторини»

Таблиця 1.7. Характеристика бізнес-процесу «Надання відповідей на запитання»

Назва характеристикиЗначення


Ім'я бізнес-процесу

Надання відповідей на запитання

Основні учасники

Користувач

Вхідна подія

Вибрані питання вікторини

Вихідна подія

Надані відповіді


Таблиця 1.8. Характеристика бізнес-процесу «Обробка відповідей»

Назва характеристикиЗначення


Ім'я бізнес-процесу

Обробка відповідей

Основні учасники

Користувач

Вхідна подія

Надані відповіді; відповіді на питання вікторини

Вихідна подія

Результат правильності відповідей користувачами


Таблиця 1.9. Характеристика бізнес-процесу «Формування результатів»

Назва характеристикиЗначення


Ім'я бізнес-процесу

Формування результатів

Основні учасники

Користувач

Вхідна подія

Результат правильності відповідей користувачами

Вихідна подія

Результаті проведення вікторини


1.3 Аналіз існуючих програмних продуктів


Вікторина це гра в відповіді на питання, в яку грають люди різного віку, зазвичай питання об'єднані спільною темою.

Вікторини бувають різного типу, наприклад:

1.  може надаватися декілька варіантів відповіді з яких користувач повинен найти правильну;

2.       користувач повинен сам сформулювати відповідь;

.         гра може проходити по накопичувальній системи або на "виліт";

.         можна грати одно-користувальницький чи багато-користувальницький режим.

В наш час існує дуже багато додатків вікторини. Ми розглянемо таки як "Animal Quiz" та "Загадки ДаВинчи".

Вікторина "Animal Quiz" булла розроблена компанією "AppsPlay Company".

Нова гра "Animal Quiz" - це гра-вікторина для тих, хто любить c користю проводити час, розширювати кордони cвоїх знань, проявляти ерудицію. Не має абсолютно ніяких вікових обмежень - буде інтересна як дорослим, так і їх дітям. Це мила логічного гра, героями якої є тварини. У нашому світі їх існує найбільше безліч - наземних, підводних і любителів повітряного простору, і тепер належить впізнавати їх по фотографіях.

Інерфейс програмного продукту представлений на рис. 1.3-1.4.

Рис 1.3. Інтерфейс програмного продукту "Animal Quiz"

Рис 1.4. Вигляд програмного продукту "Animal Quiz” під час гри

Вікторина "Загадки ДаВинчи" булла розроблена компанією "Planemo Studio".

Гра "Загадки ДаВинчи: Вікторина" складається з двох повноцінних режимів. Перший режим, відомий багатьом, "Класика", включає в себе більше 500 загадок в 20 різних категоріях.

Спочатку відкрито по одній загадці в кожній категорії. Кожна з відгадати загадок відкриває кілька наступних. Складність загадок збільшується в міру просування в категорії. Якщо ж вам вдалося вирішити цілу категорію загадок, то вас чекає винагорода у вигляді невеликої кількості очок знань, які можна витрачати на різні бонуси.

Новий режим називається "Вікторина", в якому ви можете перевірити свою ерудицію, вибираючи з 4-х варіантів відповіді, вирішуючи математичні приклади, знаходячи помилки в правописі слів, відгадуючи фольклорні загадки, перевіряючи свої знання правил дорожнього руху (ПДР), прапори країн.

Інерфейс програмного продукту представлений на рис. 1.5-1.6.

Рис 1.5. Інтерфейс програмного продукту "Загадки ДаВинчи"

Рис 1.6. Вигляд програмного продукту "Загадки ДаВинчи" під час гри

Порівняльна характеристика програмних продуктів наведена у таблю 1.10

Таблиця 1.10. Порівняльна характеристика вікторин

Модуль Характеристика

"Animal Quiz"

"Загадки ДаВинчи"

Питання зберігаються на хмарі.

-

+

Форма відправки власних питань.

-

+

Можливість авторизації через соціальні мережі

-

+

Можливість повідомити про помилку

+

+

Отримання безкоштовних бонусів

+

-

Перегляд таблиці рекордів

-

-

Багатокористувальницький режим

-

+

Вибір складності вікторини

+

-

Можливість заміни питання

-

-

Можливість вибору виду вікторини

-

+

Можливість вибору теми вікторини

-

+


Як видно з табл. 1.10. на даний момент не знайдено програмних продуктів, здатних реалізувати багато функцій в одному додатку. Існують тільки програмні продукти, які окремо задовольняють усі потреби. Програмні продукти, що перераховуються вище, підтримують невелику кількість характеристик, багато функцій вилучено. Наприклад, вікторина "Animal Quiz" не оснащена формою відправки власних питань, не підтримує авторизацію через соціальні мережі, не можна переглянути таблицю рекордів та багатокористувальницький режим. Натомість вікторини "Загадки ДаВинчи" не оснащена формою вибору складності питань та отриманням безкоштовних бонусів.

У наш час багато мобільних телефонів оснащені слабким апаратним забезпеченням і зайва яскравість ускладнить роботу мобільному пристрою. Тому пропонується розробити програмний продукт, який повністю задовольняє вимоги користувача, а саме підтримку описаних вище функцій: збереження питань на хмарі, наявність форми відправки власних питань, можливість авторизації через соціальні мережі, заміни питання, вибору виду вікторини, можливість повідомити про помилку, отримання безкоштовних бонусів, перегляд таблиці рекордів, багатокористувальницький режим, вибір складності вікторини.

Даний продукт буде розроблятися у вигляді мобільного додатку. Переваги мобільних додатків полягають у тому, що кожна людина зараз користується мобільним телефоном, і у більшості з них є смартфони. Володарі смартфонів зможуть отримати доступ до вікторини. Також в наш час безкоштовні точки доступу Wi-Fi всюди, тобто те, що додаток буде вимагати постійний доступ в інтернет також проблем не викличе.

Даний функціонал повинен повністю задовольнити потреби користувача. Ми обрали вікторину, відповіді і питання до якої зберігаються на хмарі, тому що кількість питань може рости з часом, вони можуть займати багато місця. Але якщо вони будуть довантажуватися на смартфон з інтернету, то для оновлення бази даних питань не потрібно оновлення додатка, а також вікторина не займатиме багато користувальницького місця.

2. Специфікація вимог до модуля «Розроблення модуля для проведення вікторини на базі мобільних технологій. Створення модуля вікторини в одно-користувацькому режимі»

Для того, щоб розроблювати модуль «Проведення вікторини в одно-користувальницькому режимі» необхідно розробити специфікацію вимог, а саме глосарій проекту та діаграму варіантів використання.

2.1 Глосарій


Глосарій проекту - словник до тексту, що пояснює маловідомі або застарілі слова, що досліджується чи описується з тлумаченням, іноді перекладом на іншу мову, коментарями і прикладами.

Глосарій наведено у табл. 2.1.

Таблиця 2.1. Глосарій проекту

Термін

Опис терміну

1. Основні поняття та категорії предметної області та проекту

Автоматизована система

Організаційно-технічна система, що реалізує інформаційну технологію й об'єднує засоби обчислювальної техніки й зв'язку, методи й процедури, програмне забезпечення, фізичне середовище, персонал і інформацію, яка обробляється.

Вікторина

Особливий вид гри, який полягає в процесі вгадування правильних відповідей на усні чи письмові запитання з різних галузей знання.

Одно-користувальницький режим

Режим який розрахованій лише на одного користувача.

2. Користувачі системи

Користувач

Суб'єкт, який буде користуватися даним програмним продуктом.

3. Вхідні та вихідні документи

Статистика по грі

Сукупність числових показників, що характеризують результати ігор між певними командами та їх досягнення.

Таблиця рекордів

Зведена дошка результатів проходження гри.

Звіт

Письмове повідомлення про виконання певної роботи.

Методичні рекомендації

Методичне видання, що містить комплекс коротких і чітко сформульованих пропозицій і вказівок, які сприяють впровадженню в практику найбільш ефективних методів і форм навчання і виховання.


2.2 Розроблення варіантів використання


Для розробки варіантів використання необхідно побудувати діаграму варіантів використання розроблюваного модулю. Діаграми варіантів використання описує функціональне призначення системи або, іншими словами, те, що система буде робити в процесі свого функціонування. Діаграма варіантів використання є вихідним концептуальним поданням чи концептуальною моделлю системи в процесі її розробки і впровадження.

Суть даної діаграми полягає в наступному: проектована система представляється у вигляді безлічі сутностей або акторів, які взаємодіють з системою за допомогою, так званих варіантів використання. При цьому актором (actor) або дійовою особою називається будь-яка сутність, що взаємодіє з системою ззовні. Це може бути людина, технічний пристрій, програма або будь-яка інша система, яка може служити джерелом впливу на модельовану систему так, як визначить сам розробник. У свою чергу, варіант використання (use case) служить для опису сервісів, які система надає акторові. Іншими словами, кожен варіант використання визначає певний набір дій, який чинять системою при діалозі з актором. При цьому нічого не говориться про те, яким чином буде реалізовано взаємодія акторів із системою.

Діаграма варіантів використання.

Діаграма варіантів використання комплексу завдань «Створення модуля вікторини в одно-користувальницькому режимі» (рис. 2.1) призначена для графічного зображення основних функцій розроблюваного додатку та виявлення зв’язків та послідовностей варіантів використання.

У ході проектування діаграми використання були виявлені наступні основні варіанти використання:

1. Вибір одно-користувальницького режиму. Користувач вибирає режим для одного гравця.

2.       Вибір типу вікторини. Користувач вибирає тип вікторини.

.         Вибір теми вікторини. Користувач може вибрати одну тему або всі з яких буде вибрано питання для вікторини.

.         Перегляд правил гри. Користувач може подивитися правила гри по кожному з режиму.

5.       Авторизація користувача. Користувач авторизується у системі для того щоб при збереженні результату у таблиці рекордів було його ім’я.

Рис. 2.1. Діаграма варіантів використання комплексу завдань «Створення модуля вікторини в одно-користувальницькому режимі»

 

Специфікація варіантів використання.

В даному підрозділі описуються варіанти використання зображені на рис. 2.1. В табл. 2.2 - табл. 2.5 описані основні варіанти використання. Нижче представлені такі варіанти використання як: авторизація в системі, реєстрація в системі,вибір теми вікторини, вибір одно користувальницького режиму, режим вибору відповіді, режим введення відповіді вручну. Ці варіанти використання забезпечують основну функціональність розроблюваного додатку.

Таблиця 2.2. Варіант використання «Авторизація користувача»

Характеристика

Значення

Контекст використання

UC-01 Авторизація користувача

Дійові особи

Користувач

Передумова

1. Особа користувача зареєстрована

Тригер

Користувач бажає зареєструватися

Сценарій

1. Зайти у додаток 2. Ввести логін та пароль

Постумова

Якщо варіант використання виконався успішно, то користувач увійде у головне меню. Інакше з’явиться повідомлення що логін або пароль невірні та можна буде спробувати знову.


Таблиця 2.3. Варіант використання «Вибір теми вікторини»

Характеристика

Значення

Контекст використання

UC-02 Вибір теми вікторини

Дійові особи

Користувач

Передумова

1. Особа користувача авторизована.

Тригер

Користувач хоче вибрати тему вікторини

Сценарій

1. Перейти на головне вікно програми. 2. Обрати необхідну тему вікторини.

Постумова

Якщо варіант використання виконався успішно, то буде вибрана тема вікторини. Інакше стан системи не зміниться.


Таблиця 2.4. Варіант використання «Вибір одно-користувальницького режиму»

Характеристика

Значення

Контекст використання

UC-03 Вибір одно-користувальницького режиму

Дійові особи

Користувач

Передумова

1. Особа користувача авторизована. 2. Повинне бути підключення до Інтернету.

Тригер

Користувач хоче вибрати одно-користувальницький режим

Сценарій

1. Перейти на головне вікно програми. 2. Обрати одно-користувальницький режим гри.

Постумова

Якщо варіант використання виконався успішно, то користувач зможе грати у вікторину. Інакше до додатку не будуть завантажені питання вікторини і користувач не зможе бачити питання та варіанті відповідей.


Таблиця 2.5. Варіант використання «Перегляд правил гри»

Характеристика

Значення

Контекст використання

UC-04 Перегляд правил гри

Дійові особи

Користувач

Передумова

Особа користувача авторизована.

Тригер

Користувач бажає переглянути правила гри

Сценарій

1. Перейти на головне вікно програми. 2. Обрати перегляд правил гри.

Постумова

Якщо варіант використання виконався успішно, то буде можливість перегляду правил гри. Інакше стан системи не зміниться.


Розкадровка варіантів використання.

Розкадровка - це логічний і концептуальний опис функціональних можливостей системи для певного сценарію, який включає необхідну взаємодію між системою та її користувачами. За результатами розкадрування повинні бути сформульовані вимоги, які підлягають узгодженню з зацікавленими особами.

В даній роботі розкадровка зроблена за допомогою програмного продукту Microsoft Visual Studio та емулятору Windows Phone 8.1.

Розкадровка варіанту використання «Авторизація користувача», на якій містяться поля для вводу логіна й пароля, наведена на рис.2.2.

Рис. 2.2. Розкадровка варіанту використання «Авторизація користувача»

Розкадровка варіанту використання «Вибір теми вікторини» наведена на рис. 2.3

Рис. 2.3. Розкадровка варіанту використання «Вибір теми вікторини»

Розкадровка варіанту використання «Вибір одно-користувальницького режиму» наведена на рис. 2.4

Рис. 2.4. Розкадровка варіанту використання «Вибір одно-користувальницького режиму»

 

2.3 Специфікація функціональних та не функціональних вимог


Функціональні вимоги пояснюють, що повинно бути зроблено. Не функціональні вимоги визначають системні властивості такі як продуктивність, зручність супроводу, розширюваність, надійність.

Функціональні вимоги.

Список та опис усіх функціональних вимог розроблюваної системи і атрибутів вимог наведено у табл. 2.6.

Таблиця 2.6. Специфікація функціональних вимог

Ідентифікатор вимоги

Назва вимоги (варіанту використання)

Атрибути вимог



Пріоритет

Трудність

FR-UC-01

Авторизація користувача

Обов.

Висока

Розробник

FR-UC-02

Вибір теми вікторини

Обов.

Низька

Розробник

FR-UC-03

Вибір однокористувальницького режиму

Обов.

Середня

Розробник

FR-UC-04

Перегляд правил гри

Реком.

Низька

Розробник

FR-UC-05

Регістрація користувача

Обов.

Висока

Розробник

FR-UC-06

Вибір режиму вибору відповіді

Реком.

Середня

Розробник

FR-UC-7

Вибір режиму вводу відповіді

Реком.

Низька

Розробник


Не функціональні вимоги.

До не функціональних вимог відносяться всі вимоги, які не стосуються функціональності проекту. Детальний опис не функціональних вимог наведено у табл. 2.7.

Таблиця 2.7. Специфікація не функціональних вимог

Ідентифікатор вимоги

Назва вимоги(варіанту використання)

Атрибути вимог



Пріоритет

Трудність

Контакт

1.Застосовність

АR-01

Час, необхідний для навчання користувачів - 10-20 хвилин.

Обов.

Висока

Розробник

АR-02

Час відгуку для типових завдань - до 2-х с.

Обов.

Висока

Розробник

АR-03

Зручність та функціональний інтерфейс згідно корпоративного стилю.

Реком.

Середня

Розробник

2.Надійність

RR-01

При вході повинна здійснюватися реєстрація і авторизація суб'єкта доступу;

Обов.

Висока

Розробник

RR-02

Реєстрація повинна здійснюється за паролем.

Реком.

Середня

Розробник




3. Проекті та технічні рішення

3.1 Логічна постанова задачі


Поставлена задача не має математичного формулювання, і тому надається опис логіки послідовних операцій у вигляді функцій обробки інформації, що виконуються.

Додаток буде викладений у Windows Phone Store, та буде безкоштовним. Для того, щоб завантажити його на свій смартфон необхідно зайти до магазину на ввести у поле пошуку: “Quiz” та нажати клавішу вводу. Для логотипу використовується велика літера Q. Після входу у вікторину ви бачите поле входу де вам потрібно авторизуватися або зареєструватися, якщо ви цього ще не робили. На головному меню відображається вибір теми, вибір одно-користувальницького режиму, вибір одно-користувальницького режиму та таблиця рекордів. Натиснувши на вибір одно-користувальницького режиму відкриється можливість вибрати його режим - введення вручну та вибір відповіді. Для того щоб додаток працював і можна було грати у вікторину потрібне постійне з’єднання з Інтернетом.

3.2 Проектування структури бази даних


Створення бази даних слід починати з її проектування. У результаті проектування має бути визначена структура бази, тобто склад таблиць, їхня структура та логічні зв'язки.

Структура реляційної таблиці визначається складом стовпців, їхньою послідовністю, типом даних кожного стовпця та їхнім розміром, а також ключем таблиці. Процес проектування можна здійснювати двома підходами. За першого підходу спочатку визначають основні задачі, для розв'язання яких створюється база, та потреби цих задач у даних. За другого підходу визначають предметну область (сферу), здійснюють аналіз її даних і встановлюють типові об'єкти предметної області. Найбільш раціональним підходом проектування бази даних є поєднання обох підходів.

Опис вхідної та вихідної інформації, що обробляється в рамках автоматизованих функцій.

Інформаційний перелік вхідних та вихідних документів автоматизованої задачі наведено в табл. 3.1.

Таблиця 3.1. Інформаційний перелік документів

Найменування документа

Вхідний /вихідний

Питання вікторини

Вхідний

Темі вікторини

Вхідний

Відповіді на питання

Вхідний

Результати проведення вікторини

Вихідний


Отримана інформація про вхідні та вихідні документи, дозволить побудувати модель відображення простору реквізитів вхідних та вихідних документів (табл. 3.2).

Таблиця 3.2. Перелік реквізитів документів

№ п/п

Найменування елементу

Фактичний або обліковий

Призначення елемента

1

ИД_питання

Обліковий

Зберігає ид питання

2

Питання

Фактичний

Зберігає питання

3

Відповідь_1

Фактичний

Зберігає 1й варіант відповіді

4

Відповідь_2

Фактичний

Зберігає 2й варіант відповіді

5

Відповідь_3

Фактичний

Зберігає 3й варіант відповіді

6

Відповідь_4

Фактичний

Зберігає 4й варіант відповіді

7

Правильна_відповідь

Фактичний

Зберігає правильний варіант відповіді

8

Ид_теми

Обліковий

Зберігає ид теми

9

Назва_теми

Фактичний

Зберігає назву теми

10

ИД_БК_гри

Обліковий

Зберігає ид одно-користувальницького режиму гри

11

Набрані_бали_К1

Фактичний

Зберігає набрані бали першим користувачем

12

Набрані_бали_К2

Фактичний

Зберігає набрані бали другим користувачем

13

Ид_користувача

Обліковий

Зберігає ид користувача

14

Логін

Фактичний

Зберігає логін користувача

15

Пароль

Фактичний

Зберігає пароль користувача

16

ИД_ОК_гри

Обліковий

Зберігає ид одно-користувальницького режиму гри

17

Кількість_пр_відповідей

Фактичний

Зберігає кількість відповідей на які користувач відповів правильно

18

Ид_виду

Обліковий

Зберігає ид виду вікторини

19

Назва_виду

Фактичний

Зберігає назву виду вікторини

20

Ид_користувача

Обліковий

Зберігає ид користувача

21

Колькость_Очок

Фактичний

Зберігає кількість очок що набрав гравець


Концептуальне інфологічне проектування

Інфологічний рівень являє собою інформаційно-логічну модель (ІЛМ) предметної області, в якій виключена надмірність даних і відображені інформаційні особливості об’єкту управління, без урахування особливостей і специфіки конкретної СУБД [25].

Мета інфологічного проектування - створити структуровану інформаційну модель ПО, для якої розроблятиметься БД. Під час проектування на інфологічному рівні створюється інформаційно-логічна модель, яка має відповідати таким вимогам:

1)  Коректність схеми БД;

)    простота і зручність використання на наступних етапах проектування, тобто ІЛМ має легко відображатися в моделі БД, що підтримується відомими СУБД (сіткові, ієрархічні, реляційні);

)    ІЛМ має бути описана мовою, зрозумілою проектувальникам БД, програмістам, адміністратору і майбутнім користувачам.

Основною складовою інфологічної моделі є атрибути, які потрібно проаналізувати і деяким чином згрупувати для подальшого зберігання в БД. Сутність інфологічного моделювання полягає у виокремленні інформаційних об’єктів (таблиць), які підлягають зберіганню в БД, а також визначенні характеристик об’єктів і зв’язків між ними. Характеристиками чи властивостями об’єктів є атрибути [26].

Словник даних, що містяться у таблицях бази даних, наведений у табл. 3.3.

Таблиця 3.3. Словник даних

№ п/п

Найменування елемента

Тип і довжина

Призначення елемента

1

ИД питання

Int

Зберігає ид питання

2

Питання

Varchar(100)

Зберігає питання

3

Відповідь 1

Varchar(20)

Зберігає 1й варіант відповіді

4

Відповідь 2

Varchar(20)

Зберігає 2й варіант відповіді

5

Відповідь 3

Varchar(20)

Зберігає 3й варіант відповіді

6

Відповідь 4

Varchar(20)

Зберігає 4й варіант відповіді

7

Правильна відповідь

Varchar(20)

Зберігає правильний варіант відповіді

8

Ид теми

Int

Зберігає ид теми

9

Назва теми

Varchar(15)

Зберігає назву теми

10

ИД багатокористувальницької гри

Int

Зберігає ид багатокористувальницького режиму гри

11

Набрані бали користувачем 1

Int

Зберігає набрані бали першим користувачем

12

Набрані бали користувачем 2

Int

Зберігає набрані бали другим користувачем

13

Ид користувача

Int

Зберігає ид користувача

14

Логін

Varchar(15)

Зберігає логін користувача

15

Пароль

Varchar(15)

Зберігає пароль користувача

16

ИД однокористувальницької гри

Int

Зберігає ид однокористувальницького режиму гри

17

Кількість правильних відповідей

Int

Зберігає кількість відповідей на які користувач відповів правильно

18

Ид виду

Int

Зберігає ид виду вікторини

19

Назва виду

Varchar(25)

Зберігає назву виду вікторини

20

Ид користувача

Int

Зберігає ид користувача

21

Колькость очок

Int

Зберігає кількість очок що набрав гравець


Проектування глобальної логічної моделі даних.

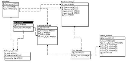
Структура логічної моделі даних (рис. 3.2) відображає структуру елементів які знаходяться у базі даних.

Вона описує семантику предметної області і не враховує особливості конкретної СУБД. За даною логічною схемою побудована фізична модель (рис. 3.3), в якій враховані такі особливості СУБД, як припустимі типи і найменування полів.

Основна перевага реляційної моделі - порівняльна простота інструментальних засобів її підтримки. Реляційна даталогічна модель містить набір відносин або записів, явно не зв'язаних між собою. Зв'язки виражаються в наявності однакових атрибутів у різних відносин, які (атрибути) дозволяють при виконанні операції природного об’єднання відносин одержати цільну картину даних про об'єкт бази даних.

Розроблена реляційна схема даних не вимагає подальшої нормалізації. Отримана модель бази даних є основою для генерації структур даних, індексів і тригерів на фізичному етапі проектування. Враховано цілісність даних, тобто стійкість збережених даних до руйнування й знищення, пов'язаних з несправністю технічних засобів, системними помилками й помилковими діями користувачів, яка передбачає: відсутність неточно введених даних або двох однакових записів про один і той самий факт, захист від помилок при оновленні бази даних, каскадне видалення зв’язаних даних різних таблиць та збереження даних при відмовах і збоях техніки (відновлення даних).

Ефективність забезпечена вибором комплексу технічних засобів, вибором СУБД, проектуванням оптимальної логічної й фізичної моделі даних в процесі фізичного проектування БД.

Таблиця 3.4. Обмеження унікальності

№ п/п

Атрибут або група атрибутів

Серед яких примірників, якої сутності або зв'язку має місце унікальність

1

Користувач.Ид_користувача

Для всіх примірників сутності «Користувач»

2

Багатокористувальницький_режим.ИД_БК_гри

Для всіх примірників сутності «Багатокористувальницький_режим»

3

Однокористувальницький_режим.ИД_ОК_гри

Для всіх примірників сутності «Однокористувальницький_режим»

4

Тема_вікторини.ИД_теми

Для всіх примірників сутності «Тема_вікторини»

5

Питання_вікторини.ИД_питання

Для всіх примірників сутності «Питання_вікторини»

6

Вид_вікторини.ИД_виду

Для всіх примірників сутності «Вид_вікторини»


Таблиця 3.5. Динамічні обмеження

№ п/п

Група атрибутів

Обмеження

1

Користувач.Ид_користувача

Ид_користувача = Ид_користувача +1 - значення атрибута курс може лише збільшуватися на одиницю.

2

Багатокористувальницький_режим.ИД_БК_гри

ИД_БК_гри = ИД_БК_гри +1 - значення атрибута курс може лише збільшуватися на одиницю.

3

Однокористувальницький_режим.ИД_ОК_гри

ИД_ОК_гри = ИД_ОК_гри +1- значення атрибута курс може лише збільшуватися на 1.

 4

Тема_вікторини.ИД_теми

ИД_теми = ИД_теми +1 - значення атрибута курс може лише збільшуватися на одиницю.

5

Питання_вікторини.ИД_питання

ИД_питання = ИД_питання +1 - значення атрибута курс може лише збільшуватися на одиницю.

6

Вид_вікторини.ИД_виду

ИД_виду = ИД_виду +1 - значення атрибута курс може лише збільшуватися на одиницю.


Проектування фізичної моделі даних.

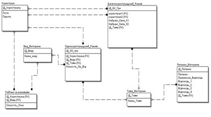
Фізична модель була побудована за допомогою програмного продукту Erwin 7. Побудована база володіє усіма властивостями баз даних, такими як: функціональна повнота; мінімальна надмірність; цілісність бази; узгодженість; актуальність; безпека; відновлюваність; логічна та фізична незалежність; ефективність.

Структура фізичної моделі даних відображена на рис. 3.4.

3.3 Розроблення архітектури програмної системи


Діаграми класів.

Діаграма класів відображає основні класи системи.

У розроблюваному додатку є 3 основних класи для питань з варіантами відповідей, для рекордів, для користувачів.

Діаграма основних класів, які виконують важливі функції у системі представлено на рис. 3.2.

Рис.3.2. Діаграма основних класів

 

Структура фізичної та логічної моделі даних.


Рис 3.3. Логічна структура моделі даних

Рис. 3.4. Структура фізичної моделі даних

UML діаграми станівдіаграми станів, які містять елементи графічного інтерфейсу користувача та основні принципи роботи з додатком наведені на
рис. 3.5 - 3.6.

Рис. 3.5. Діаграма стану варіантів використання «Гра»

Рис. 3.6. Діаграма стану варіантів використання «Авторизація»

Опис програмного коду.

Система має базові класи програми:

1.  Клас Items - для роботи з питаннями та варіантами відповідей.

2.       Клас Record - для роботи з таблицею рекордів.

.         Клас User - для роботи авторизації та регістрації.

Реалізація основних класів програми наведена у додатку В

3.4 Тестування додатку


Метою тестування додатку є перевірка коректної роботи та функціонування.

Підсумком процесу тестування має стати висновок про якість даного програмного продукту, складеного на підставі списку протестованих функцій, списку знайдених дефектів і його аналізі.

У процесі тестування додатку було застосовано ad-hoc тестування через відсутність суворої специфікації, а також зважаючи на обмеженість ресурсів на формалізацію тестів. Однак найбільш ризиковані функціональності будуть покриті формальними тестами.

Кінцевим результатом проведення тестування став висновок про якість додатку, заснованого на списку протестованих функцій, списку знайдених дефектів і його аналізі.

Підхід, запропонований все об’ємне тестування, включає до себе тестування навантаження, тестування властивостей, інсталяційне тестування, регресійне тестування, тестування графічного інтерфейсу користувача.

Функціональне тестування представлено у додатку Б. (табл. Б.4)

Регресійне тестування.

Цей вид тестування відбувається по мірі виникнення помилок під час роботи системи.

1.  усі дії з тестування виконуються в ручному режимі;

.    усі дефекти відстежуються і усуваються за допомогою корпоративної системи відстеження дефектів.

Метою тестування графічного інтерфейсу користувача є знаходження недоробок в графічному інтерфейсі в ході проведення різних оцінок після завершення написання проекту.

Тестування інтерфейсу програми.

Як наочний приклад тестування інтерфейсу нижче надані скріншоти програми з основним функціоналом програми. (рис. 3.9-рис.3.15).

Рис. 3.8. Авторизація користувача

.

Рис. 3.9. Вибір теми вікторини

Рис. 3.9. Одно-користувальницький режим

Рис. 3.11. Таблиця рекордів

3.5 Розгортання програмного продукту

Для розгорнення програмного продукту необхідно наступне:

1.  С Windows Phone 8.1;

2.       до 50 Мб вільного місця на жорсткому диску.

3.  Для інсталяції програмного продукту на смартфон користувача необхідно виконати наступні кроки:

4.  Зайти у Windows Phone Store;

5.       Знайти додаток серед безкоштовних;

6.       Натиснути встановити;

7.       Після закінчення встановлення натиснути на додаток.

Висновки

У дипломному проекті був спроектований та розроблений модуль вікторини в одно-користувальницькому режимі.

Під час роботи над дипломним проектом були розв’язанні такі задачі:

1. Зроблено змістовний опис і аналіз предметної області, структурних і функціональних особливостей об’єкта управління: описана діяльність об’єкта управління, бізнес-процеси предметної області автоматизованого модуля змодельовані у стандарті IDEF0.

2.       Проведено огляд і аналіз існуючих систем.

.         Розроблені функціональні вимоги: побудовані діаграми варіантів використання та послідовності.

.         Розроблені не функціональні вимоги: спроектовані засоби захисту інформації в системі.

.         Спроектована структура бази даних.

.         Розроблений програмний продукт: написан програмний код, що дозволяє реалізувати необхідну функціональність та проведено тестування.

Під час роботи над дипломним проектом було досягнуто мети розробити програмний продукт, який дозволить у вигляді гри, що полягає у відповідях на письмові запитання з різних галузей знань, підвищити рівень знань користувачів.

Список використаних джерел

1.   AdnanAziz. Elements of Programming Interviews: The Insiders' Guide. CreateSpace Independent Publishing Platform; 1st edition (October 11, 2012) - 504 pages

2.       Mike PreuB. Multimodal Optimization by Means of Evolutionary Algorithms (Natural Computing Series). Springer; 2015 edition (October 5, 2015) - 190 pages

.         Robert Sedgewick, Kevin Wayne’s Algorithms. Algorithms (4th Edition). Addison-Wesley Professional; 4th edition (March 19, 2011) - 992 pages

.         Shon Harris. CISSP Boxed Set, Second Edition (All-in-One). McGraw-Hill Osborne Media; 2 edition (January 25, 2013) - 1488 pages

.         Alexander A. Stepanov. From Mathematics to Generic Programming. Addison-Wesley Professional; 1 edition (November 17, 2014) - 320 pages

.         Shon Harris. CISSP All-In-One Exam Guide [With CDROM]. McGraw-Hill/Osborne Media; 6 Har/Cdr edition (October 18, 2012) - 1430 pages

.         Yaser S. Abu-Mostafa. Learning From Data.  AMLBook (March 27, 2012) - 213 pages

.         Matt Walker. CEH Certified Ethical Hacker Bundle, Second Edition. McGraw-Hill Osborne Media; 2 edition (October 6, 2014) - 748 pages

.         Peter Flach. Machine Learning: The Art and Science of Algorithms that Make Sense of Data  Cambridge University Press (November 12, 2012) - 409 pages

.         Narasimha Karumanchi. Data Structures and Algorithms Made Easy: Data Structure and Algorithmic Puzzles.  CreateSpace Independent Publishing Platform; 2 edition (December 19, 2011) - 444 pages

11.     Ч. Петзольд. Програмування Windows Phone 7.Microsoft Press 2011 - 695стр

12.     Пугачев, С. Павлов, Д. Сошников, Розробки додатків для Windows Phone 7. Microsoft Press - 2012 - 376

13.     Хассан Гома. UML - проектування систем реального часу паралельних і розподілених систем. Microsoft Press - 2011 - 704

14.     Лайза Криспин, Джанет Грегори, Гибкое тестирование. Практическое руководство для тестировщиков ПО и гибких команд. Питер 2010 - 464стр

15.     Джеффри Рихтер. CLR via C#. Программирование на платформе Microsoft.NET Framework 4.0 на языке C#. Питер 2012 - 734стр

16.     Энтони Молинаро. SQL. Сборник рецептов. Microsoft Press 2009 - 672стр

17.     Э. Стиллмен, Дж. Грин. Изучаем C#. Питер2012 - 405стр

18.     Линн Бейли. Изучаем SQL. Питер 2012 - 573стр

.         Энтони Молинаро. SQL. Сборник рецептов. Питер 2009 - 672

.         Джозеф Албахари, Бен Албахари. C# 5.0. Справочник. Полное описание языка. Вильямс 2013 - 1008стр

.         Эндрю Троелсен. Язык программирования C# 5.0 и платформа.NET 4.5. Вильямс 2013 - 1312стр

.         Первая демонстрация MonoDroid - написание Mono/.NET-приложений под Android. [Электронный ресурс]. - Режим доступа к ресурсу: http://habrahabr.ru/post/102192/

.         Сравнительное тестирование производительности платформ.Net, Java и Mono. [Электронный ресурс]. - Режим доступа к ресурсу: http://habrahabr.ru/post/120090/

.         Технологии.NET Framework и Mono. [Электронный ресурс]. - Режим доступа к ресурсу::http://bourabai.kz/einf/net-technology.htm

.         Технологии, основанные на трансляции или компьютерной сети [Электронный ресурс]. - Режим доступа: www.cito.ru/gdenet/technology/broadcast/

.         Развивающие игры для дошкольников и младших школьников [Электронный ресурс]. - Режим доступа: http://festival.1september.ru/articles/103578/

27.     Programming the Mobile Web, 2nd Edition Reaching Users on iPhone, Android, BlackBerry, Windows Phone, and more [Еlectronic resource]. - Access mode: http://proglibrary.ru/tag/windowsphone/

28.     Сборник профориентационных игр, викторин. [Электронный ресурс]. - Режим доступа: http://window.edu.ru/resource/591/26591

.         Работа с SOAP сервисом из Windows Phone 8.1 приложения. [Электронный ресурс]. - Режим доступа: http://habrahabr.ru/post/233799/

.         Реализация L2TP/IPsec VPN сервера стандартными средствами Windows 7/8 для подключения Windows/iOS/Android систем к внутренней сети. [Электронный ресурс]. - Режим доступа: http://habrahabr.ru/post/210410/

31.     Тези доповідей. Міжнародної науково-практичної конференції молодих вчених, аспірантів та студентів «Інформаційні технології в сучасному світі: дослідження молодих вчених». Харків 12-13 березня 2015р- 254 стр.


Не нашли материал для своей работы?
Поможем написать уникальную работу
Без плагиата!
Без нейросетей!