Колодцевый кран
Министерство
образования и науки Российской Федерации
Федеральное
агентство по образованию
Государственное
образовательное учреждение высшего профессионального образования
Магнитогорский
государственный технический университет им. Г.И. Носова
Колодцевый
кран
Пояснительная
записка
Выполнил студент
группы 190100.11
Хайдаршин М.Р.
Задание
Целью курсового проектирования является
закрепление и углубление знаний по курсу специальные краны, усвоение методики
общего подхода к конструированию специальных грузоподъемных кранов.
Объектом проектирования является колодцевый
кран:
Исходные данные для проектирования крана:
Грузоподъемность, т 20
Проектная высота подъёма, м 9
Скорость подъёма, м/мин 20
Скорость передвижения тележки, м/мин 102
Скорость передвижения крана, м/мин 120
Скорость вращения колонны, об/мин 10
Режим работы механизмов по ГОСТ 25835-838К
Реферат
Ключевые слова: колодцевый кран, механизм
подъема, механизм вращения клещей, полиспаст, барабан, электромагнит, кабина.
Целью работы является закрепление и углубление
знаний по курсу специальных кранов, усвоение методики общего подхода к
конструированию специальных кранов на основе проектирования колодцевого крана.
В работе приведены расчеты механизмов: подъема, передвижения, вращения клещей.
Представлены предварительные и уточненные расчеты всех основных элементов.
Графическая часть предусматривает разработку
основных чертежей рассматриваемого крана.
Содержание
Введение
. Колодцевые краны
. Предварительный расчет механизмов
.1 Механизм подъёма груза
.2 Механизм вращения клещей
.3 Механизм управления клещами
.4 Механизм передвижения тележки
.5 Механизм передвижения крана
Библиографический список
Введение
Грузоподъёмные краны занимают ведущее место в
системе машин механизации монтажных и погрузочно-разгрузочных работ в
строительстве. С помощью грузоподъемных кранов достигаются высокие темпы и
индустриальность производства строительно-монтажных работ. Объектами применения
таких машин являются практически все строительные площадки и пункты грузопереработки
(склады и др.).
Грузоподъемные краны относятся к машинам
цикличного действия так как их рабочий процесс состоит из отдельных
чередующихся циклов, включающих рабочие и вспомогательные периоды. Они
обеспечивают обслуживание большой площадки рабочей зоны, равной двойному вылету
(башенных, пневмоколесных, гусеничных кранов) и ходу грузовой тележки (козловых
и мостовых кранов), умноженным на длину подкрановых путей. Для увеличения
мобильности кранов применяются современные способы их монтажа, демонтажа,
транспортирования, подготовки к эксплуатации.
На развитие исполнений кранов, составляющих
основную часть парка машин эксплуатационных баз (башенные, пневмоколесные и
гусеничные краны), оказывают влияние происходящие изменения в строительном
производстве: индустриальность работ, в т. ч. при реконструкции промышленных и
гражданский зданий, расширение масштабов замены домов устаревших серий новыми в
сложившихся дворовых территориях. Неотъемлемой частью
организационно-технологических решений на строительных площадках являются
проекты производства работ и технологические карты, в которых приведены
последовательность выполнения технологических комплексов и операций
грузоподъемными кранами, места установки и безопасные рабочие зоны машин.
Переход предприятий машиностроения и
строительства на рыночные отношения обусловливает повышение
конкурентоспособности грузоподъемных кранов и качества их эксплуатации.
Применение современных моделей грузоподъемных кранов обеспечивает выполнение
требований технологии производства монтажных и Погрузочно-разгрузочных работ,
рост производительности и улучшение условий труда машиниста (крановщика), но
достигается это за счет усложнения конструкций машин. Естественно их
эксплуатация становится дороже использования моделей предыдущих поколений и
требует высокой квалификации обслуживающего персонала и, в первую очередь,
машиниста. При этом возрастает значение инициативы и предприимчивости,
самостоятельности и ответственности машиниста и руководителей направлениями
работ.
Грузоподъемные краны относятся к машинам
цикличного (периодичного) действия. Работа, совершаемая грузоподъемным краном,
состоит, как правило, из ряда операций цикла: захват груза, подъем и
перемещение его к месту укладки, опускание, отцепка от грузозахватного органа (грузозахватного
приспособления), возврат грузозахватного органа в исходное положение для
повторения операций. Благодаря возможности сочетания этих операций в
определенной последовательности, грузоподъемные краны предназначены для
выполнения монтажных и погрузочно-разгрузочных работ на объектах использования
по назначению (объектах применения).
Одним из средств механизации
погрузочно-разгрузочных, складских, технологических, монтажных и других работ
являются специальные краны.
В России создание и использование специальных
кранов известно с XIX
в. Так в 60-х годах прошлого века в г. Кронштадте были созданы первые
отечественные плавучие краны для монтажных работ и сооружения крепостных
укреплений. Отечественные железнодорожные краны появились до революции. Мостовые
краны общего назначения начали выпускать в конце XIX
и начале XX в, на
Брянском машиностроительном заводе, Невском машиностроительном заводе,
Путиловском, Старокраматорском и других заводах.
После Великой Октябрьской социалистической
революции специальное краностроение начало развиваться быстрыми темпами. Были
созданы новые заводы и реконструированы старые. Например, на Одесском заводе
тяжелого краностроения им. Январского восстания начали выпускать
железнодорожные краны, Уральском заводе тяжелого машиностроения им. С.
Орджоникидзе - металлургические краны, Старокраматорском им. С. Орджоникидзе и
Новокраматорском машиностроительном заводе им. В.И. Ленина - козловые краны и
мостовые перегружатели, Ленинградском заводе подъемно-транспортного оборудования
им. С.М. Кирова - портальные краны, ПО «Кировский завод» (г. Ленинград) -
плавучие краны.
После Великой Отечественной войны значительно
увеличился выпуск специальных кранов - мостовых перегружателей,
металлургических, козловых, башенных, стреловых, кранов-штабелеров.
Развитию производства специальных кранов
способствовало создание специальной литературы по этому комплексу машину. В
числе первых работ по специальным кранам были работы учёных кафедр
подъемно-транспортных машин Московского высшего технического училища им. Н.Э.
Баумана, Ленинградского политехнического института им. М.И. Калинина,
Харьковского политехнического института им. В.И. Ленина, Уральского
политехнического института им. С.М. Кирова.
Следует также отметить труды Всесоюзного
научно-исследовательского института подъемно-транспортного машиностроения
(ВНИИПТмаш) и Всесоюзного научно-исследовательского института строительного и
дорожного машиностроения (ВНИИстройдормаш) и др.
Значительный вклад в теорию специальных кранов
внесли проф. д-р техн. наук Л.Г. Кифер, проф. д-р техн. наук И.И. Абрамович,
проф. д-р техн. наук А.И. Дукельский, проф. д-р техн. наук М.М. Гохберг и др.
В последнее время разработано много оригинальных
и надежных конструкций специальных кранов, например, портальные монтажные краны
Ленинградского завода подъемно-транспортного оборудования им. С.М. Кирова,
плавучие краны «Черноморец» и «Богатырь» и др.
Грузоподъемные машины - высокоэффективное
средство комплексной механизации и автоматизации подъемно-транспортных,
погрузочно-разгрузочных и складских (ПРТС) работ. Применение таких машин
уменьшает объем использования тяжелых ручных операций и способствует резкому
повышению производительности труда. Автоматизация ГПМ позволяет включить ее в
поточную линию, а универсальность использования - сделать составным элементом
гибкого автоматизированного производства.
Курсовое проектирование, основываясь на практике
ранее выполнявшихся студентом графических и расчетных работ по черчению,
начертательной геометрии, теории механизмов и машин, деталям машин, призвано
выработать навыки проектирования машины в целом и тем самым закончить
общеинженерную подготовку будущего специалиста.
Практическая самостоятельная работа студента над
темой курсового проекта будет эффективной только в том случае, если обучающийся
твердо усвоит основные теоретические положения ранее изучавшегося лекционного
материала, успешно выполнит расчетный (желательно с применением ЭВМ в
диалоговом режиме) и лабораторный практикумы (рекомендуется применение
статистической обработки экспериментальных данных). Курсовое проектирование
способствует практическому закреплению ранее приобретенных знаний и навыков.
Вместе с этим курсовое проектирование вводит студента в круг вопросов, с
которыми он будет встречаться на производстве. Характер работы в процессе
курсового проектирования позволяет решать задачи студенческой
научно-исследовательской работы. Хорошо подготовленные студенты могут выполнять
реальные проекты, выдвигаемые производством.
Целью курсового проектирования является
закрепление и углубление знаний по курсу специальные краны, усвоение методики
общего подхода к конструированию специальных грузоподъемных кранов.
Объектом проектирования является колодцевый кран
(механизм подъема, механизм передвижения, механизм вращения клещей) для возможности
его использования в отделениях нагревательных колодцев блюмингов или слябингов.
кран груз клещи редуктор
1. Колодцевые краны
Колодцевые краны используют в отделениях
нагревательных колодцев блюмингов или слябингов. Они перемещают слитки из вагонеток
на подины вертикальных колодцев. Слитки подогревают до температуры 1100 - 1200 ˚С,
а затем колодцевыми кранами перемещают к слитковозу, который транспортирует их
к приемному роликовому конвейеру блюминга или слябинга.
Особенности устройства составных частей
Мост крана выполнен из двух стальных балок
коробчатого сечения, опирающихся на две концевые балки. Мост крана имеет 12
ходовых колес, тележка 4 колеса.
Тележка состоит из рамы 2 с шахтой 3 и колонны
11 (рисунок 1.1). Колонна может подниматься и опускаться по шахте 3 с помощью
механизма подъема. Барабан этого механизма имеет три нарезки: крайние
двухзаходные нарезки предназначены для канатов 26 подъема колонны 11,
подвешенной на восьми ветвях. Канаты опускаются к четырем блокам 5,
закрепленным в верхней части колонны 11, и поднимаются к системе балансиров
27.Кратность канатного полиспаста равна двум. Со средней резьбы барабана канат
29 опускается к блоку 6 и затем поднимается к барабану 28 механизма управления
клещами.
Оба механизма работают совместно или раздельно.
Обойма блока 6 может подниматься вверх или вниз по направляющим 9, закрепленным
в колонне 11. Обойма имеет ролики 7, которые обеспечивают устойчивость ее
движения по направляющим. В нижней части этой обоймы расположен упорный шарикоподшипник
8, на который действует вес клещей 20, траверсы 19 и штанги 10. Подшипник 8
обеспечивает вращение клещей вокруг вертикальной оси.
При подъеме или опускании блока 6 по
направляющим 9 с помощью механизма управления клещи 20 поднимаются или
опускаются. При этом их ролики скользят в прорезях 18 подвески клещей 16,
вследствие чего раскрывание клещей 20 увеличивается или уменьшается.
Рисунок 1 - Схема механизмов подъема, управления
и вращения клещей колодцевого крана.
При захвате слитка кран подводит тележку и
опускает колонну 11. При этом клещи 20 предварительно поднимаются вверх.
Колонна опускается до тех пор, пока клещи расположатся напротив слитка. Затем
клещи опускаются до упора их кернов 21 в стенки слитка, после чего включается
механизм подъема. При захвате слитка барабан 1 работает на подъем, а барабан 28
- на опускание.
Механизм управления имеет в редукторе храповое
устройство, которое позволяет вращаться валу двигателя на опускание даже тогда,
когда клещи случайно оперлись на слиток.
Механизм вращения клещей состоит из
электродвигателя 4, червячного редуктора 24, фрикционной муфты 25,
вертикального вала, опирающегося на опорный подшипник 23, и зубчатой передачи
13. Последняя приводит в движение вертикальный полый вал 14, имеющий подшипники
15.
На этом валу закреплена подвеска клещей 16.
Внутри вала 14 установлена штанга 10 механизма управления клещами. Механизм
вращения закреплен на колонне 11.
Реактивный момент зубчатой передачи 13
передается через скользуны 12 колонны 11 на вертикальные направляющие шахты 3.
2. Предварительный расчёт механизмов
.1 Механизм подъёма груза
Рисунок 2.1 - Кинематическая схема
механизма подъема.
Определяем кратность полиспаста:
,
где z -
количество ветвей на которых висит груз, z=8;
zб -
количество ветвей наматываемых на барабан, zб=4.
Получаем:
.
Определяем скорость движения каната:
,
где vгр - заданная
скорость подъема груза, м/мин, vгр=23 м/мин.
Получаем:
vк=23∙2=46
м/мин.
Расчет механизма подъема
Основная нагрузка механизма подъема
колодцевого крана складывается из веса: слитка
, колонны
и канатов
Максимальное статическое усилие в
канате:
- число ветвей каната, навиваемых
на барабан;
- кратность полиспаста;
- КПД направляющих блоков (
- число
направляющих блоков;
- КПД одного
блока).
Разрывное усилие каната в целом:
где
- коэффициент запаса прочности
каната (группа режима работы 8К по ГОСТ 25835)
По условию
выбираем
канат двойной свивки типа ЛК-Р конструкции 6Ч19(1+6+6/6)+1ос маркировочной
группы 1764
по ГОСТ
2688-80
.
Расчет и выбор электродвигателя.
Статическая мощность при подъеме
номинального груза определяется по формуле:


где
- КПД механизма подъема,
;
- скорость подъема груза,
,
.
Подставляя, все значения в формулу
получаем:
Потребная мощность электродвигателя:
где
коэффициент приведения,
.
Получаем:
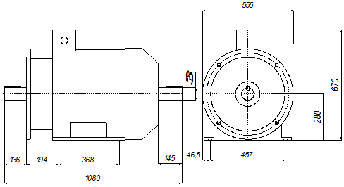
Выбираем электродвигатель типа
МТВ713 - 10.
Некоторые технические характеристики
двигателя:
Мощность на валу 160 кВт
Частота вращения вала 600 об/мин
Вес 1900кг
КПД 0,91
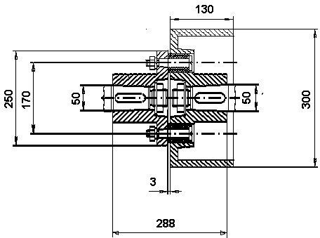
Диаметр вала 55 мм
Габаритный чертеж двигателя
представлен на рисунке 2.2.
Рисунок 2.2 - Габаритный чертеж
двигателя
Расчет и выбор редуктора.
Определим диаметр барабана:
где
коэффициент выбора диаметра
барабана,
;
диаметр каната,
,
.
Получаем:
Определим частоту вращения барабана:
Передаточное отношение редуктора:
Подставляя все значения в формулу, получаем:
Мощность редуктора:
где
коэффициент запаса,
Получаем:
Максимальный крутящий момент на
барабане (тихоходном валу редуктора):
Подставляя все значения в формулу,
получаем:
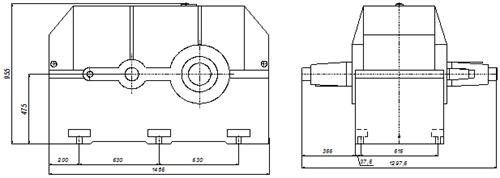
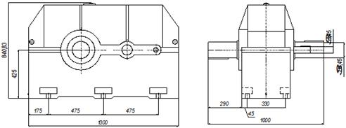
Выбираем редуктор 1Ц2-750. Габаритный
чертеж представлен на рисунке 2.3.
Рисунок 2.3 - Габаритный чертеж редуктора
Расчет и выбор муфты.
Расчетный крутящий момент на муфте:
,
где
коэффициент запаса,
КПД механизма подъема,
Получаем:
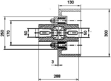
Выбираем муфту упругую
втулочно-пальцевую 800-50-║ по ГОСТ 12081-72 с тормозным шкивом
.
Номинальный крутящий момент муфты
. Габаритный
чертеж муфты представлен на рисунке 2.4.
Расчет и выбор тормоза.
Расчетный тормозной момент:
,
Рисунок 2.4 - Габаритный чертеж муфты
где
коэффициент запаса торможения,
.
Подставляя все значения в формулу,
получаем:
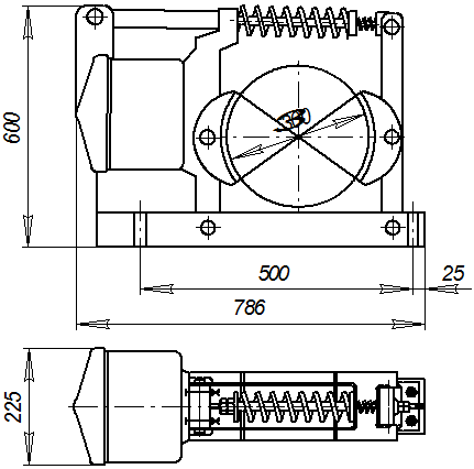
Выбираем тормоз ТКП-300.
Габаритный чертеж тормоза
представлен на рисунке 2.5.
При эксцентриситетах слитка
и
относительно
вертикальной оси колонны на ее направляющих действуют силы трения:
где
-
коэффициент сопротивления движению колонны по направляющим;
Рисунок 2.5 - габаритный чертеж
тормоза
Равнодействующая веса колонны может
иметь эксцентриситеты
и
относительно
ее оси. Тогда на направляющие будут действовать силы трения:
Реактивный момент, возникающий на
колонне при одновременном ее вращении и подъеме, необходимый для расчета сил сопротивления
в направляющих колонны определяется:
,
где
передаточное отношение и КПД
зубчатой передачи.
момент на оси двигателя,
где
мощность двигателя,
КПД двигателя,
,
частота вращения вала.
Силы трения на направляющих колонны:
где
Суммарное натяжение канатов подъема
и управления клещами при совместной работе механизмов подъема и вращения:
.2 Механизма
вращения клещей
Рисунок 2.6 - Кинематическая схема
вращения клещей.
Статический момент сопротивления
вращению колонны
складывается
из момента трения: в подшипниках колонны, в подпятнике колонны и подпятнике
тяги:
где
нагрузка на подшипники колонны;
диаметры
подшипников колонны;
вес колонны;
вес тяги;
вес слитка;
средние
радиусы верхнего и нижнего упорных подшипников;
коэффициенты трения.
Нагрузка на подшипнике:
Причем в зависимости от того, чем
вызвана эксцентричность нагрузки:
Здесь
или
На нижний подшипник колонны
действует еще окружное усилие на зубчатом венце механизма вращения:
где
номинальный момент двигателя;
передаточное отношение механизма
вращения ;
радиус зубчатого венца.
Таким образом, нагрузка на верхний
подшипник колонны:
нагрузка на нижний подшипник:
Динамический момент при разгоне или
торможении колонны:
где
момент инерции колонны,
угловая скорость колонны,
;
время разгона или торможения при
вращение колонны,
смещение центра тяжести слитка от
оси вращения,
Мощность механизма вращения клещей:
где
момент сопротивления поворота,
общий КПД механизма
, где
КПД червячного редуктора,
КПД зубчатых
передач.
Выбираем электродвигатель типа МТВ512 - 8
Некоторые технические характеристики двигателя:
Мощность на валу 25 кВт
Частота вращения вала 750 об/мин
Вес 560кг
КПД 0,91
Расчет червячного вала
Материал Сталь 40X
- осевое усилие на червяке;
расчётное усилие передачи;
окружное усилие на червяке;
Рисунок 2.7 - Расчетная схема вала
ZOY:
ХOY:
Плоскость действия усилия от муфты:
Опасное сечение под червяком
Материал червяка - сталь 40Х
- предел выносливости
коэффициент запаса прочности в
опасных сечениях
Для шлицевых участков валов.
-эффективный коэффициент
концентрации нормальных напряжений;
эффективный коэффициент.
концентрации касательных напряжений;
масштабный фактор для нормальных
напряжений;
масштабный фактор для касательных
напряжений;
коэффициент, учитывающий влияние
шероховатости поверхности;
2.3 Механизм
управления клещами
Рисунок 2.8 - Кинематическая схема
управления клещами.
где
усилие в канате механизма управления
клещами;
скорость на окружности барабана
этого механизма,
(принимается
около 30
).
где
сумма весов слитка, клещей, штанги и
обоймы с блоком,
;
сила сопротивления при движении
роликов обоймы по направляющим;
суммарный КПД блоков и роликов;
угол наклона
каната к вертикали (двойка в знаменателе относится к числу ветвей канатов).
Разрывное усилие каната в целом:
где
- коэффициент запаса прочности
каната (группа режима работы 8К по ГОСТ 25835)
По условию
выбираем
канат двойной свивки типа ЛК-Р конструкции 6Ч19(1+6+6/6)+1ос маркировочной
группы 1764
по ГОСТ
2688-80
.
Сила прижатия
роликов к
направляющим можно определить как разность горизонтальных составляющих
натяжений управления клещами и подъемных канатов:
Здесь
натяжение канатов, идущих на барабан
механизма подъема, которое определяется по той же формуле, что и
, только
вместо
следует
поставить
,
угол наклона
канатов, идущих на барабан механизма подъема (к вертикали).
,
здесь
диаметр осей роликов,
коэффициент
трения;
коэффициент трения качения.
Подставляя, последнее выражение в
уравнение получим:
,
;
Сила прижатия
роликов к
направляющим:
Мощность механизма управления
клещами:
Потребная мощность электродвигателя:
где
коэффициент приведения,
.
Получаем:
Выбираем электродвигатель типа
МТВ411 - 6. Некоторые технические характеристики двигателя:
Мощность на валу 14 кВт
Частота вращения вала 1000 об/мин
Вес 280кг
КПД 0,91
Габаритный чертеж двигателя
представлен на рисунке 2.9.
Расчет и выбор редуктора
Определим диаметр барабана:
Рисунок 2.9 - Габаритный чертеж
двигателя
где
коэффициент выбора диаметра
барабана,
;
диаметр каната,
,
.
Получаем:
Принимаем
Определим частоту вращения барабана:
Передаточное отношение редуктора:
Подставляя все значения в формулу, получаем:
Мощность редуктора:
где
коэффициент запаса,
Получаем:
Максимальный крутящий момент на
барабане (тихоходном валу редуктора):
Подставляя все значения в формулу,
получаем:
Выбираем редуктор Ц2-400
Габаритный чертеж представлен на
рисунке 2.10.
Рисунок 2.10 - Габаритный чертеж редуктора
Расчетный крутящий момент на муфте:
,
где
коэффициент запаса,
КПД механизма подъема,
.
Получаем:
Выбираем муфту упругую
втулочно-пальцевую 800-50
ГОСТ 12081-72 с тормозным шкивом
.
Номинальный крутящий момент муфты
.
Габаритный чертеж муфты представлен
на рисунке 2.11.
Рисунок 2.11 - Габаритный чертеж муфты
Расчет и выбор тормоза.
Расчетный тормозной момент:
,
где
коэффициент запаса торможения,
.
Подставляя все значения в формулу,
получаем:
Выбираем тормоз ТКП-300
Габаритный чертеж тормоза
представлен на рисунке 2.12.
Рисунок 2.12 - габаритный чертеж тормоза
Расчет клешни
Клещи колодцевого крана
рассчитываются из условия создания необходимой силы зажатия слитка кернами. При
этом клещевина рассматривается как балка, на которую действуют силы
Суммарное усилие на керн
определяется
выражением:
Рисунок 2.13 - Схема сил действующих
при захвате слитка.
где
вес слитка;
нормальная
сила давления на керн.
Сила сопротивления ролика при
движении по направляющему пазу:
,
,
Так как клещи находятся в
равновесии, то:
,
где 

является равнодействующей от силы
нормального давления
к
поверхности, направляющей движения ролика клещевины и силы трения
:
Ролик клещевины заклинился и
скользит по направляющему пазу:
,
где
коэффициент трения между осью и
втулкой ролика;
,
угол трения.
Реакция на шарнире клещевины:
,
Надежность захвата слитка
определяется коэффициентом зажатия
:
;
Расчет захвата на прочность
Определение реакций в опорах
Рисунок 2.14 - Расчетная схема
клешни
,
,
,
,
,
,
Построение эпюр
Захват груза
Рисунок 2.15 - Расчетная схема
клешни захвата
Рассматриваем 1-ый участок:
Рисунок 2.16 - Эпюры
1-го
участка
Рассматриваем 2-ой участок:
Рисунок 2.17 - Эпюры
2-го
участка
Определение напряжений в сечениях
,
Рассматриваем сечение 1-го участка:
Рисунок 2.18 - Сечение 1-го участка
Определяем фактический момент
сопротивления сечения:
,
,
,
,
,
для стали 09Г2С
Рассматриваем сечение 2-го участка:
Рисунок 2.19 - Сечение 2-го участка
Определяем фактический момент
сопротивления сечения:
,
,
,
,
,
для стали 09Г2С
.3 Механизм передвижения тележки
Расчётные данные.
вес главной тележки в сборе;
вес слитка;
- скорость передвижения тележки;
- общее передаточное число.
Статические нагрузки на колёса.
Рисунок 2.20 - Кинематическая схема
механизма передвижения тележки.
где
- число ходовых колёс;
-
коэффициент, учитывающий неравномерное распределение нагрузки от веса тележки и
веса груза на колёса тележки при номинальном грузе.
Выбор колёс.
Используя значение,
выбираем
колесо
и
Колесо крановое типа К2Р (ГОСТ 3569
- 74).
Форма поверхности касания -
цилиндрическая; тип подшипника - роликовый радиальный сферический двухрядный с
симметрическими роликами.
Выбор подтележечного рельса
Выбираем рельс КР - 80 по ГОСТ 4121
- 76 с выпуклой головкой и
Проверим соотношение ширины дорожки
катания колеса
и головки
рельса
:
что
соответствует норме.
Сопротивление передвижению тележки
,
где
- сопротивление от сил трения;
- сопротивление, создаваемое
уклоном.
где
- коэффициент трения качения колеса
по рельсу;
- приведённый коэффициент трения
скольжения в подшипниках колёс;
- диаметр колеса;
- диаметр цапфы вала (оси) колеса.
где
- уклон рельсового пути.
Тогда:
Мощность двигателя.
Мощность двигателя:

Где
- скорость передвижения;
- КПД механизма;
- кратность средне пускового
момента двигателя по отношению к номинальному.
Выбираю двигатель типа МТВ 412 - 6.
Рисунок 2.21 - Габаритный чертёж
двигателя
Выбор передачи.
Частота вращения колеса равна:
Требуемое передаточное число
механизма:
Требуемое передаточное число
редуктора:
Выбираю редуктор Ц2 - 350.
Рисунок 2.22 - Габаритный чертёж
редуктора
Максимальная мощность на
быстроходном валу редуктора:
Определение фактической скорости и
КПД механизма
Фактическая скорость передвижения
тележки равна:
что допустимо.
КПД одной зубчатой муфты
Поставим одну муфту между двигателем
и редуктором и одну между редуктором и колесом.
Отсюда следует:
Данное значение КПД мало отличается
от принятого предварительного, поэтому пересчёт мощности не требуется.
Выбор муфт.
По диаметрам концов соединяемых
валов выбираем муфты:
Для быстроходного вала:
Муфта зубчатая №1 ГОСТ 5006 - 83.
Для тихоходного вала:
Муфта зубчатая №2 ГОСТ 5006 - 83.
Выбор тормоза.
Расчётный тормозной момент механизма
при работе
крана в закрытом помещении определяют при движении тележки без груза под углом
в предположении, что реборды не задевают за головки рельсов:
где
- момент, задаваемый уклоном;
- момент, создаваемый инерцией;
- момент сил трения.
где
- сопротивление уклона.
где
- сопротивление, создаваемое
инерцией.
где
- сопротивление от сил трения.
Расчётный тормозной момент:
где
- число тормозов в механизме.
Выбираю тормоз типа ТКП - 100
Шкив Ш1 - 100/20 ГОСТ 24.290.062 -
75.
Рисунок 2.23 - Габаритный чертёж
тормоза
2.4 Механизм передвижения крана
Рисунок 2.24 - Кинематическая схема
механизма передвижения тележки.
- вес тележки;
- вес моста;
- вес крана;
- скорость передвижения крана.
Статические нагрузки на колёса
Эквивалентная нагрузка от
вертикальных сил на опорный узел ходового колеса механизма передвижения:
где
- коэффициент неравномерности
нагружения колёс в гружёном состоянии;
- максимальная нагрузка на ходовое
колесо.
где
- число колёс;
где
- минимальное расстояние от центра
тяжести тележки до центра опорного узла;
- пролёт крана;
Выбор колёс.
Выбираю колесо диаметром
Выбор колёсных установок.
По диаметру колеса выбираю стандартные колёсные
установки К2РП - 800, первого исполнения для приводных колёс и К2РП - 800,
второго исполнения для холостых колёс.
Параметры:


Форма поверхности катания -
цилиндрическая. Тип подшипника - роликовый радиальный сферический двухрядный с
симметричными роликами.
Выбор подкранового рельса
Выбираю рельс КР70 ГОСТ 4121-76 с
выпуклой головкой
Проверяю соотношение ширины дорожки
катания колеса
и головки
рельса
что соответствует норме.
Сопротивление передвижению крана
Полное сопротивление передвижению
крана:
где
- сопротивление от сил трения;
- сопротивление, создаваемое
уклоном.
тогда
Выбор двигателя.
Мощность двигателя:
Выбираю двигатель типа МТВ 613 - 10.
Выбор передачи.
Частота вращения колеса:
Требуемое передаточное число
механизма:
Выбираю редуктор ВКУ - 500 - М.
Параметры:
Определение фактической скорости и
КПД механизма
Фактическая скорость передвижения
крана:
что допустимо.
КПД зубчатой муфты
Одну муфту ставим между двигателем и
редуктором, а другую между редуктором и колесом.
что допустимо.
Выбор муфты.
По диаметру концов валов выбираю
муфты:
Для быстроходного вала:
Муфта зубчатая 1 - 1000 ГОСТ 5006 -
83.
Для тихоходного вала:
Муфта зубчатая 1 - 4000 ГОСТ 5006 -
83.
Выбор тормоза.
Расчётный тормозной момент механизма
при работе
крана в зарытом помещении определяют при движении крана без груза под углом в
предположении, что реборды не задевают за головки рельсов:
где
момент, задаваемый уклоном;
момент, создаваемый инерцией;
момент сил трения.
где
сопротивление уклона.
где
сопротивление, создаваемое инерцией.
где
сопротивление от сил трения.
Расчётный тормозной момент:
где
число тормозов в механизме.
Выбираю тормоз типа ТКП - 200.
Библиографический список
1. Анурьев В.И. Справочник
конструктора-машиностроителя: В 3-х т. - М.: Машиностроение, 1980. - 557 с.
. Вайнсон А.А., Андреев
А.Ф.Крановые грузозахватные устройства: Справочник. - М.: Машиностроение, 1982.
- 304 с.
3. Гуле Ж. Сопротивление
материалов. М.: Высшая школа, 1985. - 192 с.
4. Дунаев П.Ф., Леликов О.П.
Детали машин. Курсовое проектирование: М.: Высш. шк., 1984. - 399 с.
. Кифер Л.Г., Абрамович И.И.
Грузоподъемные краны. Атлас чертежей. Часть1, 2. М., Машгиз, 1956.
6. Кифер Л.Г. Грузоподъемные
машины. М., Машгиз, 1956. - 486 с.
7. Кузьмин А.В., Марон Ф.Л.
Справочник по расчетам механизмов подъемно-транспортных машин. - 2-е изд.,
перераб. и доп. - Мн.: Высш. шк., 1983. - 350 с.
. Курсовое проектирование
грузоподъемных машин/ С.А. Казак, В.Е. Дусье, Е.С. Кузнецов и др.; Под ред.
С.А. Казака. - М.: Высш. шк., 1989.- 319 с.
. Мягков В.Д. и др. Допуски и
посадки. Справочник. В 2-х ч. - Л.: Машиностроение, 1983. - 448 с.
. Павлов Н.Г. Примеры расчета
кранов. Л., Машиностроение, 1976. - 320с.
11. Подъемно-транспортные
машины: Атлас конструкций / М.П. Александров, Д.Н. Решетов и др. - М.,
Машиностроение, 1987. -122 с.
. Правила устройства и
безопасной эксплуатации грузоподъемных кранов. Утверждены Госгортехнадзором
России, 2000. - 266 с.
. Расчеты грузоподъемных и
транспортирующих машин. Иванченко Ф.К. и др. Киев, Высш. шк., 1978. - 576 с.
. Руденко Н.Ф.
Грузоподъемные машины: Атлас конструкций. - М., Машиностроение, 1970. - 116 с.
. Руденко Н.Ф., Александров
М.П., Лысяков А.Г. Курсовое проектирование грузоподъемных машин. М.,
Машиностроение, 1971. - 464 с.
. Точилкин В.В., Филатов
А.М. Подъемно-транспортные машины: Методические указания к курсовой работе.
Магнитогорск:. Магнитогорский горно-металлургический институт им. Г. И. Носова,
1990. - 22 с.
. Никитин К.Д., Марьясов
В.Г., Смолин А.Ю. Специальные металлургические краны: Учебное пособие.
Красноярск: издательство Красноярского университета,1989. - 232 с.
18. Специальные краны: Учебное
пособие для машиностроительных вузов по специальности «Подъемно-транспортные
машины и оборудование»/ П.З. Петухов, Г.П. Ксюнин, Л.Г. Серлин - М.:
Машиностроение, 1985. - 248с.