Анализ организации технического обслуживания и ремонта автомобилей в условиях ремонтно-обслуживающей базы
Анализ организации технического обслуживания и ремонта автомобилей
в условиях ремонтно-обслуживающей базы
Введение
На фоне экономического кризиса,
постоянного удорожания машин и запасных частей, а также постепенным износом
существующей техники, необходимо качественно улучшить уровень ремонта и
обслуживания техники.
Особое значение в организации
технического обслуживания и ремонта, поддержании технического состояния парка
машин придается диагностике. Использование диагностического оборудования
помогает узнать полное техническое состояние автомобилей, повышать качество
регулировки и ремонта, позволит спланировать количество и вид запасных частей.
Не уделяется должного внимания
восстановлению деталей. Используя методы восстановления можно гораздо
экономичнее использовать те небольшие средства, которые выделяются на ремонт.
Мало внимания оказывается удобству рабочих. Применение в полном объеме
планово-предупредительной системы технического обслуживания и ремонта, усиление
контроля над техническим состоянием, позволит повысить производственную
дисциплину, сократить время простоя автомобилей в ремонте, что в свою очередь
позволит увеличить объем грузоперевозок, увеличить пробег автомобилей до
капитального ремонта. Но при этом нельзя не считаться с необходимостью полной
отдачи автомобилей в периоды, когда перевозки не затруднены распутицей или
другими причинами.
Как таковое планирование ТО в АТЦ не
проводиться уже долгое время. Все мероприятия по проведению ТО возложены на
механика, и зависит от наличия времени, т.к. загруженность каждой машины очень
большая. На предприятии ощущается нехватка транспорта, поэтому планирование ТО
затруднено. Часто получается так, что проведение ТО совпадает с проведением
ремонта. Наличие налаженной системы ТО возможно только при хорошей оснащенности
механизированным инструментом и наличием диагностического оборудования. На
сегодняшнее время труд водителей и слесарей - ручной, диагностическое
оборудование вообще отсутствует, поэтому говорить о налаженной системе ТО не приходится.
Кроме того, нехватка оборудования,
производственных площадей и квалифицированных кадров не позволяют в полной
степени обеспечить потребности предприятия в техническом обслуживании и ремонте
своего парка машин. Данные недостатки будут исправлены в дипломном проекте.
1. Характеристика
деятельности ООО ТК «Карел-Импекс»
.1 Общие сведения о
предприятии
ООО ТК «Карел-Импэкс» расположено по
адресу: город Петрозаводск, улица Боровая 10А.
Данное предприятие работает в
Карелии с 1993 года, занимаясь обеспечением предприятий и населения
аккумуляторными батареями, автошинами, запасными частями, маслами, смазками,
тосолом, электролитом, автокосметикой, слесарным инструментом и различными
эксплуатационными материалами. В 2002 году ООО ТК «Карел-Импэкс» в добровольном
порядке произвело сертификацию услуг по реализации товаров, тем самым,
предъявив себе высокие требования в области обслуживания покупателей.
Основной объем продаж дает
реализация различных видов бензина и дизельного топлива. Предприятие владеет восемью
автозаправочными станциями в черте города, пятью в районах города и нефтебазой
за городом. Топливо клиентам отпускается через сеть АЗС, оптовым покупателем
производится доставка бензовозами ООО ТК «Карел-Импэкс» различного объема,
наиболее крупным оптовым покупателям топливо поставляется железнодорожными
цистернами. Для удобства покупателей вводятся новые виды оплаты: пластиковые
карты, талоны. На автозаправочных станциях работают магазины по продаже масел,
смазок, тосола, тормозной жидкости, фильтров, слесарного инструмента. Оптовым
покупателям предоставляются различные льготы: отсрочки оплат, скидки,
безналичная форма оплаты.
Один из видов деятельности -
реализация аккумуляторных батарей для автомобилей, тракторов и мототехники. В
продаже более 100 типов аккумуляторов практически всех российских заводов и
ряда импортных. Помимо основного вида деятельности предприятие занимается
ремонтом и диагностикой подвески для легковых автомобилей и содержит шиномонтаж
для грузовых и легковых автомобилей.
В шиномонтаже производится разборка
и сборка колес, их балансировка, ремонт покрышек, а также восстановление
дисков, то есть их обкатка.
В пункте технического сервиса по
ремонту и диагностике подвески также выполняются операции по установке
развала-схождения.
Структура ООО ТК «Карел-Импэкс»
представлена на рисунке 1.1
Рисунок 1.1 - Структура ООО ТК
«Карел-Импэкс»
Среднегодовая численность рабочих за
отчетный период 2009 года составила 157 человек.
Бухгалтерская отчетность за 2009 год
сформирована организацией, исходя из действующих в Российской Федерации правил
бухгалтерского учета и отчетности. Бухгалтерский учет на предприятии
осуществляется в соответствии с приказом №488 от 27.12.2004 «Об учетной
политики организации».
1.2 Характеристика
автотранспортного цеха
Автотранспортный цех является важным
структурным подразделением ООО ТК «Карел-Импэкс», выполняющим грузоперевозки,
обеспечивающие нормальную жизнедеятельность предприятия.
Виды деятельности автотранспортного
цеха:
а) перевозка нефтепродуктов;
б) перевозка грузов;
в) дорожные работы (строительство,
ремонт, содержание дорог, расчистка от снега
дорог и прилегающих территорий);
г) ТО и Р подвижного состава и
инструмента;
д) хранение подвижного состава и
инструмента.
На 1-ое января 2010 года
автотранспортный цех располагал следующими марками подвижного состава, которые
приведены в таблице 2.1
Таблица 1.1 - Транспортные средства
ООО ТК «Карел-Импэкс»
|
марка автомобиля
|
год выпуска
|
назначение
|
емкость цистерны
|
прочее
|
|
1
|
ГАЗ 3307
|
2002
|
АТЗ - 4,2
|
4245
|
насос
|
|
2
|
ГАЗ 3307
|
2003
|
АТЗ
|
4965
|
насос
|
|
3
|
ЗИЛ 13080
|
1982
|
АЦ - 4,2
|
6130
|
насос
|
|
4
|
МАЗ 5337
|
2001
|
АТЗ
|
10228
|
насос
|
|
5
|
КАМАЗ 53229с
|
2004
|
АТЗ
|
17025
|
2-х секц.
|
|
6
|
МАЗ 53366
|
1999
|
АТЗ
|
11050
|
2-х секц.
|
|
7
|
МАЗ 53366
|
1999
|
АТЗ
|
11030
|
2-х секц.
|
|
8
|
МАЗ 53366
|
2000
|
АТЗ
|
11030
|
2-х секц.
|
|
9
|
МАЗ 54323-032
|
2003
|
Сед. тягач
|
-
|
спальник
|
|
10
|
МАЗ 543203
|
2003
|
Сед. тягач
|
-
|
спальник
|
|
11
|
МАЗ 630308-02
|
2003
|
Груз. борт.
|
-
|
спальник
|
|
12
|
МАЗ 543240-21
|
2003
|
Груз, тягач седельный
|
-
|
спальник
|
|
13
|
Москвич ИЖ-2717
|
2004
|
Фургон грузовой
|
-
|
-
|
|
14
|
Москвич ИЖ-2717
|
2004
|
Фургон грузовой
|
-
|
-
|
|
15
|
Трактор Беларусь
|
|
-
|
-
|
-
|
|
16
|
Фольксваген LT-35
|
2000
|
Фургон грузовой
|
-
|
-
|
|
17
|
ПЦ ГКБ-817
|
1988
|
прицеп цистерна
|
5588
|
-
|
|
18
|
ПЦ - 6,7
|
1979
|
прицеп цистерна
|
6719
|
-
|
|
19
|
ПЦ
|
1981
|
прицеп цистерна
|
6700
|
-
|
|
20
|
НЕФАЗ 9674
|
1989
|
п / прицеп цистерна
|
16525
|
насос
|
|
21
|
ОДАЗ 9674
|
1989
|
п / прицеп цистерна
|
16560
|
насос
|
|
22
|
МАЗ 83781-012
|
2002
|
прицеп
|
-
|
-
|
|
23
|
МАЗ 9758 - 30
|
2000
|
п / прицеп с бортом
|
-
|
-
|
|
24
|
НЕФАЗ 9674
|
1989
|
п/прицеп цистерна
|
16480
|
насос
|
1.3 Структура управления
автотранспортным цехом
Во главе автотранспортного цеха
стоит начальник цеха, который осуществляет руководство
производственно-хозяйственной деятельности объекта.
Обеспечивает выполнение
производственного плана, проводит работы по совершенствованию организации труда
и производства, его технологии, механизации и автоматизации. Осуществляет
подбор рабочих и служащих, расстановку и целесообразное использование их.
Контролирует соблюдение работниками производственной и трудовой дисциплины.
Старший механик гаража отвечает за
технологическую готовность подвижного состава, учет наличия и работ машин,
организацию технического обслуживания и ремонта подвижного состава, хранение и
выход техники на линию. Контролирует и ведет учет за расходом топлива,
запасными частями и горюче-смазочными материалами. Принимает участие в
расследовании аварий оборудования и дорожно-транспортных происшествиях.
Диспетчер подчиняется
непосредственно начальнику цеха. В его обязанности входит организовывать и
контролировать работу автомобилей на линии и выполнении ими сменного плана и
заданий по перевозкам. Принимает меры по ликвидации сверхнормативных простоев
автомобилей по технологическим причинам. Заполняет, выдает и принимает путевые
листы и другие документы, отражающие выполненную работу, проверяет правильность
их выполнения. Диспетчерская служба производит выдачу и обработку путевых
листов и рабочих табелей.
Медицинская сестра осуществляет
первичный медицинский осмотр перед выездом их на линию.
Все данные о выходе подвижного
состава на линию, его ремонте, потребности в горюче-смазочных материалах и
запасных частях передаются диспетчеру.
1.4 Организация
ежедневного приема и выпуска подвижного состава
Как уже отмечалось, контроль по
выпуску техники на линию должен осуществлять мастер по выпуску техники на линию
вместе с водителем транспортного средства, на специально оборудованном КПП. Так
же должен осуществляться и прием техники с линии. И если требуется, мастер
должен его направлять на ремонт.
В реальности дело обстоит так:
каждый водитель сам осуществляет контроль состояния техники перед выходом на
линию, т.к. парк машин очень большой, то физической возможности проверить всю
технику перед выходом на линию у мастера нет. Осуществлять качественный
контроль состояния техники водители так же не могут, т.к. работа предприятия
осуществляется в четыре смены (т.е. круглосуточно), поэтому времени между
сменами для проверки транспортного средства остается немного.
Записи в путевом листе (время
прибытия, показания спидометра, наличие топлива и сообщение о готовности
транспортного средства к следующей смене) так же осуществляют водители и сдают
диспетчеру. Диспетчеры обрабатывают путевые листы и делают соответствующие
отметки в журнале «Выход подвижного состава на линию». Мастер же осуществляет
выборочный контроль водителей по путевым листам. Так же мастер составляет акты
о повреждении автомобиля с перечислением причин и характера поломки, а так же
лиц, ответственных за нее.
Если водитель обнаружил
неисправность, то после того как он сообщил об этом диспетчеру и механику, он
приступает к ремонту транспортного средства. Данные о наличии неисправности
автомобиля заносятся в журнал «Учета неисправностей», по которому мастер
проверяет их устранение при выпуске транспортного средства на линию. Так же по
данному журналу можно вести заметки о характерных неисправностях транспортных
средств по сезонам и в дальнейшем делать прогнозы по требуемым запчастям. Но
этого не делается, т.к. запасы запчастей давно не делаются, они приобретаются
по мере надобности.
Мойка автомобилей на территории
транспортного цеха, как таковая отсутствует, наружную мойку водители
осуществляют только в теплое время, поливая машину из шланга.
Предпусковая подготовка автомобилей
осуществляется электроподогревом, если требуется, т.к. большинство машин
хранятся в теплых боксах. Те машины, которые хранятся на открытых стоянках,
прогреваются проливом горячей воды через систему охлаждения.
1.5 Организация
технического обслуживания и ремонта подвижного состава
Цель технического обслуживания -
снижение интенсивности изнашивания деталей, выявление и предупреждение
неисправностей.
Периодичность и трудоемкость работ
по ТО-1 и ТО-2 должны регламентироваться в соответствии с нормативными
документами. Предупреждение большинства характерных неисправностей автомобилей
и их своевременное устранение в большей мере связаны с проведением работ ТО-1 и
ТО-2.
Часто получается так, что проведение
ТО совпадает с проведением ремонта. В ближайшем будущем предполагается
планирование ТО по личным учетным карточкам автомобилей, которые пытаются
внедрить на АТЦ в электронном виде. Но опять таки же систему можно наладить
только при хотя бы небольшом обновлении парка.
При обновлении автопарка также
требуется попробовать перейти на более однородные марки транспорта, хотя это и сложно
при такой разнообразной деятельности предприятия.
Так же руководство АТЦ видит
улучшение организации ТО и ремонта в переподготовке персонала. Объясняет оно
это тем, что на сегодняшний день, когда идет постепенное «омоложение» штата, на
предприятие приходят люди совершенно не подготовленные и не имеющие опыта, хотя
и с техническим образованием. Поэтому требуется найти способ работы с молодыми
работниками, такой чтобы свести к минимуму время освоения практической части их
профессии.
Одним из предложений является
введением так называемых бланков, по которым будут выполняться те или иные
работы. В этом бланке будут указаны работы, которые нужно провести при том или
ином виде ТО или ремонте агрегата (узла), а так же порядок их выполнения. Таким
образом, даже работник, имеющий небольшой стаж сможет проделать эти работы
более самостоятельно и более быстро набраться опыта. Остается только ввести эти
бланки для каждого вида ТО по каждой марке машины и ремонт по каждому агрегату.
Наличие налаженной системы ТО возможно
только при хорошей оснащенности механизированным инструментом и наличием
диагностического оборудования. На сегодняшнее время труд водителей и слесарей -
ручной, диагностическое оборудование вообще отсутствует, поэтому говорить о
налаженной системе ТО еще рано.
Проведение текущего ремонта
подвижного состава осуществляется в зоне TP по необходимости
агрегатным и индивидуальным методами. На сегодняшнее время существует небольшой
обменный фонд, но это почти только агрегаты КамАЗ и ЗИЛ. Создание полного обменного
фонда усложняет большая разнообразность автомобильного парка, кроме этого много
специализированных машин: самосвалы, автокраны, топливозаправщики и др.
Это требует от обслуживающего
персонала высокой квалификации, много соответствующего оборудования и
приспособлений для разных марок машин.
Как уже говорилось выше, необходимо
перейти на более однородный парк машин, что, несомненно, облегчит снабжение
запчастями, горюче-смазочными материалами, улучшит качество ремонта, уменьшит
время его проведения и затраты.
1.6 Основное
технологическое оборудование
автотранспортный технологический цех
подвижный
Основное технологическое
оборудование приведено в таблице 1.2
Таблица 1.2 - Основное
технологическое оборудование ООО ТК «Карел-Импекс»
|
Наименование
|
Количество, шт.
|
Тип, марка
|
|
Зона ТО и Р
|
|
Гидравлический пресс
|
1
|
-
|
|
Кран мостовой
|
1
|
МК - 5
|
|
Ванна для мойки агрегатов
|
1
|
Собств. изгот.
|
|
Вертикально-сверлильный станок
|
1
|
-
|
|
Аппарат электродуговой сварки
|
1
|
-
|
|
Электрический наждак
|
1
|
-
|
|
Компрессор
|
1
|
ЛБП5
|
|
Установка для проверки и очистки свечей зажигания
|
1
|
-
|
|
Участок шиномонтажа легковых автомобилей
|
|
Двухстоечный электрогидравлический тросовый подъемник
|
1
|
П105МУХЛ4 (3 тонны)
|
|
Монтажный станок
|
1
|
-
|
|
Станок балансировочный
|
1
|
F48VN
|
|
Компрессор
|
1
|
ЛБП5
|
|
Двухстоечный электрогидравлический подъемник
|
1
|
ПЛД - 5
|
|
Четырехстоечный электрогидравлический подъемник
|
1
|
-
|
|
Комплекс для проверки развала - схождения
|
1
|
NPF - 5
|
|
Электрогидравлический пресс
|
1
|
SICE A - 939
|
|
Полуавтоматический сварочный аппарат
|
1
|
Тритон - 240
|
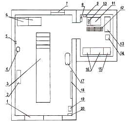
1.7 Планировка участка
-ворота; 2-ванна для мытья деталей;
3-осмотровая канава; 4-умывальник; 5-электросушитель; 6-шкафы для хранения
инструмента; 7-окно; 8-медицинская аптечка; 9-щит для пожарного инвентаря, ящик
с песком; 10-сверлильный станок; 11-слесарный верстак; 12-подставка под ноги;
13-шкаф для хранения узлов и деталей; 14-место отдыха; 15-шкаф для одежды;
16-шкаф для приспособлений; 17-электрический наждак; 18-стеллаж для узлов и
деталей; 19-сварочный аппарат; 20-электрический рубильник
2. Организация
технического обслуживания и ремонта подвижного состава ООО ТК «Карел-Импэкс»
.1 Расчет годовой
программы для автомобилей
Исходные данные:
Категория условий эксплуатации: 70%
- III;
30% - IV.
Климатические условия: холодный климат,
автомобили эксплуатируются в Карелии.
Режим работы подвижного состава:
число рабочих дней в году - 305;
среднее время в наряде - 7,2 часа.
Таблица 2.1 - Характеристика
подвижного состава
|
Марка а/м
|
Кол-во
|
модификация
|
Пробег с начала эксплуатации, тыс. км
|
|
ГАЗ 3307
|
1
|
АТЗ - 4,2
|
240
|
|
ГАЗ 3307
|
1
|
АТЗ
|
200
|
|
ЗИЛ 13080
|
1
|
АЦ - 4,2
|
250
|
|
МАЗ 5337
|
1
|
АТЗ
|
390
|
|
КамАЗ 53229с
|
1
|
АТЗ
|
360
|
|
МАЗ 53366
|
1
|
АТЗ
|
370
|
|
МАЗ 53366
|
1
|
АТЗ
|
320
|
|
МАЗ 53366
|
1
|
АТЗ
|
330
|
|
МАЗ 5432303
|
1
|
Сед. тягач
|
340
|
|
МАЗ 543203
|
1
|
Сед. тягач
|
270
|
|
МАЗ 630308-02
|
1
|
Груз. борт.
|
320
|
|
МАЗ 543240-21
|
1
|
Груз, тягач седельный
|
410
|
|
Москвич ИЖ-2717
|
1
|
Фургон грузовой
|
240
|
|
Москвич ИЖ-2717
|
1
|
Фургон грузовой
|
320
|
|
Трактор Беларусь
|
1
|
-
|
240
|
|
Фольксваген LT-35
|
1
|
Фургон грузовой
|
250
|
|
ПЦ ГКБ-817
|
1
|
прицеп цистерна
|
210
|
|
ПЦ - 6,7
|
1
|
180
|
|
ПЦ
|
1
|
прицеп цистерна
|
190
|
|
НЕФАЗ 9674
|
1
|
п / прицеп цистерна
|
310
|
|
ОДАЗ 9674
|
1
|
п / прицеп цистерна
|
240
|
|
МАЗ 83781-012
|
1
|
прицеп
|
310
|
|
МАЗ 9758 - 30
|
1
|
п / прицеп с бортом
|
340
|
|
НЕФАЗ 9674
|
1
|
п/прицеп цистерна
|
250
|
Периодичность выполнения технических
обслуживаний
Периодичность проведения технических
обслуживаний рассчитывается по формуле:
LТО = LнТО×k, (2.1)
где LнТО - нормативный пробег до
очередного ТО,
k - результирующий коэффициент корректирования,
k = k1×k3,
где k1 - коэффициент, зависящий от условий эксплуатации;
k3 - коэффициент, зависящий
от природно-климатических условий.
k3 = 0,9 - для холодного
климата, [8] табл. 2.10
k1 определяется по формуле:
k1 = k31 × 0,7 + k41× 0,3,
где k31 - коэффициент для
третьей категории дорог, k31= 0,8 [8] табл. 2.8
k41 - коэффициент для четвертой категории дорог, k41= 0,7 [8] табл. 2.8
k1 = 0,8×0,7 + 0,7 × 0,3 = 0,77
Результирующий коэффициент:
k = 0,77 × 0,9 = 0,693
Скорректированная периодичность ТО-1
и ТО-2 для автомобиля ГАЗ-3307:
LнТО-1 = 3000 км, [8] табл. 2.1
LнТО-2 = 12000 км [8] табл. 2.1
LТО-1 = 3000 × 0,693 = 2079 км
LТО-2 = 12000 × 0,693 = 8316 км
Аналогично проводим расчеты для
других марок и сводим в таблицу 2.2.
Пробег до капитального ремонта
Пробег до КР определяется по формуле:
LКР=LнКР×k, (2.2.)
где LнКР - нормативный пробег до
КР,
k - результирующий коэффициент корректирования,
k=k1×k2×k3, (2.3)
где k2 -коэффициент, учитывающий модификацию подвижного состава и
организацию его работы.
Для автомобиля ГАЗ-3307:
LнКР = 250000 км [8] табл. 2.3
k1 = 0,77 [8] табл. 2.8
k2 = 0,9 [8] табл. 2.9
k3= 0,8 [8] табл. 2.10
Результирующий коэффициент:
k = 0,77 × 0,9 × 0,8 = 0,55
Пробег до КР:
LКР = 250000 × 0,55 = 137500 км
Аналогично проводим расчеты для
других марок и сводим в таблицу 2.2.
Трудоемкость технического
обслуживания
Трудоемкость технического
обслуживания определяется по формуле:
tТО=tнТО×k, (2.4)
где tнТО - нормативная
трудоемкость ТО,
k - результирующий коэффициент корректирования,
k=k2×k5, (2.5)
где - коэффициент, учитывающий
количество автомобилей на предприятии, при количестве автомобилей менее 50 k5 = 1,2.
Скорректированная трудоемкость ТО
для автомобиля ГАЗ-3307:
k2 = 1,15 [8] табл. 2.9
tТО-1 = 2,2 чел.×ч [8] табл. 2.2
tТО-2 = 9,1 чел.×ч [8] табл. 2.2
Результирующий коэффициент:
k = 1,15× 1,2 = 1,38
tТО-1 = 2.2× 1,38 = 3,0 чел.×ч
tТО-2 = 9,1 ×1,38 = 12,56 чел.×ч
Согласно § 2.11.2 [8] сезонное
обслуживание для холодного климата составляет 30% от трудоемкости ТО-2.
TСО= 0,3× tТО-2 = 0,3 × 12,56 = 3,77 чел.×ч
Аналогично проводим расчеты для
других марок и сводим в таблицу 2.2.
Трудоемкость текущего ремонта
Трудоемкость текущего ремонта
рассчитывается по формуле:
tТР=tнТР×k, (2.6)
где tнТР - удельная трудоемкость
текущего ремонта подвижного состава на 1000 км пробега,
k - результирующий коэффициент корректирования трудоемкости ТР.
k=k1×k2×3×k4×k5, (2.7)
где k4 - коэффициент, зависящий от пробега с начала эксплуатации.
Значение коэффициента выбирается по
таблице 2.11 [8]
Скорректированная трудоемкость ТР
для автомобиля ГАЗ-3307:
Определим коэффициент k4 из соотношения: LКР / LнКР =125000/250000 = 0,5,
По таблице выбираем коэффициент k4= 1,0.
k1 = 1,2 × 0,7 + 1,4 × 0,3 = 1,26
tнТР = 3,7 чел.×ч
k = 1,26 × 1,15 × 1,2 × 1,0 × 1,2 = 2,08
tТР = 3,7 × 2,08 = 7,7 чел.×ч
Аналогично проводим расчеты для
других марок и сводим в таблицу 2.2.
Расчет количества технических
воздействий за цикл
Количество ТО-2:
, (2.8)
Количество ТО-1:
, (2.9)
Для автомобиля ГАЗ-3307:
ед.
ед.
Аналогично проводим
расчеты для других марок и сводим в таблицу 2.2.
Количество дней
эксплуатации за межремонтный цикл
, (2.10)
где Lсс - среднесуточный пробег.
Для автомобиля ГАЗ-3307:
Аналогично проводим
расчеты для других марок и сводим в таблицу 2.2.
Количество дней простоя
автомобилей в ТО и ремонте
, (2.11)
где dКР - норма простоя в капитальном ремонте,
dТО и ТР - норма простоя в
ТО и ТР в днях на 1000 км пробега, для всех марок автомобилей dТО и ТР = 0,5 дня.
Для автомобиля ГАЗ-3307:
дня
Аналогично проводим
расчеты для других марок и сводим в таблицу 2.2.
Коэффициент технической
готовности
, (2.12)
Для автомобиля ГАЗ-3307:
Аналогично проводим
расчеты для других марок и сводим в таблицу 2.2.
Годовой пробег
автомобиля
Lг=
Дрг × Lсс × Ктг, (2.13)
где Дрг - дни
работы в году, Дрг = 305 дней
Для автомобиля ГАЗ-3307:
Lг=
305 × 250 × 0,866 = 66033 км
Аналогично проводим
расчеты для других марок и сводим в таблицу 2.2.
Коэффициент цикличности
, (2.14)
Для автомобиля ГАЗ-3307:
Аналогично проводим
расчеты для других марок и сводим в таблицу 2.2.
Количество технических
воздействий на один автомобиль в год
Количество ТО-2:
г
ц
N2
= N2 × Кц = 14 ×
0,53 = 7,42 ед., принимаем 7 ед.
Количество ТО-1:
г
ц
N1
= N1 × Кц = 45 ×
0,53 = 23,85 ед., принимаем 24 ед.
Аналогично проводим
расчеты для других марок и сводим в таблицу 2.2.
Ежедневное обслуживание
(ЕО) выполняется перед каждой рабочей сменой.
Сезонное обслуживание
(СО) проводится два раза в году.
Расчет годовой
трудоемкости работ
Трудоемкость ТО-1:
г
Т1 = t1 × N1 × n, (2.15)
Трудоемкость ТО-2:
г
Т2 = t2 × N2 × n, (2.16)
Трудоемкость СО:
ТСО = tСО ×
2 × n, (2.17)
Трудоемкость ТР:
, (2.18)
где n - количество машин данной марки.
Для автомобиля ГАЗ-3307:
Т1 = 3,0 × 24 × 2 = 144 чел.×ч
Т2 = 12,56 × 7×2 = 175,84 чел.×ч
ТСО = 3,77 × 2 × 2 = 15,08 чел.×ч
чел.×ч
Аналогично проводим
расчеты для других марок и сводим в таблицу 2.2.
Расчет трудоемкости ТО и
ТР на 1000 км прицепного состава
н
tПЦ
= tПЦ × k5, (2.19)
н
где tПЦ - удельная трудоемкость ТО и ТР данного вида прицепа
Для прицепа ПЦ - 6,7:
н
t2ПЦ
= 4,5 чел.×ч
н
tТРПЦ
= 1,4 чел.×ч
Тогда:
t2ПЦ
= 4,5 × 1,2 = 5,4 чел.×ч
tТРПЦ
= 1,4 × 1,2 = 1,68 чел.×ч
tСОПЦ
= 0,3 × t2ПЦ = 0,3 × 5,4 = 1,62 чел.×ч
Аналогично рассчитываем
для других прицепов и результаты сводим в таблицу 2.2.
Определение трудоемкости
работ ТО и ТР прицепного состава за год
г
ТПЦ = tПЦ × NПЦ, (2.20)
г
где NПЦ - число технических воздействий на прицеп за год
г
NПЦ
= АПЦ × N × КПЦ, (2.21)
где АПЦ -
списочное количество прицепов данной модификации,
N
- количество технических воздействий за цикл,
КПЦ -
коэффициент перехода от цикла к году.
Для прицепа ПЦ - 6,7:
Периодичность и
количество технического обслуживания прицепов и полуприцепов равны
периодичности и количеству технических обслуживаний их тягачей.
Трудоемкость ТО-2:
Т2ПЦ = 5,4 × 7 = 37,8 чел.×ч
Трудоемкость ТР:
чел.×ч
Аналогично рассчитываем
для других прицепов и результаты сводим в таблицу 3.2.
Таблица 2.2 - Годовая
программа по выполнению работ по ТО и ТР подвижного состава
|
Годовая трудоемкость, чел.×ч
|
9
|
144 175,24 15,08 1016,9
|
82,5 85,33 7,32 497,84
|
55,2 69,0 8,28 485,76
|
70,38 100,08 10,0 739,2
|
187,68 207,0 6,84 1639,44
|
|
Скорректированная норма трудоемкости
|
8
|
3,0 12,56 3,77 7,7/1000
|
3,75 12,19 3,66 7,94/1000
|
3,68 13,8 4,14 11,5/1000
|
3,91 16,68 5,0 14,0/1000
|
3,68 13,8 4,14 11,5/1000
|
|
Кол-во машин
|
7
|
2
|
1
|
1
|
1
|
3
|
|
Количество технических воздействий за год
|
6
|
24 7 2 66033
|
22 7 2 62700
|
15 5 2 42240
|
18 6 2 52800
|
17 5 2 47520
|
|
Коэффициент цикличности
|
5
|
0,53
|
0,38
|
0,24
|
0,32
|
0,27
|
|
Скорректированная периодичность ТО, км
|
4
|
2079 8316 - -
|
2079 8316 - -
|
2079 8316 - -
|
2079 8316 - -
|
2079 8316 - -
|
|
Количество технических воздействий за цикл
|
3
|
45 14 - 137500
|
58 19 - 165000
|
63 20 - 176000
|
58 19 - 165000
|
63 20 - 176000
|
|
Вид технического воздействия
|
2
|
ТО-1 ТО-2 СО ТР
|
ТО-1 ТО-2 СО ТР
|
ТО-1 ТО-2 СО ТР
|
ТО-1 ТО-2 СО ТР
|
ТО-1 ТО-2 СО ТР
|
|
Марка автомобиля
|
1
|
ГАЗ -3307
|
ЗИЛ-130-80
|
МАЗ-5337
|
КамАЗ-53229с
|
МАЗ-53366
|
2.2 Расчет трудоемкости
работ по РММ
По результатам таблицы 2.2:
Трудоемкость технического
обслуживания автомобилей - 2334,91 чел.×ч
Трудоемкость текущего ремонта -
8353,16 чел.×ч
Трудоемкость технического
обслуживания прицепного состава - 405,38 чел.×ч
Трудоемкость текущего ремонта
прицепного состава - 1482,82 чел.×ч
Итого основных затрат - 12576,27
чел.×ч
На изготовление и ремонт запасных
частей принимаем 10% от основных затрат -
,6 чел.×ч
На ремонт и изготовление инструмента
5% - 628,8 чел.×ч
На хозяйственные работы 25% - 3144,0
чел.×ч
Всего затрат: 17606,67 чел.×ч
Расчет производственных участков
Объем ТО и ТР распределяется по
месту его выполнения, по технологическим и организационным признакам. ТО и ТР
выполняются на постах и в производственных участках.
К постовым работам относятся работы
по ТО и ТР, выполняемые непосредственно на автомобиле (моечные, уборочные,
смазочные, крепежные, диагностические и др.) Работы по проверке и ремонту
узлов, механизмов и агрегатов, снятых с автомобилей, выполняются на участках
(агрегатном, слесарно-механическом, электромеханическом и др.).
В ремонтной зоне предусматриваются
следующие участки:
диагностический;
агрегатный;
слесарно-механический;
участок ремонта электрооборудования;
аккумуляторный;
участок ремонта топливной
аппаратуры;
участок ремонта гидроаппаратуры;
шиномонтажный;
обкатки двигателей;
медницко-жестянницкий;
столярно-обойный;
зона ТО и ТР.
Распределение трудозатрат по
участкам
Таблица 3.3 - Распределение работ по
участкам
|
Виды работ
|
Процент распределения
|
Итог
|
|
Разборочно-сборочные
|
35,0
|
6162,38
|
|
Слесарно-механические
|
10,0
|
1760,67
|
|
Станочные
|
7,5
|
1320,5
|
|
Ремонт агрегатов и узлов
|
17,0
|
2993,13
|
|
Электротехнические
|
6,6
|
1162,0
|
|
Ремонт топливной и гидроаппаратуры
|
5,6
|
985,97
|
|
Шиномонтажные и кузовные
|
2,7
|
475,38
|
|
Аккумуляторные
|
2,2
|
387,35
|
|
Медницко-жестяницкие
|
5,8
|
1021,18
|
|
Столярно-обойные
|
2,2
|
387,35
|
|
Сварочные
|
2,4
|
422,56
|
|
Кузнечные
|
3,0
|
528,2
|
|
100
|
17606,67
|
Расчет годового фонда времени
Годовой фонд рабочего времени одного
рабочего:
ФНР = (Дк - Дв
- Дп - Дотп - Дбол - Дпр) × t, (2.22)
где Дк = 365 -
календарные дни года,
Дв = 104 - количество
выходных дней в году (40-часовая рабочая неделя),
Дп = 10 - количество
праздничных дней в году,
Дотп = 28 - дни отпуска,
(с вредными условиями труда 36 дней)
Дбол - дни болезни, (8
дней с нормальными условиями, 10 дней с вредными условиями работы),
Дпр = 2 - дни прочих
оплачиваемых неявок
t = 8 час. - продолжительность смены.
ФНР = (365 - 104 - 10 -
28 - 8 - 2) ×
8 = 1704 часа
На работах с вредными условиями
труда:
ФНР = (365 - 104 - 10 -
36 - 10 - 2) ×
8 = 1624 часа
Номинальный фонд рабочего времени
оборудования:
ФНР = (Дк - Дв
- Дп) × t ×
n,
(2.23)
где n = 1 - количество смен работы.
ФНР = (365 - 104 - 10) × 8 × 1 = 2008 часов
Действительный фонд рабочего времени
оборудования:
ФДО = ФНР × ηо, (2.24)
где ηо = 0,95 - коэффициент
использования оборудования.
ФДО = 2008 × 0,95 = 1907 часов
Расчет количества оборудования
По назначению оборудование
подразделяется на производственное, вспомогательное, подъемно-транспортное и
энергетическое.
Производственное оборудование - это
станки, стенды, устройства и другое оборудование, занятое непосредственно при
выполнении технологических процессов по изготовлению и восстановлению деталей и
сборочных единиц, а также при сборке и испытании агрегатов.
Вспомогательное оборудование - это
оборудование для производства и ремонта приспособлений и инструмента, для
ремонта и обслуживания производственного оборудования, санитарно-техническое.
Подъемно-транспортное оборудование
предназначено для механизации трудоемких работ.
Энергетическое оборудование
предназначено для обеспечения производственного процесса предприятия энергией.
Агрегатный участок
На участке предусматриваем
однокамерную периодического действия моечную установку.
Количество моечных установок
рассчитывается по формуле:
, (2.25)
где Q - общая масса деталей, подлежащих мойке в год.
Q = 0,3 × GСР × N
где GСР = 15000 кг - средняя масса машин по заданию
Q = 0,3 × 15000 × 16 = 72000 кг
q = 500 кг - масса одной закладки,
t = 0,5 ч - время мойки одной закладки,
η
= 0,8 - коэффициент использования установки по времени.
72000 ×0,5
SМД =---------------------=
0,04
500×1907×0,8
Принимаем количество моечных
установок - 1 шт.
Рассчитываем количество стендов по
ремонту агрегатов:
ТРЕМ.АГР.
SСТ =--------------, (3.26)
ФДО × η
где ТАГР. - трудоемкость ремонта
агрегатов автомобилей
η = 0,8 - коэффициент использования стенда по времени
2993,13
SСТ =----------------= 1,96
1907×0,8
Принимаем количество стендов по
ремонту агрегатов - 2 шт.
Стенды распределяются по видам
агрегатов:
Двигатели-1 стенд
Коробки передач - 1 стенд
Обкатка двигателей
Количество стендов для обкатки
рассчитываем по формуле:
n ×
t ×
c
SОБ =-------------, (2.27)
ФДО × η
где n = 16 - количество двигателей,
подлежащих обкатке в год. Принимаем равным количеству автомобилей на
предприятии;
t = 3 ч - время обкатки одного двигателя;
с = 1,1 - коэффициент, учитывающий
повторную обкатку;
η
= 0,9 - коэффициент использования стенда по времени
16 × 3 × 1,1
SОБ =--------------------=
0,03
1907 × 0,9
Предусматриваем 1 универсальный
обкаточно-тормозной стенд.
Слесарно-механический участок
Количество металлорежущих станков и
постов для выполнения слесарных работ рассчитываем по формулам:
Тстан
SСТАН =----------, (2.28)
ФДО × η
где Тстан - трудоемкость
станочных работ,
Тстан = 2320,5 чел.×ч
η
= 0,9 - коэффициент использования станка по времени
2320,5
SСТАН =-----------------=
1,35
1907 × 0,9
Принимаем 2 металлорежущих станка.
Станки распределяются по типам:
токарные - 1 станок
сверлильные - 1 станок
Кузнечно-сварочный участок
Количество молотов рассчитывается по
формуле:
Ткуз-мех
SМОЛ=--------------, (2.29)
ФДО × η
где Ткуз-мех -
трудоемкость кузнечно-механических работ,
η
= 0,9 - коэффициент использования поста по времени
Ткуз-мех = 0,7× Ткуз
Ткуз-мех = 0,7 × 528,2 = 369,74 чел.×ч
369,74
SМОЛ =-------------= 0,22
1907 ×0,9
Предусматриваем 1 молот
пневматический средних размеров.
Зона ТО и ТР автомобилей
Рассчитываем количество постов:
Т ТО
SТО=--------------------,
(2.30)
ФДО × Рn × η
Т пост
SТР=--------------------,
(2.31)
ФДО × Рn × η
где SТО; SТР - количество постов для
проведения ТО и ТР автомобилей соответственно;
Т ТО = 2740,29 чел.×ч - трудоемкость работ
по ТО автомобилей и прицепного состава,
Т ТР = 9835,98 чел.×ч - трудоемкость работ
по ТР автомобилей и прицепного состава
Т пост = трудоемкость
постовых работ,
Рn = 3 - количество
рабочих на посту,
η
= 0,8 - коэффициент использования поста по времени
2740,29
SТО=----------------------=
0,6
1908 × 3 × 0,8
Принимаем 1 пост для ТО автомобилей.
9835,98
SавтТР=---------------------= 2,1
1908 × 3 × 0,8
Принимаем 2 поста для ТР автомобилей
и прицепного состава
Сравнив расчеты по требуемому
оборудованию с уже имеющимся оборудованием в распоряжении гаража, можно
сказать, что в первую очередь требуется организовать отделения:
медницко-жестяницкое;
диагностическое;
ремонта гидроаппаратуры;
столярно-обойное.
Необходимо оснастить полностью
требуемым оборудованием зоны ТО и ТР. На данный момент в хорошем состоянии
находятся только станочное отделение.
Проектный состав оборудования по
отделениям и участкам сводим в таблицу 3.4.
Таблица 2.4. - Проектный состав
технологического оборудования
|
Наименование отделения и оборудование
|
Марка
|
Количество, шт.
|
Габариты в плане, мм
|
Площадь единицы, м2
|
Занимаемая площадь, м2
|
Установленная мощность кВт
|
|
Пост диагностики
|
|
Прибор для проверки переднего моста
|
НИИАТ-1
|
1
|
280×180
|
0,05
|
0,05
|
-
|
|
Комплект приборов для проверки тормозов
|
К-482
|
1
|
515×365
|
0,188
|
0,188
|
-
|
|
Прибор для проверки рулевого управления
|
К-187
|
1
|
190×136
|
0,026
|
0,026
|
-
|
|
Прибор для проверки технического состояния карданных валов
|
КИ-8902А
|
1
|
переносной
|
-
|
-
|
-
|
|
Мотор-тестер
|
МТ-5
|
1
|
переносной
|
-
|
-
|
-
|
|
Прибор для определения тех. состояния ЦПГ
|
К69М
|
1
|
переносной
|
-
|
-
|
-
|
|
Верстак
|
ОРГ-14-68-01-070А
|
1
|
2800×800
|
1,92
|
1,92
|
-
|
|
Стол для переносного оборудования
|
ПТБ
|
1
|
1000×600
|
0,6
|
0,6
|
-
|
|
Шкаф для оборудования
|
ПТБ
|
1
|
1000×600
|
0,6
|
0,6
|
-
|
|
ИТОГО:
|
|
|
|
|
3,384
|
|
|
Зона ТО и ТР
|
|
Подставка под двигатель МАЗ
|
ЛТ-6
|
1
|
1000×700
|
0,7
|
0,7
|
-
|
|
Подставка под двигатель ЗИЛ
|
ЛТ6
|
2
|
1000×700
|
0,7
|
1,4
|
-
|
|
Подставка под двигатель КамАЗ
|
ЛТ6
|
1
|
1000×700
|
0,7
|
0,7
|
-
|
|
Тележка слесаря
|
ЛТ6
|
2
|
1000×600
|
0,6
|
1,2
|
-
|
|
Верстак
|
ОРГ-1468-01-070А
|
3
|
2400×800
|
1,92
|
5,76
|
-
|
|
Тумбочка
|
ЛТ6
|
2
|
620×620
|
0,38
|
0,76
|
-
|
|
Ларь для инструмента
|
ЛТ6
|
1
|
1000×700
|
0,7
|
0,7
|
-
|
|
Ларь с ветошью
|
ЛТ6
|
1
|
720×430
|
0,31
|
0,31
|
-
|
|
Ларь для мусора
|
ЛТ6
|
1
|
720×430
|
0,31
|
0,31
|
-
|
|
Подъемник электромеханический наканавный
|
СDО - 12,5
|
1
|
-
|
-
|
-
|
4,0
|
|
Тележка для снятия и установки колес
|
1115М
|
1
|
1236×935
|
1,15
|
1,15
|
-
|
|
Тележка для транспортирования узлов и агрегатов
|
ОЛТ-7353
|
1
|
1210×800
|
0,97
|
0,97
|
-
|
|
Приспособление для снятия и установки КПП
|
ЦКБ-2471
|
1
|
850×925
|
0,78
|
0,78
|
-
|
|
Тележка для снятия и установки рессор
|
П216
|
1
|
1450×834
|
1,2
|
1,2
|
-
|
|
Установка для промывки масляных систем двигателей
|
1147
|
1
|
1035×640
|
0,66
|
0,66
|
-
|
|
Бак для сбора отработанного масла
|
ОРГ-8911
|
1
|
755×410
|
0,3
|
0,3
|
-
|
|
Ларь с песком
|
ОРГ-1468
|
1
|
500×600
|
0,3
|
0,3
|
-
|
|
Установка для пуска двигателей
|
ОЗ-320 Э-307
|
1
|
1300×700
|
0,91
|
0,91
|
1,9
|
|
Шкаф для инструмента
|
ЛТ6
|
1
|
1000×750
|
0,75
|
0,75
|
-
|
|
ИТОГО:
|
|
|
|
|
25,81
|
6,56
|
|
Слесарно-механический участок
|
|
Токарно-винторезный станок
|
1М63
|
1
|
3550×1680
|
5,96
|
5,96
|
15,0
|
|
Токарный универсальный станок
|
1М6Г
|
1
|
3000×1200
|
3,6
|
3,6
|
5,5
|
|
Токарный станок
|
16625Псп
|
1
|
2900×800
|
2,32
|
2,32
|
3,2
|
|
Вертикально-сверлильный станок
|
2Н135
|
1085×920
|
0,99
|
0,99
|
4,0
|
|
Наждак
|
8Б72
|
1
|
700×400
|
0,28
|
0,28
|
3,2
|
|
Поперечно-строгальный станок
|
7Е35
|
1
|
2350×1250
|
2,94
|
2,94
|
3,5
|
|
Круглошлифовальный универсальный станок
|
3К12
|
1
|
2600×1900
|
4,94
|
4,94
|
5,0
|
|
Горизонтальный консольно-фрезерный станок
|
6Р81Г
|
1
|
1500×2000
|
3,0
|
3,0
|
5,1
|
|
Верстак
|
ОРГ-1468-01-060А
|
1
|
1200×800
|
0,96
|
0,96
|
-
|
|
Тумбочка для инструмента
|
5147
|
1
|
665×561
|
0,37
|
0,37
|
-
|
|
Стеллаж для заготовок
|
ОРГ-1466-05-070
|
1
|
970×1070
|
1,04
|
1,04
|
-
|
|
Ларь для обтирочных материалов
|
ОРГ-1468-07-090А
|
1
|
1000×500
|
0,5
|
0,5
|
-
|
|
Транспортная тележка
|
ОЛТ-683М
|
1
|
1100×630
|
0,7
|
0,7
|
-
|
|
Тумбочка для инструмента и приспособлений
|
ОРГ-1468-10-830
|
1
|
600×400
|
0,24
|
0,24
|
-
|
|
Стеллаж для деталей
|
ОРГ-1468-18-380А
|
1
|
1400×500
|
0,7
|
0,7
|
-
|
|
Ларь с песком
|
ОРГ-1468-03-320
|
1
|
500×600
|
0,3
|
0,3
|
-
|
|
Ларь для мусора
|
Р-938
|
1
|
500×600
|
0,3
|
0,3
|
-
|
|
ИТОГО
|
|
|
|
|
30,14
|
56,96
|
|
Участок ремонта гидроаппаратуры
|
|
Стенд для испытания гидроцилиндров
|
КИ-12178
|
1
|
1270×1300
|
1,56
|
1,56
|
-
|
|
Стеллаж для запчастей, узлов
|
ОРГ-1468-07-090А
|
1
|
1400×500
|
0,7
|
0,7
|
-
|
|
Ларь для обтирочных материалов
|
ОРГ-1468-07-090А
|
1
|
1000×500
|
0,5
|
0,5
|
-
|
|
Тиски параллельные
|
П-140
|
1
|
-
|
-
|
-
|
-
|
|
Приспособление для разборки-сборки масляных фильтров
|
ОПР-3848
|
1
|
-
|
-
|
-
|
-
|
|
Верстак
|
ОРГ-1468-01-06А
|
1
|
1215×955
|
1,2
|
1,2
|
-
|
|
Стенд для испытания гидроаппаратуры
|
КИ-4200
|
1
|
1500×2000
|
3,0
|
3,0
|
-
|
|
Шкаф для инструмента
|
ЛТ6
|
1
|
1000×750
|
0,75
|
0,75
|
-
|
|
Стеллаж
|
ОРГ-1468-05-230А
|
1
|
1400×500
|
0,7
|
0,7
|
-
|
|
ИТОГО
|
|
|
|
|
8,41
|
|
|
Участок по ремонту электрооборудования
|
|
Стенд для проверки генераторов и стартеров
|
523М
|
1
|
985×960
|
0,95
|
0,95
|
4,0
|
|
Прибор для проверки якорей генераторов и стартеров
|
Э-326
|
1
|
переносной
|
-
|
-
|
-
|
|
Верстак
|
ОРГ-1468-01-070А
|
1
|
2400×800
|
1,92
|
1,92
|
-
|
|
Стеллаж
|
ОРГ-1468-05-230А
|
1
|
1400×500
|
0,7
|
0,7
|
-
|
|
Ларь для обтирочных материалов
|
ОРГ-1468-07-090А
|
1
|
1000×500
|
0,5
|
0,5
|
-
|
|
Настольный сверлильный станок
|
2М112
|
1
|
450×170
|
0,077
|
0,077
|
-
|
|
Комплект для очистки и проверки свечей зажигания
|
Э-203
|
1
|
176×186
|
0,032
|
0,032
|
0,15
|
|
Ларь с песком
|
ОРГ-1468-03-320
|
1
|
500×400
|
0,2
|
0,2
|
-
|
|
Ванна для мойки деталей
|
Собств. изг.
|
1
|
500×500
|
0,25
|
0,25
|
-
|
|
ИТОГО
|
|
|
|
|
4,78
|
5,0
|
|
Аккумуляторный участок
|
|
Выпрямитель селеновый
|
ВСА-5А
|
1
|
415×310
|
0,12
|
0,12
|
1,2
|
|
Шкаф для зарядки аккумуляторов
|
Э-409
|
1
|
2020×812
|
1,6
|
1,6
|
-
|
|
Ванна для слива и приготовления электролита
|
Э-404
|
1
|
585×215
|
0,13
|
0,13
|
-
|
|
Тележка для транспортировки и подъема аккумуляторов
|
П-620
|
1
|
1070×450
|
0,48
|
0,48
|
-
|
|
Ванна для промывки деталей аккумуляторов
|
М-301
|
1
|
1295×550
|
0,71
|
0,71
|
-
|
|
Стеллаж для хранения аккумуляторов
|
Э-405
|
1
|
2100×600
|
1,26
|
1,26
|
-
|
|
Стол для разборки аккумуляторов
|
Э-403
|
1
|
750×900
|
0,68
|
0,68
|
-
|
|
Ларь для ветоши
|
ЛТП
|
1
|
750×450
|
0,34
|
0,34
|
-
|
|
Верстак
|
ОРГ-1468-01-060А
|
1
|
1200×800
|
0,96
|
0,96
|
-
|
|
Раковина
|
покупная
|
1
|
500×500
|
0,25
|
0,25
|
-
|
|
Стеллаж потолочный
|
ЛТ6
|
1
|
2600×620
|
1,6
|
1,6
|
-
|
|
Продолжение таблицы 2.4.
|
|
Дистиллятор
|
Д-51М
|
1
|
600×750
|
0,45
|
0,45
|
-
|
|
Ларь для мусора
|
ЛТ6
|
1
|
500×400
|
0,2
|
0,2
|
-
|
|
Электротельфер
|
|
1
|
-
|
-
|
-
|
0,5
|
|
ИТОГО
|
|
|
|
|
8,75
|
2,9
|
|
Участок ремонта топливной аппаратуры
|
|
Стенд для испытания и регулировки дизельной топливной аппаратуры
|
КИ-22201А
|
1
|
1365×776
|
11
|
1,1
|
7,5
|
|
Прибор для проверки бензонасосов и карбюраторов
|
СО-950
|
1
|
760×600
|
0,46
|
0,46
|
7,5
|
|
Стол рабочий
|
Р-525
|
2000×800
|
1,6
|
1,6
|
-
|
|
Ванна моечная
|
ОМ-1316
|
1
|
1250×1620
|
2,03
|
2,03
|
-
|
|
Шкаф для инструмента
|
ОРГ-1603
|
1
|
1570×360
|
0,56
|
0,56
|
-
|
|
Верстак
|
ОРГ-1468
|
1
|
2400×800
|
1,92
|
1,92
|
-
|
|
Ларь для обтирочных материалов
|
ОРГ-1468-01-070А
|
1
|
1000×500
|
0,5
|
0,5
|
-
|
|
Ларь с песком
|
ОРГ-1468- 03-320
|
1
|
500×400
|
0,2
|
0,2
|
-
|
|
Стеллаж для хранения фильтров
|
ОРГ-1468- 05-450
|
1
|
950×950
|
0,9
|
0,9
|
-
|
|
ИТОГО
|
|
|
|
|
11,4
|
15
|
|
Агрегатный участок
|
|
Тележка для транспортирования узлов и агрегатов
|
ОПТ-7353
|
1
|
1210×800
|
0,96
|
1,92
|
-
|
|
Установка для мойки деталей
|
ОМ-837Г
|
1
|
1900×2280
|
4,3
|
4,3
|
36,0
|
|
Станок для расточки тормозных барабанов
|
Р-114
|
1
|
1860×1150
|
2,1
|
2,1
|
2,0
|
|
Стенд для ремонта сцеплений автомобилей
|
Р-207
|
2
|
625×565
|
0,35
|
0,7
|
-
|
|
Стенд для разборки мостов автомобилей
|
Р-785
|
3
|
1100×500
|
0,55
|
1,65
|
-
|
|
Стенд для разборки-сборки КПП
|
Р-784
|
2
|
920×580
|
0,53
|
2,06
|
-
|
|
Стенд для разборки-сборки рулевых механизмов
|
Р-217
|
2
|
760×600
|
0,46
|
0,92
|
-
|
|
Верстак
|
ОРГ-1468- 01-070А
|
2
|
2400×800
|
1,92
|
3,84
|
-
|
|
Пресс для клепки фрикционных накладок
|
Р-332
|
1
|
420×470
|
0,19
|
0,19
|
-
|
|
Шкаф для инструментов
|
ОРГ-1468-07-040
|
1
|
860×360
|
0,31
|
0,31
|
-
|
|
Подставка для агрегатов
|
ОРГ-1468
|
1
|
2000×500
|
1,0
|
1,0
|
-
|
|
Ларь для мусора
|
Р-938
|
1
|
500×500
|
0,25
|
0,5
|
-
|
|
Ларь для обтирочных материалов
|
ОРГ-1468-01-070А
|
1
|
1150×800
|
0,92
|
0,92
|
-
|
|
Подставка под диски колес
|
Р-964
|
1
|
2100×500
|
1,05
|
1,05
|
-
|
|
ИТОГО
|
|
|
|
|
15,32
|
38,0
|
|
Кузнечно-сварочный участок
|
|
Продолжение таблицы 2.4.
|
|
Стеллаж для рессор
|
Р-521
|
1
|
1000×800
|
0,8
|
0,8
|
-
|
|
Стенд для разборки, сборки рессор
|
Р-203
|
1
|
1225×904
|
1,13
|
1,13
|
-
|
|
Стеллаж для рессорных листов
|
Р-521
|
1
|
1000×800
|
0,8
|
0,8
|
-
|
|
Молот ковочный пневматический
|
МА-4129
|
1
|
1560×790
|
1,23
|
|
7,5
|
|
Горн кузнечный на два огня
|
Р-923
|
1
|
1300×2650
|
3,44
|
3,44
|
-
|
|
Кузнечный вентилятор
|
ВД-3
|
1
|
376×500
|
0,19
|
0,19
|
7,0
|
|
Наковальня двурогая
|
ГОСТ 11398-75
|
1
|
505×120
|
0,06
|
0,06
|
-
|
|
Комбинированные ножницы
|
ОКС-8833
|
1
|
1312×629
|
0,82
|
0,82
|
-
|
|
Пресс
|
2135-1М
|
1
|
1470×640
|
0,94
|
0,94
|
2,2
|
|
Наждак
|
8Б72
|
1
|
700×400
|
0,28
|
0,28
|
1,5
|
|
Ванна для закалки деталей
|
ОРГ-1468-18-540
|
1
|
650×400
|
0,26
|
0,26
|
-
|
|
Ванна для охлаждения деталей при закалке в масле
|
2237А
|
1
|
1480×798
|
1,18
|
1,18
|
-
|
|
Ларь для угля
|
ОРГ-1468-07-090А
|
1
|
800×400
|
0,32
|
0,32
|
-
|
|
Верстак
|
ОРГ-1468-01-070А
|
2
|
2400×800
|
1,92
|
3,84
|
-
|
|
Ларь для обтирочных материалов
|
ОРГ-1468-07-090А
|
1
|
1000×500
|
0,5
|
0,5
|
-
|
|
Ларь для мусора
|
Р-938
|
1
|
500×600
|
0,3
|
0,3
|
-
|
|
Ларь с песком
|
ОРГ-1468-03-320
|
1
|
500×600
|
0,3
|
0,3
|
-
|
|
Передвижной сварочный аппарат
|
Р-320
|
1
|
1220×540
|
0,66
|
0,66
|
10,2
|
|
Полуавтомат электросварочный
|
ФЭБ-170
|
1
|
500×500
|
0,25
|
0,25
|
0,2
|
|
Электролитический сварочный аппарат
|
ЛИГА-41А
|
1
|
500×500
|
0,25
|
0,25
|
4,2
|
|
ИТОГО
|
|
|
|
|
16,21
|
28,88
|
|
Шиномонтажно-вулканизационный участок
|
|
Стенд для монтажа колес автомобилей
|
2472
|
1
|
1470×1300
|
1,91
|
1,91
|
-
|
|
Компрессор
|
1136
|
1
|
2050×1100
|
2,26
|
2,26
|
12,0
|
|
Ванна для проверки камер
|
МВ-038
|
1
|
1000×500
|
0,5
|
0,5
|
-
|
|
Электровулканизатор
|
0-110-01
|
1
|
850×500
|
0,43
|
0,43
|
5,5
|
|
Верстак
|
ОРГ-1468-01-070А
|
1
|
1200×800
|
0,96
|
0,96
|
-
|
|
Стеллаж
|
ОРГ-1468-05-450
|
1
|
1000×500
|
0,5
|
0,5
|
-
|
|
Ларь для мусора
|
Р-936
|
1
|
500×500
|
0,25
|
0,25
|
-
|
|
Ларь с песком
|
ОРГ-1468-03-320
|
1
|
500×400
|
0,2
|
-
|
|
Шкаф для инструмента
|
Р934
|
1
|
1000×500
|
0,5
|
0,5
|
-
|
|
Стеллаж для хранения колес
|
ПТБ
|
1
|
1500×170
|
2,55
|
2,55
|
-
|
|
ИТОГО
|
|
|
|
|
10,3
|
17,5
|
|
|
|
|
|
|
|
2.3 Расчет количества
рабочих
В гараже автотранспортного цеха
работают следующие категории работников:
основные производственные рабочие;
вспомогательные производственные
рабочие;
ИТР - инженерно-технические
работники;
служащие;
МОП - младший обслуживающий
персонал.
Расчетом определяется количество
основных производственных рабочих. Остальные категории принимаются в процентном
отношении от количества основных.
Расчет списочного количества
рабочих:
, (2.32)
где ФДР -
действительный фонд рабочего времени;
Рс -
списочное количество рабочих по специальности;
Т - трудоемкость по
видам работ.
Для разборочно-сборочных
работ списочное количество рабочих будет следующим:
6162,38
Рс =---------------= 3,6
1704
Принимаем списочное число рабочих -
4
Остальные расчеты сводим в таблицу
2.5.
Таблица 2.5 - Количество рабочих по
специальностям
|
Наименование работ
|
Т
|
ФДР
|
Рс расчетное
|
Рс принятое
|
|
1Разборочно-сборочные
|
6162,38
|
1704
|
3,6
|
4,0
|
|
2. Слесарно-механические
|
1760,67
|
1704
|
1,0
|
1,0
|
|
3. Станочные
|
1320,5
|
1704
|
0,8
|
1,0
|
|
4. Ремонт электрооборудования
|
1162,0
|
1704
|
0,7
|
1,0
|
|
5. Столярно-обойные
|
387,35
|
1704
|
0,22
|
1,0
|
|
6. Ремонт топливной и гидроаппаратуры
|
985,97
|
1704
|
0,58
|
1,0
|
|
7. Ремонт агрегатов и узлов
|
2993,13
|
1704
|
1,8
|
2,0
|
|
8. Медницко - жестяницкие
|
1021,18
|
1624
|
0,7
|
1,0
|
|
9..Сварочные
|
422,56
|
1624
|
0,26
|
1,0
|
|
10..Кузнечные
|
528,2
|
1624
|
0,33
|
|
|
11 Шиномонтаж и кузовные
|
475,38
|
1704
|
0,27
|
1,0
|
|
12Аккумуляторные
|
387,35
|
1624
|
0,23
|
|
|
ИТОГО 14
|
Другие категории рабочих:
вспомогательные производственные
рабочие (6%) = 1 чел.
ИТР (10% от суммы основных и
вспомогательных рабочих) = 2 чел.
Служащие (5% от суммы основных и
вспомогательных рабочих) = 1 чел.
МОП (8% от суммы основных и
вспомогательных рабочих) = 1 чел.
Итого работающих - 19 чел.
2.4 Расход
электроэнергии
Электроэнергия расходуется на силовые
токоприемники и на освещение.
Общий расход электроэнергии:
W = Wсил + Wосв, (2.33)
где W - общий расход электроэнергии;
Wсил - расход электроэнергии
силовыми токоприемниками;
Wосв - расход электроэнергии
на освещение.
Wсил = ∑N × Фдо ×Кс ×ηз, (2.34)
где ∑N - суммарная установленная мощность
токоприемников;
∑N = 158,38 кВт
Кс - коэффициент спроса,
Кс = 0,4;
ηз - коэффициент загрузки,
ηз = 0,6;
Wсил = 158,38 ×1907 × 0,4 × 0,6 = 72487 кВт×ч
Расчет осветительной электроэнергии
, (2.35)
где ФОИ -
фонд времени работы искусственного освещения;
ФОИ = 800 ч.
При односменной работе (стр. 34 [2]);
ηН
= 1,025 - коэффициент осветительной нагрузки дежурного освещения;
S1
и S2 - плотности осветительных нагрузок для производственно-складских
и административно-бытовых помещений: S1=
25 Вт/м2, S2=
15 Вт/м2;
F1и
F2 - соответственно площади производственно-складских и
административно-бытовых помещений: F1=
2917 м2, F2
=800 м2.
800×1,025
Wосв = × (25×2917 + 15×800) = 139277 кВт×ч
1000
Расчет потребности электроэнергии за
год:
W = 72487 + 139277 = 211784 кВт×ч
3. Конструктивная
разработка стенда - тележка для ремонта блока цилиндров
.1 Обоснование
необходимости разработки нового приспособления
Повышение производительности труда -
одна из основных задач на многих предприятиях. При повышении объемов
производства повышению производительности труда необходимо уделять особое
внимание. Одним из путей повышения производительности является сокращение
трудозатрат на операцию и улучшение условий труда.
При ремонте блока цилиндров, их
транспортировка осуществляется грузоподъемным оборудованием, переворачивание
для осмотра, дефектовки, заварки или заклейки также осуществляется
грузоподъемным оборудованием или вручную.
Предлагаемая тележка для ремонта
блока цилиндров позволит установить блок цилиндров после мойки и гидроиспытания
и перемещать по участку до требуемых отделений, прилагая минимальные усилия и
сокращая трудоемкость транспортировки.
Встроенный в тележку червячный
редуктор позволит вращать блок цилиндров и фиксировать в удобном для работы
положении. Использование зажимного устройства оригинальной конструкции позволит
быстро и надежно закрепить блок цилиндров в люльке стенда-тележки.
3.2 Расчеты основных
элементов стенда-тележки
Расчет червячной передачи
Исходные данные:
Крутящий момент на валу червяка:
Т1= Fр×lр, (3.1)
где Fр - сила, прилагаемая к рукоятке, Н;
lр - плечо приложения
силы, м.
Принимаем конструктивно lр = 0,15 м, Fр = 100 Н.
Тогда
Т1 = 0,15×100 = 15 Н×м
Передаточное отношение U = 20.
Крутящий момент на червячном колесе:
Т2=Т1×U×η, (3.2)
где η
= 0,8 - КПД червячной передачи [5] табл. 2.1
Т2 = 15×20×0,8 = 240 Н×м
Частота вращения вала червяка:
n1 = 50 об/мин
Частота вращения червячного колеса:
, (3.3)
Материалы червяка и
червячного колеса
Выбор материала проводим
по [5]
Материал червяка - сталь
35ХН, выбираем для передач, работающих с большими перерывами и редко
испытывающих максимальные нагрузки.
НВ 162…192,
σе = 550 МПа, σТ = 270 МПа
Материал червячного
колеса (венец) - безоловянистая бронза БрА9ЖЗЛ для ненапряженной эксплуатации и
скоростях скольжения не более 3 м/с.
σе
= 500 МПа, σТ = 230 МПа [5] табл. 4.5
Допускаемые контактные
напряжения и напряжения изгиба
Допускаемые контактные
напряжения определяются по формуле:
[σН]=
σ0Н -25×ν'СК,
где σ0Н
= 250 МПа, т.к. НВ≤ 350 МПа для червяка,
ν'СК
- скорость скольжения
, (3.4)
м/с,
[σН]=
250 - 25 × 0,01 = 249,7 МПа
Принимаем [σН]=
250 МПа.
Максимальные допускаемые
контактные напряжения:
[σНмах]
= 2× σТ
= 2 × 230 = 460 МПа
Допускаемые напряжения
изгиба определяются по формуле:
[σF] = 0,25× σТ
+ 0,08× σВ
= 0,25×230 + 0,08×500 = 97,5 МПа
Определение основных
параметров передачи
Предварительное
межосевое расстояние:
, (3.5)
где ТР -
расчетный момент, кН
ТР = Тmax ×
КНД × К',
где Тmax = 240 Н×м - наибольший момент нормально протекающего процесса,
КНД = 0,85 -
коэффициент долговечности,
К' = 1,09 - коэффициент
нагрузки.
мм.
Принимаем аW = 100 мм
Число заходов червяка Z1 = 2 определяем в зависимости от передаточного числа.
Число зубъев червячного
колеса определяем по формуле:
Z2
= U × Z1 = 20 × 2 = 40. (3.6)
Определение модуля
зацепления:
мм.
По основному ряду
принимаем m = 4 мм.
Коэффициент диаметра
червяка определяется по формуле:
(3.7)
Коэффициент смещения:
(3.8)
Угол подъема витка на
начальном диаметре при х = 0 совпадает с углом подъема витка червяка на
делительном диаметре:
(3.9)
Геометрический расчет
червячной передачи
Основные размеры червяка
Основные размеры червяка
приведены на рисунке 3.1.
Рисунок 3.1 - Основные
размеры червяка
Делительный диаметр:
d1
= m × q = 4 × 10 = 40 мм (3.10)
Начальный диаметр:
dW1
= m × (q + 2 ×
x) = 4 × (10 + 0) = 40 мм (3.11)
Диаметр вершин витков:
da1
= d1 + 2 × m = 40 + 2 × 4 = 48 мм (3.12)
Диаметр впадин витков:
df1
= d1 - 2,4 × m = 40 - 2,4 × 4 = 30,4 мм (3.13)
Основные размеры
червячного колеса приведены на рисунке 3.2.
Рисунок 3.2 - Основные
размеры червячного колеса
Делительный диаметр:
d1
= m × Z2 = 4 ×40 = 160 мм (3.14)
Диаметр вершин зубъев:
da2
= d2 + 2 × m × (1 + х) = 160 + 2 ×
4 × (1 + 0) = 168 мм (3.15)
Диаметр впадин:
df2
= d2 - 2× m× (1,2-х) = 160 - 2× 4 ×
(1,2 - 0) = 150,4 мм (3.16)
Наибольший диаметр:
(3.17)
Радиусы закругления
колеса:
Ra
= 0,5 × d1 - m = 0,5 ×
40 - 4 = 16 мм (3.18)
Rf
= 0,5 × d1 + 1,2× m = 0,5 × 40 + 1,2 × 4 = 24,8 мм (3.19)
Ширина венца червячного
колеса:
b2
= (0,355…0,315) × 100 = 35,5…31,5 мм
Принимаем b2 = 34 мм.
Силы в зацеплении
червячной пары
Схема сил, действующих в
червячном зацеплении, приведена на рисунке 3.3.
Рисунок 3.3 - Силы,
действующие в червячном зацеплении
Окружная сила на колесе
равна осевой силе на червяке:
Н (3.20)
Окружная сила на червяке
равна осевой силе на колесе:
2 × Tmax
Ft1 = Fa1
--------------------=,
(3.21)
dW1 × U × η
где η - КПД, учитывающий
потери в зацеплении и подшипниках.
2 × 240 × 103
Ft1 = Fa1 = ----------------------= 750 Н
40 × 20 × 0,8
Радиальная сила, раздвигающая червяк
и колесо:
F2 = F t2 ×tgα = 3000 × tg20 = 1092 Н (3.22)
Проверочные расчеты по контактным
напряжениям
Скорость скольжения:
v1
vск =---------, (3.23)
cosγ
где v1 - окружная скорость червячного колеса
d1 × π × n
v1
=------------------------------- = 0,1 м/с (3.24)
60 × 1000 60 × 1000
Уточним допускаемые контактные напряжения:
[σН] = 250 - 25 × 0,1 = 247,5 МПа
Контактные напряжения:
, (3.25)
где КН = 1 -
коэффициент нагрузки
МПа
Проверочный расчет по
напряжениям изгиба
Напряжения изгиба:
0,7 × YF ×
Ft1 × КFВ ×
К
σF
=--------------------------------- ≤[σF], (3.26)
m ×
b2
где YF = 1,4 -
коэффициент формы зуба;
КFВ - коэффициент долговечности при изгибе;
К - коэффициент нагрузки.
0,7 × 1,4 × 3000 × 1
σF =
--------------------------------= 21,6 ≤[σF] = 97,5 МПа
4 × 34
Проверочный и проектный расчет валов
червячной передачи
Расчет вала червяка.
, (3.27)
где Т = Т1 -
крутящий момент на валу, Н×м
[τ] = 15 МПа
- допускаемые касательные напряжения
мм.
Принимаем d = 25 мм.
Для проведения
проверочного расчета определим моменты, действующие на вал.
Схема нагружения вала
червяка представлена на рисунке 3.4.
Рисунок 3.4 - Схема
нагружения вала червяка
Исходные данные:
а = 30 мм;
Т1 = 15 Н×м;
Fа1
= 3000 Н:
Ft1
= 750 Н;
F2
= 3000 Н
d1 40
Ма3 = Fа1 ×
---= 3000 ×
---= 60000 Н×м
(3.28)
2 2
b = c = 100 мм.
Определение опорных реакций:
Вертикальная плоскость.
d1
∑МА = 0; F2×b+Bb× (b+c)+Fa1× ----= 0 (3.29)
2
Н (3.30)
Построение эпюр крутящих
моментов показано на рисунке 3.4.
Максимальный суммарный
момент в точке С:
H×м (3.31)
Вал червячного колеса:
мм. (3.32)
Принимаем выходной
диаметр вала d = 45 мм.
Посадочный диаметр под
подшипник:
d
= 50 мм
Посадочный диаметр под
ступицу червячного колеса:
d
= 50 мм
Для проверки расчета
определим моменты, действующие на вал.
Схема нагружения вала
колеса представлена на рисунке 3.5.
Рисунок 3.5 - Схема
нагружения вала червячного колеса
Расчет оси шарнирного
соединения
Схема шарнирного
соединения представлена на рисунке 3.6.
Рисунок 3.6 - Схема
шарнирного соединения
Исходные данные:
Материал оси - сталь
35ХМ;
Сила давления на шарнир
Р = G/4,
где G = 2630 Н - вес тележки и блока цилиндров
Р = 2630/4 = 657 Н.
Для стали 35ХМ
допускаемое напряжение:
, (3.33)
где
=
270 МПа - предел текучести стали 35ХМ;
S
= 1,5 - коэффициент запаса прочности.
МПа;
Минимальный допускаемый
диаметр пальца:
, (3.34)
где a, b, c - геометрические размеры соединения;
a=b=25 мм; c=50
мм
мм.
4. Расчет экономической
эффективности мероприятий по усовершенствованию организации ТО и ТР ООО ТК
«Карел-Импэкс»
Для оценки эффективности и
целесообразности внедрения проекта необходимо провести технико-экономические
расчеты.
В проекте предполагается внедрить
диагностику, ремонт гидрооборудования, медницко-жестяницкий участок, произвести
доукомплектование оборудованием и инструментом посты и участки.
Внедрение поста диагностики
технического состояния позволит оценить состояние узлов и агрегатов без
разборки последних, что повышает их долговечность и уменьшает трудозатраты на
обслуживание.
Исследования, проводимые НИИ
автомобильного транспорта, позволили установить, что систематическое проведение
диагностирования транспорта обеспечит сокращение простоя в ТО и Р на 5%,
снижение затрат на топливо - около 12%, на запасные части и материалы 15%, если
также учитывать неблагополучное состояние РММ, неукомплектованный штат, то эти
цифры возрастут.
Расчет производится для статей
затрат, которые изменяются в результате внедрения проекта.
4.1 Расчет себестоимости
содержания проекта
Расчет заработной платы рабочих
Чтобы определить годовой фонд
заработной платы, сначала рассчитываем часовые тарифные ставки рабочих по
разрядам. Исходя из того, что Государством установлен минимальный размер оплаты
труда (МРОТ), минимальная часовая тарифная ставка равна:
, (4.1)
где МРОТ = 4330 руб. -
минимальный размер оплаты труда;
ФДРМЕС =
176 час. - месячный фонд времени рабочего
руб.
Расчет тарифных ставок
приведен в таблице 541.
Таблица 4.1 - Расчет
тарифных ставок
|
1 разряд
|
2 разряд
|
3 разряд
|
5 разряд
|
6 разряд
|
|
Тарифный коэффициент
|
1,0
|
1,29
|
1,43
|
1,68
|
1,86
|
2,0
|
|
Часовая тарифная ставка, руб./ч
|
24,6
|
31,7
|
35,2
|
41,3
|
45,7
|
49,2
|
|
Дневная тарифная ставка, руб.
|
196,8
|
253,6
|
281,6
|
330,4
|
365,6
|
393,6
|
Тарифные коэффициенты взяты из
тарифно-квалификационного справочника для соответствующего разряда, часовая
тарифная ставка (ТСчас) получена умножением ТСmin на тарифный коэффициент. Дневная тарифная ставка получена
умножением ТСчас на добавочный коэффициент ТСдн = ТС×8, согласно отраслевым
соглашениям. Для вредного производства ставка увеличивается на 20%.
Базовый вариант
В базовом варианте мы имеем: один
человек - третьего разряда, шесть - четвертого разряда, четыре - пятого разряда
по данным предприятия.
Годовой фонд заработной платы
рассчитывается по формуле:
, (4.2)
где
-
тарифный фонд заработной платы, тыс. руб. (выбираем из таблицы 5.2).
- доплаты к тарифному
фонду (принимаем в размере 30% от тарифного фонда);
- районный коэффициент;
- северная надбавка;
- дополнительная
заработная плата от основной заработной платы (от первого слагаемого данной
формулы).
Таблица 4.2 - Штатное
расписание
|
Наименование должностей
|
Количество
|
Должностной оклад, руб./мес
|
Премия, руб., 30%
|
Надбавки
|
Итого в месяц
|
|
|
|
|
Район. 15%
|
Северн. 50%
|
Вред-ность 20%
|
|
|
Административно - управленческое подразделение
|
|
Начальник гаража
|
1
|
10000
|
0
|
1500
|
5000
|
0
|
16500
|
|
Главный механик
|
1
|
9000
|
0
|
1350
|
4500
|
0
|
14850
|
|
Механик
|
1
|
8000
|
0
|
1200
|
4000
|
0
|
13200
|
|
Бригадир-механик
|
1
|
7600
|
0
|
1140
|
3800
|
0
|
12540
|
|
ИТОГО
|
4
|
|
|
|
|
|
57090
|
|
Промышленно-производственный персонал
|
|
Слесарь 4-го разряда Слесарь 3-го разряда Электрик 5-го разряда
Электрик 4-го разряда Электрогазосварщик 3-го разряда Вулканизаторщик 4-го
разряда Станочник 5-го разряда Аккумуляторщик 4-го разряда
|
2 1 1 1 2 1 1 1
|
14538 6195 8043 7269 12390 7269 8043 7269
|
4361 1859 2413 2181 3718 2181 2413 2181
|
2180 929 1206 1090 1858 1090 1206 1090
|
7269 3098 4022 3635 6196 3635 4022 3635
|
0 0 0 0 2478 1454 0 1454
|
28348 12081 15684 14175 26640 15629 15684 15629
|
|
ИТОГО
|
10
|
143870
|
|
Прочие категории работников
|
|
Старший диспетчер Диспетчер Кладовщик Уборщица
|
1 1 1 1
|
8000 7500 6540 5200
|
0 0 0 0
|
1200 1125 981 780
|
4000 3750 3270 2600
|
0 0 0 0
|
13200 12375 10791 8580
|
|
ИТОГО
|
4
|
44946
|
|
|
|
|
|
|
|
|
|
|
|
|
|
Фонд заработной платы ИТР, служащих
и МОП рассчитывается исходя из численности работников данной категории,
штатного расписания, должностных окладов и существующих положений о премиях.
Премии ИТР, служащим и МОП выплачиваются из фонда материального поощрения и в
фонд заработной платы не включаются.
Годовой фонд заработной платы
производственных рабочих:
руб.
Годовой фонд заработной
платы специалистов (ИТР и служащих).
руб.
Общий годовой фонд
заработной платы служащих:
руб.
Общий годовой фонд
заработной платы МОП:
руб.
Общий годовой фонд
заработной платы АТЦ:
руб.
Проектный вариант
Штатное расписание
указано в таблице 4.3.
Таблица 4.3 - Штатное
расписание
|
Наименование должностей
|
Количество
|
Должностной оклад, руб./мес
|
Премия, руб. 30%
|
Надбавки
|
Итого в месяц
|
|
|
|
|
Район. 15%
|
Северн. 50%
|
Вредность 20%
|
|
|
Административно - управленческое подразделение
|
|
Начальник гаража Главный механик Механик
|
1 1 1
|
10000 9000 8000
|
0 0 0
|
1500 1350 1200
|
5000 4500 4000
|
0 0 0
|
16500 14850 13200
|
|
ИТОГО
|
3
|
44550
|
|
Промышленно-производственный персонал
|
|
Слесарь 5-го разряда Слесарь 4-го разряда Слесарь 3-го разряда
Станочник 5-го разряда Станочник 4-го разряда Кузнец 4-го разряда
|
1 1 1 1 1 1
|
8043 7269 6195 8043 7269 7269
|
2413 2181 1859 2413 2181 2181
|
1206 1090 929 1206 1090 1090
|
4022 3635 3098 4022 3635 3635
|
0 0 0 0 0 1454
|
15684 14175 12081 15684 14175 15629
|
|
Электрогазосварщик 5-го разряда Электрик 5-го разряда Электрик
4-го разряда Вулканизаторщик 4-го разряда Аккумуляторщик 4-го разряда Столяр
4-го разряда Жестянщик 4-го разряда Медник 4-го разряда
|
1 1 1 1 1 1 1 1
|
8043 8043 7269 7269 7269 7269 7269 7269
|
2413 2413 2181 2181 2181 2181 2181 2181
|
1206 1206 1090 1090 1090 1090 1090 1090
|
4022 4022 3635 3635 3635 3635 3635 3635
|
1609 0 0 1454 1454 0 1454 1454
|
17293 15684 14175 15629 15629 14175 15629 15629
|
|
ИТОГО
|
14
|
211271
|
|
Прочие категории работников
|
|
Старший диспетчер Диспетчер Кладовщик Уборщица
|
1 1 1 1
|
8000 7500 6540 5200
|
0 0 0 0
|
1200 1125 981 780
|
4000 3750 3270 2600
|
0 0 0 0
|
13200 12375 10791 8580
|
|
ИТОГО
|
4
|
44946
|
|
|
|
|
|
|
|
|
|
|
|
|
|
Годовой фонд заработной платы
производственных рабочих:
руб.
Годовой фонд заработной
платы специалистов (ИТР и служащих).
руб.
Общий годовой фонд
заработной платы служащих:
руб.
Общий годовой фонд
заработной платы МОП:
руб.
Общий годовой фонд
заработной платы АТЦ:
руб.
Определение отчислений
на социальные нужды
Базовый вариант
Отчисления на социальные
нужды сведены в таблицу 4.4
Таблица 4.4-Отчисления
на социальные нужды
|
Категории работников
|
Фонд заработной платы
|
Пенсионный фонд
|
Фонд социального страхования
|
Фонд медицинского страхования
|
Итого отчислений
|
|
Руб./год
|
26%
|
2,9%
|
5,1%
|
Руб./год
|
|
Административно-управленческое подразделение
|
685080
|
178121
|
19867
|
34939
|
232927
|
|
Промышленно-производственный персонал
|
1726440
|
448874
|
50067
|
88048
|
586989
|
|
Прочие
|
539352
|
12260
|
1368
|
2405
|
16033
|
|
ИТОГО
|
2950872
|
639255
|
71302
|
125392
|
835949
|
Проектный вариант
Отчисления на социальные нужды
сведены в таблицу 4.5
Таблица 4.5-Отчисления на социальные
нужды
|
Категории работниковФонд заработной платыПенсионный фондФонд
социального страхованияФонд медицинского страхованияИтого отчислений
|
|
|
|
|
|
|
Руб./год
|
26%
|
2,9%
|
5,1%
|
Руб./год
|
|
Административно-управленческое подразделение
|
534600
|
138996
|
15503
|
27265
|
181764
|
|
Промышленно-производственный персонал
|
2535252
|
659166
|
73522
|
129298
|
861986
|
|
Прочие
|
539352
|
12260
|
1368
|
2405
|
63190
|
|
ИТОГО:
|
3609204
|
330308
|
36842
|
64791
|
1702357
|
Расчет стоимости топлива
Стоимость топлива за год
определяется по формуле:
, (4.3)
где
тыс.
литров - фактический расход топлива в базовом варианте
рубля - средняя
стоимость одного литра топлива
;
После внедрения новых постов и
оборудования ожидается снижение расхода топлива на 7 - 10%.
Затраты топлива по проекту
определяются по формуле:
; (4.4)
Расчет стоимости масел:
Стоимость масел за год
определяется по формуле:
; (4.5)
где
литров
- фактический расход масел в базовом варианте
рублей - средняя
стоимость одного литра масла
;
После внедрения новых
постов и оборудования ожидается снижение расхода смазочных материалов на 10%.
Затраты масел по проекту
определяются по формуле:
; (4.6)
Расчет стоимости
запасных частей
В результате повышения
качества технического обслуживания и текущего ремонта вследствие внедрения
проектируемых мероприятий, принимаем снижение затрат на запасные части и
материалы в размере 15%.
Затраты на запасные
части и материалы в настоящее время на предприятии составляют 346 тыс. рублей в
год.
Тогда затраты на
запасные части в проектном варианте составляют:
; (4.7)
Расчет стоимости
электроэнергии
Годовая стоимость
электроэнергии определяется по формуле:
, (4.8)
где
-
проектная годовая потребность в электроэнергии,
- стоимость
электроэнергии
;
Затраты на содержание
зданий
Стоимость зданий и
сооружений, располагающихся на территории предприятия:
руб.;
На амортизацию зданий
отчисляется 5% от стоимости строительно-монтажных работ. Затраты на ремонт
зданий составляют 1%, затраты на отопление 1%, всего затрат 7%.
В базовом варианте:
; (4.9)
Затраты, связанные с
работой оборудования
Базовый вариант:
Стоимость оборудования
680 тыс. рублей. Норма амортизационных отчислений составляет 15%.
;
Стоимость материалов и
запасных частей по оборудованию составляет 25% его стоимости.
; (4.10)
Таблица 4.6 - Стоимость
приобретенного оборудования
|
Наименование оборудования
|
Кол-во, шт.
|
Цена, тыс. руб.
|
|
Тележка для транспортировки агрегатов Приспособление для снятия
и установки КП Установка для промывки систем смазки Установка для пуска
двигателей Нагреватель для разогрева мастики Электротельфер Прибор для
испытания форсунок Прибор для проверки бензонасосов и карбюраторов Пресс
Стенд для разборки сцеплений Стенд для ремонта мостов Стенд для ремонта КП
Стенд для ремонта рулевых механизмов Прибор для проверки переднего моста
Комплект приборов для проверки тормозов Прибор для проверки рулевого
управления Мотор-тестер Устройство для проверки карданных мостов Комплект
инструмента для постовых работ Стенд для испытания радиаторов
Обкаточно-тормозной стенд Вертикально-расточной станок Круглошлифовальный
станок Станок для шлифовки клапанов Станок для расточки шатунов Станок для
шлифовки коленчатых валов Стенд для демонтажа и монтажа колес Компрессор
Полуавтомат сварочный Электролитический газосварочный аппарат Стенд для
разборки двигателей Молот пневматический
|
2 1 1 1 1 1 1 1 1 1 1 1 1 1 1 1 1 1 4 1 1 1 1 1 1 1 1 1 1 1 2 1
|
8,0 12,8 7,5 14,5 3,8 15,0 26,0 12,5 45,0 6,8 7,9 6,5 5,2 16,9
17,8 12,8 24,5 6,2 20,2 7,2 105,8 55,0 68,0 15,8 45,0 120,0 16,5 20,8 25,5
38,2 30,2 108,0
|
|
ИТОГО:
|
925,1
|
Проектный вариант:
, (4.11)
где
рублей
- стоимость приобретенного оборудования, таблица 5.6
;
Амортизация
оборудования:
;
Стоимость материалов и
запасных частей:
;
Затраты, связанные с
содержанием подвижного состава сведены в таблицу 4.7.
Таблица 4.7 - Затраты на
содержание подвижного состава
|
Статьи затрат
|
Сумма, тыс. руб.
|
|
База
|
Проект
|
|
Общий годовой фонд ЗП рабочих
|
2951
|
3609
|
|
Отчисления на социальные нужды
|
836
|
1702
|
|
Стоимость ГСМ
|
16526
|
14873
|
|
Стоимость запасных частей
|
346
|
294
|
|
Амортизация оборудования
|
102
|
241
|
|
Стоимость материалов, необходимых для работы оборудования
|
170
|
401
|
|
ВСЕГО
|
20931
|
21120
|
4.2 Расчет сводных
показателей эффективности
Капиталовложения в здания:
; (4.12)
; (4.13)
Капиталовложения в
оборудование:
; (4.14)
; (4.15)
Суммарные
капиталовложения:
; (4.16)
; (4.17)
Удельные
капиталовложения считаем относительно перевезенного объема топлива, т.к. только
этот показатель учитывает пробеги автомобилей.
, (4.18)
где S - объем выполненной работы в тонно-км,
,
после реконструкции ожидается увеличение объема на 5%, поэтому объем работ в
проектном варианте составит:
Тогда:
;
;
Себестоимость работ:
; (4.19)
; (4.20)
Экономия от уменьшения
себестоимости или увеличения прибыли от внедрения проекта:
руб., (4.21)
Срок окупаемости
капитальных затрат на новую технику определяется по формуле:
; (4.22)
Рентабельность
инвестиций:
; (4.23)
Основные
технико-экономические показатели приведены в таблице 4.8.
Таблица 4.8 - Основные
технико-экономические показатели проекта
|
Наименование показателя
|
Вариант
|
|
База
|
Проект
|
|
Объем выполненной работы, тыс. т×км
Количество производственных рабочих, раб. Капиталовложения, тыс. руб. - в
здания - в оборудование Удельные капиталовложения, руб./т×км
Общая (полная) стоимость работ, тыс. руб. Себестоимость работ, руб./т×км
Прибыль, тыс. руб. Срок окупаемости затрат на новое оборудование, лет
Рентабельность инвестиций, %
|
52854 18 3745 782 87,35 21218 401 - - -
|
55496,7 19 3745 1846 100,7 21038 379 180 5,0 19
|
Заключение
Проанализировав организацию
технического обслуживания и ремонта автомобилей в условиях ремонтно-обслуживающей
базы ООО ТК «Карел-Импэкс», в ходе проектирования были сделаны следующие
выводы:
необходимо осуществление
мероприятий, позволяющих выйти на новый уровень организации качественного
проведения технического обслуживания и ремонта;
необходим переход на агрегатный
метод обслуживания, позволяющий сократить время простоя автомобилей в ремонте;
проведение очередных воздействий
(ТО-1, ТО-2) должно соответствовать графику, составленному на основании
пробегов, что повышает безопасность эксплуатации автомобилей;
перед очередным ТО необходимо
проведение диагностических работ для выявления неисправностей и качественного
проведения ТО и сопутствующего ремонта.
В ходе проектирования мною
предложено внедрение мероприятий, позволяющих существенно повысить качество
проведения технического обслуживания и ремонта, повысить производительность
труда, надежность и безопасность транспортных средств в эксплуатации за счет
приобретения нового оборудования и новой организации труда.
В результате проведенных мероприятий
значительно снижается время простоя в ремонте и соответственно снизится
себестоимость выполняемой работы по перевозкам.
Экономические расчеты подтверждают
эффективность внедрения предлагаемых мероприятий. Срок окупаемости капитальных
вложений не продолжителен, достигнуто существенное улучшение всех
технико-экономических показателей.
Проектные мероприятия разработаны с
учетом конкретных условий ООО ТК «Карел-Импэкс».
Список литературы
1. Организация технического сервиса машин и оборудования:
Учеб. Пособие/Н.И. Серебрянский, В.Н. Шиловский, А.Э. Эгипти., ПетрГУ. -
Петрозаводск, 2012 - 128 с.
2. Ремонт машин. Справочные материалы по выполнению
дипломного
. и курсового проектов./Н.И. Серебрянский, В.Н. Шиловский.
- Петрозаводск, 1995-155 с.
. Экономические вопросы организации технического
обслуживания и
. ремонта машин в леспромхозах: Методические указания по
дипломному проектированию для студентов специальности 1704. составили: А.А.
Фролова, З.Н. Кельсеева. Петрозаводск, 1990. - 34 с.
. Справочные материалы для курсового и дипломного
проектирования.
. Методические указания. Составили В.С. Сюнев, В.М. Киуру,-
. Петрозаводск, 2009-32 с.
. Стандарт предприятия. Документы текстовые учебные,
курсовые и дипломные проекты (работы) общие требования и правила оформления. -
Петрозаводск: Издательство ПетрГУ, 2006 - 38 с.
. Организация ремонта и обслуживания лесозаготовительных
машин и оборудования / В.Н. Шиловский и др. Петрозаводск, 1997, - 309 с.
. Шиловский В.Н. Технологический менеджмент технического
сервиса машин и оборудования / В.Н. Шиловский и др. ПетрГУ, - 2005. - 232 с.
. Положение о техническом обслуживании и ремонте подвижного
состава автомобильного транспорта. М., Транспорт, 1986
. Технический сервис машин и оборудования: справочные
материалы для студентов инженерных специальностей / сост. В.Н. Шиловский, А.В.
Питухин, А.А. Фролова, Н.И. Серебрянский. - Петрозаводск: Издательство ПетрГУ,
2008, - 114 с.
. Основы нормирования точности в машиностроении: Учебное
пособие для студентов инженерных специальностей / А.А. Шубин, Ю.В. Янюк. -
Петрозаводск: Издательство ПетрГУ, 2010, - 168 с.
. Марочник сталей и сплавов / А.С. Зубченко, М.М. Колосков,
Ю.В. Каширский и др. - М.: Машиностроение, 2003. - 638 с.
. Оборудование, материалы, инструмент. Каталог.
ПромСнабКомплект, СПб, Поиск
. Выполнение чертежей деталей. Метод указания по курсовому
проектированию. Состав. Николаев С.Н. ПГУ, Петрозаводск, 2012
. Беднарский В.В., Техническое обслуживание и ремонт
автомобилей. - Ростов на Дону.: Феникс, 2005.
. Суханов Б.И., Борзых И.О., Бедарев Ю.Ф. Техническое
обслуживание и ремонт машин. - М: Транспорт, 1985. - 225 с., ил.
. Курсовое и дипломное проектирование по ремонту машин/А.П.
Смелов, Н.П. Серый и др.-М: Колос, 1984. - 192 с., ил.
. Медведков В.И., Билык С.Г., Гришин Г.А. Автомобили. - М.,
1987.
. Организация, планирование и управление в автотранспортных
предприятиях: Учеб. для вузов /М.П. Улицкий, К.А. Савченко-Бельский, Н.Ф.
Билибина и др.; Под ред. М.П. Улицкого. М.: Транспорт, 1994. - 328 с.
. Положение о техническом обслуживании и ремонте подвижного
состава автомобильного транспорта. - М.: Транспорт, 1986. - 48 с.
. Дунаев П.В. Конструирование узлов и деталей машин. М.,
Высшая школа, 1985
. Выполнение чертежей деталей. Метод указания по курсовому
проектированию. Состав. Николаев С.Н. ПГУ, Петрозаводск, 2006
. Данные предприятия ООО ТК «Карел-Импэкс