Металлоёмкость соединений

  • Вид работы:
    Контрольная работа
  • Предмет:
    Физика
  • Язык:
    Русский
    ,
    Формат файла:
    MS Word
    58,31 Кб
  • Опубликовано:
    2015-11-13
Вы можете узнать стоимость помощи в написании студенческой работы.
Помощь в написании работы, которую точно примут!

Металлоёмкость соединений

МИНИСТЕРСТВО ОБРАЗОВАНИЯ И НАУКИ РОССИЙСКОЙ ФЕДЕРАЦИИ

Федеральное государственное автономное образовательное учреждение

высшего профессионального образования

"Дальневосточный федеральный университет"

Инженерная школа

Кафедра транспортных машин и транспортно-технологических процессов



Практическое задание по дисциплине:

"Техническая механика"











Владивосток

2015

Условие задания

Материал - сталь Ст 5, размеры листа 100 ´ 10,9. Нагрузка - 150 кН.

Необходимо:

.        Рассчитать сварное соединение встык;

.        Рассчитать сварное соединение внахлёст;

.        Определить металлоёмкость сварного соединения внахлёст;

.        Определить металлоёмкость заклёпочного соединения внахлёст;

.        Сравнить металлоёмкости.

Решение

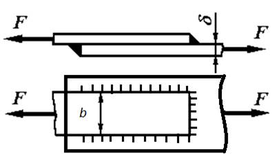
.        Рассчитаем сварное соединение встык. ( Рис.1)

Рисунок 1.

Примем за длину шва l ширину листа b=100 мм.

Проверим, соблюдается ли условие прочности при действии продольной силы F формуле:

 

где F - нагрузка на соединение,

l - длина шва (l=b),

 - толщина листа,

 - напряжение при срезе,

 - допускаемое напряжение при растяжении.

,

где  - допускаемое напряжение при растяжения (по материалу соединяемых деталей). Для стали Ст 5

 н/мм2.

Итак,  н/мм2

условие прочности выполнено.

2.      Рассчитаем сварное соединение внахлёст. ( Рис. 2)

Рисунок 2.

Из формулы нахождения напряжения среза  выразим расчетную длину шва l:

 

где l - расчетная длина шва,

F - нагрузка на соединение,

k - катет шва  диаметру электрода,

 - допускаемое напряжение среза.

,

где  - допускаемое напряжение при растяжении (по материалу соединяемых деталей). Для стали Ст 5

 н/мм2.

Примем k = 5 мм, тогда:

 

сварной соединение внахлест заклепочный

Получаем два лобовых шва по 100 мм (по всей ширине листа b) и два фланговых также по 100 мм.

6.      Определим металлоёмкость сварного соединения внахлёст:

 

где m - металлоёмкость соединения,

 - плотность стали,

 - объём соединения.

 = 7,8 г/см3

 

где l - расчетная длина шва,

b - ширина листа,


 

.        Определим металлоёмкость заклёпочного соединения внахлёст:

 

Найдем объем, помножив на 4, т.к в соединении использованы две накладки, заклепанные с двух сторон:

 

 

где  - расстояние от оси заклёпки до кромок листа,

 - расстояние между заклёпками,

b - ширина листа,

 - толщина листа.

 

Вывод

 

Металлоёмкость сварного соединения намного меньше заклепочного соединения, следовательно, сварное соединение экономичнее в использовании.

Похожие работы на - Металлоёмкость соединений

 

Не нашли материал для своей работы?
Поможем написать уникальную работу
Без плагиата!
Без нейросетей!