Физические и химические свойства серной кислоты
СОДЕРЖАНИЕ
ВВЕДЕНИЕ
ФИЗИО-ХИМИЧЕСКИЕ ТЕХНОЛОГИИ СЕРНОЙ КИСЛОТЫ
КИНЕТИКА И МЕХАНИЗМ ПРОЦЕССА
.1 Равновесная степень превращения
.2 Скорость реакции S02 в S03
.3 Окисление S02 на катализаторе в кипящем слое
ТЕХНОЛОГИЯ СЕРНОЙ КИСЛОТЫ
.1 Сырье для технологии
.2 Технологическая схема производства серной кислоты и ее
описание
.3 Отходы в технологии серной кислоты и способы их утилизации
.4 Предельно-допустимые концентрации газов, паров и пыли в
производстве серной кислоты
КОНСТРУКЦИЯ ОСНОВНОГО АППАРАТА
.1 Олеумный абсорбер
.2 Моногидратный абсорбер
.3 Технологические характеристики абсорберов
ТЕХНИКО-ЭКОНОМИЧЕСКИЕ ПОКАЗАТЕЛИ ТЕХНОЛОГИИ
ВЫВОДЫ
СПИСОК ЛИТЕРАТУРЫ
ВВЕДЕНИЕ
Серная кислота - один из основных продуктов химической промышленности. Ее
применяют в различных отраслях народного хозяйства, поскольку она обладает
комплексом особых свойств, облегчающих ее технологическое использование. Серная
кислота не дымит, не имеет цвета и запаха, при обычной температуре находится в
жидком состоянии, в концентрированном виде не корродирует черные металлы. В то
же время, серная кислота относится к числу сильных минеральных кислот, образует
многочисленные устойчивые соли и дешева.
Химический состав серной кислоты выражается формулой H2SO4.
В технике под серной кислотой понимают любые смеси оксида серы с водой.
Если на 1 моль SО3 приходится более 1 моль воды, то смеси являются водными
растворами серной кислоты, а если менее - растворами серного ангидрида в серной
кислоте (олеум) или дымящей серной кислотой.
Среди минеральных кислот серная кислота по объему производства и
потребления занимает первое место. Мировое производство ее за последние 25 лет
выросло более чем в три раза и составляет в настоящее время более 160 млн. т в
год.
Серная кислота используется для производства удобрений - суперфосфата,
аммофоса, сульфата аммония и др. Значителен ее расход при очистке
нефтепродуктов, а также в цветной металлургии, при травлении металлов. Особо
чистая серная кислота используется в производстве красителей, лаков, красок,
лекарственных веществ, некоторых пластических масс, химических волокон, многих
ядохимикатов, взрывчатых веществ, эфиров, спиртов и т. п.
Концентрированная серная кислота является сильным окислителем. Окисляет
HI и частично НВг до свободных галогенов, углерод - до СО2, S - до SO2,
окисляет многие металлы. Проведение окислительно-восстановтельных реакций с
участием H2SO4 обычно требует нагревания. Часто продуктом восстановления является SO2:
S + 2 H2SO4 = 3SO2+ 2H2O (1)+ 2 H2SO4 = 2SO2 + CO2 + 2H2O
(2)S + H2SO4= SO2+ 2H2O + S (3)
Сильные восстановители превращают H2SO4в S или H2S.
Концентрированная серная кислота при нагревании реагирует почти со всеми
металлами (исключая Au, Pt, Be, Bi, Fe, Mg, Co, Ru, Rh, Os, Ir), например:
Cu + 2 H2SO4 = CuSO4 + SO2 + 2H2O (4)
Серная кислота образует соли - сульфаты (Na2SO4) и гидросульфаты
(NaHSO4). Нерастворимы соли - PbSO4, CaSO4, BaSO4 и др.:
H2SO4+ BaCl2 = BaSO4 + 2HCl (5)
Холодная серная кислота пассивирует железо, поэтому ее перевозят в
железной таре. Безводная серная кислота хорошо растворяет SO3 и реагирует с
ним, образуя пиросерную кислоту, получающуюся по реакции:
H2SO4+ SO3=H2S2O7 (6)
Растворы SO3 в серной кислоте называются олеумом. Они образуют два
соединения: H2SO4·SO3 и H2SO4·2SO3 [1]
По стандартам различают техническую и аккмуляторную серные кислоты.
Кислота
серная техническая ГОСТ 2184-77
Техническая серная кислота разработана для производства удобрений,
искусственного волокна, капролактама, двуокиси титана, этилового спирта,
анилиновых красителей и целого ряда других производств. По ГОСТ 2184-77
различают следующие виды технической серной кислоты:
· контактную (улучшенную и техническую);
· олеум (улучшенный и технический);
· башенную;
· регенерированную.
По физико-химическим показателям, необходимо чтобы серная кислота
соответствовала нормам:
|
Наименование показателя
|
Норма
|
|
Контактная
|
Олеум
|
Башенная
|
Регенерированная
|
|
улучшенная
|
техническая
|
улучшенный
|
технический
|
|
|
|
|
11-й сорт
|
2-й сорт
|
|
|
|
|
|
1.Массовая доля моногидрата
(H2SO4), %
|
92,5-94,0
|
не менее 92,5
|
не нормируется
|
не менее 75
|
не менее 91
|
|
2.Массовая доля свободного
серного ангидрида (SO3), % не более
|
-
|
-
|
-
|
24
|
19
|
-
|
-
|
|
3.Массовая доля железа
(Fe), %, не более
|
0,006
|
0,02
|
0,1
|
0,006
|
не нормируется
|
0,05
|
0,2
|
|
4.Массовая доля остатка
после прокаливания, %, не более
|
0,02
|
0,05
|
не нормируется
|
0,02
|
то же
|
0,3
|
0,4
|
|
5.Массовая доля окислов
азота (N2O3), %, не более
|
0,00005
|
не нормируется
|
0.0002
|
не нормируется
|
0,05
|
0,01
|
|
6.Массовая доля
нитросоединений, %, не более
|
не нормируется
|
0,2
|
|
7.Массовая доля мышьяка
(As), %, не более
|
0,00008
|
не нормируется
|
0,00008
|
не нормируется
|
|
8.Массовая доля хлористых
соединений (Cl), %, не более
|
0,0001
|
не нормируется
|
|
9.Массовая доля свинца
(Pb), %, не более
|
0,001
|
не нормируется
|
0,0001
|
не нормируется
|
|
10.Прозрачность
|
прозрачная без разбав.
|
не нормируется
|
|
11.Цвет, см3 раствора
сравнения, не более
|
1
|
6
|
не нормируется
|
Кислота
серная аккумуляторная ГОСТ 667-73
Концентрированная аккумуляторная серная кислота специализирована в
качестве электролита для заливки свинцовых аккумуляторов после разбавления ее
дистиллированной водой. По физико-химическим показателям, необходимо чтобы
аккумуляторная серная кислота соответствовала нормам, указанным в таблице.
|
Наименование показателя
|
Норма
|
|
Высший сорт
|
1-й сорт
|
|
1. Массовая доля
моногидрата (Н2SO4),%
|
92 -94
|
92 - 94
|
|
2. Массовая доля железа
(Fе), %, не более
|
0,005
|
0,010
|
|
3. Массовая доля остатка
после прокаливания, %, не более
|
0.02
|
0,03
|
|
4. Массовая доля окислов
азота (N2O3), %, не более
|
0,00003
|
0,0001
|
|
5. Массовая доля мышьяка
(As), %, не более
|
0,00005
|
0,00008
|
|
6. Массовая доля хлористых
соединений (Cl), %, не более
|
0,0002
|
0,0003
|
|
7. Массовая доля марганца
(Mn), %, не более
|
0,00005
|
0,0001
|
|
8. Массовая доля суммы
тяжелых металлов в пересчете на свинец (Pb), %, не более
|
0,01
|
0,01
|
|
9. Массовая доля меди (Cu),
%,не более
|
0,0005
|
0,0005
|
|
10. Массовая доля веществ,
восстанавливающих KMnO4, см3 раствора с (1/5 KMnO4) =0,01 моль/дм3, не более
|
4,5
|
7
|
В данной работе рассматривается важнейшая задача работников
сернокислотной промышленности, которая заключается в дальнейшем
усовершенствовании производства путем использования передового опыта. внедрения
прогрессивных приемов и методов работы, а также в разработке принципиально
новых способов производства серной кислоты на основе последних достижений науки
и техники.
Важнейшей задачей в производстве серной кислоты является повышение
степени превращения SО2 в SО3. Помимо увеличения производительности по серной
кислоте выполнение этой задачи позволяет решить и экологические проблемы -
снизить выбросы в окружающую среду вредного компонента SО2.
серная кислота абсорбер
1.
ФИЗИКО-ХИМИЧЕСКИЕ ОСНОВЫ ТЕХНОЛОГИИ СЕРНОЙ КИСЛОТЫ
В современном производстве серной кислоты исходным сырьем является
диоксид серы (сернистый ангидрид), кислород и вода, взаимодействие между ними
протекает по суммарному стехиометрическому уравнению:
SО2
+1/2О2 +nН2О
Н2SО4+(n-1)Н2О+Q (7)
Этот
процесс осуществляется двумя способами - нитрозным и контактным.
Нитрозный
способ окисления SO2 до SO3 происходит в основном в жидкой фазе и основан на
передаче кислорода с помощью оксидов азота. Оксиды азота, окисляя SO2
до SO3, восстанавливаются до NO, который
снова окисляется кислородом газовой смеси как в жидкой, так и в газовой фазах.
Сущность
нитрозного метода состоит в том, что обжиговый газ после очистки от пыли
обрабатывается серной кислотой, в которой растворены оксиды азота, так
называемой нитрозой. Диоксид серы поглощается нитрозой и затем окисляется
оксидами азота по реакции
SO2 + N2O3 + Н2O = H2SO4 + 2NO (8)
Образующийся
NO плохо растворим в нитрозе и поэтому выделяется из
нее, а затем частично окисляется кислородом в газовой фазе до диоксида NO2.
Смесь оксидов азота NO и NO2 вновь поглощается серной кислотой и т. д. Оксиды
азота, по существу, не расходуются в нитрозном процессе и возвращаются в
производственный цикл. Однако вследствие неполного поглощения их серной
кислотой они частично уносятся отходящими газами; это составляет невозвратимые
потери оксидов.
Переработка SO2 в серную кислоту по нитрозному способу осуществляется в
продукционных башнях - цилиндрических резервуарах (высотой 15 м и более),
заполненных насадкой из глиняных колец. Сверху, навстречу газовому сгустку
разбрызгивается "нитроза" - разбавленная серная кислота, содержащая
нитрозилсерную кислоту NOOSO3H, получаемую по реакции:
O3 + 2 H2SO4 = 2 NOOSO3H + H2O (9)
Окисление SO2 окислами азота происходит в растворе после его абсорбции
нитрозой. Водой нитроза гидролизуется:
H + H2O = H2SO4 + HNO2 (10)
Сернистый газ, поступивший в башни, с водой образует сернистую кислоту:
+ H2O = H2SO3 (11)
Взаимодействие HNO2 и H2SO3 приводит к получению серной кислоты:
2 HNO2 + H2SO3 = H2SO4 + 2 NO + H2O (12)
Выделяющаяся NO преобразуется в окислительной башне в N2O3 (поточнее в
консистенция NO + NO2). Оттуда газы поступают в поглотительные башни, где
навстречу им сверху подаётся серная кислота. Появляется нитроза, которую
перекачивают в продукционные башни. Таковым образом осуществляется
непрерывность производства и круговорот окислов азота. Неизбежные утраты их с
выхлопными газами восполняются добавлением HNO3.
Серная кислота, получаемая нитрозным методом, имеет недостаточно высшую
концентрацию и содержит вредные примеси (к примеру, As). Её создание
сопровождается выбросом в атмосферу окислов азота ("лисий хвост",
названный так по цвету NO2).
В нижней части башен скапливается 76 % серная кислота, естественно, в
большем количестве, чем ее было затрачено на приготовление нитрозы (ведь
добавляется «новорожденная» серная кислота).
Недочет башенного способа в том, что приобретенная кислота имеет
концентрацию только 76 % (при большей концентрации плохо идет гидролиз
нитрозилсерной кислоты). Концентрирование же серной кислоты упариванием
представляет дополнительную трудность. Преимущество этого способа в том, что
примеси находящиеся в SO2, не влияют на ход процесса, так что начальный SO2
довольно очистить от пыли, т.е. механических загрязнений.
Раньше нитрозный процесс осуществляли в свинцовых камерах, потому он
назывался камерным способом, В настоящее время этот способ, как
малопроизводительный, не применяется. Вместо него применяют башенный способ, по
которому все основные и промежуточные процессы переработки SO2 протекают не в камерах, а в башнях,
заполненных насадкой и орошаемых серной кислотой [4].
Контактный метод. Открытие Филлипсом в Англии в 1831 г. возможности
окисления SO2 кислородом на поверхности твердого
платинового катализатора получило широкое применение только в 70-х годах XIX столетия. Столь позднее освоение
объясняется, во-первых, тем, что платиновый катализатор быстро терял свою
активность; а, во-вторых, тем, что в то время не было потребителей олеума.
В 70-х годах, благодаря работам Книтча, была установлена причина снижения
активности платины: присутствие мышьяка в сернистом газе при обжиге колчедана;
им же найден способ очистки обжигового газа от катализаторного яда.
В настоящее время большую часть серной кислоты в мире вырабатывают
контактным методом. Рост производства серной кислоты контактным методом
определяется более высокий, техническим уровнем, обусловлен потребностью в
чистой и концентрированной кислоте, возможностью автоматизации процесса, а
также снижения содержания оксидов серы в выхлопных газах до предельно
допустимых концентраций (ПДК). Контактный процесс получения серной кислоты в
мире осуществляется двумя методами:
· методом одинарного контактирования (ОК) со степенью окисления
S02 в S03, равной 97,5-98%, и выбросом в атмосферу выхлопных газов, содержащих
SO2 и SО3, выше предельно допустимой концентрации (ПДК), что потребовало
дополнительных затрат на сооружение в таких системах отделения очистки;
· методом двойного контактирования (ДК) и двойной абсорбции
(ДА). В системах ДК - ДА степень окисления SO2 в SO3 составляет 99,7-99,8%, что
соответствует достижению предельно допустимой концентрации SО2 и SO3 в
выхлопных газах.
Производство серной кислоты контактным методом по системе ДК состоит из
стадий:
) подготовка сырья;
) получение диоксида серы
4FeS2 + 11O2 →2Fe2O3 + 8SO2 + 3415 Q (t = 800°C) (13)
либо
3FeS2 + 8O2 →Fe3O4 + 6SO2 + Q (14)
или сжигание серы S + O2 → SO2 (15)
)
очистка газа;
) окисление сернистого ангидрида
2SO2 + O2 ↔2SO3 + Q (400-500°С, кат-р V2O5) (16)
) абсорбция SO3
+ H2O → H2SO4 + Q (17)
) очистка выхлопных газов.
При получении серной кислоты по системе ДК - ДА шестая стадия
отсутствует[1].
Мне понравился контактный метод технологии серной кислоты, как самый
эффективный (достигается высокая степень превращения) и более благоприятный с
точки зрения экологии (выбросы соответствуют нормам ПДК и ПДВ.)
. КИНЕТИКА И МЕХАНИЗМ ПРОЦЕССА
Химизм процесса:
· сжигание серы
· окисление SО2 до
SО3
· абсорбция SО3
Важнейшей задачей в производстве серной кислоты является повышение
степени превращения SО2 в SО3. Помимо увеличения производительности по серной
кислоте выполнение этой задачи позволяет решить и экологические проблемы -
снизить выбросы в окружающую среду вредного компонента SО2.
Повышение степени превращения SО2 может быть достигнуто разными путями.
Наиболее распространенный из них - создание схем двойного контактирования.
В производстве серной кислоты контактным методом окисление SО2 по реакции SO2+1/2O2↔SO3+Q происходит в присутствии
катализатора. Способностью ускорять окисление SO2 обладают различные металлы, их сплавы и оксиды, некоторые
соли, силикаты и многие другие вещества. Каждый катализатор обеспечивает
определенную, характерную для него степень превращения. В заводских условиях
выгоднее пользоваться катализаторами, при помощи которых достигается наибольшая
степень превращения, так как остаточное количество неокисленного SO2 не улавливается в абсорбционном
отделении, а удаляется в атмосферу вместе с отходящими газами.
Длительное время лучшим катализатором данного процесса считали платину,
которую в мелкораздробленном состоянии наносили на волокнистый асбест,
силикагель или сульфат магния. Однако платина, хотя и обладает наивысшей
каталитической активностью, очень дорога. Кроме того, ее активность сильно
понижается при наличии в газе самых незначительных количеств мышьяка, селена,
хлора и других примесей. Поэтому применение платинового катализатора приводило
к усложнению аппаратурного оформления из-за необходимости тщательной очистки
газа и повышало стоимость готовой продукции.
Среди неплатиновых катализаторов наибольшей каталитической активностью
обладает ванадиевый катализатор (на основе пентоксида ванадия V2O5), он более дешевый и менее чувствительный к примесям, чем
платиновый катализатор.[1,4]
В производстве серной кислоты в качестве катализатора применяют
контактные массы на основе оксида ванадия (V) марок БАВ и СВД, названные так по
начальным буквам элементов, входящих в их состав[5].
БАВ (барий, алюминий, ванадий) состав:

Существуют
другие изобретения катализаторов. Изобретение относится к катализаторам для
окисления диоксида серы и может быть использовано в производстве серной кислоты
при переработке газовых смесей с обычным и повышенным содержанием диоксида
серы.
Известен
катализатор для окисления диоксида серы, состоящий из пятиокиси ванадия с
добавками щелочных промоторов соединений натрия, калия, рубидия и (или) цезия
на носителе диатомите, содержащем SiO2, CaO. Смесь щелочных промоторов в
пересчете на окислы содержит, мас. Na2O 5-30; Rb2O и (или) Cs2O 15-35; K2O
8-35.
Активность
катализатора при 485oC 90,2-91% при 420oC 57,8-59,7% при испытании в следующих
условиях: V 4000 ч-1, содержание диоксида серы в исходной газовой смеси 7 об.
остальное воздух. Механическая прочность на раздавливание 1-2 МПа [6]
Реакция окисления S02
экзотермична; тепловой эффект ее, как и любой химической реакции, зависит от
температуры.
В интервале 400-700°С тепловой эффект реакции окисления (в кДж/моль) с
достаточной для технических расчетов точностью может быть вычислен по формуле
Q= 10
142 - 9.26T или 24205 - 2,21T (в ккал/моль) (18)
где Т - температура, К.
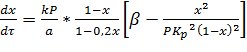
Реакция окисления S02 в S03 обратима. Константа равновесия
этой реакции (в Па-0,5) описывается уравнением

(19)
где Pso2 , Pso3 , Pо2-равновесные
парциальные Давления SO2, SO3 и О2 , Па. Величина Кр зависит от
температуры:
Таблица 1. Зависимость константы равновесия от температуры
|
t,ºС
|
Кр
|
t,ºС
|
Кр
|
|
390 400 425 450 475 500
|
1,801 1,410 0,768 0,437 0,258 0,159
|
525 575 600 625 650
|
0,100 0,044 0,030
0,021 0,015
|
Значения Кр в интервале 390-650 °С могут быть вычислены по формуле

(20)
или более точно

(21)
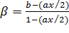
2.1 Равновесная степень превращения
Степень превращения S02,
достигаемая на катализаторе, зависит от его активности, состава газа,
продолжительности контакта газа с катализатором, давления и др. Для газа
данного состава теоретически возможная, т. е. равновесная степень превращения
зависит от температуры и выражается уравнением :

(22)
где
Pso2 , Pso3 - равновесные парциальные давления SO2 и
SO3.
Подставив
в уравнение (6-5) отношение Pso3/ Pso2 из уравнения (23), получим:

(24)
Если
обозначить Р - общее давление газа (в Па), а - начальное содержание S02 в
газовой смеси (объема. %), b - начальное содержание кислорода в газовой смеси
(объемн. %), то уравнение (6-6) примет вид:

(25)
Определение
равновесной степени превращения по этому уравнению производится методом
последовательных приближений. В правую часть уравнения подставляют ожидаемое
значение хр и проводят вычисления. Если найденное значение отличается от
предварительно принятого, расчет повторяют.
С
понижением температуры и повышением давления газа значение хр возрастает. Это
обусловлено тем, что реакция окисления протекает с выделением тепла и
уменьшением общего числа молекул. Ниже приведены значения хр при различных
температурах н давлении 0,1 МПа для газа, содержащего 7% S02,
11% 02 и 82% N2:
Таблица 2. Зависимость степени превращения от температуры
|
t,ºС
|
xp·100
|
t,ºС
|
xp·100
|
t,ºС
|
xp·100
|
|
390 400 410 420
430 440 450 460
|
99,4 99,2 99,0 98,7
98,4 98,0 97,5 96,9
|
470 480 490 500 510
520 530 540
|
96,2 95,4 64,5 93,4
92,1 90,7 89,2 87,4
|
550 560 570 580 590
650 700 1000
|
85,5 82,5 80,1 77,6
75,0 58,5 43,6 5,0
|
Равновесная степень превращения зависит от соотношения SO2 и О2 в газе, которое
в свою очередь зависит от вида обжигаемого сырья и количества подаваемого
воздуха. Чем больше введено воздуха, тем
меньше S02 и больше 02 содержится в газовой
смеси и, следовательно, тем выше равновесная степень превращения.
Таблица 3. Зависимость равновесной степени превращения от давления
|
t, *С
|
Хр* 100 при давлении (в
МПа)
|
|
0,1
|
0,5
|
1
|
2,5
|
5,0
|
10,0
|
|
400 450 500 550 600
|
99,2 97,5 93,4
85,5 73,4
|
99,6 98,9 96,9 92,9 85.8
|
99,7 99,2 97,8 94,9 89,5
|
99,9 99,5 98,6 96,7 93,3
|
99,9 99,6 99,0 97,7 95,0
|
99,9 99,7 99,3 93,3 96,4
|
Таблица
4. Зависимость равновесной степени превращения хр от состава газовой смеси (при
475 °С и давлении 0,1 МПа)
|
Содержание в газе, объем. %
|
хр.100
|
Содержание в газе, объем. %
|
хр.100
|
|
SO2
|
|
О2
|
|
SO2
|
О2
|
|
|
2 3 4 5 6
|
|
18,4 16,72 15,28 13,86
12,43
|
97,1 97,0 96,8 96,5 96,2
|
7 8 9 10
|
11,0 9,58 8,15 6,72
|
95,8 95,2 94,3 92,3
|
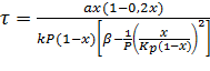
2.2 Скорость реакции S02 в S03
В производственных условиях существенное значение имеет скорость
окисления S02.
Скорость процесса окисления S02 в S03 на ванадиевом катализаторе (в
неподвижном слое) выражается уравнением

(26)

(27)
где
x-степень превращения, доли единицы; τ - время контакта, с; а-начальная концентрация SOa,
доли единицы; хр - равновесная степень превращения, доли; b -
начальная концентрация кислорода, доли; Т-температура, К; Р - общее давление,
Па; Кр - константа равновесия [уравнение (6-4)], Па-0,5; k -
константа скорости реакции, с-1-Па-1:

(28)
k0 -
коэффициент; E-энергия активации, Дж/моль;
Энергия активации реакции окисления оксида серы (IV) кислородом в оксид
серы (VI) весьма велика. Поэтому, в отсутствие катализатора реакция окисления
даже при высокой температуре практически не идет. Применение катализатора
позволяет снизить энергию активации и увеличить скорость окисления.[5]
.3 Окисление S02 на
катализаторе в кипящем слое
В кипящем слое происходит весьма интенсивное перемешивание газа с
частицами катализатора, в результате чего температура и состав газа практически
одинаковы во всем объеме катализатора. При этом значительно увеличивается
скорость внешней диффузии S02 и
О2 к поверхности катализатора.
Гидравлическое сопротивление кипящего слоя не зависят от размера зерен,
поэтому для каталитического окисления S02 в кипящем слое применяются очень мелкие сферические гранулы (радиус
0,5-2 мм), что обеспечивает практически полное использование внутренней
поверхности катализатора.
Кинетика процесса окисления диоксида серы во взвешенном слое катализатора
в значительной степени определяется гидродинамическими факторами, так как кроме
интенсивного радиального и осевого перемешивания возможен проскок газа в виде
пузырей. Учесть все факторы очень трудно. Однако опытно-промышленные и
промышленные испытания показывают, что в реакторах большого диаметра
достигаются условия полного перемешивания. Поэтому скорость окисления S02 в этом случае можно принять
одинаковой во всех точках кипящего слоя и, следовательно, расчетное уравнение
(6-19) можно представить в таком виде:

(29)
Где x - степень превращения на выходе газа
из кипящего слоя (она такая же во всем слое катализатора)
Зависимость Хр от температуры, давления и содержания оксида серы (IV) в
обжиговом газе представлена на рис. 1.
Рис.
1. Зависимость равновесной степени превращения оксида серы (IV) в оксид серы
(VI) от температуры (А), давления (Б) и содержания оксида серы (IV) в газе (В).
Для
газа, получаемого обжигом колчедана и сжиганием серы в воздухе, достижение
степени превращения более 98% нецелесообразно, так как это связано с резким
увеличением количества катализатора. Между тем при высокой производительности
сернокислотных установок (строящихся в настоящее время) и степени превращения
98% санитарная норма содержания S02 в атмосфере может быть достигнута только в случае
сооружения очень высокой (и поэтому дорогой) трубы для отходящих газов или при
проведении дополнительной санитарной очистки отходящих газов от S02-
Например, при производительности установки 5000 т/сут количество SO2,
выбрасываемого в атмосферу (в одной точке), составляет 100 т/сут (в пересчете
на H2S04).
Для
увеличения конечной степени превращения S02 применяют
двойное контактирование (ДК). Сущность его состоит в том, что окисление S02
(контактирование) ведут в две стадии, на первой стадии обеспечивается степень
превращения 90%. Затем из реакционной смеси выделяют S03, после чего
проводят вторую стадию контактирования, в которой достигается ж=95% от
оставшегося S02; общая степень превращения составляет 99,5%.
Реакция
окисления S02 обратима, поэтому общая скорость процесса W
выражается как:

(30)
где

, 
-
скорости прямой и обратной реакций; 
,
-константы скорости прямой и обратной реакций; CSO2, CO2 ,
CSO3 - концентрации в газе SО2, О2, SО3; l,m,n
-порядок соответствующей реакции.
Из уравнения (30) следует, что если SО3 выводится из реакционной смеси после первой стадии
контактирования, то перед второй стадией CSO3=0 и r2 =0.
Следовательно, скорость процесса увеличивается. В этом случае конечная степень
превращения выражается уравнением

(31)
где x1, x2, хп- степени превращения на первой, второй (от оставшегося
после первой ступени) и на конечной стадиях, доли.
Таким образом, хп = 0,9+ (1-0,9)0,95 = 0,995.
Противоречие между кинетикой и термодинамикой процесса окисления оксида
серы (IV) достаточно успешно снимается конструкцией и температурным режимом
работы контактного аппарата. Это достигается разбивкой процесса на стадии,
каждая из которых отвечает оптимальным условиям процесса контактирования[1].
Таблица 5. Степень превращения на каждой ступени контактного аппарата
|
Слои
|
слой первой ступени
|
слой второй ступени
|
|
1
|
2
|
3
|
4
|
5
|
|
Температура газа, оС на
входе в слой на выходе из слоя
|
420 603
|
465 575
|
450 465
|
430 446
|
410 414
|
|
Хр, %
|
71,1
|
83,8
|
94,0
|
90,9
|
93,0
|
3 ТЕХНОЛОГИЯ СЕРНОЙ КИСЛОТЫ
3.1 Сырье для технологии
Исходными реагентами для получение серной кислоты могут быть элементная
сера и серосодержащие соединения, из которых можно получить либо серу, либо
диоксид серы. Такими соединениями являются сульфиды железа, сульфиды цветных
металлов (меди, цинка и пр.), сероводород и ряд других сернистых соединений.
Традиционно основные источники сырья - сера и железный (серный) колчедан.
Постепенно доля колчедана как сырьевого источника уменьшается, что связано и с
большими транспортными расходами на его транспортировку (кроме серы в нем
весьма велика доля других компонентов), и с невозможностью избавиться от отхода
- огарка. Значительное место в сырьевом балансе производства серной кислоты
занимают отходящие газы цветной металлургии, содержащие диоксид серы.
Для защиты окружающей среды во всем мире принимаются меры по
использованию отходов промышленности, содержащих серу. В атмосферу с отходящими
газами тепловых электростанции и металлургических заводов выбрасывается диоксида
серы значительно больше, чем применяется для производства серной кислоты.
Например, в 1980-х голах мировое потребление серы составляло примерно 65 млн
т/год, а терялось 50, с отходящими газами (в пересчете на серу) почт 100 млн т.
В то же время из-за низкой концентрации SO2, в таких отходящих газах их переработка пока еще не всегда
осуществима.[4]
Железный колчедан
Природный железный колчедан представляет собой сложную породу, состоящую
из сульфида железа FeS2, сульфидов других металлов (меди, цинка, свинца,
никеля, кобальта и др.), карбонатов металлов и пустой породы. На территории РФ
существуют залежи колчедана, на Урале и Кавказе, где его добывают в рудниках в
виде рядового колчедана.
Процесс подготовки рядового колчедана к производству ставит целью
извлечение из него ценных цветных металлов и повышение концентрации дисульфида
железа. Увеличение содержания дисульфида железа в сырье путем флотации
колчедана, а также обогащение воздуха кислородом повышают движущую силу
процесса обжига .
По физико-химическим показателям флотационный серный колчедан должен
соответствовать нормам, указанным в табл.6.
Таблица 6
|
Наименование показателей
|
Нормы для марок
|
|
КСФ-0
|
КСФ-1
|
КСФ-2
|
КСФ-3
|
КСФ-4
|
|
1. Внешний вид
|
Сыпучий порошок Не
допускаются инородные включения (куски породы, руды, дерева, бетона, металла
и др.)
|
|
2. Содержание сульфидной
серы, %, не менее
|
50
|
45
|
42
|
38
|
|
3. Суммарное содержание
свинца и цинка, %, не более
|
Не норми- руется
|
1
|
1
|
1
|
1
|
|
4. Содержание мышьяка, %,
не более
|
0,3
|
0,3
|
0,3
|
0,3
|
0,3
|
|
5. Содержание фтора, %, не
более
|
0,05
|
0,05
|
0,05
|
0,05
|
0,05
|
|
6. Содержание влаги, %, не
более
|
3,8
|
3,8
|
3,8
|
3,8
|
3,8
|
|
7. Массовая доля хлора, %,
не более
|
0,01
|
0,01
|
0,01
|
0,01
|
0,01
|
Сера
Сера находится в природе в форме сульфидов металлов и сульфатов металлов,
входит в состав каменного угля, нефти, природного и попутного газов. Около 50%
добываемой серы используется для производства серной кислоты.
Элементарная сера может быть получена из серных руд или из газов,
содержащих сероводород или оксид серы SO2. В соответствии с этим различают серу
самородную и серу газовую (комовую).
Термический метод получения серы из самородных руд заключатся в ее
выплавлении с помощью водяного пара и очистке сырой серы перегонкой. Получение
газовой серы из сероводорода, извлекаемого при очистке горючих и
технологических газов, основано на процессе неполного окисления его над твердым
катализатором:
H2S + O2 = 2H2O + S2 (32)
Значительные количества серы могут быть получены из продуктов
медеплавильного производства, содержащих различные соединения серы. При этом в
процессе плавки протекают реакции, приводящие к образованию элементарной серы:
2FeS2 = 2FeS + S2 (33)+ С = S + СО2 (34)
По физико-химическим показателям техническая сера должна соответствовать
нормам, указанным в таблице 7
Таблица 7
|
Наименование показателя
|
Норма
|
|
Сорт 9998
|
Сорт 9995
|
Сорт 9990
|
Сорт 9950
|
Сорт 9920
|
|
1. Массовая доля серы, %,
не менее
|
99,98
|
99,95
|
99,90
|
99,50
|
99,20
|
|
2. Массовая доля золы, %.
не более
|
0,02
|
0,03
|
0,05
|
0,2
|
0,4
|
|
3. Массовая доля
органических веществ, %, не более
|
0,01
|
0,03
|
0,06
|
0,25
|
0,05
|
|
4. Массовая доля кислот в
пересчете на серную кислоту, %, не более
|
0,0015
|
0,003
|
0,004
|
0,01
|
0,02
|
|
5. Массовая доля мышьяка,
%, не более
|
0,0000
|
0,0000
|
0,000
|
0,000
|
0,03
|
|
6. Массовая доля селена, %,
нe более
|
0,000
|
0,000
|
0,000
|
0,000
|
0,04
|
|
7. Массовая доля воды, %,
не более
|
0,2
|
0,2
|
0,2
|
0,2
|
1,0
|
|
8. Механические загрязнения
(бумага, дерево, песок и др.)
|
Не допускается
|
3.2 Технологическая схема производства серной кислоты и ее описание
Наибольшее количество установок по производству серной кислоты использует
в качестве сырья серу. Сера нижется побочным продуктом переработки природного
газа и некоторых других промышленных газов (генераторного, газон
нефтепереработки). Такие газы всегда содержат какое-то количество сернистых
соединений. Сжигание неочищенного от серы природного газа приведет к
загрязнению окружающей среды оксидами серы. Поэтому сернистые соединения обычно
сначала удаляют и виде сероводорода, который затем частично сжигают до SO2, после чего смесь сероводорода и
диоксида серы взаимодействует на слое боксита при 270-300 ºС, превращаясь в результате этого
взаимодействия в S и Н2O. Полученная таким образом сера
называется «газовой». Кроме «газовой», в качестве сырья может использоваться
самородная сера.
Сера как сырье для производства серной кислоты имеет ряд преимуществ.
Во-первых, она в отличие от серного колчедана, почти не содержит примесей,
которые могли бы представлять собой каталитические яды на стадии контактного
окисления диоксида серы, например, соединений мышьяка. Во-вторых, при ее
сжигании не образуется твердых и иных отходов, которые требовали бы
складирования или поиска методов их дальнейшей переработки (при обжиге
колчедана на 1 т исходного колчедана образуется практически столько же твердого
отхода - огарка). В-третьих, серу значительно дешевле транспортировать, чем
колчедан, так как это концентрированное сырье.
Рассмотрим "короткую» схему получения серной кислоты из серы методом
ДКДА (рис. 2).
Рис. 2. Схема производства серной кислоты из серы по методу двойного
контактирования и двойной абсорбции:
- печь для сжигания серы; 2 - котел-утилизатор; 3 -экономайзер 4 -
пусковая топка: 5. 6 - теплообменники пусковой топки. 7 - контактный аппарат: 8
- теплообменники 9 - сушильная башня. 10, 11 - первый и второй моногидратные
абсорберы. 12 - сборники кислоты: 13 - выхлопная труба.
Расплавленную серу пропускают через сетчатые фильтры для очистки от
возможных механических примесей (сера плавится при температуре. немногим выше
100 ºС, поэтому такой способ ее очистки
наиболее простой) и направляют в печь 1, в которую в качестве окислителя подают
воздух, предварительно осушенный продукционной серной кислотой в сушильной
башне 9. Выходящий из печи обжиговый газ охлаждают в котле-утилизаторе 2 с
1100-1200 ºС до 440-450 ºС и направляют с этой температурой,
равной температуре зажигания промышленных катализаторов на основе пентоксида
ванадия, на первый слой полочно-контактного аппарата 7.
Температурный режим, необходимый для приближения рабочей линии процесса к
линии оптимальных температур, регулируется пропусканием потоков частично
вступившего в реакцию обжигового газа через теплообменники 8, где происходит
его охлаждение нагреваемыми потоками газа после абсорбции (или осушенного
воздуха). После третьей ступени контактирования обжиговый газ охлаждают в
теплообменниках 8 и направляют в промежуточный моногидратный абсорбер 10,
орошаемый циркулирующей через сборник кислоты 12 серной кислотой с
концентрацией, близкой к 98,3%. После извлечения в абсорбере 10 триоксида серы
и достигнутого вследствие этого отклонения от почти достигнутого равновесия газ
вновь нагревают до температуры зажигания в теплообменниках 8 и направляют на
четвертую ступень контактирования.
В данной схеме для охлаждения газа после четвертой ступени и
дополнительного смешения равновесия к нему добавляют часть осушенного воздуха.
Прореагировавшие в контактом аппарате газы пропускают для охлаждения через
экономайзер 3 и направляют в заключительный 11 моногидратный абсорбер 11, из
которого не содержащие оксидов серы газы выбрасывают через выхлопную трубу 13 в
атмосферу.
Для пуска установки (вывода ее на заданный технологический, в частности
температурный, режим) предусмотрены пусковая топка 4 и теплообменники пусковой
топки 5 и 6. Эти аппараты отключаются после вывода установки в рабочий режим[9].
.3 Отходы в технологии серной кислоты и способы их утилизации
При производстве серной кислоты в атмосферный воздух вследствие
негерметичности оборудования и неполноты превращения диоксида серы в серный
ангидрид выбрасываются значительные количества оксидов серы. Например, при
одинарном контактировании степень превращения SO2 в SO3 достигает 98 % и
содержание диоксида серы в отходящих газах превышает допустимые нормы выброса в
атмосферу в 5 и более раз. Поэтому для таких систем предусматриваются
специальные установки очистки отходящих газов. Получение серной кислоты методом
двойного контактирования обеспечивает конверсию до 99,8 %, при этом выбросы SO2
в атмосферу снижаются в 2 - 3 раза по сравнению с одностадийным
контактированием и никакой дополнительной очистки газа не требуется.
Производительность системы увеличивается на 20-25 %, повышается коэффициент
использования сырья.
Неорганизованные выбросы азрозолей серной кислоты от олеумных установок
составляют от 0,5 до 5 кг/т готовой продукции.
Для очистки отходящих газов сернокислотного производства наиболее широко
используются аммиачные способы: аммиачно-сульфатный с получением товарного
сульфата аммония или его растворов и аммиачно-циклический с получением 100
%-ного диоксида серы и товарного бисульфита аммония. Указанные способы очистки
газов позволяют утилизировать диоксид серы и одновременно получить ценные
продукты. Таким образом, производство серной кислоты постепенно становится
безотходным. В настоящее время загрязнения воздуха обычно улавливают с помощью
одного из следующих методов:
· Модификация технологического процесса с целью предотвращения
или минимизации образования загрязняющего продукта.
· Установка новых более эффективных аппаратов.
· Электрофильтры, циклоны, промывные башни и т.д.
· Использование химических или физических процессов, например
адсорбции, абсорбции, дожигания, двойного контактирования, каталитического
обезвреживания и т.д.
· Конструктивные решения, например двойные, а не одинарные
затворы, закрытые вентильные системы, улавливающие выбросы.
· Конструкция установки должна обеспечивать надежную и
безопасную работу аппаратов, возможность осмотра и очистки, промывки, продувки
и ремонта, а также проведения необходимых испытаний .
· Трубопроводы, баллоны, цистерны окрашивают в цвета,
соответствующие их содержимому, и снабжают надписью с наименованием хранимого
или транспортируемого вещества. Для наблюдения за режимом процесса производства
серной кислоты устанавливаются средства автоматического контроля.
При получении диоксида серы из серного колчедана образуется пиритный
огарок. Пиритные огарки состоят главным образом из железа (40-63 %) с
небольшими примесями серы (1-2 %), меди (0,33-0,47 %), цинка (0,42-1,35 %),
свинца (0,32-0,58 %), драгоценных (10-20 г/т) и других металлов.
Выходящий из обжиговой печи газ загрязнён огарковой пылью и другими
примесями. Концентрация пыли в диоксиде серы в зависимости от конструкции
печей, качества и степени помола сырья составляет от 1 до 200 г/м3. Объём
обжиговых газов составляет сотни тысяч кубометров в сутки. Перед переработкой
эти газы очищают в циклонах и сухих (агарковых) электрофильтрах до остаточного
содержания пыли около 0,1 г/м3. Печные газы подвергают дополнительной очистке
путём последовательной промывки охлаждённой 60-75 %-й (в полых башнях) и 25-40
%-й (в насадочных башнях) серной кислотой с улавливанием образующегося тумана в
мокрых электрофильтрах. Процесс дополнительной очистки печных газов от пыли
сопровождается образованием шламов, накапливающихся в аппаратуре промывного
отделения и мокрых электрофильтрах.
Таким образом, твердыми отходами производства серной кислоты из серного
колчедана являются пиритные огарки, пыль циклонов и сухих электрофильтров,
шламы промывных башен, собирающиеся в отстойниках, сборниках и холодильниках
кислоты, и шламы мокрых электрофильтров.
При обжиге серного колчедана отходы пиритных огарков составляют ~70 % от
массы колчедана. На 1 т производимой кислоты выход огарка в лучшем случае
составляет 0,55 т. Так как сырьем для получения серной кислоты наряду с серным
колчеданом, добываемым специально для этой цели, являются отходы, образующиеся
при обогащении сульфидных руд флотационным методом и отходы, образующиеся при
обогащении каменных углей, то различают три вида пиритных огарков (огарки из
колчеданов, огарки из флотационных хвостов обогащения сульфидных руд, углистые
огарки), значительно отличающихся друг от друга как по химическому составу так
и по физическим характеристикам. Огарки первых двух типов отличаются
значительным содержанием меди, цинка, серебра, золота и других металлов.
Утилизация пиритных огарков возможна по нескольким направлениям: для
извлечения цветных металлов и производства чугуна и стали, в цементной и
стекольной промышленности, в сельском хозяйстве и др.[10]
.4 Предельно-допустимые концентрации газов, паров и пыли в
производстве серной кислоты
|
Вещества
|
В воздухе рабочей зоны
производственных помещений, мг/м3
|
В атмосферном воздухе
населенных мест
|
|
|
максимальная разовая, мг/м3
|
среднесуточная, мг/м3
|
|
Аммиак
|
20
|
-
|
-
|
|
Минеральная и растительная
пыль, не содержащая SiO2 и ток сических веществ
|
10
|
0,5
|
0,15
|
|
Мышьяковый и
мышьяковистыйангидриды
|
0,3
|
-
|
0,003
|
|
Мышьяковистый водород
|
0,3
|
-
|
-
|
|
Оксиды азота (в пересчете
наN2O3)
|
5
|
0,3
|
0,1
|
|
Оксид углерода
|
20
|
6
|
1
|
|
Пыль цемента, глин,
минералов и их смесей, не содержащая свободной SiO2
|
6
|
-
|
-
|
|
Пыль пентоксида ванадия
|
0,5
|
-
|
0,003
|
|
Ртуть металлическая
|
0,01
|
-
|
0,0003
|
|
Свинец и его неорганические
соединения
|
0,01
|
-
|
-
|
|
Селен аморфный
|
2
|
-
|
-
|
|
Селенистый ангидрид
|
0,1
|
-
|
-
|
|
Серная кислота, серный
ангидрид
|
1
|
0,3
|
0,1
|
|
Сернистый ангидрид
|
10
|
0,5
|
0,15
|
|
Сероводород
|
10
|
0,008
|
0,008
|
|
Теллур
|
0,01
|
-
|
-
|
|
Фосфорный водород
|
1
|
0,15
|
0,05
|
|
Фтористый водород
|
0,5
|
0,03
|
0,01
|
|
Хлор
|
1
|
0,1
|
0,03
|
|
Хлористый водород и соляная
кислота (в пересчете на НС1)
|
5
|
0,05
|
0,015
|
КОНСТРУКЦИЯ ОСНОВНОГО АППАРАТА
В абсорберах серная кислота извлекает из газовой смеси только триоксид
серы, остальная часть газа, пройдя абсорберы, удаляется в атмосферу. Обычно SO3 поглощается в двух последовательно
соединенных абсорберах: в первом - олеумном и во втором - моногидратном.
Основной показатель работы абсорбционного отделения - полнота абсорбции SO3; при оптимальном режиме
моногидратного абсорбера отходящие газы практически прозрачны, в них содержатся
только следы серной кислоты. При концентрации кислоты, орошающей моногидратный
абсорбер, менее и более 98,3% H2 SO4 образуется туман и отходящие газы
становятся видимыми. В моногидратном абсорбере туман образуется также при
повышенной влажности газа. Обычно в газе после сушильных башен остается 0,01%
водяных паров. Поскольку в газе после контактного аппарата содержится большое
количество SO3, то при охлаждении газа пары воды
полностью превращаются в пары H2SO4, концентрация которых составляет
также 0,01%, или 0,437 г/м3.
Пары серной кислоты конденсируются на поверхности насадки абсорбера. При
очень низкой температуре орошающей кислоты или при повышенной влажности газа
(содержание серной кислоты в газе более 0,437 г/м3) часть паров серной кислоты
конденсируется в объеме с образованием тумана, который не осаждается в
абсорберах и выбрасывается в атмосферу.
При выпуске товарной продукции в виде технической контактной кислоты ее
обычно выводят из сушильных башен. Для этого в одной из сушильных башен
поддерживают концентрацию кислоты, соответствующую стандартным требованиям на
контактную техническую серную кислоту, и по мере накопления ее передают из
сборника на склад. В таких случаях в абсорбционном отделении (где происходит
разбавление) выделяется значительно больше тепла, чем при выпуске олеума,
поскольку моногидрат приходится разбавлять водой[1].
.1
Олеумный абсорбер
Рис. 3 Конструкция олеумного абсорбера
- стальная обечайка; 2 - люки; 3 - ограждение на крышке; 4 - труба для
подачи кис-лоты; 5 - напорный бачок; 6 - тяга для подвески плит; 7 - плита
стальная со стаканчиками для распределения кислоты; 8 - насадка (снизу по дна
ряда колец 150x150, 120X120, 100х100, 80X80 мм, сверху 143 ряда колец 50x50
мм); 9 - колосниковая решетка; 10 - стойка (стальная труба); 11 - стальная
сетка с кислотоупорной обмазкой: 12 - днище (кислотоупорный кирпич); 13 -
опорные балки; 14 - газовая коробка.
На старых заводах стенки абсорбера футерованы кислотоупорным кирпичом, а
колосниковая решетка смонтирована из андезитовых или других кислотоупорных
плит. На новых контактных заводах стальные стенки олеумного абсорбера не
футерованы, колосниковая решетка смонтирована из стальных балок.
Для равномерного распределения кислоты по насадке абсорбера применяются
различные устройства и приспособления - стальные плиты, в которые вставлены
стальные или фарфоровые трубки, распределительные желоба, распылители и др. На
новых контактных заводах устанавливают стальные распределители кислоты, по
конструкции аналогичные устройствам для распределения сушильной кислоты.
Поскольку даже для выпуска всей продукции в виде олеума только 1/3 триоксида
серы должна поглощаться в олеумном абсорбере, поверхность соприкосновения в нем
газа с орошающим олеумом может быть небольшой, вследствие чего на некоторых
заводах устанавливают олеумные абсорберы без насадки. Необходимая поверхность соприкосновения
газа с жидкостью создается путем разбрызгивания олеума.
Размеры олеумного абсорбера и количество олеума, подаваемого на орошение,
зависит от производительности сернокислотной системы. Обычно на 1 т/ч продукции
требуется поверхность насадки в абсорбере от 600 до 1000 м2 при скорости газа в
насадке до 1 м/с и плотности орошения 10-12 м3/м2 сечения олеумного абсорбера.
.2 Моногидратный абсорбер
Моногидратный абсорбер орошается 98,3%-ной серной кислотой. В абсорбере
кислота поглощает SО3 и концентрация
ее повышается. В сборнике моногидрата кислота разбавляется водой или сушильной
кислотой до начальной концентрации и через холодильник вновь поступает на
орошение моногидратного абсорбера; плотность орошения составляет около
20м3/(м2*ч).
Рис. 4 Конструкция моногидратного абсорбера
- стальная обечайка: 2 - кислотоупорный кирпич; 3 - асбест; 4 - люки; 5 -
тяги для подвески плиты; 6 - напорный бачок; 7 - труба для подачи кислоты; 8 -
ограждение на крышке; 9 - крышка; 10 - распределитель кислоты по плите; 11 -
смотровое окно; 12 - насадка (снизу по два ряда колец 150 X 150. 120х 120. 100x100 80X 80мм, выше 144 ряда колец 60X 50 мм, сверху кольца 80Х80 мм
навалом); 13 - газовая коробка; 14 - стальная опорная балка; 15- опорная
конструкция с кирпичными арками;16 - кирпичная колосниковая решетка.
На некоторых установках олеумный абсорбер подключен к моногидратному
абсорберу в шунт. В этом случае газ после ангидридного холодильника разделяется
на два потока, один из которых направляется непосредственно в моногидратный
абсорбер, а второй вначале поступает в олеумный абсорбер, а из него в
моногидратный. Такая схема позволяет включать в работу олеумный абсорбер только
в тех случаях, когда необходимо выпускать олеум.[1,11]
Предлагается иная конструкция абсорбционной башни, которая включает в
себя (рис5): футерованный кислотоупорным кирпичом корпус (1), тангенциально
выполненный входной патрубок для ввода газовой или воздушной смеси (2),
выложенную из кислотоупорного кирпича цилиндрическую газораспределительную
решетку (3), имеющую сквозные каналы разной длины для прохода газа на каждом ее
уровне. На газораспределительной решетке выложен из кислотоупорного кирпича
цилиндрический корпус такого же диаметра (4). Корпус башни заполнен насадкой
(5) и снабжен кислотораспределительным устройством (6).
Абсорбционная башня работает следующим образом:
Газовая смесь или воздух поступает через входной тангенциально
выполненный патрубок (2) в кольцевое пространство между корпусом (1) и внутренним,
выложенным из кислотоупорного кирпича, цилиндрическим корпусом (4) на
газораспределительной решетке (3), распределяется по всему периметру кольцевого
пространства и равномерно поступает через газовые каналы газораспределительной
решетки на насадку абсорбционной башни (5), на которой происходят теплообменные
и массообменные процессы. Насадка орошается концентрированной серной кислотой
через кислотораспределительные устройства (6)[12]
Рис 5
Для
системы мощностью <http://chem21.info/info/318104> 120 т в сутки
абсорберы устанавливаются диаметром 3,3 м. Распределение орошающей кислоты
производится <http://chem21.info/info/1690954> с помощью системы
<http://chem21.info/info/1354445> стальных или чугунных желобов,
расположенных под крышкой абсорбера. Высота олеумного абсорбера
<http://chem21.info/info/666490> 12 м, а моногидратного - 13,5 м.
Схемы абсорбционных отделений на заводах мало отличаются друг от друга,
сходны также применяемые технологические режимы. Ниже приведены примерные нормы
технологического режима абсорбционного отделения на одном из контактных
заводов[1]:
Температура на выходе из абсорбера, °С, не более
олеумного.........................................................................................................
60
моногидратного..........................................................................................
60
Концентрация орошающей кислоты в абсорбере
в олеумном, % SO3 (своб).....................................................................20±1
в моногидратном, % H2SO4............................................................
98,6±0,2
Степень абсорбции, %, не менее.......................................................
99,95
.3 Технологические характеристики абсорберов
Производительность завода, т/ч
H2S04 ………………………………………………………………….10
Степень превращения х………………………………………………………0,98 Полнота поглощения SO3
в олеумном абсорбере y……………………………………………….0,5
общая z ……………………………………………………………………..0,9995
Концентрация
олеума, орошающего олеумный абсорбер Со, % SО3(своб) …20 [85,3% S03 (общ)]
моногидрата См, % H2SO4……………………………98 [80% S03 (общ)]
сушильной кислоты Сп, % H2SO4 ………....……………………………93
Расход обжигового газа, м3/ч ……………………………………. 26820
в том числе:
so2
…………………………………………………………………… 2350
О2 ...…………………………………………………………………….2220
N2
…………………………………………………………………... 21460
пары Н2О ………………………………………………………...……660
SO3
………………………………………………………………………130
Барометрическое давление Р, Па ………………………………..1.01*105
Разрежение перед сушильной башней Pp, Па……………………,9*103
Температура газа на входе в сушильную башню, °С………………….32
Давление паров воды в этом газе РН2O, Па ……………….4,75*103
Содержание S02 в газе после
разбавления воздухом и осушки а,%..........7
ТЕХНИКО-ЭКОНОМИЧЕСКИЕ ПОКАЗАТЕЛИ ТЕХНОЛОГИИ СЕРНОЙ КИСЛОТЫ
Себестоимость серной кислоты существенно зависит от вида
перерабатываемого сырья, так как стоимость серы в различном сырье неодинакова.
Например, стоимость 1 т серы в колчедане в 2 раза ниже, чем в природной сере;
стоимость серы в отходящих газах металлургической промышленности вообще не
учитывается.
Влияние типа сырья на себестоимость сказывается также в том, что
технологическая схема и ее аппаратурное оформление различны при работе на
различном сырье. Так, при использовании природной серы отпадает необходимость
промывки газа, а при сжигании сероводорода не нужны промывка и осушка газа,
благодаря чему уменьшаются затраты на переработку сырья. Себестоимость серной
кислоты зависит и от многих других факторов: удаленности сернокислотного завода
от источников сырья, стоимости воды, электроэнергии и др.
С увеличением производительности сернокислотной системы себестоимость
продукции понижается, так как при этом уменьшаются амортизационные расходы,
повышается производительность труда, снижаются расходы на содержание
оборудования и т. д. Себестоимость серной кислоты снижается также при
увеличении интенсивности аппаратуры.
Важным показателем процесса производства серной кислоты является
стоимость переработки сырья, в нее включаются все расходы за исключением
стоимости сырья. Стоимость переработки непрерывно снижается по мере
усовершенствования технологической схемы производства, улучшения ее
аппаратурного оформления, снижения расходных коэффициентов, увеличения
производительности системы и т. д. Стоимость переработки- основной показатель,
характеризующий техническую оснащенность и организацию производства[1].
Таблица 8. Средние расходные коэффициенты в производстве контактной
серной кислоты в зависимости от вида применяемого сырья (на 1 кг H2S04)[13]
|
Сырье
|
Сырье, кг
|
Электроэнергия, квт*ч
|
Вода, м3
|
|
Колчедан (45% S)
Отходящие газы Сера полная схема короткая схема Сероводород
|
850 - 351 378 -
|
99 130 95 67 96
|
60 26 43 31 51
|
Таблица 9. Расходные коэффициенты для производства 1 т серной кислоты из
чистой серы методом ДК-ДА[13]
|
Элементарная сера,т
Электроэнергия, кВт*ч Технологическая вода, м3 Циркуляционная охлаждающая
вода, м3 Контактная масса, кг
|
0,334 40 0,36 52 0,1
|
ВЫВОДЫ
В данном реферате были рассмотрены физические, химические свойства серной
кислоты. Изучены основные области ее применения. Приведены существующие методы
получения кислоты. Выявлено, что наиболее эффективным методом получения серной
кислоты является метод двойного контактировния и двойной абсорбции. Приведены
необходимые справочные данные. При получении обжигового газа путем сжигания
серы отпадает необходимость очистки от примесей, в отличии от сжигания
железного колчедана. В данное время продолжается разработка эффективных
катализаторов для получения триоксида серы с максимальной степенью превращения,
а также разработка установок для получения олеума с целью предотвращения
выбросов, не соответствующих нормам ПДК и ПДВ. С другой стороны, независимо от
вида серосодержащего сырья, целесообразно применять отходы кислотного
производства в других производствах (например, огарки колчедана в металлургии).
Поскольку запасы серы и пирита исчерпываются, получение сырья для кислоты из
отходящих газов тоже решает экологическую проблему. Таким образом, технология
серной кислоты стремится к безотходному производству.
СПИСОК ЛИТЕРАТУРЫ
1. Амелин
А. Г., Технология серной кислоты, 2 изд., М., 1983.- 360 c.
. ГОСТ
2184-77 Кислота серная техническая. Технические условия
. ГОСТ
667-73 Кислота серная аккумуляторная. Технические условия
4. Мельников
Е.Я, Салтанова В.П., Наумова А.М., Блинова Ж.С. Технология неорганических
веществ и минеральных удобрений. Учебник для техникумов. М.: Химия, 1983. - 432 с.
5. Боресков
Г.К. Катализ в производстве серной кислоты М.-Л.: Госхимиздат, 1954. - 348 с.
. Патент
РФ №94025148/04 Добкина Е.И.; Кузнецова С.М.; Ларионов А.М. Катализатор для
окисления диоксида серы//патент России №2080176, 27.05.1997
. ГОСТ
444-75 Колчедан серный флотационный. Технические условия
8. ГОСТ
127.1-93. Сера техническая. Технические условия
. Кутепов
А.М., Бондарева Т.И., Беренгартен М.Г. Общая химическая технология. 3-е изд. Учеб. для вузов. - 3-е изд., перераб.
- М.: Академкнига, 2004. - 528 с.: ил.
10. О.А. Федяева
Промышленная экология <http://ekolog.org/books/16/>. Конспект лекций. -
Омск: Изд-во ОмГТУ, 2007. - 145 c.
. Справочник
сернокислотчика / Под. ред. К.М. Малина. - М.: Химия, 1971.
12. Сыромятников В.Д.
<http://www.findpatent.ru/byauthors/208274/>, Игин В.В.
<http://www.findpatent.ru/byauthors/152007/>, Филатов Ю.В.,
<http://www.findpatent.ru/byauthors/152009/> Сущев В.С. , Голоус В.И. Патент
RU 2240976 Абсорбционная башня.
13. Соколовский
А.А., Яшке Е.В. Технология минеральных удобрений и кислот. - М.: Химия, 1979. -
384 с.
14. Реферативный
журнал «Химия».