Технологія отримання озалізненого вапна
ЗМІСТ
ВСТУП
1. АНАЛІТИЧНА ЧАСТИНА
1.1 Шлакоутворення
конверторної плавки
1.2 Механізм та
закономірності шлакоутворення і розчинення вапна
1.3 Технологія наведення
шлаку
1.4 Шляхи поліпшення
шлакоутворення
1.5 Аналіз літературних і
патентних даних існуючих технологій поліпшення шлакового режиму конвертерної
плавки
Висновки і постановка
задач
2. ОСНОВНА ЧАСТИНА
2.1 Технологія отримання
озалізненого вапна
2.1.2 Досвід отримання
озалізненого вапна на різних підприємствах
2.2 Результати
застосування озалізненого вапна на різних металургійних підприємствах
2.3 Розробка технології
виплавки сталі з використанням озалізненого вапна
ВИСНОВКИ
БІБЛІОГРАФІЧНИЙ СПИСОК
ВСТУП
Чорна металургія - найбільша ключова
галузь економіки України. Її важливість обумовлена тим, що підприємства
машинобудування та металообробної промисловості залежать від виробництва
металургійної галузі, а також, що метал є важливою статтею експорту і основним
джерелом будівельних матеріалів.
Чорна металургія є дуже трудомісткою
і технологічно складною. Особливості видобутку сировини для виробництва
визначені географією розміщення металургійних баз. В Україні центрами
металургії є Кривий Ріг, Донбас, Запоріжжя, Дніпропетровськ і Нікополь.
Якщо Україну порівнювати з
економічно розвиненими країнами світу, то металургійна промисловість
характеризується технологічним відставанням. Виробничі фонди вже зношені більш
ніж на 55 %, половина металопродукції виготовляється на обладнанні у якого
термін використання вище нормативного.
На сьогоднішній день чорна металургія
України характеризується також надлишком виробничих потужностей, внаслідок чого
значна частина цих потужностей не використовується. Так експлуатується тільки
30 з 48 наявних доменних печей, 14 з 19 кисневих конвертерів, 41 з 54 наявних
мартенівських печей.
В останні роки підвищилися витрати
енергоресурсів на виробництво металопродукції. Рівень енергетичних витрат на
виробництво кінцевої продукції на підприємствах чорної металургії майже в 2
рази перевищує світовий показник.
Так енерговитрати на виробництво 1
тонни сталі на українських металургійних підприємствах в 2,2 рази вище ніж у
Російській Федерації та в 4,8 рази вище в порівнянні з Польщею, в 9 разів
більше ніж у Туреччині і в 11-12 разів більше ніж у Сполучених Штатах.
Енергоспоживання в розрахунку на одиницю ВВП в США становить 0,2-0,5 кВт∙годин
на один долар ВВП, а в Україні 1,8-2,0 тобто в 4,9 разів вище.
Обумовлено такий стан справ дуже
низьким технологічним рівнем металургії України, тобто використанням застарілих
технологій та агрегатів. Відомо, що перехід від мартенівського способу
виробництва сталі до киснево-конвертерного дозволяє економити значну кількість
енергоресурсів і різко знизити навантаження на навколишнє середовище. Саме тому
розвинені країни відмовилися від мартенів більше 30 років тому. І тільки
Україна, Росія та Індія продовжують експлуатувати цю енерговитратну технологію,
причому Україні належить перше місце по цьому негативному показнику.
Таблиця 1
- Співвідношення методів виробництва сталі в
країнах-лідерах металургійної
промисловості
|
Країна
|
Киснево-конвертерний,
%
|
Електросталь,
%
|
Мартенівський
метод, %
|
|
Австрія
|
90,4
|
9,6
|
0
|
|
Китай
|
81,6
|
18,4
|
0
|
|
Японія
|
73,6
|
26,4
|
0
|
|
Германія
|
69,3
|
30,7
|
0
|
|
Росія
|
61,6
|
16,3
|
22,1
|
|
Індія
|
57,2
|
38,9
|
3,6
|
З таблиці випливає, що в розвинених
країнах весь обсяг сталі виробляють в кисневих конвертерах і дугових
сталеплавильних печах, мартенівське виробництво збереглося тільки в Індії,
Росії та України. Частка мартенівської сталі в Індії становить 3,9 в Росії 22,1
в Україні 43,4.
За прогнозами до 2011 року в Україні
частка мартенівського способу мала знизитися з 43,4 до 17 %, частка
електросталеплавильного способу зросте з 6,8 до 11 %, а основний обсяг виплавки
сталі (72 %) буде припадати на киснево-конвертерний спосіб. Як наслідок
технологічної відсталості готова металопродукція України виявляється
неконкурентоспроможною на зовнішніх ринках. Україна змушена продавати її за
заниженими цінами, а це викликає антидемпінгові судові процеси, в результаті
яких Україна щорічно втрачає мільярди доларів.
Таким чином для забезпечення
розвитку металургійних підприємств України потрібно домогтися проведення
наступних заходів:
зниження матеріальних і в першу
чергу енергетичних витрат при виробництві металопродукції;
реконструкції виробництва на основі
впровадження нових технологій та обладнання;
активна інноваційно-інвестиційна
політика при селективності спрямованості заходів;
оптимізація кадрового потенціалу
підприємств та впровадження нових методів управління.
Стратегія зростання дозволить
металургійному виробництву успішно функціонувати в ринковому конкурентному
середовищі.
Слід зазначити, що для здійснення
вищевказаних заходів необхідні вагомі фінансові витрати.
1.
АНАЛІТИЧНА ЧАСТИНА
.1 Шлакоутворення конверторної
плавки
Шлакоутворення є найважливішою
складовою технології конвертерної плавки. Воно визначає хід дефосфорації,
знесірчення металу, істотно впливає на стійкість футеровки. Раннє утворення
активного основного шлаку, який до моменту інтенсивного окислення вуглецю
покриває метал досить товстим шаром, супроводжується зазвичай значним
зменшенням виносу і викидів металу. У викидах міститься до 65 % металевої фази.
Повільне шлакоутворення викликає перевитрату вапна, що не завжди забезпечується
необхідну ступінь (глибина) десульфурації і дефосфорації металу. У звичайних
умовах плавки шлакоутворення часто проходить з недостатньою швидкістю, що
призводить до неповного засвоєння вапна шлаком (60-90 %) і затягування процесів
видалення шкідливих домішок.
Актуальність питання поліпшення
шлакоутворення зростає при збільшенні частки брухту в металошихті, що дещо
погіршує умови формування шлаці внаслідок зниження температури ванни на
більшому періоді плавки. Швидкість шлакоутворення істотно залежить від якості
застосовуваного брухту (розміру шматків, щільності, насипної ваги), а також від
співвідношення різних видів брухту і їх взаємного розташування в конвертерної
ванні. Умови шлакоутворення бувають найгіршими при використанні лише
великовагового брухту і при завалці легковісного брухту під великоваговий, що
часто має місце в практиці.
Умови шлакоутворення останнім часом
ускладнилися у зв'язку зі зменшенням вмісту марганцю в чавуні, освоєнням
переділу чавуну з підвищеним вмістом фосфору, дефіцитом плавикового шпату і
інтенсифікацією продувки, при якій підвищення швидкості масопереносу і
шлакоутворення (без прийняття спеціальних заходів) в деякій мірі відстає від
зростання швидкості окислення домішок. Проте, найважливішою технологічною метою
процесу в усіх випадках є отримання до кінця плавки шлаків, насичених вапном і
з достатньою вологотекучостю. При забезпеченні цього майже для всіх реакцій в
кінці плавки досягається стан рівноваги або близьке до нього, що особливо
необхідно для отримання максимального ступеня видалення шкідливих домішок.
1.2 Механізм та закономірності шлакоутворення
і розчинення вапна
Джерелами утворення шлаку при
киснево-конвертерному процесі є:
процеси окислення домішок чавуну;
надходження оксидів із сипучих
матеріалів;
розчинення футерування ;
і головним чином, розчинення вапна.
Звичайна динаміка зміни в процесі
плавки об’єму рідкої фази шлаці і розчиненого вапна при охолодженні плавок
ломом та рудою. Спочатку (до 20 % тривалості плавки - при охолодженні рудою і
до 30 % і більше - при охолодженні ломом) накопичення шлакової фази
відбувається, в основному, за рахунок окислення складових чавуну (кремнію,
марганцю, заліза), а потім домінуюча роль у збільшенні її кількості переходить
до процесу розчинення вапна. Найбільш інтенсивний перехід вапна в рідку фазу і
приріст основності шлаці спостерігаються на початку (особливо при охолодженні
ванни тільки рудою) і в кінці плавки.
Перехід вапна в шлаковий розплав
починається після закінчення пасивного періоду, пов'язаного з тим, що при
внесенні шматочка непрогрітого вапна в шлак навколо нього спочатку
наморожується кірка шлаці, і необхідно якийсь час для її прогріву і
розплавлення. Тривалість пасивного періоду відносно невелика і не перевищує 50
с. для шматків вапна розміром близько 0,04 м при звичайних величинах теплових
потоків в конвертерній ванні. Тим не менш, необхідно прагнути до скорочення
зазначеного періоду, особливо при інтенсифікації продувки, шляхом застосування
вапна з мінімально допустимими розмірами шматків (10-30 мм) або шляхом
попереднього нагрівання вапна.
Мікроскопічне та петрографічне
дослідження шматків вапна, витягнутих з гетерогенного (ще не сформованого)
конвертерного шлаці, виявляє їх зональну структуру. Слідом за недоторканою
серцевиною з кристалічними решітками СаО розташовується зона, просочена
оксидами заліза (іноді марганцю) з наростанням їх концентрації напрямку до
периферії, поступово переходить в зону зі значним вмістом твердих розчинів
FеО-МnО-CaO, евтектики і хімічних сполук (феритів, силікатів, в деяких випадках
- фосфатів). Значення температури переходу в рідку фазу деяких сполук оксиду
кальцію з іншими оксидами наведені в таблиця 1.1. Найбільш легкоплавкі
з'єднання виходять в системах FeO-MnO-CaO, CaO-Fe2O3 і CaO-P2O5. При наявності
в первинному шлаці високої концентрації кремнезему на поверхні шматків вапна
зазвичай утворюється, суцільна або ділянками, щільна оболонка ортосиліката
кальцію з високою температурою тиску (2130 °С). Це значно гальмує подальше
розчинення вапна в шлаці.
Таким чином, процес асиміляції вапна
шлаком складається з ланок відображених в таблиці 1.1.
Таблиця 1.1
- Температура перехода в рідку фазу в деяких
з'єднаннях
|
Система
|
Найбільш
легкоплавкі з'єднання
|
Температура
плавлення °С
|
|
CaO-SiO2 CaO-SiO2 CaO-Al2O3 CaO-Fe2O3 CaO-P2O5
CaO-P2O5
|
CaSiO3(CaO·SiO2) Ca3Si2O7(3CaO·2SiO2)
Ca5Al6O14(5CaO·3Al2O3) CaFe2O3(CaO·Fe2O3) CaP2O6(CaO·P2O5) Ca2P2O7(2CaO·P2O5)
|
1540
1478 1455 1200 980 1300
|
. Зовнішнього масопереносу, а саме,
дифузійного підведення FеО, МnО і інших оксидів-розчинників з шлаці до поверхні
вапна та відведення розчиненого оксиду кальцію від міжфазної межі в глибинні
шари шлаці. У деяких випадках (підвищена температура ванни, утворення
легкоплавких з'єднань) можливе просто оплавлення поверхневого шару шматків.
Швидкість масопереносу в загальному випадку і для СаО визначається рівняннями:
|
vдиф=βS∆(MeO)=D/δ
S∆(MeO)
|
(1.1)
|
|
vдиф=βS∆(CaO)=S
D/δ[(CaO)нас-(CaO)дейст]
|
(1.2)
|
де vдиф - швидкість дифузії
компонента; β - коефіцієнт
масопереносу; D - коефіцієнт дифузії; δ - товщина
дифузійного прикордонного шару; Δ (МеО)
- перепад концентрацій компонента; S - площа поверхні зіткнення вапна з шлаком.
. Внутрішнього масопереносу, а саме,
проникнення рідкого шлаці в пори, тріщини і по кордонах зерен шматків вапна і
подальшої дифузії оксидів-розчинників (іонів) в грати вапна з утворенням більш
легкоплавких, ніж СаО, твердих розчинів і хімічних сполук у поверхневому шарі.
Глибина проникнення шлаці в пори і капіляри описується рівнянням:
де σ
- поверхневий натяг рідкої фази; θ
- кут змочування; η
- динамічна в'язкість рідкої фази; r - радіус
капіляра; τ- час
контакту, с.
З аналізу механізму процесу
асиміляції вапна шлаком і рівнянь (1.1) і (1.3) випливає, що на швидкість цього
процесу впливають як чинники, від яких залежить швидкість масопереносу
компонентів в рідкій фазі шлаці, наприклад, її в'язкість, перемішування ванни,
градієнт концентрацій, величина поверхні контакту вапно-шлак (перша ланка), так
і чинники, що визначають умови змочування шлаком поверхні вапна і дифузії
частинок в решітці СаО (друга ланка).
Важливою особливістю умов розчинення
вапна в кисневому конвертері є наявність у верхній частині ванни первинної
реакційної зони, де вапно піддається комплексному впливу дуже високих
температур і шлаці з превалюючим вмістом оксидів заліза. Це сприяє порівняно
швидкому формуванню активного основного шлаці. У протилежному напрямку на
розчинення вапна впливає емульгування шлаці в процесі продувки, його змішування
з металом, що обумовлює наявність в ділянках розчинення вапна значних металевих
прошарків. Склад шлаці, особливо первинного, дуже впливає на процес розчинення
вапна.
На розчинення вапна концентрації
окремих компонентів шлаці, за даними лабораторного дослідження, проведеного в
температурних і гідродинамічних умовах, наближених до умов реальної ванни.
Про в'язкості досліджених шлаків,
виміряної методом коаксіальних циліндрів.
Залежність швидкості засвоєння
шлаком вапна (τСаО)
від вмісту оксиду кальцію в шлаці носить екстремальний характер. Величина τСаО
зростає з підвищенням основності шлаці і вмісту в ньому оксиду кальцію до
визначених для кожного періоду плавки меж, а потім знижується. Це пов'язано зі
зміною в'язкості шлаці, що зменшується з ростом концентрації СаО до 30-35 % у
зв'язку з утворенням значно менших одиниць течії і, очевидно, у зв'язку з
переходом, при вмісті СаО більше 35-40 %, до гетерогенного стану шлаці.
Збільшення вмісту в шлаці кремнезему
при незмінному співвідношенні інших його складових спочатку розріджує шлак
переміщаючи його склад з гетерогенної в гомогенну зону розплаву, і цим збільшує
його активність щодо засвоєння вапна. Проте взаємодія шлаків, що містять
кремнезем, з вапном протікає зазвичай, як уже зазначалося, з утворенням щільних
оболонок ортосиліката кальцію, що перешкоджають подальшому проникненню
розчинників всередину шматка вапна. Тому збільшення концентрації кремнезему
понад оптимальних значень вельми негативно позначається на процесі розчинення в
шлаці вапна, що спостерігається по різкого спаду кривих справа. Це негативний
вплив посилюється при вмісті кремнезему в шлаці більше 30 % збільшенням
в'язкості шлаків в результаті укрупнення кремнекислородних аніонів.
Збільшення вмісту в шлаках оксидів
заліза і марганцю сприятливо впливає на процес розчинення вапна Зв'язок
в'язкості шлаці з концентрацією в ньому FеО і МnО має вигляд типових ізотерм з
мінімумами для систем, в яких енергія зв'язку частинок змішаних компонентів
нижче, ніж енергія зв'язку частинок будь-якого з компонентів.
Введення в звичайні
киснево-конвертерні шлаки до 6 % оксиду магнію позитивно позначається на
процесі розчинення вапна: зменшується в'язкість шлаків (знижується енергія
зв'язування частинок шлаці за рахунок підвищення числа різнойменних частинок) і
збільшується розчиняється массопотоков оксиду кальцію за одиницю часу (рис.
1.1).
Рис. 1.1 - Зв'язок в'язкості шлаку і
швидкості розчинення в ньому вапна з вмістом MgO
вапно шлакоутворення
плавка
Загальний характер впливу на процес
розчинення вапна магнезії та оксиду кальцію в звичайних межах зміни їх
концентрацій досить близький.
Емпіричне рівняння зв'язку швидкості
розчинення в шлаці вапна з його складом для шлакових систем, що зустрічаються
на практиці, таке:
|
τСаO
=k
(СаO
+ 1,35 MgO - 1,09 SiO2
+ 2,75 FеО +1,9 МnО-39,1),
|
(1.4)
|
де τСаO
- питомий масопотік СаО в шлаці, кг/м2 с; k - коефіцієнт пропорційності.
Рівняння (1.4) підкреслює
визначальний позитивний вплив на асиміляцію шлаці вапна закису заліза і
підвищення основності шлаці в звичайних межах її зміни. Оксиди марганцю менш
ефективно впливають на розчинення вапна, ніж оксиди заліза і, очевидно, можуть брати
активну участь у розчиненні вапна лише при достатньому вмісті закису заліза, що
випливає з уповільнення розчинення вапна при збільшенні концентрації МnО вище
26 %, у разі незначного вмісту закису заліза в шлаці. У звичайних умовах
киснево-конвертерного процесу головними розчинниками вапна є оксиди заліза.
Активна розчинна дія на вапно
оксидів заліза насамперед пов'язана з їх впливом на в'язкість шлаці; зменшення
в'язкості шлаці, що прискорює зовнішній масоперенос, найбільш значно по
абсолютній величині при підвищенні його окислення. При підвищенні в шлаці
концентрації оксидів FeO, Fe2O3, МnО істотно поліпшуються змочування шлаком
вапна та умови проникнення шлаці в пори у зв'язку зі зменшенням крайового кута,
утвореного шлаком на поверхні твердого вапна, і збільшенням поверхневого натягу
шлаці. Іони, з яких складаються оксиди заліза (Fe 2 +, Fe 3 +, О 2-), мають
невеликі розміри (RFe 2 + = 0,83 A, RFе 3 + = 0,67 A, RО 2- = 1,32 A) і
кристалізуються також, як і СаО, в кубічній системі. Це полегшує міграцію оксидів
заліза в грати вапна і їх дифузію з утворенням вельми легкоплавких розчинів і
феритів кальцію.
Проникнення кремнезему і глинозему в
вапно утруднюється великими розмірами утворюваних при цьому іонів: SiO44- (R =
2,19А), AlO2-, Al3O75-.
Їх зіставлення показує, що у верхній
і нижній частинах діаграм конфігурація ізошвидкості розчинення вапна і ліній
ізов’язкості майже збігається, зниження в'язкості шлаці супроводжується
зростанням τСАО
для всіх періодів плавки. Всі заходи, спрямовані на збільшення шлаці в цих
областях, підвищують швидкість розчинення в шлаці вапна у зв'язку зі
сприятливою зміною умов протікання ланки зовнішнього масопереносу. В першу
чергу це стосується зростання основності рідкої фази шлаці (до оптимальних
величин).
У середній частині діаграм, в
області середніх концентрацій SiО2, спрямованість ліній з швидкості розчинення
вапна і ліній з в'язкості дещо відрізняється. У цій області не всі заходи,
прийняті для збільшення шлаці, супроводжуються підвищенням τСаО,
тобто значна роль у розчиненні вапна ланки внутрішньої дифузії , умов
змочування і проникнення рідких розчинників в пори і тріщини твердого вапна. Це
ж підтверджується ослабленням впливу барботажа на розчинення вапна до кінця
плавки. У той же час хід кривих швидкості розчинення вапна в цілому
адіабататичний до ходу кривих в'язкості шлаці. У виробничих умовах встановлено
значний вплив на швидкість розчинення вапна барботажа ванни на основній частині
тривалості плавки. Все це говорить про великий і, ймовірно, превалюючий
протягом майже всієї плавки вплив на процес розчинення вапна в'язкості шлаці і
ланки зовнішнього масопереносу.
Кінцевою метою процесу
шлакоутворення має бути, як уже зазначалося, насичення (або наближення до
стану, близького до насичення) шлаків вапном або С3S. Це забезпечує глибоке
видалення з металевого розплаву шкідливих домішок (максимальні коефіцієнти
розподілу фосфору між шлаком і металом також знаходяться на лінії насичення
шлаці вапном при 1600-1650 °С).
1.3 Технологія наведення шлаку
Процес шлакоутворення на практиці
визначається дутьєвим режимом і режимом присадок шлакоутворюючих матеріалів,
який передбачає вид і кількість шлакоутворюючих матеріалів, порядок і
черговість їх введення в конвертер. Зазвичай в процесі продувки вміст оксидів
заліза, у міру наростання швидкості зневуглецювання, зменшується, а в другій
половині плавки починає збільшуватися. У середині продувки при максимальних
швидкостях обезвуглецювання шлак може згортатися, що вимагає прийняття
спеціальних заходів з підтримання його в гомогенному стані. Вміст оксидів
кальцію і магнію в ході плавки безперервно збільшується, а кремнезему і оксиду
марганцю - зменшується. Основність шлаці повільно, але неухильно, зростає,
досягаючи найбільших значень в кінці продувки.
Швидкість шлакоутворення значною мірою
визначається режимом введення вапна в конвертер. Здавалося б, для прискорення
розчинення вапна доцільно вводити всю його кількість на початку продувки, проте
такий спосіб присадки вапна призводить до холодного початку процесу,
окомковання вапна та уповільнення процесу розчинення його в шлаці.
Найбільш доцільне роззосереджена
присадка вапна; введенне дрібними порціями в процесі продувки вапно швидко
асимілюється шлаком, однак час його введення затягується і основність
підвищується повільно.
Швидкість введення вапна повинна
бути узгоджена з підвищенням температури ванни. Основним теплоносієм в перший
період конвертерної плавки є кремній. Не можна допускати, щоб прихід теплоти в
ванну (за одиницю часу) від окислення кремнію QSi був менший, ніж витрата його
на нагрів вапна Qвап, тобто швидкість окислення кремнію повинна відповідати
швидкості введення вапна:
|
dQвап
/ dτ
= dQSi / dτ
|
|
(1.5)
|
Для нагрівання вапна до температури
ванни необхідно теплоти:
Від окислення кремнія виділяється
теплоти:
Отже має зберігатися нерівність:
|
Cp
tdGвап=Gчав/100 qdSi(1.8)
|
|
де Ср - теплоємність вапна; Gвап,
Gчав - відповідно маса вапна і чавуну; q - тепловий ефект окислення кремнія.
Отримала поширення практика присадки
частини вапна в завалку, тобто до заливки чавуну. У цьому випадку вапно раніше
прогрівається і раніше досягається більш висока основність шлаці. Однак
збільшення кількості вапна, завантаженного в завалку, призводить до
переохолодження розплаву, збільшенню тривалості запалювання плавки, при цьому
спостерігається підвищена схильність до викидів, характерна для холодного
початку процесу.
Добавки, які підвищують реакційну
здатність шлаці, вводять в різні періоди плавки разом з вапном або окремо.
Найбільш сильним і поширеним
розріджувачем в киснево-конвертерному виробництві є плавиковий шпат (CaF2) -
навіть при невеликих його добавках (2-3 кг/т сталі) різко зростає реакційна
здібність шлаці. Плавиковий шпат не знижує вмісту оксиду кальцію в шлаці,
оскільки містить іон Са2 +.
Введення в шлак плавиковогошпату
підвищує активність оксидів заліза в шлаці в результаті відтискування слабким
по електростатичного впливу іоном F1- (для F1- відношення електричного заряду
до квадрату радіуса n = 0,56, що близько до значення n для комплексного іона
SiO 44- -0 , 51) сильного аніону О2 '(n = 1,14) у напрямку до сильного катиону
Fe 2 +, сприяючи тим самим мікророзслоювання шлака і прискоренню розчинення
вапна.
Присадки плавиковогошпату дозволяють
вести процес при меншій концентрації оксидів заліза в шлаці. Підвищуючи
рідкоплинність шлака і активність оксидів заліза, ці присадки порушують
динамічну рівновагу між киснем дуття, шлаком і металом, тим самим звільняються
надлишкові кількості оксиду заліза, які відразу вступають в реакцію з вуглецем,
про що свідчить короткочасне збільшення вмісту СО (СO2) у відхідних газах після
присадки шпату. Далі процес йде в нових умовах динамічної рівноваги вже з
меншою кількістю оксидів заліза, причому дія плавикового шпату проявляється до
кінця плавки; баланси CaF2 показують, що це з'єднання практично не
випаровується в процесі продувки.
Витрати плавикового шпату на плавку
зазвичай не перевищують 0,5 % маси металошихти. Присаджують його в основному на
самому початку продувки або під час згортання шлака при інтенсивному
обезвуглецюванню.
У зв'язку із зростаючим дефіцитом
плавикового шпату і високою його вартістю (одержання якісного металургійного
плавикового шпату вимагає великих витрат) досить інтенсивно ведуться пошуки
його замінників. Випробувані порошкові суміші та брикети плавикового шпату з
різними матеріалами - прокатною окалиною, бокситом, колошниковим і конвертерним
пилом у різних співвідношеннях, ільменітовою рудою (основний компонент TiO2);
дослідження не виявили їх переваг перед чистим шпатом.
Широко ведуться дослідження
можливості використання в конвертерній плавці різних мінеральних речовин і
відходів виробництв кольорової металургії. Позитивні результати отримані при
застосуванні борвмісних речовин.
В системі СаО-В2O3 є ряд сполук,
температури плавлення яких складають від 990 °С (СаO · В2O3) до 1310 °С (2СаO ·
В2O3), що сприяє ранньому розрідженню шлака. Лабораторні дослідження, які
виконали Родопман і Джуржей, показали, що містять бор речовини - колеманіт,
улексит, бура (табл.1.2) знижують температуру плавлення киснево-конвертерних
шлаків, що містять 9,9-13,7 % МnО, 16,0-17, 8 % Si02, 36,5-48,2 % СаО, 2,5-4,0
% MgO, 19,3-28,0 % FeO, до 1340-1370 °С. За ступенем впливу на температуру
плавлення шлака зазначені мінерали розташовуються таким чином: колеманіт, бура,
плавиковий шпат, улексит. Рідкоплинність і основність шлаків, отриманих при
використанні колеманіта, вище, ніж у шлаків з плавикового шпату. Однак при
вмісті в шлаці В2O3 вище 2,5 %, на відміну від плавикового шпату, значно
погіршуються процеси десульфурації і дефосфорації.
Таблиця 1.2
- Хімічний склад борвмісних речовин і плавикового
шпату, %
|
Матеріал
|
SiO2
|
CaO
|
CaF2
|
B2O3
|
Na2O
|
H2O
|
S
|
|
Колеманіт
Улексит Бура Плавиковий шпат
|
2,34
1,21 - 4,44
|
27,00
15,00 - 12,08
|
-
- - 55,63
|
41,23
45,61 36,45 -
|
0,8
8,14 16,20 -
|
3,55
7,94 47,2 4,65
|
0,044
0,004 - 0,14
|
Досліди, проведені в 400-тонних
конвертерах при переділі чавуну з вмістом фосфору 0,20-0,25 %, підтвердили
ефективність використання колеманіта замість плавикового шпату, як флюсуючий
додаток в кількості, що забезпечує утримання В2O3 в кінцевому шлаці в межах
0,5-1 %. Витрата колеманіта склала 20 кг/т вапна (витрата плавиковогошпату - 29
кг/т). Доцільність використання колеманіта зростає при переділі фосфористих
чавунів, оскільки в плавиковому шпаті міститься фтор, що знижує розчинність
п'яти окисів фосфору в лимонній кислоті, а це є показником придатності фосфат
шлаків для використання в якості добрив у сільському господарстві.
Задовільні результати отримані при
використанні замість плавиковогошпату нефелінових руди - ортита, що містить
39,6-46,0 % SiO2, 17,1-28,7 % Al2O3, 4,3-12,5 % Fe2O3, 7,4-14,4 % СаО,
0,08-0,14 % S, 0,52-0,96 % Р2O5, 8,3-17,3 % Na2O+К2O, 0,6-1,9 % Н2O.
Температура плавлення ортита знаходиться в інтервалі 1255-1375 °С. Технологічні
показники плавок, проведених з нефеліновою рудою, не гірші, ніж при роботі з
плавиковим шпатом. В даний час ортит успішно застосовують в конвертерах ємністю
160 і 350 т на Західно-Сибірському металургійному комбінаті.
В якості можливих замінників плавиковогошпату
можуть розглядатися такі природні мінерали, як флюоритизований вапняк (36-40 %
СаО; 12-13 % SiО2,11,5-12,5 % CaF2; 22-24 % в п.п.) і флюоритова руда (25%
CaF2), при випробуванні яких в 250-350-тонних конвертерах отримані задовільні
результати.
Для управління шлакоутворенням
змінюють параметри дуттевого режиму. До параметрів дуттевого режиму при верхній
продувці слід віднести, насамперед, число сопел в фурмі, кут їх нахилу до
вертикальної осі, висоту фурми над ванною, витрата кисню. Ці параметри визначають
так звану жорсткість дуття, яка характеризується енергією взаємодії кисневого
струменя з ванною. М'яке продування досягається розсоредженням подачі дуття в
ванну - збільшенням числа сопел, кута їх нахилу, діаметра окружності
розташування вісей сопел в торці накінечника, а також більш високим підйомом
фурми над ванною і зменшенням інтенсивності продувки і забезпечує значну
витрату кисню на окислення заліза і, тим самим , прискорення переходу вапна в
шлаковий розплав. Найбільш гнучко й оперативно управляти процесом
шлакоутворення в ході продувки дозволяє зміна висоти фурми над ванною і
регулювання хвилинної витрати кисню. Вивчено вплив цих параметрів на кількість
кисню Vo2 Fe, витраченого на окислення заліза в шлак:
|
lgVo2
Fe=a1 h2+b1
|
(1.9)
|
|
lgVo2
Fe=a2/(Q2+b2 )
|
(1.10)
|
|
|
|
де h - відстань між фурмою і рівнем
спокійної ванни, мм; Q - витрата кисню, м3/хв; а1, а2, b1, b2 - постійні
коефіцієнти.
З розглянутих рівнянь випливає, що
кількість кисню, що витрачається на окислення заліза, що переходить з металевої
ванни в шлак, є функцією вмісту вуглецю в металі, витрати кисню і положення
фурми над рівнем ванни. Рівняння, що враховує дію всіх трьох незалежних
змінних, має наступний вигляд:
|
lgVо2
Fe=a1h2+a2/(Q2+a2 ) lg[C]
|
(1.11)
|
Чисельні значення коефіцієнтів a1,
а2, а3 рівняння можуть бути знайдені для будь-якого конкретного конвертера.
На практиці продувку починають при
високому положенні фурми, збільшуючи тим самим не тільки вміст оксидів заліза в
шлаці, а й надходження теплоти в ванну внаслідок його окислення, оскільки
реакція [Fe]+1/2{О2} = (FeO) супроводжується виділенням 4800 кДж на 1 кг
заліза, що також сприяє прискоренню шлакоутворення. Аналіз практики роботи
конвертерів показує, що зі збільшенням діаметра ванни конвертера Dв початкова
висота фурми Нпоч повинна зростати приблизно за такою залежністю:
|
Нпоч
= 0,56 Dв-0,06.
|
(1.12)
|
При збільшенні діаметра ванни
зростає площа її поверхні і для того, щоб струмені кисню охоплювали більшу
поверхню, потрібно більш високе положення фурми.
На практиці продувку починають при
високому положенні фурми, збільшуючи тим самим не тільки вміст оксидів заліза в
шлацы, а й надходження теплоти в ванну внаслідок його окислення, оскільки
реакція [Fe] +1/2 {О2} = (FeO) супроводжується виділенням 4800 кДж на 1 кг
заліза, що також сприяє прискоренню шлакоутворення. У процесі з донною кисневої
продувкою регулювання шлакоутворення дуже обмежене, оскільки можливе лише
шляхом зміни витрати кисню через днище. Для формування реакційно-здатного
шлаку в цьому випадку застосовують, як правило, порошкоподібне вапно.
1.4 Шляхи поліпшення шлакоутворення
Для прискорення шлакоутворення
пропонуються різні способи:
поліпшення якості вапна (збільшення
йог реакційної здатності);
попереднє подрібнення;
застосування доломітизованого
вапна);
заливання в конвертор готових рідких
шлаків, використання кінцевих шлаків попередньої плавки;
застосування спеціальних плавнів і
флюсів (плавикового шпату, колеманіта);
виготовлення і застосування штучних
флюсів (агломерату, окатишів, брикетів, спеціальних сортів вапна);
вдування пилоподібною вапна та ін.
Більш повному і швидкому розчиненню
вапна і утворення шлаку потрібного складу сприяють:
) Оптимальний склад переробляємого
чавуну. Збільшення вмісту кремнезему в шлацы понад певної межі, при підвищенні
концентрації кремнію в чавуні ускладнює розчинення вапна, зменшує активність
закису заліза в шлацы в першій половині плавки (при основності менше 1,7),
знижує активність оксиду кальцію і цим погіршує кінетичні термодинамічні умови
видалення з металу сірки і фосфору. З іншого боку, при надмірно низькому вмісті
кремнію в чавуні і кремнезему в шлаці погіршуються процеси шлакоутворення,
видалення сірки і фосфору в зв'язку зі зменшенням кількості шлаку і
несприятливими змінами його фізико-хімічних властивостей. Для отримання в
останній третині плавки шлаку, що активно розчиняє вапно і порівняно
рідкоплинного, з в'язкістю не більше 0,4 пз, що дозволяє проводити відбір проб
без його роздування, замірення температури металу,злив шлаку і виключає
заметалювання фурми, вміст кремнезему в шлаці повинний дорівнювати 17-18 %
.Враховуючи це і необхідність забезпечення достатньої кількості шлаку для
видалення сірки ([S] чав = 0,05-0,06 %) і фосфору, можна рекомендувати наступні
оптимальні вмісти кремнію в чавуні: при охолодженні плавки ломом (24-26 % від
ваги садки) - 0,7-0,8 %, при охолодженні рудою - 0,3-0,45 %. При такому вмісті
кремнію в чавуні у зв'язку з швидким його окисленням концентрація SiO2 в шлаці
на початку і в середині плавки буде дещо вищою оптимальної, і тому слід вживати
заходів, що прискорюють розчинення вапна.
При підвищенні вмісту марганцю в
чавуні збільшується кількість його оксидів в шлаці, прискорюється розчинення
вапна, хоча при високій його концентрації істотно збільшується чад металу.
Доцільно мати в чавуні 0,7-0,8 % марганцю. Цілком можлива переробка чавунів і з
пониженим вмістом марганцю (0,3 %). Однак при цьому, якщо не вжити відповідних
заходів, зростають винос і втрати металу, збільшується ймовірність
заметалювання фурми, горловини конвертера і поверхні кесона, і для поліпшення
шлакоутворення необхідні спеціальні заходи - збільшення витрати плавикового
шпату, зміна положення фурми в процесі плавки та ін.
) Присадки оксидів марганцю в шлак у
вигляді марганцевмісного вапняку, марганцевмісного вапна, а також марганцевої
руди. В останньому випадку в шлак вноситься значна кількість кремнезему.
Введення оксидів марганцю в шлак найбільш доцільне при переділі
низькомарганцового чавуну.
) Підтримка в ході продування
оптимальних співвідношень окисленості шлаку і швидкості окислення вуглецю, при
яких досягається найбільша швидкість розчинення вапна. Величини цих оптимальних
співвідношень залежать від температури ванни і для різних періодів плавки вони
різні. Тому доцільно змінювати положення фурми або витрати дуттевого кисню за
певною програмою, що забезпечує оптимізацію процесу.
) Підвищення вмісту в шлаці MgO до
оптимального межі - близько 6 % [6]. Це сприяє зменшенню в'язкості шлаку і
швидкому розчиненню вапна, а також підвищенню стійкості футерівки конвертерів.
Дослідження вітчизняних і зарубіжних заводів свідчать про позитивні результати
роботи при використанні магнезіального вапна і доломітизованого вапняку.
) Підвищення температури ванни і
перегріву шлаку щодо температури його плавлення. При гарячому ході операцій
шлакоутворення прискорюється, збільшується ймовірність оплавлення поверхневих
шарів ошлакованних шматків вапна, але в решті плавки надмірно висока
температура шкідлива, оскільки при цьому зменшується повнота окислення фосфору,
що негативно позначається на якості сталі. Тому найбільш доцільним вважається
наступний температурний режим: гарячий початок операції і нормальна температура
ванни в кінці продувки.
При роботі з високою витратою брухту
і введення його однією порцією початок плавки, як уже зазначалося, протікає
холодно, формування шлаку погіршується, і на це необхідно звертати особливу
увагу.
) Введення в шлак спеціальних
флюсів, що розріджують його і сприяють розчиненню вапна [7].
) Застосування м'яко обпаленого
вапна, що швидко реагує. М'яко обпалене вапно має розвинену дрібнокристалічну
структуру, велику пористість, що визначає його високу реакційну здатність. При
цьому на деяких заводах воліють мати в центрі шматків вапна розміром понад 35
мм невелике ядро вапняку, що запобігає перевитраті вапна в печах і сприяє
швидкому його розчиненню внаслідок розтріскування при попаданні в шлак.
Перспективне застосування вапна з обмеженим розміром шматків (10-40 мм) і
вапна, отриманої в печах «киплячого» шару, яке має досить високу реакційну
здатність. При розмірі часток вапна менше 5-10 мм різко збільшується його
винесення. Вдування пилоподібного вапна пов'язано з ускладненням виробництва,
тому при переділі звичайного мартенівського чавуну в кисневих конвертерах
навряд чи доцільно.
Підвищення якості вапна є одним з
дієвих і ще недостатньо використаних важелів (резервів) поліпшення
шлакоутворення. Необхідний безперервний контроль реакційної здатності вапна на
заводах і негайне усунення причин, що зменшують його.
) Попередня підготовка
шлакоутворюючих матеріалів. Перспективність цього напрямку підтверджується
успішними дослідами застосування синтетичного вапна, що містить до 10 % оксидів
заліза, а також вапна, «забрудненого» до 20 % оксидами Fe2O3, MgO і Al2O3.
Застосування такого вапна прискорює його перехід в шлак, підвищує вихід
придатного і збільшує ступінь видалення з металу шкідливих домішок - сірки і
фосфору. Позитивні результати дає також застосування вапна, просоченого
оксидами марганцю. Проте організація виробництва зазначених вище видів вапна
пов'язана зі значними труднощами.
При випалюванні такого вапна
відбувається злипання його шматків, налипання вапна на футерівку випалювальних
печей з утворенням «настилів», часткове руйнування кірки на шматочках вапна,
збагаченого оксидами заліза або марганцю, втрати цих оксидів на холодильниках
обертових печей.
Заслуговують на увагу пропозиції
застосовувати огрудкованих матеріалів, які з конвертерного пилу, окалини або
інших речовин, що містять оксиди заліза, а також плавиковий шпат (або соду і
вапно).
У цьому напрямку особливо
перспективне застосування синтетичних матеріалів, виготовлених з
порошкоподібних сумішей, що володіють великою поверхнею контакту фаз, і містять
значну кількість легкоплавких (~ 1200 °С) феритів кальцію. До числа таких
матеріалів відносяться, в першу чергу, високоосновні обпалені окатиші і
агломерат (основність більше 3 і з вмістом СаО понад 25 %). Дослідженнями
встановлено, що при використанні високоосновного агломерату в кількості 20-60
кг на 1 т сталі шлакоутворення значно поліпшується і йде по шляху, який
прискорює асиміляцію вапна шлаком і зростання його основності. Застосування
високоосновного агломерату значно наближає шлях зміни складу шлаку в конвертері
до бажаного шляху шлакоутворення, розташованому в зоні найбільших швидкостей
розчинення шлаком вапна, а при високих витратах агломерату призводить до майже
повного їх збігу.
При використанні високоосновного
агломерату шлак значно швидше наближається до стану насичення вапном і
трьохкальцієвим силікатом, чим забезпечується надійне видалення шкідливих
домішок.
Прискорене формування шлаку на всіх
етапах продувки при застосуванні високоосновного агломерату зумовлює істотне
поліпшення умов служби вогнетривів і підвищення всіх техніко-економічних
показників киснево-конвертерного процесу.
) Усунення грудкування вапна:
а) розосередження дуття у зв'язку з
більш рівномірним в обсязі ванни виділенням оксиду вуглецю і перемішуванням
значно зменшує ймовірність огрудкування вапна, особливо в периферійних ділянках
ванни. При однострумковій фурмі спостерігається бурхливе виділення СО і
фонтанування в центрі ванни, слабке перемішування на її периферії, що сприяє
злипанню шматків і комкованию вапна в цій зоні.
Для запобігання та зменшення
грудкування вапна число сопел в кисневій фурмі n, мабуть, слід збільшувати
пропорційно зростанню площі ванни (Sв)∙:
де Q - ємність конвертера, т; Н0 -
глибина спокійній ванни; k, k1 - коефіцієнти пропорційності;
б) залишення в конвертері частини
шлаку і застосування кінцевих сталеплавильних шлаків покращує шлакоутворення,
збільшує кількість шлаку на початку плавки і знижує ймовірність грудкування
вапна, але має і недоліки: труднощі заливки чавуну і підвищення тривалості
циклу плавки в разі застосування рідких шлаків, збільшення ймовірності викидів
і ін. Оптимальні результати досягаються при залишенні близько 1/3 шлаку;
в) введення вапна «під чавун»
скорочує пасивний період розчинення вапна в процесі продувки і прискорює процес
шлакоутворення, проте може призводити до заростання днища конвертера і збільшує
цикл плавки. Доцільно збільшувати до деякої межі число порцій вапна, що
вводяться по ходу продувки, розосереджуючи в часі введення кожної порції.
Зосереджений введення в ванну значної кількості вапна сприяє її грудкуванню. З
підвищенням інтенсивності продувки з'являється необхідність і можливість, у
зв'язку із зростанням потужності перемішування ванни, більш зосередженого і
раннього введення вапна без його грудкування.
) Поліпшення шлакоутворення при
інтенсифікації продувки. Коефіцієнт масопереносу β
в
конвертерній ванні визначається потужністю його перемішування і швидкістю
окислення вуглецю:
|
β≈k2
(TVC)a≈k3 Iо2a
|
(1.14)
|
де Io2 - інтенсивність продувки,
м3/т хв; Т - температура ванни, К; а = 0,7-0,8 - показник ступеня. З рівняння
(1.14) випливає, що при інтенсифікації продувки має місце деяке відставання в
рості швидкості масопереносу і, отже, розчинення вапна від зростання Iо2) і
скорочення тривалості плавки, обернено пропорційною Iо2), що вже зазначалося
вище. Підвищення інтенсивності продувки має супроводжуватися розосередженням
дуття (збільшенням числа сопел в фурмі), що впливає на шлакоутворення
протилежно Iо2, у зв'язку зі зменшенням грудкування вапна і деяким підвищенням
окисленності шлаку в цьому випадку. Збільшення числа сопел в фурмі впливає
протилежно підвищенню інтенсивності продувки і на рівень ванни, визначальний
ймовірність викидів металу і шлаку. Тому для усунення викидів та покращення
шлакоутворення при підвищенні інтенсивності продувки слід збільшувати число
сопел в фурмі відповідно до наближеним рівнянням:
Величина показника х, за
розрахунками авторів, становить близько 1,2. Більш точний аналіз, що враховує
вплив глибини ванни на її спучування і характер газовиділення, призводить до
вираження:
|
nмакс≈k
Iо2 х Q)/H0
|
(1.16)
|
де у < 1.
З рівнянь (1.13) і (1.16) видно, що
зростання садки та інтенсифікація продувки для забезпечення нормального ходу
плавки повинні супроводжуватися збільшенням ступеня розосередження дуття. При
підвищенні інтенсивності продувки посилюється перемішування ванни і
прискорюється розчинення вапна з перших хвилин плавки, скорочується тривалість
плавки. На Криворізькому металургійному заводі визначено найбільш раціональний,
з точки зору поліпшення процесу шлакоутворення і показників плавки, режим
присадки вапна в 150-тонний конвертер при підвищеній до 4,2 м3/т. хв.
інтенсивності продувки: присадка 40-50 % всьеого вапна на початку продувки,
20-30 % - на 2-й хв. і 20-30 % - не пізніше 4-ї хв. від початку продувки (при
її тривалості 12 хв.). У цьому випадку усуваються зазначені вище недоліки
процесу шлакоутворення, пов'язані зі зростанням інтенсивності продувки,
підвищуються основність, сіро- і фосфоропоглинальна здатність шлаків,
збільшується стійкість футерівки.
Різноманітність пропонованих рішень
пояснюється складністю додання основнго шлакоутворюючого матеріалу (флюсу)
властивостей, які диктуються особливостями сучасного киснево-конверторного
процесу.
1.5 Аналіз літературних і патентних
даних існуючих технологій поліпшення шлакового режиму конвертерної плавки
У вітчизняній і світовій практиці
конвертерного виробництва сталі для отримання в конвертері шлакового розплаву
із заданими властивостями використовують різні як природні, так і штучні
матеріали. Широке застосування знайшли магнезіальні шлакоформуючі матеріали,
так як встановлена залежність стійкості футеровки конвертерів від змісту MgO в
шлаках. Введення в плавку магнійвмісних матеріалів знижує агресивну дію
високозалізистих шлаків на футерівку конвертера. Збагачення шлаку шляхом
введення магнезії до складу шлакоформуючих матеріалів ускладнює перехід MgO з
вогнетривів в шлак внаслідок зміни умов масопереносу оксидів магнію в шлак
(наближення змісту MgO до межі розчинності в шлаці). Використання в
конвертерній плавці доломітизованго вапна і обпаленого доломіту (55-60 % СаО,
30-35 % MgO) дозволило добитися вельми значних результатів щодо підвищення
стійкості футерівки. Однак, незважаючи на наявність в розплаві оксидів заліза,
які сприяють підвищенню межі розчинності в шлаці обпаленого доломіту, він, тим
не менш, розчиняється погано. У результаті відбувається гетерогенізації
шлакового розплаву з підвищенням його в'язкості і наявністю твердих шматків
доломіту і вапна. Ведення конвертерної плавки з таким шлаком супроводжується
погіршенням процесів дефосфорації і десульфурації, а також підвищеним виносу
металу з конвертера.
Уральським інститутом металів
спільно з Сухоложським заводом метало-флюсів (СЗМФ) і Нижньотагільським
металургійним комбінатом (НТМК) розроблений новий клас композиційних матеріалів
- комплексні флюси. Це синтетичні шлакоформуючі, які визначаються як
гетерогенні, нерівноважні системи, що складаються з двох або більше
компонентів, що відрізняються за хімічним складом, фізико-механічними
властивостями і призначенням [1], що включають:
флюси конвертерні
вапняно-магнезіальні озалізнені (ІМФ), що містять 28-60 % MgO, 25-50 % СаО і
7-10 % Fe2О3. Перевагами цих флюсів є низька температура плавлення (до 1350
°С), висока реакційна здатність розчинення в сталеплавильних шлакових
розплавах, зменшення часу початку шлакоформування, поліпшення дефосфорації
металу. Перспективним напрямом використання ІМФ виключно для відновлення
футерування конвертерів за рахунок нарощування гарнісажу, особливо на останніх
стадіях експлуатаційної кампанії, можна розглядати застосування флюсів з
вмістом 60-70 % MgO;
флюси конвертерні
вапняно-магнезіальні марганцевисті (ІММ), що містять 28-50 % MgO, 20-40 % СаО і
10-12 % Мn2О3;
флюси марганцево-вапняні (МІФ), що
містять 6-12 % Мn2O3, 66-73 % Сао, призначені для використання замість вапна і
марганцевого агломерату (марганцевого концентрату). Застосування цих флюсів
може сприяти зниженню витрат при виробництві сталі за рахунок зниження витрати
марганцевих матеріалів (марганцевого концентрату, феромарганцю), а також підвищенню
якості сталі в результаті зменшення газонасиченості матеріалу при заміні вапна
флюсом.
Одним з найбільш широко вживаних в
даний час синтетичних шлакоутворюючих матеріалів в конвертерних виробництвах
Магнітогорського («ММК»), Західно-Сибірського («ЗСМК») металургійних
комбінатів, «Северсталь» та «НТМК», є вапняно-магнезійний озалізнений флюс
ІМФ-30 , що містить 28-31 % MgO, 49-51 % СаО, 3,5-6 % SiO2, 7-10 % Fе2О3.
ІМФ-30 на відміну від обпаленого доломіту характеризується однорідністю
хімічного і фазового складу по перетину зерна. Мікроструктура ІМФ
дрібнокристалічна і складається з зерен вапна, периклаза, аліта, твердих
розчинів на основі браунміллеріта та феритів кальцію і магнію. Зерна периклаза
та вапна оточені залізистою зв'язкою. Оціночні дані щодо застосування вапняно
магнезіальних шлакоформуючих матеріалів металургійними підприємствами Росії і
споживання вапняно-магнезіальних шлакоформуючих флюсів в 2003 р приведені в
таблиці 1.3.
За аналітичними оцінками фахівців,
застосування вапняно-магнезіального озалізненого флюсу ІМФ-30 в конвертерних
виробництвах дозволило:
поліпшити процеси шлакоформування в
конвертері (використання ІМФ замість обпаленого доломіту внаслідок наявності у
флюсі значної кількості легкоплавких з'єднань дозволяє вже на перших хвилинах
продувки плавки мати більш однорідні і рідкоплинні шлаки);
знизити кількість додувок, в
основному на температуру;
поліпшити процеси дефосфорації і
десульфурації сталі;
збільшити стійкість футерівки
конвертерів, що призвело до зниження витрати вогнетривів і заправних
матеріалів.
Таблиця 1.3
- Види використовуваних флюсів на різних
комбінатах та об'єми використання
|
Комбінат
|
Флюси,
що використовуються
|
Об'єм
використання в місяц, тис.т.
|
|
НТМК
|
ІМФ
|
6-7,5
|
|
ММК
|
Озалізнений
доломіт
|
38-40
|
|
«Северсталь»
|
ІМФ
|
15-20
|
|
Челябінський
металургійний комбінат
|
Доломіт
м'якообпалений
|
4-5
|
|
Новолипіцький
металургійний комбінат
|
Озалізнений
доломіт та доломіт м'якообпалений
|
3-4
|
Виробництво вапняно-магнезіального
озалізненого флюсу на СЗМФ організовано на незадіяних потужностях технологічної
лінії виробництва цементного клінкеру в 1999 р. Перші дослідно-промислові
партії ІМФ були випробувані в конвертерному виробництві «Сіверсталі» в
1999-2000 рр., На НТМК в січні 2000 р, на ЗСМК в травні-червні 2003 р За минулі
п'ять років обсяг виробництва ІМФ на СЗМФ виріс більш ніж в 23 рази.
Виробництво флюсів для сталеплавильного виробництва здійснюється мокрим
способом, що забезпечує достатню однорідність фізико-хімічного складу і
гранулометричних параметрів. Подрібнення і перемішування сировинних компонентів
відбувається у високопродуктивних трубних кульових млинах. Обпалюють їх в
обертових печах, де шихта послідовно проходить стадії сушки і згущення
сировинного шламу, руйнування у вологому стані великих утворень, нагріву,
декарбонізації, спікання, грануляції за участю розплаву, охолодження.
Термообробка шихти здійснюється в безперервнорухомому шарі при контакті
матеріалу з нагрітими стінками печі і димовими газами. Флюси в обертовій печі
отримують в дві стадії: на першій проводиться структурування тонкоподрібненого
матеріалу на основі води до фракції 0,5-3 мм; на другій - структурована шихта
на основі розплаву перетворюється на гранули-окатиші фракцією 5-60 мм, що
містять капсульоване незасвоєне розплавом вапно.
В умовах НТМК при виробництві сталі
з ванадієвого чавуну дуплекс-процесом заливка напівпродукту в конвертер на
другому переділі супроводжується частковим попаданням і ванадієвого шлаку.
Висновки і постановка задач
. Шлакоутворення є найважливішою
складовою технології конвертерної плавки. Воно визначає хід дефосфорації,
знесірчення металу, істотно впливає на стійкість футеровки.
. Раннє утворення активного
основного шлаку, який до моменту інтенсивного окислення вуглецю покриває метал
досить товстим шаром, супроводжується зазвичай значним зменшенням виносу і
викидів металу. У викидах міститься до 65% металевої фази.
. Повільне шлакоутворення викликає
перевитрати вапна, хоча не завжди забезпечує необхідну ступінь (глибина)
десульфурации і дефосфорації металу. У звичайних умовах плавки шлакоутворення
часто проходить з недостатньою швидкістю, що призводить до неповного засвоєння
вапна шлаком (60-90 %) затягуванню процесів видалення шкідливих домішок.
. Умови шлакоутворення останнім
часом ускладнилися у зв'язку зі зменшенням вмісту марганцю в чавуні, освоєнням
переділу чавуну з підвищеним вмістом фосфору, дефіцитом плавиковогошпату і
інтенсифікацією продувки, при якій підвищення швидкості масопереносу і
шлакоутворення (без прийняття спеціальних заходів) в деякій мірі відстає від
зростання швидкості окислення домішок.
. Найважливішою технологічною метою
процесу в усіх випадках є отримання до кінця плавки шлаків, насичених вапном і
з достатньою рідкоплинністю.
. Джерелами утворення шлаку при
киснево-конвертерному процесі є: процеси окислення домішок чавуну, надходження
оксидів із сипучих матеріалів, розчинення футерування і, головним чином,
розчинення вапна.
. Перехід вапна в шлаковий розплав
починається після закінчення пасивного періоду, пов'язаного з тим, що при
внесенні шматочка непрогрітого вапна в шлак навколо нього спочатку
наморожується кірка шлаку, і необхідно якийсь час для її прогріву і
розплавлення.
. Активна розчинююча дія на вапно
оксидів заліза насамперед пов'язана з їх впливом на в'язкість шлаку; зменшення
в'язкості шлаку, що прискорює зовнішній масоперенос, найбільш значно по
абсолютній величині при підвищенні його окислення.
. При підвищенні в шлаці
концентрації оксидів FeO, Fe2O3, МnО істотно поліпшуються змочування шлаком
вапна та умови проникнення шлаку в пори у зв'язку зі зменшенням крайового кута,
утвореного шлаком на поверхні твердої вапна, і збільшенням поверхневого натягу
шлаку.
. Процес шлакоутворення на практиці
визначається дутьевим режимом і режимом присадок шлакоформуючих матеріалів,
який передбачає вид і кількість шлакоутворюючих матеріалів, порядок і
черговість їх введення в конвертер.
. Швидкість шлакоформування значною
мірою визначається режимом введення вапна в конвертер. Здавалося б, для
прискорення розчинення вапна доцільно вводити всі її кількість на початку
продувки, проте такий спосіб присадки вапна призводить до холодного початку
процесу, окомкованню вапна та уповільненню процесу розчинення її в шлаці.
. На практиці продувку починають при
високому положенні фурми, збільшуючи тим самим не тільки вміст оксидів заліза в
шлаку, а й надходження теплоти в ванну внаслідок його окислення, оскільки
реакція [Fe] +1/2 {О2} = (FeO) супроводжується виділенням 4800 кДж на 1 кг
заліза, що також сприяє прискоренню шлакоформування.
. Підвищення якості вапна є одним з
дієвих і ще недостатньо використаних важелів (резервів) поліпшення
шлакоутворення. Необхідний безперервний контроль реакційної здатності вапна на
заводах і негайне усунення причин, що зменшують її.
. Попередня підготовка
шлакоутворюючих матеріалів. Перспективність цього напрямку підтверджується
успішними дослідами застосування синтетичного вапна, що містить до 10 % оксидів
заліза, а також вапна, «забрудненого» до 20 % оксидами Fe2O3, MgO і Al2O3.
Застосування такого вапна прискорює його перехід в шлак, підвищує вихід
придатного і збільшує ступінь видалення з металу шкідливих домішок - сірки і
фосфору.
. Дослідити вплив озалізненого вапна
на киснево-конверторну плавку.
. Провести поріняльний аналіз
використання озалізненого вапна та звичайно вапна та вплив на техніко-економічні
показники плавки, процес завантаження та загальний хід процесів в кисневому
конвертері.
2.
ОСНОВНА ЧАСТИНА
.1 Технологія отримання озалізненого
вапна
Киснево-конвертерний процес
характеризується високими швидкостями фізико-хімічних реакцій, тому питання
інтенсивності шлакоутворення в кисневому конвертері набувають першорядного
значення, особливо з урахуванням подальшого скорочення часу продувки. У
літературі досить докладно висвітлено питання про можливість інтенсифікації
процесу шлакоутворення при використанні матеріалів на основі феритів кальцію.
Їх переваги - високі швидкості утворення основного первинного шлаку, повна
асиміляція вапна, краще видалення шкідливих домішок, збільшення виходу
придатної сталі.
Промислові досліди отримання озалізненого
вапна в обертових трубчастих печах та використання його в конвертерній плавці
показали можливість і доцільність виробництва такого вапна.
2.1.1 Вимоги до озалізненого вапна і
технології отримання озалізного вапна
Дослідження показали, що залізорудні
матеріали повинні відповідати наступним вимогам:
низький вміст кремнезему (<2-3
%);
температура плавлення не більше
1250-1300 °С;
відсутність хімічної взаємодії з
футерівкою печі в твердій фазі;
утворення тугоплавких мінералів при
просоченні і взаємодії рідкої фази з хромомагнезитовою кладкою печі;
високий вміст оксидів заліза (в
основному у вигляді гематиту) і підвищена дисперсність матеріалу.
До складу і структури конверторного
флюсу і до технології його виготовлення пред'являються такі вимоги:
а) низька температура плавлення (не
вище температури ванни);
б) висока флюсуюча спроможність (не
менше 70 % СаО);
в) низька охолоджуюча здатність (у
зв'язку з дефіцитом тепла при підвищенному споживанні скрапу);
г) нейтралізація екрануючого впливу
плівки двухкальцієвого силікату 2СаО ∙ SiO2, що утворюється при взаємодії
СаО з кислим шлаком;
д) міцність і стійкість при
транспортуванні та зберіганні, а також можливість точного дозування для
присадки в процесі продувки;) не високі капітальні та експлуатаційні витрати.
Судячи цим вимогам, вихідним
матеріалом для виготовлення флюсу повинне бути свіжовипалене вапно. Однак
вільний окис кальцію асимілюється шлаком шляхом розчинення, а не плавлення з
утворенням на шматку тугоплавкої плівки двухкальціевого силікату, що перешкоджає
подальшій асиміляціі вапна. Добавка до вапна оксидів заліза і марганцю
дозволила зв'язати окис каальція в легкоплавкі з'єднання і отримати в якості
продукту первинного акту її ассімілярнно-кислим шлаком легкоплавкі з'єднання
CaO, FeO і SiО2 (а не тугоплавкий двухкальцієвий силікат).
Поставлена мета буде досягнута лише
в тому випадку, якщо добавки будуть хімічно пов'язані з окисом кальцію. Однак,
враховуючи характер зміни хімічного складу шлаку та механізму асиміляції вапна
по ходу продувки, недоцільно пов'язувати окис кальцію в хімічні сполуки з
оксидами заліза і марганцю у всьому обсязі шматка. У шлаку основністю
(CaO/SiО2) більше 2 вапно розчиняється без утворення тугоплавких плівок, тому
будова флюсу може бути двозонною. Перша зона (периферійний шар) повинна
складатися із з'єднань системи СаО-Fe2О3-МnО, а друга (центральне ядро,
асимільованих основним шлаком) повинна являти собою чистий окис кальцію. При
такій будові флюсу значно зменшиться загальний вміст в ньому оксидів заліза і
марганцю, завдяки чому охолоджуючий ефект флюсу буде невеликим.
Технологія отримання флюсу, що
розробляється повинна являти собою додаток до процесу випалювання вапна в
обертальній вапнообпалюваьній печі. Головною її особливістю є нанесення на
поверхню вапна (на заключному етапі випалу) пилоподібних флюсуючих добавок
(залізорудних і марганцевих концентратів, колошникового пилу та ін.). Як
відомо, свіжовипалене нагріте вапно швидко вбирає краплі окисного шлаку.
Частинки концентрату за час польоту нагріваються і потрапляють на вапно в стані
передплавлення. Завдяки міграції розплавлених крапель всередину шматків вапна,
процес протікає без присутності рідкої фази.
2.1.2 Досвід отримання озалізненого
вапна на різних підприємствах
На Магнітогорському металургійному
комбінатф у зв'язку із зростанням виплавки конвертерної сталі виникла
необхідність збільшення обсягу виробництва кондиційного вапна. Було вирішено
використовувати незанавантажені виробничі потужності Магнітогірського
цементного заводу (МЦЗ), що виробляє цемент на основі клінкеру, отриманого
шляхом випалу в обертових печах.
Дефіцит кондиційних конвертерних
вапняків викликав необхідність підвищення ефективності виробництва вапна,
відпрацювання нових технологій випалу вапняку. У 1970-і роки роботами
співробітників ДонНДІчормет випробувана технологія отримання та використання
озалізненого вапна в киснево-конвертерній плавці [8, 9]. Головна особливість
цієї технології - нанесення на поверхню вапна (на заключному етапі випалу)
пилоподібних флюсуючих добавок залізорудних і марганцевих концентратів,
колошникового пилу. Частинки в стані передплавлення потрапляють на поверхню
вапна, утворюючи кусковий продукт, покритий феритно-кальцієвої оболонкою, під
якою розташована розпушена зона зі слаборозвиненою ферритизацією, всередині - чисте
високореакційне вапно хімічного складу,%: 85,5-89,5 СаО; 1,1-2,4 МgO; 3,5-4,4
SiО2; 2,4-6,7 Fe2О3; 0,005-0,013 S.
Найбільш повним комплексом
необхідних властивостей володіють шлами конвертерного і мартенівського
виробництв. Досліди, проведені на НЛМК, показали ефективність застосування для
офлюсування вапна конвертерного шламу.
Як правило, режим випалу при
спільній подачі в піч різних флюсуючих добавок та вапняку не має значних
відхилень. Відзначається зниження температури відхідних газів на 40-150 °С. Це
свідчить про більш досконалий теплообмін між продуктами згоряння і шихтою
внаслідок збільшення ступеня чорноти шматка вапна, покритого оболонкою феритів
кальцію, і його температуропроводности. Крім того, знижується температура,
готового продукту на 20-30 °С і, отже, підвищується температура, що проходить
через холодильник повітря, що надходить в зону випалу. У зв'язку з цим
підвищується температура в зоні горіння і з'являється можливість зниження
витрати газу. Так, в період отримання озалізненого вапна на НЛМК питома витрата
природного газу було знижено на 17,6 %.
Перевага шламів перед іншими
залізорудними матеріалами полягає в їх більшій питомій поверхні та утриманні в
них феритів кальцію (17-26 %). Дослідженнями встановлено, що окислення нижчих
оксидів заліза шламу закінчується при 480-620 °С, а при 1000 °С шлам
складаються в основному з гематиту і однокальцієвого фериту.
У 1986 р на НЛМК в обпалювальній
обертовій печі проведені досліди з використання для офлюсування вапна шламу
конвертерної газоочистки ККЦ № 1 (табл. 2.1). Метою цих дослідів було більш
ретельне відпрацювання технології випалу, дослідження причин утворення
«настилів» і розробка способів боротьби з цим явищем, а також перевірка
ефективності застосування в киснево-конвертерному виробництві офлюсованого
вапна замість звичайного.
У період досліджень навантаження на
піч становила 24-25 т/ч, витрата шламу - 15-20 % від маси вапняку, витрата
природного газу 3900-3950 м3/год, температура факела в зоні випалу 1380-1400
°C, а футерування 1300- 1320 °С. У цих умовах товщина феритного покриття
шматочків вапна становила 0,5-1,0 мм.
Ця корочка руйнувалася в
холодильнику і губилася з дріб'язком.
Таблиця 2.1
- Характеристика процеса отримання озалізеного
вапна в обертальних печах
|
Флюсуючий матеріал
|
Метож подачі в піч та доля матеріалу
|
Хім. склад флюсуючого матеріалу, %
|
Глибина просочення шмаьків вапна окислами
заліза, мм
|
Хім. склад офлюсованого вапна, %
|
Технологічні складності при випалі
|
|
|
CaO
|
SiO2
|
Feзаг
|
FeO
|
МnО
|
Al2O3
|
|
СаО
|
MgO
|
Feзаг
|
Fe2O3
|
П.п.п
|
|
|
Окатиші залізної руди Прокатна окалина Суміш
шламів доменного та мартенівського Шлам конвертерної газоочистки Залізорудний
концентрат
|
Одночасне завантаження з вапняком, 5-15 %
Також, 10-15 % Одночане завантаження з доломітом, 5-10% Одночасне
завантаження з вапняком 15-20% В струї повітря з розвантажувального кінця
печі, 40-50 кг/т
|
4,7 - 9,0 10,5 19,7 0,15
|
3,7 0,53 9,1 2,4 1,56 9,05
|
59.0 73,6 41.0 48.045,9 64,3
|
3,8 68,5 6,25 19,4 32,2 27,0
|
- 0,42 - - - 0,03
|
- - - 0,72 0,60 0,17
|
Полностью Також Також 3-12 До 10
|
82.3 53,6∙ 92.4 50,6 87.5 85,8 82,0 95,1
|
1,5 - 29,8 5,4 2,22 1,09 1,42
|
- 34,1 0,14 - - - 8,35 0,34
|
9,9 - 8,6 5,5 4,76 11,8 0,4
|
5,0 0,0 9,7 6,3 0,5 0,6 1,39 3,32
|
Утворення «настилей» в горячій зоні футерання
печі, та утворення «зварів» Розслоюванні шихти в печі та утворення настилів в
зоні випалення Утворення настилів на значній довжині печі, винос шлама з печі
Утворення настилів по кордонам зони випалу при нестабільному тепловому режимі
Утворення настилів, винос чстки концентрата за кордони вискотемпературної
зони
|
Слабке просочення було обумовлене
наступними причинами:
порівняно низькою температурою зони
випалу;
низьким вмістом гематиту в шламі
через слабкий окисний потенціал газової фази печі (22,4 % СО2, 0,57 % СО, 0,51
% О2) і, отже, недостатнім окисленням нижчих оксидів заліза шламу до гематиту.
Для підвищення температури в зоні
випалу і збільшення окисного потенціалу газової фази з метою посилення процесу
просочення вапна в піч подали кисень. Витрата його змінювали від 100 до 500
м3/ч. Просочення шматків вапна при цьому зросло від 1-2 до 5-12 мм.
При витраті кисню 400 м3/год були
отримані відносно стабільні результати: глибина просочення 3-4 мм. Температура
факела в зоні випалу становила 1470-1480 °С, футерування - 1380-1390 °С.
Витрату газу в період дослідження не змінювали.
Через чотири доби по межах
високотемпературної зони в окремих місцях з'явилися настилі через коливання
навантаження та тестабільного теплового режиму печі. Температура в пиловий
камері підвищилася з 800 до 900 °С, а в зоні випалу знизилася. Це сталося
ймовірно тому, що через утворення порогів на шляху руху з облилицевих
матеріалів піч стала заповнюватися шламом, поверхня контакту шматків вапна з
газовою фазою зменшилася і в високотемпературну зону став надходити більш
холодний матеріал.
Для відновлення температури один раз
на зміну піч зупиняли на розігрів (0,5-1,5 год). Різка зміна теплового режиму
призвела до прискореного зростання кільцеподібного настилу, утворенню «зварів»
і розповсюдження настилів в глиб печі за межі високотемпературної зони. Після
того, як піч з виробничої необхідності перевели на випал доломіту і відключили
подачу шламу, настилі були ліквідовані.
Озалізнине вапно характеризується
низькими втратами при прожарюванні (0,6-1,0 %) і підвищеною міцністю.
У 1990-і роки Магнітогорський
металургійний комбінат розробив і впровадив на Магнітогорськом цементному
заводі (МЦЗ) виробництво озалізненого вапна спільним випалюванням вапняку (а
також колошніковим пилом і глини) з залізовмісної добавкою в обертових печах за
технологією цементного клінкеру «мокрим» способом [12 , 13]. Була також
випробувана технологія отримання озалізненого вапна із застосуванням окалини в
якості залізовмісної добавки [13]. Хімічний склад отриманого озалізненого
вапна,%: 85,5 - 81,5 СаО; 6,7 - 5,0 MgO; 4,6 SiО2; 5,63 - 6,57 Fe2О3; п.м.п.п.
0,46. Відзначено, що вихід фракції > 5 мм більше на 19,3 %, ніж при
виробництві звичайного вапна.
З урахуванням досвіду виробництва
так званого озалізненого вапна (шляхом спільного випалу кускового вапняку з
залізовмісною добавкою) та ефективного застосування її в конвертерній плавці
ММК і МЦЗ в 1994 р розробили і в 1995 р впровадили технологію отримання
подібного флюсу шламовим способом. Технологічна схема виробництва флюсу
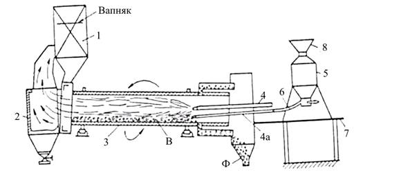
приведена на рисунку 2.1.
Рис. 2.1 -
Технологічна
схема отримання флюсу для конверторного виробництва сталі
Сировиною для виробництва флюсу є
вапняк (15-0 мм) Агапівського родовища, колошниковий пил доменного цеху ММК і
глина із кар'єру МЦЗ (відповідно 92: 4: 4, вода - 38-42 %).
Глина подається в шлам для кращого
гранулювання матеріалу. Підготовлений в млинах шлам надходить в загальну
ємність, з якої насосами перекачується в вертикальні басейни, і після
коригування за змістом Fe2O3 та SiO2 (48,96 % СаО, 3,52% МgО, 2,43 % SiO2, 0,38
% Al2O3, 3. 41 % Fe2O3 вологість - 40,3 %) - в піч, що зупиняється (діаметром 4
м, довжиною 150 м), що має з боку холодного кінця теплообмінники з вільно
висячих ланцюгів протягом 40 м (як паливо використовують природний газ).
Готовий флюс отримують в вигляді
міцних гранул (до 80 мм), які зберігаються протягом одного місяця. При
стабільному хімічному складі шламу і вмісті вологи найбільший вихід гранул з
печі забезпечується при температурі факела в зоні випалу 1450-1550 °С і в печі
після ланцюгової завіси 520-620 ºС.
Склад флюсу: 4,42 % SiO2, 0,76 % Al2O3, 5,85 % Fe2O3, 82,63 % CaO, 5,55 % MgO
(п.м.п.п. - 0,45 %).
У даній роботі представлені
результати проведеного під обертається вапняно-обпалювальної печі на
Єнакіївському металургійному заводі дослідження процесу отримання комплексного
флюсу на основі вапна при випалюванні вапняку з окалиною (витрата якої становив
10-15 % ваги вапняку).
Таблиця 2.2
- Результати првоеденного випалу
MgO
|
FeO
|
Fe2O3
|
Fезаг
|
MnO
|
SiО2
|
S
|
П.п.п.
|
|
Вапняк
|
54,75
|
0,35
|
0,30
|
0,27
|
0,02
|
0,72
|
0,032
|
43,46
|
|
Окалина
|
-
|
-
|
68,50
|
29,38
|
73,6
|
0,42
|
0,53
|
-
|
Розмір фракції вапняку і окалини
(з-під лінії чистових клітей прокатних станів) становив відповідно 25-60 і 0-5
мм.
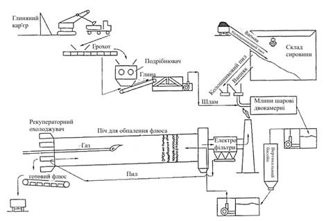
Рис. 2.2
- Схема установки для отримання конверторного
флюсу:
1
- шахтний підігрівач; 2 - пилова камера; 3 - піч; 4 і 4 основний і додатковий
пальник; 5 - пневмокамерний насос; 6 - транспортний трубопровід;
7
- робочий майданчик; 8 - приймальна воронка для завантаження
5-т
бадей з флюсом добавками;(В - вапно; Ф - флюс)
Обертові вапняно-випалювальні печі
Єнакіївського металургійного заводу опалюються природним газом (витрата
1900-2100 м3/год, або 220-240 кг/т вапна в умовному обчисленні) із
застосуванням пальників типу «труба в трубі». Спільний випал вапняку з окалиною
при тій же продуктивності печі по вапна вимагає додаткової витрати тепла, яке
повинно бути компенсоване збільшенням витрат природного газу.
Однак у зв'язку з тим, що
температура відхідних газів під час випалу була порівняно високою (850-900 °С),
витрату газу під час дослідження не змінювали.
Тепловий баланс випалу 1 кг вапняку
без добавки окалини (зліва від косої риски) і з окалиною (праворуч від косої
риски) (таблиці 2.3).
Таблиця 2.3
- Тепловий баланс випалу 1 кг вапняку без добавки
окалини (зліва
від косої риски) і з окалиною (праворуч від косої риски)
|
Витрата
тепла на нагрів вапняка: до 900°С, диссоціацію та нагрів вапна до 1200° С,
ккал Витрата тепла на нагрів окалины до 1200°, ккал Виділення тепла в
результаті утворення феритів кальція Всього витрата тепла, ккал
|
729/729
-/250 -/34 729/945
|
Як відомо [7], загальна
теплопередача від факела до матеріалу Q дорівнює:
де Qвип - тепло, передане
випромінюванням; Qконв - тепло, передане конвекцією.
У процесі, випалу вапняку у
обертових печах при температурі в робочому просторі печі 1300-1400 °С основна
частина тепла передається випромінюванням, але, оскільки швидкість газу на
виході з пальника перевищує 300 м/с, в зоні випалення необхідно враховувати
також теплопередачу конвекцією. У разі випалу вапняку з окалиною конвективна
складова теплопередачі не змінюється. Кількість тепла, передана випромінюванням
від факела до обпікаємого матеріала, за інших рівних умов залежить від
наведеного коефіцієнта випромінювання системи газ - поверхня кладки - поверхня
нагріву матеріалу (Сг-к-м) - Коефіцієнт Сг-к-м (ккал/м2∙ч∙град4)
випалу вапняку під обертової печі може бути знайдений за відомою формулою [7]:
|
,
|
(2.2)
|
де φ°км
- кутовий коефіцієнт переносу енергії випромінювання від поверхні кладки на
обпалюваний матеріал; εм
і εг - ступінь чорноти
нагріваємого мате-ріалу і газу; С0 - коефіцієнт випромінювання абсолютно
чорного тіла, ккал/м2∙год∙град4.
Кутовий коефіцієнт (φкм)
може бути обчислений як відношення площі пекучого матеріалу до площі кладки.
Для печей Єнакіївського металургійного заводу, що мають внутрішніх діаметр 2,2
м, φкм дорівнює 0,116.
Склад випромінюючих компонентів у
газах, що залишають обертову піч, становить: 26 % СО2 і 10 % Н2О.
Ступінь чорноти газу визначаємо за
відомими формулами за допомогою графіків [6]. Для наведеного хімічного складу
ступінь чорноти, газу εг
становить 0,177.
Ступінь чорноти матеріалу εм
при випалюванні чистого вапняку становить 0,27, а при випалюванні вапняку,
покритого окалиною, 0,80 [7]; наведений коефіцієнт випромінювання сг-к-м
розрахований за формулою (2.2), відповідно дорівнює 1,19 і 2,96 ккал/м2∙год∙град4.
Якщо прийняти, що 80 % тепла від факела до матеріалу передається
випромінюванням, то тепловий потік при випалюванні вапняку з окалиною вище
приблизно в 2 рази. Приблизно в стільки ж разів швидше повинен здійснюватися і
процес випалу вапняку з окалиною. Коефіцієнт температуропровідності окалини
вище, ніж вапна, тому дисоціація СаСО3 в шматках вапняку, покритих окалиною,
протікає швидше і закінчується на меншій довжині печі. Під час спостережень за
випалюванням відзначено зниження температури відхідних газів приблизно на 30 °С
і відповідне зниження температури готового продукту випалу. Цього тепла було
достатньо для нагріву і розм'якшення окалини.
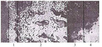
Продукт випалу представляє собою
шматки вапна, покриті міцною залізистою оболонкою (рис. 2.3), товщина якої на
окремих шматках досягає 10 мм.
Рис. 2.3
- Вид продукту випалу вапняку з окалиною
Рис. 2.4
- Зовнішній вигляд зразків флюсу в зламі (×2)
Рис. 2.5
- Мікроструктура конверторного флюсу (×200):
1
- силікатна зона; 2 - феритназона; 3 - зона розпушення;
4
- зона чистого вапна
Мінералогічний аналіз проб показав,
що залозиста оболонка являє ошлакованне з поверхні вапно. У кожній пробі чітко
виділяються три зони: феритизації, де по межах зерен вапна утворилися ферити
кальцію (2СаО∙Fе2О3); розпушена, тільки просочена оксидами заліза, і зона
високореакційного вапна.
При хімічному аналізі проб, які
відбирали через кожну годину роботи печі, встановили, що вміст Fезаг в продукті
коливається від 1 до 10 %.
Різний фракційний склад, питома вага
вапняку і окалини, мабуть, призводять до розшарування під час випалу в печі і
нерівномірного змістом оксидів заліза в продукті випалу. На рис. 2.6 показана
залежність вмісту в флюсі СаО і втрат при прожарюванні від вмісту Feзаг
(коефіцієнти кореляції г1 = -0,716 та г2 = - 0,540).
Рис. 2.6 - Залежність вмісту в
продукті випалу CaO (суцільна лінії) і п. п. п. (пунктирні) від змісту Fезаг
(цифри біля точок кількість визначень)
Збільшення у флюсі змісту Fезаг
супроводжується зниженням втрат при прожарюванні, що пов'язано зі збільшенням
ступеня випалу вапняку при добавці окалини. Невелике ядро «недопалу»,
спостережуване у звичайному вапні, відсутне в вапні вкритому оболонкою феритів.
Таблиця 2.4
- Хімічний склад флюсу по перетину шматка був
наступним, %
|
Дослідне
вапно:
|
СаО
|
Fезаг
|
П.п.п.
|
|
оболонка
|
53,60
|
34,10
|
-
|
|
сердцевина
|
92,40
|
0,14
|
3,70
|
|
Звичайне
вапно
|
86,24
|
0,61
|
9,70
|
Склад серцевини і оболонки
дослідного вапна, а також звичайного вапна підтверджує висновок про більш повну
дисоціацію вапняку, покритого шаром феритів.
Досвід одержання синтетичних флюсів
в трубчастих печах показує, що технологія виробництва таких матеріалів має
базуватися на виборі оптимального хімічного складу добавок з урахуванням
можливого мінералоутворення в печі, а також фізико-хімічних властивостей рідкої
фази.
Новолипецьким металургійним
комбінатом та Липецьким політехнічним інститутом (Ліппі) проведені промислові
дослідження з отримання озалізненого вапна в трубчастих печах (d = 3,61 м; l =
75 м), футерованих в зоні випалу хромомагнезитовою цеглою.
При відпрацюванні технології
отримання вапна визначали ефективність залізорудних добавок і їх оптимальний
вміст. У період досліджень фіксували основні технологічні показники
обпалювальної печі, винос пилу, хімічний та гранулометричний склад вапна та її
міцність. Температуру факела в зоні випалу вимірювали оптичним пірометром.
Оптимальну кількість залізорудних присадок визначали по максимальному насиченню
вапна оксидами заліза при стійкому режимі роботи обпалювальної печі.
Таблиця 2.5
- Властивості озалізненого вапна
|
Вміст,
%
|
Час
гашення, хв:с
|
Щільність,
г/см3
|
П.м.п.п
|
|
CaO
|
MgO
|
SiO2
|
R2O3
|
|
|
|
|
93-95
|
0,9-1,2
|
1,2-2,0
|
1,2-2,0
|
2:30-6:30
|
1,4-1,9
|
0,6-1,4
|
При використанні як залізорудного
матеріалу відсіву окатишів (59,33 % Fе і 9,8 % SiO2) офлюсовання вапна досягти
не вдалося.
Стабільні результати по формуванню
озалізненого вапна отримали при подачі в піч 20 % конвертерного шламу. При
оптимальному вмісті шламу в шихті обпалювальної печі знизилася питома витрата
природного газу на 17,6 %, підвищилася температура факела в зоні випалу з 1420
до 1510 ºС,
знизилася температура відхідних газів з 845 до 750 ºС
(рис. 2.7).
Рис. 2.7
- Зміна питомої витрати природного газу,
температури факела і
факелів, що відходять залежно від витрати шламу
Зміна теплового режиму печі
пояснюється більш досконалим теплообміном між тазами, що відходять і шматками
вапняку, покритими оболонкою з феритів кальцію, підвищенням температури
повітря, що надходить в зону випалу з холодильника печі.
Поліпшення теплообміну, як показано
в роботі [13], відбулося при збільшенні теплового потоку до підвищення
температуропровідності продукту.
Встановлена залежність між кількістю
засвоєних вапном оксидів заліза до температури факела горіння. При температурі
факела 1450-1510 ºС
вапно містило найбільшу кількість оксидів заліза (рис. 2.8).
При стабільному режимі випалу піч
пропрацювала 115 ч.
За зовнішнім виглядом флюс являє
шматки вапна, покриті залізистою оболонкою товщиною від 3 до 12 мм; оболонка
флюсу збільшує міцність продукту при транспортуванні та зберіганні. При
випалюванні вапна вихід класом менше 5 мм після проходження обертового
трубчастого холодильника збільшується в 2,7 рази, офлюсованного вапна - в 2,2
рази (табл. 2.6). Зниження виходу дрібної фракції сприяло зростанню
продуктивності печі на 9,82 %; підвищення механічної міцності флюсу
супроводжувалося значним зниженням стирання. Дослідні дані показали, що
стираємвсть озалізненого вапна майже в три рази менше, ніж звичайного;
кількість пилу менше 0,5 мм після випробування в барабані склало відповідно 8,5
і 23,7 %.
Рис. 2.8
- Змінення вмісту оксидів заліза в флюсі в
залежності від
температур факела
Співробітники Ліппі (нині ЛДТУ)
спільно з НЛМК розробили технологію отримання озалізненого вапна в обертових
печах № 1 і 4 ОГП-1 [13] при одночасній подачі вапняку і конвертерного шламу.
Тривалий період роботи обертових
печей підтвердив позитивну оцінку пропозицію технології: зменшилися вихід
фракції <10 мм з 19,1 до 11,9 %, вихід дрібниці <5 мм - на 8-10 % (абс.),
стираємість - в 2-3 рази в порівнянні із звичайним вапном, вихідні витрати
природного газу - на 17,6 % в порівнянні з виробництвом звичайного вапна [6].
Озалізнене вапно не гігроскопічне, насичення вологою за добу становить 1-2 %.
При використанні озалізеного вапна в конвертерній плавці [5] відзначалося
рівною, спокійною продувкою, кінцевий шлак був гомогенний і рідкоплинний за
відсутності незасвоєного вапна.
Таблиця 2.6
- Міцностні властивості озалізненого вапна
(чисельник) та
звичайного (знаменник)
|
Відбір проби
|
Гранулометричний склад, %
|
Міцність, % (по ГОСТ 16137 - 69)
|
Реакційна здатність, хв/с
|
Температура плавлення оболонки, ºС
|
|
>10
|
10-5
|
>5-0
|
5
|
5-0,5
|
<0.5
|
|
|
|
На вході до холодильника
|
74,35/ 83,60
|
15,37/ 4,5
|
10,28/ 11,9
|
82,4/ 61,1
|
5,1/ 10,2
|
12,5/ 28,7
|
Не реагує/ 3-38
|
1320-1390/-
|
|
Після холодильника
|
64,94 (ППТП)
|
12,37/ 9,5
|
22,68/ 32,5
|
87,3/ 69,4
|
4,2/ 8,9
|
8,5/ 23,7
|
Не реагeeє/ 4-42
|
1320-1390/-
|
В даний час в вогнетривкому цесі
HЛMK спільним випалюванням вапняку фракції 20-60 мм і 1,1-1,5 % залізовмісної
добавки проводиться озалізнене вапно з вискокими показниками якості (таблиця
2.7).
Час гасіння змінюється в широкому
інтервалі і перевершує час гасіння звичайного вапна, що повинно позначитися на
реакційній здатності такого вапна.
Судячи з показників, представлених в
табл. 2.7, випал вапняку при виробництві озалізненого вапна відбувається при
значно більш високих температурах, ніж випал звичайного вапна: температура
факела - 1610 °С, футерування печі - 1510 °С, при цьому вміст оксидів заліза в
озалізненому вапні <0,5 %. Природно, що в такому випадку можливий перепал,
що знизить ступінь засвоєння такого продукту і в підсумку збільшить витрату
шлакоформуючих.
Насичення вапна оксидами заліза
супроводжувалося зниженням втрат при прожарюванні на 2,33-3,36 % і незначним
зменшенням сумарного вмісту оксидів кальцію і магнію. Підвищений вміст оксиду
магнію (4,78-5,37 %) має сприяти підвищенню стійкості футерівки конвертера до
поліпшення процесу шлакоутворення.
У зв'язку з покриттям вапна
залізистою оболонкою стандартна оцінка її реакційної здатності втрачає фізичний
зміст. Але серцевина такого вапна, як показали випробування методом гасіння
навішування у воді, має кращу реакційну здатність (2 хв), ніж звичайної (3-4
хв).
Таблиця 2.7
- Технологічні показники виробництва звичайного і
озалізненого вапна
|
Показники
|
Добавки при виробництві озалізненого вапна
|
Вичайне вапно
|
|
відсів агломерата
|
конвертерний шлак
|
|
|
Витрата шихтових
матеріалів:
|
|
|
вапно, т/ч
|
15
|
15
|
15
|
15
|
15
|
|
добавка, кг/ч
|
0,5
|
1,5
|
2
|
2,5
|
-
|
|
Витрата природного газа, м3/ч
|
2905,26
|
2980
|
3000
|
3128
|
2700
|
|
Температура, С:
|
|
|
факела горіння
|
1610
|
1610
|
1610
|
1610
|
1400
|
|
футерування печі
|
1510
|
1510
|
1510
|
1510
|
1300
|
|
В пилевій камері
|
760
|
803
|
779
|
812
|
710
|
|
перед котлом-утилізатором
|
597,89
|
590
|
579
|
612
|
570
|
|
Зміна тиску котла-утилізатора, кгс/м2
|
55,57
|
44,66
|
33,5
|
41,8
|
35
|
|
Швидкість обертання печі, хв-1
|
0,45
|
0,45
|
0,45
|
0,45
|
0,45
|
|
Хім. склад продукта, %:
|
|
|
СаО
|
93,88
|
93,98
|
93,71
|
93,96
|
91,5
|
|
MgO
|
1,63
|
1,52
|
1,38
|
1,35
|
1.4
|
|
SiO2
|
1,85
|
1,64
|
1,715
|
1,73
|
1,6
|
|
r2 О3
|
1,24
|
1,21
|
1,26
|
1,32
|
-
|
|
Fe2О3
|
0,47
|
0,44
|
0,47
|
0,46
|
-
|
|
П.М.П.П.'
|
1,08
|
1,28
|
1,62
|
1,2
|
4,5
|
|
Хім. склад вапна, %:
|
|
|
СаО
|
53,26
|
53,44
|
53,51
|
53,35
|
53,48
|
|
MgO
|
1,16
|
1,134
|
1,12
|
1,1
|
1,01
|
|
SiО2
|
1,11
|
1,07
|
1,15
|
1,09
|
0,95
|
|
П.м.п.п.
|
43,21
|
43,12
|
43,08
|
43,38
|
43,20
|
Про якість продукту необхідно судити
по температурі плавлення феритної оболонки. Температура плавлення озалізненого
вапна різних класів знаходилася в межах 1320-1390 °С.
Кількість вологи, поглиненої
озалізненим вапном за першу добу, не перевищувала 1-1,5 %, а через місяць
зберігання - від 10 до 13 %. Отже, можна збільшити термін зберігання такого
вапна і створити необхідні запаси.
При нормальній роботі електрофільтру
можна очікувати, що подачі шламу у піч поліпшать ефективності його роботи. З
введенням шламу підвищиться влаговмісність газів, збільшиться кількість
частинок з меншим питомим електричним опором, що призведе до підвищення ступеня
очищення газів, що відходять.
При вивченні поверхневого шару нової
кладки в районі утворення настилу зміни хімічного складу хромомагнезитної цегли
не виявили. Стара кладка насичена оксидами кальцію, які взаємодіяли в твердій
фазі з оксидами заліза добавок та цегли з утворенням легкоплавких феритних
з'єднань.
Необхідно відзначити, що «настилі»
легко відокремлювалися від кладки, оплавлена була тільки з поверхні і
складалася із суміші шламу і дрібнодисперсного вапна. При використанні відсіву
окатишів утворення «настилів» містять значну кількість кремнезему і їх було
важко відокремити від кладки.
2.2 Результати застосування
озалізненого вапна на різних металургійних підприємствах
Заміна звичайного вапна флюсом в
кількості до 50 % необхідної витрати на плавку дозволило прискорити
шлакоутворення і дещо поліпшити десульфурацію металу. При цьому окисленість
металу і шлаку зменшилися на 5 % порівняно з плавками поточного виробництва.
Покращився тепловий баланс плавки, знизилася кількість плавок з додувками по
температурі.
Плавки з проміжними повалками
показали, що при використанні озалізненого вапна шлак вже на 6-й хвилині мав
основність 2,08-2,1, вміст закису заліза в шлаці в різні періоди становив
10,7-14,1 %, в той час як при використанні звичайного вапна - 16,1 %, витрата
кисню зменшилася на 4,45 м3/т сталі, витрата чавуну - на 11,8 кг/т сталі, вихід
придатного збільшився на 0,5 %.
При використанні озалізненого вапна
в конвертерах відзначені наступні позитивні ефекти:
застосування озалізненого вапна в
кількості до 50 % загальної витрати шлакоформуючих матеріалів на плавку
покращує процес шлакоформування, особливо в початковий період;
окисленість шлаку на плавках
зменшується в середньому на 5 %;
поліпшуються десульфурація металу і
тепловий баланс плавки, що дає можливість знизити витрату чавуну на 10,9 кг/т
сталі.
Таблиця 2.8
- Фізичні властивості флюсу (А) і звичайного вапна
(Б)
|
Показники
|
А
|
Б
|
|
Вдаваєма щільність, г/см3
|
2,66
|
1,52
|
|
Пористість
|
22,7
|
н.д.
|
|
Насипна маса, кг/м3
|
1650
|
1000
|
|
Опір стисненню шматка розміром 20-25 мм,
кг/кусок
|
324
|
39,2
|
|
Міцність (ГОСТ 15137-69), %:
|
|
|
> 5 мм
|
91,0
|
71,7
|
|
5-0,5 мм
|
3,7
|
5,1
|
|
< 0,5 мм
|
5,3
|
23,2
|
|
Гранулометричний склад, %:
|
|
|
|
>40 мм
|
12,7
|
-
|
|
40-5 мм
|
55,7
|
-
|
|
5-3 мм
|
15,0
|
-
|
|
<3 мм
|
16,6
|
-
|
Вплив присадки озалізненого вапна на
техніко-економічні показники конвертерного виробництва (табл. 2.9). Плавки були
розділені на три групи з витратою озалізненого вапна, т/плавку: 1,9-3,2 -
варіант А; 5-6,2 - Б; в якості порівняльних взяли плавки з використанням
звичайного вапна - варіант В. Озалізнене вапно садять частково на брухт разом з
металургійним вапном звичайної якості і з початком продувки на 1-4-й хвилині.
Величини охолоджуючого ефекту при
1360 °С, Дж/кг, для вапна і озалізненого вапна з добавками агломерату та
конвертерного шлаку рівні 1763, 1432 і 1445 відповідно. Охолоджуючий ефект
озалізненого вапна на 22 % менше, ніж звичайного. Враховуючи, що в тепловому
балансі початкового періоду вапно витрачає тепло чавуну, зниження енерговитрат
на асимілювання вапна повинно знизити витрату чавуну. Таким чином, виробництво
озалізненого вапна призводить до підвищення виробничх характеристик вапняного
виробництва та зменшення охолоджуючого ефекту обпаленого вапна.
Таблиця 2.9
- Технологічні показники плавок
|
Показники
|
Плавки з озалізненим вапном
|
Порівняльні плавки
|
|
А
|
Б
|
В
|
|
Кількість плавок
|
63
|
43
|
60
|
|
Співвідношення чавун/брухт, %
|
80,14/19,85
|
80,04/19,95
|
80,26/19,74
|
|
Витрата матеріалів
на плавку, т∙:
|
|
|
чавун
|
141,578/138-147
|
141,666/138-147
|
143,754/140-145
|
|
брухт
|
36,268/32-42
|
36,666/32-42
|
35,338/32-40
|
|
вапно
|
10,5/6,1-13,9
|
9,3/6,1-12,3
|
11,6/9,1-15,3
|
2,5/1,9-3,3
|
5,5/5-6,2
|
-
|
|
кисень, м3
|
9082/8212-9878
|
9095/8496-9890
|
9067/8416-9597
|
|
Склад чавуна, %
|
|
|
Si
|
0,66
|
0,67
|
0,65
|
|
Mn
|
0,145
|
0,15
|
0,145
|
|
Р
|
0,069
|
0,069
|
0,068
|
|
S
|
0,014
|
0,014
|
0,016
|
|
Температура чавуна, °С
|
1366
|
1367
|
1361
|
|
Склад метала
на повалці, %:
|
|
|
С
|
0,026
|
0,025
|
0,027
|
|
Мn
|
0,055
|
0,05
|
0,05
|
|
Р
|
0,008
|
0,008
|
0,008
|
|
S
|
0,017
|
0,017
|
0,016
|
|
Склад шлака, %:
|
|
|
Fe
|
17,2
|
17,8
|
17,82
|
|
MgO
|
3,31
|
3
|
3,43
|
|
CaO
|
53,23
|
53
|
52,23
|
|
SiO2
|
18,25
|
18,73
|
18,64
|
|
CaO/SiO2
|
2,91
|
2,82
|
2,80
|
|
Температура метала
на повалці, °С
|
1695
|
1691
|
1688
|
|
Витрата шлакоформуючих, кг/0,1
Од. основності
|
446
|
525
|
414
|
|
CaO/SiO2
|
2,91
|
2,82
|
2,80
|
|
Температура метала
на повалці, °С
|
1695
|
1691
|
1688
|
|
Витрата матеріалів
на плавку, т∙:
|
|
|
чавун
|
141,578/138-147
|
141,666/138-147
|
143,754/140-145
|
|
брухт
|
36,268/32-42
|
36,666/32-42
|
35,338/32-40
|
|
вапно
|
10,5/6,1-13,9
|
9,3/6,1-12,3
|
11,6/9,1-15,3
|
|
Озалізнене вапно
|
2,5/1,9-3,3
|
5,5/5-6,2
|
-
|
|
кисень, м3
|
9082/8212-9878
|
9095/8496-9890
|
9067/8416- 9597
|
|
Склад чавуна, %
|
|
|
Si
|
0,66
|
0,67
|
0,65
|
|
Mn
|
0,145
|
0,15
|
0,145
|
|
Р
|
0,069
|
0,069
|
0,068
|
|
S
|
0,014
|
0,014
|
0,016
|
|
Температура чавуна, °С
|
1366
|
1367
|
1361
|
|
Склад метала
на повалці, %:
|
|
|
С
|
0,026
|
0,025
|
0,027
|
|
Мn
|
0,055
|
0,05
|
0,05
|
|
Р
|
0,008
|
0,008
|
0,008
|
|
S
|
0,017
|
0,017
|
0,016
|
|
Склад шлака, %:
|
|
|
|
|
Fe
|
17,2
|
17,8
|
17,82
|
|
MgO
|
3,31
|
3
|
3,43
|
|
CaO
|
53,23
|
53
|
52,23
|
|
SiO2
|
18,25
|
18,73
|
18,64
|
|
CaO/SiO2
|
2,91
|
2,82
|
2,80
|
|
Температура метала на повалці, °С
|
1695
|
1691
|
1688
|
|
Витрата шлакоформуючих, кг/0,1
Од. основності
|
446
|
525
|
414
|
В чисельнику - середне, в знаменнику
- мін-макс.
При використанні озалізненого вапна
вміст Feзаг в шлаці було таким же, як у порівняльних плавках, або відрізнялося
незначно, витрати кисню відрізнялися також незначно. Кількість оксиду магнію,
фосфору і чавуну по всіх варіантах знаходилися на одному рівні, криві
основності варіантів А і Б вище, ніж криві основності варіанта В. Вміст кремнію
в чавуні майже однаковий для всіх варіантів, але витрата шлакоутворюючих в
порівнянні з варіантом В при приведенні до однакових умов більше на 7,7 % для плавок
А і на 26,8 % для Б. При цьому в середньому основність в плавках А була вищою
на 0,1, ніж у плавках В. Відзначимо, що для виходу на задану основність
потрібно значно быльше озалызненого вапна, ніж звичайного вапна.
Витрата чавуну у варіанті В в
середньому вище на 2,1-2,2 т, ніж в А і Б, витрата брухту - нижче на 0,9-1,3
співвідношення чавуну і брухту також показує найменьші витрати в плавках А і Б.
Кінцева температура для плавок А і Б вище на 7 і 3 °С відповідно чим для плавок
В. Температура чавуну на плавках із звичайним вапном нижче на 5 і 6 °С, ніж на
плавках Б відповідно.
Аналіз співвідношення чавуну і
брухту показує, що варіант Б - кращий в тепловому відношенні. Питомі показники
витрат матеріалів на 1 т сталі показані в табл. 2.10.
Таблиця 2.10
- Показники витрат матеріалів
|
Показники
|
Плавки з озалізеним вапном
|
Порівняльні плавки
|
|
А
|
Б
|
В
|
|
Витрата матеріалів, кг/т сталі
|
|
|
чавун
|
894,2
|
890
|
906,4
|
|
брухт
|
229,1
|
230,4
|
222,8
|
|
вапно
|
66,3
|
58,52
|
73,4
|
|
Озалізнене вапно
|
15,8
|
34,25
|
-
|
|
Витрата шлакоформуючих, кг/т рідкого
|
82,1
|
92,77
|
73,4
|
|
Кисень, м3
|
56.9
|
55,67
|
57,17
|
Витрата чавуну за варіантом Б на
16,4 кг/т сталі менше, а брухту - на 7,6 кг/т сталі більше. За варіанта А
витрата чавуну на 12,2 кг/т сталі менше, а брухту - на 6,3 кг/т сталі більше.
Витрата шлакоутворюючих на 8,7 і 19,37 кг вапна на 1 т сталі більше за
варіантами А і Б відповідно. При цьому основність була практично на одному
рівні з порівняльними плавками, що говорить про гірше засвоєння озалізненого
вапна. Всіма дослідниками відзначено поліпшення теплового балансу і, як
наслідок, можливість зниження витрати чавуну.
Рис. 2.9
- Розподіл втрат мас при прокалюванні в
озалізненому вапні при використання різних залізовмісних добавок
Переваги отримання озалізненого вапна
в порівнянні з іншими способами виробництва шлакоутворюючих:
підвищення продуктивності обертових
печей;
подача шлакоутворюючих в конвертер у
вигляді моношихти;
зменшення охолоджуючого ефекту
обпаленого вапна і питомої витрати чавуну.
2.3 Розробка технології виплавки
сталі з використанням озалізненого вапна
В даній дипломній роботі для
розробки оптимальної технології використання озалізненого вапна був
використаний досвід плавок, які були проводились в 370-т конвертері з
використанням озалізненого вапна, отриманого в обертових печах.
Високий вміст СаО і Fe2О3 в
озалізненому вапні (табл. 2.11) сприяє поліпшенню шлакоутворення. У той же час
вона є міцнообпаленим матеріалом з низькою реакційною здатністю і великою
часткою дрібної фракції (<5 мм; табл. 2.12). Для зниження частки дріб'язку
при виробництві вапна в 1995 р в шлам в якості сполучного компонента ввели
глину. Однак це призвело до збільшення вмісту SiО2, що знижує флюсуючу
здатність вапна.
Таблиця 2.11
- Хімічний склад озалізненого вапна
|
Період (місяць)
|
Вміст в вапні, %
|
|
П.п.п.
|
СаО
|
MgO
|
SiO2
|
Fе2О3
|
А12О3
|
|
1994 г. (XII)
|
0,36
|
85,89
|
6,70
|
0,45
|
6,22
|
0,06
|
|
1995 г (III-IV)
|
0,41
|
83,56
|
6,20
|
3,62
|
5,63
|
0,55
|
|
1995 г. (V-VI)
|
0,45
|
82,55
|
5,49
|
4,62
|
5,99
|
0,79
|
|
1996 г. (II)
|
0,42
|
81,60
|
5,00
|
4,60
|
6,57
|
1,60
|
Результати дослідно-промислових
плавок наведені в табл. 2.13, для порівняння взяті дані плавок з використанням
вапна виробництва ІДП. До цього періоду стабілізувалися хімічний склад чавуну і
витрата матеріалів на плавку.
Витрати озалізненого вапна (в
основному в завалку) на плавках варіанти 1 склали в середньому 12,7 т. Плавки
відрізнялися гарячим ходом і високою витратою шлакоформуючих матеріалів;
відзначено позитивний вплив присадки озалізненого вапна на шлакоформування.
Виносів і викидів металу і шлаку з конвертера по ходу продувки не спостерігали.
Аналіз результатів плавок 1 і 2 показує [14], що застосування озалізненого
вапна в кількості до 50 % прискорює процес шлакоформування, оскільки
виключається поява на поверхні шматків вапна на початку продувки тугоплавкого
з'єднання 2СаО ∙ SiO2, що перешкоджає розчиненню вапна (утворюються
легкоплавкі з'єднання з CaO, SiO2 , FeO і Fe2O3). Тому застосування
озалізненого вапна доцільно саме в період шлакоформування.
Таблиця 2.12
- Фракційний склад (%) озалізненого вапна
|
Період (місяць)
|
Фракція, мм
|
|
+40
|
+32
|
+25
|
+20
|
+15
|
+10
|
+5
|
+3
|
+1
|
-1
|
< 5 (доля)
|
|
1994 г. (XII)
|
2,7
|
3,3
|
3,7
|
1,8
|
9,3
|
10,1
|
13,6
|
15,1
|
18,5
|
21,9
|
55,5
|
|
1995 г. (ІІІ-IV)
|
7,0
|
6,3
|
8,6
|
10,9
|
16,4
|
9,5
|
12,1
|
14,5
|
9,2
|
5,5
|
29,2
|
|
1995 г. (V- VI)
|
10,6
|
4,5
|
8,1
|
11,1
|
18,2
|
9,1
|
13,1
|
10,8
|
5,9
|
8,6
|
25,3
|
Таблиця 2.13
- Характеристика плавок, проведенних в 370-т
конвертері х використанням озалізненого вапна в кількості 40 % (1) і 70 % (2) і
звичайного (3)
|
Показники
|
1
|
2
|
3
|
|
Кількість плавок
|
21
|
4
|
20
|
|
Витрата матеріалів, т:
|
|
|
|
|
чавун
|
304,0
|
306,7
|
309,5
|
|
брухт
|
99,9
|
96,7
|
97,6
|
|
вапно
|
11,9
|
7,8
|
23,1
|
|
озалізнене вапно
|
12,7
|
25,0
|
1,4
|
|
недопал
|
3,6
|
1,3
|
3,4
|
|
вапняк
|
2,4
|
2,7
|
1,9
|
|
Вміст в металі на повалці конвертера
|
|
|
С
|
0,030
|
0,037
|
0,039
|
|
S
|
0,029
|
0,027
|
0,029
|
|
Р
|
0,009
|
0,011
|
|
Температура метала на повалці конвертера, °С
|
1666
|
1624
|
1660
|
|
Вміст в шлаці FеО, %
|
22,5
|
27,4
|
26,1
|
|
Основність шлака
|
2,6
|
2,8
|
2,8
|
|
Ls
|
2,69
|
2,44
|
3,03
|
|
Lp
|
156,9
|
160,3
|
120,0
|
Окисленість металу і шлаку на
дослідних плавках була помітно нижче, ніж на порівняльних (вміст FeO в шлаку
відповідно 22,5 % і 26,1 %).
Десульфурація і дефосфорація на
дослідних плавках пройшли задовільно.
При підвищеній витраті озалізненого
вапна (60-80 % загальної витрати шлакоформуючих матеріалів) відбувається деяке
погіршення техніко-економічних показників плавки, обумовлених зміною теплового
балансу: температура ванни в кінці продувки нижче, а вміст вуглецю практично
те, що і на порівняльних плавках: дещо зменшується ступінь десульфурації
металу.
Погіршення теплового балансу плавки,
очевидно, пов'язано з тим, що для отримання шлаку необхідної основності
необхідно підвищувати витрати озалізненого вапна на 15-20 % [15], оскільки в
ній міститься близько 5 % SiО2, на нейтралізацію якого потрібно 15 % СаО, тобто
близько 20 % озалізненого вапна не беруть участь в процесі рафінування сталі.
Зміна витрати основних матеріалів на
виробництво сталі в залежності від витрати озалізненого вапна наведено в
таблиці 2.14.
Таблиця 2.14
- Витрата основних матеріалів на виплавку в 370-т
конвертері (кг/т
придатної сталі) з використанням озалізненого вапна (таблиця 2.13)
|
Шихтовой матеріал
|
1
|
2
|
3
|
|
Чавун
|
867,3
|
880,5
|
876,1
|
|
Брухт
|
285,0
|
271,0
|
276,3
|
|
Вапно
|
46,5
|
27,3
|
92,6
|
|
Недопал
|
10,3
|
3,6
|
9,6
|
|
Вапняк
|
4,6
|
7,6
|
2,7
|
|
Озалізнене вапно
|
38,2
|
70,1
|
0
|
|
Озалізнений доломіт
|
2,2
|
0
|
2,7
|
З врахуванням втрат (25 %) на
відсів.
Використання озалізненого вапна в
кількості до 50 % загальної витрати при виплавці сталі в 370-т конвертері в
цілому покращує шлакоформування.
ВИСНОВКИ
. Лімітуючою ланкою в процесі
шлакоутворення є розчинення вапна.
. У початковій стадії продувки
розчинення вапна гальмується утворенням на ньому щільної тугоплавкоі плівки
(2CaO-SiO2), яка перешкоджає масообміну між шлаком і вапном.
. Одним з найбільш ефективних
способів прискорення процесу шлакоутворення в кисневих конвертерах є застосування
комплексного шлакоформуючого матеріалу, флюсуючі компоненти якого (оксиди
заліза, марганцю та ін.) перешкоджають утворенню на поверхні вапна суцільної
плівки (2СаО- SiO2).
. Переваги отримання озалізненого
вапна в порівнянні з іншими способами виробництва шлакоутворюючих:
підвищення продуктивності обертових
печей;
подача шлакоутворюючих в конвертер у
вигляді моношихти;
зменшення охолоджуючого ефекту
обпаленого вапна і питомої витрати чавуну.
. Використання озалізнений вапна в
кількості до 50 % загальної витрати при виплавці сталі в 370-т конвертері
покращує шлакоформування, особливо в початковий період плавки. При цьому
десульфурація і дефосфорація металу не викликають ускладнень.
. З підвищенням витрати озалізненого
вапна (> 50 %) ускладнюється шлаковий режим, збільшуються кількість шлаку і
ймовірність викидів металу і шлаку з конвертера, що призводить до зростання
частки плавок з вимушеним скачуванням шлаку, також погіршується тепловий баланс
плавки.
. Озалізнене вапно рекомендується
сідати в завалку в кількості до 10 т при необхідності використання в процесі
плавки закінчити присадку до початку інтенсивного обезвуглецювання. Порція
присадки в процесі плавки не повинна перевищувати 2 т. Допускається присадка
озалізненого вапна при появі ознак «згортання» шлаку в кількості 2-4 т.
. При витраті озалізненого вапна
70-80 % зниження витрати чавуну не спостерігається.
. Використання озалізненого вапна в
кількості 40-50 % загальної витрати шлакоформуючих матеріалів дозволяє знизити
витрату чавуну на 10,9 кг/т сталі.
БІБЛІОГРАФІЧНИЙ СПИСОК
1.
Получения ожелезненной извести / Трубников А.А., Хайдуков В.П. // Сталь. -
1986. - №7.
.
Смирнов Л.А. Использование ожелезненного известково-магнезиального флюса в
конвертерной плавке // Cталь. - 2000. - №11.
.
Дидковский В.К. Технология производства и применения конвертерного флюса //
Сталь. - 2003. - №2.
.
Хайдуков В.П., Вайнштейн В.А. Получение комплексного флюса для
кислородно-конвертерного производства // Сталь. - 1999. - №8.
.
Циглер Е.Н., Маслов В.М., Большакова З.Д. и др. Применение ожелезненной извести
в сталеплавильном производстве // Сталь. - 1997. - №3.
.
Маринин А. В., Меджибожский М. Я., Буйневич В. С. Применение синтетических
шлакообразующих материалов в 130-т кислородных конвертерах // Сталь. - 1972. -
№ 2. С. 114-118.
.Бойченко
Б. М., Костенецкий О. Н.. Баптизманский В. И. Эффектноность применения
высокоосновного агломерата в кислородно-конвертерном производстве // Бюл. НТИ
«Черная металлургия». - 1968. - № 18. - С. 39-42.
.
Дяковский В. К., Роговцев И. Н., Исаченко А. А. Технология производства и
применения конвертерного флюса // Сталь. - 1976. - № 5. - С.410-412.
.
Роговцев Н. И., Дидковский В. К,, Третьяков Е. В. О получении комплексного
флюса для конвертерной плавки // Сталь. - 1972. - № 7. - С. 597-599.
.
Хайдуков В. П., Сергеев А. Г., Климашин П. С. Промышленный опыт получения
ожелезненной извести во вращающихся печах // Сталь. - 1985. - № 7. С. 25-27.
.
Трубников А. А., Хайдуков В. П., Дереза В. П. Получение ожслезненной извести //
Металлург. - 1987. - № 4. - С. 23-25,
.
Сарычев В.Ф., Носов С. К., Николаев О. А. Выплавка стали в 370-т конвертерах с
использованием ожелезненной извести // Сталь. - 1997. - № 3. - С. 14-15.
.
Циглер Е.Н., Маслов В. М., Большакова 3. Д. Применение ожелезненной извести в
сталеплавильном производстве // Сталь. - 1997. - № 3. С. 25-26.
.
Oht К.Н., Stradtmann J., Rellcrmcier H., Ulrich W. Toninduatrle Zeltupg und
keramlsbe Rundschau, 1968. - Р. 348-352.
15.
Клейн A. Л. и др. «Теория и практика металлургии», 1960. - С. 37-46.