Технологический процесс изготовления детали
Содержание
Введение
.
Исходные данные по заданию
.
Тип производства, количество деталей в партии
.
Вид заготовки и припуски на обработку
.
Структура технологического процесса
.
Выбор оборудования и приспособлений
.
Выбор инструмента
.
Расчет режимов резания
.
Нормирование времени, определение расценки и себестоимости механической
обработки деталей
.
Конструирование приспособления
.
Основные сведения о технике безопасности
Литература
Введение
В современном обществе уровень жизни людей
определяется эффективностью производства. Первоочередной Задачей перестройки
отечественной экономики является повышение производительности труда и качества
выпускаемой продукции. Это может быть достигнуто на основе высокоэффективных
технологий автоматизации производства.
Особенностью современного производства является
автоматизация технологических процессов в частности с помощью различных средств
управления. Оборудование и методы обработки заготовок являются главным объектом
автоматизации.
Одна из главных задач машиностроения ¾
дальнейшее развитие, совершенствование и разработка новых технологических
методов обработки заготовок деталей машин, применение новых конструкционных
материалов и повышение качества обработки деталей. Особенно большое внимание
уделяется чистовым и отделочным технологическим методам обработки, объем
которых в общей трудоёмкости обработки деталей постоянно возрастает. Наряду с
механической обработкой резанием применяют методы обработки пластическим
деформированием с использованием химической, электрической, световой, лучевой и
других видов энергии. Весьма прогрессивны комбинированные методы обработки.
Обработка металлов резанием ¾
это процесс срезания режущим инструментом с поверхности заготовки слоя металла
в виде стружки для получения необходимой геометрической формы, точности
размеров, взаиморасположения и шероховатости поверхностей детали. Обработке
резанием уделено наибольшее внимание, что соответствует её значению и объему в
современном производстве. Наряду с традиционными системами управления (кулачки,
копиры и т. д.) металлорежущим станкам должное внимание уделено системам
программного управления. Такие системы позволяют с относительно малыми
затратами средств автоматизировать формообразование и произвести за короткое
время переналадку оборудования на изготовление других деталей так же в
автоматизированном режиме.
Обработка металлов режущими инструментами на
станках в современном машиностроительном производстве занимает одно из главных
мест в технологическом процессе изготовления изделий. Работа таких инструментов
основана на использовании режущего клина. Клин, состоящий из двух поверхностей,
сходящихся в острую кромку, может перемещаться относительно обрабатываемого
куска металла--- заготовки так, что одна поверхность клина будет давить на
заготовку, а кромка разделять заготовку на две неравные части, меньшая из
которых будет деформироваться, превращаясь в стружку такое взаимное перемещение
клина и заготовки осуществляется в металлорежущем станке, где инструмент или
заготовка может устанавливаться в дополнительных устройствах-приспособлениях.
Процесс обработки металлов резанием играет
ведущую роль в машиностроении, так как точность форм и размеров и высокая
частота поверхностей металлических деталей машин в большинстве случаев
обеспечивается только такой обработкой.
Этот процесс успешно применяется во всех без
исключения отраслей промышленности.
Обработка металлов резанием является весьма
трудоемким и дорогостоящим процессом. Так, например, в среднем в машиностроении
стоимость обработки заготовок резанием составляет от 50 до 60%
стоимости готовых изделий.
Обработка металлов резанием, как правило,
осуществляется на металлорежущих станках. Лишь отдельные виды обработки
резанием, относящиеся к слесарным работам, выполняются вручную или с помощью
механизированных инструментов
Обработка металлов резанием представляет собой
совокупность действий, направленных на изменение формы заготовки путем снятия
припуска режущими инструментами на металлорежущих станках, обеспечивая заданную
точность и шероховатость обработанной поверхности.
В зависимости от формы деталей, характера
обрабатываемых поверхностей и требований, предъявляемых к ним, их обработку
можно проводить различными способами: механическими - точением, строганием,
фрезерованием, протягиванием, шлифованием и др.; электрическими -
электроискровым, электроимпульсным или анодно-механическим, а также
ультразвуковым, электрохимическим, лучевыми и другими способами обработки.
1. Исходные данные по заданию
Сталь У9А ГОСТ 1435-74-углеродистые стали
повышенной прокаливаемости. она получает высокую твердость в инструментах
диаметром до 60-70 мм при закалке с охлаждением в масле и несколько меньше при
охлаждении в горячих средах (с температурами 150-200 0С). Это позволяет
значительно уменьшить деформацию инструментов.
Сталь используется для изготовления
инструментов, работающих в условиях, не вызывающих разогрева режущей кромки;
обработки дерева: фрез, зенковок, поковок, топоров, стамесок, долот, пил
продольных и дисковых; накатных роликов, плит и стержней для форм литья под
давлением оловянно-свинцовистых сплавов. Для слесарно-монтажных инструментов:
обжимок для заклепок, кернеров, бородок, отверток, комбинированных
плоскогубцев, острогубцев, боковых кусачек. Для калибров простой формы и
пониженных классов точности; холоднокатаной термообработанной ленты толщиной от
2,5 до 0,02 мм, предназначенной для изготовления плоских и витых пружин и
пружинящих деталей сложной конфигурации, клапанов, щупов, берд, конструкционных
мелких деталей, в т. ч. для часов и т. д.
Таблица 1 - механические свойства стали У9А ГОСТ
1435-74
|
HB
|
σв, МПа
|
HRC,
Закалка 760-780 С, вода.
|
|
192
|
750
|
64-66
|
Таблица 2 - химический состав стали У9А ГОСТ
1435-74
|
C
|
Si
|
Mn
|
Ni
|
S
|
P
|
Cr
|
Cu
|
|
0,86
- 0,93
|
0,17
- 0,33
|
0,17
- 0,28
|
до
0,2
|
до
0,018
|
до
0,025
|
до
0,2
|
до
0,2
|
Определим массу детали по формуле (1)
=rv,
где m - масса детали, кг;
r - плотность стали кг/ м3 ;- объем детали м3.
Для стали принимаем r=7,8·103
кг/ м3 ,
Объем детали определим как объем элементарного
параллелепипеда с основанием ромба и цилиндра с отверстием:
детали = V1 -V2 + V3- V4- V5- V6;=
0,5·0,17·0,26·0,026 = 5,746·10-4 м3 ;
V2= 0,032 · π · 0,046 = 1,301·10-4 м3
;
V3 = 0,0452 · π · 0,046 = 2,926·10-4 м3
;
V4= 2·0,0092 · π · 0,026 = 1,323·10-5 м3
;= 0,012 · 0,005 · 0,046 = 2,76·10-6 м3 ;
V6= 0,0222 · π · 0,07 = 1,064·10-5 м3
;детали = 5,746·10-4 - 1,301·10-4 + 2,926·10-4 - 1,323·10-5 - 2,76·10-6 -
1,064·10-5 =
= 7,105·10-4 м3 ; = 7,8·103·7,105·10-4 = 5,5 кг
. Тип производства, количество деталей в партии
В зависимости от размера производственной
программы, сложности и трудоемкости изготовления детали различают три типа
производства: единичное, серийное и массовое.
Таблица 3 - Тип производства
|
Тип
производства
|
Количество
обрабатываемых деталей в год
|
|
крупных
|
средних
|
мелких
|
|
Единичное
|
до
5
|
до
10
|
до
100
|
|
Серийное
|
от
5 до 1000
|
от
10 до 5000
|
от
100 до 50000
|
|
Массовое
|
свыше
1000
|
свыше
5000
|
свыше
50000
|
Согласно задания производство серийное. В
зависимости от количества изделий в партии их трудоемкости изготовления
серийное производство подразделяется на мелкосерийное, среднесерийное и
крупносерийное, определяемое ориентировочно по следующим данным.
Таблица 4 - Вид производства
|
Вид
производства
|
Количество
обрабатываемых деталей в год
|
|
крупных
|
средних
|
мелких
|
|
Мелкосерийное
|
2-5
|
6-25
|
10-50
|
|
Среднесерийное
|
6-25
|
26-150
|
51-300
|
|
крупносерийное
|
свыше
25
|
свыше
150
|
свыше
300
|
Количество деталей в партии определяется по
формуле
(2)
где N- годовая программа выпуска
деталей; N=8765 шт/год;число дней, на которое необходимо иметь запас готовых
деталей для
бесперебойной работы цеха
(принимается обычно 2-3 дня); t=2 дня;
Ф - число рабочих дней в году; Ф=255
дней.
При пятидневной рабочей неделе (40
часов в неделю) рабочих дней 255.
Если средних деталей в партии 69
штук, то значит это среднесерийное производство.
. Вид заготовки и припуски на
обработку
Заготовкой называется предмет
производства, из которого изменением формы, размеров, качества поверхностей и
свойств материала изготовляют требуемою деталь. Выбор вида заготовки зависит от
материала, формы и размера, ее назначения, условий работы и испытываемой нагрузки,
от типа производства.
Для изготовления детали применяется
отливка из стали У9А.
Наиболее распространены следующие
способы литья: в песчаные разовые формы и специальные - в кокили, под
давлением, в оболочковые формы, по выплавляемым моделям и центробежное литье.
Выбор способа изготовления отливок
зависит от их массы, серийности выпуска и сложности. Принятое распределение
отливок по массе приведено в таблице 5.
Таблица 5 - Распределение отливок по
массе при литье под давлением
|
№
группы
|
Масса
отливки ,кг
|
№
группы
|
Масса
отливки, кг
|
№
группы
|
Масса
отливки ,кг
|
|
1
|
До
0,2
|
4
|
0,2
- 0,5
|
7
|
2
- 5
|
|
2
|
0,2
- 0,5
|
5
|
0,5
- 1,0
|
8
|
5
- 10
|
|
3
|
0,05-0,1
|
6
|
1
- 2
|
9
|
10
и более
|
Для изготовления данной детали выбираем литье
под давлением. В зависимости от массы отливки литье относится к 8-ой группе и
является серийным производством.
Величина припуска на обработку, т.е. толщина
снимаемого слоя металла, зависит от вида заготовки и способа ее изготовления,
от размеров и формы детали и от требуемых точности и шероховатости обработанных
поверхностей.
Для снижения себестоимости обработки и расхода
металла припуски должны быть такими, чтобы их можно было снять за минимальное
число проходов. В тоже время для нормальной работы режущего инструмента припуск
должен превышать толщину твердой литейной корки для литых заготовок или слоя
окалины для поковок. Общий припуск на сторону должен включать кроме толщины
поверхностного дефектного слоя сумму межоперационных припусков, т. е. слоев,
снимаемых на каждой операции, с учетом погрешности установки, отклонений от
правильной формы, допусков на размеры заготовки. Величины припусков на
механическую обработку штамповочных стальных поковок приведены в таблице 6.
Таблица 6 - Припуски на механическую обработку
детали
|
Наибольший
габаритный размер детали, мм
|
Положение
поверхности при заливке
|
Припуски
при номинальных размерах отливки, мм
|
|
|
до
121
|
121-260
|
|
260
|
Верх
|
5,5
|
6
|
|
Низ
|
4,5
|
5
|
|
Бок
|
4,5
|
5
|
Расчет массы отливки:
детали = V1 - V2 + V3;= 0,5·0,17·0,26·0,037 =
8,177·10-4 м3 ;= 0,0252 · π · 0,0565
= 1,109·10-4 м3 ;
V3 = 0,052 · π · 0,0565
= 4,437·10-4 м3 ;детали = 8,177·10-4 - 1,109·10-4 + 4,437·10-4 = 11,51·10-4 м3
; = 7,8·103·7,105·10-4 = 8,9 кг
. Структура технологического процесса
Технологической операцией называется законченная
часть технологического процесса, выполняемая на одном рабочем месте, в
частности, при обработке резанием - на одном станке. Если после обработки части
поверхностей заготовка передается на другое рабочие место, а затем возвращается
на тот же станок, то дальнейшая обработка на нем составит следующую операцию.
Установом называется часть операции, выполняемая
при неизменном закреплении обрабатываемой заготовки.
Позицией называется фиксированное положение,
занимаемое неизменно закрепленной обрабатываемой заготовки совместно с
приспособлением относительно инструмента или неподвижной части операции.
Технологическим переходом называется законченная
часть операции, выполняемая одним и тем же инструментом при постоянных
поверхности, образуемой обработкой, технологических режимах и установке.
Проход - это часть перехода, характеризуемая
снятием одного слоя металла.
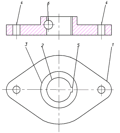
Структура технологического процесса представлена
на рисунке 1
Рисунок 1 - Структура технологического процесса
Точение применяется для обработки
преимущественно поверхностей вращения, а также резьб и червяков с помощью
резцов. Обработка наружных поверхностей называется обтачиванием, обработка
внутренних поверхностей вращения - растачиванием, обработка канавок -
прорезанием, обработка торцов - подрезанием, а обработка резьб - нарезанием.
Сверление применяется для формообразования
цилиндрических отверстий в сплошном металле. Самым распространённым способом
обычного сверления является обработка спиральным сверлом. Сверление спиральными
сверлами осуществляется па сверлильных, токарных, расточных, многоцелевых и
агрегатных станках.
Протягивание - процесс обработки резаньем, при
котором инструменту - протяжке, имеющему ряд зубьев сообщается прямолинейное
поступательное движение, которое является главным движением и характеризуется
скоростью резаньем.
Шлифовальная операция предназначена для
окончательной обработки поверхностей, придание поверхности необходимого
качества и точности.
. Выбор оборудования и приспособления
Механическая обработка детали состоит из
точения, сверлильной, протяжной и шлифовальной операций. Основываясь на
габаритные размеры и форму детали, форму поверхностей и их взаимное расположение,
технические требования и точности размеров, шероховатости обрабатываемых
поверхностей выберем станки для проведения операций.
При выборе типа станка и степени его
автоматизации необходимо учитывать следующие факторы:
габаритные размеры и форму детали;
форму обработанных поверхностей, их
расположение;
технические требования к точности размеров,
формы и шероховатости обработанных поверхностей;
Размер производственной программы,
характеризующий тип производства.
Для проведения точения выбираем токарно-винторезный
станок мод. 1М61, его технические характеристики приведены в таблице 7.
Таблица 7 - Технические параметры
Токарно-винторезного станка мод. 1М61
|
Показатель
|
Размер,
мм
|
|
Наибольший
диаметр обрабатываемой детали, мм
|
320
|
|
Расстояние
между центрами, мм
|
1000
|
|
Число
ступеней частоты вращения шпинделя
|
24
|
|
Частота
вращения шпинделя, об/мин
|
12,5-1600
|
|
Число
ступеней подач суппорта
|
24
|
|
Подачи
суппорта, мм/об:
|
|
|
-
продольная
|
0,08-1,9
|
|
-
поперечная
|
0,04-0,95
|
|
Мощность
главного электродвигателя, кВт
|
4
|
|
КПД
станка
|
0,75
|
|
Наибольшая
сила подачи механизмом подачи, кгс
|
150
|
Для проведения сверлильной операции выберем
радиально-сверлильный станок 2М58-1, его технические характеристики приведены в
таблице 8.
Таблица 8 - технические характеристики
радиально-сверлильного станка 2М58-1
|
Параметры
|
Размер,
мм
|
|
Наибольший
условный диаметр сверления в стали
|
100
|
|
Расстояние
от оси шпинделя до образующей (направляющей) колонны (вылет шпинделя)
|
500-3150
|
|
Расстояние
от нижнего торца шпинделя до рабочей поверхности плиты (или до головки
рельса) Наибольшее перемещение:
|
370-2500
|
|
вертикальное,
рукава на колонне
|
1500
|
|
горизонтальное,
сверлильной головки по рукаву (или рукава на колонне)
|
2650
|
|
Наибольшее
вертикальное перемещение шпинделя
|
630
|
|
Конус
Морзе отверстия шпинделя
|
6
|
|
Число
скоростей шпинделя
|
22
|
|
Частота
вращения шпинделя, об/мин
|
10-1250
|
|
Число
подач шпинделя
|
18
|
|
Подача
шпинделя, мм/об
|
0,063-3,15
|
|
Наибольшая
сила подачи, МН
|
50
|
|
Мощность
электродвигателя привода главного движения, кВт
|
13
|
|
Габаритные
размеры: Длина Ширина Высота
|
4850
1830 4885
|
|
Масса,
кг
|
18000
|
Поскольку в моем курсовом проекте необходимо
рассчитать режим резания для сверления, то приведем все значения подач и частот
вращения шпинделя станка 2М58-1.
Знаменатель геометрической прогрессии для
расчета подачи:
φs=
=
= 1,259
Принимаем из стандартного ряда φ = 1,26.
S1 = 0,063 мм/об;=
S1∙φS
= 0,063∙1,26 = 0,08 мм/об; = S1∙φS2
= 0,063∙1,262 = 0,10 мм/об;= S1∙φS3
= 0,063∙1,263 = 0,13 мм/об;= S1∙φS4
= 0,063∙1,264 = 0,16 мм/об;= S1∙φS5
= 0,063∙1,265 = 0,20 мм/об;= S1∙φS6
= 0,063∙1,266= 0,25 мм/об;= S1∙φS7
= 0,063∙1,267 = 0,32 мм/об;= S1∙φS8
= 0,063∙1,268 = 0,40 мм/об; = S1∙φS9
= 0,063∙1,269 = 0,50 мм/об;= S1∙φS10
= 0,063∙1,2610 = 0,64 мм/об;= S1∙φS11
= 0,063∙1,2611 = 0,80 мм/об;= S1∙φS12
= 0,063∙1,2612 = 1,01 мм/об;= S1∙φS13
= 0,063∙1,2613= 1,27 мм/об;= S1∙φS14
= 0,063∙1,2614 = 1,60 мм/об;= S1∙φS15
= 0,063∙1,2615 = 2,02 мм/об;= S1∙φS16
= 0,063∙1,2616 = 2,54 мм/об;
S18 = S1∙φS17 = 0,063∙1,2617
= 3,20
мм/об;
Определим знаменатель геометрической
прогрессии для расчета частоты вращения шпинделя:
φn=
=
= 1,258;
Принимаем из стандартного ряда φ = 1,26.
= 1,26 об/мин;
n2 = n1∙φn = 10∙1,26 =
13
об/мин;
n3 = n1∙φn2 = 10∙1,262
= 16
об/мин;
n4 = n1∙φn3 = 10∙1,263
= 20
об/мин;= n1∙φn4
= 10∙1,264 = 25
об/мин;
n6 = n1∙φn5 = 10∙1,265
= 32
об/мин;
n7 = n1∙φn6 = 10∙1,266
= 40
об/мин;
n8 = n1∙φn7 = 10∙1,267
= 50
об/мин;
n9 = n1∙φn8 = 10∙1,268 =
64
об/мин;
n10 = n1∙φn9 = 10∙1,269
= 80
об/мин;
n11= n1∙φn10 = 10∙1,2610
= 101 об/мин;12= n1∙φn11
= 10∙1,2611 = 127
об/мин;
n13= n1∙φn12 = 10∙1,2612
= 160
об/мин;
n14 = n1∙φn13 = 10∙1,2613
= 202
об/мин;
n15= n1∙φn14 = 10∙1,2614
= 254
об/мин;
n16= n1∙φn15 = 10∙1,2615
= 320
об/мин;
n17= n1∙φn16 = 10∙1,2616
= 404
об/мин;
n18 = n1∙φn17 = 10∙1,2617 = 509
об/мин;
n19= n1∙φn18 = 10∙1,2618
= 641
об/мин;
n20= n1∙φn19 = 10∙1,2619
= 807
об/мин;
n21= n1∙φn20 = 10∙1,2620
= 1017
об/мин;
n22= n1∙φn21 = 10∙1,2621
= 1282
об/мин;
Для проведения протяжной операции
выберем вертикально-протяжной полуавтомат для внутреннего и наружного
протягивания 7Б65
Таблица 9 - технические
характеристики вертикально-протяжной полуавтомат для внутреннего и наружного
протягивания 7Б65
|
Параметры
|
Размеры,
мм
|
|
Номинальная
тяговая сила, кН
|
100
|
|
Рабочая
ширина:
|
|
|
стола
|
450
|
|
салазок
|
-
|
|
Расстояние
от салазок до оси отверстия в столе
|
180
|
|
Расстояние
от поверхности салазок до торца стола
|
-
|
|
Наибольшая
длина хода салазок
|
1250
|
|
Скорость
рабочего хода протяжки, м/мин
|
1,5-11,5
|
|
Рекомендуемая
скорость обратного хода протяжки, м/мин
|
20
|
|
Мощность
электродвигателя привода главного движения, кВт
|
22
|
|
Параметры
|
7Б65
|
|
Габаритные
размеры (без рабочей площадки): длина ширина высота
|
3292
1333 4540
|
|
Масса,
кг
|
8080
|
Для проведения шлифовальной операции выберем
плоскошлифовальный станок с крестовым (прямоугольным) столом 3Е721АФ1-1.
Таблица 10 - Технические параметры
плоскошлифовального станка с крестовым (прямоугольным) столом 3Е721АФ1-1.
|
Параметры
|
Размеры,
мм
|
|
Размеры
рабочей поверхности стола
|
630
х320
|
|
Наибольшие
размеры обрабатываемых заготовок
|
630
х320х400
|
|
Масса
обрабатываемых заготовок, кг, не более
|
300
|
|
Наибольшее
расстояние от оси шпинделя до зеркала стола
|
550
|
|
Наибольшее
перемещение стола и шлифовальной бабки:
|
|
|
продольное
|
700
|
|
поперечное
|
395
|
|
вертикальное
|
-
|
|
Размеры
шлифовального круга (наружный диаметр х высота х внутренний диаметр) или тип
и размеры шлифовальных сегментов
|
300
х63х127
|
|
Частота
вращения шпинделя шлифовального круга, об/мин (Максимальная скорость резания,
м/с)
|
35
|
|
Скорость
продольного перемещения стола (бесступенчатое регулирование), м/мин
|
2-35
|
|
Мощность
электродвигателя главного привода, кВт
|
7,5
|
|
Габаритные
размеры (с приставным оборудованием) :
|
|
|
длина
|
3404
|
|
ширина
|
2073
|
|
высота
|
2090
|
|
Масса
(с приставным оборудованием), кг
|
5000
|
Приспособление выбирается из условий надежного и
жесткого закрепления детали, обеспечения требуемой точности обработки,
максимального сокращения вспомогательного времени на установку, закрепления и
снятия детали со станка.
В серийном и мелкосерийном производстве
применяются преимущественно универсальные приспособления являющиеся
принадлежностями станков. В серийном и массовом производстве рекомендуется
применять специальные приспособления, повышающие точность обработки и снижающие
штучное время.
Для токарного станка выбираем самоцентрирующий
четырехкулачковый патрон ГОСТ 2675-71, для сверлильного станка - кондуктор ГОСТ
16891-71, для вертикально-протяжного автомата и плоскошлифовального станка -
станочные тиски ГОСТ 18684-73,
. Выбор инструмента
Выбор режущего инструмента
При выборе режущего инструмента необходимо
исходить из способа обработки и типа станка, формы и расположения
обрабатываемых поверхностей, материала заготовки и его механических свойств.
Инструмент должен обеспечить получение заданной
точности формы и размеров, требуемой шероховатости обработанных поверхностей,
высокую производительность и стойкость, должен быть достаточно прочным,
виброустойчивым и экономичным.
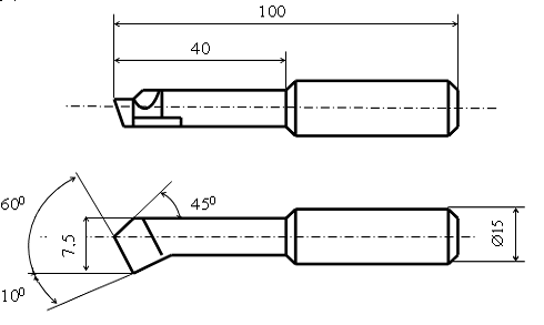
Для обработки наружных поверхностей, выбран
проходной упорный резец оснащенный пластинкой из твердого сплава Т15К6 ГОСТ
18879-73. Изображенный на рисунке 2.
Рисунок 2 - Проходной упорный отогнутый резец
Длина резца L, мм 120
Высота резца h, мм 20
Ширина резца b, мм 16
Длина пластины l, мм 16
Размер m, мм 6
Для подрезания торцов и высоких уступов, выбран
токарный подрезной отогнутый резец с пластинками из твердого сплава
ГОСТ 18880-73. Изображенный на рисунке 3.
Рисунок 3 - Подрезной отогнутый резец
Длина резца L, мм 120
Высота резца h, мм 20
Ширина резца b, мм 12
Размер l, мм 12
Размер m, мм 5
Радиус при вершине r, мм 1
Для растачивания сквозных отверстий выбран
расточной цельный резец из твердого сплава со стальным хвостовиком ГОСТ
18062-72. Изображенный на рисунке 4.
Рисунок 4 - Расточной резец для сквозных
отверстий
Для сверления отверстия диаметром 18 мм выбираю
стандартное спиральное сверло с коническим хвостовиком (ГОСТ 2092-88)
изображенное на рисунке 5.
Рисунок 5 - Спиральное сверло с коническим
хвостовиком
Диаметр сверла в мм d
= 18
Общая длина сверла в мм L
= 305
Длина рабочей части сверла lo
= 205
Геометрические параметры заточки
угол при вершине 2φ
= 120º
Для сверления отверстия диаметром 22 мм выбираю
стандартное спиральное сверло с коническим хвостовиком (ГОСТ 2092-88)
изображенное на рисунке 5а.
Рисунок 5а - Спиральное сверло с коническим
хвостовиком
Диаметр сверла в мм d
= 22
Общая длина сверла в мм L
= 335
Длина рабочей части сверла lo
= 235
Геометрические параметры заточки
угол при вершине 2φ
= 120º
Для проточки паза выбираем шпоночную протяжку
(ГОСТ 23360-78) изображенную на рисунке 6.
Рисунок 6 - Шпоночная протяжка
Для шлифования поверхности выбираю круг прямого
профиля (ГОСТ 8692-82), изображенного на рисунке 7.
Рисунок 7 - Шлифовальный круг
Максимальный наружный диаметр, мм D
= 300
Высота круга H
= 63
Диаметр посадочного отверстия d
= 127
Твердость (ГОСТ 18118-78) - среднетвердый круг.
Зернистость - 50.
Связка керамическая.
Выбор материала режущей части
Материал режущей части инструмента имеет
важнейшее значение в достижении высокой производительности обработки.
При выборе марки твердого сплава необходимо
помнить, что чем больше содержание в нем карбида титана и чем меньше кобальта,
тем больше его износо- и термостойкость, но тем меньше его прочность на изгиб и
вязкость, т.е. сплав более хрупкий.
Так как деталь изготовлена из стали то ее
рекомендуется обрабатывать инструментами оснащенными двухкарбидным сплавом
марки Т15К6.
Для сверл рекомендуется марка инструментального
материала Р12.
Выбор периода стойкости режущего инструмента
Стойкостью называется период работы режущего
инструмента до его затупления. Так как период стойкости инструмента оказывает
наибольшее влияние на скорость резания, правильный выбор этого фактора имеет
большое значение.
Период стойкости колеблется в больших приделах.
Так, период стойкости, мин, принимают равным: для резцов из быстрорежущей стали
- 60; для резцов с пластинками из твердого сплава - 90-120; для сверл из
быстрорежущей стали диаметром до 20 мм - 25 - 40, а диаметром свыше 30 мм - 40
- 60; для фрез цилиндрических из быстрорежущей стали - 120, а со вставными
ножами из твердого сплава - 180 - 540. Стойкость протяжек - 106 - 500 мин,
шлифовального круга - 10 -20 мин.
На величину стойкости инструмента существенное
влияние оказывает смазочно-охлаждающая жидкость (СОЖ). Как правило, применения
СОЖ облегчает стружкообразование и снижает температуру в зоне резания, что
существенно повышает стойкость режущего инструмента.
. Расчет режимов резания
Производительность и себестоимость обработки
изделий на металлорежущих станках, качество обработанной поверхности зависят
прежде всего от принятых режимов резания. Поэтому важен выбор их оптимальных
значений при проектировании технологического процесса механической обработки.
Оптимальные, т.е. наивыгоднейшие, режимы резания
выбираются из условий наиболее полного использования режущей способности
инструмента, кинематических и силовых способностей станка. При этом должны
обеспечиваться высокая производительность, требуемые точности и шероховатость
обработанной поверхности и минимальная себестоимость.
Режим резания сверлении
Глубина резания при сверлении, мм, принимается
равной половине диаметра сверла, т. е.

( 3 ),= 18 / 2 = 9 мм
Подача, мм / об, может быть принята
по таблицам справочной литературы или подсчитана по формуле:
S = Cs·Dk·Ks
( 4),
где
, 

, X=0.6 ,
мм/об.
По паспортным данным станка
принимается фактическая подача
(ближайшая меньшая), принимаем
0,40 мм/об.
Расчетную скорость резания, м/мин,
посчитаем по формуле (5).
( 5),
где T-расчетная стойкость сверла,
мин.,
- поправочный коэффициент,
зависящий от обрабатываемого материала,
- коэффициент, зависящий от
состояния поверхности,
- коэффициент, зависящий от глубины
сверления.
Для данного случая
=1,
=1,
=1, T=40 мин
,
, m=0,2,
,
.
Подставляем и получаем:
(м/мин.)
Расчетную частоту вращения шпинделя
рассчитаем по формуле (6).
(6),
(об/мин.).
Значение
принимаем
ближайшее меньшее имеющееся на сверлильном станке
=807 об/мин.
Считаем фактическую скорость резания
по формуле (7).
. (7),
(м/мин.).
Крутящий момент, потребный на
резание, и осевую силу вычислим по формулам (8) и (8а).
; (8),
. (8а).
где CM и CP -коэффициенты крутящего
момента и осевой силы;диаметр сверла;подача, мм/об;и ZP - показатели степени
влияния диаметра сверла на величину момента и осевой силы;и YP - показатели
степени влияния подачи на величину M и P0 ;и KP - поправочные коэффициенты на
измененные условия.
CM =0,34 ,
CP =666, ZM=2, ZP=1, YM=0,8, YP=0,7, KM= KP=1.
Подставляя эти данные получаем :
(
);
(Н).
Эффективную мощность резания ,кВт,
подсчитываем по формуле (9),
а потребная мощность по формуле
(10).
(9),
(кВт);
; (10),
(кВт).
Коэффициент использования мощности
станка определим по формуле (11).
; (11),
.
Фактическую стойкость инструмента Tф
,мин, с учетом показателя стойкости m определим по формуле (12).
; (12),
(мин).
Основное технологическое время
(машинное) , т.е. время , непосредственно затраченное на процесс резания, мин,
определим по формуле (13 ).
, (13),
где L- расчетная длина обработки ,
равная сумме длин обработки l, врезания l1 и перебега инструмента l2:
=l+l1+l2 ;
число проходов.
За длину обработки l, принимается
путь, пройденный вершиной инструмента в процессе резания и измеренный в
направлении подачи. Величина врезания l1,мм, подсчитывается по формуле (14).
(14),
где
- главный угол в плане (
).
Машинное время, по формуле (13),
будет равно :
(мин).
8. Нормирование времени, определение
расценки и себестоимости механической обработки детали
Штучное время на механическую
обработку одной детали при сверлении вычисляется по формуле
(15)
где t0 - основное технологическое
время, мин; в - вспомогательное время, мин;об - время организационного и
технического обслуживания рабочего места, мин;ф - время перерывов на отдых и
физические потребности, мин.
Основное технологическое(машинное)
время - это время, непосредственно затраченное на процесс резания,
подсчитываемое для каждого перехода.
мин.
Вспомогательное время - время на
установку, закрепление и снятие детали, подвод и отвод инструмента, включение и
выключение станка, проверку размеров. Вспомогательное время принимается по
нормативам на каждый переход и в том числе на вспомогательные переходы,
установку, переустановку и снятие детали; суммируется целиком на операцию.
мин.
Оперативным временем называется
сумма основного технологического и вспомогательного времени:оп=åt0+åtв=0,35+1,35=
1,70 мин. (16)
Время на организационное и
техническое обслуживание рабочего места tоб включает: время на подналадку,
чистку и смазку станка, на получение и раскладку инструмента, смену
затупившегося инструмента и т.п.
Время на обслуживание рабочего места
tоб, а также на отдых и физические потребности tф назначаются на операцию и
вычисляются по формуле
(17)
где α - процент на
обслуживание рабочего места;
β - процент на отдых и физические
потребности.
По формуле получаем
мин.
Таким образом теперь по формуле мы
можем подсчитать tшт
мин.
Штучно-калькуляционное время на
операцию вычисляется по формуле:
(18)
где tпз -
подготовительно-заключительное время на всю партию деталей, мин;- число деталей
в партии.
мин.
Подготовительно-заключительное время
определяется в целом на операцию и включает время, затраченное рабочим на
ознакомление с технологической картой обработки детали, на изучение чертежа,
наладку станка, получение, подготовку, установку и снятие приспособления для
выполнения данной операции.
В соответствии с литературой
подготовительно-заключительное время принимаем равным 20 мин.
Расценка на выполненную работу, то
есть стоимость рабочей силы P определяется по формуле
(19)
где СТ - тарифная ставка
соответствующего разряда, для 4-го разряда
СТ=92,6 (тыс.руб/мес) =
92600/22·8=526 (руб/ч)
К - коэффициент, для 4-го разряда
К=2,15.
Значение тарифной ставки,
соответствующей 4 разряду, принимаем равной
руб/ ч
Таким образом по формуле (19)
получаем
руб.
Себестоимость механической обработки
деталей С включает стоимость рабочей силы Р и стоимость накладных расходов Н и
определяется по формуле
(20)
где Н - стоимость накладных
расходов, тыс. руб.;
Р - стоимость рабочей силы, тыс.
руб.
Стоимость накладных расходов
принимаем равным 500% от стоимости рабочей силы
(21)
По формуле (21) находим Н
руб.
Таким образом подсчитаем
себестоимость механической обработки
руб.
. Конструирование приспособления
В задачу курсовой работы входит
разработка конструкции одного приспособления, входящего в технологическую
оснастку проектируемого процесса механической обработки.
Станочные приспособления
предназначены для установки и закрепления обрабатываемой детали и разделяются:
по степени специализации - на универсальные, переналаживаемые, сборные из
нормализованных деталей и узлов; по степени механизации - на ручные,
механизированные, автоматические; по назначению - на приспособления для
токарных, сверлильных, фрезерных, шлифовальных и др. станков; по конструкции -
на одно- и многоместные, одно- и многопозиционные.
Выбор вида приспособления зависит от
типа производства, программы выпуска деталей, от формы, размеров обрабатываемой
детали и от требуемой точности обработки.
При проектировании станочного
приспособления решаются следующие основные задачи:
) упразднение трудоемкой операции -
разметки деталей перед обработкой;
) сокращение вспомогательного
времени на установку, закрепление и переустановку детали относительно инструмента;
) повышения точности обработки;
снижение машинного и
вспомогательного времени за счет одновременной обработки нескольких деталей или
совмещенной обработки несколькими инструментами;
облегчение труда рабочего и снижения
трудоемкости обработки;
повышение технологических
возможностей и специализация станка
В результате применения
приспособления должны значительно возрасти производительность и снизится
себестоимость обработки.
В качестве приспособления для
сверления выбираем кондуктор для сверления ГОСТ 16891-71 в котором была
модернизирована прижимная плита. данная модернизация будет способствовать
облегчению труда рабочих.
Кондуктор предназначен для сверления
различных по форме заготовок. Заготовка зажимается при опускании верхней
крышки, соединенной с рукояткой, расположенного в нижней части корпуса. Усилие,
с которым может зажиматься заготовка, составляет 441 Н. Масса кондуктора
составляет 40 кг.
Скальчатый портальный кондуктор с
конусным (ручным) зажимом (ГОСТ 16891-71) состоит из двух основных частей
корпус и плита. На корпусе устанавливаются подставки для обрабатываемой детали
или опоры . Плита получает вертикальные перемещения при помощи двух скалок
(колон) смонтированных в направляющих втулках , закрепленных в корпусе .На
скалках нарезаны косозубые рейки , входящих в зацепление с зубчатым валиком и
закрепленным на нем косозубым колесом .
При повороте рукоятки вниз плита
опускается до упора в обрабатываемую деталь, после чего происходит осевое
смещение валика (11) влево и коническая втулка (10) затягивается в гнездо
крышки (9). Самоторможение этой клиновой пары исключает возможность
самопроизвольного отжима плиты. При повороте рукоятки (6) в обратном
направлении осуществляется разжим заготовки с последующим отжимом плиты (4)
вверх до упора. Валик (11) смещается в право и срабатывает левый конусный замок
,запирающий плиту .Основные размеры этого кондуктора приведены на чертеже
приспособления.
. Техника безопасности
Техника безопасности охватывает
комплекс технических устройств и правил, обеспечивающих нормальную
жизнедеятельность человека в процессе труда и исключающих производственный
травматизм. При работе на металлорежущих станках рабочий должен быть
предохранен от действия электрического тока, от ударов движущимися частями
станка, а также обрабатываемыми деталями или режущим инструментом вследствие
слабого их закрепления или поломки, от отделяющейся стружки, от воздействия
пыли и СОЖ.
.1 Общие правила техники
безопасности при работе на токарных станках
. К самостоятельной работе допускаются
лица, прошедшие медицинское освидетельствование, прошедшие вводный инструктаж,
первичный инструктаж на рабочем месте, имеющие удостоверение по охране труда.
. Выполнять только работу, входящую
в круг обязанностей.
. Работать только в исправной,
аккуратно заправленной спецодежде и спецобуви, предусмотренными инструкциями по
охране труда.
. Пользоваться только исправными
приспособлениями, оснасткой, инструментом, применять их по назначению.
. Не оставлять без присмотра
включенные (работающие) машины и механизмы, оборудование. При уходе даже на
короткое время отключать его от электросети вводным выключателем.
. Не проходить под поднятым грузом.
. Не стирать спецодежду в керосине,
бензине, растворителях, эмульсиях и не мыть в них руки.
. Не прикасаться к токоведущим
частям электрооборудования машин и механизмов, обрабатываемым заготовкам и
деталям при их вращении.
. Не обдувать сжатым воздухом
детали, не пользоваться сжатым воздухом для удаления стружки.
. Пользоваться при работе деревянным
настилом и содержать его в исправном состоянии и чистоте.
. Основные опасные и вредные
производственные факторы:
возможность поражения электротоком;
возможность получения ожогов и
механических повреждений стружкой;
повышенный уровень шума;
возможность падения устанавливаемых
и обрабатываемых деталей, заготовок.
. При работе на станках применение
перчаток или рукавиц не допустимо.
Требования безопасности по окончании
работ.
. Выключить станок, обесточить
электрооборудование.
. Привести в порядок рабочее место.
. Протереть и смазать трущиеся части
станка.
. Убрать разлитые масло и эмульсию,
посыпав загрязненные места песком.
. Уборку стружки, пыли производить
щеткой-сметкой.
. Использованные во время уборки и
при работе тряпки, ветошь вынести за пределы цеха в отведенные для этой цели
места.
. При сдаче смены сообщить мастеру и
сменщику о замеченных недостатках и принятых мерах по их устранению.
. Вымыть лицо и руки теплой водой с
мылом или принять душ.
.2Техника безопасности при работе на
токарно-винторезном станке.
. Перед включением станка необходимо
убедиться, что его пуск не опасен для людей, находящихся у станка.
. В первый период работы станка не
рекомендуется работать на максимальных оборотах шпинделя.
. Обеспечить надежное крепление
детали.
. При обработке детали в центрах
запрещается применять центра с изношенными конусами.
. Запрещается работать на станке со
снятыми или открытыми ограждениями (кожухом и крышкой).
. Запрещается работать на станке без
защитных очков.
. Запрещается прикасаться руками к
вращающимся частям станка, а также к обрабатываемой детали.
. Во избежание захвата одежды
вращающимися частями необходимо аккуратно заправить спецодежду, волосы убрать
под головной убор.
. Запрещается производить уборку,
чистку, смазку, установку и съем детали при работе станка.
. Подступы к электрошкафу и рабочее
место не должны быть загромождены.
. При получении травмы необходимо
поставить в известность мастера участка или начальника цеха.
. Внимание!
Во избежание перегрева мотора не
разрешается производить более 60 включений в час при оборотах шпинделя в минуту
до 250, не более 30 включений в час при оборотах свыше 250 в минуту и не более
6 включений в час при оборотах шпинделя 750 в минуту.
.2 Общие правила техники
безопасности при работе на фрезерных станках содержат следующие основные
положен
Перед началом работы станочник
обязан привести в порядок свою рабочую одежду и рабочее место, затем проверить
исправность станка , приспособлений и инструмента.
Одежда рабочего не должна иметь
незаправленных концов.
На рабочем месте не должно быть
ничего лишнего. Необходимые заготовки, приспособления и инструмент
располагаются так, чтобы их можно было взять легко и быстро. Подножная
деревянная решетка должна быть исправной и соответствовать росту станочника.
Стружка должна систематически удаляться от станка.
При проверке станка необходимо
убедиться в наличии и исправности ограждений, а так же заземляющего провода.
Во время работы станочник не должен
отвлекаться от работы.
Правилами техники безопасности
требуется остановка станка с выключением электродвигателя при всякой отлучке от
станка, при перерывах в подаче электроэнергии; для установки, съема заготовок и
приспособлений; для измерения обрабатываемой детали. Нельзя тормозить станок
нажатием руки на вращающиеся части станка, обрабатываемую деталь, приводной
ремень и т. п.
Для предохранения от ранения
стружкой необходимо пользоваться очками, экранами и другими средствами защиты.
Нельзя класть на направляющие
станин, на столы, крышки коробок скоростей и другие части станка инструмент,
заготовки и другие предметы.
закрепление ограждений, ручную
уборку отходов со станка производить при полной остановке станка.
При появлении стука, вибрации,
изменения характера шума, перегрева режущего инструмента, следует выключать
станок.
Литература
Казаченко
В.П., Савенко А.Н., Терешко Ю.Д. Материаловедение и технология материалов III.
Обработка металлов резанием. Пособие по курсовому проектированию - Гомель:
БелГУТ, 1997 - 47 с.
Дольский
А.Н. и др. Технология конструкционных материалов. - М.: Машиностроение, 1985 -
448 с.
Справочник
технолого-машиностроителя. В 2 т. Т I/ под редакцией Косиловой А.Г. и
Мещераковой Р.М. - М.: 1972 - 649 с. Т II/ под редакцией Малова А.Н. - М.: 1972
- 568 с.
Горбунов
В.И. Обработка металлов резанием. Металлорежущие инструменты и станки. - М.:
Машиностроение.
Тараканов
И.Л., Савенко А.Н. Методички расчета рациональных режимов резания. - Гомель:
БелИИЖТ, 1980.
Пахтин
Ю.М., Леонтьев В.П. Материаловедение. Учебник для высших учебных заведений. 3-е
издание, перераб. и доп. - М.: Машиностроение, 1990 - 528 с.
деталь заготовка припуск механический
Федин
А.П. Материаловедение и технология материалов. - Гомель: БелИИЖТ, 1982 - 83 с.
Егоров
Н.Е. и др. Технология машиностроения. - М.: Машиностроение, 1985 - 184 с.
Тараканов
И.Л., Савенко А.Н. Геометрия токарных резцов. Методические указания к
лабораторным работам по обработке металлов резанием. - Гомель: БелИИЖТ, 1974.