Разработка технологии закладки плодового сада
Кафедра
механизации растениеводства
Курсовая
работа
Разработка
технологии закладки плодового сада
Москва 2014
Содержание
сад яблоня агротехнический машина
Введение
Задание А-6
на выполнение курсовой работы по теме "Разработка технологии закладки
плодового сада"
Технологическая
карта
. Выбор и
подготовка участка
.
Технологические операции по закладке плодового сада
.1
Транспортировка и перегрузка извести
.2 Внесение
извести в почву
.3 Лущение
почвы
2.4 Внесение удобрений
2.4.1 Подготовка
машин для внесения удобрений
.4.2
Параметры дозирующих устройств выбранных машин
.5 Дискование
почвы
.6 Плантажная
вспашка
.6.1 Выбор
плуга и трактора
.7
Поверхностная обработка почвы с выравниванием
.8 Разметка
участка в продольном и поперечном направлениях с определением мест посадочных
ям
.9 Копка ям
.10
Транспортировка саженцев из питомника
.11 Посадка
саженцев
.12
Опрыскивание молодого сада
.13
Транспортировка минеральных удобрений
.14 Обработка
почвы в междурядьях с одновременной подкормкой минеральными удобрениями
Заключение
Библиографический
список
Введение
Современное садоводство стремится к получению с каждого квадратного метра
сада наибольшего количества плодов при наименьших затратах труда. Достигнуть
этого можно методом посадки наиболее рентабельных и продуктивных сортов, а
также применением механизированных технологий возделывания сада с
использованием средств химической защиты растений.
На сегодняшний день наиболее востребованным стал метод интенсивного
садоводства. Требованиям интенсивного садоводства лучше всего отвечают
низкорослые деревья, а именно спуровые сорта с полукарликовым подвоем,
возникшие, как мутация обычных высокорослых сортов. Они быстрее начинают
плодоносить, дают высокие урожаи и не требуют интенсивного ухода.
В данной работе в качестве сельскохозяйственной плодовой культуры
отвечающей требованиям интенсивного садоводства был рассмотрен низкорослый
спуровый сорт яблони "Конфетное" с карликовым подвоем.
Целью данной курсовой работы является изучение механизированной технологии
возделывания плодового яблоневого сада.
Задачи курсовой работы:
Во первых, изучить комплекс агротехнических мероприятий по возделыванию
выбранной культуры;
Во вторых, изучить агротехнические требования различных технологических
операций;
В третьих, научиться подбирать сельскохозяйственные машины и агрегаты в
соответствии с проводимыми операциями, почвенно-климатическими условиями,
размерами участка и степенью его засоренности.
Задание А-6 на выполнение курсовой работы по теме "Разработка
технологии закладки плодового сада"
|
1.
|
Площадь участка, га
|
15
|
|
2.
|
Длина участка, м
|
500
|
|
3.
|
Норма внесения минеральных удобрений, кг/га
|
700
|
|
4.
|
Норма внесения органических удобрений, т/га
|
100
|
|
5.
|
Глубина вспашки, см
|
50
|
|
6.
|
Схема посадки саженцев, м
|
3×2
|
|
7.
|
Норма расхода рабочей жидкости при опрыскивании, л/га
|
850
|
|
8.
|
Норма внесения минеральных удобрений при подкормке, кг/га
|
240
|
Технологическая карта
|
Предшественник
|
Многолетние травы
|
|
Операция
|
Состав машинно-тракторного агрегата (МТА) или марка
стационарного оборудования
|
|
Энергосредство
|
Сцепка
|
|
|
|
марка
|
количество
|
|
Транспортировка и перегрузка извести
|
КАМАЗ
|
|
РУП-8
|
|
|
Внесение извести
|
Т-150К
|
|
РУП-8
|
|
|
Лущение почвы
|
МТЗ-80
|
|
ПЛН-5-25
|
|
|
Погрузка минеральных удобрений
|
МТЗ-80
|
|
ПФ-0,75
|
|
|
Транспортировка и внесение минеральных удобрений
|
МТЗ-80
|
|
МВУ-6
|
|
|
Подготовка площадки для штабелевания органических удобрений
на краю участка
|
Т-150
|
|
ПФП-2
|
|
|
Погрузка органических удобрений из навозохранилища
|
Т-150
|
|
ПФП-2
|
|
|
Транспортировка органических удобрений и выгрузка их на
площадке
|
ГАЗ-САЗ
|
|
|
|
|
Штабелевание органических удобрений
|
Т-150
|
|
ПФП-2
|
|
|
Погрузка органических удобрений из штабеля
|
Т-150
|
|
ПФП-2
|
|
|
Транспортировка и разбрасывание органических удобрений по
полю
|
МТЗ-80
|
|
РОУ-6
|
|
|
Дискование почвы
|
Т-150
|
|
БДТ-3
|
|
|
Плантажная вспашка
|
Т-130
|
|
ППУ-50А
|
|
|
Поверхностная обработка почвы с выравниванием
|
МТЗ-80
|
|
РВК-3,6
|
|
|
Разметка участка в продольном и поперечном направлениях с
определением мест посадочных ям
|
МТЗ-80
|
|
КРН-4,2
|
|
|
Копка ям
|
МТЗ-80
|
|
КЯУ-100А
|
|
|
Транспортировка саженцев из питомника
|
ГАЗ-66
|
|
|
|
|
Посадка саженцев
|
ВРУЧНУЮ
|
|
Транспортировка воды
|
МТЗ-80
|
|
МЖТ-6
|
|
|
Приготовление рабочей жидкости
|
МТЗ-80
|
|
ОПВ-2000
|
|
|
Опрыскивание молодого сада
|
МТЗ-80
|
|
ОПВ-2000
|
|
|
Транспортировка минеральных удобрений
|
ГАЗ-САЗ
|
|
|
|
|
Обработка почвы в междурядьях с одновременной подкормкой
минеральными удобрениями
|
МТЗ-80
|
|
КОН-2,8
|
|
1. Выбор и
подготовка участка
Так как в данном задании не уточняется какую именно культуру необходимо
рассматривать, то исходя из данных задания А-6 на выполнение курсовой работы, в
качестве сельскохозяйственной плодовой культуры отвечающей требованиям
интенсивного садоводства был рассмотрен низкорослый спуровый сорт яблони
"Конфетное" с карликовым подвоем.
Отношение к теплу:
Температура наружного и почвенного воздуха является одним из ведущих
факторов, от которого зависит рост и развитие надземной и корневой систем, а
следовательно, и плодоношение яблони. На рост яблони преимущественное влияние
оказывает температура весной, особенно в утренние часы, а на ассимиляцию -
погода в середине лета и осени. На ассимиляцию благоприятно действует умеренная
дневная температура, а высокая дневная или ночная ухудшает ассимиляцию. Плоды
созревают лучше при повышенной температуре в конце лета и осенью. Древесина
вызревает лучше, если температура поздно осенью и в начале зимы значительно
снижается, но не переходит за экологически нулевую точку.
Отношение к свету:
Яблоня относится к светолюбивым породам. При недостатке света как для
всего дерева в целом, так и внутри кроны рост побегов и плодоношение ухудшаются.
Яблоня хорошо растет и плодоносит только при достаточном освещении.
Отношение к влаге:
Яблоня является влаголюбивой породой. Количество влаги в почве оказывает
существенное влияние на количество и качество урожая. Недостаток влаги в почве,
приводит к потере массы плодов и ухудшению их структуры, а избыток влаги может
привести к заболачиванию почвы, так, как нарушится почвенная аэрация, что
приведет гибели дерева. Однако плодовые деревья могут хорошо переносить
затопление паводками при условии непрерывного движения воды.
Требования к почве:
Яблоня предпочитает плодородные, глубокие, хорошо аэрированные и
дренированные почвы с суглинистым и глинистым механическим составом.
Благоприятные типы почв: чернозёмы выщелоченные, подзолистые, типичные, серые и
тёмно серые лесные. Основными почвенными показателями являются: мощность
корнеобитаемого слоя, где расположены 90-95% от всех корней, это примерно
1,6-2,0 м; мощность гумуссированного слоя не менее 60-70 см; плотность
почвенного слоя - 1,3-1,4 г/смз; содержание гумуса более 2,5%; содержание
карбонатов в почве - до 2-4%; реакция почвенного раствора с рН в пределах
6,5-7,5; растворимые соли (плотный остаток) - 0,10%; уровень грунтовых вод -
1,5 м от поверхности почвы.
Требования к питанию:
Чтобы получать ежегодные стабильные урожаи плодов, деревья яблони
необходимо удобрять. Под них вносят органические, минеральные удобрения и
микроэлементы. Из органических удобрений чаще всего применяют навоз, перегной,
торфофекалий, торфонавозный компост, птичий помет. Основными видами минеральных
удобрений являются азотные, фосфорные и калийные. Наиболее распространенными
азотными туками, используемые для удобрения яблони, являются сульфат аммония,
аммиачная селитра и мочевина. Из фосфорных минеральных удобрений следует, прежде
всего, назвать суперфосфат простой, суперфосфат двойной, суперфосфат
гранулированный, а также фосфоритную муку и преципитат. Из калийных удобрений
широкое применение в садоводстве получили хлористый калий, сернокислый калий и
калийные соли. В современном садоводстве хорошие результаты дает и применение
сложных удобрений в гранулах, выпуск которых в настоящее время значительно
увеличился. К таким удобрениям относятся:
Нитрофос - азотно-фосфорное удобрение, содержащее 24% азота и 14%
усвояемого фосфора.
Аммофос - азотно-фосфорное удобрение. Содержит 49% усвояемого фосфора и
11,5% азота.
Нитрофоска - азотно-фосфорно-калийное удобрение, содержащее до 11 %
питательных веществ каждого элемента, входящего в состав тука. Из
микроэлементов в практическом садоводстве чаще всего приходится сталкиваться с
недостатком в почве солей железа, цинка, меди, бора и реже - магния и марганца.
Использование
удобрений при выращивании яблони имеет свои особенности. Установлено, что в
первые годы жизни плодовому дереву в большей мере необходимо фосфорное питание
<#"866347.files/image001.jpg">
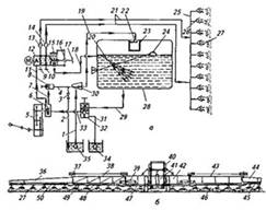
РУП-8 состоит из трактора-тягача с седельно-цепным устройством и
компрессорной установки, включающей в себя компрессор, влагомаслотделитель и
три фильтра разных ступеней для очистки запыленного воздуха.
Фильтр первой ступени установлен внутри цистерны, второй - спереди
цистерны над седельным устройством, третьей - на корпусе компрессора.
Компрессорная установка расположена на тракторе и приводится в действие от его
ВОМ. При запуске компрессор работает в режиме вакуума, а при разгрузке - в
режиме нагнетания.
Цистерна - цилиндрической формы, наклонена назад на угол 8-10o.
На ней имеется загрузочный люк, герметично закрываемый крышкой. Рядом с люком
установлен аварийный кран для быстрого выпуска воздуха. На заднем днище
цистерны расположены загрузочное и запорно-распыливающее устройства.
Распыливающее устройство представляет собой гибкий рукав с наконечником,
поворачивающийся с помощью гидроцилиндра в горизонтальной плоскости. Подачу
удобрений в наконечник перекрывают краном, который приводится также
гидроцилиндром. Оба цилиндра питаются от гидросистемы трактора. Внутри цистерны
установлены сигнализатор уровня удобрений и аэроднище, через которое подается
сжатый воздух в цистерну, струи которого разрыхляют известь и придают ей
текучесть.
Удобрение засасывается в цистерну через загрузочное устройство и рукав за
счет разряжения создаваемого компрессором. Для разгрузки разбрасывателя воздух
от компрессора подается в цистерну через воздухораспределительный коллектор,
состоящий из крана, предохранительного и перепускного клапанов, создавая там
давление до 0,1 МПа. При отцепке от трактора, цистерну устанавливают на опорное
устройство.
Регулировки РУП-8:
Для лучшего распределения извести и устранения забивания, к наконечнику
через перепускной клапан и воздуховод подводят дополнительный поток воздуха.
Давление цистерне при разгрузке должно быть не ниже 0,1 МПа, его можно
контролировать по манометру.
Норму внесения извести регулируют дозирующей заслонкой, установленной в
выходном канале распыливающего наконечника.
Агротехнические требования к известкованию следующие:
Точно определенное рН почвы, так, как это существенно влияет на вносимые
норы извести (оптимальный для большинства растений рН=5,7);
Известковать почвы следует за 1-2 года до закладки сада;
Чтобы избежать потерь азота, известь нельзя вносить одновременно с
аммиачными формами азотных удобрений, а также с фосфорными удобрениями,
поскольку фосфор под воздействием извести переходит в трудно растворимую форму;
Повторное известкование проводят через 8-12 лет.
.3 Лущение
почвы
Лущение почвы проводят осенью, после уборки предшественника с целью
провоцирования сорных растений к прорастанию, рыхления почвы на небольшую
глубину, заделки пожнивных остатков, уничтожения вредителей и возбудителей
болезней на различных стадиях их развития, уменьшения испарения почвенной
влаги. Лущение позволяет снизить затраты энергии на вспашку.
Так как дернину, образованную многолетними травами, дисковым лущильником
обработать невозможно, мы используем лемешной лущильник ППЛ-5-25.
Лемешные лущильники, они же плуги-лущильники, представляют собой
уменьшенную копию отвального полунавесного плуга без предплужника. Они хорошо
подрезают и оборачивают верхний слой почвы на глубину до 18 см.
Они отличаются от обыкновенных плугов малым размером корпусов - ширина
захвата 25 см, отсутствием ножей и предплужников. В отличие от лемешных,
дисковые лущильники хуже оборачивают почву и подрезают сорняки, но лучше
разрезают их горизонтально расположенные корневища и отпрыски корней.
Лущение производится не позднее чем через 2-3 дня после уборки урожая и
за 12-14 дней до плантажной вспашки.
При засоренности корнеотпрысковыми или корневищными сорняками стерню
лущат на глубину 8-14 см лемешными лущильниками. Сорные растения должны быть
подрезаны полностью.
Основные узлы: рама, опорное колесо с механизмом регулировки глубины
обработки, корпуса, замок автосцепки СА-1 и приспособление для присоединения
борон.
Рама плоская, треугольная, сварная. К основной балке приварены кронштейны
крепления корпусов, к передней - кронштейны крепления замка автосцепки и
приспособления для присоединения борон.
Регулировки ППЛ-5-25:
Глубину обработки почвы регулируют винтовым механизмом, перемещая опорное
колесо по высоте.
Поднимают и опускают лущильник при помощи гидравлической системы
трактора. Плуг-лущильник комплектуют корпусами для работы на скоростях 9 и 12
км/ч.
Агротехнические требования к лущению следующие:
Средняя глубина лущения почвы не должна отличаться от заданной на ±1 см;
поверхность почвы должна быть ровной;
Гребнистость должна быть не более 2 см;
Огрехи не допускаются;
Заделка пожнивных остатков не менее 50%;
Гребни должны быть прямолинейны.
Обоснование выбора сельскохозяйственной машины и трактора:
Так, как размер заданного поля 15 га и длина гона 500 м, то для данной
технологической операции используется ППЛ-5-25. Агрегатируется данный
плуг-лущильник с тракторами класса 1,4, в нашем случае МТЗ-80.
.4 Внесение
удобрений
.4.1
Подготовка машин для внесения удобрений
В комплексе мероприятий, направленных на повышение плодородия почвы,
удобрениям отводится значительная роль. С каждым урожаем растения выносят из
почвы значительное количество элементов питания, эту потерю возмещают путем
внесения удобрений.
Агротехнические требования к органическим удобрениям:
Применение свежего навоза и наличие в органических удобрениях посторонних
предметов не допускается. Машины должны обеспечивать внесение органических
удобрений и их смесей в пределах 5-60 т/га. Неравномерность распределения
органических удобрений по ширине - не выше ±25%, по длине рабочего хода - не
выше ± 15%. Отклонение фактической дозы от заданной допускается не более +5%.
Время между внесением и заделкой удобрений не более 2 часов.
Агротехнические требования к минеральным удобрениям:
Влажность подготовленных к внесению удобрений не должна превышать:
суперфосфата порошковидного - 15%, суперфосфата гранулированного - 5%,
аммиачной селитры - 1,5%, калийной соли - 2%. Слежавшиеся удобрения перед
внесением необходимо измельчить и просеять. Размер частиц должен быть не более
5 мм, содержание частиц размером менее 1 мм допускается не более 6%. В процессе
растаривания потери удобрений с бумажной мешкотарой не должны превышать 1%, а с
полиэтиленовой - 0,5%. Содержание лоскутов мешкотары в измельченных удобрениях
не должно превышать 3% массы бумажных и 0,7% массы полиэтиленовых мешков. При
смешивании допускается разрушение их до 1 мм не более 5%, среднее отклонение от
требуемого соотношения компонентов не более 10%.
Во время внесения допускается отклонение средней фактической дозы
удобрений от заданной +10%. Неравномерность распределения удобрений туковыми
сеялками +5%, разбрасывателями - +25%. Перекрытие смежных проходов не более 6%
от ширины захвата агрегата. Необработанные полосы не допускаются. Время между
внесением и заделкой удобрений не более 12 часов.
При подкормке удобрения должны быть заделаны в почву на 2-3 см глубже и
на 3-4 см в стороне от рядка семян. Допустимое отклонение фактической дозы
внесения удобрений комбинированными сеялками от заданной должно быть не более
+10%.
Технологическая схема внесения органических удобрений:
Перевалочная схема внесения удобрений осуществляется с разрывом во
времени и включает в себя дополнительные операции.
I -
органическое удобрение, 1 - погрузчик, 2 - трактор.
Для органических удобрений перед внесением требуется:
Во первых, подготовить площадку для штабелевания органических удобрений
на краю участка, погрузить органические удобрения из навозохранилища данные
операции осуществляются с помощью погрузчика ПФП-2 агрегатируемого с трактором
Т-150.
Во вторых, транспортировать органические удобрения и выгрузить их на
площадке с помощью самосвального транспорта, например марки ГАЗ-САЗ.
В третьих, произвести штабелевание органических удобрений и их погрузку
из штабеля тем же погрузчиком ПФП-2 в РОУ-6 агрегатируемый МТЗ-80. Данная
машина транспортирует удобрения к полю, где распределяет их без перегрузки.
Технологическая схема внесения минеральных удобрений:
Прямоточная схема внесения удобрений осуществляется в неразрывном потоке
и включает операции погрузки, транспортировки, внесения, заделки удобрений и
операции контроля качества распределения по площади и заделки удобрений.
I -
минеральное удобрение, 1 - погрузчик, 2 - трактор.
Для внесения минеральных удобрений требуется :
Погрузчик ПФ-0,75, который загружает минеральные удобрения в машину
МВУ-6. Данная машина транспортирует удобрения к полю, где распределяет их без
перегрузки.
.4.2
Параметры дозирующих устройств выбранных машин
Внесение органических удобрений:
Для внесения твердых органических удобрений по перевалочной схеме мы
можем использовать погрузчик-экскаватор ПФП-2 и разбрасыватель органических
удобрений РОУ-6.
Разбрасыватель РОУ-6 агрегатируется с трактором МТЗ-80. РОУ-6 состоит из
рамы с кузовом и прицепом, установленной на четырех колесах. На дне кузова
расположен цепочно-скребковый транспортер. Разбрасывающее устройство -
измельчающий и разбрасывающий барабаны, установленные в задней части кузова. На
измельчающем барабане закреплена шнековая лента с прерывистым зубчатым
профилем, на разбрасывающем - сплошная лента. Транспортер и барабаны приводятся
в действие от ВОМ трактора. Транспортер состоит из четырех сварных цепей,
объединенных попарно и имеющих скребки. Транспортер приводится в движение
кривошипно-шатунными и храповым механизмами. Количество разбрасываемого
удобрения регулируют изменением скорости движения транспортера, изменяя
эксцентриситет пальца кривошипного механизма привода. Значение эксцентриситета
определяют по показаниям шкалы, помещенной на корпусе.
Положение диска кривошипа и скорость движения агрегата для заданной нормы
выбирают по таблицам, составленным для органических удобрений объемной массой
0,8 т/м3. В моем случае норма внесения органических удобрений - 100
т/га, то есть ставим деление кривошипа - 8, передача трактора II повышенная.
Полевая проверка.
Площадь S, м2 участка обработанного за один круг:
= 2*500*6=6000 м2
Контрольная навеска,
N=(100000*6000)/104
= 60000 кг = 60 т
Проводим проверку методом контрольной навески, рассчитав контрольный путь
l, м, который пройдет агрегат для
внесения известного количества удобрения N, кг, загруженного в кузов машины
Если по завершении контрольного пути в кузове останется удобрение,
следует уменьшить скорость движения МТА. Если удобрение закончится до
завершения контрольного пути, скорость движения МТА следует увеличить.
С полностью загруженным кузовом агрегат пройдет путь:
где
- масса удобрения, загруженного в кузов, т; Q - норма внесения удобрения, т/га; В
- рабочая ширина захвата машины, м.
Внесение минеральных удобрений:
Для внесения минеральных удобрений по прямоточной схеме мы можем
использовать погрузчик ПФ-0,75 и машину для внесения минеральных удобрений
МВУ-6 агрегатируемые с МТЗ-80.
МВУ-6 агрегатируется с трактором МТЗ-80. Конвейер надет цепями на
звездочки ведущего и ролики ведомого валов и приводится в движение от ходового
колеса цепным приводом. Дозу внесения регулируют положением заслонки. Для этого
вращением штурвала совмещают край заслонки с соответствующим номером деления
шкалы. При норме внесения 700 кг/га, номер деления для аммиачной селитры для -
17, суперфосфата шкалы - 16, для нитроаммофоски - 14, для хлористого калия -
11.
Полевая проверка:
L=500
м, B=20 м, Q=700 кг/га.
Площадь участка, обработанного за один круг равна:
S=2 *
500 * 20= 20000 м2.
Контрольная навеска:
Если по завершении круга в бункере останется удобрение, следует увеличить
размер отверстия, изменив положение заслонки. Если удобрение закончится до
завершения круга, следует уменьшить размер отверстия.
С полностью загруженным бункером агрегат пройдет полных кругов:
где
- масса удобрения, загруженного в бункер, кг; Q - норма внесения удобрения, кг/га; В
- рабочая ширина захвата машины, м; L - длина гона.
Равномерность распределения удобрений по ширине рассева зависит от
наклона лотков и их расположения на дисках зоны, в которую поступают удобрения.
Регулировать направление рассева и равномерность распределения удобрений можно
перестановкой лотков в отверстиях А, Б, В. Если лотки закреплены в отверстии А,
то увеличивается концентрация удобрений в середине полосы рассева, если в
отверстии В - по ее краям.
2.5
Дискование почвы
Тяжелые бороны предназначены для разделки задернелых пластов после
вспашки целинных и залежных земель, дискования заболоченных почв, обработки
лугов и пастбищ, заделки удобрений и пожнивных остатков. Глубина обработки
почвы тяжелыми дисковыми боронами - до 20 см.
Основная цель дискования почвы после внесения органических удобрений - их
заделка. Так как длина гона 500 м, а площадь поля 15 га, то мы используем
дисковую борону БДТ-3, агрегатируемую с трактором Т-150.
Агротехнические требования:
Направление очередной обработки почвы выбирают поперек предыдущей или под
некоторым углом к ней;
Глубина обработки почвы должна быть равномерной и соответствовать
заданной. Допустимое отклонение +1 см.
Огрехи недопустимы;
Перекрытие смежных проходов 10-15 см.
.6 Плантажная
вспашка
Это - глубокая обработка, вспашка почвы специальными плантажными плугами
под питомники, виноградники, сады, ягодники и лесопосадки. Слой почвы разрыхляют
на большую глубину от 40 до 80 см, что создаёт благоприятные условия для
развития корней. Плантаж обычно сопровождается внесением большого количества
органических и минеральных удобрений.
Так, как глубина вспашки 50 см, для данной технологической операции мы
используем плуг плантажный усиленный ППУ-50А (модель А) прицепной предназначен
для пахоты тяжелых почв под виноградники, сады и другие многолетние насаждения
агрегатируемый с трактором Т-130.
Данный плуг состоит из:
Плоской рамы с прицепным устройством, опирающейся на бороздное, полевое и
заднее колеса;
Плужного корпуса с отвально-лемешной поверхностью культурного типа;
Предплужника с отвалом культурного типа;
Механизма полевого и бороздного колес и механизма заднего колеса,
устройство которого дает возможность заднего хода трактора.
Регулировки ППУ-50А:
В транспортное положение плуг переводят двумя гидравлическими цилиндрами
или шестеренчатым автоматом.
Агротехнические требования:
Вспашку проводят в агротехнические сроки при достижении физической
спелости почвы;
Глубина обработки почвы определяется требованиями возделываемой культуры,
строением и толщиной пахотного слоя и другими факторами;
Коэффициент выравненности должен быть не менее 95%;
Отклонение среднего арифметического значения фактической глубины вспашки
от заданной не должно превышать +5% на неровных участках и +10% на ровных;
Отклонение фактической ширины захвата плуга от конструктивной допускается
+10%;
Ширина и толщина пластов должны быть одинаковыми, растительные остатки,
сорные растения и удобрения полностью, не менее 95%, заделаны;
Гребни пластов должны иметь одинаковую высоту не более 5 см. Не
допускаются высокие свальные гребни, глубокие развальные борозды между
отдельными проходами и огрехи;
Глыбистость, комки более 10 см допускается не более 15% от площади пашни;
Скорость вспашки должна соответствовать скорости, установленной для
используемых корпусов: 1,4-2,2 м/с для обычных и 2,2-3,3 м/с для скоростных;
.6.1 Выбор
плуга и трактора
Так как длина гона 500 м, а площадь поля 15 га, мы используем плуг
ППУ-50А. Он агрегатируется с трактором Т-130.
Среднее удельное сопротивление плуга примем равным 1,60 кгс/
. В различных условиях с одним и тем
же трактором на участках почвы различного механического состава агрегатируются
плуги с различным количеством корпусов.
, примем 
=1,60*(50*50)*1 = 4000 кгс
Рациональность загрузки трактора при выполнении тяговых работ можно
оценить, рассчитав коэффициент использования тягового усилия трактора
:
Максимальный рекомендуемый коэффициент использования тягового усилия
трактора
Т-130 равен.
Подготовка механизма навески трактора:
Для трактора Т-130 будем использовать двухточечную схему настройки
механизма навески трактора. Данную схему применяют при работе с плугами общего
назначения. Длина левого раскоса должна быть постоянна и составлять 515 мм.
Правым раскосом регулируют положение рамы плуга в горизонтальной плоскости.
Вилки раскосов соединяют с продольными тягами через круглые отверстия. Это
обеспечивает свободное перемещение плуга относительно трактора в продольной
плоскости и жестко зафиксирует его в поперечной плоскости.
Технические требования к рабочим органам плуга:
Основные рабочие органы плуга - корпус, предплужник и нож. Корпус
отрезает пласт почвы, оборачивает и рыхлит его. Предплужник отрезает часть
задернелого пласта и сбрасывает его на дно борозды. Нож отрезает пласт в
вертикальной плоскости.
Лезвия лемехов должны быть наплавлены твёрдым сплавом и иметь толщину
режущей кромки не более 1 мм, при угле заточки 25-40°, а ширина фаски заточки с
верхней стороны - 4 мм. Формы и размеры лемехов должны соответствовать размерам
нового лемеха. Отклонения допускаются по длине лезвия - до 15 мм, по длине
спинки - до 10 мм, по ширине - 5 мм.
Все головки болтов на корпусах, предплужниках и полевых досках не должны
выступать над поверхностью. Утопание головок допускается до 1 мм.
Зазор в стыке лемеха с отвалом должен быть не более 1мм. Выступание
лемеха над отвалом не должно превышать 2 мм.
С полевой стороны лемех и отвал должны находиться на одной линии.
Выступание лемеха за отвал допускается не более 5 мм. Со стороны борозды
допускается выступание кромки лемеха относительно кромки отвала в месте стыка
до 10 мм.
Стойка корпуса не должна выступать в сторону поля за полевой обрез отвала
и лемеха. Зазор между лемехом и стойкой допускается не более 3 мм, а между
отвалом и стойкой - 6 мм.
Полевые доски должны быть ровными. Задний конец должен находиться в одной
плоскости с полевым обрезом лемеха. Отклонение в сторону поля допускается не
более 5 мм.
Лезвие лемеха должно быть параллельно поверхности установочной площадки,
и возвышение заднего конца допускается не более 10 мм.
Дисковый нож устанавливают против или несколько вперёд носка лезвия
заднего предплужника. Режущая кромка ножа во всех случаях на 20-30 мм ниже
носка лемеха предплужника, а его плоскость - параллельна ходу плуга и отстоит
от полевого обреза предплужника в сторону поля на 10-20 мм. Диск ножа должен
свободно вращаться на оси и перемещаться вдоль него не более чем на 2 мм.
Толщина лезвия диска не более 0,4 мм, а радиальное биение - не более 3 мм.
В транспортном положении плуга просвет между опорной поверхностью и
лезвием лемехов основных корпусов не менее 160 мм.
Схема установки рабочих органов плуга: см. приложение.
Установка рабочих органов и навесок плуга и трактора:
Плуг подготавливают к работе сначала на ровной площадке с твердым
покрытием, а затем в поле. Установка рабочих органов на плуге сводится к
расстановке предплужников и дискового ножа.
Стойки 1 предплужников закрепляют на раме 2 плуга так, чтобы пласты почвы
с корпусов 3 свободно проходили в промежутки между предплужниками и корпусами.
Расстояние между носками лемехов предплужника 4 и лемехов корпусов 5 по
ходу должно быть 25-30 см при ширине захвата корпуса 35 см и 35-40 см у плугов
с шириной захвата корпуса 40 см.
Дисковый нож 6 устанавливают впереди предплужника так, чтобы его
плоскость была вынесена в поле от полевого обреза корпуса на 1-3 см, а от
полевого обреза предплужника - на 1 см. Центр диска располагают над носком
лемеха предплужника, или на 3-5 см впереди него, а нижнюю точку лезвия - на 2-3
см ниже его носка.
Схема положения правого колеса трактора и полевого обреза первого корпуса
плуга относительно стенки борозды от предыдущего прохода последнего корпуса
плуга: см. приложение.
Механизм навески трактора Т-130 настраивается по двухточечной схеме.
Верхнюю центральную тягу навесной системы трактора с плугом не соединяем, т.к.
почва имеет среднюю плотность.
Глубину вспашки передними корпусами регулируют винтовым механизмом
переднего колеса, которое устанавливают против второго корпуса с внутренней
стороны рамы. Если при подъеме переднего колеса задние корпуса не заглубляются,
нужно переставить пальцы в средние или верхние отверстия понизителей. Глубину
хода задних корпусов регулируют болтом 29 механизма заднего колеса. Головка
болта должна касаться упора. Для увеличения глубины болт завертывают, но если
при этом корпуса заглубляются не на полную глубину, то есть между головкой
болта и упором появляется зазор, то увеличивают длину догружателя штока.
Перекос рамы в продольной плоскости устраняют болтом 29, а в поперечной -
вращением стяжки раскосов механизма навески трактора. При правильной настройке
все корпуса должны заглубляться на одинаковую глубину.
Пальцы в кронштейнах навески плуга устанавливают в зависимости от
плотности почвы: на тяжелых - в верхние, на легких - в нижние.
.7
Поверхностная обработка почвы с выравниванием
Для данной операции подходит комбинированный агрегат РВК-3,6
агрегатируемый с МТЗ-80, предназначен для предпосевной обработки почвы.
За один проход агрегат культивирует почву на глубину 15 см, разрушает
глыбы и комки, выравнивает и прикатывает ее.
Ширина захвата агрегата соответственно 3,6 м.
На раме последовательно расположены:
Ряд рыхлительных лап на пружинных стойках;
Передний разреженный кольчато-шпоровый каток, диски которого уплотняют
почву в промежутках между лапами;
Второй ряд рыхлительных лап, установленных вслед за дисками катка;
Выравнивающий брус и секции заднего кольчато-шпорового катка.
Регулировки РВК-3,6: Заглубление рабочих органов регулируют, поворачивая
ось с закрепленными лапами. Выравнивающий брус 12 можно перемещать по высоте, а
давление его на почву регулировать натяжными пружинами.
2.8 Разметка
участка в продольном и поперечном направлениях с определением мест посадочных
ям
Для данной операции подходит культиватор растениепитатель навесной
КРН-4,2 агрегатируемый с МТЗ-80.
КРН-4,2 собирают в варианте с арычниками или бороздоделателями,
устанавливая их на раме на таком же расстоянии, как между кустами в ряду. Вылет
маркера устанавливают исходя из ширины междурядий будущего виноградника.
Разметив весь участок в одном направлении, делают перпендикулярные проходы.
Расстояния между бороздоделателями должны быть равны ширине междурядий.
Нанесенная таким образом сетка определяет места посадки.
Для механизированной внутриквартальной разметки лучше всего использовать
навесной культиватор КРН-4,2, оснащенный корпусами окучника. Предварительно на
внешних линиях квартала с помощью мерной ленты визированием устанавливают
колья, означающие расстояния между рядами, как правило, поперечные стороны
квартал, а и между растениями в ряду. Сначала маркируют поперечную, а затем
продольную стороны. Поперечная, она же короткая маркерная линия, должна быть
равна расстоянию между растениями в рядах, продольная, длинная линия -
расстоянию между рядами. Места пересечения поперечных и долевых линий являются
центрами посадочных ям.
2.9 Копка ям
Для данной операции подходит навесной ямокопатель КЯУ-100А агрегатируемый
с МТЗ-80.
КЯУ-100А предназначен для механизированного выкапывания ям под посадку
саженцев плодовых, ягодных и лесных культур.
Основные узлы: рама; шарнирная передача; редуктор; регулятор и сменные
буры.
На сварной раме крепятся навеска и телескопический ограничитель глубины,
позволяющий устанавливать величину заглубления бура.
Редуктор шарнирно присоединяется к продольным брусьям рамы.
Рабочие органы ямокопателя: сменные шнековые буры, состоящие из
вертикальной трубы с приваренными по ее длине шнековой поверхностью и в верхней
части - фланцем для крепления к вертикальному валу редуктора, пера для
центрирования и лучшего заглубления и лемехов, изготовленных из износостойкой
стали с рабочей поверхностью, наплавленной твердым сплавом. При работе машины
разброс почвы вокруг ямы минимальный, для того, чтобы сократить время для
последующей засыпки ямы при посадке деревьев. Комплект сменных буров позволяет
выкапывать ямы различного диаметра под посадку деревьев разных пород. Привод
ямокопателя от ВОМ трактора.
Агротехнические требования к копке ям следующие:
При весенней посадке ямы копают еще осенью, при осенней - за 2-3 недели
до посадки, чтобы почва в ямах успела осесть.
Их обычно делают круглыми с отвесными стенками, а размеры выбирают в
зависимости от высаживаемой культуры, типа почвы и глубины залегания грунтовых
вод.
2.10 Транспортировка саженцев из питомника
Данная операция проводится с помощью грузового автотранспорта, например
марки ГАЗ-66.
Саженцы ставят в ящики и загружают в данный автомобиль грузоподъёмностью
2 тонны, предназначенный для движения в сложных дорожных условиях и по
бездорожью. Высокая проходимость обусловлена использованием самоблокирующихся
дифференциалов переднего и заднего мостов, большим дорожным просветом и
регулируемым давлением в шинах, для подкачки шин установлен компрессор с
приводом от двигателя.
Важная особенность этого автомобиля - сбалансированное расположение
центра тяжести, практически равная нагрузка на переднюю и заднюю ось и
компактность за счёт кабины над двигателем, благодаря чему автомобиль широко
использовался в десантных войсках, так как приземляется сразу на все колёса и
спускается без завала кабины. Данная особенность автомобиля.
.11 Посадка
саженцев
Данная операция проводится вручную так, как механизированный способ посадки
травмирует корни и побеги молодых деревцев.
При механизированной копке ям верхний слой извлеченной почвы
отбрасывается в сторону, а нижний, менее плодородный, разбрасывается в
междурядья. При посаде на дно ямы сбрасывают верхний слой почвы, туда же вносят
удобрения, и все тщательно перемешивают. Заполнив почвенно-удобрительной смесью
подготовленные ямы, в их дно, приблизительно посередине, вбивают очищенные от
коры колья длиной 130-140 см и по ним еще раз проверяют прямолинейность рядов.
Колья, которые впоследствии будут придерживать деревца, забивают с таким
расчетом, чтобы после посадки они были несколько ниже ветви саженца. Вокруг
кола насыпают до уровня поверхности участка холмик из заправленного удобрениями
верхнего слоя почвы, а если ее мало, добавляют из междурядья.
Сажать яблоню начинают с того, что ставят саженец на насыпанный ранее
холмик вплотную к вбитому колу так, чтобы шейка корня саженца была на 6-8
сантиметров выше уровня поверхности почвы. Когда холмик почвенной смеси осядет,
то корневая шейка окажется как раз вровень с поверхностью почвы. Корни саженца
расправляют по холмику и постепенно засыпают их хорошей почвой. После того, как
корневая система саженца засыпана, в яму выливают 5 или 6 ведер воды и
мульчируют лунку компостом или перегноем. Между штамбом саженца и колом
прокладывают мягкий материал и мягким шпагатом, способом "восьмерка"
несильно привязывают саженец к колу. Когда земля осядет, подвязку саженца
делают потуже.
.12
Опрыскивание молодого сада
Через 10-15 дней после посадки саженцев проводится опрыскивание их
раствором стимулятора роста "Корневин" или средством зашиты растений.
Агротехнические требования, предъявляемые к опрыскиванию:
Рабочая жидкость должна быть однородной по составу, отклонение ее
концентрации от расчетной не должно превышать ±5%;
При опрыскивании и опыливании машины должны равномерно распределять
заданную норму пестицидов по площади поля. Допускается неравномерность
распределения рабочих жидкостей по ширине захвата до 30%, а по длине гона до
25%;
Допустимое отклонение фактической дозы от при опрыскивании +15 и -20%;
Опрыскивать посевы можно при скорости ветра не более 5 м/с.
Приготовление рабочей жидкости осуществляем в резервуаре ОПВ-2000,
опрыскивание производится из этого же агрегата.
Прицепной вентиляторный опрыскиватель ОПВ-2000 предназначен для мало- и
полнообъемного опрыскивания садов, виноградников, хмельников и лесных полос.
Опрыскиватель состоит из резервуара, трехпоршневого насоса 18, пульта
управления 2, жидкоструйного эжектора 21, всасывающей и напорной коммуникаций,
фильтров 16 и 17, вентиляторного распыливающего устройства и механизма привода,
смонтированных на одноосном полуприцепе. Резервуар вместимостью 2000 л снабжен
указателем уровня с поплавком 9, заливной горловиной 7, закрытой крышкой с
клапаном, и гидромешалкой. Пульт управления имеет редукционный 3 и отсечной 24
клапаны. Перемещение отсечного клапана осуществляет гидроцилиндр 23, включенный
в гидросистему трактора. Давление в напорной магистрали зависит от степени
сжатия пружины редукционного клапана, которую регулируют с помощью рукоятки 4.
Вентиляторное распыливающее устройство снабжено осевым вентилятором 12,
цилиндрическим кожухом, кольцевым распределительным каналом, по наружной кромке
которого установлено два коллектора 10 с вихревыми или двусторонними
центробежными распылителями 11. Коллекторы подключены к напорной магистрали 15.
В кольцевом канале установлены направляющие лопатки, при повороте которых
изменяется конфигурация струи воздушного потока.
Насос и вентилятор приводятся в действие от ВОМ трактора через карданную
передачу и двухступенчатый редуктор. Переключая передачи редуктора, изменяют
частоту вращения лопастного колеса вентилятора (2200 или 2500 мин-1)
Опрыскиватель может выполнять следующие операции: само-шправку резервуара
водой; гидравлическое перемешивание содержимого в резервуаре; настройку на
рабочий режим без разлива жидкости; опрыскивание; после окончания работы
промывку систем собственным насосом.
Заправка резервуара рабочей жидкостью заданной концентрации может
осуществляться подвозными заправочными агрегатами через горловину 7. Для
самозаправки в резервуар заливают два-три ведра воды, эжектор 21 опускают в
водоем или ем кость подвозчика воды, закрывают кран 19 и открывают кран 20,
устанавливают максимальное давление, включают насос и перемещают клапан 24
влево. Вода от насоса поступает по рукаву 22 в эжектор и обеспечивает его
непрерывную работу в режиме струйного насоса, вода по рукаву 25 подается в
резервуар.
Гидравлическое перемешивание. Закрывают краны 19 и 20, смещают
гидроцилиндром 23 влево клапан 24 и включают насос. Из резервуара жидкость
поступает в насос и сливается обратно в резервуар через клапан 6 и
гидромешалку.
Рабочий процесс. Открывают кран 19 и закрывают кран 20, включают насос,
перемещают клапан 24 в крайнее левое положение и начинают движение по
обрабатываемому полю Жидкость из резервуара, пройдя очистку в фильтрах 16 и 17,
поступает в насос, а из него под давлением в корпус пульта управления 2.
Избыточная часть жидкости через клапан 6 и гидромешалку возвращается в
резервуар и перемешивает его содержимое. И пульта управления по напорной
магистрали 15 жидкость поступает к клапанам 13, отжимает их и проходит в
коллекторы 10. Проходя через распылители, жидкость дробится на мелкие капли,
которые захватывает воздушный поток, поступающий от вентилятора 12, и наносит
на объект обработки.
Для обработки различных насаждений устанавливают соответствующий угол а
наклона лопаток распределительного канала и частоту вращения п колеса
вентилятора: в виноградниках а = 0...15°, л = 2200 мин-1; низкорослых
хмельниках а= 15...45°, л = 2200 мин-1; высокорослых хмельниках а=15...45°, и
л=2500 мин-1; низкорослых садах а= 15...30°, л = 2500 мин-1; высокорослых садах
а = 15...45°, п = 2500 мин-1.
Доза внесения жидкости вихревыми распылителями 500... 1000 л/га,
двусторонними центробежными - 100...250 л/га. Рабочее давление до 1,2 МПа.
Максимальная производительность насоса 120 л/мин.
Опрыскиватель агрегатируют с трактором МТЗ-80.
Скорость движения агрегата: примем V=10 км/ч; N=500л/га
Контроль правильности настройки вентиляторного опрыскивателя:
Для определения типа распылителя необходимо найти:
количество распылителей:
где B - ширина захвата штанги,Т- шаг
установки распылителей на штанге;
Минутный расход жидкости всеми распылителями штанги:
Минутный расход жидкости через один распылитель:
В соответствии с данными таблицы 1(прил.8), необходимо взять красный
распылитель, рабочее давление в напорной магистрали равно 1,2 МПа.
Для контроля правильности настройки вентиляторного опрыскивателя мерную
кружку использовать затруднительно, поэтому проверку ведут методом контрольной
навески. После установки на штангу распылителей, на стационаре с помощью
редукционного клапана устанавливаем необходимое давление в коллекторе штанги, в
бак опрыскивателя наливаем полбака чистой воды и включаем привод насоса на
стационаре определяем время t мин,
за которое эта контрольная навеска полностью израсходуется. Если фактическое
количество
больше теоретического, следует уменьшить давление в коллекторе
штанги, и наоборот. После этого проверяем аналогично часть других распылителей
и регулируем давление так, чтобы из всех распылителей выходило примерно
одинаковое количество жидкости.
Полевая проверка.
L=500
м.
Площадь обработанного участка за один круг равна:
S =
500
3 = 3000
.
Количество рабочей жидкости, необходимой для обработки одного круга:
850 л на 1га, площадь нашего участка 15 га.
Итого
850
15=12750л
на всю площадь участка.1 га=10 000
, 15 га = 150 000
150 000
- 12750 л
- Х л
Количество кругов, которое должен пройти агрегат с полностью
заправленными резервуарами:
м/255л = 1,96 = 2
Если по завершении второго круга в резервуарах осталась рабочая жидкость,
то необходимо увеличить давление в коллекторе штанги, и наоборот.
При обработке поля трактор сделает кругов:
000
/ 3000
= 50
Следовательно, для обработки всего поля необходимо количество рабочей
жидкости равно:
255л = 12750л
Исходя из этого для транспортировки воды целесообразно использовать
МЖТ-6.
2.13 Транспортировка минеральных удобрений
Транспортируют минеральные удобрения с помощью самосвального транспорта,
например марки ГАЗ-САЗ, так, как согласно технологической карте по нормам
внесения мы имеем достаточно большое количество минеральных удобрений.
.14 Обработка
почвы в междурядьях с одновременной подкормкой минеральными удобрениями
Для междурядной обработки можно использовать
культиватор-растениепитатель КОН-2,8, подкормочное приспособление которого
включает в себя дисково-скребковые туковысевающие аппараты АТД-2, тукопроводы и
подкормочные ножи. Так же к этому надо установить полольные лапы.
Длина окружности колеса:
Путь, который пройдет культиватор за 25 оборотов
колеса, равен длине окружности колеса умноженной на число оборотов колеса:
Площадь поля обработанного за 25 число оборотов колеса
культиватора равна:
Норма внесения Q = 700 кг/га.
Масса туков, которая должна высеваться всеми
высевающими аппаратами за 25 оборотов колеса культиватора:
кг на 1га, наша площадь 15 га.
Итого
15=10500 кг
на всю площадь участка. 1 га=10 000
, 15 га = 150 000
.
000
- 10 500 кг
- x кг
Так как культиватор 4-рядный, масса удобрения,
вносимого одним туковысевающим аппаратом за 25 оборотов колеса культиватора
равна
,2 кг/4 = 1,3 кг = 1300 г
Для проверки мы засыпаем 1300 г удобрений в
туковысевающий аппарат, устанавливаем нужные звездочки. Затем, подставляем
мерную кружку и прокручивая колесо, заполняем внутреннюю полость. Высыпавшиеся
в кружку туки возвращаем обратно в бункер. После этого снова подставляем мерную
кружку под туковысевающий аппарат и прокручиваем колесо 25 раз.
Фактический высев должен быть равен теоретическому.
Если в туковысевающих аппаратах остались туки, следует увеличить рабочую длину
катушек, и наоборот.
Если недостаточно изменения длины рабочей части
катушек, следует выбрать другие звездочки.
Полевая проверка:
Длина гона L = 500 м.
Q = 700 кг/га. (0,07 кг/
)
Площадь поля, засеянная за один круг:
так, как на всю площадь нашего участка должно уйти
000
0,07 кг/
=10500 кг удобрения.
Исходя из этого можно подсчитать количество кругов:
1400
= 107,14
приблизительно 107 кругов.
Масса туков, необходимых для засева площади 1400
:
*0,07 кг/
= 98кг
Масса контрольной навески туков, которую нужно
засыпать в каждый бункер сеялки для прохода агрегатом одного круга:
кг/4 =24,5 кг.
В случае если после прохода круга в бункерах остались
туки, следует увеличить длину рабочей части катушек.
Если туки закончились до завершения круга, то ее
следует уменьшить.
Всего нужно внести
кг/га*15 га = 10500 кг.
Заключение
В ходе проделанной работы мы научились подбирать
сельскохозяйственные машины и агрегаты в соответствии с проводимыми операциями,
почвенно-климатическими условиями, размерами участка и степенью его
засоренности, был изучен комплекс мероприятий по возделыванию моркови столовой,
изучены агротехнические требования основных технологических операций.
Библиографический список
1. Машины в селекции и семеноводстве овощных культур: Учебное пособие /
А.Н. Вольф, Г.Ф. Монахос, В.И. Леунов: Изд-во РГАУ-МСХА имени К.А. Тимирязева,
2012. 218 с.
. Халанский В.М., Горбачев И.В. Сельскохозяйственные машины. - М.:
КолосС, 2003. - 624 с.
4. <http://felisov.ru/>