Современные способы производства стали

  • Вид работы:
    Реферат
  • Предмет:
    Другое
  • Язык:
    Русский
    ,
    Формат файла:
    MS Word
    287,72 Кб
  • Опубликовано:
    2016-02-05
Вы можете узнать стоимость помощи в написании студенческой работы.
Помощь в написании работы, которую точно примут!

Современные способы производства стали

ОГЛАВЛЕНИЕ

ВВЕДЕНИЕ

. СТАЛЕРАЗЛИВОЧНЫЕ КОВШИ

.1 Конструкция сталеразливочных ковшей

.2 Устройство для регулирования расхода металла

.3 Установки для продувки стали инертным газом

.4 Конструкция устройств для подвода газов через дно ковша

.5 Фурмы для продувки сверху

.6 Оборудование для продувки жидкого металла порошкообразными материалами

.7 Установка комплексной обработки металла в ковше

. ВАКУУМИРОВАНИЕ СТАЛИ

.1 Ковшевые вакууматоры

.2 Процесс АСЕА-СКФ

.3 Вакуумирование металла в выносных вакуумных камерах

.4 Циркуляционные вакууматоры

ЗАКЛЮЧЕНИЕ

БИБЛИОГРАФИЧЕСКИЙ СПИСОК

ВВЕДЕНИЕ

При остывании и кристаллизации стали выделяются газы [1]. Однако часть их остается в металле, что является причиной снижения качества слитка - образование пузырей, микроскопических раковин и волосовин, флокенов и т. д.

Для повышения качества стали применяется дегазация, т. е. удаления водорода, оксидов углерода, азота и уменьшения неметаллических включений в ковшах. Дегазация ведется по двум основным направлениям: невакуумная дегазация - обработка стали газообразными или твердыми реагентами (продувка стали оксидами углерода, аргоном); внепечное вакуумирование, когда из небольшой порции жидкого металла или всей плавки непрерывно откачивают газы вакуумными насосами

Внепечная обработка стали делится на следующие составляющие (рисунок 1) [2].

Рисунок 1 - Внепечная обработка стали

. СТАЛЕРАЗЛИВОЧНЫЕ КОВШИ

Все современные способы производства стали технологически делятся на два самостоятельных процесса [3]: выплавка и разливка стали. Поэтому сталеразливочные ковши являются неотъемлемым оборудованием любого сталеплавильного цеха и предназначены для приема плавки из агрегата, транспортировки металла к месту разливки и его разливки.

В зависимости от условий эксплуатации все сталеразливочные ковши делятся на две большие группы по методу слива металла - с верхним сливом через сливной носок, применяемые в фасонно-литейных цехах, и с нижним сливом через специальный сталеразливочный стакан, устанавливаемый в днище ковша.

.1 Конструкция сталеразливочных ковшей

Все ковши вместимостью  состоят из следующих основных элементов: стального корпуса или кожуха, шлакового желоба или носка, затвора сталеразливочного отверстия, кантовального устройства и футеровки.

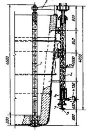
Кожух ковша сваривается из трех обечаек - верхней, средней и нижней, а также днища (рисунок 2).

Рисунок 2 - Устройство 300 т сталеразливочного ковша: 1, 2, 3 - верхняя, средняя и нижняя обечайка; 4 - днище; 5, 6 - цапфенный пояс и пояс жесткости

Днище ковша непосредственно испытывает нагрузки под действием массы расплава и футеровки и изготавливаются из стальных листов самой большой толщины. Наибольшие напряжения возникают в зоне стыка днища со стенками корпуса. Эти напряжения можно снизить, если переход от стен к днищу будет выполнен постоянным по плавной кривой линии. Поэтому все большегрузные сталеразливочные ковши имеют штампованные сферические днища с коробовым или эллиптическим профилем (рисунок 3).

Рисунок 3 - Профили коробового (1, 3) и эллиптического (2) днищ сталеразливочных ковшей

Кантовальное устройство, которым в настоящее время оснащены все ковши сталеплавильных цехов, обеспечивает кантовку ковша вспомогательным крюком крана без участия подкранового рабочего. Кантовка необходима для слива остатков шлака после разливки, удаления различных настылей, смены стакана и ремонта футеровки. Во всех этих операциях ковш приходится неоднократно поворачивать на цапфах на различные углы в зависимости от задачи и условий. Устройство представляет собой (рисунок 4) скобу 1 с одной стороны висящей на крюке 2, а с другой - шарнирно соединенной с тягой 3, закрепленной на днище ковша с помощью планки 4. Тяга имеет выступ 5, с помощью которого она упирается в наиболее жесткую торцовую часть ковша при его кантовке. При повороте более чем на 90° скоба соскальзывает с крюка, но при возврате в исходное положение скоба вновь зацепляется за крюк. Такая конструкция равномерно перераспределяет все усилия по отдельным участкам корпуса без его деформации.

Рисунок 4 - Устройство для кантовки ковша

.2 Устройство для регулирования расхода металла

Принцип работы стопорных затворов заключается в перекрытии канала сталеразливочного стакана изнутри ковша с помощью пробки, прикрепленной к футерованному металлическому стержню - стопору. Регулирование скорости разливки осуществляется изменением зазора между стаканом и пробкой путем подъема или опускания стопора. В качестве исполнительного механизма используется рычажная система, расположенная на внешней стороне корпуса ковша с ручным или гидравлическим приводом. Стопорный механизм (рисунок 5) состоит из стопора 1, траверсы 2, которая соединяет стопор с ползуном 3, перемещающимся вверх и вниз с помощью рычага 4 по направляющей 5. Для предотвращения всплывания стопора во время транспортировки ползун 3 с помощью гайки 7 плотно прижимается к направляющей. Перед началом разливки гайка 6 откручивается и стопор от всплывания удерживается пружиной 7. Для открывания стопора нужно нажать вниз на рычаг, в результате пружина сожмется, ползун переместится вверх, поднимет траверсу и прикрепленный к ней стопор.

Рисунок 5 - Конструкция стопорного затвора

сталь ковш вакуумный металл

На рисунке 6 приведен один из вариантов конструкции шиберного затвора, состоящего из верхней неподвижной обоймы 2 с заключенной в ней огнеупорной плитой 10. Нижняя плита 7 с коллектором 5 вставлена в подвижную обойму 6, которая с помощью штока 4 соединена с гидроцилиндром 5. Передвижение происходит по направляющим, находящимся в корпусе 9 затвора. Плотный контакт между плитами достигается с помощью четырех распорных винтов. Собранный затвор крепится с помощью клиньев к опорному фланцу 3, вваренному в днище ковша и снабженному установленными штырями. При этом верхняя плита своим выступом входит в паз сталеразливочного стакана 1, обеспечивая их плотное соединение.

Рисунок 6 - Конструкция скользящего (шиберного затвора)

1.3 Установки для продувки стали инертным газом

Обработка металла инертными газами получила наиболее широкое распространение среди методов внепечного рафинирования стали.

В основе ковшевого рафинирования стали нейтральным газом лежит создание условий для интенсивного перемешивания металла в сравнительно короткий промежуток времени. Тем самым обеспечивается выравнивание температуры металла в объеме ковша и равномерное распределение химических элементов при вводе раскислителей и легирующих.

.4 Конструкция устройств для подвода газов через дно ковша

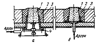
В настоящее время на практике используют два варианта подвода газа к металлу через днище ковша: продувка через пористые фурмы-пробки (рисунок 7) и через шиберные затворы (рисунок 8).

Рисунок 7 - Схема подвода инертного газа через пористые элементы при установке пробки с внешней (а) и с внутренней (б) сторон: 1 - пробка; 2 - набивка; 3 - стальная оболочка; 4 - поджимающее устройство

Рисунок 8 - Схема подвода газа через шиберный затвор: 1 - стальная трубка; 2 - коллектор; 3 - плиты затвора; 4 - асбестовая набивка

.5 Фурмы для продувки сверху

Погружные фурмы для продувки металла используются на специальных стендах, оборудованных механизмами для подъема и опускания фурмы (рисунок 9). Ковш с металлом в этом случае устанавливается на специальном стенде или подается на сталевозной тележке.

Рисунок 9 - Устройство для ввода газа с помощью погружаемых фурм: 1 - привод перемещения; 2 - стойка; 3 - поворотный кронштейн; 4 - фурма

1.6 Оборудование для продувки жидкого металла порошкообразными материалами

Технологическая схема процесса обработки металла в чугуновозном или сталеразливочном ковше сводится к следующему: в соответствии с решаемой задачей ковш с жидким металлом подается на установку для продувки металла порошками (рисунок 10) с полностью отсеченным сталеплавильным шлаком. В качестве изолирующего слоя наводится синтетический или теплоизоляционный шлак. Ковш устанавливают или на сталевоз или на специальный стенд и накрывают крышкой. Для усреднения металла по химическому составу и температуре проводится продувка нейтральным газом с интенсивностью, обеспечивающей достаточно эффективное перемешивание металла по объему всего ковша без оголения металла. После взятия пробы металла и замера температуры вдувают порошкообразные материалы. По окончании продувки снимается крышка и в случае необходимости зеркало металла покрывается слоем теплоизолирующего материала толщиной 80...120 мм. При отсутствии дополнительного подогрева металла общее время обработки не должно превышать 10...15 мин.

Рисунок 10 - Схема обработки металла порошкообразными материалами: 1 - привод перемещения; 2 - бункер; 3 - кронштейн; 4 - фурма

1.7 Установка комплексной обработки металла в ковше

На рисунке 11 приведен один из вариантов компоновки участка агрегатов комплексной доводки стали (АКОС).

Рисунок 11 - Схема комплексной обработки стали (АКОС): 1 - пневмонасосы; 2, 3 - установки для продувки и для нагрева металла; 4 - трансформаторная; 5 - водоохлаждаемая крышка; 6 - сталеразливончый ковш; 7 - сталевоз

2. ВАКУУМИРОВАНИЕ СТАЛИ

Различают следующие способы вакуумирования стали: в сталеразливном ковше; струйный; порционный и циркуляционный.

Вакуумирование в сталеразливочном ковше (рисунок 12, а) заключается в установке сталеразливочного ковша с металлом в герметически закрытой вакуумной камере, в которой создается разрежение. Недостаток этого способа - сравнительно низкая эффективность и большие потери теплоты.

Рисунок 12 - Способы вакуумирования стали

С целью повышения эффективности процесса применяют перемешивание металла, которое осуществляется двумя способами: электромагнитным (в катушку из немагнитной стали устанавливают ковш) и с помощью инертного газа, подаваемого через стопор или пористую огнеупорную пробку в днище ковша.

Вместо ковша можно использовать изложницу, для чего на нее устанавливают герметическую крышку с патрубком, который соединяют с насосной установкой.

Снижение загрязненности металла неметаллическими включениями является важной задачей повышения качества металла. Одним из методов, получивших широкое распространение, является обработка стали в ковше жидким синтетическим шлаком. Синтетический шлак требуемого химического состава выплавляют в отдельном металлургическом агрегате, нагревают его до 1650-1700°С и в количестве 4-15% массы обрабатываемого металла заливают в ковш. В результате обработки металла в нем почти в 2 раза снижаются содержание серы и неметаллических включений, значительно повышается пластичность.

Струйное вакуумирование (рисунок 12, б) основано на дегазации струи металла в вакууме при переливании его из ковша в ковш, при выпуске из печи и при разливке стали. Этот способ наиболее эффективен при разливке стали для получения больших слитков.

Порционное вакуумирование (рисунок 12, в) заключается в многократном засасывании небольших порций металла (10 % массы металла в ковше) из ковша в вакуум-камеру с последующим перемешиванием каждой порции после вакуумирования с металлом в ковше. Поток стали, выходящий из вакуум-камеры, достигает дна ковша, отражается от него и направляется вверх, перемешиваясь со всей массой металла. Глубину погружения всасывающего патрубка в металл изменяют путем подъема ковша или опускания камеры. Полного вакуумирования достигают 3-4-кратным прохождением жидкой стали через вакууматор. Длительность цикла дегазационной обработки составляет примерно 20 мин.

Порционное вакуумирование - один из наиболее прогрессивных способов, позволяющий достигать высокой степени и скорости дегазации, возможности обогрева камеры во время процесса, небольших эксплуатационных расходов.

Циркуляционное вакуумирование (рисунок 12, г) - наиболее целесообразный непрерывный процесс. Принцип его - вакуумирование металла, непрерывно подаваемого в вакуум-камеру. Подъем металла происходит под действием эжектирующего действия инертного газа (аргона), подаваемого к всасывающему патрубку. Пузырьки газа, попадая со сталью в разреженное пространство вакуум-камеры, разбрызгивают сталь и газы, содержащиеся в металле, высвобождаются вместе с инертным газом и удаляются насосом. Интенсивность циркуляции достигает 45-50 т/мин и дегазация плавок массой 200-300 т составляет 12-15 мин.

.1 Ковшевые вакууматоры

Принципиальной особенностью ковшевого вакуумирования является одновременная обработка всей массы плавки в сталеразливочном ковше.

В первоначальном варианте ковшевой вакууматор представлял собой сварную стальную камеру, расположенную в железобетонном колодце и футерованную шамотными огнеупорами (рисунок 13). Камера сверху закрывалась откидывающейся или откатывающейся футерованной крышкой. С целью герметизации линии разъема между корпусом камеры и крышкой прокладывается герметик (обычно в виде круглого уплотнителя из вакуумплотной резины). Для предотвращения перегрева этот участок охлаждается водяными холодильниками, смонтированными как на корпусе камеры, так и на крышке. В камере устанавливается стенд, на который ставится сталеразливочный ковш с металлом. Пол камеры также имеет огнеупорную футеровку на случай перелива металла через край ковша в случае чрезмерно бурного вспенивания расплава. В стенке камеры устроено отверстие, к которому присоединен вакуум-провод необходимого диаметра. Для наблюдения за поведением металла, взятия проб и осуществления некоторых присадок в ковш, в крышке камеры устраивается ряд технологических отверстий с соответствующей герметизацией. Объем сталеразливочного ковша должен быть обязательно больше объема жидкого металла на случай бурного вспенивания дегазируемого расплава.

Рисунок 13 - Схема ковшевого вакуумного вакууматора: 1 - крышка; 2 - ковш; 3 - камера

Значительно больший эффект при ковшевом вакуумировании спокойного металла достигается изменением технологического процесса, предусматривающего вакуумирование струи расплава, сливаемого в вакуум-камеру, в которой установлен порожний ковш или изложница (рисунок 14). С этой целью на усиленную конструкцию крышки вакуум-камеры устанавливается промежуточный ковш, который опирается на резиновую кольцевую прокладку, уложенную в пазе крышки. В центре крышки имеется отверстие, которое перед разливкой закрывают алюминиевой пластиной, В камере создают разрежение и заполняют промежуточный ковш металлом из основного ковша.

Рисунок 14 - Схема струйного ковшевого камерного вакууматора: а - перелив из ковша в ковш; б - разливка в изложницу

Эффективность вакуумирования резко повышается, если вместо ковша ставят изложницу. В настоящее время таким способом отливаются все крупные кузнечные слитки для деталей ответственного назначения (рисунок 14, б). Металл в этом случае затвердевает в условиях вакуума, не подвергаясь процессам вторичного окисления при контакте с воздухом.

.2 Процесс АСЕА-СКФ

На рисунке 15 показан процесс АСЕА-СКФ, технологические операции которого расчленены по отдельным стендам. Установка позволяет производить вакуумную дегазацию, вакуумное обезуглероживание кислородом, электродуговой нагрев, десульфурацию и все это обеспечивается также обычно электромагнитным перемешиванием расплава. В результате достигается очень тонкое регулирование температуры и химического состава расплава по всему объему ковша.

Рисунок 15 - Схема обработки металла по способу АСЕА-СКФ: 1, 4 - стенды вакуумирования и нагрева; 2 - система дозирования и подачи ферросплавов; 3 - сталевоз с электромагнитным перемешиванием

Все стенды устанавливаются в линию на одной оси и связаны железнодорожным путем, по которому перемещается сталевоз (рисунок 16). Ковш ставится на сталевоз и в зависимости от исходной температуры расплава может быть подвергнут вакуумированию, а затем подогреву, или наоборот.

Рисунок 16 - Устройство вакуумного стенда и его крышки: 1 - портал; 2 - крышка; 3 - шлюз для подачи ферросплавов; 4 - вакуумная система

.3 Вакуумирование металла в выносных вакуумных камерах

Принцип процесса обработки расплава заключается в многократном засасывании небольших порций металла в камеру, где каждая порция в течение короткого времени дегазируется и сливается назад в ковш. Для осуществления такого процесса камера снабжается патрубком, который перед вакуумированием погружается в металл, находящийся в ковше, на глубину 300...600 мм, что исключает подсос воздуха в вакуум-камеру (рисунок 17).

Рисунок 17 - Схема порционного вакууматора: 1 - сталеразливочный ковш; 2 - холодильник; 3 - система дозирования и подачи ферросплавов; 4 - вакуум-камера; 5 - стенд для подъема и опускания камеры

Форма рабочего пространства порционных вакуум-камер до настоящего времени не имеет оптимального решения, чем объясняется большое число ее разновидностей (рисунок 18).

Рисунок 18 - Разновидности профиля порционных вакуум-камер: 1 - погружной патрубок; 2 - металлоприемник или ванка; 3 - переходной участок; 4 - участок обслуживания камеры; 5 - горячий вакуум-провод

2.4 Циркуляционные вакууматоры

Процесс циркуляционного вакуумирования заключается в обработке вакуумом металла, непрерывно текущего через вакуум-камеру по двум патрубкам, опущенным в ковш с расплавом. Для обеспечения непрерывного подъема металла в камеру в один из патрубков подается аргон, пузырьки которого в результате большой разницы плотностей, поднимаясь с высокой скоростью вверх по патрубку, увлекают за собой расплав, выполняя функции транспортирующего газа. В камере металл дегазируется и, становясь более плотным и тяжелым, сливается по второму патрубку в ковш (рисунок 19).

Рисунок 19 - Схема циркуляционного вакууматора

ЗАКЛЮЧЕНИЕ

Дальнейшее развитие способа с применением магнитогидравлических устройств (МГД-устройств) для перемещения жидкого металла позволит внедрить прогрессивный процесс совмещения струйного вакуумирования с процессом непрерывного литья стали.

БИБЛИОГРАФИЧЕСКИЙ СПИСОК

1. Механическое оборудование металлургических заводов. Механическое оборудование конвертерных и мартеновских цехов: Учебник / В. М. Гребеник, Ф. К. Иванченко, Б. А. Павленко и др. - К.: Вища шк., 1990. - 288 с.: ил.

. Внепечная обработка стали: Учебник для вузов. Поволоцкий Д. Я., Кудрин В. А., Вишкарев А. Ф. - М.: «МИСИС», 1995. - 256 с.

. Конструкции и проектирование агрегатов сталеплавильного производства. / Григорьев В. П., Нечкин Ю. М., Егоров А. В., Никольский Л. Е.: Учебник для вузов. - М.: «МИСИС», 1995. - 512 с.

Похожие работы на - Современные способы производства стали

 

Не нашли материал для своей работы?
Поможем написать уникальную работу
Без плагиата!
Без нейросетей!