Судебно-бухгалтерская экспертиза

  • Вид работы:
    Дипломная (ВКР)
  • Предмет:
    Бухучет, управленч.учет
  • Язык:
    Русский
    ,
    Формат файла:
    MS Word
    224,75 Кб
  • Опубликовано:
    2015-10-28
Вы можете узнать стоимость помощи в написании студенческой работы.
Помощь в написании работы, которую точно примут!

Судебно-бухгалтерская экспертиза















Судебно-бухгалтерская экспертиза

СОДЕРЖАНИЕ

ВВЕДЕНИЕ

Глава 1. ТЕОРЕТИЧЕСКИЕ ОСНОВЫ ПРОВЕДЕНИЯ СУДЕБНОЙ

БУХГАЛТЕРСКОЙ ЭКСПЕРТИЗЫ

.1 Судебно-бухгалтерская экспертиза: цель, задачи, приемы

.2 Становление и развитие судебно-бухгалтерской экспертизы в России

.3 Различия судебно-бухгалтерской экспертизы и внешней аудиторской проверки

Глава 2. МЕТОДЫ ПРОВЕДЕНИЯ СУДЕБНО БУХГАЛТЕРСКОЙ

ЭКСПЕРТИЗЫ

.1 Систематизация информации и документов, предоставляемых для экспертного исследования

.2 Разграничение компетенции между следователем и экспертом

.3 Качество судебно-бухгалтерской экспертизы

Глава 3. ПРАКТИКА ПРОВЕДЕНИЯ СУДЕБНО-БУХГАЛТЕРСКОЙ

ЭКСПЕРТИЗЫ МЕТОДЫ ЕЕ ОПТИМИЗАЦИИ

.1 Практика проведения судебно-бухгалтерской экспертизы

.2 Повышение качества судебно-бухгалтерской экспертизы на основе предотвращения ошибок экспертного исследования

ЗАКЛЮЧЕНИЕ

СПИСОК ИСПОЛЬЗОВАННОЙ ЛИТЕРАТУРЫ

ВВЕДЕНИЕ

судебный бухгалтерский экспертиза проверка

Актуальность темы исследования. Развитие социально-экономических процессов неизбежно приводит к изменению экономических и правовых отношений между субъектами хозяйствования. Все больше судебных разбирательств связано с экономическими вопросами, особенно с вопросами порядка и законности оформления. С другой стороны, с развитием судебной системы расширяется и сфера применения бухгалтерской экспертизы: ее производство все чаще назначается не только в рамках уголовных дел, но и в гражданском и арбитражном судопроизводстве.

Кроме того, новые способы ведения экономической деятельности порождают новые виды правонарушений или новые способы совершения прежних: Если раньше сами правонарушения или способы их совершения были техническими по своей природе, то сейчас они носят, в основном, интеллектуальный характер. Доказывание по таким делам становится практически невозможным без использования специальных знаний об отражении операций в документации организаций и предприятий (первичной учетной и организационной документации, бухгалтерской и налоговой отчетности, финансовых документах и т.д.), в которых и можно обнаружить следы данного вида преступлений и выстроить обоснованную линию обвинения или защиты.

Основным источником таких доказательств в уголовном процессе является привлечение специалистов и экспертов в качестве участников процесса. Первые разъясняют и оценивают отдельные элементы уже имеющихся доказательств, другие предоставляют экспертные заключения как особого рода самостоятельные доказательства.

В этих условиях прежние методики и подходы к проведению бухгалтерской экспертизы становятся неэффективны. В исследованиях настоящего времени рассматривается, в основном, методика проведения аудита. Кроме того, отсутствует единая классификация видов экономических экспертиз, поэтому в рамках бухгалтерской экспертизы эксперту приходится рассматривать и налоговые, и аналитические аспекты. Актуальным является также вопрос об оформлении результатов экспертизы, т.к. при некачественно оформленных материалах заключение может быть не принято как доказательство или может быть опровергнута его достоверность.

Таким образом, существующие проблемы методики проведения бухгалтерской экспертизы представляют значительный теоретический и практический интерес, что обусловило выбор темы, объекта и предмета исследования, его содержание.

Состояние изученности проблемы. В своем исследовании автор использовал труды ученых, внесших значительный вклад в формирование теории бухгалтерской экспертизы: Г.А. Атанесяна, Р.С. Белкина, Н.Т. Белухи, Н.Г. Гаджиева, С.П. Голубятникова, Т.М. Дмитриенко, Ж.А. Кеворковой, В.Г. Танасевича, В.А. Тимченко, С.Г. Чаадаева, В.В. Шадрина и др. В то же время, построение качественной методики бухгалтерской экспертизы невозможно без изучения фундаментальной и специальной литературы отечественных авторов по вопросам учета, финансового контроля и экономического анализа финансово-хозяйственной деятельности предприятий. Поэтому особое внимание уделено трудам Ю.А. Бабаева, И.Н. Богатой, С.А. Бороненковой, М.А. Вахрушиной, Л.Т. Гиляровской, С.А. Звягина, В.Б. Ивашкевича, Н.Н. Илышевой, Ж.А. Кеворковой, В.В. Ковалева, Н.П. Кондракова, А.И. Малыхиной, М.В. Мельник, С.В. Панковой, Л.В. Поповой, О.А. Рыбалко, В.И. Подольского, Н.Н. Селезневой, Л.С. Сосненко, Л.В. Сотниковой, В.А. Тимченко, А.Е. Шевелева, А.Д. Шеремета, Т.Г. Шешуковой и др.

Вместе с тем ни в одной из них не содержится представления целостной, логически стройной методики проведения бухгалтерской экспертизы, а исследуются лишь ее отдельные фрагменты. Недостаточно и научно обоснованных методологических и практических рекомендаций, учитывающих действующую нормативную базу и направленных на повышение эффективности бухгалтерской экспертизы.

Цель и задачи исследования. Целью исследования является теоретическое обоснование организационно-методических положений бухгалтерской экспертизы в целом, а также разработка ее отдельных частных составляющих.

Достижение поставленной цели потребовало постановки и решения следующих задач:

сформулировать цель, задачи, приемы судебно-бухгалтерской экспертизы;

рассмотреть становление и развитие судебно-бухгалтерской экспертизы в России;

определить различия судебно-бухгалтерской экспертизы и внешней аудиторской проверки;

рассмотреть систематизацию информации и документов, предоставляемых для экспертного исследования;

определить разграничение компетенции между следователем и экспертом;

изучить качество судебно-бухгалтерской экспертизы;

рассмотреть практику проведения судебно-бухгалтерской экспертизы;

рассмотреть повышение качества судебно-бухгалтерской экспертизы на основе предотвращения ошибок экспертного исследования.

Предмет и объект исследования. Предметом исследования является совокупность теоретических, методических и практических аспектов бухгалтерской экспертизы, объектом − состояние бухгалтерской экспертизы.

Методика исследования основывается на изучении и обобщении теоретического и практического материала, сравнительном анализе действующих методик экспертного бухгалтерского исследования, поиске и разработке новых методик в соответствии с реформированием законодательной базы, структурировании предмета и методов бухгалтерской экспертизы.

Глава 1. ТЕОРЕТИЧЕСКИЕ ОСНОВЫ ПРОВЕДЕНИЯ СУДЕБНОЙ БУХГАЛТЕРСКОЙ ЭКСПЕРТИЗЫ

.1 Судебно-бухгалтерская экспертиза: цель, задачи, приемы

Развитие рыночных отношений в экономике России вызвало значительное увеличение количества экономических споров и правонарушений, среди которых преобладают налоговые. Одним из главных доказательств при их расследовании и судебных разбирательствах является заключение судебно-экономической экспертизы.

По характеру фактических данных, исследуемых при производстве экспертизы, специальных знаний, с применением которых решаются те или иные судебные вопросы, все экспертизы в теории судопроизводства делятся на криминалистические, медицинские, технические, экономические и т. д.

Экономическая экспертиза - это вид судебной экспертизы, который включает судебно-бухгалтерскую, финансово-аналитическую, финансово-кредитную составляющие (рис. 1.1).

Рис. 1.1 Виды судебно-бухгалтерских экспертиз

В ходе судебно-экономической экспертизы рассматриваются:

сведения о фактически совершенных хозяйственных операциях с участием фигурантов дела в определенный период;

отражение хозяйственных операций в первичных учетных (или иных) документах, в регистрах учета (бухгалтерского и налогового) и формах отчетности (бухгалтерской и налоговой).

В ходе судебно-бухгалтерской экспертизы решаются вопросы, связанные с установлением фактических данных о финансово-хозяйственной деятельности фигурантов дела, а также с отражением этой деятельности в бухгалтерском учете, с установлением соответствия исчисления налогов требуемому порядку.

В ходе производства финансово-аналитической экспертизы исследуются вопросы, связанные с анализом состояния платежеспособности организации; вопросы, связанные с получением, возвратом кредитных средств, а также со спецификой кредитных отношений, возникающих в ходе финансово-кредитной экспертизы.

Судебно-бухгалтерская экспертиза является частью судебно-экономической экспертизы и представляет исследование производственно-хозяйственных процессов путем изучения способов ведения бухгалтерского учета, приемов совершения учетных операций и записей, места, времени, способа, количественных и качественных характеристик учетных данных с целью представления мотивированного заключения для правоохранительных органов и суда.

Необходимость в судебно-бухгалтерской экспертизе возникает в связи с применением специальных познаний в отрасли бухгалтерского учета, контроля и анализа хозяйственной деятельности с целью всестороннего и объективного исследования фактических обстоятельств дела.

Судебно-бухгалтерская экспертиза и оценка достоверности и надежности бухгалтерской информации занимают особое место в системе выявления и предупреждения экономических преступлений и нарушений финансово-хозяйственной дисциплины.

Пристальное внимание к данной проблеме вызвано также тем, что в современных условиях совершенствуется характер преступлений в экономической сфере и отмечается рост интеллектуального уровня лиц, совершивших экономические преступления. Если ранее объектом экспертного исследования были в основном правонарушения, связанные с расследованием фактов растрат и хищений товарно-материальных ценностей, денежных средств, то сейчас наиболее распространенными являются преступления, совершаемые с помощью искажения и фальсификации данных бухгалтерской отчетности с целью налоговых сокрытий, незаконного получения кредита, обмана потенциальных инвесторов (партнеров) и т. д.

В ст. 9 Закона «О государственной судебно-экспертной деятельности в РФ» от 31 мая 2001 г. № 73-ФЗ определено понятие судебной экспертизы как процессуального действия, состоящего из проведения исследования и дачи заключения экспертом.

В связи с тем что судебно-бухгалтерская экспертиза может назначаться по гражданским, арбитражным и уголовным делам, ее проведение регламентируется соответствующими нормативно-законодательными актами.

Судебная экспертиза отличается от несудебной тем, что порядок ее назначения и производства, а также использования полученных при этом результатов предусмотрен процессуальным законодательством. В законе определены основания и условия назначения судебной экспертизы, порядок ее проведения, установлены принципы оценки и использования заключения эксперта как доказательства по делу; четко определены права и обязанности участников уголовного, гражданского, арбитражного и административного процесса при проведении судебных экспертиз.

Основаниями для производства судебно-бухгалтерской экспертизы являются определение суда, постановления судьи, лица, производящего дознание, следователя или прокурора. Судебная экспертиза считается назначенной со дня вынесения постановления или соответствующего определения суда. В подавляющем числе случаев судебно-бухгалтерская экспертиза назначается следователем. На следователя в соответствии с Уголовно-процессуальным кодексом возлагается обязанность сбора доказательств, на основе которых устанавливаются наличие или отсутствие общественно опасного деяния, виновность лица, совершившего это деяние, и иные обстоятельства.

Наиболее существенными основаниями для назначения судебно-бухгалтерской экспертизы, кроме необходимости исследования вопросов, требующих специальных познаний эксперта-бухгалтера, являются:

недоброкачественное проведение ревизии либо налоговой проверки, наличие противоречий между актом ревизии (проверки) и другими материалами дела, свидетельствующие о неполном исследовании;

обоснованные возражения организаций по актам проверок соблюдения законодательства (о налогах и сборах и т. д.), заявленные в ходе расследования уголовного дела;

сомнения следователя в выводах проверки, необходимость проверки соответствия показаний обвиняемых, подозреваемых и свидетелей данным бухгалтерского учета и т. д.;

обоснованное ходатайство обвиняемого о назначении судебно-экономической экспертизы.

Материалы, необходимые эксперту-бухгалтеру по каждому конкретному делу, устанавливает лицо, назначившее экспертизу, однако представление дополнительных материалов может осуществляться и после назначения экспертизы, если об этом ходатайствует эксперт, когда, по его мнению, предоставленных материалов недостаточно для производства исследования.

Назначение экспертизы в судебном процессе отражается в особом процессуальном акте - определении суда о назначении судебной экспертизы и обусловлено тем, что в формулировании вопросов и определении объема исследуемых обстоятельств принимают участие обвинитель, защитник, подсудимый, потерпевший, гражданский истец, гражданский ответчик и их представители. К особенностям положения эксперта-бухгалтера в судебном процессе относится также порядок его допроса судом и сторонами.

Можно выделить следующие этапы судебно-бухгалтерской экспертизы в суде:

эксперт-бухгалтер, прибывший в суд, с разрешения председательствующего знакомится с делом и проводит исследование доказательств, относящихся к предмету судебно-бухгалтерской экспертизы;

участники процесса ставят перед экспертом-бухгалтером вопросы, входящие в его компетенцию;

эксперт-бухгалтер готовит ответы на поставленные перед ним вопросы;

составляется заключение;

проводится допрос эксперта-бухгалтера судом.

На необходимость комиссионной или комплексной экспертизы указывается в постановлении (определении) о назначении экспертизы. Эксперт, производящий экспертизу вне экспертного учреждения, придя к выводу о необходимости комиссионной или комплексной экспертизы, ставит об этом вопрос перед следователем (судом) в порядке, предусмотренном процессуальным законом.

Задачи судебно-бухгалтерской экспертизы можно подразделить на четыре группы.

.Установление обоснованности оприходования и списания материальных ценностей и денежных средств. В этом случае бухгалтерская экспертиза устанавливает:

обоснованность оприходования материальных ценностей по отдельным наименованиям материальных ценностей;

правильность отражения в учете расчетных операций за материальные ценности и услуги;

обоснованность оприходования, начисления, выплаты и списания денежных средств.

.Установление наличия или отсутствия материальных ценностей и денежных средств. При решении этих задач бухгалтерская экспертиза устанавливает не только факты имеющихся недостач или излишков, но и их размеры, место и время образования, суммы материального ущерба, а также способы сокрытия недостач или излишков материальных ценностей и денежных средств.

.Определение правильности ведения бухгалтерского учета, отчетности и организации контроля в целях установления:

соответствия отражения в бухгалтерских документах хозяйственных операций требованиям действующих нормативных актов по ведению бухгалтерского учета и составлению отчетности;

правильности документального оформления операций приема, хранения, реализации, списания материальных ценностей и денежных средств;

недостатков в организации и ведении бухгалтерского учета и контроля, которые способствовали или могли способствовать образованию недостач, излишков, необоснованному списанию денежных средств, причинению другого материального ущерба или препятствовали их своевременному выявлению;

правильности применения всех необходимых методов контроля при производстве ревизии или других способов современного финансового контроля для установления фактов недостачи, излишков материальных ценностей и денежных средств.

.Установление круга лиц, в ведении которых находились материальные ценности и денежные средства, а также лиц, ответственных за нарушение правил ведения учета и контроля. При решении задач этой группы судебно-бухгалтерская экспертиза устанавливает:

а)круг материально ответственных лиц, за которыми по документальным данным в период образования недостач или излишков либо необоснованного списания числились материальные ценности и денежные средства;

б)круг должностных лиц, обязанных обеспечить выполнение требований по ведению бухгалтерского учета и контроля, несоблюдение которых установлено в процессе производства экспертизы.

Проведение экспертизы включает:

ознакомление со всеми материалами уголовного дела, представленными для производства экспертизы;

анализ достаточности объектов исследования (материалов уголовного дела), предоставленных лицом, назначившим экспертизу для разрешения поставленных вопросов и выдачи заключения;

выяснение возможности выдачи полного и обоснованного заключения по поставленным вопросам, определение степени категоричности выводов;

рассмотрение экономического содержания хозяйственных операций, сведения о которых содержатся в представленных материалах;

установление фактического выполнения фигурантами дела положений соответствующих отраслей законодательства;

исследование и разрешение вопросов;

составление заключения.

Судебно-бухгалтерская экспертиза проводится с использованием организационных методических и технических приемов, объединяемых в едином процессе экспертного исследования.

Методы и приемы производства судебно-бухгалтерской экспертизы можно подразделить на документальные, расчетно-аналитические, а также метод обобщения и реализации результатов экспертизы.

.Документальные приемы - это исследование учетных документов, оценка этих документов, проверка нормативной правовой базы их составления и т. д. Применяют названные методические приемы при условии, что возник ущерб от хозяйственных операций, которые отображены в первичной документации, регистрах бухгалтерского учета и отчетности; указанные первичные документы стали объектами расследования правоохранительных органов.

.К расчетно-аналитическим приемам относятся прежде всего экономический анализ, статистические расчеты, экономико-математические методы. Экономический анализ - система научных приемов, используемых в экономической экспертизе для выявления причинных связей, обусловивших несоответствие хозяйственных операций и процессов, которые стали объектами расследования правоохранительных органов, требованиям законодательства. Статистические расчеты - приемы, с помощью которых экспертиза может определить качественные и количественные характеристики исследуемых хозяйственных операций и процессов, не содержащиеся непосредственно в исходной экономической информации (бухгалтерском балансе, расчетных ведомостях на заработную плату и т. п.). Применяются при необходимости произвести уточнения приближенных величин, перейти от одних величин к другим, более точно характеризующим количественные связи и отношения. Экономико-математические методы применяются в бухгалтерской экспертизе при установлении факторов, влияющих на результаты хозяйственной деятельности, с тем чтобы учесть их при обобщении и реализации результатов экспертизы.

.Метод обобщения и реализации результатов экспертизы предусматривает группировку и систематизацию результатов исследования; итоговый анализ, обобщение результатов и составление итогового документа - заключения.

Документальные приемы можно разделить на следующие группы.

Формальная проверка документа - способ, с помощью которого эксперт может установить наличие и правильность заполнения необходимых реквизитов (показателей). Каждый документ должен отражать оформленную им операцию. Форма документа предусматривает обычно все необходимые показатели, характеризующие качественные и количественные особенности данной операции. Такая характеристика достигается путем заполнения всех реквизитов документа, которые дают возможность контролировать совершенные операции. Для этого проводится визуальный осмотр документа и его анализ. В процессе визуального осмотра устанавливается факт наличия или отсутствия соответствующих реквизитов (например, название документа, дата его заполнения, порядковый номер и т. д.), выявляются нарушения формальных требований заполнения и разного рода отклонения от правил оформления хозяйственных операций.

Арифметическая проверка документа - способ, применение которого позволяет произвести подсчет итоговых показателей в конкретном документе и включает в себя простейшие арифметические действия.

Нормативная проверка документов - способ, позволяющий установить правильность операций, отраженных в документах. Эксперт-бухгалтер анализирует соответствие содержания документов правилам, зафиксированным в законодательных нормах. Нормативная проверка документов применяется в тех случаях, когда под сомнение поставлена обоснованность проведения самой хозяйственной операции и отражения операций в бухгалтерском учете, что позволяет выявить среди документов незаконные по содержанию, но правильные по форме.

Сопоставление документов (встречная проверка документов) - способ, позволяющий осуществлять взаимный контроль двух или нескольких видов документов, связанных между собой единством операций, а кроме того, способ, с помощью которого осуществляется сопоставление отдельных экземпляров одного и того же документа, находящихся в разных организациях, а также документов, связанных между собой одной и той же хозяйственной операцией (например, накладная, путевой лист, пропуск на вызов груза и т. д.).

Процедура (методика) проведения исследований в рамках судебно-бухгалтерской экспертизы, по мнению многих авторов, рассматривающих исследуемую тему, это совокупность способов и приемов, применяемых экспертом-экономистом при исследовании элементов предмета экспертизы.

Объекты исследования судебно-экономической экспертизы - содержащиеся в материалах уголовного дела материальные (бумажные) носители сведений, относящихся к предмету судебно-экономической экспертизы. Объекты исследования делятся на следующие виды:

первичные учетные документы, первичные распорядительные документы, являющиеся основанием для отражения в бухгалтерском и налоговом учете и отчетности;

регистры бухгалтерского учета (аналитического и синтетического) - журналы- ордера, оборотно-сальдовые ведомости, главная книга и т. д.;

документы и регистры налогового учета (составленные в соответствии с требованиями Налогового кодекса РФ и утвержденные учетной политикой предприятия);

регистры учета индивидуального предпринимателя;

бухгалтерская отчетность, отчетность по налогам и сборам;

а также, что наиболее важно для судебно-бухгалтерской экспертизы, иные материалы уголовного дела, содержащие фактические данные, в частности, протоколы допросов, протоколы следственных действий (осмотров помещения, изъятия документов), протоколы очных ставок, объяснительные, составленные в рамках проведенных налоговых проверок и в рамках проведения следственных действий.

Необходимо при подготовке документов к исследованию обращать внимание на сопоставимость периода исследования и периода действия предоставляемых локальных нормативных актов. При отсутствии по тем или иным причинам регистров бухгалтерского учета (главной книги, журналов-ордеров) для исследования могут быть направлены данные соответствующим образом подобранных первичных документов. Например, платежные поручения группируются в хронологическом порядке с приложением счетов-фактур, накладных и иных документов. Выписки банка должны соответствовать данным баланса и регистрам учета самого банка.

В ряде случаев при даче заключения эксперты используют информацию из других материалов дела (протоколов допросов, протоколов осмотра, иных документов - деловой переписки, справок и т. п.). В зависимости от задач, требующих решения в ходе конкретного экспертного исследования, а также от того, какие учетные показатели вызывают сомнение лица, назначившего экспертизу, должен быть предоставлен соответствующий круг документов, который обеспечит всестороннее исследование.

В случае назначения дополнительной или повторной экспертизы, помимо указанных выше материалов, в экспертное учреждение представляются заключения предыдущих экспертиз со всеми приложениями, а также дополнительные материалы, относящиеся к предмету экспертизы, поступившие в распоряжение органа, назначившего ее, после дачи первичного заключения. Эксперт формулирует свои выводы, основываясь на знании экономической науки и налогового законодательства, но юридическая квалификация фактов нарушения налогового законодательства относится к компетенции следствия.

В ходе производства экспертизы эксперт может воспользоваться правом на переформулирование вопросов, не изменяя их смысла, а при необходимости обратиться к лицу, назначившему экспертизу, за разъяснением их содержания. Это право закреплено за экспертом экспертно-криминалистических подразделений МВД РФ.

Свободная предпринимательская деятельность в современных условиях рыночной экономики обусловила коренные изменения как в теоретическом представлении об ущербе от преступных посягательств (правонарушений, нарушений договорных отношений), так и в методических подходах к его определению. В этой связи основным методом определения ущерба становится экономический анализ бухгалтерской отчетности по правилам научного логического мышления в процессе познания предмета.

Ход и результаты экспертного исследования оформляются специальным процессуальным документом - заключением эксперта, которое является самостоятельным видом судебных доказательств, предусмотренных законом. Заключение эксперта всегда дается в письменном виде, оно состоит из вводной, исследовательской части, в которой указывается конкретная методика, расчет и выявленная сумма нарушения законодательства по результатам проведения экспертизы, а также выводов. В третьей части заключения (выводы) излагаются ответы на вопросы, поставленные перед экспертом. Каждый вывод должен содержать выявленные факты. Выводы могут быть категорические и вероятные (предположительные). Материалы, иллюстрирующие экспертное заключение и его результаты, прилагаются к заключению и служат его составной частью. Материалы о ходе и условиях экспертного исследования сохраняются в судебно-экспертном учреждении. По требованию органа или лица, назначившего экспертизу, они представляются для приобщения к делу.

Доказательственное значение экспертизы утрачивается, если при ее проведении игнорируется хотя бы один из признаков, характеризующих ее правовую природу (отсутствует логический процесс познания, не соблюдается процессуальная форма, нарушается процессуальный порядок получения и исследования доказательственной информации).

Эксперт как процессуальное лицо в соответствии со ст. 307 Уголовного кодекса РФ несет уголовную ответственность за заведомо ложные заключение или показания. Поэтому, прежде чем приступить к производству экспертизы, эксперт дает подписку о том, что он ознакомлен со своими правами и предупрежден об уголовной ответственности.

Анализируя современное состояние судебной бухгалтерии, можно утверждать, что ее ожидают существенные изменения, прежде всего связанные с переводом всего бухгалтерского учета и аудита на международные стандарты. Переход на МСФО изменяет как принципы подготовки самой финансовой отчетности, так и принципы контроля ее качества и аудита.

.2 Становление и развитие судебно-бухгалтерской экспертизы в России

Хозяйственный учет возник значительно раньше, чем суды, но в судах, когда они появились, данные учета использовались очень широко. Считается, что хозяйственный учет возник примерно 6 тыс. лет назад. Он фиксировал факты хозяйственной жизни, т.е. действия и события, которые влекут или могут повлечь за собой юридические последствия. Эта фиксация предполагает осуществление контроля за действиями администрации, принимающей решения, связанные с управлением организацией. Основными средствами контроля изначально выступали: инвентаризация, которая позволяла констатировать реальное положение дел, и документация - их письменное, информационное, как бы мы теперь сказали, обоснование. Эти приемы и стали базой для последующих их судебных исследований. Именно эти документы и составили то, что в дальнейшем получило название «судебная бухгалтерия».

С развитием экономических отношений совершенствовался и учет как надстройка общественной формации, повышалось его значение в доказательствах имущественной ответственности. Так, в Средневековье возникла профессия путешествующего писца, они за плату составляли отчеты и выступали представителями разного рода в судебных инстанциях при рассмотрении имущественных споров. В это же время усовершенствуется форма учета - возникает двойная бухгалтерия, издаются книги по бухгалтерскому учету.

Примерно в XIII в. в связи с судебными разбирательствами бухгалтеры стали выступать в суде как эксперты. При этом уже проводилось различие между экспертом in testes - беспристрастным собирателем доказательств и экспертом boni instructores judicis - помощником судьи в принятии решений.

Юридический подход к бухгалтерскому учету привел к формированию его персоналистической теории, согласно которой объектом бухгалтерского учета выступают не предметы (недвижимость, товары, материалы, деньги), а права и обязательства субъектов хозяйственной деятельности. Тем самым бухгалтера обязывали учитывать правоотношения, с одной стороны, между собственником предприятия и администратором и между администратором и агентами (лицами, находящимися в штате предприятия), а также корреспондентами (физическими и юридическими лицами, не состоящими в штате), с другой стороны. Юридическая интерпретация бухгалтерского учета была связана также с тем, что в судах документы рассматривали и трактовали юристы.

Развитие товарно-денежных отношений в условиях капиталистического общества содействовало повышению качества и достоверности бухгалтерского учета в конкурентной борьбе фирм и корпораций, использованию данных учета частной собственности и ее роста. Появились бухгалтерские фирмы, которые проводили контрольные проверки состояния учета и достоверности отчетности, выдавали специальные сертификаты, в которых указывалось, можно ли данные бухгалтерского учета использовать при исчислении налогов, решении имущественных дел в суде, распределении прибыли по акциям и т.д. Судебная практика в капиталистическом обществе широко использовала выводы экспертов-бухгалтеров при рассмотрении дел, которые касаются финансовых отношений, возмещения убытков, уплаты пени, неустоек и т.д.

Современная судебная бухгалтерия в нашей стране стала следствием великой судебной реформы в 1864 г. В конце XIX в. и начале XX в. бухгалтерский учет и бухгалтерская экспертиза получают широкое признание в обществе. Бухгалтерская экспертиза, да и сам учет требовали все более и более квалифицированных работников, и в стране дважды (в 1889-м и 1910 г.) делались попытки создать по английским образцам Институт присяжных бухгалтеров - профессиональное объединение счетных работников.

Начиная с первых лет существования советской власти, органы расследования и суды широко использовали результаты судебно-бухгалтерской экспертизы при расследовании уголовных и гражданских дел. Декретом о судах Совнарком РСФСР в 1918 г. предоставил судам право при рассмотрении гражданских дел, которые требуют специальных знаний, по своему решению приглашать специалистов в свой состав с правом соглашательного голоса.

Назначение экспертизы и процессуальное положение эксперта определялись Уголовно-процессуальным кодексом РСФСР от 23 февраля 1923 г. В нем указывалось, что эксперты вызываются в случаях, когда при расследовании или рассмотрении дел необходимы специальные знания в науке, искусстве или ремесле. При этом вывод эксперта определялся как юридическое доказательство.

Для обеспечения надлежащего качества судебно- бухгалтерских экспертиз важно, чтобы они не проводились изолированно специалистами, даже если они профессионалы. Необходимо, чтобы проведение экспертизы контролировалось, материалы экспертиз анализировались, обсуждались, а положительный опыт передавался другим экспертам-бухгалтерам. Однако высокое качество судебно-бухгалтерской экспертизы не может быть обеспечено без овладения экспертом-бухгалтером юридическими знаниями, особенно процессуальное право. Это обусловило создание специальных учреждений судебно- бухгалтерской экспертизы, которые имеют в своем составе высококвалифицированных специалистов по бухгалтерскому учету, анализу и контролю.

Уже в 1920-х гг. создаются разные профессиональные организации работников учета. В Москве и Петрограде впервые были созданы различные общественные организации работников учета, одной из задач которых было производство судебно-бухгалтерских экспертиз. Наиболее важным шагом в организации судебно-бухгалтерской экспертизы было создание в 1925 г. Института государственных бухгалтеров-экспертов (ИГБЭ) при Народном комиссариате Рабоче-крестьянской инспекции СССР с широкой сетью местных органов (республиканских, губернских, окружных и уездных).

Считается, что до 1925 г. органы дознания или суд просто назначали экспертов из числа работающих в данном регионе главных бухгалтеров, а специалистов в области судебной бухгалтерии не было. Сотрудники этого института пользовались исключительным правом при даче заключения по требованию государственных органов по всем вопросам счетоводства, счетоведения и отчетности. В то же время данная норма права не получила практического применения. Это было связано с двумя обстоятельствами. Во-первых, она противоречила действовавшему процессуальному законодательству, согласно которому следователю и суду предоставлялось право назначать эксперта по своему выбору. Во-вторых, большинство сотрудников института одновременно состояло на службе в других государственных и общественных организациях.

В 1925-1930-х гг. были созданы отделы работников учета при московском и ряде других областных отделов профсоюза советских и торговых служащих. Для этих объединений ИГБЭ был как бы бухгалтерской инспекцией, и 1 июня 1930 г. ИГБЭ Постановлением Совета народных комиссаров СССР был ликвидирован. 23 ноября 1931 г. решением ВЦСПС ОРУ было реорганизовано во Всесоюзное общество содействия социалистическому учету (ВОССУ). И все права на проведение бухгалтерской экспертизы перешли сначала к ОРУ, а потом - к ВОССУ. Сосредоточение судебно-бухгалтерских экспертиз в одной организации оказало положительное влияние как на подготовку кадров экспертов-бухгалтеров, так и на производство судебно-бухгалтерской экспертизы. В этот период появляются первые методические пособия по вопросам судебно-бухгалтерской экспертизы. В частности, в 1935 г. Институтом уголовной политики была разработана и опубликована методика по организации и проведению судебно-бухгалтерской экспертизы. В 1937 г. изданы методические указания по расследованию дел о краже и растрате средств в разных отраслях народного хозяйства.

В связи с ликвидацией в 1936 г. ВОСУ руководство судебно-бухгалтерской экспертизой было возложено на созданное при Прокуратуре СССР Центральное бюро судебно-бухгалтерской экспертизы с филиалами на местах. Это положило начало существованию в СССР специализированного учреждения. Его основной деятельностью стало проведение судебно-бухгалтерских экспертиз, обобщение передового опыта, разработка методологии и методики экспертного исследования, подготовка кадров экспертов-бухгалтеров и повышение их квалификации. К сожалению, в 1937 г. это учреждение было передано в ведение Народного комиссариата юстиции, а в 1938 г. ликвидировано. 11 октября 1938 г. следственным органам и судам, в сущности, было возвращено право самим находить «сведущих лиц» и привлекать их в качестве экспертов. И только в 1952 г. при Министерстве финансов СССР было создано Бюро государственной бухгалтерской экспертизы (ГБЭ) с филиалами при министерствах союзных и автономных республик, а также при краевых и областных финансовых управлениях, при финансовых управлениях Москвы и Ленинграда. На Бюро ГБЭ и его филиалы было возложено проведение бухгалтерской экспертизы по уголовным и гражданским делам по заданию органов расследования, прокуратуры и суда. В 1957 г. Бюро ГБЭ при Министерстве финансов СССР было ликвидировано, а его филиалы при министерствах финансов союзных республик преобразованы в самостоятельные Бюро ГБЭ. Филиалы Бюро на местах были сохранены. Бюро ГБЭ при Министерстве финансов РСФСР по-прежнему разрабатывало вопросы теории и практики производства судебно-бухгалтерских экспертиз (издало, в частности, 12 методических пособий и писем). На него возлагалось проведение бухгалтерских экспертиз как по уголовным, так и по гражданским делам, рассматриваемым судами и арбитражем. В 1962 г. учреждения бухгалтерской экспертизы были переданы в систему министерств юстиции союзных республик. В ряде мест действовали бюро бухгалтерской экспертизы при научно-исследовательских институтах или при университетах. Бюро и их филиалы руководствовались нормами соответствующей союзной республики. Непосредственно их деятельность регламентировалась положениями об экспертном учреждении и инструкциями. Такая организация судебно-бухгалтерской экспертизы улучшила юридическое обоснование заключений экспертов-бухгалтеров.

В РСФСР был создан Центральный научно-исследовательский институт судебной экспертизы (ЦНИИСЭ), которому была подчинена основная часть бюро судебной экспертизы и научно-исследовательские лаборатории судебных экспертиз, в составе которых были бюро бухгалтерской экспертизы. Остальными бюро бухгалтерской экспертизы и ЦНИИСЭ руководил непосредственно отдел судебных экспертиз Юридической комиссии при Совете министров РСФСР. Во ВНИИСЭ была создана лаборатория бухгалтерской экспертизы, преобразованная в дальнейшем в научно-исследовательский отдел бухгалтерской экспертизы. Он разрабатывает научные методы судебно-бухгалтерской экспертизы и методические письма по вопросам ее производства. С организацией в сентябре 1970 г. Министерства юстиции СССР и министерств юстиции союзных республик все учреждения бухгалтерской экспертизы были переданы министерствам юстиции. В министерствах юстиции были созданы отделы судебных экспертиз, которые руководили периферийными учреждениями бухгалтерской экспертизы. В РСФСР отделы или группы бухгалтерской экспертизы были организованы в научно-исследовательских криминалистических лабораториях.

В 1990 г. ГБЭ при Министерстве юстиции РФ (Минюст РФ) было включено в состав Института судебных экспертиз того же министерства. В 1991 г. Всесоюзный институт судебной экспертизы был преобразован во Всероссийский, а в 1995 г. - Российский федеральный центр судебной экспертизы (РФЦЭ). В 1991-93 гг. продолжался процесс создания региональных НИЛСЭ и преобразования их отделов в самостоятельные лаборатории судебной экспертизы. В структуре созданной Федеральной службы налоговой полиции РФ были созданы специализированные отделы по производству судебно-экономических экспертиз по экономическим преступлениям в сфере налогов и налогообложения. В последующем появляется новое направление экономических экспертиз - налоговая экспертиза.

В настоящее время, согласно Положению о Минюсте РФ, утвержденному Указом Президента РФ 2 августа 1999 г., Минюст РФ в отношении экспертных учреждений осуществляет организационное и методическое руководство их деятельностью. Эта функция реализуется через Отдел экспертных учреждений как самостоятельное структурное подразделение Минюста РФ. Как свидетельствует практика, слияние всех экономических экспертиз в одном подразделении снижает качество бухгалтерских экспертиз, которые занимают самый большой удельный вес в рассматриваемых и уголовных, и гражданских, и арбитражных делах, связанных с вопросами экономики.

аффилированные лица;

условные обязательства и доходы;

экономические выгоды;

события после отчетной даты;

условные факты хозяйственной жизни;

отложенные налоговые активы и обязательства;

постоянные и временные разницы и др.

Содействуя укреплению государственной законности, а также активно влияя на вскрытие и устранение причин бесхозяйственности, возмещение причиненного ущерба, судебно-бухгалтерская экспертиза вместе с тем помогает усовершенствовать финансово-экономические отношения хозяйствующих субъектов в условиях рынка.

.3 Различия судебно-бухгалтерской экспертизы и внешней аудиторской проверки

Как известно, судебно-бухгалтерская экспертиза применяется в рамках гражданского, арбитражного или уголовного судопроизводства и назначается при необходимости использования специальных познаний для исследования хозяйственных операций, отраженных в документах конкретного дела.

Объект судебно-бухгалтерской экспертизы - хозяйственные операции, отражающие определенные стороны финансово-хозяйственной деятельности организации и зафиксированные в бухгалтерских документах организации.

Предмет судебно-бухгалтерской экспертизы - фактические нарушения установленного порядка проведения хозяйственных операций, имеющие отношение к рассматриваемому делу.

Основные задачи, решаемые при проведении судеб- но-бухгалтерской экспертизы:

подтверждение факта недостач или излишков товарно-материальных ценностей и денежных средств, а также установление их размера, времени и места возникновения;

подтверждение обоснованности списания материалов, готовой продукции и товаров;

определение соответствия совершенных операций нормам закона; подтверждение, совершались ли хозяйственные операции в пределах и по правилам, установленным нормативными актами;

установление условий, которые привели к материальному ущербу или препятствовали своевременному его выявлению;

определение размера материального ущерба, причиненного в результате совершенных нарушений;

определение круга лиц, обязанных обеспечивать соблюдение требований ведения бухгалтерского

учета и контроля, нарушение которых привело к недостаче или хищению;

установление недостатков и нарушений в ведении бухгалтерского учета и контроля, которые способствовали совершению преступления;

подтверждение правильности документального оформления отраженных в бухгалтерском учете хозяйственных операций и соответствие бухгалтерских данных показаниям лиц, проходящих (участвующих) по делу.

Поскольку вопросы, поставленные на разрешение судебно-бухгалтерской экспертизы, определяется судом или следователем, эксперт-бухгалтер не может отвечать на иные вопросы, не имеет права использовать в процессе исследования какие-либо дополнительные документы, кроме представленных, а так же не имеет право самостоятельно контактировать с участниками следственного процесса по обстоятельствам расследуемого дела.

К особым приемам, используемым при производстве судебно-бухгалтерской экспертизе, относится исследование доброкачественности документов с целью выявления подложных, фальсифицированных.

Заключение эксперта-бухгалтера используется следственными органами или судом в совокупности с другими доказательствами по рассматриваемому делу для установления наличия или отсутствия обстоятельств, имеющих значение для правильного разрешения дела и принятия решений, основанных на законе (ст. 55 ГПК РФ, ст. 64 АПК РФ).

Таким образом, судебно-бухгалтерская экспертиза - это деятельность специалистов в области бухгалтерского учета по исследованию конкретных материалов и документов для установления наличия или отсутствия обстоятельств, имеющих значение в связи с рассмотрением (расследованием) гражданского или уголовного дела.

Аудиторская проверка - это деятельность специалистов в области бухгалтерского учета по сбору широкой информации, необходимой для оценки достоверности финансовой отчетности организаций, предназначенной широкому кругу пользователей.

Внешний аудит проводится независимой аудиторской организацией или индивидуальным аудитором на договорной основе с экономическим субъектом. В Российской Федерации, с точки зрения направленности аудиторской деятельности и отраслевых особенностей, подразделяется на: общий аудит, страховой аудит, аудит банков, аудит бирж, аудит внебюджетных фондов, аудит инвестиционных фондов.

Объектом аудиторской проверки является хозяйственная деятельность экономического субъекта, отраженная в бухгалтерском учете и финансовой (бухгалтерской) отчетности.

Предметом аудита является достоверность финансовой отчётности, т.е. полнота и оценки фактов хозяйственной деятельности, хозяйственных операций и финансовых результатов организации за отчетный период.

Задачи аудиторской проверки:

соблюдение установленных системой нормативного регулирования бухгалтерского учета и заявленных в учетной политике: методики оценки активов, обязательств и собственного капитала;

установление полноты и точности отражения на бухгалтерских счетах и в учетных регистрах имущества, обязательств и хозяйственных операций;

соблюдение порядка составления бухгалтерской (финансовой) отчетности.

Аудиторская проверка проводится по общему плану аудиторской проверки, в которой отражается её предстоящий объём, контрольные мероприятия по проверке качества работы. По каждому виду работ указываются исполнители и сроки проведения. Аудиторская проверка носит выборочный характер, поскольку проводится в ограниченный период времени; при этом при аудите, в отличие от другой формы контроля, указываются не все, а только существенные искажения в учете. Аудитор обладает широкими правами по сбору информации, необходимой для решения стоящих перед ним задач.

Итоговым документом аудиторской проверки становится аудиторское заключение, в котором выражается мнение о достоверности финансовой (бухгалтерской) отчётности исследуемой организации.

Аудиторское заключение используется в качестве информационного источника для:

внутренних пользователей (собственники, учредители, управленческий персонал);

сторонних пользователей с прямым финансовым интересов (потенциальные инвесторы, банки, поставщики, кредиторы и другие участники хозяйственных взаимоотношений).

Таким образом, бухгалтерские первичные, учетные и отчетные документы организации являются объектом нескольких видов контроля, каждому из которых присущи разные цели и задачи, что предопределяет их различия.

Невозможность использования одного вида исследования бухгалтерских документов вместо другого обусловлено совокупностью ограничений, определённых для лица, проводящего такое исследование. Действительно, выборочный характер исследования аудитора не может претендовать на абсолютную точность, которая необходима для правильного разрешения гражданского или уголовного дела (например, определения суммы недостачи). В тоже время эксперт, являясь процессуальным лицом, не может заниматься сбором необходимой экономической информации по исследуемому объекту, как аудитор.

Резюмируя вышеизложенное, можно сделать вывод, что принципиальное отличие судебно-бухгалтерской экспертизы от аудиторской проверки состоит в том, что судебно-бухгалтерская экспертиза связана с процессуальными отношениями, которые возникают в ходе судебного рассмотрения (или предварительного расследования) конкретных гражданских, арбитражных или уголовных дел, а аудиторская проверка строится на отношениях равноправия сторон, регулируемых нормами гражданского материального права.

Глава 2. МЕТОДЫ ПРОВЕДЕНИЯ СУДЕБНО БУХГАЛТЕРСКОЙ ЭКСПЕРТИЗЫ

.1 Систематизация информации и документов, предоставляемых для экспертного исследования

экономической экспертизы - это специфические приемы экспертного исследования, разработанные на основе достижений практики, а также развития экономической науки. Это документальные, расчетно-аналитические методы, а также метод обобщения и реализации результатов экспертизы.

Документальные приемы - это исследование учетных документов, оценка этих документов, проверка нормативной правовой базы их составления и т.д. Применяют названные методические приемы при условии, что возник ущерб от хозяйственных операций, которые отображены в первичной документации, регистрах бухгалтерского учета и отчетности. Эти первичные документы стали объектами расследования правоохранительными органами.

К расчетно-аналитическим приемам относятся, прежде всего, экономический анализ, статистические расчеты, экономико-математические методы. Экономический анализ - система научных приемов, используемых в экономической экспертизе для выявления причинных связей, обусловивших несоответствие хозяйственных операций и процессов требованиям законодательства, которые стали объектами расследования правоохранительными органами. Статистические расчеты - приемы, с помощью которых экспертиза может определить качественные и количественные характеристики исследуемых хозяйственных операций и процессов, не содержащихся непосредственно в исходной экономической информации (бухгалтерском балансе, расчетных ведомостях на заработную плату и т.п.). Применяются они при необходимости произвести уточнения приближенных величин и перейти от одних величин к более точным характеристикам количественных связей и отношений.

Экономико-математические методы применяются в бухгалтерской экспертизе при установлении факторов, влияющих на результаты хозяйственной деятельности, с тем чтобы учесть их на стадии исследования общих результатов работы организаций.

Методы судебно-экономической экспертизы - способы и приемы, принимаемые экспертом-экономистом при проведении экономико-экспертных исследований.

Формальная проверка документа - способ, с помощью которого эксперт может установить наличие и правильность заполнения необходимых реквизитов (показателей). Каждый документ должен отражать оформленную им операцию. Форма документа предусматривает обычно все необходимые показатели, характеризующие качественные и количественные особенности данной операции. Такая характеристика достигается путем заполнения всех реквизитов документа, которые дают возможность контролировать совершенные операции. Для этого проводится визуальный осмотр документа и его анализ. В процессе визуального осмотра устанавливается факт наличия или отсутствия соответствующих реквизитов (например, название документа, дата его заполнения, порядковый номер и.т.д.), выявляются нарушения формальных требований заполнения и разного рода отклонения от правил оформления хозяйственных операций.

Арифметическая проверка документа - способ, применение которого позволяет произвести подсчет итоговых показателей в конкретном документе и включает в себя простейшие арифметические действия.

Нормативная проверка документов - способ, позволяющий установить правильность операций, отраженных в документах. Эксперт-бухгалтер анализирует соответствие содержания документов правилам, зафиксированным в законодательных нормах. Нормативная проверка документов применяется в тех случаях, когда под сомнение поставлена обоснованность проведения самой хозяйственной операции и отражения операций в бухучете, что позволяет выявить среди документов незаконные по содержанию, но правильные по форме.

Сопоставление документов (встречная проверка документов) - способ, позволяющий осуществлять взаимный контроль двух или нескольких видов документов, связанных между собой единством операций, способ, с помощью которого осуществляется сопоставление отдельных экземпляров одного и того же документа, находящихся в разных организациях, а также документов, связанных между собой одной и той же хозяйственной операцией (например, накладная, путевой лист, пропуск на вывоз груза и т.д.).

Процедура (методика) проведения исследований в рамках судебно-бухгалтерской экспертизы, по мнению многих авторов, рассматривающих исследуемую тему, это совокупность способов и приемов, применяемых экспертом-экономистом при исследовании элементов предмета экспертизы.

Методика проведения экспертизы включает в себя следующие последовательно выполняемые действия:

ознакомление со всеми материалами уголовного дела, представленными для производства экспертизы;

анализ достаточности объектов исследования (материалов уголовного дела), предоставленных лицом, назначившим экспертизу для разрешения поставленных вопросов и выдачи заключения;

выяснение возможности выдачи полного и обоснованного заключения по поставленным вопросам, определение степени категоричности выводов;

рассмотрение экономического содержания хозяйственных операций, сведения о которых содержатся в представленных материалах;

установление фактического выполнения исследуемыми лицами, положений соответствующих отраслей законодательства;

исследование и разрешение вопросов;

составление заключения.

Объекты исследования судебно-экономической экспертизы - содержащиеся в материалах уголовного дела материальные (бумажные) носители сведений, относящихся к предмету судебно-экономической экспертизы. Объекты исследования делятся на следующие виды:

первичные учетные документы, первичные распорядительные документы, являющиеся основанием для отражения в бухгалтерском и налоговом учете и отчетности;

регистры бухгалтерского учета (аналитического и синтетического), т.е. журналы-ордера, оборотно-сальдовые ведомости, главная книга и т.д.;

документы и регистры налогового учета (составленные в соответствии с требованиями Налогового кодекса Российской Федерации (далее - НК) и утвержденные в учетной политике предприятия);

регистры учета индивидуального предпринимателя;

бухгалтерская отчетность, отчетность по налогам и сборам;

а также, что наиболее важно для судебно-бухгалтерской экспертизы, иные материалы уголовного дела, содержащие фактические данные, это, в частности, протоколы допросов, протоколы следственных действий (осмотров помещения, изъятия документов), протоколы очных ставок, объяснительные, составленные в рамках проведенных налоговых проверок и в рамках проведения следственных действий.

Необходимо при подготовке документов на исследование обращать внимание на сопоставимость периода исследования и периода действия предоставляемых локальных нормативных актов. Например, в случае, если исследуемый период - 2010, 2011, 2012 год, то и документы (приказ об утверждении учетной политике, положение об оплате труда и т.д.), должны быть за этот же период либо утвержденные ранее, но с продленным сроком действия.

В ряде случаев при даче заключения эксперты используют информацию из других материалов дела (протоколов допросов, протоколов осмотра, иных документов - деловой переписки, справок и т.п.). В зависимости от задач, требующих решения в ходе конкретного экспертного исследования, а также от того, какие учетные показатели вызывают сомнение, лица, назначившего экспертизу, должен быть предоставлен такой круг документов, который обеспечит всесторонне исследование.

В случае назначения дополнительной или повторной экспертизы, помимо указанных выше материалов, в экспертное учреждение представляются заключения предыдущих экспертиз (либо сообщения о невозможности дачи заключения) со всеми приложениями, а также дополнительные материалы, относящиеся к предмету экспертизы, поступившие в распоряжение органа, назначившего ее, после дачи первичного заключения (сообщения о невозможности дачи заключения).

Необходимо обратить внимание на проблемы, возникающие при предоставлении документов (материалов дела), на экспертное исследование.

А) Норма предоставления материалов на экспертизу

Материалы, предоставляемые на экспертизу, должны быть упакованы, опечатаны. Данная норма закреплена в Экспертно-криминалистических подразделениях МВД России в п.15 Приказа МВД России от 29.06.2005 г. №511 «Вопросы организации производства судебных экспертиз в экспертно-криминалистических подразделениях органов внутренних дел Российской Федерации». Указанное требование не только позволяет исключить случаи потери объектов исследования, но и систематизировать информацию об учетных и распорядительных документах и в максимально сжатые сроки выявить недостающие документы для ответа на поставленные вопросы, а следовательно, и сократить сроки производства экспертизы.

Однако на практике не всегда материалы на экспертизу предоставляются в надлежащем виде. Документы предоставляются эксперту-бухгалтеру в виде многочисленных копий одного документа, либо документы могут не относиться к предмету экспертизы, например не предоставляются документы, содержащие учетные данные, показатели финансовой деятельности, данные налогового учета и отчетности. Бывают случаи предоставления документов не по исследуемому периоду (году, месяцу).

В практике проведения судебно-бухгалтерской экспертизы существуют две крайности:

некоторые следователи изымают и приобщают к уголовному делу все документы, которые удалось обнаружить в организации, за период работы подозреваемых (обвиняемых) в совершении преступления, то есть лицо, назначившее экспертизу, направляет эксперту все изъятые документы без должной и необходимой систематизации;

другие ограничиваются исследованием и приобщением к делу лишь тех документов, в которых есть следы подлога.

В первом случае объем уголовного дела неоправданно увеличивается за счет не имеющих никакого значения для доказывания документов, затрудняя исследование собранных доказательств прокурором и судом.

Во втором - создаются условия для выдвижения участниками процесса в суде различных версий, которые невозможно проверить без исследования взаимосвязанных документов, отсутствующих в материалах дела. Суд оказывается перед необходимостью истребовать дополнительные документы, которые к этому времени могут быть уничтожены либо фальсифицированы.

Решить эту проблему поможет привлечение специалиста-бухгалтера при производстве обыска и выемки тех письменных источников информации, которые отражают теневую сферу проверяемого предприятия и изъятии самых нужных, информативных документов из огромного объема всей документации предприятия.

В практике нередко случается, что следователи предоставляют экспертам большое количество материалов, не проверяя их на относимость, допустимость, достоверность, считая это прерогативой экспертов как более компетентных в вопросах экономики. В действительности нормами закона (ст. 87, 88 УПК Российской Федерации) закреплена прямая обязанность следователя проверки материалов дела. Неисполнение этой обязанности может привести:

а)либо к некачественному исследованию эксперта, поскольку он должен исследовать все представленные ему материалы, полагаясь на их относимость, допустимость и достоверность;

б)либо к невозможности дать заключение экспертом из-за противоречивости данных, указанных в различных документах и регистрах бухгалтерского учета.

Б) Опись документов, представляемых на исследование

Поскольку материалы, представляемые на судебно- бухгалтерскую экспертизу, как правило, многообъектные, то, во избежание разногласий, основным требованием является обязательная опись документов, представляемых на исследование. После вскрытия упаковки эксперт проводит сверку объектов по описи с их перечнем в постановлении о назначении экспертизы. После чего выясняет, достаточен ли для дачи заключения объем имеющихся в его распоряжении материалов. В случае неполноты поступивших материалов эксперт сообщает следователю о необходимости представления дополнительных материалов путем направления в письменной форме соответствующего ходатайства либо отказывается от дачи заключения.

При получении отрицательного ответа на ходатайство эксперт проводит экспертизу по имеющимся материалам или возвращает их с указанием причин о невозможности дачи заключения. Необходимо отметить, что сообщение (акт) о невозможности дачи заключения оформляется в случаях, если не представляется возможным ответить ни на один из вопросов, поставленных на разрешение эксперта. Недостаточность материалов ставит под сомнение категоричность полученных экспертом выводов, их правильность и обоснованность.

В) Определении достоверности информации

При определении достоверности информации, содержащейся в объектах исследования, распространено, заблуждение экспертов о том, что если в том или ином документе, представленном как объект исследования, отсутствует один или несколько реквизитов, например - подпись должностного лица в товаросопроводительном или кассовом документе, то использовать данный документ при проведении исследования нельзя. Это является нарушением проведения судеб- но-бухгалтерской экспертизы.

В данном случае экспертом-бухгалтером не принимается во внимание, что оценка относимости, допустимости и достоверности доказательства (как сказано выше), исключительная компетенция следователя. Нельзя утверждать, что если приходный кассовый ордер оформлен неправильно (с нарушениями требований законодательства) или вовсе не составлен, то оплаты не было. Данный документ обязательно должен быть рассмотрен в экспертном исследовании при условии его приобщения к материалам дела следователем. Однако в экспертном заключении необходимо оговорить нарушения оформления данного документа.

Однако взаимодействие следователя и эксперта становится особенно актуальным, когда в деле имеются материалы чернового учета (черная бухгалтерия), либо черновые записи, сведения из которых без обязательного их процессуального закрепления с точки зрения относимости и допустимости экспертом-бухгалтером самостоятельно не могут быть приняты во внимание в качестве объектов исследования.

.2 Разграничение компетенции между следователем и экспертом

Вторая важная проблема проведения судебно-бухгалтерской экспертизы состоит в следующем.

Как самостоятельный источник доказательств судебно-экономическая экспертиза использует средства экономического анализа исходных данных, содержащихся в доказательствах, приобщенных к делу. Следователь, прокурор, судья, рассматривая дела о хищениях, налоговых правонарушениях, споры экономического характера между хозяйствующими субъектами и гражданами, исследуют финансовые, учетные документы, поэтому им необходимо знание методов исследования экономических, финансовых данных и данных бухгалтерского учета. Без этого невозможно самостоятельно проводить работу по расследованию хищений, налоговых преступлений и т.д., контролировать полноту и всесторонность исследования материалов уголовного дела, осуществляемого экспертом. На практике зачастую следователи, расследующие экономические преступления, не обладают минимальными экономическими знаниями.

Это приводит к тому, что в постановлении о назначении экспертизы перед экспертом ставятся вопросы справочного характера, не требующие проведения исследований с использованием экспертных методов. Однако на эти вопросы следователь может ответить и самостоятельно обратившись к Налоговому кодексу Российской Федерации или справочным материалам, например:

определить сроки уплаты налогов, сборов и платежей в бюджеты по предприятию А;

как производится расчет налога на прибыль (либо НДС, либо другого налога)?

в каком размере должны уплачиваться налоги и сборы предприятием Б? (В данном случае необходимо четко сформулировать вопрос: какова сумма начисленных налогов либо какова сумма уплаченных налогов, либо какова задолженность предприятия по налогам и сборам);

требуется ли лицензия для занятия какой-либо деятельностью?

Ряд вопросов, поставленных следователем на разрешение эксперта, не относится к предмету экономической экспертизы. Задаются правовые вопросы, относящиеся к исключительной компетенции следствия и суда, в том числе связанные с правовой оценкой действий лиц. Но, как мы выяснили выше, эксперт-бухгалтер обязан установить факты, имеющие значение для дела, посредством применения специальных экономических познаний к практической ситуации, научного исследования информации, содержащейся в материалах уголовного дела. Эксперт формулирует свои выводы, основываясь на знании экономической науки и налогового законодательства, а юридическая квалификация фактов нарушения налогового законодательства относится к компетенции следствия.

Эксперт-бухгалтер не должен проводить оценок из области права по конкретному делу. Он не должен вторгаться в сферу юридической квалификации деяний конкретных лиц.

Примеры подобных вопросов, которые задаются на практике следственными органами экспертам бухгалтерам:

причинен ли ущерб работникам предприятия, его кредиторам, учредителям, действиями (бездействиями) генерального директора?

включались ли в бухгалтерскую отчетность предприятия по устному или письменному указанию директора, заведомо ложные сведения о доходах или расходах в указанный период?

Очевидно, что при разрешении этих вопросов следователь самостоятельно должен давать ответ на основании результатов расследования. Фактически в данном случае эксперт-бухгалтер выполняет роль ассистента у следователя, прокурора или судьи при решении вопросов, относящихся к компетенции последних.

Таким образом, от понимания следственными органами, а также другими лицами, назначающими проведение судебно-бухгалтерской экспертизы, задач и методов проведения указанной экспертизы зависит качество расследования преступлений в сфере экономики.

Решение указанной проблемы видится в использовании доэкспертной (до вынесения постановления о назначении экспертизы) оценки материалов уголовного дела экспертом. Эксперт-бухгалтер может оценить материалы и предложить следователю корректную (экономически правильную) форму вопроса. Участие эксперта-бухгалтера в качестве специалиста (что допускается законом) на следственном осмотре документов, использованных для совершения преступления, поможет следователю выявить неправильное заполнение отдельных реквизитов либо в целом документа. Специалист, присутствуя при допросах свидетелей, подозреваемых, обвиняемых, при производстве очных ставок поможет выявить и зафиксировать в протоколах полноту обстоятельств совершения преступления, связанного с учетным процессом.

В ходе производства экспертизы эксперт может воспользоваться правом на переформулирование вопросов, не изменяя их смысла, а при необходимости обратиться к лицу, назначившему экспертизу, за разъяснением их содержания. Это право закреплено за экспертом экспертно-криминалистических подразделений МВД России в п. 30 Приказа МВД России от 29.06.2005 г. №511 «Вопросы организации производства судебных экспертиз в экспертно-криминалистических подразделениях органов внутренних дел Российской Федерации».

Необходимо упразднить практику назначения судебно-бухгалтерских экспертиз, фактически подменяющих функции следователя, прокурора и судьи, придя вследствие этого к объективной необходимости неуклонного исполнения последними законодательно утвержденной обязанности всестороннего и объективного изучения и оценки доказательств, в том числе самостоятельной оценки актов налоговых проверок.

.3 Качество судебно-бухгалтерской экспертизы

Судебно-бухгалтерская экспертиза по налоговым преступлениям обычно назначается в целях подтверждения выводов акта налоговой проверки, проводимых органами налоговой или контрольно-ревизионной службы, и в довольно большом количестве случаев их полностью либо частично опровергает. Таким образом, дважды повторяется одно и то же действие, а именно анализ финансово-хозяйственной деятельности проверяемого субъекта (предприятия, предпринимателя, физического лица) налоговым инспектором, затем экспертом-бухгалтером. Анализируя сложившуюся практику как проведения судебно-бухгалтерских экспертиз, так и арбитражных судов, можно сделать вывод о том, что квалификация проверяющих налоговых инспекторов иногда бывает низка. Существует определенное количество совершения ими ошибок при выполнении своих профессиональных обязанностей.

На практике инспектор ФНС имеет право на занятие должности обычно при минимальных требованиях к своей квалификации (достаточно высшего (не всегда профильного) образования). Он полностью зависим в служебном отношении от своего руководства и не несет серьезной ответственности за результаты и качество проводимой проверки.

Эксперт-бухгалтер в системе Экспертно-криминалистической службы при МВД России проходит жесткую процедуру аттестации, законодательно защищен от попыток какого бы то ни было давления как со стороны руководства, так и с любой другой стороны на результаты производства экспертизы, и несет уголовную ответственность за ненадлежащее исполнение своих обязанностей. К тому же у заинтересованного лица (например, обвиняемого) всегда есть альтернатива - задекларированное законом право ходатайствовать о назначении независимой экспертизы.

Решение данной проблемы видится в повышении квалификационных требований к налоговым инспекторам и, что наиболее важно, в законодательном утверждении (о чем давно ведется речь на страницах печатных изданий) серьезного уровня ответственности налогового инспектора за некачественное осуществление проверки. Например, установить ответственность инспектора ФНС при наличии решения Высшего арбитражного суда, признающего полностью или частично незаконным решение по акту налоговой проверки. Но необходимо при этом также законодательно обеспечить профессиональную независимость налогового инспектора.

Предложенные действия позволят добиться сразу нескольких полезных результатов:

резко снизится количество некачественных проверок в целом, а следовательно, безосновательных уголовных дел;

отпадет необходимость в фактическом дублировании анализа финансово-хозяйственной деятельности проверяемых субъектов, а значит, снизятся общественно необходимые затраты на эту деятельность;

существенно сократятся сроки процессуальных действий и повысится качество принимаемых следователем, прокурором и судом решений.

Свободная предпринимательская деятельность в современных условиях рыночной экономики обусловила коренные изменения как в теоретическом представлении об ущербе от преступных посягательств (правонарушений, нарушений договорных отношений), так и в методических подходах к его определению. В этой связи основным методом определения ущерба становится, например экономический анализ бухгалтерской отчетности по правилам научного логического мышления в процессе познания предмета.

Ход и результаты экспертного исследования оформляются специальным процессуальным документом - заключением эксперта, которое является самостоятельным видом судебных доказательств, предусмотренных законом. Заключение эксперта всегда дается в письменном виде, оно состоит из вводной, исследовательской части, в которой указывается конкретная методика, расчет и выявленная сумма нарушения законодательства по результатам проведения экспертизы, а также выводов. В третьей части заключения (выводы) излагаются ответы на вопросы, поставленные на разрешение эксперта. Каждый вывод должен содержать выявленные факты. Выводы могут быть категорические и вероятные (предположительные).

Материалы, иллюстрирующие экспертное заключение и его результаты, прилагаются к заключению и служат его составной частью. Материалы о ходе и условиях экспертного исследования сохраняются в судебно-экспертном учреждении. По требованию органа или лица, назначившего экспертизу, они представляются для приобщения к делу.

Доказательственное значение экспертизы утрачивается, если при ее проведении игнорируется хотя бы один из признаков, характеризующих ее правовую природу (отсутствует логический процесс познания, не соблюдается процессуальная форма, нарушается процессуальный порядок получения и исследования доказательственной информации).

Глава 3. ПРАКТИКА ПРОВЕДЕНИЯ СУДЕБНО-БУХГАЛТЕРСКОЙ ЭКСПЕРТИЗЫ МЕТОДЫ ЕЕ ОПТИМИЗАЦИИ

.1 Практика проведения судебно-бухгалтерской экспертизы

В связи с рассмотрением проблемы роста налоговых преступлений возникает особая актуальность рассмотрения проведения судебно-бухгалтерской экспертизы по налоговым преступлениям. Налоговый учет обособляется от бухгалтерского, но по-прежнему основой для исчисления налогов являются данные бухгалтерского учета.

В ходе работы над статьей рассмотрены, проанализированы и обобщены материалы налоговых проверок и заключения судебно-бухгалтерской экспертизы по налоговым преступлениям. Изучены представления о специальных познаниях и проблемы эффективности их использования в расследовании налоговых преступлений и правонарушений.

Налоговые преступления неоднородны, они тесно связаны с налоговыми правонарушениями в силу требований Налогового кодекса как условия уголовной ответственности в зависимости от размеров сокрытия налогов и сборов.

Способы и методы сокрытия налогооблагаемой базы, уклонения от уплаты налогов очень разнообразны и изощрены, поэтому требуется тактическое, умелое и своевременное применение специальных бухгалтерских познаний при расследовании и предупреждении налоговых правонарушений и преступлений.

Налоговые преступления насчитывают многовековую историю, как и сами налоги. С годами способы их совершения, размеры неуплаты и сокрытия налогов, субъекты налоговых правонарушений и преступлений менялись. Не изменились только причины их совершения - они все те же: экономические, юридические, социальные и моральные.

В настоящее время вследствие проведения радикальной налоговой реформы изменились состав и размер налогов, что сказывается на состоянии экономики страны, развитии предпринимательства, благосостоянии населения.

Уголовный кодекс Российской Федерации содержит две статьи, предусматривающие ответственность за налоговые преступления:

уклонение от уплаты налогов и (или) сборов с физического лица (ст. 198);

уклонение от уплаты налогов и (или) сборов с организаций (ст. 199).

Федеральным законом от 08.12.2003 №162-ФЗ внесены изменения в статью 199 - появились два важных примечания (199.1. Неисполнение обязанностей налогового агента и 199.2. Сокрытие денежных средств либо имущества организации или индивидуального предпринимателя, за счет которых должно производиться взыскание налогов и (или) сборов).

В первом случае лицо осознает, что не исполняет свои обязанности налогового агента (по исчислению, удержанию или перечислению налогов и (или) сборов в соответствующий бюджет) и в личных интересах желает этого.

Во втором случае собственник или руководитель организации либо иное лицо, выполняющее управленческие функции в этой организации, осознает, что скрывает указанные денежные средства или имущество, и желает совершения таких действий, что также влечет суровое наказание.

В связи с тем, что судебные разбирательства уголовных дел по налоговым правонарушениям влекут крупные суммы штрафов, на эксперта возлагается огромная ответственность.

В соответствии со ст. 307 УК заведомо ложные заключение или показание эксперта наказываются штрафом в размере до восьмидесяти тысяч рублей или в размере заработной платы или иного дохода осужденного за период до шести месяцев, либо обязательными работами на срок от ста восьмидесяти до двухсот сорока часов, либо исправительными работами на срок до двух лет, либо арестом на срок до трех месяцев.

Поэтому прежде чем приступить к производству экспертизы, эксперт дает подписку о том, что он ознакомлен со своими правами и предупрежден об ответственности.

Рассмотрим комиссионную экспертизу №XX от 26.04.12 по уголовному делу, возбужденному по факту уклонения от уплаты налога на прибыль и НДС ООО «Урал» путем включения в налоговые декларации заведомо ложных сведений и непредставления налоговых деклараций за 4-й квартал 2009 года. Исследовался период с 01.01.2008 по 31.12.2009 г.

В ходе расследования уголовного дела установлено, что документы о взаимоотношениях с рядом организаций изготовлены сотрудниками ООО «Урал» с целью завышения фактических затрат и получения вычетов по НДС. Фактически выполненные работы производились силами и средствами самой организации, а товарно-материальные ценности закупались у физических лиц без представления необходимых документов либо затраты не производились вообще.

Перед экспертом поставлены вопросы о суммах НДС и налога на прибыль, которые предприятие исчислило и фактически уплатило и которые оно должно было уплатить за исследуемый период. В ходе проведения различных следственных действий и производства экономической экспертизы было выявлено, что предприятия ООО «Ю», ООО «Р», ООО «С», ООО «Корпорация «УралМ», ООО «А» являются лжепоставщиками, то есть имеющиеся на предприятии ООО «Урал» документы подтверждали, что поставщиками услуг и ТМЦ являлись перечисленные контрагенты.

При проведении исследования экспертом использовались следующие методы:

формальная проверка документов;

метод сопоставления документов;

арифметическая проверка документов.

Сумма налога, подлежащая уплате в бюджет, в соответствии со ст. 173 НК Российской Федерации, исчисляется по итогам каждого налогового периода как общая сумма налога, исчисляемая в соответствии со статьей 166 НК Российской Федерации, уменьшенная на сумму налоговых вычетов, предусмотренных статьей 171 НК Российской Федерации.

Общая сумма налога экспертом рассчитана на основании выставленных в адрес ООО «ТД «Л» счетов-фактур. Всего выставлено счетов-фактур на сумму 7 млн. руб., в том числе НДС в сумме 1,16 млн. руб.

Далее эксперт рассчитывает сумму налоговых вычетов. Согласно представленным документам по движению денежных средств по расчетным счетам, ООО «Урал» за период с 01.01.2008 г. по 31.12.2009 г. произвело оплаты поставщикам за товары (работы, услуги) на сумму 2,5 млн. руб., в том числе НДС в сумме 30 тыс. руб. Платежи с расчетных счетов ООО «Урал» в адрес «лжепоставщиков» не производило.

Налоговые вычеты в ходе экспертизы были произведены на основании:

счетов-фактур, предъявленных продавцами при приобретении налогоплательщиком товаров (работ, услуг);

документов, подтверждающих фактическую оплату сумм НДС (п. 1 ст. 172 НК Российской Федерации).

Экспертами за исследуемый период налоговые вычеты приняты на основании представленных документов.

Таким образом, согласно представленным документам, эксперт определил, что за период с 01.01.2002 г. по 31.12.2003 г. ООО «Урал» следовало исчислить налог на добавленную стоимость в размере 1,13 млн. руб. (1,16 млн.руб. - 30 тыс. руб.).

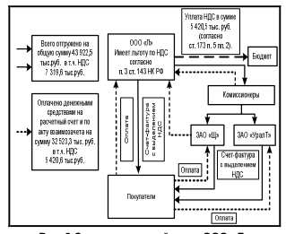
Данные исследования можно представить в виде следующей схемы (рис. 3.1). Отметим следующие моменты:

во-первых, сумма НДС, подлежащего уплате, рассчитана с учетом того, что ООО «Урал» с целью завышения фактических затрат и получения вычетов по НДС изготавливало документы о взаимоотношениях с лжепоставщиками, что было выявлено и доказано в ходе следственных действий. То есть величина НДС, рассчитанного экспертом, находится в прямой зависимости от данного факта;

во-вторых, сумма НДС, подлежащего уплате, получена на основании представленных документов. Однако эксперт в ходе исследования указывал на неполноту представленных документов, дополнительные документы, возможно, могли бы повлиять на рассчитываемую сумму.

Рис. 3.1 Схема взаимодействия ООО «Урал» с контрагентами

Рассмотрим проведение дополнительной экспертизы от 21.03.2013 г., проводимой за период с 01.01.2009 г. по 30.09.2009 г. с целью установления точной суммы уклонения от уплаты налога на добавленную стоимость.

В связи с возбужденным уголовным делом по факту уклонения от уплаты налога на добавленную стоимость ООО «Л» перед экспертом поставлены вопросы о сумме исчисленного и уплаченного НДС и сумме НДС, подлежащего уплате за указанный выше период.

Согласно представленным документам, ООО «Л.» пользовалось льготой по исчислению и уплате налога на добавленную стоимость согласно ст. 149 п. 3 п.п. 2 НК Российской Федерации. В соответствии с данным подпунктом, не подлежат налогообложению операции реализации товаров, работ, услуг производимых и реализуемых:

общественными организациями инвалидов;

организациями, уставный капитал которых полностью состоит из вкладов общественных организаций инвалидов;

учреждениями, единственными собственниками имущества которых являются общественные организации инвалидов, созданные для достижения образовательных, культурных, лечебно-оздоровительных, физкультурно- спортивных, научных, информационных и иных социальных целей, а также для оказания правовой и иной помощи инвалидам, детям-инвалидам и их родителям.

ООО «Л» в соответствии с представленными учредительными документами подпадает под эту категорию налогоплательщиков, однако проведенное экспертом исследование выявило следующие факты.

ООО «Л» в исследуемый период реализовывало продукцию как самостоятельно, так и через комиссионеров с выставлением в адрес покупателей счетов- фактур и с выделением в данных счетах налога на добавленную стоимость. Согласно п.п. 2 п. 5 ст. 173 Налогового кодекса, если налогоплательщики при реализации товаров (работ, услуг), операции по реализации которых не подлежат налогообложению, выставляют покупателю счет-фактуру с выделенным в ней НДС, то они обязаны исчислять и уплачивать налог в бюджет.

В процессе исследования эксперт выяснил, что ООО «Л.» реализовывало товары самостоятельно и через комиссионеров: ЗАО «УралТ» и ЗАО «Щ». Данные предприятия выставляли в адрес покупателей счета-фактуры с выделением налога на добавленную стоимость. Денежные средства за товар от покупателей поступали как на счета комиссионеров, и в дальнейшем перечислялись на счет комитента, т.е. ООО «Л», так и на счет ООО «Л», минуя счета комиссионеров, с учетом НДС.

Таким образом, за исследуемый период ООО «Л» самостоятельно и через комиссионеров реализовало товаров на сумму 43 922,5 тыс. руб., в т.ч. НДС 7 319,6 тыс. руб.

В соответствии с учетной политикой выручка от реализации продукции (работ, услуг) для целей налогообложения определялась по мере оплаты товаров (работ, услуг).

Следовательно, эксперт при расчете налоговых обязательств по налогу на добавленную стоимость принял к расчету денежные средства, поступившие на расчетный счет ООО «Л» от комиссионеров и покупателей с учетом налога на добавленную стоимость. Экспертом было принято во внимание и получение ООО «Л» векселей по договору комиссии. Также проанализирован акт взаимозачета, проведенный между ООО «Л» и предприятием ЗАО «Щ».

За период с 01.01.2009 г. по 30.09.2009 г., на расчетный счет ООО «Л» поступили денежные средства на сумму 31 637,4 тыс. руб., в т.ч. НДС 5 272,9 тыс. руб. Получены векселя в счет договора комиссии на сумму 720 тыс. руб.

ООО «Л» проведен акт взаимозачета с предприятием ЗАО «Щ» на сумму 165,9 тыс. руб. в т.ч. НДС 27,7 тыс. руб.

Общая сумма налога на добавленную стоимость, которую ООО «Л» должно было исчислить и уплатить, за исследуемый период составила 5 420,5 тыс. руб.

В ходе проведения исследования эксперт установил, что организация неверно использовала льготу по налогу на добавленную стоимость, установленную п. 3 ст. 149 НК Российской Федерации, и данный налог не исчисляло и не уплачивало.

Всего отгружено на общую сумму 43 922,5 тыс.руб. в т.ч. НДС 7 319,6 тыс.руб.

Схема взаимодействия ООО «Л» с покупателями и комиссионерами представлена на рис. 3.2.

Рис. 3.2 Схема взаимодействия ООО «Л» с покупателями

Рассмотрим заключение судебно-бухгалтерской экспертизы, проводимой по уголовному делу, возбужденному в связи с уклонением ООО НТФ «О» от уплаты налога на добавленную стоимость за период с 01.09.2011 г. по 30.09.2012 г.. Налоговая проверка установила, что предприятие путем включения в затраты по приобретению товаров и услуг от несуществующих фирм ООО «С» и ООО «Е-К» (данный факт установлен следствием путем проведения следственных мероприятий) уклонилось от уплаты НДС в общей сумме 3 987,0 тыс. руб.

Перед экспертом поставлен вопрос: в какой сумме в период с 01.09.2011 г. по 30.09.2012 г. ООО НТФ «О» был заявлен к возмещению НДС по приобретенным у ООО «С» и ООО «Е-К» (которые фактически являются лжепоставщиками) товарам и услугам?

Порядок списания накопленных на счете 19 «НДС по приобретенным ценностям» сумм НДС регулируется нормативными актами. В бухгалтерском учете эта операция отражается по кредиту счета 19 «НДС по приобретенным ценностям» в корреспонденции, как правило, со счетом 68 «Расчеты с бюджетом» (субсчет «Расчеты по НДС»).

Суммы НДС, фактически уплаченные поставщикам за поступившие (принятые к учету) товары (работы, услуги), отражаются бухгалтерской проводкой: Дебет сч. 68 «Расчеты по НДС» / Кредит сч. 19 «НДС по приобретенным ценностям».

Основательно и в полной мере исследовав все представленные документы, эксперт делает вывод, что за указанный период сумма, отнесенная в дебет счета 68.2 с кредита счета 19 «НДС по приобретенным ценностям» в бухгалтерском учете ООО НТФ «О» в разрезе контрагента ООО «С» составляет 2 794,2 тыс. руб., в разрезе контрагента ООО «Е-К» - 828,9 тыс. руб.

Следовательно, сумма НДС, заявленная ООО НТФ «О» к возмещению за исследуемый период по приобретенным товарам и услугам у ООО «С» и ООО «Е-К», в целом составляет 3 623,1 тыс. руб. В связи с тем, что в действительности, как доказало следствие, ООО «С» и ООО «Е-К» не являются поставщиками товаров и услуг, ООО НТФ «О» необоснованно принималась к возмещению сумма НДС в размере 3 623,1 тыс. руб. Заметим, что данные налоговой проверки выявляли сумму 3 987,0 тыс. руб.

Таким образом, эксперт не подтверждает сумму НДС, рассчитанную в ходе налоговой проверки. Разница составляет 363,9 тыс. руб.

Рассмотрим проведение судебно-экономической экспертизы от 04.02.2013 г., проведенной по уголовному делу, возбужденному по факту уклонения ООО «Ц» от уплаты налогов по признакам состава преступления, предусмотренного ч. 1 ст. 199 УК Российской Федерации.

Следствием установлено, что в период с 01.01.2010 г. по 31.12.2011 г. руководство предприятия неправомерно воспользовалось льготой по налогу на прибыль. Предприятие имеет право льготировать те суммы прибыли, которые были направлены на «финансирование капитальных вложений производственного назначения».

Суть данной экспертизы сводится к тому, что эксперт проверяет перечень расходов, неправомерно отнесенных на затраты по капитальным вложениям, который был рассчитан налоговой инспекцией.

По данным налоговой проверки в 2010 году ООО «Ц» произвело капитальные затраты непроизводственного характера в сумме 219 тыс. руб. (с учетом износа). Соответственно в 2010 году предприятие не уплатило сумму налога на прибыль с суммы неправомерно примененной льготы в размере 76,7 тыс. руб. В 2011 году сумма материальных затрат капитального характера, неправомерно отнесенная к производственным, составила 601,2 тыс. руб., неуплаченный налог на прибыль - 210,4 тыс. руб.

Таким образом, согласно акту налоговой проверки, общая сумма налога на прибыль, неуплаченного ООО «Ц» в результате неправомерного применения льготы, составила 287,1 тыс. руб.

Перед экспертом поставлен вопрос о сумме, в которой следовало исчислить и уплатить налог на прибыль по результатам деятельности ООО «Ц» за указанный период с учетом неправомерности применения льготы по налогообложению.

Эксперт указывает, что предприятие может льготировать те суммы прибыли, которые были направлены на развитие собственной производственной базы.

Согласно расчетам эксперта, затраты, не относящиеся к производственным, но отнесенные предприятием в состав капитальных вложений, составили:

за 2010 год 219,4 тыс. руб. с учетом износа (амортизации);

за 2011 - год 601,2 тыс. руб.

Таким образом, сумма налога на прибыль, доначисленная на суммы не льготируемых затрат, отнесенных на капитальные вложения ООО «Ц», составила:

,2 тыс. руб. за исследуемый период;

,8 тыс. руб. за период с 01.01.2010 г. по 31.12.2010 г.;

,4 тыс. руб. за период с 01.01.2011 г. по 31.12.2011 г.

Незначительное расхождение данных налоговой проверки и экспертного заключения произошло по следующей причине. При определении налоговой базы по налогу на прибыль в состав расходов, учитываемых в расчете налоговой базы, эксперт и налоговый инспектор включили разные статьи. Соответственно различается налоговая база и сумма налога, вносимая в бюджет.

Пример может проиллюстрировать, каким образом возникают разночтения между экспертом и работником налогового органа по поводу отдельных статей законодательства (в данном случае при определении состава затрат организации, не относящихся к производственным).

Рассмотрим экспертизу от 1.03.2013 г., проводимую по уголовному делу, возбужденному в связи с уклонением предприятием Фонд «Э» от уплаты налога на добавленную стоимость за период 2012 г. По данным налоговой проверки сумма неуплаты Фондом «Э» НДС составила 16 417,2 тыс. руб.

На разрешение эксперта поставлены вопросы о сумме фактически исчисленного и уплаченного в бюджет НДС, сумме НДС, подлежащего уплате, и вопрос о разнице между ними.

При проведении оценки достаточности объектов экспертом применялся метод предварительного исследования материалов, по которым планировалось производство экспертизы. В ходе первого этапа предварительного исследования материалов экспертом определены, какие из представленных материалов могут быть использованы в качестве объектов исследования. В ходе второго этапа предварительного исследования установлена полнота каждого вида объекта исследования.

В рассматриваемой экспертизе наличествует оговорка о том, что выводы эксперта соответствуют только представленным документам.

При проведении исследования экспертом использовались методы документального контроля:

визуальный осмотр;

формальная проверка;

экономический анализ и арифметические подсчеты.

Отвечая на вопрос о том, какую сумму НДС Фонд

«Э» должен был исчислить и уплатить, эксперт провел исследование налога по элементам.

В течение 2012 г. Фонд «Э» занимался реализацией продукции. В соответствии со статьей 146 НК Российской Федерации реализация является объектом налогообложения по налогу на добавленную стоимость. Налоговая база, в соответствии с пунктом 2 статьи 153 НК Российской Федерации, определяется из всех доходов налогоплательщика, связанных с расчетами по оплате указанных товаров (работ, услуг), полученных им в денежной и натуральной формах, включая оплату ценными бумагами.

Моментом определения налоговой базы, согласно учетной политике Фонда «Э», является день оплаты отгруженных товаров (выполненных работ, оказанных услуг) либо прекращение встречного обязательства покупателя указанных товаров (работ, услуг) перед организацией. Налоговый период в Фонде «Э» по налогу на добавленную стоимость установлен как календарный месяц. НДС принимается к вычету по оплаченным счетам-фактурам, полученным по товарам (работам и услугам). Вычетам подлежат суммы налога, предъявленные налогоплательщику и уплаченные им при приобретении товаров (работ, услуг) после принятия на учет указанных товаров (работ, услуг) и при наличии соответствующих первичных документов.

За 2012 год Фонд «Э» реализовал покупателям товаров (работ, услуг) в размере 106 934,7 тыс. руб., в т.ч. НДС 16 317,7 тыс. руб. Оплата производилась путем поступления денежных средств на расчетные счета, поступления денежных средств в кассу, путем получения векселей, путем прекращения обязательств зачетом.

Эксперт рассматривает, в соответствии с имеющимися документами, в качестве оплаты от покупателей за 2012 год поступившую сумму в 58 276,3 тыс. руб., в том числе НДС 8 948,9 тыс. руб.

За 2012 год Фонд «Э» приобрел товаров (работ, услуг) на сумму 50 504,1 тыс. руб., в том числе НДС 7 647,1 тыс. руб.

При определении размера налоговых вычетов экспертом не учитывались суммы НДС, уплаченные Фондом с расчетных счетов на счета ЗАО «У» в счет договора займа, так как это не предусмотрено ст. 172 НК Российской Федерации. В ходе проведения исследования эксперт пришел к выводу, что право на налоговый вычет по договору займа у предприятия отсутствует.

Оплата Фондом «Э» приобретенных товаров (работ, услуг) в 2012 г. составила 34 089,0 тыс. руб., в том числе НДС 5 189,7 тыс. руб.

Таким образом, Фонд «Э» должен уплатить в бюджет НДС за 2012 год в сумме 3 759,2 тыс. руб. (8 948,9 - - 5 189,7).

Согласно лицевым карточкам из ИФНС, по месту регистрации предприятия, с учетом сроков уплаты налога, Фонд «Э» исчислил к возмещению налог на добавленную стоимость за 2012 г. в сумме 17 621,5 тыс. руб.

Таким образом, разница между суммой НДС, подлежащей исчислению и уплате в бюджет Фондом «Э» и суммой НДС, фактически им исчисленного за каждый налоговый период (календарный месяц) в течение 2012-го финансового года составила 21 380,7 тыс. руб. (3 759,2 тыс. руб. - (-17 621,5 тыс. руб.)).

В итоге видна существенная разница между результатами налоговой проверки за исследуемый период (сумма неуплаты (неполной уплаты) Фондом «Э» НДС составила 16 417,2 тыс. руб.) и результатами исследования эксперта (разница между суммой НДС, подлежащего исчислению и уплате в бюджет, и суммой НДС, фактически исчисленного, составила 21 380,7 тыс. руб.). Такая ситуация далеко не редкость. Бухгалтерская экспертиза зачастую полностью либо частично опровергает результаты налоговой проверки, причины этого нами были рассмотрены выше.

Таким образом, главная цель рассмотренной нами судебно-бухгалтерской экспертизы, проводимой по налоговым правонарушениям при расследовании уголовных дел по статьям 198 и 199 УК Российской Федерации - это выявление сумм неуплаченных налогов и определение сумм налогов, подлежащих уплате в бюджет в соответствии с законодательством.

В хозяйственных спорах часто возникает необходимость определения размера задолженности между сторонами сделки или величины причиненного ущерба и возникает необходимость проведения судебно-бухгалтерской экспертизы.

В Постановлении Президиума Высшего арбитражного суда Российской Федерации (далее - ВАС) от 30 ноября 1999 г. №7462/98 рассматривалась следующая ситуация: коммерческий банк открыл акционерному обществу кредитную линию, однако в связи с неуплатой процентов договор расторг и предъявил иск о взыскании задолженности. Кредитование осуществлялось с нарушением действующих правил - без открытия отдельного ссудного счета. Денежные средства, перечисленные по спорному договору, отражались на ссудном счете, открытом по ранее заключенным кредитным договорам. В результате чего, исходя из представленных банком документов, невозможно определить, в соответствии с каким конкретным договором выдавался кредит и по какому кредитному договору уплачивались проценты. Истец и ответчик, доказывая правомерность своих требований, представили в суд «взаимоисключающие аудиторские заключения». Без уяснения сущности финансовых потоков невозможно было вынести обоснованное судебное решение. В данном случае ВАС России направил дело на рассмотрение в суд первой инстанции, указав, что при наличии спорных доказательств для определения правомерности требований сторон суд должен назначить судебно-бухгалтерскую экспертизу.

Аналогичные задачи ставятся перед судебно-бухгалтерской экспертизой и при рассмотрении налоговых споров.

В судебном разбирательстве в качестве доказательств были использованы выводы эксперта-бухгалтера в споре между компанией, входящей в один из крупнейших международных холдингов, и налоговым органом. Компания занималась маркетингом и реализацией продукции другой компании, входящей в тот же холдинг, причем продукция реализовывалась покупателям на основании агентского договора.

Компания-агент для осуществления своей деятельности привлекала кредитные средства, относя проценты по кредитам на расходы, уменьшающие налоговую базу по налогу на прибыль организаций. Претензии налогового органа сводились к тому, что привлеченные средства не были необходимы для финансирования деятельности агента и под видом выручки за реализованную продукцию перечислялись принципалу. На этом основании налоговый орган доначислил компании налог на прибыль, исключив из расчета налоговой базы сумму процентов по кредитам.

Выручка от покупателей поступала агенту ежедневно, а в соответствии с условиями договора агент перечислял принципалу средства в течение пяти дней со дня получения их от покупателей, и средства перечислялись общей суммой без указания источника (покупателя, договора поставки, счета-фактуры, выставленного агентом, и т.п.). Кроме того, кредиты привлекались на краткосрочный период (до нескольких дней). В этих условиях подтвердить или опровергнуть доводы налогового органа о наличии в суммах, перечисляемых агентом принципалу, сумм привлеченных средств на основании учетных регистров было невозможно.

В ходе судебно-бухгалтерской экспертизы (она длилась более месяца) были применены экономико-математические методы анализа финансовых потоков, которые показали несостоятельность позиции налогового органа.

ФАС Московского округа в Постановлении от 17 января 2012 г. по делу №КГ-А40/8077-11 указал в качестве основания неправомерности судебного решения следующие обстоятельства: «Апелляционная инстанция, в нарушение ст. 57 АПК Российской Федерации о подтверждении обстоятельств дела определенными доказательствами и ст. 59 АПК Российской Федерации об оценке доказательств, вместо обсуждения вопроса о целесообразности, обоснованности назначения по делу соответствующей экспертизы (бухгалтерской или др.) либо проведения стоимостной оценки объекта и его отдельных помещений в установленном законом порядке, занялась самостоятельными и во многом произвольными математическими расчетами, не обладая для этого необходимыми специальными познаниями, которые и не требуются от судов при рассмотрении дела».

В Постановлении ФАС Западно-Сибирского округа от 27 января 2013 г. по делу №Ф12-9676/2012(7951-А81- 19) указано: налоговый орган провел выездную налоговую проверку правильности исчисления и своевременности перечисления предпринимателем Г. налога на доходы физических лиц, страховых взносов в Пенсионный фонд Российской Федерации и фонды обязательного медицинского страхования.

По результатам проверки было принято решение о привлечении Г. к налоговой ответственности, взыскании налогов, страховых взносов и пеней. Основанием для этого послужил вывод налогового органа о занижении предпринимателем дохода в результате неполного отражения выручки от реализации товаров и завышения расходов. Эпизод касался учета для целей налогообложения выручки за реализованный, но в дальнейшем возвращенный покупателями товар. Налоговый орган утверждал, что при отсутствии актов возврата денежных средств стоимость возвращенного товара не должна исключаться из выручки.

Однако в процессе инвентаризации было установлено полное соответствие остатков товаров учетным данным. По заключению бухгалтерской экспертизы, факты отсутствия у предпринимателя актов возврата денежных средств, на основании которых налоговым органом сделан вывод о занижении предпринимателем доходов, при отсутствии документально и фактически неучтенных (не оприходованных) товаров не могут достоверно свидетельствовать о занижении налоговой базы. Данное решение характеризует еще один важный аспект судебно- бухгалтерской экспертизы. В рамках рассматриваемого спора перед экспертом-бухгалтером не стояла задача доказать наличие или отсутствие факта занижения налогоплательщиком налоговой базы. Эксперт лишь указал на необоснованность доводов налогового органа. Согласно ст. 65 АПК Российской Федерации, обязанность доказывания обстоятельств, послуживших основанием для принятия государственными органами, должностными лицами оспариваемых актов, решений, возлагается на соответствующий орган или должностное лицо. Обязанность по доказыванию факта налогового правонарушения и виновности лица в его совершении - на налоговые органы (п. 6 ст. 108 НК Российской Федерации). Неустранимые сомнения в виновности лица, привлекаемого к ответственности, толкуются в пользу этого лица. Учитывая, что налоговый орган не представил арбитражному суду достоверных доказательств, опровергающих выводы бухгалтерской экспертизы, суд кассационной инстанции признал доначисление налога предпринимателю незаконным.

На практике встречаются ситуации, когда от эксперта-бухгалтера требуется не только квалифицировать хозяйственную операцию, но и оценить правильность ведения учета.

В Постановлении ФАС Московского округа от 3 ноября 2012 г. по делу №КГ-А41/10518-12 указано: временный управляющий муниципального унитарного предприятия А (далее - МУП А) обратился в арбитражный суд с иском к МУП А, к МУП В и администрации муниципального образования о признании недействительной сделки по безвозмездной передаче имущества должника в МУП В и признании недействительным постановления главы администрации Московской области о разрешении передачи имущества. В обоснование исковых требований указывалось, что спорная сделка совершена с нарушением п. 2 ст. 64 Федерального закона от 26 октября 2002 г. №127-ФЗ «О несостоятельности (банкротстве)», поскольку стоимость переданного имущества составляла более 5% балансовой стоимости имущества должника.

Суд первой инстанции пришел к выводу, что общая стоимость передаваемых объектов - менее 5% (4,94%) балансовой стоимости активов должника, в связи с чем доводы заявителя признал несостоятельными.

Однако суд кассационной инстанции назначил су- дебно-бухгалтерскую экспертизу. Перед экспертами поставлена задача: определить, правильно ли отражена сумма начисленной амортизации в актах приема- передачи основных средств и какова суммарная остаточная стоимость основных средств, переданных по актам приема-передачи.

Результаты экспертизы показали, что МУП А неверно применяло метод амортизации для целей бухгалтерского учета, что привело к завышению суммы амортизационных отчислений и занижению остаточной стоимости передаваемых с баланса МУП А на баланс МУП В основных средств.

В судебной практике бухгалтерами-экспертами применялась ссылка на Концепцию бухгалтерского учета в рыночной экономике России (одобрена Методологическим советом по бухгалтерскому учету при Минфине России и Президентским советом Института профессиональных бухгалтеров 29 декабря 1997 г.), которая определяет основы построения системы бухгалтерского учета в условиях новой экономической среды. В частности, она закрепляет принцип существенности, в соответствии с которым формируемая в бухгалтерском учете информация должна быть уместной. Критерии уместности информации - ее содержание и существенность.

Существенной признается информация, отсутствие или неточность которой могут повлиять на решения заинтересованных пользователей.

Концепцией также закреплен принцип рациональности, согласно которому польза, извлекаемая из формируемой в бухгалтерском учете информации, должна быть сопоставима с затратами на подготовку этой информации.

Говоря о современном состоянии судебной бухгалтерии, можно сказать, что ее ожидают существенные изменения, прежде всего связанные с переводом всего бухгалтерского учета и аудита на международные стандарты. В настоящее время в нашей стране действует более десяти Положений по бухгалтерскому учету, изданных Минфином России. Их основное содержание очень близко к содержанию международных стандартов, в отличие от ранее существовавшей системы учета. Тем не менее, отличий между МСФО и РСБУ немало. Переход на МСФО изменяет как принципы подготовки самой финансовой отчетности, так и принципы контроля ее качества и аудита. Российский учет отводит бухгалтеру роль исполнителя законов, постановлений, писем, разъяснений, инструкций в то время как международные правила предоставляют большую свободу действий.

3.2 Повышение качества судебно-бухгалтерской экспертизы на основе предотвращения ошибок экспертного исследования

Процесс экспертного исследования подразделяется на этап принятия к производству судебно-экономической экспертизы и этап непосредственного производства экономической (в т. ч. бухгалтерской) экспертизы.

Ошибки, возникающие на первом из указанных этапов, связаны с некорректной или неверной постановкой вопроса. Как известно, суть проведения экспертного исследования заключается в применении специальных экономических познаний, без использования которых заключение эксперта-бухгалтера теряет свою доказательную основу в рамках уголовного процесса и становится документом справочного характера.

Данные для ответа на справочные вопросы (для которых не требуются специальные познания в бухгалтерском учете, налогообложении, финансовом анализе или других экономических дисциплинах), как правило, содержатся в документе (регистре) бухгалтерского учета или любом другом документе (уставе организации, выписке банка, налоговой декларации, бухгалтерской отчетности организации), содержащем запрашиваемую информацию. Пример подобного вопроса: «Осуществлялась ли в ООО «Мега» финансово-хозяйственная деятельность с периода открытия общества по настоящее время, каков предмет деятельности организации, соответствует ли он учредительным документам?». Следует отметить, что справочными являются также такие вопросы, для ответа на которые требуется произвести несложные арифметические подсчеты, например: «Каково соотношение дохода, полученного ООО «Альфа» за 1-й квартал 2012 г., и МРОТна 01.04.2012?».

На практике встречаются более сложные ситуации, когда, например, для ответа на поставленные вопросы эксперту требуется отследить движение товарно-материальных ценностей между контрагентами за установленный период времени. Рассмотрим, например, следующую группу вопросов, представленных на разрешение эксперту:

.«Имело ли место перечисление денежный средств с расчетного счета ООО «АвтоЛидер» № 40702810600000012345, открытого в ЗАО АКБ «Тольяттихим- банк», на расчетныгй счет ООО «АльянсТранс» № 40702810300070054321, открыг- тыгй в ЗАО «ПВ-Банк», за период с 16.12.2012 по 31.12.2012? Если да, то когда и в какой сумме?

.На какую сумму ООО «АвтоЛидер» получило оборудование от ООО «АльянсТранс» по договору поставки № 123ТФ18 от 10.12.2010 за период с 16.12.2012 по 31.12.2012?».

Очевидно, что для ответа на каждый из поставленных вопросов не требуется специальных познаний в области бухгалтерского учета, поскольку данные для ответа на первый вопрос содержатся в выписке по расчетному счету ООО «АвтоЛидер» № 40702810600000012345 за указанный период, а для ответа на второй вопрос - в товарной накладной. Однако подобная формулировка вопроса не означает, что априори эксперт не имеет права на него отвечать. Несмотря на то, что указанные два вопроса не являются строго «бухгалтерскими», ответ на них можно и нужно дать, если это необходимо в процессе судопроизводства. В данном случае для дачи правомерных ответов на поставленные вопросы и, что немаловажно, для доказательного значения подобных ответов в рамках судопроизводства эксперту следует поступить одним из следующих способов.

. Дать ответ на поставленные вопросы в качестве специалиста. В соответствии со ст. 58 УПК РФ специалист - лицо, обладающее специальными знаниями, привлекаемое к участию в процессуальных действиях... для содействия... в исследовании материалов уголовного дела... а также для разъяснения сторонам и суду вопросов, входящих в его профессиональную компетенцию.

Поскольку на справочный вопрос может ответить любое лицо, эксперт- бухгалтер, выступающий в качестве специалиста, также не может быть некомпетентным в данном вопросе. Используя материалы уголовного дела (в данном примере - выписку по расчетному счету ООО «АвтоЛидер» № 40702810600000012345 за указанный период и товарную накладную), эксперт-бухгалтер, выступающий в качестве специалиста, отвечает на поставленные вопросы, при этом его ответы оформляются в качестве допроса специалиста или отбираются в виде показаний во время судебного процесса. В данном случае бухгалтерская экспертиза по поставленным вопросам не проводится, заключение эксперта (либо акт о невозможности дачи заключения) экспертом-бухгалтером не выносится.

. Однако первый способ неприменим, если бухгалтерская экспертиза уже назначена следователем, судом или иным полномочным лицом. В этом случае эксперту следует провести исследование по поставленным вопросам, порекомендовав следователю или иному лицу, назначающему экспертизу, откорректировать формулировку вопросов следующим образом:

.«Имело ли место перечисление денежных средств с расчетного счета ООО «АвтоЛидер» № 40702810600000012345, открытого в ЗАО АКБ «Тольяттихимбанк», на расчетный счет ООО «АльянсТранс» № 40702810300070054321, открытый в ЗАО «ПВ-Банк», за период с 16.12.2012 по 31.12.2012? Если да, то в какой сумме? Отражены ли указанные операции в регистрах бухгалтерского учета ООО «АвтоЛидер»? Если да, то в какой сумме?

.На какую сумму ООО «АвтоЛидер» получило оборудование от ООО «АльянсТранс» по договору поставки № 123ТФ18 от 10.12.2012 за период с 16.12.2012 по 31.12.2012? Отражена ли указанная операция в регистрах бухгалтерского учета ООО «АвтоЛидер»? Если да, то в какой сумме?».

Поскольку предметом судебно-бухгалтерской экспертизы является исследование записей бухгалтерского учета исследуемой организации, подобная корректировка придает вопросу «специальный» характер. По данным вопросам эксперт-бухгалтер проводит исследование и дает соответствующее заключение.

Правовые вопросы, заключающие в себе правовую оценку действий должностных или иных лиц, не могут быть поставлены перед экспертом по причине отсутствия у эксперта права такой оценки (даже если эксперт-бухгалтер обладает познаниями в юриспруденции) в рамках уголовного судопроизводства. Пример правового вопроса: «Причинен ли действиями продавца ИП Григорьева Антюхиной М.Е. материальный ущерб Григорьеву А.В. в период с 01.01.2012 по 14.02.2013? Если да, то в каком размере?».

В данном случае следует понимать, что подлежащий доказыванию материальный ущерб есть сумма недостачи у продавца Антюхиной М.Е., определить которую и требуется. Для судебно-бухгалтерской экспертизы данный вопрос также требуется сформулировать более корректно: «Имеется ли недостача у продавца ИП Григорьева Антюхиной М.Е. в период с 01.01.2012 по 14.02.2013? Если да, то в каком размере?».

Некорректные вопросы - вопросы, относящиеся к предмету судебно- экономической экспертизы, но поставленные на разрешение эксперту-бухгалтеру в такой форме, что в результате проведенного исследования полученный вывод не будет соответствовать вопросу. Обычно некорректные вопросы носят ревизионный характер, т. е. исследование проводится не по строго заданному периоду, в котором обнаружено конкретное нарушение, а по финансово-хозяйственной деятельности организации в целом. Например: «Надлежащим ли образом осуществлялся бухгалтерский учет в ООО «Заря»?». После корректировки поставленный вопрос будет выглядеть следующим образом: «Соответствует ли ведение бухгалтерского учета в ООО «Заря» за период с 01.01.2012. по 01.05.2013 «Порядку ведения кассовых операций в РФ», утвержденному решением Совета директоров ЦБ РФ от 22.09.1993 № 40?»

Другой пример некорректного вопроса: «Правильно ли определена недостача товарно-материальных ценностей и денежных средств в магазине «Юнистрой» ИП Гарина Ф.Ю. на 01.06.2012. и на 14.09.2012?».

Поскольку эксперт-бухгалтер не определяет правильность определения недостачи, а устанавливает документальную обоснованность недостачи, выявленной в ходе производства инвентаризации, указанный вопрос следует сформулировать следующим образом: «Имеет ли место недостача товарно-материальных ценностей и денежных средств в магазине «Юнистрой» ИП Гарина Ф.Ю. на 01.06.2012. и на 14.09.2012?».

Отличие некорректных вопросов от справочных и правовых состоит в том, что эксперт-бухгалтер, пользуясь своим правом давать заключение в пределах своей компетенции, в т. ч. по вопросам, хотя и не поставленным в постановлении о назначении судебной экспертизы, но имеющим отношение к предмету судебного исследования (п. 4 ст. 57 УПК РФ), может самостоятельно привести некорректный вопрос в правильную форму, поскольку подобная корректировка не меняет смысла экспертной задачи.

Резюмируя вышесказанное, можно сказать, что вопросы, носящие справочный, правовой характер либо имеющие некорректную форму, могут быть сформулированы таким образом, чтобы содержащаяся в них экспертная задача соответствовала компетенции эксперта-бухгалтера, а ответ на них имел доказательное значение в судопроизводстве.

ЗАКЛЮЧЕНИЕ

Экспертиза - это исследование какого-либо вопроса, требующего специальных знаний, с представлением мотивированного заключения. Судебно-бухгалтерская экспертиза представляет собой исследовательский процесс в поисках истины в хозяйственных правоотношениях с целью выявления правонарушения правоохранительными органами. Вопрос о назначении судебно- бухгалтерской экспертизы решается следователем в каждом отдельном случае в зависимости от обстоятельств дела.

Основа судебно-бухгалтерской экспертизы - исследуемый экспертом способ ведения бухгалтерского учета, установление необычных условий и приемов совершения учетных операций и записей (искажающие факторы) и вместе с этим места, времени, механизма, способа, качественной и количественной характеристик искажения учетных данных.

Чаще всего судебно-бухгалтерская экспертиза назначается при расследовании уголовных дел, в ходе которых следователь (лицо, ведущее дознание) обязан раскрыть преступление и на основании собранных по делу доказательств установить лиц, виновных в его совершении, определить сумму причиненного ими ущерба предприятию, отдельным гражданам, предпринимателю.

В системе предупреждения экономической преступности и нарушений финансово-хозяйственной дисциплины бухгалтерская экспертиза и оценка достоверности и надежности отчет - ной бухгалтерской информации занимает особое место. Пристальное внимание к данной проблеме вызвано также и тем, что в современных условиях совершенствуется характер преступлений в экономической сфере и отмечается рост интел- лектуального уровня лиц, совершивших экономические преступления. Если ранее объектом экспертного исследования были в основном правонарушения, связанные с расследованием фактов растрат и хищений товарно-материальных ценностей, денежных средств, то наиболее распространенными сейчас являются преступления, совершаемые с помощью искажения и фальсификации данных бухгалтерской отчетности. К таким видам правонарушений можно отнести налоговые преступления, незаконное получение кредита, обман потенциальных инвесторов (партнеров) и другие виды преступлений.

От своевременного и правильного проведения экспертизы зависит завершение расследования дел в установленные сроки. Соблюдение норм криминально-процессуального законодательства при назначении и проведении судебно-бухгалтерской экспертизы, правильное использование следователем данных экспертизы содействуют раскрытию преступления, установлению действительных размеров причиненного ущерба и их взысканию с виновных, принятию необходимых профилактических мероприятий по сохранности собственности.

Законодатель в ст. 9 Закона «О государственной судебно- экспертной деятельности в Российской Федерации» №73-ФЗ от 31.05.2001 г. определил судебную экспертизу как процессуальное действие, состоящее из проведения исследований и дачи заключения экспертом по вопросам, разрешение которых требует специальных знаний в области науки, техники, искусства или ремесла и которые поставлены перед экспертом судом, лицом, производящим дознание, следователем или прокурором, в целях установления обстоятельств, подлежащих доказыванию по конкретному делу.

Предмет исследования статьи - судебно-бухгалтерская экс - пертиза, методы и приемы, используемые экспертом-бухгалтером при производстве экспертизы для ответа на вопросы, поставленные следователем (дознавателем) или судом.

Основными объектами исследования являются вопросы назначения судебно-бухгалтерской экспертизы, методика и цели судебно-бухгалтерской экспертизы.

В класс судебно-экономических экспертиз входят несколько родов экспертиз, в том числе, отвечающие на:

вопросы, связанные с установлением фактических данных о финансово-хозяйственной деятельности исследуемых лиц, а также отражением этой деятельности в бухгалтерском учете, исследуют бухгалтерские экспертизы по уголовным делам, возбужденным по признакам состава преступления, предусмотренных ст. 145.1, 159, 160, 171, 174, 199.2, 201 Уголовного кодекса Российской Федерации (далее - УК);

вопросы, связанные с установлением соответствия исчисления налогов исследуемым лицом требуемому порядку, исследуют налоговые экспертизы по уголовным делам, возбужденным по признакам состава преступления, предусмотренных ст. 198, 199, 199.1 УК Российской Федерации;

вопросы, связанные со спецификой кредитных отношений, исследуют финансово-кредитные экспертизы по уголовным делам, возбужденным по признакам состава преступления, предусмотренных ст. 176, 177 УК Российской Федерации;

вопросы, связанные с анализом финансового состояния организации, исследуются в ходе производства финансово-аналитической экспертизы по уголовным делам, возбужденным по признакам состава преступления, предусмотренным ст. 195, 196, 197 УК Российской Федерации.

сведения о фактически совершенных хозяйственных операциях с участием исследуемых лиц в определенный период;

отражение хозяйственных операций в первичных учетных (или иных) документах, в регистрах учета (бухгалтерского и налогового) и формах отчетности (бухгалтерской и налоговой).

СПИСОК ИСПОЛЬЗОВАННОЙ ЛИТЕРАТУРЫ

Уголовно-процессуальный кодекс Российской Федерации. - Москва: Проспект, КноРус, 2011.-256 с.

Федеральный закон «О бухгалтерском учете» от 21.11.1996 г. №129-ФЗ // Финансовая газета. - 1996. - №49. - С. 1.

Приказ Министерства Юстиции РФ от 14.05.2003 № 114 «Об утверждении перечня родов (видов) экспертиз, выполняемых в государственных судебно-экспертных учреждениях Министерства юстиции Российской Федерации, и перечня экспертных специальностей, по которым предоставляется право самостоятельного производства судебных экспертиз в государственных судебно-экспертных учреждениях Министерства юстиции Российской Федерации».

Приказ МВД РФ от 29.06.2005 № 511 «Вопросы организации экспертиз в экспертно- криминалистических подразделениях ОВД РФ».

Постановление ФАС Московского округа от 17 января 2012 г. по делу №КГ-А40/8077-11

Постановление ФАС Западно-Сибирского округа от 27 января 2013 г. по делу №Ф12-9676/2012(7951-А81- 19)

Постановление ФАС Московского округа от 3 ноября 2012 г. по делу №КГ-А41/10518-12.

Алибеков Ш.И. Становление и развитие судебно-бухгалтерской экспертизы в России//Аудит и финансовый анализ. - 2012. -№6.

Бороненкова С. А., Козырчикова Э. Ю. Судебно-бухгалтерские экспертизы // Интеграция науки, образования и производства - стратегия развития инновационной экономики: материалы I Междунар. науч.-практ. конф. Екатеринбург : Изд-во Урал. гос. экон. ун-та, 2011.

Бороненкова С.А., Козырчикова Э.Ю. Судебно-бухгалтерская экспертиза: цель, задачи, приемы// Известия Уральского государственного экономического университета. 2011. Т. 36. № 4. С. 142-149.

Бочкова Л.И., Новак О.Э., Савинов С.В. Судебная бухгалтерия. Общая часть: Учебное пособие. - М.: Издательско-торговая корпорация «Дашков и К»; Саратов: ООО «БизнесВолга», 2012. - 320 с.

Бухгалтерский учёт: Учебник / А.С. Бакаев, П.С. Безруких, Н.Д. Врублевский и др. - М.: Бухгалтерский учёт,2012. - 719 с.

Виноградов Е.В., Матвейчук И.А. Аудит: Учебное пособие для вузов. - М.: Академический Проект, 2012. - 320 с.

Виноградова М.М., Нерсесян М.Г. «Экономическая экспертиза - её виды и возможности» / «ЭЖ- Юрист», 2012, №46.

Звягин С.А. «Судебно-бухгалтерская экспертиза и экономический класс судебных экспертиз» / «Российский следователь», 2012, №6.

Ковалев В.В. Финансовый учет и анализ: концептуальные основы. - М.: Финансы и статистика, 2012.-720 с.

Козырчикова Э. Ю. Приемы и методы проведения судебно-бухгалтерской экспертизы (проблемы, возникающие при ее производстве и практика применения судебно- бухгалтерской экспертизы) // Аудит и финансовый анализ. 2012. № 5.

Козырчикова Э. Ю., Песчанских Г. В. К вопросу алгоритмизации процесса производства судебно-экономических экспертиз, назначаемых при расследовании уголовных дел по налоговым преступлениям // Вестн. Акад. экон. безопасности МВД России. 2010. № 1.

Кутер М.И. Теория бухгалтерского учета: Учебник. 3 изд., перераб. и доп. - М.: Финансы и статистика, 2012. - 592 с

Любушин Н.П., Жаринов В.В., Бородина Н.В. Теория бухгалтерского учета: Учеб. Пособие для вузов / Под ред. проф. Любушина Н.П.- 2-е изд., перераб. и доп. - М.: ЮНИТИ-ДАНА, 2013. - 294 с.

Пащенко Т.В. Формирование классификации видов судебно-экономической экспертизы // Бухгалтерский учёт, экономический анализ, аудит, налогообложение, коммерческий расчёт: теория и практика в условиях применения современных информационно-коммуникационных технологий: сб. науч. тр. / под общ. ред. Т.Г. Шешуковой; Перм. гос. ун-т. - Пермь, 2012. С. 195-210.

Пащенко Т.В., Шешукова Т.Г. Об основах формирования методики судебно-бухгалтерской экспертизы // Вестник Пермского университета. Серия «Экономика». Выпуск 4 (30). 2012. С. 22-34.

Петрикина А.А. «Система судебно-бухгалтерских экспертиз» / «Эксперт-криминалист», 2013, №2.

Правовые основы бухгалтерского учёта: учебник / Е.И. Арефкина, Л.Л. Арзуманова, О.В. Болти- нова. - М.: Проспект, 2011. - 312 с.

Россинская Е.Р. Эриашвили Н.Д. Судебно-бухгалтерская экспертиза. - М.: Юнити-дана, 2012

Сахнова Т.В. Судебная экспертиза. М.: Городец, 2010.

Соколов Я.В., Бычкова С.М. Бухгалтерский учет, аудит и судебная бухгалтерия // Аудиторские ведомости. - 2010. - №4.

Судебно-бухгалтерская экспертиза: учеб. Пособие для студентов вузов / под. Ред. Е.Р. Россин- ской, Н.Д. Эриашвили. - 2-е изд., перераб. и доп. - .М.: ЮНИТИ-ДАНА: Закон и право, 2012. - 383 с.

Толкаченко А. А. Судебная бухгалтерия : учеб. пособие для вузов. М. : Юнити, 2012.

Хендриксен Э.С., Ван Бреда М.Ф. Теория бухгалтерского учета: Пер. с англ. / Под ред. проф. Я.В. Соколова.- М.: Финансы и статистика, 2010. - 576 с.

Ширяев Д. «Налоговая экспертиза» / «Финансовая газета», 2012, №15.

Похожие работы на - Судебно-бухгалтерская экспертиза

 

Не нашли материал для своей работы?
Поможем написать уникальную работу
Без плагиата!
Без нейросетей!