Расчёт аппаратуры для производства глюкоамилазы

  • Вид работы:
    Курсовая работа (т)
  • Предмет:
    Другое
  • Язык:
    Русский
    ,
    Формат файла:
    MS Word
    1,13 Мб
  • Опубликовано:
    2015-06-03
Вы можете узнать стоимость помощи в написании студенческой работы.
Помощь в написании работы, которую точно примут!

Расчёт аппаратуры для производства глюкоамилазы












Курсовая работа по дисциплине:

Процессы и аппараты биотехнологии

на тему:

"Расчёт аппаратуры для производства глюкоамилазы"

Содержание

 

Введение

Введение

1. Обзор литературы

1.1 Природа фермента, его значение в практической деятельности человека

2. Технология получения фермента

2.1 Методы культивирования продуцентов фермента

2.2 Ферментёры. Стерилизация оборудования

2.3 Приготовление и стерилизация питательных сред

2.4 Подготовка посевного материала

2.5 Предварительная обработка культуральной жидкости, выделение, очистка и расфасовка препарата фермента

3. Расчёт материального баланса

4. Выбор и расчёт основного технологического оборудования

4.1 Оборудование для получения и подготовки питательных сред

4.1.1 Установка непрерывной стерилизации жидких питательных сред

4.2 Оборудование для получения стерильного воздуха

4.3 Оборудование для ферментации

4.3.1 Ферментаторы для глубинного культивирования микроорганизмов васептических производствах

4.3.2 Подбор и расчёт ёмкостного оборудования

Заключение

Список литературы

Приложения

Введение

Ферменты - биологические катализаторы белковой природы. Они значительно повышают скорость химической реакции, которые в отсутствии ферментов протекают очень медленно. При этом ферменты не расходуются и не претерпевают необратимых изменений [19].

Производство ферментных препаратов занимает одно из ведущих мест в современной биотехнологии и относится к отраслям, объём продукции которых постоянно растёт, а сфера применения неуклонно расширяется. Такое быстрое развитие связано с тем, что ферменты являются высокоактивными, нетоксичными биокатализаторами белкового происхождения, которые широко распространены в природе, без них невозможны осуществление многих биохимических процессов и жизнь в целом [4].

Ферменты присущи всем живым существам, однако для их выделения используют те природные продукты, в которых содержание искомого энзима составляет не менее 1 %. Для крупномасштабного получения ферментов пригодны только некоторые растительные организмы на определённой фазе их развития (проросшие зерно различных злаков и бобовых, латекс и сок зелёной массы ряда растений), а также отдельные ткани и органы животных (поджелудочная железа, слизистая оболочка желудочно-кишечного тракта, сычуг крупного рогатого скота, семенники половозрелых животных). Практически не ограниченный источник ферментов - микроорганизмы (бактерии, грибы, дрожжи), содержащие набор большинства известных в настоящие время энзимов, количество которых можно повысить в десятки и сотни раз методами мутагенеза, селекции и индукции биосинтеза.

В промышленности ферментативные препараты получают либо при поверхностном, либо при глубинном способе культивирования продуцента. Глубинный способ ведения процесса имеет ряд существенных преимуществ перед поверхностным культивированием, т.к. позволяет существенно автоматизировать процесс, в ряде случаев значительно сократить объёмы отходов, проводить процесс непрерывно, сократить в 2 - 4 раза площади цехов, а также позволяет использовать анаэробных продуцентов.

Целью данной курсовой работы является изучение технологии производства препарата глюкоамилазы и расчёт необходимого оборудования.

Для достижения поставленной цели должны быть выполнены следующие задачи:

)        изучение литературы, дающей информацию о применении и производстве фермента;

2)      подбор оборудования и оптимального процесса его стерилизации, для проведения культивирования и выделения препарата из культур микроорганизмов, а также его очистки и расфасовки;

)        составление технологической схемы производства.

)        расчёт необходимого оборудования.

1. Обзор литературы


1.1 Природа фермента, его значение в практической деятельности человека


Основной формой запасных углеводов в семенах и клубнях растений является крахмал. Ферментативные превращения крахмала лежат в основе многих пищевых технологий [1]. Поэтому ферменты амилолитического комплекса растительного, животного и микробного происхождения интенсивно изучаются со времени их открытия Кирхгофом в 1814 г. и до настоящего времени. Одним из таких ферментов, расщепляющих крахмал, а также гликоген, является глюкоамилаза [17].

Глюкоамилаза (α-1,4-глюкан-глюкогидролаза, амилоглюкозидаза, γ-амилаза, лизосомальная α-глюкозидаза, кислая мальтоза, матулаза, экзо-1,4-α-глюкозидаза) - экзо-фермент, катализирующий отщепление β-глюкозы от нередуцирующего конца амилозы и амилопектина [7]. Имеет больше количество гомологов, в том числе и глюкоамилаза Trichodermareese [16]. Глюкоамилаза расщепляет α-1,4, α-1,6 и α-1,3-гликозидные связи, с наибольшей скоростью - α-1,4 (рис.1). Вследствие этого глюкоамилаза является основным ферментом при осахаривании крахмалосодержащего сырья, а штаммы микроорганизмов, продуцирующие активную глюкоамилазу, имеют широкие перспективы применения во многих отраслях биотехнологии. Гидролиз α-1,6-гликозидны связей происходит только в том случае, если за связью α-1,6 следует связь α-1,4, поэтому декстран ими не гидролизуется. Механизм гидролиза - множественная атака, то есть последовательный гидролиз нескольких гликозидных связей в одной молекуле субстрата. Возможен и одноцепочечный механизм, когда фермент расщепляет все связи в одной молекуле. Отличительной особенностью глюкоамилаз является гидролиз предпочтительно высокомолекулярного субстрата. Низкомолекулярные олиго - и дисахариды расщепляются медленно.

Фермент имеет выраженную трансферазную способность, которая проявляется тем больше, чем выше степень гидролиза субстрата, и концентрация глюкозы в реакционной среде. В результате трансферазных реакций накапливаются такие сахара, как изомальтоза, паноза, нигероза, измальтотриоза и др. Появление этих продуктов снижает выход глюкозы. Поэтому в закрытой гидролитической системе, где глюкоза не удаляется из сферы реакции, теоретически невозможно достичь полного превращения крахмала в глюкозу под действием глюкоамилазы.

В открытой системе, при удалении глюкозы, снижается интенсивность трансферазных реакций, повышается скорость гидролиза за счёт снятия ингибирования продуктом реакции. В таких условиях можно достичь практически полного гидролиза крахмала до глюкозы с помощью одного фермента. На практике предпочитают использовать глюкоамилазу для осахаривания частично декстринизированного крахмала [5].

Синтезируется многими микроорганизмами, и образуется в животных тканях. Большинство глюкоамилаз - гликопротеины, содержание углеводов - от 5 до 35%, которые состоят из олиго-, моно - и дисахаридов. Углеводный компонент может быть либо целостным фрагментом, либо разбитым на индивидуальные соединения.

В промышленном биокатализе используют глюкоамилазы, продуцируемые микроскопическими грибами рода Aspergillus: A. oryzae, A. niger, A. awamory и некоторыми другими, например, Rhizopus delamarn и Rhizopu sniveus. Грибные глюкоамилазы - белки молекулярной массы от 48 до 112 кДа. Максимальная активность проявляется при рН 4,3-5,9 и температуре 40-70° С. Фермент из Asp. terreus активен в зоне рН 2-8. Глюкоамилазы мукоровых грибов способны гидролизовать крахмал на 95-100%, фермент из пенициллов и аспергиллов - на 88-95%.

Рисунок 1. Схема гидролиза α-1,4-связи в молекуле крахмала (стрелками показано действие фермента) [9]

ферментный препарат глюкоамилаза микроорганизм

2. Технология получения фермента


2.1 Методы культивирования продуцентов фермента


Культивирование продуцентов ферментов можно вести поверхностным и глубинным способами. Поверхностным способом можно вырастить только аэробную культуру микроорганизмов в основном на твёрдой сыпучей питательной среде.

Глубинным методом выращивают микроорганизмы в жидкой питательной среде, и этим методом можно вырастить как аэробные, так и анаэробные микроорганизмы. Подавляющее большинство продуцентов ферментов - аэробы, поэтому при глубинном культивировании, как и при поверхностном, применяют принудительное аэрирование растущей культуры микроорганизма [14].

В мировой практике одними из основных продуцентов глюкоамилазы являются штаммы грибов рода Aspergillus - Asp. niger, Asp. oryzae, Asp. usamii, Asp. awamori, Asp. batatae, в том числе рекомбинантные [23, 24, 25].

Аспергилл - это аэробные микроорганизмы, хорошо растут на различных субстратах. Образуют плоские пушистые колонии, вначале белого цвета, а затем, в зависимости от вида, они принимают разную окраску, связанную с метаболитами гриба и спороношением [6]. Аспергиллы культивируются на модифицированной среде Чапека. Так же существуют исследования, где для культивации данного микроорганизма используют отходы агросектора, то есть части сельскохозяйственных культур, которые после уборки и технической обработки не используются в качестве источника пищи или волокон [15].

Для культивирования данного продуцента в промышленности используется глубинный способ. Этот способ имеет ряд очевидных преимуществ перед поверхностным, так как позволяет значительно сократить производственные площади, исключить тяжёлый непроизводительный ручной труд, улучшить гигиену труда, упрощает механизацию и автоматизацию производства, делает возможным переход на непрерывный способ культивирования. При глубинном способе культивирования более рационально используются питательные вещества сред, что даёт возможность значительно сократить отходы производства в виде нерастворимых осадков твёрдой питательной среды, получать препараты ферментов с меньшим содержанием примесей и большей удельной активностью [3].

Рисунок 2. Принципиальная технологическая схема процесса глубинного культивирования микроорганизмов [2]

- смеситель питательной среды; 2 - колонна для непрерывной стерилизации потока питательной среды острым паром; 3 - теплообменник - выдерживатель; 4 - теплообменник для охлаждения потока питательной среды; 5 - инокуляторы (посевные аппараты); 6 - индивидуальный фильтр для очистки воздуха, подаваемого в инокулятор; 7 - реактор - ферментер; 8,9 - насосы; 10 - масляный фильтр для предварительной очистки воздуха; 11 - компрессор; 12 - головной фильтр для очистки воздуха

 


2.2 Ферментёры. Стерилизация оборудования


Глубинное культивирование проводят в вертикальных ёмкостях различного размера, называемых ферментаторами. Основное требование к ферментатору - возможность проведения процесса культивирования продуцента в асептических условиях при интенсивном аэрировании среды. В процессе культивирования приходится иметь дело со сложной трёхфазной системой жидкость - твёрдая взвесь - газ. В такой системе затруднены массообменные процессы, и в связи с этим усложняется аппаратурное оформление всей стадии выращивания.

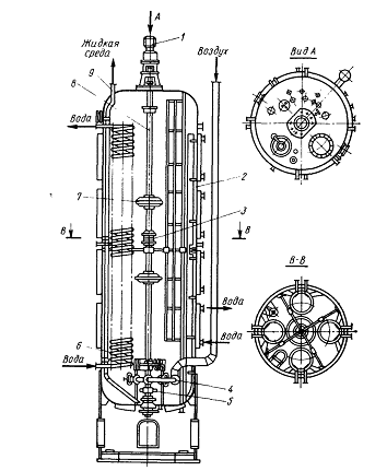
Существующие промышленные ферментаторы по способу подвода энергии на аэрирование и перемешивание можно подразделить на три группы: аппараты с механическим перемешиванием и барботажем (комбинированные) (рис.3); с эжекционной системой аэрирования (подвод энергии к жидкой фазе) и барботажные (подвод энергии к газовой фазе). Для ферментной промышленности самый значительный интерес представляет первая группа аппаратов, предназначенная для асептических процессов. Эти аппараты в основном имеют цилиндрическую форму и отличаются по объёму, конструкции отбойников, перемешивающих устройств, уплотнений вращающегося вала и теплообменным устройствам [8].

Аппараты рассчитаны для работы под избыточным давлением 0,25 МПа и стерилизации при температуре 130 - 140°С. Во избежание инфицирования культуры предусмотрены торцовые уплотнения вала перемешивающего устройства с паровой защитой. Торцовые уплотнения позволяют практически полностью предотвратить утечку среды или попадание воздуха в полость аппарата в месте выхода из него вала, что очень важно для обеспечения асептических условий процесса. Важным фактором с точки зрения асептики процесса культивирования продуцента является правильная обвязка ферментатора. Под обвязкой подразумевают подвод всех коммуникаций с учётом возможности стерилизации острым паром участков, которые могут явиться источником заражения.

Рисунок 3. Ферментатор барботажного типа с перемешивающим устройством объёмом 100 м3 [3].

- привод; 2 - корпус; 3 - муфта; 4 - барботёр; 5 - крыльчатка; 6 - змеевик; 7 - турбина; 8 - вал; 9 - труба для вывода жидкости из ферментатора под высоким давлением.

Характерной особенностью одной из самых распространённых в микробиологическом производстве монтажных схем является установление термических затворов 3 и 5 (рис.4) для предупреждения проникновения посторонней микрофлоры в аппарат по коммуникациям через неплотности в уплотнениях "седло - клапан" запорной арматуры. Такие термические затворы обеспечивают весьма эффективную защиту аппаратов и коммуникаций от инфицирования. В монтажных схемах должен предусматриваться свободный доступ пара во все точки стерилизуемых внутренних полостей аппаратов, трубопроводов и запорной арматуры, что обеспечивает достижение и поддержание требуемой температуры стерилизации. Однако на практике часто одно и то же монтажное оформление коммуникаций и запорной арматуры различного диаметра не обеспечивает равного стерилизующего эффекта.

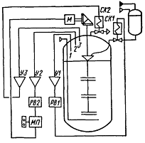
Следует также уделять большое внимание процессу пенообразования при культивировании и устройствам для пеногашения. Все существующие и используемые в ферментной промышленности ферментаторы снабжены специальными устройствами для введения пеногасителя и контроля высоты пены в аппарате. Схема пеногашения, принятая в стерильных производствах, представлена на рисунке 5. В неё включены датчики 1, 2 и 3 различных уровней пены.

Стерилизации аппаратов и коммуникаций уделяют огромное внимание. Аппаратуру и коммуникации стерилизуют острым паром при температуре 130-140оС и избыточном давлении 0,15-0,2 МПа. Самая тщательная стерилизация может не дать эффекта, если нарушена герметичность оборудования. Все вентили перед установкой проверяют гидравлическим опрессовыванием при давлении 0,3 МПа, герметичность соединений проверяют при избыточном давлении пара 0,15-0,2 МПа. Особое внимание уделяется стерилизации аппаратуры и подачи пеногасителя. Стерилизацию этих узлов проводят при 135-140оС в течении 1,5-2 ч. На стадии стерилизации ведётся постоянный микробиологический контроль стерильности питательной среды, подаваемого в стерилизатор воздуха, пеногасителя и т.д.

Рисунок 4. Монтажная схема ферментатора с нижним спуском среды [3].

- штутцер для введения посевного материала; 2 - провод для удаления отработавшего технологического воздуха; 3, 5 - термические затворы; 4 - пробник.

Рисунок 5. Схема автоматизации пеногашения [3].

, 2, 3 - датчики уровня пены; У1, У2, У3 - усилители электросигнала; РВ1, РВ2 - реле времени; СК1, СК2 - электромагнитные клапаны; МП - магнитный пускатель; М - электродвигатель мешалки.

2.3 Приготовление и стерилизация питательных сред


Аспергиллы, продуценты глюкоамилазы, являются типичными аэробами, поэтому они могут развиваться только на поверхности твёрдой или жидкой среды, или в жидкой, достаточно аэрируемой среде. Оптимальная температура для, большинства аспергиллов 25-30°С, для некоторых - до 35°С. Оптимальная влажность среды для них около 65%.

При глубинном культивировании микроорганизмы развиваются во всём объёме жидкой питательной среды. Так как представленный продуцент фермента - строгий аэроб, среду интенсивно аэрируют. В микроорганизмах протекают два неразрывно связанных процесса - синтез биомассы и синтез ферментов.

Для максимального накопления ферментов необходимы определённый состав питательной среды, обеспечение кислородом воздуха, своевременный отвод метаболитов и физиологического тепла, оптимальные значения рН и температуры. Важнейшим условием является также стерильность питательной среды, подаваемого воздуха, ферментаторов, трубопроводов и арматуры.

Для глубинного культивирования используют жидкие питательные среды, содержащие примесь твёрдых компонентов. В комплексных питательных средах, основанных на естественном сырье с добавлением отрубей, ростков, кукурузного жмыха, глютена, свекловичного жома, спиртовой барды, следят за тем, чтобы не было крупных комочков, так как они затрудняют стерилизацию и могут привести к забиванию коммуникаций. Поэтому перед смешением необходимо проводить просеивание твёрдых компонентов или грубую фильтрацию.

Жидкую часть питательной среды (вода или фильтрат барды) обогащают питательными слоями, гидролизатами белков, аминокислотами, источниками биоса, различными углеводами. Содержание сухих веществ в жидких питательных средах может колебаться от 1,5 до 16% в зависимости от рода продуцента и принятого режима культивирования [18].

Для образования амилолитических ферментов плесневелыми грибами в условиях глубинного выращивания предложены также различные питательные среды, представляющие собой видоизменённые среды Чапека. Для повышения активности ферментов предложена среда, содержащая 6% крахмала, азотнокислый натрий, солевой состав среды Чапека и водную вытяжку из солодовых ростков. В дальнейшем исследователями установлена возможность замены растворимого крахмала кукурузной или ржаной мукой.

Для глубинного культивирования Asp. awamori (наиболее активного по глюкоамилазной способности из имеющихся штаммов) рекомендуется следующий состав питательной среды: водный раствор, содержащий 3% кукурузной муки; 0,01% азотнокислого натрия (по азоту 0,15%); 0,05% сернокислого магния; 0,05% хлористого калия; 0,1% однозамещённого фосфорнокислого натрия и 0,001% сернокислого железа [2].

Стерилизацию питательных сред можно провести двумя способами: периодическим и непрерывным. Периодический способ используется при работе с небольшими объёмами в лабораторных условиях. Он довольно длителен и происходит при меньших температурах, чем непрерывный. Непрерывный метод стерилизации используется для больших объёмов. Происходит при температуре 140 - 145оС и выдерживается 1-10 минут. Предложено несколько конструкций непрерывных стерилизаторов. Общим для всех аппаратов этого типа является расчленение процесса на три этапа и проведение каждого из них в потоке в отдельном аппарате. Первый аппарат, в котором среда нагревается до температуры стерилизации, называется стерилизатором, нагревательной колонкой или колонкой для стерилизации питательной среды (рис.6, а). Второй аппарат, где стерилизуемую массу выдерживают при определённой температуре стерилизации, называется выдерживаетелем. Он предназначен для продления времени стерилизации и достижения максимальной гибели микрофлоры (рис.6, б, в). Третий аппарат - теплообменник, предназначенный для охлаждения стерильной питательной среды до оптимальной температуры засева [3].

 

2.4 Подготовка посевного материала


Для засева производственной питательной среды при глубинном культивировании посевной материал готовят также глубинным способом. Вид посевного материала зависит от продуцента. Для грибов - это мицелиальная масса.

Получение посевного материала осуществляется постадийным увеличением массы культуры продуцента. При небольшой производительности цеха она сводится к одной или двум операциям, а для заводов большой производительности представляет собой многостадийный процесс [10].

Рисунок 6. Аппараты непрерывной стерилизации жидкой питательной среды [3]: а - тарельчатые нагревательные колонки; б - выдерживатель колонного типа; в - выдерживатель спирального типа.

Для Аsp. awamori:

1. Пробирка с исходной культурой на агаризованной питательной среде;

. Пересев водной суспензии культуры в колбы с жидкой питательной средой, содержащей 5% кукурузной муки и 0,5% дрожжевого автолизата, культивирование на качалке в течение 48 ч;

. Пересев культуры в сосуды вместимостью 6 л (величина засева 10-12% к объёму питательной среды), культивирование 48 часов;

. Пересев культуры в инокулятор на кукурузное сусло концентрацией 6%, культивирование в течение 48 ч при температуре 27°С, перемешивании мешалкой с частотой вращения 950 об/мин и подачей воздуха 16 м3/ч;

. Пересев культуры в производственный ферментатор (величина засева 3 - 5% к объёму питательной среды).

Культивирование на всех стадиях должно проводиться при оптимальной температуре, аэрации и в строго определённое время. Если возникают непредвиденные задержки в использовании, то по­севной материал охлаждают до 8 - 10°С и хранят не дольше 4 ч, иначе качество его может резко ухудшиться. Посевной материал как на отдельных стадиях, так и готовый подвергают тщательному микробиологическому контролю. Посевной материал не должен быть инфицирован посторонней микрофлорой и должен содержать определённое количество спор или клеток на единицу массы, стойко сохранять генетически заложенные в нём свойства продуцировать ферменты [18].

 

2.5 Предварительная обработка культуральной жидкости, выделение, очистка и расфасовка препарата фермента


Культура микроорганизмов, выращенная поверхностным способом, и культуральная жидкость после глубинного культивирования содержат большое количество балластных веществ. Выделение и очистка ферментов - трудоёмкий и дорогостоящий процесс поэтому, если ферментный препарат можно использовать в виде неочищенной культуры микроорганизмов, его очистку не проводят. В большинстве отраслей пищевой промышленности, а также в текстильной, меховой, микробиологической промышленности и особенно медицине можно использовать только очищенные препараты ферментов, частично или полностью освобождённые от балластных веществ.

Исходным материалом для получения очищенных ферментных препаратов может служить фильтрат культуральной жидкости, реже - биомасса продуцента или водный экстракт из поверхностной культуры продуцента. Ферментные препараты могут быть получены в виде порошков или жидких концентратов. В процессе выделения происходит повышение доли активного белка в общей массе препарата, т.е. увеличивается его удельная активность.

Схема очистки фермента от балластных веществ сводится к освобождению его от нерастворимых веществ, сопутствующих растворимых веществ и других ферментов. Из глубинных культур получить очищенные препараты несколько легче, но при этом приходится вести выделение из разбавленных растворов, если выделение ферментов проводится из жидкой части культуры. Принципиальную схему выделения и очистки ферментов из глубинных и поверхностных культур микроорганизмов можно представить в виде следующей схемы (рис.7).

Схемы получения ферментных препаратов зависят от свойств выделяемого фермента и методов очистки, применённых для получения препарата нужной степени чистоты. В качестве примера рассмотрим технологическую схему получения препаратов из поверхностной и глубинной культур в виде жидких концентратов, сухих технических препаратов, получаемых сушкой распылением, и препаратов, осаждённых органическими растворителями (рис.8).

Рисунок 7. Схема выделения и очистки ферментов из глубинных и поверхностных культур микроорганизмов [2].

Фильтрат охлаждённой культуральной жидкости собирается в основном сборнике и по мере надобности передаётся в сборник небольшой вместимости перед поступлением в подогреватель вакуум-выпарной установки плёночного типа. Концентрат культуральной жидкости с содержанием сухого вещества 6 - 10 % поступает в сборник концентрата. Для получения сухого технического препарата концентрат направляют в башню распылительной сушилки 8. Сухой препарат через циклон 10, бункер 11 и шнек 12 попадает на стадию стандартизации, фасования и упаковывания.

Рисунок 8. Принципиальная технологическая схема получения очищенных препаратов из культур микроорганизмов, выращенных глубинным и поверхностным способами [3].

- сборник фильтрата культуральной жидкости; 2 - подогреватель вакуум-выпарной установки; 3 - сборник экстракта поверхностной культуры; 4 - конденсатор; 5 - сборник конденсата; 6 - вакуум-выпарной аппарат; 7 - сборник концентрата; 8 - распылительная сушилка; 9 - теплообменники; 10 - циклон; 11 - бункер для высушенного препарата; 12 - шнек; 13 - фильтр рукавный; 14 - осадитель; 15 - дозаторы; 16 - сепаратор; 17 - насос для спирта; 18 - мерник для спирта; 19 - смеситель промывки осадка спиртом: 20 - центрифуга; 21 - вакуум-сушилка роторная; 22 - бункер для высушенного осадка; 23.25 - бункера для наполнителей; 24 - бункер для сухого препарата; 26 - установки дисмембраторов; 27, 28 - весы; 29 - смесители непрерывного действия; 30 - бункера для стандартизированного препарата; 31 - установки для фасования и упаковывания препаратов; 32 - установка для экстракции ферментов; 33 - сушилка для биошрота; 34 - резервуар для воды; 35 - стерилизационная установка для сточных вод; 36 - охлаждающий теплообменник; 37 - фасование и упаковывание жидкого препарата Г2х или П2х.

Для получения более очищенного препарата концентрат из сборника подаётся на осаждение органическим растворителем. Предварительно концентрат охлаждают в теплообменнике до температуры 2 - 3°С и подают через дозатор в осадитель. Одновременно в осадитель дозируется охлаждённый растворитель. Образовавшийся осадок отделяют на сепараторе 16. Надосадочную жидкость направляют на регенерацию, а осадок - на промывку спиртом и повторное сепарирование. Промытый осадок высушивают в вакууме, измельчают, взвешивают, смешивают с наполнителем и направляют на фасование и упаковывание.

При получении ферментных препаратов из культур микроорганизмов, выращенных поверхностным способом, процесс очистки начинается с экстракции ферментов водой. Нерастворимый осадок высушивают и в виде сухого биошрота утилизируют на корм скоту.

Экстракт с содержанием сухого вещества 7 - 14 % при получении из него сухих препаратов не нуждается в дополнительном концентрировании и поэтому может быть сразу направлен на распылительную сушку с целью получения технического препарата, или же экстракт направляется в охладитель, а затем на осаждение органическими растворителями или солевыми растворами. Из экстракта можно получать стабильный жидкий концентрат с содержанием сухого вещества 50%, для чего экстракт направляют в сборник, затем в подогреватель и на вакуум-выпарную установку. Готовый жидкий концентрат фасуют в специальные ёмкости и направляют на склад готовой продукции. Из глубинной культуры можно также получать жидкие концентраты, например, методом ультрафильтрации. Фильтрат культуральной жидкости нестабилен, он не может храниться и должен немедленно направляться на дальнейшую обработку для получения очищенных ферментных препаратов.

Все ферменты являются водорастворимыми белками, поэтому наилучшим экстрагентом для них является вода. Для извлечения ферментов из дрожжей или бактерий необходимо подвергнуть механическому или автолитическому разрушению их клеточные стенки, обладающие высоким диффузионным сопротивлением. Оболочки мицелиальных нитей имеют меньшее диффузионное сопротивление, чем оболочки бактериальных и дрожжевых клеток, поэтому дезинтеграции культуры грибов не требуется [3].

Экстракты из фильтратов глубинной культуры являются нестабильными при хранении. Для получения готовых форм технических препаратов их необходимо сконцентрировать. Чаще всего для этих целей в технологии ферментных препаратов используются методы вакуум-выпаривания. Вакуум-выпаривание также применяется как один из этапов получения сухих технических или очищенных ферментных препаратов. Ферменты очень чувствительны к температуре выпаривания, поэтому основным условием концентрирования ферментных растворов является кратковременное ведение процесса при низких температурах кипения, чтобы выпариваемая жидкость не перегрелась, а ферменты не инактивировались. Следует учитывать, что чем чище раствор, чем меньше он содержит сопутствующих веществ, тем ферменты более чувствительны к воздействию высоких температур. При концентрировании фильтратов культуральной жидкости наблюдаются несколько большие потери, поэтому ферменты культуральной жидкости стабилизируют различными соединениями. В процессе концентрирования ферментных растворов происходят изменение растворимости многих соединений и выпадение их осадков, и суммарное содержание сухого вещества в концентрате снижается на 11 - 20 %, изменяется рН концентрата. В осадок выпадают минеральные соли, некоторые органические вещества и продукты их распада, наблюдается потеря азота в результате уноса аммиака [2].

Несмотря на наличие высокопроизводительных вакуум-выпарных аппаратов полностью устранить недостатки метода вакуум-выпаривания не удаётся (потери активности, выпадение осадков и т.д.), и этот метод все больше заменяется методом ультрафильтрации.

В ферментной промышленности для очистки белков от различных низкомолекулярных примесей (ионов солей, сахаров и т.д.) применяют мембранные методы очистки: диализ и электродиализ и баромембранные методы: обратный осмос, ультрафильтрацию, микрофильтрацию и тонкую фильтрацию.

Также используют осаждение белков органическими растворителями, высаливанием, органическими полимерами и путём избирательной денатурации; разделение белов хроматографическими методами.

Сушка ферментных препаратов имеет целью получить стабильный при хранении ферментный препарат из культуральной жидкости, её концентратов, из пастообразной массы, образующейся при высаливании, осаждении фермента спиртом или другими осадителями и т.д. Для обезвоживания ферментных растворов и осадков применяют сушку в вакуум-сушильных шкафах, распылительных и сублимационных установках. При этом возникает ряд проблем, связанных с большой термолабильностью ферментов.

Получаемые ферменты порой с целью стабилизации иммобилизуют, микрокапсулируют, гранулируют [20].

Процессу микрокапсулирования, т.е. заключению ферментных препаратов в полупроницаемую оболочку-капсулу, уделяется большое внимание. Микрокапсулирование имеет целью не только защиту фермента, но и создание возможности его многократного использования, а также вывода его из процесса в случае, если его дальнейшее пребывание в обрабатываемом субстрате нежелательно. Для микрокапсулирования применяют полимеры животного происхождения: казеин, желатин, альбумин. С большим успехом на практике применяются синтетические полимеры: поливинилацетат, полиакриламид, поливиниловый спирт и т.п. Сам процесс микрокапсулирования может быть осуществлён двумя способами: химическим или физическим. К химическим следует отнести способ образования плёнки на границе раздела двух фаз при реакциях полимеризации и поликонденсации. К физическим методам можно отнести вакуум-напыление, микрокапсулирование в псевдоожиженном слое, при взаимодействии аэрозолей, имеющих различный электрический заряд [12].

Более широко, чем микрокапсулирование, используется метод гранулирования ферментных препаратов. Гранулирование обычно связано с необходимостью ликвидировать пыление ферментного препарата. Гранулы ферментных препаратов можно получить различными способами: окатыванием, прессованием, таблетированием, в виброкипящем слое и т.д. [3].

Очень часто ферментативная активность партии готового препарата заметно отличается от предыдущих. Потребитель же должен получать препарат с определённой стандартной активностью. Для получения постоянной активности в препараты вводится наполнитель в определённом количестве, которое зависит от полученной на данном предприятии активности в культуре и препарате. Известно, что хорошим стабилизатором амилолитических ферментов является крахмал [3, 18]. Так же существуют исследования, где в качестве стабилизатора применяется коллаген [11].

 


3. Расчёт материального баланса


Исходные данные [18]:

1) Производительность цеха - 5тыс. усл. т/год Глюкавоморина

) Число рабочих дней в году - 345

) Продуктивность культуры - 250 ед/мл

) Объем ферментатора - 100 м3

) Продолжительность ферментации - 5-6 суток (130 ч)

) Оборот ферментатора - 142 ч

) Коэффициент заполнения ферментатора - 0,7

) Объем основной питательной среды - 70 м3

) Основной состав среды, кг/м3:

·        кукурузная мука - 300

·        ячменный солод для разжижения мучного замеса - 1.5

·        ячменный солод для осахаривания - 7.5

·        гидрофосфат аммония - 4.5

·        пропинол Б-400 - 0.58

·        рН - 3.0-4.8

·        посевной материал - 7 м3 (5-10% от объема основной ПС)

10) Состав посевной питательной среды

·        кукурузная мука - 5.0

·        кукурузный экстракт - 1.0

·        вода - остальное

·        рН - 4.8-5.0

11). Испарение и каплеунос при ферментации - 8% от объёма культуральной жидкости

Предварительный расчёт:

·        Объем производства составляет 5 000 усл. т/год или

/345=34,783*103 (усл. кг/сут.)

*250 ед/мл=8695,7*103 (кг/сут*ед/мл)

·        Количество Глюкаваморина в культуральной жидкости с одной операции

,7*103 (кг/сут*ед/мл) / 1050 (кг/м3) =8,282*1033/сут*ед/мл),

где 1050 (кг/м3) - плотность Глюкаваморина

·        Для приготовления производственной питательной среды объёмом 70 м3 требуется:

) кукурузная мука

*300=21000 кг

/1360=15.44 м3, где 1360 кг/м3 плотность кукурузной муки

) ячменный солод для разжижения

.5*70=105 кг

/1050=0.1 м3, где 1220 кг/м3 плотность ячменного солода

) солод для осахаривания

.5*70=525 кг, 525/1050=0.5 м3

) NH4H2PO4 4.5*70=315 кг

/1830= 0.175 м3

где 1830 кг/м3 плотность NH4H2PO4

) Пропинол Б-400

.58*70=40.6 кг

.6/990=0.041 м3, где 990 кг/м3 плотность пропинола Б-400

Общий объем всех компонентов с учётом посевного материала:

.0+15.44+0.1+0.5+0.175+0.041=23.256 м3

Таблица 1. Материальный баланс производства Глюкаваморина.

ПРИХОД

Наименование компонентов

На 1 операцию

В сутки


Поm, кг

По V, м3

Поm, кг

По V, м3

Кукурузная мука

21000

15.44

42000

30.44

Ячменный солод для разжижения

105

0.1

210

0.2

Солод для осахаривания

525

0.5

1050

1

NH4H2PO4

315

0.175

630

0.35

Пропинол Б-400

40.6

0.041

81.2

0.082

вода

46744

46.744

93928

93.928

Посевной материал

7151.2

7.0

14302.4

14

ИТОГО

75880.8

70

152201.6

140

 РАСХОД

Жидкость на каплеунос и испарение

6070.464

5.6

12176.128

11.2

КЖ

69810.336

64.4

140025.472

128.8

ИТОГО

75880.8

70

152201.6

140


·        Для приготовления питательной среды объёмом 7 м3 требуется:

Масса раствора: 1021.6*7=7151.2 кг, где 1021.6 кг/ м3 средняя плотность среды.

) кукурузной муки

.2*0.05 = 357.5 кг

) кукурузного экстракта

.2*0.01= 71.51 кг

) воды

.2*0,94 =6722.128 кг

Таблица 2. Материальный баланс получения посевного материала

ПРИХОД

Наименование компонентов

На 1 операцию

В сутки


По m, кг

По V, м3

По m, кг

По V, м3

Кукурузная мука

357.56

0.259

715.12

0.158

Кукурузный экстракт

71.512

0.057

143.024

0.114

Вода

6722.128

6.72

13444.256

13.44

ИТОГО

7151.2

7.036

14302.4

14.072

РАСХОД

На каплеунос

572.1

0.563

1144.2

1.126

КЖ

6579

6.44

13158

12.88

ИТОГО

7151.2

7.003

14302.2

14.06

 


4. Выбор и расчёт основного технологического оборудования

 

4.1 Оборудование для получения и подготовки питательных сред


4.1.1 Установка непрерывной стерилизации жидких питательных сред

Исходные данные для расчёта установки:

1)      производительность установки по исходной среде: G, м3/ч - 100;

2)      плотность среды r, кг/м3 - 1087.15;

)        удельная теплоёмкость среды с, Дж/кг´К - 4´103;

)        динамическая вязкость среды m, Па´с - 0,001;

)        начальная температура среды tн, °С - 60;

)        конечная температура среды tк, °С - 123;

)        давление среды абс. Р, МПа - 0,5;

)        давление пара Рп, МПа - 0,55;

)        температура пара tп, °С - 145;

)        плотность насыщенного пара rп, кг/м3 - 2.85;

)        температура конденсации пара tк. п, °С - 142 (при Р = 0,55 МПа);

)        теплоёмкость конденсата (при tср = (142 + 123): 2 = 132.5°С) ск, Дж/кг´К - 4, 19´103;

)        энтальпия пара при t = 145°СI, Дж/кг - 2540´103;

)        энтальпия пара при t = 142°СI1, Дж/кг - 2536´103;

)        плотность конденсата при t = 123°Сrк, кг/м3 - 943.

Нагреватель. Предназначен для разогрева среды острым паром.

·        Количество тепла, необходимое для нагревания среды

,

где 0,85 - коэффициент, учитывающий разбавление среды конденсатом греющего пара.

·        Расход тепла на стерилизацию с учётом потерь тепла в окружающую среду в размере 2-3 %:

Qст = 1,02´Qн = 6597913.35 Вт.

·        Расход пара на стерилизацию (L) определяется из уравнения:

Qст = L´ (I1 - I) + L´r + L´ск´ (tк - t2), откуда:

=3.0 кг/с= 1,05 м3/с.

·        Скорость истечения пара из отверстий нагревателя:

,

где j - коэффициент скорости.

·        Суммарная площадь отверстий в нагревателе, необходимых для ввода пара:

f = Lп: wп = 1,05: 72.2 = 0,0145 м2.

С учётом запаса производительности (1,1) f = 15 950 мм2.

Площадь одного отверстия диаметром 7 мм:

fо = 3,14 ´ 72: 4 = 38,465 мм.

·        Количество отверстий диаметром 7 мм для ввода пара в среду:

n = f: fо = 15 950: 38,465 = 415.

·        Диаметр внутренней трубы нагревателя:


o   Принимаем w = 1.1 м/с, тогда:


o   Принимаем D = 200 мм.

o   На внутренней трубе нагревателя D = 200 мм принимаем 20 рядов отверстий. Число отверстий в одном ряду 415: 20 = 21.

o   Принимаем длину внутренней трубы 0,6 м.

·        Диаметр штуцера для входа пара в нагреватель:

.

o   Принимаем wп = 42 м/с, тогда:


o   Принимаем Dп = 200 мм.

o   Диаметр наружной трубы нагревателя принимают:

Dнар = 1,75´D;

Dнар = 1,75´ 200 = 350 мм.

o   Ёмкостную часть нагревателя выбирают по ГОСТ 9931-86: объем 0,25 м3; диаметр 600 мм; высота 975 мм.

·        Объем пара, сконденсировавшегося в нагревателе:

Vк = 3,8: 935 = 0,0041 м3/с = 14,9 м3/ч.

·        Объем среды, выходящей из нагревателя:

Vср = 85,0 + 14,9 = 99,9 м3/ч » 100 м3/ч.

·        Время пребывания среды в нагревателе:


·        Диаметр штуцера для вывода среды:


Выдерживатель. Предназначен для выдержки среды при температуре стерилизации. Используют выдерживатель трубчатого типа.

o   Принимаем скорость движения среды в выдерживателе w = 0,11 м/с.

·        Диаметр выдерживателя:


o   Принимаем D = 600 мм.

o   Выбираем H: D = 10, тогда:

Н = 0,6 ´ 10 = 6 м.

·        Объем выдерживателя:


·        Число выдерживателей при времени выдержки 15 мин:


·        Число аппаратов с учётом коэффициента запаса h = 0,15:

n = 14.7 ´ 1,15 = 16,9.

·        Действительное время выдержки:


Ёмкость для среды. Предназначена для смешения и растворения компонентов среды. Выбирают стандартный ёмкостной аппарат по ГОСТ 9931-86, вмещающий объем среды на загрузку ферментатора с коэффициентом заполнения ёмкости, равным 0,7.

Холодильник. Предназначен для охлаждения среды до температуры ферментации.

Теплоносителем является пар.


где kп - коэффициент теплоотдачи, 500 Вт/м2


tн1 - соответствует температуре стерилизации (1230C)

tк1 - температура ферментации (350C)

·        Начальная температура охлаждающего агента tн2= 180C

o  

o   С2= 4180 Дж/кг*К; G2= 36 кг/с


·        Внутренний диаметр труб:


где ωж - скорость движения жидкости в трубах (3 м/с)


·        Общая дина труб:


·        Уточнённая общая длина труб:

м

·        Число элементов аппарата:

,

где

l - стандартная длинна труб теплообменника


·        Наружный диаметр труб:

,

где V - объёмный расход жидкости в кольцевом пространстве труб:


4.2 Оборудование для получения стерильного воздуха


Для очистки воздуха применяют фильтры с различными фильтрующими материалами и элементами.

Расчёт числа фильтров, имеющих стандартные фильтрующие элементы, производят по формуле:

n = V: Vф,

где

V - требуемый расход воздуха, м3/ч;

Vф - производительность одного фильтра, м3/ч.

o   Расход воздуха на аэрацию составляет 50 м33ч

·        Для производственных ферментаторов требуемый расход воздуха составляет:

м3*50м33ч=3500м3

o   Выбираем ФТОС-4000 (фильтр тонкой очистки):


·        Для посевных ферментаторов требуемый расход воздуха:

м3*50м33ч=350 м3

o   Выбираем ФТОС-500:


·        Для головных фильтров набивного типа рассчитывают их диаметр, м


где V - требуемый расход воздуха, м3/ч;

Vф - скорость воздуха внутри фильтра; зависит от материала, применяемого для набивки фильтра, принимаем 2м/с.


o   По ГОСТ 9931-85 выбираем фильтр номинальным объёмомVн =10м3, D=2200мм=2.2м

,  + 1запасной

 


4.3 Оборудование для ферментации

 

.3.1 Ферментаторы для глубинного культивирования микроорганизмов васептических производствах

В производственных условиях чаще всего используют ферментаторы барботажного типа с механическим перемешиванием. Ферментация осуществляется в периодическом режиме.

·        Необходимое количество ферментаторов:

n = G × t × k: V × j × 24,

где G - расход питательной среды, м3/сут;

t - оборот ферментатора, ч;

k - коэффициент запаса (k = 1,1¸1,2);

V - геометрический объем ферментатора, м3;

j - коэффициент заполнения ферментатора (j = 0,70).

·        Число сливов культуральной жидкости за сутки:

m = G: V × j, тогда:

n = m × t × k: 24 = 2*142*1.2: 24 = 14.2

·        Необходимое количество посевных аппаратов:

nп = m × tп × k: 24 = 2*30*1.2: 24 = 3,

где tп - оборот посевного аппарата, ч.

·        Расчёт перемешивающего устройства. Мощность, потребляемая мешалкой, определяется по формуле:

N = kN × ρ × n3 × d5

где kN - критерий мощности (зависит от типа перемешивающего устройства и характера движения среды);

ρ - плотность жидкости, кг/м3;

n - частота вращения мешалки, с-1, 2.88 с-1 [1].

d - диаметр мешалки, м.

o   Выбираем турбинную мешалку dм=0.33*Dф-равн= 0.33*3600=1188 мм

·        Критерий мощности kN определяют по графику в зависимости от значения критерия Re и конструкции мешалки:

Re = n × ρ × d2/μ,

где μ - коэффициент динамической вязкости жидкости, Па×с, μ=0.001.

, где kN=4


·        Мощность электропривода:

Nэ = (kn × kн ×∑ ki × N+ Nупл) / η,

где kn - коэффициент, учитывающий наличие перегородок (для аппаратов без перегородок kn = 1,25);

ki - коэффициент, учитывающий наличие в сосуде внутренних устройств (при наличии змеевика ki = 2);

Nупл - мощность, затрачиваемая на преодоление трения в уплотнениях вала, Вт;

η - коэффициент полезного действия привода;

kн - коэффициент наполнения аппарата.

kн = (Нж / D) 0,5,где Нж - высота столба жидкости, м, Нж=8 м;

D - диаметр аппарата, м, D=3.6 м.


·        При торцовых уплотнениях:

Nупл = 6020 × d1,3,где d - диаметр вала.

o   Ориентировочно: d = с × dмеш,

где с - коэффициент, зависящий от типа мешалки: для турбинной с = 0,117.


·        Расчёт насосов. При проектировании необходимо определить напор жидкости, создаваемый насосом, и мощность электродвигателя при заданном расходе жидкости. По этим характеристикам выбирают насос конкретной марки.

Произведём расчёт насоса, перекачивающего питательную среду из УНС в ферментатор.

·        Полезная мощность на перекачивание жидкости:

Nп = ρ × g × G × H,

где G - расход жидкости, м3


ρ - плотность жидкости, 1087.15 кг/м3;

g - ускорение свободного падения, 9.8 м/с2;

H - напор, м.

H = (Р2 - Р1): (ρ × g) + Hг + hп,

где Р1 - давление в аппарате, из которого перекачивается жидкость, кПа (0.1 МПа=100 кПа)

Р2 - давление в аппарате, в который перекачивается жидкость, кПа (0.5 МПа=500 кПа);

Hг - геометрическая высота подъема жидкости, 16 м;

hп - суммарные потери напора во всасывающей и нагнетательной линиях, принимаем 8 м.


o   Выбираем центробежный насос 4К-6, G = 90 м3/ч [6].

·        Номинальная мощность двигателя:

N = Nп: (ηн × ηпер), Nп=10987.15*9.8*0.03*62=20 кВт, N=26 кВт,

где ηн - к. п. д. насоса (для центробежного насоса ηн = 0,8)

ηпер - к. п. д. передачи от электродвигателя к насосу (ηпер = 0,95 при зубчатой передаче).

Nдв= N: ηдв=.30 кВт

·        Произведёмрасчёт насоса, перекачивающего питательную среду из ферментатора в сборник.

·        Полезная мощность на перекачивание жидкости:

Nп = ρ × g × G × H,

где G - расход жидкости, м3


ρ - плотность жидкости, 1087.15 кг/м3;

g - ускорение свободного падения, 9.8 м/с2;

H - напор, м.

H = (Р2 - Р1): (ρ × g) + Hг + hп,

где Р1 - давление в аппарате, из которого перекачивается жидкость, кПа (0.07 МПа=70 кПа)

Р2 - давление в аппарате, в который перекачивается жидкость, кПа (0.1 МПа=100 кПа);

Hг - геометрическая высота подъема жидкости, 16 м;

hп - суммарные потери напора во всасывающей и нагнетательной линиях, принимаем 5 м.



4.3.2 Подбор и расчёт ёмкостного оборудования

Необходимый объем ёмкости рассчитывается следующим образом:

,

где k = 0,7 для ёмкостей с перемешивающим устройством

τ = 0.5 ч - время пребывания среды в аппарате

G - расход жидкости, м3/ч.

Исходя из необходимого объёмаёмкости подбирается стандартная ёмкость по ГОСТ 9931-85.

·        Ёмкостной смеситель для приготовления питательной среды:

G = 70 м3/ч, V = 70× 0,5: 0,7 = 50 м3

o   Выбираем ёмкостьобъёмом 25 м3

·        Количество стандартных ёмкостей рассчитывается следующим образом:

n = V: Vст

n = 50: 25 = 2.

o   Принимаем 2 стандартных ёмкости.

Объем стандартной ёмкости равен 25 м3, диаметр 2600 мм, высота цилиндрической части 3765 мм.

·        Осахариватель:

G = 70 м3/ч,

V = 70× 0,15: 0,7 = 25 м3

o   Выбираем ёмкость объёмом 25 м3

Количество стандартных ёмкостей рассчитывается следующим образом:

n = V: Vст=1

Объем стандартной ёмкости равен 25 м3, диаметр 2600 мм, высота цилиндрической части 3625 мм.

Заключение


При написании работы были выполнены все поставленные задачи, поставленные для достижения заданной цели - расчёта оборудования, необходимого при производстве глюкоамилазы:

.        Изучена необходима литература, подобрано оборудование.

2.      Описаны все процессы стерилизации питательных сред и оборудования, и процессы приготовления питательной среды, подготовки чистой культуры продуцента, его посева, затем выделения, очистки и фасовки готовой продукции.

.        Произведён подбор необходимого для процесса оборудования, а также расчёт размеров и необходимое количество аппаратов. Подробно рассчитана установка непрерывной стерилизации.

.        Рассчитан материальный баланс производства осахаривателя крахмалсодержащего сырья.

.        Выполнена графическая часть (схемы оборудования, технологическая схема производства, эскизная схема получения).

Список литературы


1. Иванова А.А., Войно Л.И., Иванова И.С., Пищевая биотехнология. М.: Колос С, 2008.427 с.

. Яровенко В.Л., Калунянц К.А., Голгер Л.И. Производство ферментных препаратов из грибов и бактерий.М. Пищевая промышленность 1970.444 с.

. Грачева И. M., Технология ферментных препаратов. М: Агропромиздат, 2008.335 с.

. Бирюков В. В, Основы промышленной биотехнологии: Учеб. пособие для вузов. - М.: КолосС, 2004.296 с.

. Кислухина О. В, Ферменты в производстве пищи и кормов. Издательство: М.: ДеЛипринт, 2002.336 с.

. Аспергилл. Википедия - свободная энциклопедия. [Электронный ресурс]: - энциклопедия - Режим доступа: #"865516.files/image053.gif">

Похожие работы на - Расчёт аппаратуры для производства глюкоамилазы

 

Не нашли материал для своей работы?
Поможем написать уникальную работу
Без плагиата!
Без нейросетей!