Расчеты болтового и шпилечного соединения
Введение
Способы соединения деталей и сборочных единиц
механизмов различны. Их можно разделить на неразъемные и разъемные. Неразъемные
соединения можно разобрать только при частичном разрушении соединяемых деталей.
Разъемные соединения отличаются тем, что их разборка возможна без разрушения
деталей, входящих в соединение. Разъемные соединения в свою очередь делятся на
подвижные и неподвижные. С помощью подвижных соединений можно обеспечить
определенное перемещение одних деталей относительно других. К ним относятся
различные опоры и направляющие. Неподвижные соединения обеспечивают
фиксированное положение одних деталей по отношению к другим.
Соединение деталей с помощью резьбы является
одним из старейших и наиболее распространенных видов разъемного соединения. К
ним относятся соединения с помощью болтов, винтов, шпилек, винтовых стяжек и
т.д.
Применение винтовых поверхностей в технике
началось ещё в античные времена. Считается, что первым винт изобрел Архит
Тарентский - философ, математик и механик, живший в IV-V веках до н. э. Широко
известен изобретенный Архимедом винт, применявшийся для перемещения жидкостей и
сыпучих тел. Первые крепёжные изделия, имеющие резьбы, начали применяться в
Древнем Риме в начале н. э. Однако, из-за высокой стоимости они использовались
только в ювелирных украшениях, медицинских инструментах и других дорогостоящих
изделиях.
Широкое применение ходовые и крепёжные резьбы
нашли лишь в Средневековье. Изготовление наружной резьбы происходило следующим
образом: на цилиндрическую заготовку наматывалась смазанная мелом или краской
верёвка, затем по образовавшейся спиральной разметке нарезалась винтовая
канавка. Вместо гаек со внутренней резьбой использовались втулки с двумя или
тремя штифтами.
В XV-XVI веках началось изготовление трёх- и четырёхгранных
метчиков для нарезания внутренней резьбы. Обе сопрягаемые детали с наружной и
внутренней резьбой для свинчивания подгонялись друг под друга вручную.
Какая-либо взаимозаменяемость деталей полностью отсутствовала.
Цель курсовой работы состоит в том, чтобы,
опираясь на теоретико-практическую основу изучить:
виды резьбовых соединений, классификацию по
назначению резьбовых соединений
резьба и виды резьб, рассмотрим признаки
классификации резьбы
изображение резьбы, правила изображения и
нанесения размеров
стандартные крепежные детали, виды и условные
обозначения крепежных деталей
нарезание резьбы, способы изготовления резьбы
В данной курсовой работе приведены расчеты
болтового и шпилечного соединения, чертежи прилагаются на формате А3.
Структура данной курсовой работы состоит из
введения, трех глав, заключения, списка использованной литературы и приложения.
1. Резьба
Резьба - равномерно расположенные выступы или
впадины постоянного сечения, образованные на боковой цилиндрической или
конической поверхности по винтовой линии с постоянным шагом.
1.1 Виды резьбы
В машиностроении широко используются изделия,
имеющие винтовые поверхности. По конструктивному назначению их можно
классифицировать на три группы:
крепежные изделия, употребляемые для разъемного
неподвижного соединения деталей, приборов;
изделия с резьбой для преобразования
вращательного движения в поступательное;
изделия специального назначения, например
металлорежущий инструмент: сверла, фрезы, щетки для очистки дымоходных труб
(кольцевой косой геликоид).
В основе образования резьбы лежит винтовое
движение некоторой фигуры относительно прямой, называемой осью винтового
движения. Если такое движение совершает точка, то пространственную кривую,
образованную точкой, называют винтовой линией.
Резьба образуется при винтовом движении
некоторой плоской фигуры, задающей так называемый профиль резьбы, расположенный
в одной плоскости с осью винтового движения.
Типы резьбы зависят от формы профиля резьбы.
Профиль резьбы - контур сечения резьбы плоскостью, проходящей через её ось. По
форме профиля резьбу называют треугольной, трапециевидной, прямоугольной,
полукруглой, специальной. Треугольные резьбы подразделяются на метрическую,
дюймовую, трубную, коническую дюймовую; трапециевидные - трапецеидальную, упорную,
упорную усиленную; полукруглая - резьба для санитарно-технической арматуры, для
патронов и цоколей электроламп (рис. 1.1, рис. 1.3).
Резьбу можно получить способом, подобным способу
получения винтовой линии. Предположим, что подведенный к цилиндру конец резца
имеет форму равнобочной трапеции. Если цилиндру придать вращательное движение,
а резец углублять на величину b, то на цилиндре получится проточка, форма и
размеры которой будут соответствовать концу резца (рис. 1.2). Но если резцу
придать еще и равномерно-поступательное движение, параллельное оси вращения
цилиндра, то на цилиндре получится резьба. В зависимости от формы заточки конца
резца и образуется соответствующий профиль резьбы. В приведенном примере резьба
будет иметь трапецеидальный профиль.
Рис. 1.1 - Винт с резьбой
Рис. 1.2 - Нарезание проточки трапецеидального
профиля трапецеидальной формы
Номинальные
размеры параметров резьбы являются общими как для наружной (резьбы на стержне),
так и для внутренней резьбы (резьбы в отверстиях). К теоретическим параметрам
резьбы относят (рис. 1.4):(D) - наружный диаметр резьбы, под которым понимают
диаметр воображаемого цилиндра, описанного касательно к вершинам наружной
резьбы или впадинам внутренней. Этот диаметр для резьбы принимают за
номинальный и используют при обозначении резьбы;(D1) - внутренний диаметр
резьбы, под которым понимают диаметр воображаемого прямого цилиндра, описанного
вокруг впадин наружной резьбы или вершин внутренней резьбы;- шаг резьбы,
определяемый расстоянием по линии, параллельной оси резьбы, между средними
точками ближайших одноименных боковых сторон профиля резьбы, лежащими в одной
осевой плоскости по одну сторону от оси резьбы;
Рис.
1.3 - Виды резьбы на стержне: а - треугольная, б, в - трапециевидная, г -
полукруглая, д - прямоугольная (квадратная)
Рис.
1.4 - Основные параметры резьбы
Ph - ход резьбы - это расстояние по линии, параллельной
оси резьбы, между любой исходной средней точкой на боковой стороне профиля
резьбы и средней точкой, полученной при перемещении исходной точки по винтовой
линии на угол 360о, или - значение относительного осевого перемещения детали с
резьбой за один оборот;
α - угол профиля
резьбы, определяемый между боковыми сторонами профиля в осевой плоскости;-
высота исходного профиля, под которым понимают высоту остроугольного профиля,
полученного при продолжении боковых сторон профиля до их пересечения (это относится
к резьбе с треугольным профилем);- высота профиля, определяемая расстоянием
между вершиной и впадиной профиля в направлении, перпендикулярном к оси
резьбы;- рабочая высота профиля, под которой понимают высоту соприкосновения
сторон профиля наружной и внутренней резьбы в направлении, перпендикулярном к
оси резьбы.
Резьбу, созданную движением одного профиля,
называют однозаходной. Для получения одноходового винта достаточно навивать,
например, треугольную призму так, чтобы витки прилегали один к другому. Тогда
при одном обороте во время завинчивания винт переместится на расстояние, равное
величине шага, где ход Рh одноходового винта равен шагу резьбы Р (рис. 1.5).
Таким образом, в однозаходной резьбе ход равен шагу.
Рис. 1.5 - Однозаходный винт
Резьбу, образованную движением двух, трех и
более одинаковых профилей называют многозаходной (двухзаходной, трехзаходной и
т. д.). Для получения двухходового винта надо одновременно навивать две
треугольные призмы (рис. 1.6), расположенные рядом без промежутка. Во время
завинчивания такой винт за один оборот переместится на расстояние двух шагов 2Р
(Рh = 2Р), т.е. ход Ph равен 2Р, где 2 - число заходов.
|
Рис.
1.6 - Двухзаходный винт
|
Рис.
1.7 - Трёхзаходный винт
|
Для получения трехзаходного винта надо
одновременно навивать три треугольные призмы (рис. 1.7); тогда при одном
обороте во время завинчивания такой винт переместится на расстояние трех шагов
и, следовательно, ход трехзаходного винта будет равен 3Р (Рh = 3Р).
1.2 Классификация резьбы
Резьба и резьбовые соединения широко
распространены в технике. К их достоинствам относятся универсальность,
надёжность, удобство сборки и разборки, простота изготовления.
Выполним классификацию резьбы по наиболее
характерным признакам. В таблице 1.1 показана классификации резьбы (см.
приложение).
В зависимости от формы профиля различают резьбы
треугольного, прямоугольного, трапецеидального, круглого и других профилей.
В зависимости от вида поверхности, на которой
нарезана резьба, они подразделяются на:
а) цилиндрическую (резьба расположена на
поверхности цилиндра вращения);
б) коническую (резьба - на поверхности конуса
вращения);
в) глобоидную (резьба - на поверхности
гиперболоида вращения).
В зависимости от расположения резьбы на
поверхности стержня или в
отверстии она бывает наружной и внутренней.
По эксплуатационному назначению резьбы
подразделяются на резьбы общего назначения и специальные. В свою очередь, резьбы
общего назначения делятся на крепёжные (метрическая, дюймовая),
крепёжно-уплотнительные (трубные, конические) и кинематические-ходовые
(трапецеидальные, упорные, прямоугольные).
К специальным резьбам относятся резьбы со
стандартным профилем, но нестандартным диаметром или шагом.
Кроме того, все резьбы разделяют на две группы:
стандартизованные резьбы, т. е. резьбы с
установленными стандартами параметрами: профилем, шагом и диаметром;
нестандартизованные резьбы, параметры которых не
соответствуют стандартизованным.
Подробнее стандартные и нестандартные резьбы
рассмотрим в подзаголовке 1.4.
1.3 Изображение резьбы
Правила изображения резьбы устанавливает ГОСТ
2.311-68.
. Резьбу изображают:
а) на стержне − сплошными основными
линиями по наружному диаметру резьбы и сплошными тонкими линиями - по
внутреннему диаметру. На изображениях, полученных проецированием на плоскость,
параллельную оси стержня, сплошную тонкую линию по внутреннему диаметру резьбы
проводят на всю длину резьбы без сбега, а на видах, полученных проецированием
на плоскость, перпендикулярную к оси стержня, по внутреннему диаметру резьбы
проводят дугу, приблизительно равную ¾ окружности,
разомкнутую в любом месте (рис. 1.8, 1.9);
Рис. 1.8 - Резьба на цилиндрическом стержне
Рис. 1.9 - Резьба на коническом стержне
б) в отверстии - сплошными основными линиями по
внутреннему диаметру резьбы и сплошными тонкими линиями - по наружному
диаметру. На разрезах, параллельных оси отверстия, сплошную тонкую линию по
наружному диаметру резьбы проводят на всю длину резьбы без сбега, а на
изображениях, полученных проецированием на плоскость, перпендикулярную к оси
отверстия, по наружному диаметру резьбы проводят дугу, приблизительно равную ¾
окружности,
разомкнутую в любом месте (рис. 1.10, 1.11). Сплошную тонкую линию при
изображении резьбы наносят на расстоянии не менее 0,8 мм от основной линии и не
более величины шага резьбы.
. Резьбу, показываемую как невидимую, изображают
штриховыми линиями одной толщины по наружному и по внутреннему диаметру (рис.
1.12).
. Линию, определяющую границу резьбы, наносят на
стержне и в отверстии с резьбой в конце полного профиля резьбы (до начала
сбега). Границу резьбы проводят до линии наружного диаметра резьбы и изображают
сплошной основной или штриховой (если резьба изображена как невидимая) линией,
(рис. 1.12, 1.13).

Рис. 1.11 - Резьба в коническом отверстии
Рис. 1.12 - Невидимое отверстие с резьбой
Рис. 1.13 - Граница резьбы на стержне
4. Штриховку в разрезах и сечениях проводят до
линии наружного диаметра резьбы на стержнях и до линии внутреннего диаметра в
отверстии, т. е. в обоих случаях до сплошной основной линии (рис. 1.10, 1.11,
1.14, 1.15).
. Сбег резьбы изображают сплошной тонкой прямой
линией, как изображено на рисунках 1.16, 1.17.
. Недорез резьбы, выполненной до упора, изображают,
как показано на рисунке 1.18 а, в. Допускается изображать недорез резьбы, как
показано на
рисунке 1.18 б, г.
. На чертежах, по которым резьбу не выполняют,
конец глухого резьбового отверстия допускается изображать, как показано на
рисунке 1.19, даже при наличии разности между глубиной отверстия под резьбу и
длиной резьбы.
Рис. 1.14 - Внутренняя резьба в сечении в
сечении
Рис. 1.15 - Наружная резьба
Рис. 1.16 - Сбег наружной резьбы
Рис. 1.17 - Сбег внутренней резьбы
Рис. 1.18 - Разновидности изображения недореза
резьбы, выполненного до упора
. Фаски на стержне с резьбой и в отверстии с
резьбой, не имеющие специального конструктивного назначения, в проекции на
плоскость, перпендикулярную к оси стержня или отверстия, не изображают.
Сплошная тонкая линия изображения резьбы на стержне должна пересекать линию
границы фаски (рис. 1.20 - 1.22).
Рис. 1.19 - Допустимое резьбового отверстия на
чертежах, по которым резьбу не выполняют
Рис. 1.20 - Изображение фаски на стержне
изображение глухого
. На разрезах резьбового соединения в
изображении на плоскости, параллельной к его оси, в отверстии показывают только
часть резьбы, которая не закрыта резьбой стержня (рис. 1.23, 1.24).
|
Рис.
1.21 - Изображение фаски в резьбовом отверстии
|
Рис.
1.22 - Изображение фаски в коническом резьбовом отверстии
|
|
Рис.
1.23 - Резьбовое соединение в разрезе
|
Рис.
1.24 - Разрез резьбового соединения с глухим отверстием
|
Правила нанесения размеров устанавливает ГОСТ
2.311-68.
. Размер длины резьбы с полным профилем (без
сбега) на стержне и в отверстии указывают, как показано на рисунке 1.25 а и
рисунке 1.26 а. Размер длины резьбы (со сбегом) указывают, как показано на
рисунках 1.25 б и 1.27 б. При необходимости указания величины сбега на стержне
размеры наносят, как показано на рисунке 1.25 в.
. Основную плоскость конической резьбы на
стержне, при необходимости, указывают тонкой сплошной линией, как показано на
рисунке 1.27.
Рис. 1.25 - Способы указания размера длины
резьбы на стержне
Рис. 1.26 - Способы указания размера длины
резьбы в отверстии
Рис. 1.27 - Положение основной плоскости
наружной конической резьбы
Рис. 1.28 - Указание дополнительных данных
резьбы с нестандартным профилем
. Резьбу с нестандартным профилем показывают
одним из способов, изображённых на рисунке 1.28, со всеми необходимыми
размерами. Кроме размеров и предельных отклонений резьбы, на чертеже указывают
дополнительные данные о числе заходов, о левом направлении резьбы с добавлением
слова «Резьба».
. Обозначение резьбы указывают по
соответствующим стандартам на размеры и относят их для всех резьб, кроме
конических и трубной цилиндрической, к наружному диаметру, как показано на
рисунках 1.29 и 1.30.
Обозначения конической и трубной цилиндрической
резьбы наносят, как показано на рисунке 1.31.
Рис. 1.29 - Варианты нанесения обозначений
наружной резьбы
Рис. 1.30 - Варианты нанесения обозначений
внутренней резьбы
Рис. 1.31 - Нанесение обозначений конической и
трубной цилиндрической резьбы: Знаком * отмечены места нанесения обозначения
резьбы
. Специальную резьбу со стандартным профилем
обозначают сокращенно «Сп» и условным обозначением резьбы.
1.4 Стандартные и нестандартные
резьбы
Для крепежных деталей применяют резьбу
треугольного профиля с углом при вершине 60° или 55°, одноходовую, имеющую
небольшой угол подъема винтовой линии.
На деталях с резьбой такого типа лучше
удерживается гайка от самопроизвольного отвинчивания при толчках и сотрясениях
работающей машины (свойство самоторможения).
Треугольные крепежные резьбы бывают метрические
и дюймовые.
На трубах, деталях трубных соединений - гайках,
тройниках, крестовинах, отводах, нарезают трубную цилиндрическую, имеющую также
исходный треугольный профиль с углом у вершины 55°. В отличии от дюймовой
резьбы эта резьба имеет более меньший шаг и тем самым меньшую высоту профиля
резьбы, что позволяет применять ее на тонкостенных деталях.
Резьбы ходовые используют на ходовых винтах
металлорежущих станков, прессов и многих других механизмов. Ходовые винты
должны обеспечивать гайке возвратно-поступательное движение. Для этой цели
применяют резьбы с большим углом подъема винтовой линии. Таким свойством
обладают многоходовые резьбы (двух- и трехходовые) трапецеидального профиля.
У трапецеидальной резьбы зазор может быть
устранен применением разрезных гаек. Резьбы упорные применяют обычно для
восприятия больших усилий, действующих в одном направлении (прессы и др.).
Ходовые резьбы применяют также для винтов, испытывающих в работе ударную
нагрузку (рывки).
Резьбы прямоугольного профиля не
стандартизированы, и их изготовление производится по чертежам ведомственных
нормалей.
Резьбы применяют преимущественно правые, при
использовании левых резьб к их обозначению добавляют «LH». Обозначения типов
резьбы приведены в таблице 1.2, примеры обозначения типов резьбы показаны в
таблице 1.3 (см. приложение).
2. Резьбовые соединения
Резьбовые соединения широко распространены в
машиностроении и приборостроении. В большинстве современных машин свыше 60 %
всех деталей имеют резьбу. По эксплуатационному назначению различают резьбы
общего назначения и специальные. К резьбам общего назначения относятся
крепежные, применяемые для разъемного соединения деталей машин; главное
требование к ним - обеспечить прочность соединения и сохранить плотность стыка
в процессе длительной эксплуатации.
Резьбовые соединения относятся к разъемным
соединениям, удовлетворяющим следующим требованиям:
возможность многократной сборки и разборки
изделий без их повреждения;
неизменность форм и размеров деталей после
многократной сборки и разборки;
сохранение при повторных сборках и разборках
точного и определенного взаимного расположения деталей и их поверхностей в
пределах требований к конструкции;
сохранение взаимного расположения деталей после
их соединения при работе в жестких условиях, таких, как вибрация и сотрясения.
2.1 Стандартные крепежные детали
Стандартные крепежные детали весьма разнообразны
по форме, точности изготовления, материалу, покрытию. Их разделяют на детали
общего назначения и специальные, предназначенные для применения в определенных
видах изделий или в особых условиях.
Болты, винты, шпильки и шурупы, изготовленные из
углеродистых и легированных сталей, характеризуют в обозначении одним из
двенадцати классов прочности: 3.6; 4.6; 4.8; 5.6; 5.8; 6.6; 6.8; 6.9; 8.8;
10.9; 12.9; 14.9, где первое число, умноженное на 100 (10), даёт минимальное
временное сопротивление в МПа (кгс/мм2); второе, умноженное на 10, даёт
отношение предела текучести к временному сопротивлению в процентах;
произведение чисел определяет предел текучести в МПа (кгс/мм2). В обозначениях
пишут 36, 46 и т. д. (точку опускают). Чем больше число, тем прочнее сталь. Для
гаек установлено 7 классов прочности: 4, 5, 6, 8, 10, 12, 14. Умножив эти числа
на 100 (10), получают напряжение от испытываемой нагрузки в МПа (кгс/мм2).
Таким образом, число стандартов, определяющих
форму, размеры, материал, покрытие и другие характеристики крепежных деталей,
велико, причем каждый из них содержит соответствующие условные обозначения,
ссылки на которые, помещаемые в конструкторскую документацию, должны быть
точными.
Болт состоит из двух частей: головки и стержня с
резьбой. В большинстве конструкций болтов на его головке имеется коническая
фаска, сглаживающая острые края головки и облегчающая наложение гаечного ключа
при свинчивании.
Головка болта может быть шестигранной (рис. 2.1,
а), квадратной
(рис. 2.1, б), сферической (рис. 2.1, в), конической (рис. 2.1, г) и т. п.
Выпускаемые промышленностью болты различают:
• по форме и размерам головки;
• по форме стержня;
• по шагу резьбы;
• по характеру исполнения;
• по точности изготовления.
Форма и размеры головки болта зависят от
назначения и условий работы.
Болты с шестигранными головками изготавливают
нормальной, повышенной и грубой точности, отличающиеся классом чистоты
поверхности резьбы, цилиндрического стержня и опорной плоскости головки (рис.
2.1).
Болты с полукруглыми (сферическими) и потайными
(коническими) головками изготавливают грубой точности.
а) б) в)
г)
Рис. 2.1 - Формы головок болтов: а -
шестигранная; б - квадратная; в - сферическая с квадратным подголовком; г -
потайная с квадратным подголовком
Болты выполняют с метрической резьбой с крупным
и мелким шагом, причем для каждого диаметра d резьбы предусмотрен стандартом
лишь один мелкий шаг. Размеры берутся по ГОСТ 9150-81, ГОСТ 24705-81, ГОСТ
8724-81, а допуски резьбы - по ГОСТ 16093-81. Для болтов нормальной и
повышенной точности изготовления поле допуска принимают 6g и 8g.
В таблице 2.1 (см. приложение) приведены
наименования и номера стандартов болтов.
Винты ввинчиваются в отверстия с резьбой (в
гнездо) одной из соединяемых деталей. Винты подразделяют на крепежные и
установочные (нажимные, регулирующие и др.). Типы винтов и стандарты на них
приведены в сокращенных вариантах в таблице 2.2 и таблице 2.3 (см. приложение).
Наибольшее применение в технике получили винты
крепежные с цилиндрической головкой, используемые в соединениях всех видов: с
шайбой или без нее, с утопленными или не утопленными головками (ГОСТ 1491-80),
(рис. 2.2). Размеры винта берутся из соответствующих стандартов, а l
рассчитывается в зависимости от толщины притягиваемой винтом детали, а затем
выбирают ближайшее значение l из таблиц ГОСТ.
Рис. 2.2 - Винт с цилиндрической головкой
Не меньшее применение находят винты с потайной
головкой (ГОСТ 17475-80), приведенные на рисунке 2.3 в двух исполнениях.
Рис. 2.3 - Винты с потайной головкой
У винтов с потайной головкой размер l включает
высоту головки винта H. Аналогично l рассчитывают и у винта с полупотайной
головкой (ГОСТ 17474-80), изображенного на рисунке 2.4. Винты с потайной
головкой или полупотайной головкой применяют в тех случаях, когда толщина
привертываемой детали позволяет утопить головку винта и когда по конструктивным
соображениям необходимо, чтобы головки винта не выступали над поверхностью
привертываемой детали. В тех случаях, когда толщина привертываемой детали
недостаточна (меньше 0,6d) и утопить головку нельзя, вместо винтов с потайными
и полу-потайными головками используют показанные на рисунке 2.5 в двух
исполнениях винты с полукруглыми головками (ГОСТ 17473-80).
Рис. 2.4 - Винт с полупотайной головкой
Рис. 2.5 - Винты с полукруглой головкой:
Шурупы - это винты для скрепления деревянных и
пластмассовых деталей, а также металлических - с ними. Шурупы имеют
полукруглую, потайную или полупотайную головку и треугольную резьбу с конусным
заострением на конце стержня. Потайная головка имеет вид усеченного конуса, а
полупотайная - вид конуса с шаровым сегментом на его большом основании. Шурупы
(винты для дерева) с шестигранной или квадратной головками называют «глухарями»
(рис. 2.6). В таблице 2.4 (см. приложение) приведены выборочные номера
стандартов на шурупы.
Рис. 2.6 - Шуруп с квадратной головкой (глухарь)
Шурупы изготавливают из углеродистых сталей (в
обозначении не указывают); из коррозионных сталей (обозначают цифрой 2); из
латуни (обозначают цифрой 3).
Шпилька от болта отличается тем, что у нее
отсутствует головка и на обоих концах имеется резьба треугольного профиля,
однозаходная, чаще - правая. Одним концом шпилька ввертывается в отверстие
детали (этот конец шпильки называют посадочным), а на другой конец
навертывается гайка (этот конец шпильки называют стяжным). Шпильки служат для
соединения деталей в таких местах, где головки болтов по конструктивным
соображениям нежелательны.
Соединение деталей шпилькой применяют вместо
болтового соединения в случаях: а) недостатка места у деталей для размещения
головки болта; б) большой разницы в толщине соединяемых деталей (когда одна из
деталей имеет значительную толщину, и применять в этом случае слишком длинный
болт неэкономично).
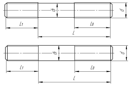
Шпильки выпускаются по ГОСТ 22032-76 - ГОСТ
22043-76 классов точности А и В с диаметром резьбы 2-48 мм и длиной 10-300 мм
(рис. 2.8), где L - длина шпильки, указываемая в обозначении, L0 - длина
гаечного конца (без сбега), L1 - длина резьбы, включая бег ввинчиваемого
посадочного конца шпильки. При этом L1 = d для ввинчивания в резьбовые
отверстия в деталях из стали, бронзы, латуни и титановых сплавов; L1 = 1,25∙d
и 1,6∙d - в деталях из ковкого и серого чугуна; L1=2∙d и 2,5∙d
- в деталях из легкого сплава.
Все стандарты на шпильки содержат только по
одному исполнению. Допускается изготавливать шпильки с d1, приблизительно
равным среднему диаметру резьбы d2 (рис. 2.8, б). В обозначении этих шпилек
после слова «шпилька» ставят цифру 2.
При применении калиброванного проката
поверхность гладкой части стержня d1 не обрабатывают. Размеры фасок берут по
ГОСТ 10549-80.
Рис. 2.7
Рис. 2.8 - Шпилька и ее изображения на чертеже:
а) стандартное исполнение шпильки; б) допустимое исполнение шпильки
Основным типом являются шестигранные гайки
нормальной высоты (рис. 2.9). Шестигранные гайки, выпускаются в одном, двух и
трёх исполнениях (рис. 2.10); повышенной, нормальной и грубой точности (классов
точности А, В и С); нормальной высоты; низкие, высокие и особо высокие (рис.
2.11); с нормальным или уменьшенным размером «под ключ»; с крупным или мелким шагом.
Рис. 2.9 - Изображение гайки на чертеже
Рис. 2.10 - Гайка и виды её исполнений
Рис. 2.11 - Разновидности гаек по высоте
Низкие гайки используют как контргайки для
предотвращения самоотвинчивания. Высокие гайки служат для предотвращения износа
резьбы при частом отвинчивании. Глухие гайки применяют в тех случаях, когда
требуется изолировать конец стержня (ГОСТ 11860-85). Гайки с накаткой используют
при частом отвинчивании вручную (ГОСТ 14742-69). Квадратные гайки применяют в
конструкциях, в которых нельзя использовать шестигранные или круглые гайки,
например в клеммной колодке, эти разновидности гаек определены соответствующим
стандартом.
Наиболее часто употребляемые типы гаек показаны
в таблице 2.5 (см. приложение).
2.2 Соединения деталей с помощью
болтов, винтов и шпилек
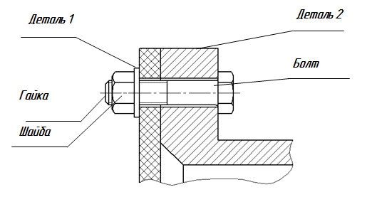
При соединении деталей болтом, соединяемые
детали имеют гладкие сквозные отверстия под болт (рис. 2.12).
Рис. 2.12 - Резьбовое соединение, в котором
применены болт, гайка и шайба
При соединении деталей винтами и шпильками
гладкое сквозное отверстие выполняется в притягиваемой детали 1. В сопряженной
с ней детали, участвующей в данном соединении, может быть резьбовое отверстие
(рис. 2.13) или нерезьбовое отверстие с соответствующим конструктивным
исполнением, например, с отверстием под головку винта (рис. 2.14). Эти
конструктивные элементы называют опорными поверхностями.
Диаметры гладких отверстий больше диаметра
стержня крепежной детали, что позволяет ей свободно пройти через отверстие.
Рис. 2.13 - Резьбовое соединение с применением:
а) винта; б) шпильки, гайки и шайбы
В случае, когда по условиям конструкции узла
номинальные размеры диаметра отверстия и диаметра стержня болта равны, т. е. в
соединении без зазора, необходимо устранить контакт кромки отверстия с галтелью
под головкой болта или винта, как это показано на рисунке 2.15. Размеры такого
соединения регламентированы ГОСТ 24670-81. Размеры сквозных квадратных и
продолговатых отверстий регламентированы ГОСТ 16030-70.
Рис. 2.14 - Резьбовое соединение с применением
винта, гайки и шайбы
При конструировании разъемных резьбовых
соединений встречаются случаи, когда сквозное отверстие в притягиваемой детали
необходимо выполнить квадратным или продолговатым (рис.2.16).
|
Рис.
2.15 - Соединение без зазора
|
Рис.
2.16 - Разъемное соединение с квадратным отверстием в детали
|
В сборочных чертежах соединения крепежными
деталями обычно изображают упрощенными или условными (если диаметр резьбы на
чертеже менее 2 мм). Такие изображения регламентированы ГОСТ 2.315-68.
2.3 Расчет болтового соединения
При выполнении на сборочных чертежах болтового
соединения пользуются условными соотношениями между диаметром резьбы и
размерами элементов гайки и шайбы.
|
Параметры
болтового соединения
|
Обозначение
|
Условные
размеры
|
|
Высоты
гайки
|
Н
|
0,85*d=20,4
мм
|
|
Высота
головки болта
|
Н6
|
0,7*d=16,8~15
мм
|
|
Высота
шайбы
|
S
|
0,15*d=3,6~4
мм
|
|
Выход
болта за гайку
|
К
|
(0,3-0,5)=12
мм
|
|
Высота
фаски на стержне болта
|
С
|
0,15*d=3,6
мм
|
|
Диаметр
шайбы
|
Dш
|
2,2*d=52,8~53
мм
|
|
Диаметр
болта и гайки
|
D
|
2*d=48
мм
|
|
Диаметр
отверстия под болт в соединяемых деталях
|
d0
|
1,1*d=26,4~27
мм
|
|
Внутренний
диаметр резьбы
|
d1
|
0,85*d=20,4
мм
|
Длина l рассчитывается по формуле
l=А+В+S+H+K=100 мм.
Учитывая расчёты выполняем графическую часть
(формат А3, масштаб 1:1), болтовое соединение. Чертеж прилагается к работе.
Рис. 2.17
2.4 Расчет шпилечного соединения
Задана диаметр резьбы М=d=24, толщина
присоединяемой детали С=30.
|
Высоты
гайки
|
Н
|
0,85*d=20,4
мм
|
|
Высота
шайбы
|
S
|
0,15*d=3,6~4
мм
|
|
Выход
болта за гайку
|
К
|
(0,3-0,5)=10
мм
|
|
Высота
фаски на стержне болта
|
С
|
0,15*d=3,6
мм
|
|
Диаметр
шайбы
|
Dш
|
2,2*d=52,8~53
мм
|
|
Диаметр
гайки
|
D
|
2*d=48
мм
|
|
Диаметр
отверстия под шпильку в присоединяемой детали
|
d0
|
1,1*d=26,4~27
мм
|
|
Внутренний
диаметр резьбы
|
d1
|
0,85*d=20,4
мм
|
|
Глубина
отверстия l2 под ввинчиваемый конец шпильки
|
l2
|
l0+0,85*d=70,4~75
мм
|
=d=24 (рис. 2.18)
Длина l рассчитывается по формуле l=С+S+H+K=65
мм.
Полученную длину шпильки l уточняют по ГОСТ -
22032 - 76.
Учитывая расчёты выполняем графическую часть
(формат А3, масштаб 1:1), шпилечное соединение. Чертеж прилагается к работе.
Рис. 2.18
2.5 Резьбовое соединение деталей
В резьбовом соединении выбор резьбы производят в
зависимости от характера и назначения соединения.
Резьбовые соединения разделяют на подвижные и
неподвижные.
На рисунке 2.19, а,б представлено неподвижное
соединение трубы (5) с резьбовой втулкой (4), которая притягивается к ниппелю
(1) при помощи накидной гайки (2). Герметичность соединения обеспечивается
прокладкой (3).
Рис. 2.19 - Неподвижное резьбовое соединение
Подвижное резьбовое соединение (рис. 2.20)
представляет собой винтовую пару, в которой при вращательном движении одного
элемента другой элемент движется поступательно. Так, при вращении винта (1)
гайка (2) вместе с кареткой (3) движется поступательно.
Рис. 2.20 - Подвижное резьбовое соединение
резьба шпилька деталь крепеж
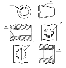
2.6 Изображения упрощенные и условные
крепежных деталей
Правила упрощенных и условных изображений
крепежных деталей на сборочных чертежах устанавливает ГОСТ 2.315-68.
Основные требования:
. Стандарт устанавливает упрощенные и условные
изображения крепежных деталей на сборочных чертежах и чертежах общих видов всех
отраслей промышленности.
. На сборочных чертежах и чертежах общих видов
изображение крепежных деталей (упрощенное или условное) выбирают в зависимости
от назначения и масштаба чертежа.
Крепежные детали, у которых на чертеже диаметры
стержней равны 2 мм и менее, изображают условно. Размер изображения должен
давать полное представление о характере соединения.
. Упрощенные и условные изображения крепежных
деталей должны соответствовать указанным в таблице 2.6 (см. приложение).
. Примеры упрощенных и условных изображений
крепежных деталей в соединениях приведены в таблице 2.7 (см. приложение).
. Если на чертеже имеется несколько групп
крепежных деталей, различных по типам и размерам, то вместо нанесения
повторяющихся номеров позиций рекомендуется одинаковые крепежные детали
обозначать условными знаками, а номер позиции наносить только один раз.
. Если изделие, изображенное на сборочном
чертеже, имеет ряд однотипных соединений, следует показывать упрощенно или
условно в одном-двух местах каждого соединения, а в остальных - центровыми или
осевыми линиями (рис. 2.21).
. Шлицы на головках крепежных деталей следует
изображать одной сплошной линией.
Толщину линии шлица следует принять равной двум
толщинам сплошной основной линии, принятой на чертеже.
Рис. 2.21 - Однотипные резьбовые соединения
3. Нарезание резьбы
.1 Нарезание наружной резьбы
До нарезания резьбы стержень обтачивают до
нужного диаметра. На конце стержня обрабатывают фаску Нужно следить за тем,
чтобы поверхность стержня была гладкой. Ржавеющие поверхности обрабатывать
нельзя, так как плашка быстро изнашивается.
При нарезании резьбы диаметр заготовки должен
быть немного больше диаметра плашки, а диаметр стержня на 0,2…0,4 мм меньше
внешнего диаметра резьбы.
Если диаметр стержня слишком маленький, то
получается резьба неполного профиля.
До нарезания резьбы стержень закрепляют
вертикально между губками тисков. Первые 1-1,5 оборота нарезают без смазочного
вещества, потому что плашка лучше врезается в сухой металл (не скользит). В
дальнейшем надо пользоваться теми же смазочными веществами, что и при нарезании
внутренней резьбы.
Особое внимание следует уделить тому, чтобы ось
плашки совпадала с осью заготовки. С этой целью можно изготовить специальное
приспособление - усовершенствованный вороток, который позволяет нарезать резьбу
быстро, без значительных усилий и с высоким качеством. Приспособление состоит
из плашкодержателя и направляющего стакана, рассчитанного на резьбу
определенного диаметра. Стакан фиксирует необходимое положение плашки по
отношению к стержню, на котором нарезают резьбу. Плашка крепится винтами.
Направляющий стакан в выточке имеет регулируемый радиальный зазор для само
центрирования по отношению к стержню, на котором нарезается резьба.
При изготовлении стакана необходимо иметь в
виду, что его внутренний диаметр должен быть больше диаметра резьбы (во
избежание заклинивания при возможных неровностях стержня).
Наружную резьбу нарезают так же, как и
внутреннюю, т.е. совершая плашкой, закрепленной в воротке, один поворот вперед
и полповорота назад. При этом нажим на обе ручки воротка должен быть одинаков.
При нарушении положения плашки могут произойти изменения профиля резьбы или
сломаться зубья плашки.
3.2 Нарезание внутренней резьбы
Диаметр отверстия в котором нарезается резьба,
должен быть меньше наружного диаметра нарезаемой резьбы, так как часть металла
уходит в стружку. Если диаметр отверстия слишком велик, то невозможно получить
резьбу нужной глубины. В случае если диаметр отверстия мал, коническая часть
метчика не влезает в отверстие и метчик ломается. Диаметр метчика можно
установить по специальной таблице или вычислить по формуле D = d - 0,9S, где D
- диаметр метчика (спирального сверла); d - наружный диаметр резьбы; S - шаг резьбы.
После подготовки нарезаемого отверстия и выбора
метчика деталь закрепляют в тисках так, чтобы ось отверстия была
перпендикулярна губкам тисков.
Рис. 3.1
Правила нарезания резьбы метчиком:
при нарезании резьбы в глубоких отверстиях, в
мягких и вязких металлах (медь, алюминий, бронза и др.) метчик необходимо
периодически вывертывать из отверстия и очищать канавки от стружки;
нарезать резьбу следует полным набором метчиков;
нарезание резьбы сразу средним метчиком без прохода черновым, а затем чистовым
не ускоряет, а, наоборот, затрудняет работу; резьба в этом случае получается
недоброкачественной, а метчик может сломаться;
Средний и чистовой метчики вводят в отверстие
без воротка и только после того, как метчик пройдет правильно по резьбе, на
головку надевают вороток и продолжают нарезание резьбы;
глухое отверстие под резьбу нужно делать на
глубину, несколько большую, чем длина нарезаемой части, с таким расчетом, чтобы
рабочая часть метчика немного вышла за пределы нарезаемой части; если такого
запаса не будет, резьба получится неполной;
в процессе нарезания необходимо тщательно
следить за тем, чтобы не было перекоса метчика; для этого надо через каждые
две-три нарезанные нитки проверять с помощью угольника положение метчика по
отношению к верхней плоскости изделия; особенно осторожно нужно нарезать резьбу
в мелких и глухих отверстиях. Нарезанную внутреннюю резьбу проверяют
калибрами-пробками.
Для сверления резьб МЗ...М14 используют комплект
из шести магнитных втулок. На торец метчика кладут вороток, левой рукой слегка
нажимают на него до тех пор, пока метчик не врежется в металл и положение в
отверстий не станет устойчивым. Затем двумя руками поворачивают вороток и через
каждые полкруга меняют положение рук. После одного полного поворота метчик
поворачивают на 1/4 оборота назад, чтобы разломать стружку. По окончании работы
метчик вынимают из отверстия.
Второй и третий метчики тоже смазывают смазочным
веществом и устанавливают в отверстии без воротка. Вороток надевают после того,
как станет ясно, что метчик идет по резьбе правильно, и продолжают нарезание
резьбы. Для получения в отверстии резьбы заданной глубины используют опорные
втулки, закрепленные болтами в нужном положении. Что бы облегчить работу при
нарезании глубоких отверстий, метчик надо два-три раза вывернуть из отверстия.
Изнашивание метчика, засорение его гребешков и
небрежность в работе нередко приводят к поломке метчика в отверстии. Извлечение
из отверстия сломанного метчика требует много времени, портит резьбу, и нередко
вся деталь превращается в брак. Для вынимания сломанного метчика пользуются
различными способами. Один из них заключается в том, что метчик отжигают в
пламени газовой горелки или паяльной трубки, затем просверливают в нем
маленькое отверстие и забивают туда разветвленный с одной стороны стержень, с
помощью которого и выворачивают метчик из отверстия. Другой способ: на нарезке
сломанного метчика завязывают стальную проволоку. Зажав ее ручными тисками,
сломанную часть метчика выкручивают из отверстия. Третий способ с помощью
маленького зубила или острого керна сломанный метчик разламывают на куски,
которые и вынимают из отверстия.
3.3 Смазывание резьбонарезного
инструмента
На качество резьбы и стойкость инструмента
влияет правильный выбор смазочно-охлаждающей жидкости (см. прил. таб.3.1)
При нарезании резьб в деталях из силумина,
алюминия стружка налипает на метчик и вследствие этого возникают задиры; при
нарезании резьбы в нержавеющих, жаропрочных и других высоколегированных сталях
метчик быстро затупляется.
Смазка, предложенная Г.Д. Петровым, дает
возможность получения высококачественной резьбы с наименьшими затратами труда.
Она имеет следующий состав (%): олеиновая кислота - 78, стеариновая кислота -
17, сера тонкого помола - 5. Стеариновую и олеиновую кислоты смешивают при
60...65 °С, затем смесь охлаждают до 20 °С и смешивают с серой тонкого помола.
Инструментом, смазанным этой пастой, легко нарезается резьба в отверстиях
деталей, подвергнутых закалке до HRCЭ38...42.
Заключение
В процессе теоретико-экспериментального
исследования, ставившего своей целью создание технологии индивидуализированного
обучения начертательной геометрии студентов технических вузов, позволяющей
повысить качество предметной подготовки, были получены следующие основные
выводы и результаты:
. С позиций личностно-ориентированного обучения
и системного подхода к его анализу выявлен комплект индивидуальных особенностей
студентов технических вузов, которые следует учитывать при индивидуализации
обучения начертательной геометрии. Он включает следующие особенности:
обученность по геометрии, черчению, компьютерную грамотность, уровень
сформированности умений самостоятельной работы, уровень развития
пространственного мышления.
. Теоретически и экспериментально обоснован
вывод о целесообразности применения при обучении начертательной геометрии
технологии индивидуализированного обучения с элементами дистантной системы
образования (учебно-методического обеспечения и организации). Выбор элементов
учебно-методического обеспечения ДСО обоснован, с одной стороны, необходимостью
индивидуализации обучения на всех этапах изучения учебного материала, с другой
стороны, возможностью их реальной дифференциации по уровням овладения учебным
материалом в зависимости от выделенных в исследовании индивидуальных
особенностей студентов. К таким элементам отнесены электронное учебное пособие,
включающее конспекты лекций, практикум по решению задач, контрольные вопросы и
варианты зачетных заданий; система индивидуализированных учебных задач.
. Создано электронное учебное пособие,
ориентированное на индивидуализацию обучения начертательной геометрии. Учет
индивидуальных особенностей студентов обеспечен следующими особенностями
структурных компонентов пособия: представление учебной информации в мультимедийных
лекциях с различной степенью подробности и наглядности; сопровождение
практикума по решению типовых задач образцами их пошагового решения; введение
критериев рейтинговой оценки; индивидуализация графических задач; наличие
прикладной графической программы для просмотра моделей рисунков.
. Сформулированы две группы требований к системе
индивидуализированных задач, ориентированной на использование ее в обучении
начертательной геометрии. К первой отнесены требования, обеспечивающие
систематизацию: наличие системообразующей связи, существование внутрисистемных
связей, включение всех подлежащих усвоению и разнообразных типов задач,
предшествование менее сложных задач более сложным. Ко второй группе -
обеспечивающие индивидуализацию: наличие нескольких уровней сложности;
представление условия задачи в форме, учитывающей уровень развития
пространственного мышления; предоставление образца пошагового решения;
обеспечение выбора инструмента выполнения решения. В соответствии с этими
требованиями разработана система индивидуализированных задач по начертательной
геометрии для технических вузов.
. Разработана организация экспериментального
обучения начертательной геометрии с применением системы индивидуализированных
задач и электронного учебного пособия. Она предусматривает сохранение
лекционных и практических занятий в полном объеме с добавлением индивидуальных
консультаций по электронной почте, машинного времени в терминальных классах для
организации самостоятельной внеаудиторной работы и предоставление студенту возможности
формирования индивидуальной образовательной траектории, рейтинговую систему
оценивания.
. Разработана и апробирована на практике
технология индивидуализированного обучения начертательной геометрии студентов
технических вузов. Подтверждена гипотеза исследования о том, что повышению
качества обучения начертательной геометрии студентов технических вузов
способствует использование технологии индивидуализированного обучения с
элементами дистантной системы образования.
Настоящее исследование не исчерпывает проблему
индивидуализации обучения в технических вузах. Вместе с тем его результаты
могут быть использованы для определения перспективных направлений решения
данной проблемы. Заслуживают внимания и дальнейшего изучения вопросы влияния на
содержание и организацию обучения начертательной геометрии стиля мышления,
будущей профессии студента, мотивации учебной деятельности, применения
компьютерных технологий для автоматизации проверки графических работ.
Список использованной литературы
1. ГОСТ
2.307-68 (СТ СЭВ 1976 - 79, СТ СЭВ 2180 - 80). Единая система конструкторской
документации. Нанесение размеров и предельных отклонений [Текст]. - Взамен ГОСТ
3455 - 59 и ГОСТ 11633 - 65; введ. 1971 - 01 - 01; изм.1987 - 12 - 03. - Единая
система конструкторской документации. Общие правила выполнения чертежей:
[сборник] - М.: Изд-во стандартов, 2004. - С. 75-109.
. ГОСТ
2.311-68. Единая система конструкторской документации. Изображения резьбы
[Текст]. - Единая система конструкторской документации. Общие правила
выполнения чертежей: [сборник]. - М.: Изд-во стандартов, 2004. - 238 с.
. ГОСТ
2.315-68. Единая система конструкторской документации. Изображения упрощенные и
условные крепежных деталей [Текст] - Изм. 1998-07-01. - Единая система
конструкторской документации. Общие правила выполнения чертежей: [сборник]. -
М.: Изд-во стандартов, 2004. − С. 191-205.
. ГОСТ
23887-79. Государственный стандарт союза ССР. Сборка. Термины и определения
[Текст]. − Введен 1981-01-01. - М.: Изд-во стандартов, 1986. − 18
с.
. Боголюбов
С. К. Инженерная графика [Текст]: учебник / С. К. Боголюбов. - М.:
Машиностроение, 2002. - 352 с.
. Боженков
Г. В., Кузнецова Л. М., Горбань Н. А., Кравцова Л. И. Резьба: методологические
указания для практических занятий и самостоятельной работы студентов инженерно-технических
специальностей. - Ирктск: Изд-во ИрГТУ, 2007.
. Ваншина
Е.А. Инженерная графика [Текст]: практикум (сб. заданий): учеб. пособие / Е.А.
Ваншина А.В. Кострюков, Ю.В. Семагина; М-во образования и науки Рос. Федерации,
Федер. агентство по образованию; Гос. образоват. учреждение высш. проф.
образования "Оренбург. гос. ун-т". - Оренбург: ИПК ГОУ ОГУ, 2010. -
196 с.
. Лагерь
А. И. Инженерная графика [Текст]: учеб. для вузов / А.И. Лагерь.- 3-изд.,
перераб. и доп. - М.: Высш. шк., 2004. - 333 с.
. Левицкий
В. С. Машиностроительное черчение и автоматизация выполнения чертежей [Текст] /
В. С. Левицкий. − Изд. 5-е, перераб. и доп. − М.: Высш. шк., 2003. −
430 с.
. Чекмарев
А. А. Инженерная графика: Учеб. Для немаш. спец. вузов/ А.А. Чекмарев. - 4-е
изд. Стер. - М.: Высш. шк., 2002. - 365с.