Автоматизация индуктивно–частотной установки 'Эталон–1Б' и исследование магнитных свойств пленок ферритов
Таврический национальный университет
имени В.И. Вернадского
Факультет физики и компьютерных
технологий
Кафедра экспериментальной физики
Курсовая работа
по специальности 7.04020301 «Физика»
АВТОМАТИЗАЦИЯ ИНДУКТИВНО-ЧАСТОТНОЙ
УСТАНОВКИ «ЭТАЛОН-1Б» И ИССЛЕДОВАНИЕ МАГНИТНЫХ СВОЙСТВ ПЛЕНОК ФЕРРИТОВ
Даглы Рефат Усеинович
Научный руководитель доктор физ.- мат. наук,
профессор кафедры экспериментальной физики В.Н. Бержанский
Симферополь, 2014 г.
ПЕРЕЧЕНЬ
УСЛОВНЫХ ОБОЗНАЧЕНИЙ
ЭПФГ - эпитаксиальные пленки феррит-гранатов
ЦМД - цилиндрические магнитные домены
ЭПР - электронный парамагнитный резонанс- Universal Serial Bus
(последовательный интерфейс передачи данных)
ТМП - тонкая магнитная пленка
АЦП - аналого-цифровой преобразователь
ГГГ - гадолиний-галиевый гранат
ВВЕДЕНИЕ
Актуальность темы.
Тема дипломной работы «Автоматизация индуктивно-частотной установки
«Эталон-1Б» является актуальной, так как:
Индуктивно-частотная установка «Эталон-1Б» относится к параметрическим
средствам измерений восприимчивости, в которых изменение индуктивности
первичного преобразователя, выполненного в виде катушки, управляемой переменным
током, изменения происходят вследствие увеличения или уменьшения ее магнитного
потока при поднесении или введении внутрь нее исследуемого образца.
В «Отделе функциональных материалов и волоконной оптики ТНУ» для
исследования восприимчивости эпитаксиальных пленок феррит- гранатов (ЭПФГ)
используется индуктивно-частотная установка «Эталон-1Б». Результаты измерений
регистрируются с помощью самописца на бумаге. Установка не позволяет сохранять
результаты экспериментов для их дальнейшей обработки и анализа. В связи с этим
актуальным являлось её автоматизация, которая позволила бы существенно повысить
эффективность установки и дала бы возможность создания электронного банка
экспериментальных данных.
Таким образом, целью работы являлась автоматизация индуктивно-частотной
установки Эталон-1Б, которая включала разработку соответствующего аппаратного и
программного обеспечения. При разработке программного обеспечения использован
программный пакет LabVIEW. Для автоматической записи кривых восприимчивости
предпринято считывание данных с преобразователя «частота напряжение» и датчика
Холла. Произведена калибровка датчика Холла с помощью измерителя магнитной
индукции Ш1-8.
Задачи работы:
1. Ознакомиться с индуктивно-частотным методом измерения магнитной
восприимчивости и принципом работы установки «Эталон-1Б».
2. Разработать аппаратное и программное обеспечение для
автоматической записи кривых восприимчивости.
. Выполнить калибровку датчика магнитного поля на эффекте Холла.
. Получить экспериментальные кривые для тестовых образцов ряда
ЭПФГ.
Дипломная работа состоит из введения, трех глав, заключения и списка
цитируемой литературы.
ГЛАВА 1.
ОБЗОР ЛИТЕРАТУРЫ
1.1
Основные понятия магнетизма
индуктивный
частотный магнитный датчик
Намагниченность
- характеристика магнитного состояния макроскопического тела. Средняя плотность
магнитного момента
, определяется как магнитный момент единицы объёма:
. Предел
(
- магнитный момент физически бесконечно малого объёма
) называется намагниченностью среды в точке.
Намагниченность однородна в пределах рассматриваемого объёма, если в каждой его
точке
имеет одну и ту же величину и направление. Единица
намагниченности в СГС - эрг.(Гс.
см3).
Магнитная
проницаемость, безразмерная физическая величина, характеризующая изменение
магнитной индукции
среды под воздействием магнитного поля напряженностью
.
В
случае однородной изотропной среды магнитная проницаемость
:
, где
- магнитная постоянная.
Магнитная
проницаемость связана с магнитной восприимчивостью следующим образом:
(в единицах СИ);
(в
единицах СГС).
Магнитная
проницаемость показывает, во сколько раз абсолютная магнитная проницаемость
данного материала больше магнитной постоянной, т. е., во сколько раз магнитное
поле макро токов
усиливается за счет поля микротоков среды. Магнитная
проницаемость воздуха и большинства веществ, за исключением ферромагнитных
материалов, близка к единице.
Относительная
магнитная проницаемость показывает, во сколько раз в данной среде сила
взаимодействия между проводами с током изменяется по сравнению с вакуумом.
Численно равна отношению абсолютной магнитной проницаемости к магнитной
постоянной. Абсолютная магнитная проницаемость равна произведению магнитной
проницаемости на магнитную постоянную.
У
диамагнетиков
и
, у
парамагнетиков и ферромагнетиков
и
. В зависимости от того, измеряется ли
ферромагнетиков в статическом или переменном
магнитном поле, ее называют соответственно статической или динамической
магнитной проницаемостью.
Магнитная
проницаемость ферромагнетиков сложным образом зависит от
. Из кривой намагничивания ферромагнетика можно
построить зависимость магнитной проницаемости от
магнитную
проницаемость, определенную по формуле:
.[7]
1.2
Кристаллическая структура гранатов
Ферриты
- гранаты имеют общую формулу
, где М
трехвалентный ион
,
,
,
,
,
,
и кристаллизуются в структуре изоморфной структуре
минерала граната
. Пространственная группа ферритов-гранатов
. Элементарная ячейка имеет размеры ~ 12Å и содержит 8 формульных единиц (160 атомов): 96-
, 40-
и 24-
. Катионы расположены в трех положениях - в тетраэдрах
(24d), октаэдрах (16а) и додекаэдрах (24с), образованных ионами кислорода.
Фрагмент структуры граната показан на (рисунок 1.1).
Тетраэдрические
и октаэдрические положения заняты ионами
, а
додекаэдрические
. Таким образом, распределение катионов можно записать
следующим образом:
(1.1)
-
ионы
в тетраэдрах, - ионы
в
октаэдрах, - ионы
в додекаэдрах. Ионы кислорода находятся в вершинах
тетраэдров, октаэдрови додекаэдров.
Рисунок
1.1. Фрагмент кристаллической структуры
феррита-граната иттрия.
Обменное
взаимодействие наиболее сильное между тетраэдрическими и октаэдрическими ионами
железа, т.е. в цепочке (Fe)-O-[Fe], где угол связи ~127. Это взаимодействие
отрицательное и намного сильнее, чем внутри тетраэдрической и октаэдрической
подрешеток, поэтому намагниченности этих подрешеток антипараллельны. Из трех
обменных связей через ионы кислорода у катионов, находящихся в додекаэдрах
{M}-O-(Fe), {M}-O-[Fe] наиболее сильным является первое, т.е. с
тетраэдрическими ионами железа, при этом это взаимодействие отрицательное и
значительно слабее, чем между железными подрешетками. Таким образом, магнитную
структуру феррита-граната можно записать в виде
. То, что
додекаэдрическая подрешетка обменно слабо связана, подтверждается тем, что
температуры Кюри всех ферритов-гранатов очень близки (563 ± 15)К. Такая
магнитная структура хорошо подтверждается экспериментом.
Действительно,
в расчете на формульную единицу магнитный момент
по
расчету составляет 5µВ (магнитный момент одного иона
, а экспериментальное значение 4,96µВ. Для
расчет дает 16µВ , а экспериментальное значение
15,2µВ. В отличие от гадолиниевого феррита-граната у ферритов с другими редкими
землями согласие не столь хорошее, так как такие катионы находятся не в
S-состоянии и их орбитальный момент оказывается частично замороженным. Для
некоторых ферритов-гранатов температурная зависимость спонтанной
намагниченности приведена на (рисунок 1.2.).
Видно,
что у многих гранатов имеется точка компенсации. Это объясняется тем, что при
низких температурах из-за большого магнитного момента редкоземельного иона
сумма намагниченностей додекаэдрической и октаэдрической подрешеток больше, чем
намагниченность тетраэдрической подрешетки.
С
повышением температуры намагниченность додекаэдрической подрешетки быстро
падает, при некоторой температуре суммарная намагниченность проходит через ноль
и далее уже превалирует намагниченность тетраэдрической подрешетки. Между
простыми ферритами-гранатами возможно образование взаимных твердых растворов.
Кроме того возможно также образование замещенных ферритов-гранатов с заменой
ионов
на
,
или
,
,
c
одновременным введением в додекаэдрическую подрешетку
для сохранения стехиометрии. В додекаэдрическую
подрешетку возможно также введение значительного количества ионов
.
Рисунок
1.2. Зависимость от температуры спонтанной намагниченности некоторых ферритов -
гранатов
Ферриты-гранаты
обладают целым рядом физических свойств, которые делают их незаменимыми для
многих физических исследований и технических применений. Это большое
электрическое сопротивление до ~
Ом*см,
очень малая ширина линии ферромагнитного резонанса и малые потери в диапазоне
СВЧ, оптическая прозрачность в тонких слоях. Для физических исследований и
практического применения очень важно то, что магнитные свойства
ферритов-гранатов можно менять в широких пределах изменением химического
состава и условиями синтеза .
Обменное
взаимодействие при простейшем рассмотрении, как, например, в модели Гайзенберга,
считается изотропным, т.е. зависит только от взаимной ориентации магнитных
моментов атомов в кристалле и не зависит от ориентации этих моментов
относительно кристаллографических осей. В то же время в магнитоупорядоченном
состоянии магнитные моменты определенным образом ориентированы в
кристаллической решетке. Это относится как к ферромагнетикам, так и к
антиферромагнетикам. В случае ферромагнетиков направление, по которому
направлена намагниченность, называется осью легчайшего или просто легкого
намагничивания. Для отклонения намагниченности от этой оси требуется затратить
определенную энергию , которую принято называть энергией анизотропии.
Существуют направления, по которым труднее всего ориентировать намагниченность.
Такие направления называются осями трудного намагничивания.
В
случае антиферромагнетиков, как уже отмечалось, ось, по которой направлены
намагниченности магнитных подрешеток, называется антиферромагнитной осью или
осью антиферромагнетизма.
Магнитная
анизотропия кристалла с магнитным упорядочением, имеющего идеальную
кристаллическую решетку, называется магнитной кристаллографической
анизотропией. Далее мы увидим, что могут быть и другие вклады в магнитную
анизотропию, обусловленные дефектами, механическими напряжениями, включениями и
т.п. Часто эти дополнительные вклады оказываются больше кристаллографической
анизотропии.
Каковы
источники магнитной анизотропии? Наиболее очевидным является просто
диполь-дипольное взаимодействие между магнитными моментами атомов. Для двух
магнитных диполей µ1 и µ2, параллельных или антипараллельных друг другу и
находящихся на расстоянии r друг от друга, энергия диполь-дипольного
взаимодействия равна
(1.2)
где
- угол между радиус-вектором, соединяющим диполи и
направлением диполей. Знак плюс соответствует параллельным, а знак минус
антипараллельным диполям. Поскольку
определяется
углом
, то отсюда следует зависимость диполь-дипольной
энергии от того, как направлены дипольные моменты в кристаллической решетке.
Оценки показывают, что величина диполь-дипольного взаимодействия невелика и
обычно составляет незначительную часть энергии кристаллографической анизотропии.
Исключением являются некоторые редкоземельные металлы, где вклад может быть
существенным благодаря большим магнитным моментам атомов и близким
расположением самих атомов друг к другу. Следует отметить, что для кубических
кристаллов энергия диполь-дипольного взаимодействия изотропна и не дает вклада
в энергию анизотропии.
В
большинстве магнитоупорядоченных веществ основной причиной кристаллографической
магнитной анизотропии является спин-орбитальное взаимодействие. При этом
принято различать два источника анизотропии - одноионную анизотропию и
анизотропию обменного взаимодействия.
Одноионная
анизотропия является прямым следствием анизотропии магнитных свойств отдельных
ионов, находящихся под действием кристаллического поля, т.е. зависимости
энергии иона от направления его магнитного момента. В случае атомов 3d-металлов
энергия кристаллического поля больше спин орбитального взаимодействия и в
результате действия кристаллического поля орбитальный момент определенным
образом ориентируется относительно кристаллографических осей. Благодаря
спин-орбитальному взаимодействию определенную ориентацию приобретает и спин.
Часто
в основном состоянии орбитальный момент заморожен, но обычно спин-орбитальное
взаимодействие приводит к подмешиванию ближайшего возбужденного состояния и
частичному «размораживанию» орбитального момента. У редких земель из-за
экранирования 4f-оболочки воздействие кристаллического поля не столь велико и
более сильное спин-орбитальное взаимодействие приводит к сложению орбитального
момента со спином. Орбитальная составляющая полного момента связана с
соответствующим угловым распределением электронной плотности 4f-оболочки,
взаимодействие которой с кристаллическим полем приводит к зависимости энергии
иона от ориентации полного магнитного момента относительно кристаллографических
осей, т.е. положения энергетических уровней иона зависят от ориентации
магнитного момента атома. Минимумы энергии основного состояния на такой
зависимости соответствуют направлениям осей легкого намагничивания
ферромагнетика и антиферромагнитным осям антиферромагнетика. У ферромагнетика
изменения энергии при поворотах магнитных моментов атомов, суммируясь по всему
объему образца, приводят к макроскопической энергии магнитной анизотропии.
В
случае анизотропного обменного взаимодействия энергия анизотропии связана с
зависимостью энергии обменного взаимодействия от перекрытия электронных
оболочек самих магнитных ионов (в случае прямого обмена) или электронных
оболочек магнитных ионов и промежуточных катионов (в случае косвенного обмена),
которое в свою очередь зависит от взаимного пространственного расположения
электронной плотности в этих оболочках, а, следовательно, от их расположения
относительно кристаллографических осей. Изменение направления спина благодаря
спин-орбитальному взаимодействию приводит к изменению направления орбитального
момента, т.е. к некоторому изменению формы электронных оболочек отсюда и к
изменению перекрытия и, следовательно, обменного взаимодействия. Таким образом,
и в этом случае магнитная анизотропия являются следствием спин-орбитального
взаимодействия.
Энергию
магнитной анизотропии ферромагнетика можно разложить в ряд по степеням проекции
намагниченности на оси координат или, что практически одно и то же, по степеням
тригонометрических функций углов между М и осями координат. Такое разложение
должно содержать только четные степени компонент М или тригонометрических
функций, так как энергия инвариантна относительно обращения времени, тогда как
проекции М меняют знак. Кроме того разложение должно быть инвариантно
относительно всех операций симметрии, входящих в точечную группу кристалла.
Энергия анизотропии обычно измеряется в расчете на единицу объема. Такое
представление энергии магнитной анизотропии является феноменологическим и
коэффициенты перед тригонометрическими функциями не раскрывают физических
причин анизотропии.
В
случае одноосных кристаллов энергию анизотропии можно представить в виде ряда
(1.3)
где
- константа анизотропии α - угол меду М и осью легкого намагничивания. Обычно
достаточно ограничится одним или двумя членами разложения
. (1.4)
При
>0 и
=0
ферромагнетик имеет ось легкого намагничивания, а при
<0 и
=0
плоскость легкого намагничивания, т.е. все оси легкого намагничивания, лежат в
плоскости, перпендикулярной выделенной оси кристалла. Это так называемый
легкоплоскостной ферромагнетик или ферромагнетик типа «легкая плоскость». Если
≠0, то имеют место более сложные случаи, но если
|
|<9⁄4|
|, то
легкие и трудные оси останутся теми же. В случае тетрагональных кристаллов при
учете обычно небольшой анизотропии в базисной плоскости дополнительно войдет
член
, где ϕ угол в базисной плоскости. Для
гексагональных кристаллов таким членом является
θcos6φ.
У
антиферромагнетика энергия магнитной анизотропии также можно представить в виде
разложения по тригонометрическим функциям и в общем случае надо участь
направление намагниченности каждой подрешетки. В отличие от ферромагнетиков при
рассмотрении поворота намагниченностей подрешеток должны учитываться не только
энергия магнитной анизотропии, энергия взаимодействия намагниченностей подрешеток
с внешним магнитным полем, но и обменные взаимодействия. По аналоги с
ферромагнетиками, если антиферромагнитная ось является единичной, то
антиферромагнетик называется типа «легкая ось», если намагниченности подрешеток
лежат в базисной плоскости, антиферромагнетик называется типа «легкая
плоскость». Для двухподрешеточного одноосного антиферромагнетика при учете
только первой константы анизотропии энергия магнитной анизотропии запишется как
, (1.5)
где
и
- углы,
которые составляют намагниченности подрешеток с антиферромагнитной осью, и,
если
, то
(1.6)
У
кубического ферромагнетика энергию анизотропии принято записывать в виде
разложения по направляющим косинусам. Так как три оси эквивалентны, то
коэффициенты перед первыми возможными членами разложения типа
αi одинаковы, а так как
α1+
α2+
α3≡1, то совокупность таких членов не даст угловой зависимости и их
можно опустить. В разложении останутся члены четвертого и шестого порядка. Это
соответственно
α1
α2+
α2
α3+
α3
α1 и
α1
α2
α3. Что касается суммы cos4α1+cos4α2+cos4α3, то, используя тождество
α1+
α2+
α3≡1, ее можно выразить через приведенную выше сумму произведений
косинусов в квадрате и не включать в разложение. Окончательно, заменяя для
краткости cos
просто на
, энергия
кристаллографической магнитной анизотропии для кубического кристалла запишется
в виде:
При
|
| < 9/4 | |
| и 1)
> 0 легкими осями являются направления
<100>, а трудными <111>; 2)
< 0
легкие оси <111> и трудные <100> .
Что
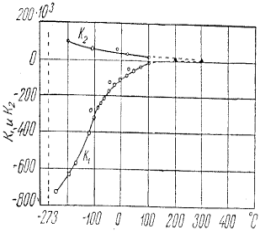
касается температурной зависимости констант магнитной анизотропии, то их абсолютная
величина, как правило, растет с понижением температуры. Для железа, никеля,
кобальта и
температурные зависимости констант магнитной
анизотропии приведены на (рисунок 1.3).
)
в)
б)
г)
а)
железо, б) кобальт, в) никель, г)
Рисунок
1.3. Температурные зависимости констант магнитной анизотропии.
Не
редки случаи, когда при изменении температуры меняются направления
намагниченностей подрешеток антиферромагнетика или намагниченности
ферромагнетика. Происходят так называемые ориентационные или спин
ориентационные магнитные фазовые переходы. Такие переходы возможны и в
результате внешних воздействий, например, под действием магнитного поля. На
(рисунок 1.3) приведены зависимости констант магнитной анизотропии для железа,
кобальта, никеля и
. У кобальта при температурах ниже 520К легкой осью
является гексагональная ось, при повышении температуры
меняет знак, намагниченность отклоняется от
гексагональной оси и при Т ≅ 580К
=-2
и
ложится в базисную плоскость.
Рисунок 1.4. Намагничивание монокристалла железа по трем
кристаллографическим направлениям
Существует несколько экспериментальных способов определения констант
магнитной анизотропии. Один из них мы рассмотрим в этом разделе. Константы
анизотропии могут быть определены из кривых намагничивания монокристалла
ферромагнетика по различным кристаллографическим направлениям. В качестве
примера рассмотрим намагничивания монокристалла железа (рисунок 1.4.). Для
снятия таких кривих.
Константы магнитной анизотропии некоторых ферро- и ферри- магнетиков
представлены в таблице 1.1.
Таблица 1.1
Чтобы избежать полей размагничивания, из монокристалла вырезаются рамки с
ребрами, параллельными соответственно осям [100], [110] или [111]. Легкими
осями в этом случае являются направления <100>, средними <110> и
трудными <111>. Для намагничивания кристалла в любом из направлений
<100> достаточно небольшого поля для ликвидации доменной структуры.
Важно, то, что намагничивание произойдет в сравнительно слабом поле. При
намагничивании вдоль одного из направлений <110> или <111> сначала
в слабых полях пройдут процессы смещения доменных границ, а затем с ростом поля
намагниченность будет поворачиваться пока ее направление не совпадет с полем.
Этот поворот связан с преодолением сил магнитной анизотропии. Работа,
затраченная на намагничивание до насыщения в направлении [hkl] равна
(1.8)
т.е.
площади , заключенной между кривой намагничивания и осью ординат. Для
направления [110] направляющие косинусы в
=
= 1/√2 и
= 0. Из
(4.4) следует, что
А[110]
- А[100] = 1/4k1, (1.9) следовательно, k1=4(А[110]-А[100]). Экспериментальная
кривая намагничивания вдоль [111] позволяет определить и k2. Для [111] α1=α2=α3=
1/√3, следовательно ,
А[111]-
А[100] = 1/3
+ 1/27
. (1.10)
Откуда,
зная из (1.9)
, можно определить
.
Существуют
и другие методы определения констант магнитной анизотропии. В первую очередь из
данных по ферромагнитному резонансу. Для пленок ферритов-гранатов, прозрачных в
видимой области света, были развиты магнитооптические методы, использующие
оптическую регистрацию направления намагниченности или относительной величины
магнитной восприимчивости.
Наряду
с естественной магнитной кристаллографической анизотропией возможна так
называемая индуцированная или наведенная магнитная анизотропия, которая
является следствием определенного локального расположения примесных атомов,
вакансий, междуузельных атомов и т.п., которое энергетически наиболее
благоприятно для данной локальной ориентации намагниченности. Можно сказать,
что наведенная анизотропия локально стремится стабилизировать направление
намагниченности. Наведенная анизотропия особенно заметна или даже играет
определяющую роль в тех случаях, когда кристаллографическая анизотропия
невелика. Наведенную анизотропию можно создавать искусственно, что важно при
создании некоторых магнитных материалов.
Примером
такой обработки является термомагнитный отжиг, т.е. некая термообработка в
присутствии магнитного поля, при которой благодаря диффузии примеси
упорядочиваются так, что способствуют заданной магнитным полем ориентации
намагниченности. Наведенная анизотропия может возникать в процессе роста
кристаллов благодаря упорядочению атомов замещения.
Обменная
или однонаправленная анизотропия
Интересное
явление было обнаружено на мелких размером 100÷1000Å слегка окисленных частичках металлического кобальта.
Оказалось, что если такие частички охладить в магнитном поле до 77˚К, то
они обладают однонаправленной анизотропией с намагниченностью, направленной
вдоль поля, в котором охлаждались. Соответственно энергию анизотропии можно
записать в виде
= -
cosθ, где
-
зависит от площади поверхности частицы. Это явление связано с тем, что окись
кобальта 122 антиферромагнетик с точкой Нееля 300˚К. При охлаждении
частичек, покрытых пленкой окисла, в магнитном поле магнитные моменты атомов
кобальта в первом слое окисла благодаря обменному взаимодействию с
поверхностными атомами металла выстраиваются параллельно им, т.е. параллельно
приложенному полю. Когда после охлаждения поле отключается, поверхностные атомы
кобальта металла и окиси остаются обменно-связанными. Так как повернуть
магнитные моменты атомов кобальта в окиси в полях ~104Э невозможно, то
магнитные моменты частичек металла остаются «замороженными» в направлении ранее
приложенного поля. Отсюда и возникает однонаправленная анизотропия. Поворот
намагниченности частиц конечно возможен, так как с окислом обменно связаны
только атомы кобальта на поверхности, а их число мало по сравнению с общим их
числом в объеме частицы. Поэтому магнитная анизотропия не столь велика. В
дальнейшем обменная анизотропия наблюдалась на системах Fe-FeO, а также в
сплавах и окисных системах в области, где могут сосуществовать две фазы одна со
спонтанной намагниченностью и вторая антиферромагнитная. [5]
1.3 Метод получения
пленок ферритов-гранатов
Основным методом выращивания пленок ферритов-гранатов является метод
жидкофазной эпитаксии на горизонтальную подложку в изотермических условиях.
Рост пленки происходит в переохлажденном растворе-расплаве. Растворителем в
большинстве случаев служит расплав РbО-В2О3 (являясь токсичным и летучим, этот
растворитель превосходит другие по вязкости, стабильности и другим параметрам).
Концентрация гранатообразующих компонентов выбирается такой, чтобы температура
насыщения находилась в интервале 1070...1275˚К и в процессе роста
единственной твердой фазой была гранатовая.[6]
ГЛАВА 2.
АВТОМАТИЗАЦИЯ УСТАНОВКИ «ЭТАЛОН-1Б»
2.1
Установка «Эталон-1Б»
Установка «Эталон-1Б» (рисунок.2.1) представляет собой устройство,
предназначенное для измерения (контроля) статистических параметров
эпитаксиальных феррит-гранатовых пленок ЭПФГ, выращенных на подложках диаметром
до 76 мм. Установка «Эталон-1Б» в лабораторных и производственных условиях
обеспечивает оперативный контроль статистических свойств феррит-гранатовых
пленок толщиной от 0,5 до 30 мкм с анизотропией типа «легкая ось», и «угловая
фаза» позволяет проводить неразрушающий контроль количества слоев в
феррит-гранатовых пленках и определять статистические свойства каждого из них;
определять изменения, происходящие в феррит-гранатовых пленках под действием
технологических обработок (отжига, имплантации, ультразвуковой обработки,
металлизации и т.д.)
Рисунок.2.1 - Установка «Эталон-1Б»
Технические характеристики установки.
Установка «Эталон-1Б» может эксплуатироваться при следующих условиях:
-
температура окружающей среды от 10 до 35
;
относительная
влажность 50 - 80%;
атмосферное
давление 760
20мм рт.ст. /1013
26/
Па;
напряжение
питающей сети 380
20В с частотой 50
0,5 Гц и
содержанием гармоник до 5%.
Технические
данные
.
Установка «Эталон-1Б» позволяет определять:
а
- в феррит-гранатовых пленках, имеющих анизотропию «легкая ось»
поле
коллапса ЦМД -
;
поле
коллапса страйп-структуры -
;
поле
эллиптической неустойчивости ЦМД
/поле
зарождения страйпов/ -
;
поле
эффективной анизотропии -
.
б
- в феррит-гранатовых пленках с анизотропией «легкая плоскость»
поле
легкоплоскосной анизотропии -
.
в
- в феррит-гранатовых пленках с анизотропией «угловая фаза»
поле
анизотропии -
.
.Установка
определяет наличие и тип анизотропии слоев в феррит-гранатовых пленках любого
состава.
.
Установка обеспечивает измерение угловых зависимостей
для всех величин, перечисленных в пункте 1а, 1б, 1в.
Пределы
измерения и относительная погрешность определения каждого параметра приведены в
таблице 2.1.
Таблица
2.1.
|
№ п/п
|
Параметр
|
Единица измерения
|
Диапазон
|
Погрешность
|
|
1
|
Э0 ÷
3000±5
|
|
|
|
|
2
|
Э0 ÷
3000±5
|
|
|
|
|
3
|
Э0 ÷
3000±5
|
|
|
|
|
4
|
Э0 ÷
3000±5
|
|
|
|
|
5
|
Э0 ÷
3000±5
|
|
|
|
|
6
|
Э0 ÷
3000±5
|
|
|
|
|
7
|
градус0
÷ 360±5
|
|
|
|
4.
В случае оснащения температурными приставками установка «Эталон - 1Б»
обеспечивает: 1 - определение температуры Нееля
ЭПФГ. А
в случае многослойной ЭПФГ - определение температуры Нееля каждого из слоев; 2
- измерение температурных слоев многослойной ЭПФГ, перечисленных в таблице 2.1;
3- определение спин-переориентационных переходов типа «легкая ось» - «легкая
плоскость» и «угловая фаза» в однослойных и многослойных ЭПФГ.
-
= 5 кГц,
= 0 - 70
кГц - для диапазона II;
-
=10 кГц,
= 0 - 170
кГц - для диапазона III.
Кратковременная
стабильность частоты измерительного генератора ± 1 ÷ 3 Гц /
/.
.
Рабочая частота опорного генератора 1 мГц при кратковременной стабильности
.
.
Погрешность при установлении величины магнитного поля не превосходит ±1,00 Э.
.
Точность определения сигнала датчика Холла ±0.01 мВ.
.
Установка сохраняет свои технические характеристики в пределах установленных
норм при питании от сети трехфазным напряжением 380 ± 20 В, частотой 50 ± 0,5
Гц. и содержанием гармоник до 5%.
.
Мощность, потребляемая установкой «Эталон - 1Б», не превышает 1,5 кВт.
.
Установка обеспечивает свои технические характеристики в пределах установленных
норм после самопрогрева в течении 15 мин.
.
Прибор обеспечивает непрерывную работу в рабочих условиях в течение 8 часов при
сохранении технических характеристик в пределах установленных норм.
.
Габаритные размеры:
Стойка
магнита: 1000*600*13000 мм;
Стойка
измерительная: 520*600*1200 мм;
.
Площадь, необходимая для размещения установки:
С
учетом зон обслуживания - 9 кв. м;
Без
учета зон обслуживания - 4 кв. м.
.
Масса установки: не более 300 кг.
Принцип
действия. Индуктивно-частотная установка «Эталон-1Б» относится к
параметрическим средствам измерений восприимчивости L-типа, у которых изменение
индуктивности L первичного преобразователя, выполненного в виде катушки,
питаемой переменным током, происходит вследствие увеличения или уменьшения ее
магнитного потока при поднесении или введении внутрь нее исследуемого образца.
Если начальное значение индуктивности
, то
после введения образца в катушку:
(2.1)
где
- коэффициент заполнения, зависящий oт отношения объемов
образца и катушки. При полном заполнении катушки образцом и однородном
намагничивающем поле
.
При
включении такой катушки в колебательный контур изменение индуктивности повлечет
за собой изменение частоты собственных колебаний контура:
, (2.2)
, (2.3)
где
и
- периоды
собственных колебаний контура соответственно без образца и с образцом.
Раскладывая
подкоренное выражение в (2.3) в ряд и отбрасывая, малые члены при
, получим:
(2.4)
откуда
следует:
(2.5)
Т.е.
значение магнитной восприимчивости исследуемого образца определяется измерением
относительного изменения периода колебаний LC- контура.
Индуктивно
- частотный метод основан на регистрации низкочастотной восприимчивости
феррит-гранатовых пленок, как функции приложенного
внешнего магнитного поля и определении по зависимости
статических параметров ФГ-пленок. Так как
и
однозначно
связаны соотношением, то все особенности зависимостей
и
(точки
перегиба, максимумы и т.д.) будут проявляться на графиках
и
.
Информативность метода существенно повышается, если вместо графика
регистрируется его первая производная
, поэтому при измерениях, как правило записывается
зависимость
, при этом соответствующие физические величины
регистрируются как максимумы (пики), либо как точки перегиба.
В
качестве примера на (рисунок 2.2) приведены характерные зависимости
для ЭФГП с различными типами анизотропии.
а)
ЭФГП с анизотропией «легкая ось» (
):
-
; 2 -
.
б)
ЭФГП с анизотропией «легкая плоскость»
(
):
-
; 4 -
. На
которых показаны особые точки, определяющие такие величины, как 




.
В
случае многослойных структур вид графиков
представляет
собой суперпозицию графиков (рисунок 2.3.)
,
составляющих многослойную структуру слоев,
-
; 6 -
.
- поле
коллапса доменов в легкоосном слое;
- поле
анизотропии легкоплоскостного слоя;
-
переориентация векторов
по направлению внешнего поля
в легкоплоскостном слое;
- поле
эффективной анизотропии легкоосного слоя. Что дает возможность проведения
неразрушающего контроля статических свойств каждого из слоев непосредственно в
рамках многослойной структуры.
Таким образом, индуктивно - частотный метод дает возможность определять
статические параметры однослойных и многослойных феррит-гранатовых пленок с
анизотропией слоев «легкая ось», «легкая плоскость» и «угловая фаза».[3]
а) ЭФГП с анизотропией «легкая ось». б) ЭФГП с анизотропией «легкая
плоскость» ».
Рисунок
2.2. Зависимости
для однослойных феррит-гранатовых пленок с различными
типами анизотропии
Рисунок
2.3. Вид графиков
для многослойных ЭФГП.
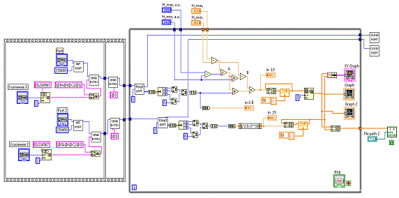
Блок - схема установки. Индуктивно-частотная установка «Эталон-1Б»,
блок-схема которой приведена на (рисунок 2.4.), состоит из датчика (выносной
индуктивности измерительного генератора), частотомера, магнита, блока питания
(силового), блока управления магнитом, датчика магнитного поля (датчика Холла),
самописца.
Рисунок 2.4. Индуктивно-частотная установка «Эталон-1Б»
Исследуемый
образец помещается на выносную индуктивность измерительного генератора,
расположенную между полюсами магнита и способную в зависимости от условий эксперимента
ориентироваться таким образом, чтобы вектор напряженности магнитного поля,
создаваемого полюсами магнита, либо лежал в плоскости пленки, либо был
перпендикулярен ей (параллелен нормали к плоскости пленки), либо составлял с
ней некоторый угол
.
Исходная
частота
измерительного генератора выбирается близкой к
частоте
опорного кварцевого генератора, частота которого
составляет 1мГц. Обе частоты
и
поступают на вход смесителя частот. В блоке смешения
частот происходит сравнение частот измерительного и опорного генераторов и на
выходе блока смешения частот появляется разностная частота
и гармонические составляющие более высокой частоты.
Низкочастотный фильтр пропускает только разностную частоту
, отсеивая высокочастотные гармоники, а усилитель
усиливает амплитуду напряжения синусоидального сигнала
до напряжения
В.
Компаратором
синусоидальный сигнал частоты
преобразуется
в меандр той же частоты, подающейся на вход одновибратора. На выходе
одновибратора возникает индуцируемая меандром последовательность калиброванных
по величине импульсов, частота следования которых такая же, как и частота
меандра и синусоидального сигнала, а длительность задается преобразователем
диапазона работ. Сформированная одновибратором и преобразователем рода работ
последовательность импульсов частотой
поступает
на вход преобразователя «частота - напряжение», на выходе которого возникает
напряжение u, величина которого определяется уравнением
.
Напряжение
u, величина которого пропорциональна
,
поступает через коммутатор на вход Y самопишущего двухкоординатного
потенциометра. Одновременно напряжение u поступает на входы первого и второго
дифференцирующих блоков, на выходе которых появляются потенциалы, величина
которых определяется соответственно уравнениями
и
. Выходы первого и второго дифференцирующих блоков
подключены к входу коммутатора и могут через него подключаться к входу
самопишущего потенциометра.
Воздействие
на образец внешним магнитным полем осуществляется с помощью электромагнита,
подключенного к силовому блоку питания. Управление силовым блоком питания
осуществляется с помощью блока управления магнитом. Контроль величины
создаваемого магнитом магнитного поля, осуществляется измерителем магнитного
поля, состоящим из блока питания датчика Холла и датчика измерителя магнитного
поля. Выход датчика магнитного поля подключен к коммутатору и через него может
подключаться либо к входу X двухкоординатного самопишущего потенциометра, либо
к входу цифрового вольтметра.
В
случае подключения выхода датчика магнитного поля через коммутатор к входу X
самопишущего потенциометра, на бланке потенциометра возможна регистрация
зависимостей: 1)
; 2)
и 3)
в зависимости от того, какой из блоков подключен
через коммутатор к входу У: преобразователь, первый дифференцирующий блок или
второй дифференцирующий блок.
Контроль
за правильностью работы устройства осуществляется при помощи частотомера, вход
которого через коммутатор может подсоединяться либо к выходу измерительного
генератора, либо к выходу опорного (кварцевого) генератора, либо к выходу
усилителя. [3]
Так
как данные, полученные в результате экспериментов, регистрировались самописцем
на бумаге, то последующая их обработка включала в себя сканирование или
фотографирование бумажных копий с последующей оцифровкой. Было принято решение
внести изменения в установку. Вместо самописца сигналы подаются в
аналого-цифровой преобразователь (АЦП) где оцифровывается, и передаются в
персональный компьютер для дальнейшей обработки анализа и сохранения
результатов измерений. На (рисунок 2.5) представлена часть блок схемы установки
«Эталон-1БР» с внесенными изменениями.
Рисунок
2.5. Установка «Эталон-1Б» с автоматической записью данных.
2.2
Устройство для регистрации сигналов EDAQ24
Изучив
принцип действия установки «Эталон-1Б» и померив напряжения, подаваемое для
управления координатным самописцем, нужно было подобрать или разработать АЦП
для регистрации этих напряжений на ПК. После поисков выбор пал на устройство
для регистрации сигналов EDAQ24, т. к. разработчик этого устройство предоставил
его принципиальную схему, микропрограмму, предназначенную для записи в память
микроконтроллера на котором построено устройство и разрешил повторять это
устройство для пользования в своих целях. В программном комплексе KiCad,
предназначенном для разработки электрических
схем <#"865283.files/image157.gif">
Рисунок 2.6. Аналого-цифровой преобразователь EDAQ24
Количество входных измерительных каналов: 2.
Диапазон входных сигналов: ± 2 В.
Разрядность АЦП: 24 бит.
Быстродействие: 1канал 500 Выб/с ,2 канала 8 Выб/с
Число активных каналов: от 1 до 2 (выбирается программно).
Интерфейс для подключения к компьютеру: USB v. 2.0.[4]
2.3
LabVIEW-программа для работы с АЦП
- это язык графического программирования, в котором для создания
приложения используются иконки вместо строк текста. LabVIEW использует
потоковое программирование (data flow programming), в котором
последовательность выполнения определяется потоком данных.[2]
В первом массиве регистрируются данные поступающие с датчика Холла, во
втором массиве регистрируются данные поступающие с преобразователя «частота
напряжение»
Рисунок 2.7. Програма в LabVIEW.
ВЫВОДЫ
1. Разработан и создан блок цифровой регистрации, позволяющий
автоматизировать запись полевых зависимостей магнитной восприимчивости тонких
пленок.
. Автоматизация проведена с использованием микроконтроллера Silicon Labs
С8051, который управляется разработанной программой на языке LabWIEV.
. Исследованы полевые зависимости восприимчивости пленки с анизотропией
«угловая фаза» при различной ориентации магнитного поля относительно плоскости
пленки.
. Показано что легким направлением является направление, отличающиеся от
плоскости пленки на 1 градусов. Обнаружена тонкая структура полевых
зависимостей восприимчивости в окрестностях углов, близких к нормали плоскости
пленки.
Также хочу выразить благодарность Бержанскому В.Н. за руководство при
написании дипломной работы, Прокопову А.Р. за консультирование при работе с
установкой Эталон-1Б и огромная благодарность Михайлову В.И. за помощь и
наставления на протяжении выполнения всей дипломной работы.
СПИСОК
ЦИТИРУЕМЫХ ИСТОЧНИКОВ
1. Ф.Е Барьяхтар, А.О. Хребтов, А.И. Савуцкий. Сб. науч. тр.
ИНЭУМ. М. 1986. -109 с.
. LabVIEW. Руководство пользователя / [пер. на русский язык
С.В. Николаев]. - National Instruments Corporation, 2007. - 370 с.
. Ф.Г. Барьяхтар, А.О.Хребтов, Ф.П.Фичичян. Техническое
описание и инструкция по эксплуатации. Донецк 1988. - 46 с.
4. Техническое описание и
инструкция по эксплуатации EDAQ24. [Электронный ресурс]. - Режим доступа: www.inf.u-szeged.hu/gingl/edaq24/
<http://www.inf.u-szeged.hu/gingl/edaq24/>
. В.А. Боков. Физика
магнетиков. Издательство Политехнического университета.- 256 с.
. В.В.Рандошкин,
А.Я.Червоненкис. Прикладная магнитооптика. - М Энергоатом-издат, 1990. - 320с.
. С. В.Вонсовский., Магнетизм.,
M. Наука, 1971. -1032 с.
ПРИЛОЖЕНИЕ 1
ОХРАНА ТРУДА
.1 Нормализация параметров микроклимата на рабочем месте
Параметры микроклимата могут изменяться в широких пределах, в то время
как необходимым условием жизнедеятельности человека является поддержание
постоянства температуры тела благодаря свойству терморегуляции, т.е.
способности организма регулировать отдачу тепла в окружающую среду.
Основной принцип нормирования микроклимата - создание оптимальных условий
для теплообмена тела человека с окружающей средой. В санитарных нормах
СН-4088-88 установлены величины параметров микроклимата, создающие комфортные
условия. Эти нормы устанавливаются в зависимости от времени года, характера
трудового процесса и характера производственного помещения (значительные или
незначительные тепловыделения). Для рабочих помещений с избыточным
тепловыделением до 20 ккал/м3 допустимые и оптимальные значения параметров
микроклимата приведены в таблице:
Таблица 1.1. Параметры микроклимата
|
Время года
|
Категория работ
|
Температура воздуха, 0 C
|
Относительная влажность, %
|
Скорость движения воздуха, м/с
|
|
Холодный период
|
Средней тяжести, 2а
|
18 - 20
|
40-60
|
< 0.2
|
|
Теплый период
|
Средней тяжести, 2а
|
21-23
|
40-60
|
0.2-0.4
|
В настоящее время для обеспечения комфортных условий используются как
организационные методы, так и технические средства. К числу организационных
относятся, рациональная организация проведения работ в зависимости от времени
года и суток, а также организация правильного чередования труда и отдыха. В
связи с этим рекомендуется на территории предприятия организовывать зеленую
зону со скамейками для отдыха и водоемом (бассейны, фонтаны). Технические
средства включают вентиляцию, кондиционирование воздуха, отопительную систему.
.2 Излучения и поля мониторов
К числу вредных факторов, с которыми сталкивается человек, работающий за
монитором, относятся рентгеновское и электромагнитное излучения, а также
электростатическое поле. (Допустимые нормы для этих параметров представлены в
таблице 1.2)
Таблица 1.2. Допустимые значения параметров излучений, генерируемых
видеомониторами
|
Параметры
|
Допустимые значения
|
|
Мощность экспозиционной дозы рентгеновского излучения на
расстоянии 0,05 м вокруг видеомонитора
|
100 мкР/час
|
|
Электромагнитное излучение на расстоянии 0,5 м вокруг
видеомонитора по электрической составляющей: в диапазоне 5 Гц-2 кГц
|
25 В/м
|
|
в диапазоне 2-400 кГц
|
2,5 В/м
|
|
по магнитной составляющей: в диапазоне 5 Гц-2 кГц
|
250 нТл
|
|
в диапазоне 2-400 кГц
|
25 нТл
|
|
Поверхностный электростатический потенциал
|
Не более 500 В
|
Благодаря существующим, достаточно строгим, стандартам дозы
рентгеновского излучения от современных видеомониторов не опасны для
большинства пользователей. Исключение составляют люди с повышенной
чувствительностью к нему (в частности, рентгеновские излучения от монитора
опасны для беременных женщин, поскольку могут оказать неблагоприятное
воздействие на плод на ранних стадиях развития).
Специалисты не пришли к однозначному выводу относительно воздействия
электромагнитного излучения на организм человека, однако совершенно очевидно,
что уровни излучения, фиксируемые вблизи монитора (таблица 1.2), опасности не
представляют.
При работе монитора возникает и электростатическое поле. Уровни его
напряженности невелики и не оказывают существенного воздействия на организм
человека в отличие от более высоких уровней электростатического поля,
характерных для промышленных условий. Более значимой для пользователей является
способность заряженных микрочастиц адсорбировать пылинки, тем самым препятствуя
их оседанию и повышая дополнительный риск аллергических заболеваний кожи, глаз,
верхних дыхательных путей.
.3 Основы электробезопасности
Электробезопасность - система организационных и технических мероприятий и
средств, обеспечивающих защиту людей от вредного и опасного воздействия
электрического тока. Опасность электрического тока в отличие от прочих
опасностей усугубляется тем, что человек не в состоянии без специальных
приборов обнаружить напряжение дистанционно, а также быстротечностью поражения
- опасность обнаруживается, когда человек уже поражен. Анализ смертельных
несчастных случаев показывает, что на долю поражений электрическим током
приходится на производстве до 40, в энергетике - до 60 % ; большая часть
поражений (до 80%) происходит в электроустановках напряжением до 1000 В (110-
380 В).
Проходя через живые ткани человека, электрический ток оказывает
термическое (ожоги), электролитическое (электролиз) и биологическое
воздействие. Различают также механические повреждения от воздействия
электрического тока. Это приводит к различным нарушениям в организме, вызывая
как местное поражение тканей и органов, так и общее поражение организма.
Различают два вида поражений электрическим током: местные электрические травмы
(электротравмы) и электрический удар, которые резко обличаются друг от друга.