Расчет ленточного тормоза
Министерство образования и науки
Российской Федерации
федеральное государственное бюджетное
образовательное учреждение
высшего профессионального образования
«Сахалинский государственный
университет»
Технический нефтегазовый институт
Кафедра нефтегазового дела
КУРСОВАЯ РАБОТА
по дисциплине «ТЕХНОЛОГИЯ
БУРЕНИЯ НЕФТЯНЫХ И ГАЗОВЫХ СКВАЖИН»
на тему:
«РАСЧЕТ ЛЕНТОЧНОГО ТОРМОЗА»
Южно-Сахалинск 2015
Содержание
Введение
Глава 1. Описательная часть
.1 Кинематические схемы ленточного тормоза
.2 Элементы ленточного тормоза
Глава 2. Расчетная часть
.1 Расчет главного тормоза. Усилия, действующие при
торможении
.2 Расчет колодочно-ленточного тормоза
.3 Силы, действующие в рычажном механизме тормоза
.4 Тепловой расчет главного тормоза
.5 Проверочный расчет тормозной ленты
Глава 3. Безопасность жизнедеятельности
Заключение
Список литературы
Введение
Тормозные системы буровых лебедок предназначены для создания усилия в
ведущей струне, обеспечивающего надежное удерживание в статическом состоянии
колонны максимального веса, на который рассчитаны установки; поглощения
мощности при спуске колонны на длину одной свечи с наибольшей допустимой
скоростью, контролируемой торможением, и остановки в конце спуска; плавной
подачи бурильной колонны по мере углубления скважины при бурении за счет
регулирования тормозного момента.
При спуске бурильной колонны развивается большая мощность, и поглощение
ее механическими тормозами ограничивается предельно допустимыми температурами,
возникающими на поверхностях трения, и возможностью отвода выделяемой теплоты
этими тормозами. Предельная температура поверхностей трения обычно
ограничивается 500 С. При более высоких температурах резко ухудшаются
фрикционные качества тормозных колодок и прочность поверхности шкива. Спуск
тяжелых колонн с большой скоростью и резким торможением приводит к тому, что
местная температура на поверхностях трения достигает 1000 С и более.
Для выполнения всех требуемых операций в буровых лебедках необходимо
предусматривать два вида тормозов: главный тормоз (останова), вспомогательный
тормоз, регулирующий скорость спуска и поглощающий часть выделяющейся при этом
энергии, и специальный механизм для регулирования скорости подачи долота при
бурении.
Глава 1. Описательная часть
Ленточный тормоз - основной тормоз буровой лебедки. Он предназначен для
остановки и удержания в неподвижном состоянии бурильной колонны и другого
инструмента, спускаемых и поднимаемых из скважины. Ленточный тормоз при
необходимости может быть использован в качестве вспомогательного. Например, в
случаях отказа или недостаточного тормозного момента вспомогательного тормоза
лебедки для снижения скорости спуска колонны труб в скважину используется
ленточный тормоз. При отсутствии регулятора подачи долота ленточный тормоз
служит для поддержания осевой нагрузки на долото и подачи бурильной колонны по
мере углубления забоя скважины.
Согласно ГОСТ 12.2.041-79, к ленточным тормозам предъявляются следующие
требования:
тормозной момент должен быть достаточным для надежного
удержания в неподвижном состоянии колонны труб наибольшей массы,
соответствующей допускаемой грузоподъемности лебедки; привод тормоза должен
обеспечить плавное регулирование тормозного момента и мягкую посадку на стол
ротора спускаемой в скважину колонны труб; тормоз должен растормаживаться
одновременно с включением привода лебедки;
температура на поверхностях трения фрикционной пары не
должна превышать допускаемой температуры нагрева материалов, используемых
в тормозной паре;
конструкция тормоза должна исключать самопроизвольное торможение и
растормаживание и обеспечить легкость управления,удобство и доступность
осмотра, регулирования и замены износившихся деталей и узлов.
В буровых лебедках в качестве основного используется двухленточный
тормоз, обладающий важными преимуществами по сравнению с одноленточным. В
первую очередь следует отметить надежность двухленточного тормоза, сохраняющего
работоспособность при отказе одной из лент. Распределение тормозного момента на
два шкива позволяет вдвое уменьшить контактные давления и, следовательно,
повысить долговечность тормозных шкивов и колодок.
Тормозные шкивы монтируют непосредственно на барабане лебедки, что
диктуется требованиями техники безопасности работ при бурении, кроме того, это
уменьшает вращающиеся массы промежуточных элементов, что делается с целью
улучшения динамических качеств лебедки. В буровых лебедках можно использовать
как гидравлические, так и электродинамические вспомогательные тормоза,
регулирующие скорость спуска.
Как указывалось выше, главные тормоза в ряде случаев выполняют функции
устройства для подачи долота. Эти устройства могут иметь разнообразные
конструкции, как воздействующие на основную тормозную систему, так и
представляющие собой отдельные механизмы. Следует, однако, учитывать, что
главные тормоза рассчитывают на торможение крюка, движущегося со скоростью 1 -
3 м/с и поглощающего при спуске мощность до 10000 кВт, в то время как при
подаче бурильной колонны скорости спуска ничтожны (до 0,03 м/с), а мощность
соответственно 5 - 30 кВт. Естественно, что один и тот же механизм тормоза не
может полностью удовлетворить всем требованиям в столь широком диапазоне
мощностей, так как коэффициенты трения при низких скоростях нестабильны;
поэтому для бурения в тяжелых условиях целесообразно проектировать лебедки с
устройствами, способными осуществлять тонкое регулирование скорости спуска и
подачи при проходке.
В качестве главных тормозов буровых лебедок рекомендуют использовать
простые ленточные или ленточно-колодочные тормоза. Колодочные тормоза в буровых
лебедках не используют из-за громоздкости. Ленточные тормоза дифференциальные и
суммарные также не применяют, первые из-за резкого торможения и малого пути
растормаживания, вторые из-за того, что они предназначены обычно для
двустороннего торможения и не обладают способностью прогрессивного увеличения
силы торможения. Требование двустороннего торможения барабана к лебедкам не
предъявляют (хотя барабаны вращаются в обе стороны, но натяжение каната всегда
имеет одно направление).
Тормоза буровых лебедок поглощают большую мощность, в результате чего
выделяется количество теплоты, которое мгновенно нагревает поверхность трения.
В связи с этим хороший отвод выделяющейся теплоты при торможении является одним
из важнейших качеств тормоза лебедки.
Система водяного охлаждения с камерами, расположенными под тормозными
шкивами, имеет ряд недостатков: не устраняется большая разность температур на
поверхностях торможения и внутренней поверхности шкива; необходим подвод воды к
вращающемуся валу лебедки и отепление системы водоподвода во избежание
замерзания зимой. Поэтому системы охлаждения следует проектировать в
зависимости от нагруженности тормозов с охлаждением водой или воздухом. [1]
.1 Кинематические схемы ленточного тормоза
По конструктивному выполнению и кинематическим схемам управления
ленточные тормоза буровых лебедок выполняются довольно разнообразно, хотя
принципиальное устройство тормозов разных конструкций мало отличается друг от
друга.
На рисунке 1 приведены различные схемы управления тормозами. Тормоз
лебедки, который изображен на рисунке 2, состоит из двух шкивов, смонтированных
на барабане, которые охватываются лентами с колодками. Тормозные ленты
соединены одним концом с балансиром, который служит для равномерного
распределения тормозного усилия между обеими лентами; другим - коленчатым
валом. На коленчатом валу с одной стороны находится тормозной рычаг управления,
а одно из его колен соединено с пневматическим цилиндром, увеличивающим
тормозное усилие.
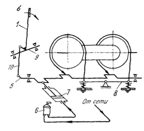
Рисунок 1 - Тормоз лебедки, тормозной рычаг которого смонтирован на
коленчатом валу: 1 - тормозной рычаг; 2 - шкив тормозной; 3 - барабан лебедки;
4 - лента тормоза; 5 - коленчатый вал; 6 - кран управления пневмоцилиндром; 7
пневмоцилиндр; 8 - балансир
Рисунок 2 - Тормоз лебедки с дистанционным управлением: 1 - тормозной
рычаг; 5 - коленчатый вал; 6 - кран управления пневмоцилиндром; 7
пневмоцилиндр; 8 - балансир; 9 - ось тормозного рычага; 10 тяга
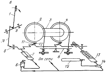
Рисунок 3 - Тормоз лебедки с дистанционным управлением: 1 - тормозной
рычаг; 2 - шкив тормозной; 3 - барабан лебедки; 4 - лента тормоза; 5 -
коленчатый вал; 6 - кран управления пневмоцилиндром; 7 пневмоцилиндр; 8 -
балансир; 9 - ось тормозного рычага; 10 - тяга; 11 - толкатель; 12 - башмак
ленты; 13 - аварийный пневмоцилиндр; 14 - обратный клапан;15 - баллон с жатым
воздухом
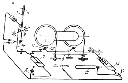
Рисунок 4 - Тормоз лебедки с дистанционным управлением: 1 - тормозной
рычаг; 6 - кран управления пневмоцилиндром; 7 пневмоцилиндр; 8 - балансир; 10 -
тяга; 11 - толкатель; 12 - башмак ленты; 13 - аварийный пневмоцилиндр; 14 -
обратный клапан;15 - баллон с жатым воздухом
Неподвижные концы лент закреплены на балансире, а подвижные,
прикрепленные к шейкам коленчатого вала, при повороте его перемещаются,
охватывают шкивы и прижимают к ним ленту с колодками, осуществляя тем самым
торможение. Управление тормозом производят тормозными рычагами, связанными с
подвижными концами лент системой рычагов и коленчатым валом. Этот вал
проворачивают либо рычагом, либо поршнем пневматического цилиндра. Управление
пневматическим торможением осуществляется рукояткой, находящейся на тормозном
рычаге или пульте бурильщика.
Тормозной рычаг должен иметь угол поворота не более 90˚, так как при
длине рычага один, два - один, шесть метров рабочий не может перемещать его на
больший угол.
На рисунке 2 показана схема тормоза с дистанционным расположением
тормозного рычага непосредственным соединением концов ленты к балансиру и
коленчатому валу.
Согласно требованиям техники безопасности [2], независимо от расстояния,
на котором находится лебедка от поста бурильщика, управление ленточным тормозом
должно осуществляться механической системой; другие устройства (пневматические,
электрические и т.д.) могут быть только вспомогательными.
На рисунке 3 показаны схемы тормозов также с дистанционным расположением
тормозного рычага и креплением концов лент к коленчатому валу и балансиру через
башмаки, которые служат для увеличения угла охвата шкивов лентами.
Тормозные системы снабжены дополнительным (аварийным) пневматическим
цилиндром, связанным коленчатым валом с серьгой. Этот цилиндр может
дополнительно питаться сжатым воздухом из баллона через обратный клапан и
действует в случае падения давления сжатого воздуха в сети.
На рисунке 4 приведена схема тормозов с пневматической фиксацией
положения тормозного рычага. Фиксация осуществляется поворотом рукоятки
тормозного рычага, управляющей клапаном.
На рисунке 5 показан общий вид ленточно - колодочного тормоза с креплением
концов лент через башмак и с тормозным рычагом, укрепленным на коленчатом валу.
Эти валы выполняются кривошипными или эксцентриковыми. Выбор того или иного
типа зависит от мощности тормоза и выбранных соотношений длины рычагов
тормозной системы. Различные конструкторы эту задачу решают по-разному.
Рисунок 5 - Общий вид ленточно-колодочного тормоз: 1 - рукоятка
тормозного рычага; 2 - тормозной рычаг; 3 - колодка; 4 - фиксатор рычага; 5 -
опора коленчатого вала; 6 - рычаги; 7 - вал коленчатый; 8 пневмоцилиндр; 9 -
пружина крепления ленты; 10 - опора балансира; 11 - балансир; 12 - контргайка;
13 - тяга; 14 - крепление ленты; 15 - лента тормозная; 16 - ролик
поддерживающий
Конструкция ленточно-колодочного тормоза показана на рисунке 6.
Преимущество ленточных тормозов - простота их конструкции и прогрессивное
увеличение тормозного момента по мере поворота рычага. Что характеризируется
зависимостью мощности торможения и перемещения подвижных концов ленты от угла
поворота рычага. Конец тормозного рычага согласно правилам Госгортехнадзора [2]
при полном торможении должен находиться на расстоянии не менее 0,8 - 0,9 м от
пола буровой. Уменьшение хода рычага достигается регулировкой зазора между
тормозными колодками лент и поверхностью шкивов. Дистанционное управление
тормозов также активно используется. [1]
.2 Элементы ленточного тормоза
Тормозные рычаги необходимо снабжать запирающимися устройствами,
позволяющими бурильщику оставлять тормоз надежно заторможенным, исключающим
проскальзывание барабана и самопроизвольное опускание бурильной колонны. Эти
устройства выполняют как механическими, так и пневматическими.
Рукоятка управления ленточным тормозом установлена на консоли вала на
напряженной посадке. Опорами вала служат два роликоподшипника, закрепленные в
корпусах. Корпуса подшипников болтами крепятся к бонкам, которые привариваются
к полу буровой.
В средней части вала на шпонке сидит рычаг для подсоединения тяги.
Крышки подшипников имеют лабиринтные уплотнения. Смазка подшипников
осуществляется через масленки. [2]
Рисунок 6 - Конструкция ленточно-колодочного тормоза: 3 - колодка; 14 -
крепление ленты; 16 - ролик поддерживающий
Рисунок 7 - Конструкции шкивов тормозов: а - с ребрами жесткости,
увеличивающими поверхность теплоотдачи; б - с запрессованным алюминиевым
ребристым барабаном; в, г - с камерой для водяного охлаждения; д, е - без
устройства для отвода теплоты; 1 - шкив; 2 - реборда барабана лебедки; 3 -
охладитель кольцевой; 4 - кожух камеры кольцевого охлаждения; DТ -
диаметр шкива тормоза
По конструктивному оформлению шкивы тормозов выполняются весьма
разнообразно. В большинстве случаях их лучше проектировать литыми. Конструкции
с ребрами для воздушного охлаждения, отлитыми за одно целое со шкивом, которые
изображены на рисунке 4а, можно проектировать для условий эксплуатации на
Севере. Шкивы с вставным литым алюминиевым ребристым барабаном для охлаждения,
которые изображены на рисунке 4б, широкого распространения не получили из-за
сложности изготовления. Конструкции с камерами охлаждения, изображенными на
рисунках 4в, г, можно успешно использовать в лебедках, применяемых в районах с
умеренным и жарким климатом при бурении с небольшим числом СПО.
Шкивы менее удачных конструкций без охлаждающих устройств показаны на
рисунках 8-9.
Толщину шкива рассчитывают с учетом его износа, допускаемого 0,4 - 0,5
его толщины. Ширина должна быть на 5 -10 мм больше ширины тормозных колодок.
Пневмоцилиндр поршневой одностороннего действия включается с подачи
воздуха через отверстие в крышке. Под давлением воздуха поршень вместе с
направляющим штоком перемещается в гильзе. В направляющем штоке установлен
резиновый буфер со сферическим углублением пол головку штока. При включении
пневмоцилиндра поршень через резиновый буфер выдвигает шток, который через
рычаг поворачивает коленвал на затормаживание. Шток не связан с поршнем,
поэтому при отключенном пневмоцилиндре пружина удерживает поршень в исходном
положении. Уплотнением поршня служит резиновая манжета, зажатая между поршнем и
диском направляющего штока. Войлочные кольца поршня пропитаны маслом и служат
для смазывания поверхности трения гильзы.
Направляющей для трубы штока является втулка, установленная в стакане.
Смазка поверхности трения втулки производится через масленку.
Шесть шпилек стягивают стакан с крышкой и одновременно крепят цилиндр к
сварной стойке, которая на бонках устанавливается на площадке рамы.
Для исключения попадания грязи и воды между штоком и направляющей втулкой
пневмоцилиндр закрыт кожухом.
Ленту тормоза выполняют из стальной полосы шириной, равной ширине
колодок, толщиной 3-4 мм, облицованной с внутренней части тормозными колодками
из фрикционного материала, колодки крепят к ленте болтами с потайными головками
или стальными лепестками арматуры колодки. К обоим концам полосы приклепывают
проушины для осей, соединяющих ленту с балансиром и коленчатым валом.
Для обеспечения одновременной работы обеих лент необходимо отрегулировать
их натяжение следующим образом:
пружины оттяжек и роликовые опоры отрегулировать так, чтобы в
отторможенном положении колодки не задевали тормозные шкивы;
вывернуть оба болта до соприкосновения колодок с балансиром, выдержав при
этом горизонтальное положение балансира;
отсоединить левую ленту, вывернув болт с ушком, затормозить барабан
подачей воздуха краном машиниста в пневмоцилиндр давлением 5-6,5 кг/см2;
подсоединить левую ленту, отсоединить правую и аналогично обеспечить
размер;
после регулировки болты завернуть до упора, подсоединить обе ленты.
Тормозные колодки рекомендуют применять стандартных размеров из различных
фрикционных материалов: тканевые, из прессованного асбестового волокна с
металлической сеткой или специальных пластмасс и других фрикционных материалов.
Материал для изготовления тормозных колодок должен обладать высоким
коэффициентом трения (0,4 - 0,5), большой прочностью, теплостойкостью,
обеспечивать небольшой износ колодок и тормозного шкива и хороший отвод тепла.
[2]
Тормозные колодки могут быть различных типов: твердые прессованные и
мягкие тканевые. Имеется также много различных промежуточных типов
прессовано-тканевых колодок. Чем больше твердость колодок, тем меньше их износ,
но тем быстрее изнашиваются тормозные шайбы. Мягкие тканевые колодки сами
изнашиваются быстрее, но при этом износ тормозных шкивов меньше. Коэффициент
мягких колодок обычно выше, чем твердых. Для лебедок глубокого бурения
наилучшими являются прессованные колодки средней твердости. [2]
Для колодок применяют асбестокаучуковые материалы 6КХ - 1 и ретинакс
ФК-24А, в которой связкой служат фенолформальдегидные смолы. Колодки из
ретинакса можно применять при удельной нагрузке 5 - 6 МПа и скорости торможения
50-60 м/с. Теплостойкость поверхности этого материала до 1000 ˚С.
Твердость ретинакса НВ 33, плотность 2 · 103 кг/м3.
Балансиры служат для равномерного распределения тормозного усилия между
двумя лентами и обеспечения равномерности их работы. Без балансирующих
устройств тормоза приходилось ба часто регулировать зазор между тормозными
колодками и барабаном, однако и это не обеспечивало бы их равномерную нагрузку
и происходил бы повышенный износ тормозных колодок шкивов. В буровых лебедках
балансиры обязательны.
Балансир представляет собой простую конструкцию в виде стальной литой или
сварной балки, прикрепленной в середине осью к раме, на концах балансира
смонтированы регулировочные болты, к которым крепятся тормозные ленты. Литые
балансиры следует изготовлять из углеродистой стали, сварные из проката.
Механизмы управления тормозами проектируют различных конструкций: с
непосредственным или дистанционным управлением, с жесткими механическим
связями. Наиболее просты и надежны рычажные механизмы: с рычагом,
воздействующим непосредственно на коленчатый вал, с которым соединены тормозные
ленты; с рычагом, воздействующим на систему промежуточных рычагов; с рычагом,
воздействующим на систему с зубчатыми секторами с переменным передаточным
отношением; с рычагом, воздействующим на эксцентрик, который приводит в движение
систему рычагов, связанных с тормозными лентами и др.
Во всех этих системах следует стремиться различными конструктивными
средствами создать устройство, которое обеспечивало бы в начале торможения при
небольшом повороте тормозного рычага большее перемещение тормозных лент и
меньший выигрыш в силе.
Рисунок 8 - Ленточный тормоз: 1 - барабан; 2 - тормозная лента; 3 -
натяжное устройство; 4 - дополнительный барабан; 5 - обойма; 6 накладка
Рисунок 9 - Ленточный тормоз: 1 - барабан; 2 - тормозная лента; 3,7 -
пружина; 4 - рычаг; 5 - ролик; 6 криволинейный паз; 8 - натяжное устройство
2. Расчетная часть
.1 Расчет главного тормоза. Усилия, действующие при торможении
Расчёт ведётся по методике, предложенной в литературе [1]
Исходя из исходной глубины бурения 4000м выбираем базовую модель
ленточного тормоза, используемого в буровой лебедке У2 - 5 5
"Уралмашзавода". Все основные параметры ленточного тормоза сведены в
таблицу 2.
В скважину спускают колонны разного веса с различными скоростями.
Скорости спуска обеспечиваются вспомогательным и главным тормозами. Торможение
при остановке осуществляет только главный тормоз, который поглощает в этот
период всю энергию движущейся колонны и связанных с ней частей.
Нагрузки на крюке и усилие в ведущей струне каната при остановке зависит
от времени и пути торможения, а также возникающих при этом динамических сил.
Так как время торможения ничем не ограничивается и зависит только от оператора,
во избежание возникновения чрезмерных динамических нагрузок, которые могут
привести к обрыву каната, усилия на тормозных шкивах должны всегда создавать
натяжение каната меньше его разрывного усилия в целом RД, Н, т. е. должно соблюдаться условие,
RД > kТ · F ∙ DT ∙ z / (DE ∙ ηЛ) = РВ МАХ, (1)
где kТ - коэффициент запаса торможения;
F -
общая тангенциальная сила трения на ободах тормозных шкивов при неподвижной
колонне, кН
При проектировочных приближенных расчетах тормоз лебедки может рассматриваться
как простой ленточный тормоз, расчетная схема тормоза приведена на рисунке 6а,
в котором гибкая лента с фрикционной накладкой нажимает на тормозной шкив. В
этом случае общая тангенциальная сила трения на ободах тормозных шкивов при
неподвижной колонне определяется по формуле
F = SH SC, (2)
где SH - натяжение набегающего конца ленты,
кН;
SC - натяжение сбегающего конца ленты, кН= 25 5 = 20 кН
DT - диаметр тормозного шкива, м,
Таблица 1 - Основные параметры ленточного тормоза буровой лебедки У2 - 5
- 5
|
Наименование
|
Размерность
|
Числовое значение величины
|
|
1.Ширина тормозной ленты
|
м
|
0,26
|
|
2.Диаметр тормозного шкива
|
м
|
1,18
|
|
3.Ширина колодки
|
м
|
0,25
|
|
4.Ширина тормозной шайбы
|
м
|
0,25
|
|
5.Скорость на ободе шкива
при торможении
|
м/с
|
24
|
|
6. Диаметр барабана
|
м
|
0,56
|
|
7.Коэффициент трения
тормозных колодок и шкива
|
|
0,55
|
DT = (1,65 - 2,75) DБ, (3)
DБ - диаметр барабана лебедки, м,
DT = 2,1 ∙ 0,56 = 1,18 м,
DE - наибольший диаметр навивки, м;
ηЛ - к. п. д. лебедки;
РВ МАХ - расчетное максимальное усилие в ведущей струне
каната, Н,
кН > 2∙20∙1,18∙2 / (0,53∙0,9) = 197 кН
Увеличение угла охвата шкива лентой позволяет реализовать требуемый
тормозной момент при меньших габаритах тормоза, однако увеличение угла охвата
связано с усложнением конструкции системы управления. Наиболее простой она
получается при угле охвата шкива лентой около 5 рад. В этом случае возможно
непосредственное соединение сбегающих концов тормозных лент с коленчатым валом
системы управления. При большем угле охвата становиться необходимым применение
шатунов между коленчатым валом и сбегающими концами лент и роликовых упоров,
обеспечивающих равномерность зазора между накладками лент и шкивами при
растормаживании по всей дуге контакта. В связи с этим лишь четверть лебедок
зарубежного производства имеет угол охвата 320 330º, и только 10% их составляют лебедки с
345 350º. [1]
.2 Расчет колодочно-ленточного тормоза
В буровых лебедках применяют ленточно-колодочные тормоза, в которых
вследствие деформации ленты при довольно большой толщине колодок происходят их
неравномерные прилегания к поверхности шкива. В ленточно-колодочном тормозе
лента нажимает на тормозной шкив через систему отдельных колодок из
фрикционного материала. Такие тормоза рассчитывают, подобно ленточным, по
формулам трения гибких тел. Однако сила трения в колодочно-ленточном тормозе
изменяется не непрерывно, а скачкообразно, поэтому расчетные формулы при
ограниченном числе колодок отличаются от формулы Эйлера.
Расчетная схема ленточно-колодочного тормоза приведена на рисунке 8,
удельная нагрузка по длине колодки распределяется неравномерно, как показано на
рисунке 9, и тормозной момент, создаваемый отдельной колодкой МН, Н·м
, (4)
где
RБ - радиус
шкива тормоза, м,
RБ = DТ / 2, (5)
RБ = 1,18/2=0,59 м,
φ - угол охвата одной тормозной колодки, рад;
ρ - угол трения, рад;
n - число
колодок

Полный
тормозной момент МТ, Н∙м, создаваемый тормозом на одном шкиве,
можно выразить так

, (6)
Тангенциальная
сила торможения FТ, Н
, (7)
Рисунок 10 - Расчетная схема тормоза: а - простой ленточный; б -
ленточно-колодчный; 1 - колодка; 2 - шкив; 3 - лента; 4 - рычаг; l - длина рычага; α
- угол охвата; r - радиус кривошипа; ψ
- угол поворота
тормозного рычага; φ - угол охвата одной колодки; βС и βН - угол между сбегающей и набегающей концами ленты и
тангенциальной линией; γС и γН - угол приложения тангенциальной силы на сбегающей и
набегающей колодках; RБ, RО, RН, RC - радиусы наружных поверхностях
барабана, колодок и лент набегающей и сбегающей
Рисунок 11 - Расчетная схема колодки тормоза: а - расчетная схема
набегающего конца ленты; б расчетная схема сбегающего конца ленты
В
связи с тем, что уточненный расчет ленточно-колодочного тормоза довольно
трудоемок, в КБ заводов его рассчитывают на ЭВМ. Для этого исходная информация
для расчета заноситься в бланк исходных данных для ЭВМ.
Программа
для расчета на машине строиться так, чтобы она выдавала все необходимые
величины для сбегающего и набегающего концов ленты. Для анализа действующих
нагрузок расчеты ведут для минимальных и максимальных значений коэффициента
трения.
При
минимальном коэффициенте трения усилия на органах управления тормозом будут
максимальные, и они принимаются для расчета элементов на прочность.
Важными
параметрами ленточных тормозов являются скорость трения колодки о шкив,
удельная нагрузка, от которых зависит ширина тормоза и износ колодок и
тормозной поверхности шкива.
Скорость
трения на тормозном шкиве UШ, м/
, (8)
где
uт -
кратность полиспаста талевой системы
Наибольшее
давление между лентой и тормозным шкивом возникает на поверхности контакта
набегающего конца ленты со шкивом, и, постепенно уменьшаясь, оно достигает
минимального значения на контакте сбегающего конца ленты со шкивом.
Удельная
наибольшая нагрузка между колодкой и шкивом ρmax, МПа
, (9)
где
В - ширина ленты тормоза, м,
Удельная
наименьшая нагрузка между колодкой и шкивом ρmin, МПа
, (10)
Длина
соприкосновения колодок со шкивом L, м
, (11)
Площадь
поверхности трения ПТР, м2
, (13)
Средняя
удельная нагрузка ρср, МПа
, (14)
Допускаемое
максимальное значение ρср зависит
от свойства выбранных материалов шкивов и колодок тормозных лент. Для наиболее
широко используемых в настоящее время материалов 0,1 ≤ ρср ≤
0,7 МПа. Более высокие удельные нагрузки ускоряют износ тормозных колодок и
снижают долговечность тормоза.
Мощность
торможения NT, кВт
, (15)
где
µ - коэффициент трения тормозных колодок и шкива;
υш -
скорость на ободе шкива при торможении, м/с
, (16)
ni -
частота вращения барабана лебедки при торможении, об/мин
Секундная
удельная мощность трения при торможении NУД, кВт/м2
, (17)
.3
Силы, действующие в рычажном механизме тормоза
Расчёт ведётся по методике, предложенной в литературе [1]
В ленточных тормозах буровых лебедок набегающий корец ленты необходимо
прикреплять к балансиру лебедки, а подвижный к коленчатому валу, на который
действует только сила натяжения сбегающего конца ленты, создающая на нем момент
МТ, кН·м. Этот момент уравновешивается моментом, создаваемый силой,
прикладываемой к тормозному рычагу, и моментом, создаваемым силой, приложенной
к кривошипу коленчатого вала штоком пневмоцилиндра, т.е.
, (18)
где
r - радиус кривошипа от неподвижного шарнира до точки крепления к подвижному
концу ленты, м;
ψ - угол поворота коленчатого вала, град.

Усилие
на тормозной рукоятке РР при отсутствии момента, создаваемым силой,
приложенной к кривошипу коленчатого вала штоком пневмоцилиндра
, (19)
где
β2 - угол
между осью рычага и лентой, град;
η - к. п. д. рычажной системы;- длина тормоза рычага, м;
β1 - угол
между сбегающим концом ленты и осью кривошипа
Путь
торможения на ободе шкива тормоза h0, м
, (20)
где
hК - путь,
проходимый крюком при торможении во время спуска, м,
, (21)
υск -
скорость спуска в начальный момент торможения, м/с,
,
Для
приближенных расчетов может быть принят прямолинейный закон изменения скорости
при торможении, тогда время торможения tT, с,
, (22)
Поскольку
момент, развиваемый тормозом, зависит от усилия, приложенного к тормозному
рычагу и пневмоусилителю, на которые воздействует оператор, время торможения
может изменяться в широких пределах. При резком торможении в подъемной системе
могут создаваться большие динамические нагрузки, поэтому в буровых лебедках,
рассчитанных на канаты определенного диаметра, нельзя произвольно применять
канат меньшего или большего диаметра. В первом случае канат может быть оборван
при резком торможении даже при правильном выборе его диаметра по статической
нагрузке. Во втором случае увеличиться путь торможения из - за недостаточного
тормозного момента, хотя прочность каната будет соответствовать расчетной
нагрузке. [1]
2.4
Тепловой расчет главного тормоза
При
спуске бурильной колонны в процессе проводки скважин выделяется значительное
количество энергии, которая должна поглощаться тормозной системой буровой
лебедки. При торможении эта энергия превращается в теплоту, которая вызывает
сильный нагрев тормозных колодок и шкивов и приводит к их быстрому изнашиванию.
Одновременно с повышением температуры тормозных шкивов и колодок уменьшается
коэффициент трения, что заставляет бурильщика увеличивать усилие на тормозном
рычаге и тем самым повышать нагрузку на колодки, что ускоряет их износ.
При
эксплуатации буровых лебедок без регулирующего тормоза тормозные колодки иногда
срабатывают в течение одного - двух спусков бурильной колонны.
В
процессе спуска происходит постоянное чередование периодов торможения и спусков
колонны, периодов подъема ненагруженного элеватора и периодов пауз, причем вес
спускаемой колонны за каждый цикл увеличивается на вес одной свечи
Главные
тормоза рассчитывают на нагрев по количеству выделяемой теплоты при спуске на
длину свечи колонны наибольшего веса. Меньший вес бурильной колонны в
предыдущий момент спуска в расчете не учитывают.
Количество
работы А, кДж, которая должна поглотить тормозная система при спуске колонны на
длину одной свечи
, (23)
где
Рвус - натяжение ведущей струны при спуске, Н;с - длина
свечи, м
Так
как величины коэффициентов теплоотдачи приведены к единице времени 1с, условно
можно принимать, что количество выделяемого в тормозе тепла QE, кВт/ч
, (24)
где
z - число свечей, спускаемых за один час
При
установившемся тепловом состоянии вся выделяемая теплота во время торможения
отдается в окружающую среду и воде, подаваемой для охлаждения, т.е должно
выполняться равенство
, (25)
где
Qот -
теплота, отдаваемая в окружающую среду и воде, кВт/ч
, (26)
1 - количество излучаемой
теплоты, кВт/ч
, (27)
с1
- коэффициент излучения от поверхности тормозного шкива
с2
- коэффициент излучения от шероховатых поверхностей;
П1,
П2 - площади поверхности шкива, излучающие теплоту, м2;
t1 - температура нагрева шкива, град.;
t2 - температура окружающей среды, град.
,
Q2 - количество теплоты, отводимой конвекцией воздуха,
при вращающих ся шкивах, кВт/ч
, (28)
с3
- коэффициент теплоотдачи от неподвижного шкива воздуху;
П3
- площадь поверхности шкива, отводящей теплоту конвекцией, м2;3
- температура отводимой воды, град.;
ПВ
- относительная продолжительность включения
Q3 - количество теплоты, отводимой конвекцией воздуха,
при вращающихся шкивах
, (29)
Σfi -
площадь боковых кольцевых поверхностей шкивов, м2;
с4
- коэффициент теплоотдачи кольцевых поверхностей
,
Q4 - количество теплоты, отводимой водой охлаждения,
кВт/ч
, (30)
с5
- коэффициент теплоотдачи от тормозных шкивов к воде;
П4
- площадь поверхности шкива, омываемой водой, м2,
,
Q5 - теплота, которая рассеивается на поверхности
тормоза кВт/ч
, (31)
,
,6
= 993,6
Условие
равенства выполняется
.5
Проверочный расчет тормозной ленты
Расчёт ведётся по методике, предложенной в литературе [1]
Тормозные ленты изготавливают из стали 50.
Напряжение растяжения в сечении ленты σЛ, МПа, определяем по формуле
, (32)
где
S - площадь сечения ленты, м2
δ
- толщина ленты, м;o
- число отверстий;o - диаметр отверстия, м

При обрыве одной ленты
тормозной момент передается на другую ленту, которая должна обеспечить
торможение опускаемой колонны. В этом случае рассчитывается максимальное
напряжение растяжения σмах, МПа,
, (34)
Для стали 50 напряжение
вполне допустимо.
Конец ленты закреплен 12
заклепками, работающими на двойной срез. Натяжение среза в заклепках
, (35)
где SН1 -
натяжение набегающего конца одной ленты, МН
, (36)
- число заклепок; З - диаметр заклепок, м
Полученный результат
значительно меньше допустимого.
4. Безопасность
жизнедеятельности
В процессе эксплуатации
лебедки необходимо выполнять следующие требования:
все наружные движущиеся и
вращающиеся части тормоза должны быть ограждены прочными металлическими щитами,
работа без защитных кожухов над и тормозными лентами запрещается;
Тормозная система - один из
основных узлов буровой лебедки. Чтобы исключить возможность тяжелых аварий,
необходимо тщательно следить за исправностью тормозного устройства, за
ограждением зубчатого передающего механизма тормоза. В противном случае
возможно попадание в него посторонних предметов, что будет препятствовать
перемещению тормозной рукоятки, в результате чего может произойти или
затаскивание талевого блока под кронблок, или удар талевого блока о роторный стол.
При этом не исключена возможность возникновения несчастных случаев.
При работе пневматическим
тормозом необходимо следить за давлением в цилиндре тормоза; оно должно быть в
пределах 0,2-0,3 МПа. Торможение должно быть плавным. Для этого надо плавно поворачивать
рукоятку на тормозном рычаге. Резкий поворот приводит к быстрому повышению
давления в цилиндре и резкому торможению барабана, в результате чего может
произойти рывок крюка с возможным срывом подвешенного инструмента и падением
его на рабочую площадку.
При пневматическом управлении
лебедок необходимо систематически следить за исправностью пневмосистемы.
Неисправности в ней сказываются на работе лебедки и могут быть причиной
несчастного случая. Следует также обратить внимание на работу компрессоров,
герметичность воздухопроводов, исправность крана Казанцева.
При ремонте или замене узлов
пневмосистемы необходимо:
отключить компрессорную
станцию. При этом на пульте бурильщика и на автомате включения станции (на щите
управления) вывесить плакаты «Не включать. Работают люди»;
предупредить персонал вахты о
предстоящих работах;
открытием пробно-спускных
кранов на воздухосборниках выпустить воздух из системы. Для ускорения удаления
воздуха допускается включение в работу на «холостой ход» автоматического ключа
АКБ-3М2.
Только после проведения
вышеперечисленных мероприятий разрешается производство ремонтных работ по
замене и ремонту узлов пневмоуправления.
После окончания ремонтных
работ необходимо проверить герметичность системы пневмоуправления. При соединении
воздухопроводов с резинотканевым рукавом для облегчения их надевания
наконечники трубопроводов рекомендуется покрыть сухим тальком.
При эксплуатации
шинно-пневматических муфт необходимо соблюдать следующие правила.
следить за давлением воздуха
при включении муфт. При недостаточном давлении воздуха происходят пробуксовка
муфт, нагрев и усиленный износ колодок.
тщательно оберегать тормозные
колодки от попадания на них дизельного топлива, смазочных масел, керосина и
прочих веществ, растворяющих резину, а также от механических повреждений.
Загрязненные маслом места надо обмыть теплой водой с мылом.
При использовании буровых
лебедок, не имеющих фиксатора положения, для укрепления тормозной рукоятки
необходимо применять устройства в виде цепи, прочно прикрепленной к полу, или
мягкого троса, пропущенного через пол, с привязанным к нему грузом.
Чтобы исключить аварии при
работе лебедки, необходимо периодически проверять состояние ленточного тормоза.
Один раз в течение каждой вахты при длительных спуско-подъемных операциях и
несколько раз по мере износа колодок надо регулировать натяжение тормозных
лент. Ленты тормозов должны быть натянуты равномерно и плотно охватывать оба
шкива. При проскальзывании тормоза следует отрегулировать ленты и коромысло.
При полном торможении лебедки
рукоятка тормозного рычага должна отстоять от пола буровой на расстоянии 80-90
см. В этом положении тормозной рычаг должен надежно фиксироваться.
Если ход рукоятки при
торможении составляет не менее 60° (от верхнего положения), это означает, что
колодки износились и требуется подтянуть ленты.
С целью снижения температуры
на рабочей поверхности тормозных шкивов, растрескивания и разрывов необходимо:
время спуска колонны на длину
свечи 24 метра не сокращать менее 20 секунд;
время остановки колонны не
должно быть меньше 5-6 секунд.
при сокращении времени
торможения на поверхности шкивов возникают высокие температуры, вызывающие
появление трещин на рабочей поверхности шкива и способствующие преждевременному
износу тормозных колодок.
износ тормозных шкивов не
должен превышать 15 мм на сторону. Замер износа производится во время смены
тормозных колодок и осуществляется при помощи стальной линейки, установленной
на реборде тормозного шкива.
комплект тормозных колодок с
крепежной планкой считается изношенным и подлежит замене в том случае, когда
толщина первой колодки, считая от набегающего конца ленты, становится равной 8
мм. При достижении указанного износа все колодки, установленные на ленте,
подлежат замене.
Запрещается частичная замена
колодок на тормозной ленте.
при наличии трещин на рабочей
поверхности шкива, длинной более 80 мм и шириной порядка 0,2-0,5 мм шкивы
подлежат немедленной замене. Запрещается производить заварку трещины на
тормозных шкивах и работать с подъемным валом, имеющим заваренные трещины на
тормозных шкивах.
крепление тормозного шкива к
барабану подъемного вала лебедки должно осуществляться при помощи специальных
болтов. Применение других болтов не допускается.
разрешение на эксплуатацию
вала барабана лебедки после проверки всех параметров возлагается на механика
участка и заместителя начальника БПО.
Для облегчения работы
бурильщика, а также увеличения срока службы (особенно тормозных колодок и
шкивов) лебедки комплектуются вспомогательным гидравлическим тормозом, который
требуется подключать в работу в соответствии с инструкцией по монтажу и
эксплуатации лебедки. Необходимо следить, чтобы гидротормоз в процессе работы
был заполнен жидкостью до необходимого уровня. В противном случае уменьшается
эффективность его действия и затрудняется процесс притормаживания. Количество
воды нужно регулировать при помощи контрольных кранов.
Заключение
буровой лебедка
тормоз ленточный
Тормозные системы буровых лебедок предназначены для создания усилия в
ведущей струне, обеспечивающего надежное удерживание в статическом состоянии
колонны максимального веса, на который рассчитаны установки; поглощения
мощности при спуске колонны на длину одной свечи с наибольшей допустимой
скоростью, контролируемой торможением, и остановки в конце спуска; плавной подачи
бурильной колонны по мере углубления скважины при бурении за счет регулирования
тормозного момента.
Конструкции ленточных тормозов должны отвечать своим основным параметрам
в зависимости от требуемого тормозного момента выбирают ее типоразмер. В настоящее
время ведутся разработки их конструкций с целью совершенствования, упрощения
конструкции и повышения долговечности.
Техническое обслуживание, ремонт и монтаж должны быть экономными,
выполняться в короткие сроки. При преждевременном выходе ленточного тормоза из
строя прекращаются все бурильные работы. Поэтому выбор типа ленточного тормоза
является делом исключительно ответственным.
Библиографический список
1. Ильский А.Л. Буровые машины и механизмы: Учебник для
техникумов. 2е изд., перераб. и доп.М.: Недра, 1980. 391 с.
. Баграмов Р.А. Буровые машины и комплексы: Учебник
для вузов. М.: Недра, 1988. 501 с: ил.
. Аванесов В.А., Смолина А.К., Москалева Е.М. Расчеты
буровых машин и комплексов с применением ЭВМ: Учебное пособие. Ухта: Ухтинский
индустриальный институт, 1989. 134 с.
. А.с. 1087651 СССР, МКИ3 Е 21 В 21/06.
Ленточный тормоз / Скворцов Д.С., Уманчик Н.П. (СССР). N 3306561/2203; Заявлено 22.06.1981; Опубл. 23.04.1984; Бюл. №
15
. А.с. 981572 СССР, МКИ3 Е 21/06. Ленточный
тормоз / Сурков В.Т., Харив И.Ю. (СССР). N 2978319/2203; Заявлено 08.07.1980; Опубл. 15.12.1982; Бюл. №
46
. А.с. 949277 СССР, МКИ3 F16К3/06. Ленточный тормоз / Е.А. Кузьмин, П.Н. Смирнов.
(СССР).№2566019/2508; Заявлено 04.01.78; Опубл. 21.06.85; Бюл. №42.