|
КТ902А
|
2Т951В
|
КТ903А
|
2Т951Б
|
|
Кр1
|
9
|
25
|
3
|
10
|
|
f1,МГц
|
10
|
80
|
50
|
30
|
|
Eк1,В
|
28
|
28
|
30
|
28
|
|
P1,Вт
|
23
|
3
|
12
|
21
|
|
f,
МГц
|
27
|
27
|
27
|
27
|
|
P,Вт
|
0,585
|
0,585
|
0,585
|
0,585
|
|
Eк,В
|
11,76
|
11,76
|
11,76
|
11,76
|
|
Кр
|
8,56
|
124
|
32,43
|
78,18
|
Из вышерассмотренных транзисторов наиболее
подходящими являются транзистор 2Т951В, обладающий высоким коэффициентом
усиления при небольшой выходной мощности, и транзистор КТ903А, который при
пониженной выходной мощности позволяет получить достаточно большое усиление.
Как показывает анализ справочных данных [4], у транзистора 2Т951В большое
значение сопротивления насыщения rнасВЧ=10Ом. При невысоком напряжении
коллекторного питания на этом транзисторе затруднительно будет получить
критический режим с высокими энергетическими показателями. Поэтому для
предоконечного каскада выбираем транзистор КТ903А. Рассчитанное ориентировочное
значение его коэффициента усиления по мощности
отвечает условию устойчивой работы
(Кр<40…50).
На вход предоконечного каскада необходимо подать
мощность:
Такую мощность можно получить с
резонансного усилителя, включенного после второго балансного модулятора. Этот
усилитель сделаем переключаемым по частоте в соответствии с частотами каналов.
На второй балансный модулятор подается
сигнал с кварцевого автогенератора (КАГ), частота которого переключается в
соответствии с рабочими частотами каналов (на 500 кГц меньше них). Зададимся
выходной мощностью КАГ Р = 0,5 мВт.
Рис. 1
Для кварцевого автогенератора на частоту
поднесущей500 кГц выберем транзистор ГТ311.
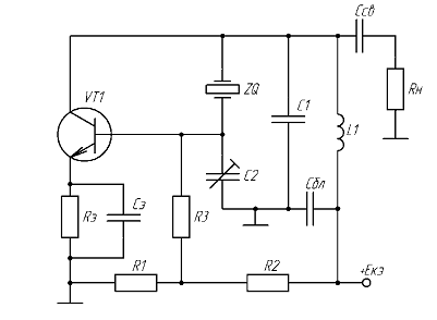
Предварительный вариант структурной схемы
передатчика представлен на рисунке 1. Окончательно структурная схема будет
составлена после электрического расчета всех каскадов.
4. Расчет выходного усилителя
Расчет производится с использованием параметров
транзистора 2Т921А, взятых из справочников [3,4].
Параметры идеализированных статических
характеристик:
нас, (rнас ВЧ), (Ом) -1,2 (3,4);У.Э.(кОм) >
0,2;
Э0 - 10…80, (принимаем среднее значение
h21Э0=40).
Высокочастотные параметры:Т, (МГц) - 90…300
(принимаем fТ=200 МГц);
СК,(пФ),(при ЕК,В) - 40…50, (20) (принимаем
СК=45пФ);
СЭ,(пФ), (при ЕЭ,В) - 300…450, (3) (принимаем
СЭ=375пФ);
tК, (пс), (при ЕК, В) - <22,(10);Э ≈
0;Э, (нГн) - 3;Б, (нГн) - 3,5;К, (нГн) - 3,5;
Допустимые параметры:КЭ.ДОП, (UКЭ.ИМП), (В) -
65, (80);БЭ.ДОП, (В) - 4;К0.ДОП, (IК.MAX.ДОП), (А) - 3,5, (4,7);Б0.ДОП,
(IБ.MAX.ДОП), (А) - 1;
диапазон рабочих частот (длин волн) - КВ ÷
УКВ;
Тепловые:П.ДОП, (0С) - 150;ПК, (0С/Вт) - 6.
При усилении однополосных колебаний необходимо
обеспечить главное требование - линейную модуляционную характеристику, то есть
линейную зависимость амплитуды первой гармоники коллекторного тока Iк1 от
амплитуды тока базы Iб. С этой целью выбираем режим работы транзистора
недонапряженный (близкий к критическому в пиковом режиме) и угол отсечки
коллекторного тока q=90°.
Электрический расчет режима работы транзистора
состоит из двух этапов - расчета коллекторной цепи и расчета входной цепи.
4.1 Расчет коллекторной цепи
транзистора
Произведем расчет коллекторной цепи транзистора
в максимальном (пиковом) режиме согласно методике [4,5].
Определим амплитуду первой гармоники напряжения
на коллекторе в критическом режиме Uк1 кр.:
,
где: Ек =11,76 В - постоянное
напряжение на коллекторе транзистора с учетом потерь на элементах фильтра -
заданная величина;нас = 1,2 Ом - сопротивление насыщения коллекторной цепи
транзистора;
Р1ном = Р1max =6,313 Вт- номинальная
выходная мощность в пиковом режиме, полученная из расчета структурной схемы;
a1(q) =0,5 - коэффициент
разложения косинусоидального импульса с углом отсечки q=90°;
Для линейности модуляционной
характеристикижелательно чтобы режим работы транзистора в пиковом режиме был
недонапряженный(с некоторым запасом):
к1 max.£(0,85…0,95)Uк1 кр.
Примем Uк1 max.=7,5 В.
С учетом этого определим значения остальных
характеристик транзисторного усилителя в максимальном режиме.
Максимальное напряжение на коллекторе (с учетом
запаса) определим по формуле:
к maxmax =Ек+(1,2…1,3)Uк1 max£Uк
доп,
где Uк.доп =65 В - максимально допустимое
значение постоянного напряжения на коллекторном переходе.
к maxmax =11,76 + 1,2· 7,5=20,76 В.
Как показывает расчет, максимальное значение
напряжения на коллекторном переходе значительно меньше допустимого значения,
что говорит о возможности использования данного транзистора в качестве
активного элемента выходного усилителя.
Определим амплитуду первой гармоники
коллекторного токапо формуле:
к1 max =2Р1 ном / Uк1 max,к1 max =2·6,313 / 7,5=
1,683 А.
Определим постоянную составляющую коллекторного
токапри угле отсечки коллекторного тока q<180° по формуле:
к0 max = Iк1 max·a0(q)
/a1(q)
£Iк0доп,
где:a0(q)
=0,319 - коэффициент разложения косинусоидального импульса с углом отсечки q=
90°;к0доп = 3,5 А - максимально допустимый постоянный ток коллектора.
к0 max = 1,683·0,319/0,5= 1,074 А.
Определим максимальный ток коллектора по
формуле:
к maxmax = Iк0 max /a0(q)
£Iк
доп,
где: Iк доп =4,7 А - максимально допустимый ток
коллектора (в импульсе).
к maxmax = 1,074/0,319=3,367 А.
Как следует из расчетных данных, полученные
значение постоянного и импульсного токов коллектора меньше допустимых значений,
что говорит о возможности использования данного транзистора в качестве
активного элемента выходного усилителя.
Определим максимальную мощность, потребляемую от
источника коллекторного питания по формуле:
Р0 max= Р0 ном=ЕкIк0 max,
Р0 max= Р0 ном=11,76 · 1,074=12,631 Вт.
Определим коэффициент полезного действия
коллекторной цепи при номинальной нагрузке:
hmax = Р1 ном / Р0 ном,
h max = 6,313/ 12,631=0,5.
Определим мощность, рассеиваемую на коллекторе
транзистора:
Ркmax = Р0 ном - Р1 ном,
Ркmax = 12,631 - 6,313=6,318 Вт.
Определим номинальное эквивалентное
сопротивление коллекторной нагрузки:
эк ном=U2к1 max/2Р1 max,эк
ном=7.52/2·6,313=4,455 Ом.
При найденном значении Rэк ном=4,455 Ом уточним
характеристики выходного усилителя.
Рассчитаем амплитуду первой гармоники напряжения
на коллекторе транзистора по формуле:
.
Как следует из расчета, значение
амплитуды коллекторного напряжения в максимальном режиме совпадает с
амплитудой, полученной ранее. На основании этого уточнение других рассчитанных
характеристик не требуется.
Рассчитаем [5] среднее значения
мощностей и КПД выходного усилителя в предпосылке, что в процессе усиления
однополосных колебаний сохраняется постоянный угол отсечки коллекторного тока q=90° и обеспечивается
линейная модуляционная характеристика Iк0(Uвх) и Iк1(Uвх) на всем интервале
изменения амплитуды входного сигнала Uвх (от нуля до максимального значения):
где:
и
- средние значения, соответственно,
относительной амплитуды
группового
входного сигнала и квадрата амплитуды группового сигнала. Значение
и
зависят от
вида усиливаемого группового сигнала. При усилении сигналов аналоговой
телефонии и одноканальной работе (один телефонный канал в групповом тракте)
статические значения этих параметров равны [5]:
;
.
Производим расчет:
;
;
;
.
4.2 Расчет входной цепи транзистора
Используемая [4,5] методика
справедлива для схемы включения транзистора с общим эмиттером на частотах до
(0,5…0,8)fт. Выбранный ранее транзистор 2Т921А обладает граничной частотой
fТ=200 МГц и применяется на частоте, близкой к 27 МГц. Эта частота лежит в
указанных пределах.
. Чтобы исключить перекос импульсов
коллекторного тока, установим шунтирующий резистор Rд между базой и эмиттером
транзистора по радиочастоте. Определим значение сопротивления резистора Rд по
формуле:
,
где: h21Э0 = 40 - статический
коэффициент передачи тока базы в схеме с общим эмиттером;Т = 200 МГц - частота
единичного усиления транзистора по току в схеме с общим эмиттером;
СЭ = 375 пФ - барьерная емкость
эмиттерного перехода при ЕЭ=3В;У.Э. = 0,3кОм - эквивалентное сопротивление
утечки эмиттерного перехода.
2. Определим амплитуду тока базыдля крайних
частот рабочего диапазона:
,
где
1+2
g1(q) = 0,5 - коэффициент
разложения косинусоидального импульса при q=90,
Rэк = 4,455 Ом - эквивалентное сопротивление коллекторной нагрузки.
Для нижней частоты f=27,15 МГц:
.
Для верхней частоты f=27,27 МГц:
.
Как следует из расчета, величину
амплитуды тока базы можно считать во всем диапазоне рабочих частот постоянной и
равной Iб=0,523А.
. Определим максимальное значение
обратного напряжения на эмиттерном переходе:
,
где Uбэ.доп = 4 В - предельно
допустимое обратное напряжение на эмиттерном переходе; Еотс - напряжение
отсечки транзистора в соответствии с идеализированными статическими
характеристиками (для кремниевых n-p-n транзисторов Еотс≈0,7В).
.
Как следует из расчета, величина
обратного напряжения на эмиттерном переходе превышает допустимое значение,
следовательно необходимо уменьшить величину шунтирующего сопротивления Rд.
Снизим величину сопротивления Rд до
47 Ом,
.
Величина обратного напряжения на эмиттерном
переходе не превышает допустимое значение, следовательно, примем Rд = 47 Ом.
. Определим постоянные составляющие базового и
эмиттерного тока по следующим общеизвестным формулам:
б0=Iк0/h21Э0;э0=Iк0+ Iб0б0 = 1,074/40 = 0,027
А;э0 = 1,074+0,027 = 1,101 А.
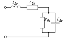
. Определим значения параметров эквивалентной
схемы входной цепи транзистора (Lвх.оэ, rвх.оэ, Rвх.оэ, Свх.оэ), включенного по
схеме с общим эмиттером (рисунок 3):
Рисунок 2 - Эквивалентная схема входной цепи
транзистора, включенного с общим эмиттером
вх.оэ = Lб + Lэ/c,б = 3,5нГн,
Lэ = 3 нГн - индуктивности выводов эмиттера и базы;
,
,
.
б - сопротивление в базовой цепи в эквивалентной схеме транзистора,
, где
-
постоянная времени коллекторного прехода; Ска = (0,2…0,3)Ск ≈ 10пФ;
Ск = 45пФ - барьерная емкость
коллекторного перехода при Ек=20В;
;
э≈0 - сопротивление в цепи
эмиттера в эквивалентной схеме данного транзистора равно нулю.
вх.оэ = 3,5·10-9+3·10-9/1,086 =
6,164нГн;
,
.
. Определим резистивную и реактивную
составляющие входного сопротивления транзистора (Zвх= Rвх+jХвх):
;
.
;
.
В результате расчета входного
сопротивления получено отрицательное значение его реактивной составляющей, что
свидетельствует о емкостном характере этого сопротивления.
. Определим мощность, подводимую к
транзистору:
Рвх= 0,5Iб2Rвх,
Рвх= 0,5·0,5262·4,391 = 0,6 Вт.
. Определим коэффициент усиления
транзистора по мощности:
Кр= Р1ном/Рвх,
Кр= 6,313/0,6 = 10,513.
Коэффициент усиления выходного
каскада по мощности в результате электрического расчета оказался меньше
значения, определенного при составлении структурной схемы. Следовательно
необходимо внести коррективы в эту структурную схему, увеличив мощность,
снимаемую с предоконечного усилителя, с 0,514 Вт до 0,799 Вт.
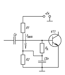
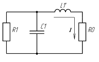
. Построим схему смещения на базу
транзистора выходного усилителя.
На практике наибольшее
распространение получили схемы, в которых внешнее смещение на базу
обеспечивается от источника коллекторного питания. Выберем схему,
представленную на рисунке 2, которая может обеспечивать, в отличие от других,
постоянное значение угла отсечки q=90°,
что требуется при усилении ОМ колебаний. Это достигается за счет
комбинированного смещения: внешнего от источника коллекторного питания и
автоматического - за счет протекания постоянной составляющей тока базы по
сопротивлению Rд и сопротивлению R2 базового делителя. В данной схеме при
R1>>R2сопротивление автосмещения Rавт= Rд+ R2.
Рисунок 3 - Схема питания базовой
цепи транзистора
Определим значение сопротивления
резистора R2 по формуле:
,
где
- коэффициент разложения
косинусоидального импульса при q
= 90 [4];
.
. Определим значение сопротивления
резистора R1базового делителя:
,
где Еотс- напряжение отсечки. Для
кремниевых n-p-n транзисторов Еотс ≈ 0,7В.
.
Выберем по справочнику [6] из ряда
Е24стандартных номиналов резисторов следующие значения сопротивлений R1, R2 и
Rд:
=62 Ом;R2=3,9 Ом;Rд=47 Ом.
. Определим величину емкости
блокировочногоконденсатора в цепи питания на рисунке 2.Автосмещение должно быть
безынерционным, чтобы следить за изменением огибающей ОМ сигнала. Поэтому
накладывается ограничение сверху на емкость Сбл:
,
где Fв = 2700 Гц - верхняя частота звукового
сигнала.
.
Выберем[6] номинал из ряда Е6Сбл=1,5
мкФ. Конденсатор возьмем керамический типа К10-17.
В дальнейшем при выборе номиналов
сопротивлений резисторов, емкостей конденсаторов, и их типов будем также
использовать справочник [6] без ссылки на него.
5. Расчет выходной колебательной
системы
Определим необходимое затухание фильтра:
афn≥ -адоп+агn+ асу,
где: адоп - допустимый уровень высших гармоник в
нагрузке передатчика;
агn - относительный уровень высших гармоник тока
на выходе генератора (транзистора выходного каскада); в однотактном генераторе
;
асу - дополнительное затухание,
вносимое согласующим устройством с антенной;- номер высшей гармоники, ближайшей
у первой, которую следует подавить; в однотактных каскадах n=2.
Согласно техническим требованиям
адоп= -40дБ. Принимаем асу= -5 дБ.
;
θ=90°; α2(90°) = 0,212; α1(90°) = 0,5
,
аф2 ≥ 40дБ - 7,543дБ - 5дБ =
27,547дБ.
Определим оптимальное число
реактивных элементов (порядок фильтра) по формуле:
опт=(0,05…0,1)
аф2;опт=(0,05…0,1)·29=2…3,
Таким образом, согласующая цепь
будет иметь вид П-цепочки, представленный на рисунке 4.
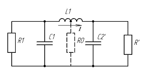
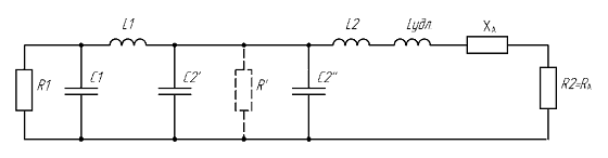
Рисунок 4 - Вид выходного фильтра
На рисунке обозначено:=Rэк ном =
4,455 Ом - номинальное сопротивление нагрузки коллекторной цепи транзистора
выходного усилителя;=17,835 Ом - активная составляющая сопротивления антенны;
Поскольку рабочий диапазон частот
передатчика очень узкий, выходной фильтр рассчитаем как П-образную цепь связи,
работающую на фиксированной частоте, равной средней частоте диапазона
передатчика f = 27,21 МГц.
Модули реактивных сопротивлений
емкостей и реактивные сопротивления индуктивностей, представленных на рисунке
4, определим по формулам [4]:
;
;
,
где R0 - вспомогательное
сопротивление для расчета (R0<R1,R2).
Примем R0 = 4 Ом.
;
;
.
Определим значения емкостей и
индуктивности элементов схемы на рисунке 4:
;
.
;
;
.
Дополним схему фильтра на рисунке 4
антенно-согласующим устройством в виде Г-образной цепочки L2-C2'' с «удлиняющей»
катушкой индуктивности Lудл для компенсации емкостной реактивности антенны
(рисунок 5).
Рисунок 5 - Выходной фильтр с
дополнительной Г-образной цепочкой и «удлиняющей» индуктивностью
Для Г-образной цепочки L2-C2''
должно выполняться условие R'>R2. Реактивные элементы в ней рассчитываются
по формулам
;
.
Индуктивность Lудл определим из
условия
.
Выберем R'=20 Ом. Произведем расчет
Г-цепи, Lудл., а так же вновь расчет П-цепи, заменив в расчетных формулах для
П-цепи R2→R'.
;
;
;
;
;
;
.
Заменим L2 и Lудл. общей катушкой
индуктивности:
су = L2 + Lудл. = 59,67нГн.
При новом расчете элементов П-цепи
необходимо выбрать R0<R1,R'. Выберем R0= 1 Ом.
;
;
;
;
;
;
;
;
;
Катушку с такой индуктивностью можно
реализовать на практике.
Конденсаторы С2' и С2'' объединим в
общий с емкостью
С2 = С2' + С2'' = 1,275нФ + 0,1019нФ
= 1,377нФ.
Схема ВКС окончательно принимает
вид, показанный на рисунке 6.
Рисунок 6 - Схема ВКС передатчика
Определим параметры антенны на частоте второй
гармоники (27,21·2=54,42 МГц):
λ=300/54,42=5,513 м;lА=2,762
м,
,
.
где:
(1/м),
Для
тонких вибраторов
,
,
где
-
постоянная Эйлера.
Расчет остальных параметров произведем в
программе Mathcad 15. Получим:
.
Определим допустимую величину тока второй
гармоники в антенне по формуле [4]:
;
где РА2доп =РА аф доп - допустимый
уровень мощности излучения второй гармоники;
Допустимый уровень побочного
излучения составляет -40дБ или афдоп=10-4.
РА2доп =5·10-4 Вт;
.
Необходимый коэффициент фильтрации
по току определим по формуле:
,
где Iвх2 = Iк мах α2;
α2=0,212 - коэффициент
Берга для угла отсечки 90 градусов;к мах =3,367 - максимальный ток коллектора
(высота импульса коллекторного тока).
вх2 = 3,367·0,212=0,714 А;
Определим действительный коэффициент
фильтрации выбранной схемы ВКС (рисунок 6), воспользовавшись методикой [4]. Для
удобства приведем схему из [4], на основе которой производится расчет (рисунок
7)
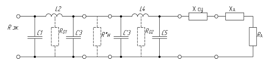
Рисунок 7 - Двухзвенная схема ВКС с согласующим
устройством
Применительно к рассматриваемой схеме ВКС
(рисунок 6) в схеме на рисунке 7 следует принять:
=L1; C3=C2; L4=0; C5=0.
(
;
)
С учетом этого расчетное выражение
для коэффициента фильтрации принимает вид:
где
; n - номер гармоники, который
следует подавить. В нашем случае n = 2.
,
;
RА2 =
Ом;
;
;
;
Расчет производился в программе
Mathcad. Приведем результат расчета:
.
В результате расчета получен коэффициент
фильтрации, значительно превосходящий требуемый (
). Таким образом построенная схема
ВКС удовлетворяет необходимым требованиям по степени подавления побочного
излучения.
Проведем расчет КПД ВКС по формулам
[4], приняв добротность всех катушек индуктивности QL=100 (значение, технически
реализуемое на рабочих частотах передатчика). Воспользуемся схемой ВКС на
рисунке 5:
КПД первого (П-образного) звена:
.
КПД второго (Г-образного) звена с
учетом Lудл:
.
Общий КПД всей выходной
колебательной системы:
;
;
.
Из полученного результата следует,
что КПД всей выходной колебательной системы получен в требуемых пределах и
схему, представленную на рисунке 6 можно применить в проектируемом передатчике.
Данная схема дает большой запас по фильтрации высших гармоник и обладает
значением КПД, не меньше требуемого.
В проектируемом передатчике применим
катушки индуктивности с рассчитанными значениями индуктивностей и конденсаторы
постоянной емкости со стандартными номиналами. При выборе номинала конденсатора
С1 учтем выходную емкость транзистора (Ск=45пФ). Выберем конденсаторы типа
К10-17, с величинами емкостей:
С1=2400пФ;
С2=1500пФ.
6. Расчет предварительного усилителя
Предоконечный усилитель должен
обеспечить необходимую мощность для возбуждения выходного каскада. Так же, как
и к выходному усилителю, к предоконечному предъявляется требование линейности,
поскольку необходимо усиливать однополосные колебания. С этой целью выбираем
режим транзистора предоконечного усилителя недонапряженным. Поскольку мощность,
отдаваемая этим транзистором, является (с учетом внесенных в структурную
схемукорретив) достаточно большой (0,799Вт), с целью получения высоких
энергетических показателей усилителя выбираем режим, близкий к критическому, и
угол отсечки коллекторного тока θ=90°.
Расчет предоконечного усилителя
производим по той же методике [4], что и выходного усилителя с использованием
параметров эквивалентной схемы транзистора.
При составлении структурной схемы
для этого усилителя был выбран транзистор КТ903А. Параметры этого транзистора,
взятые из справочника [4]:
Параметры идеализированных
статических характеристик:насВЧ, (Ом) - 2,5…5,0 (принимаем среднее значение
rнасВЧ=3,7Ом);У.Э. (кОм) > 0,08 (принимаем RУ.Э.=0,8кОм);Э0 - 15…70,
(принимаем среднее значение h21Э0=42).
Высокочастотные параметры:Т, (МГц)
> 120 (принимаем fТ=120 МГц);
СК,(пФ),(при ЕК,В) - 50…180,(30)
(принимаем СК=120пФ);
СЭ,(пФ), - 400;Э ≈ 0;Б, (Ом)-
2;Э, (нГн) - 5;Б, (нГн) - 5;К, (нГн) - 5;
Допустимые параметры:КЭ.ДОП, (В) -
60;БЭ.ДОП, (В) - 4;К0.ДОП,(А) - 3;
диапазон рабочих частот (волн) - КВ;
Тепловые:П.ДОП, (0С) - 150;ПК,
(0С/Вт) - 3,33.
Расчет режима предоконечного каскада
производится по тем же формулам, что и выходного усилителя. В связи с этим
приводятся только результаты расчета.
6.1 Результаты расчета коллекторной
цепи транзистора
Исходные данные для расчета:
Р1ном = Р1max = 0,799Вт -
номинальная выходная мощность в пиковом режиме;
Ек = 11,76В - постоянное напряжение
на коллекторе транзистора с учетом потерь на элементах фильтра (принимаем такое
же значение, как и для выходного усилителя).
Таблица 3 - Значение токов и
напряжений в коллекторной цепи
|
Uк1кр,
В
|
Uк1
max, В
|
Uк
maxmax, В
|
Iк1
max, А
|
Iк0
max, А
|
Iк
maxmax, А
|
|
10,65
|
10
|
23,76
|
0,16
|
0,102
|
0,32
|
к maxmax = 23,76В £
60В;к0 max = 0,102А £3А;к maxmax = 0,32А £3А.
Номинальное эквивалентное сопротивление
коллекторной нагрузки:эк ном = 62,578 Ом.
Таблица 4 - Энергетические показатели в
максимальном (пиковом) режиме
|
Р1
max, Вт
|
Р0
max, Вт
|
hmax
|
Ркmax,
Вт
|
|
0,799
|
1,199
|
0,666
|
0,4
|
Таблица 5 - Средние значения энергетических
показателей
|
  , Вт ,
Вт ,
Вт
|
|
|
|
|
|
|
0,224
|
0,100
|
0,08
|
0,269
|
0,189
|
0,298
|
6.2 Результаты расчета входной цепи
транзистора
. Амплитуда тока базы:б=0,279А,
(значение для верхней и нижней частот диапазона
совпадают).
. Дополнительное сопротивление в цепи базы:
. Результаты проверки максимального
значения обратного напряжения на эмиттерном переходе:
.
Для выбранного транзистора
. Полученное
значение
превышает
допустимое в 1,05 раза. Однако современные генераторные транзисторы допускают
кратковременное превышение в 1,2…1,5 раза [4]. Поэтому можно считать, что
выбранный транзистор по проверяемому параметру применим в качестве
усилительного элемента предоконечного каскада.
4. Для обеспечения постоянства угла отсечки
коллекторного тока θ=90° схему
цепи смещения на базу транзистора применим такую же, как и в выходном усилителе
(рисунок 2). В результате расчета по формулам раздела 5.2 получаем следующие
параметры элементов этой схемы:
,
,
,
.
Выбираем стандартные номиналы:
,
,
,
.
Параметры эквивалентной схемы
входной цепи транзистора и коэффициент усиления его по мощности не
рассчитываем, т.к. входную цепь согласования предоконечного каскада
проектировать не требуется, а коэффициент усиления его получается заведомо
высоким.
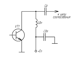
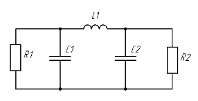
7. Расчет межкаскадной цепи
согласования
Межкаскадная цепь согласования
должна обеспечить трансформацию комплексного входного сопротивления транзистора
оконечного усилителя
вхок=Rвхок+jХвхокв
номинальное эквивалентное
сопротивление Rэк номпредоконечного каскада.
Из расчета входной цепи оконечного
(выходного) усилителя было получено:
вхок= 4,391Ом; Хвхок= -2,806Ом.
В диапазоне рабочих частот
передатчика эти значения практически не изменяются.
Из расчета коллекторной цепи
предоконечного усилителя:эк ном = 62,578 Ом.
ПосколькуRэк ном>Rвхокв качестве
межкаскадной цепи согласования применим [4] узкодиапазонную Г-образную LC-цепь
с дополнительной катушкой индуктивности для компенсации емкостной составляющей
Хвхок (рисунок 8).
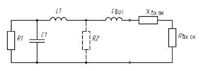
Рисунок 8 - Межкаскадная цепь
согласования
На рисунке 8 обозначено:=Rэк ном; R2=Rвхок.
Условие применения этой Г-образной схемы
(R1>R2) выполняется. Величина индуктивности Lдоп определяется из условия:
.
. Определим реактивные сопротивления
емкости и индуктивности, представленные на рисунке 8 по формулам:
;
.
;
.
. Определим значения емкости и
индуктивностей элементов схемы на рисунке 8:
;
;
;
;
.
Объединяем индуктивности L1 и Lдоп в
общую:
=L1 + Lдоп= 93,49 + 16,41 =
109,9нГн.
. Проведем расчет КПД цепи
согласования по формулам [ ], приняв добротность катушек индуктивности QL=100
(значение, технически реализуемое на рабочих частотах передатчика):
КПД Г-образного звена с учетом Lдоп:
.
;
Из полученного результата следует,
что КПД межкаскадной согласующей цепи получен высоким, все элементы
конструктивно выполнимы и схему, представленную на рисунке 8 можно применить в
проектируемом передатчике.
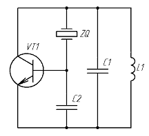
8. Расчет кварцевого автогенератора
Произведем расчет переключаемого
кварцевого автогенератора (переключаемый КАГв структурной схеме передатчика,
рисунок 1). Этот расчет производим для частоты 27,71 МГц, соответствующей
седьмому частотному каналу. Мощность автогенератора, отдаваемую в нагрузку
возьмем Рн = 0,5мВт. Методика расчета взята из [4,6].
Рабочая частота КАГ достаточно
высока. Поэтому кварцевый резонатор (КР) должен работать на механической
гармонике. Осцилляторная схема гармоникого КАГ с резонатором, включенным между
коллектором и базой транзистора, приведена на рисунке 9. На рисунке 10 показана
эквивалентная схема КАГ по высокой частоте, а на рисунке 11 - эквивалентная
схема кварцевого резонатора (а) и зависимость реактивного сопротивления резонатора
от частоты (б).
В осцилляторной схеме генерируемая
частота расположена в промежутке между частотами последовательного (fq) и
параллельного (f0) резонансов, где КР имеет сопротивление индуктивного
характера (см. рисунок 11,б). Параметры контура L1C1 (рисунок 10) выбираются
так, чтобы на частоте механической гармоники он имел сопротивление емкостного
характера, а на частоте основной гармоники - индуктивного. В этом случае
самовозбуждение КАГ на этой гармонике станет невозможным.
Рисунок 9 - Схема гармоникового кварцевого
автогенератора на биполярном транзисторе с КР, включенным между коллектором и
базой транзистора
Рисунок 10 - Эквивалентная схема КАГ
а б
Рисунок 11 - Эквивалентная схема кварцевого
резонатора (а) (для области частот, близкой к резонансной частоте) и
зависимость его сопротивления от частоты (б)
Выберем герметизированный кварцевый резонатор на
рабочую частоту (на третью гармонику) 26,71 МГц. Параметры эквивалентной схемы
такого резонатора, определенные по таблице [4]:= 200Ом;
С0= 10пФ;=0,15 Гн;
РКРдоп=2 мВт.
Определим добротность кварцевого резонатора по
формуле:
на рабочей частоте автогенератора
f=26,71·106 Гц.
.
Определим постоянную времени
кварцевого резонатора:
,
.
Зададимся коэффициентом запаса по
мощности для кварцевого резонатора а = 0,45.
Определим мощность, рассеиваемую на
кварцевом резонаторе:
,
.
Из расчета следует, что рассеиваемая
мощность на кварцевом резонаторе не превышает предельно допустимую величину.
Для КАГ выберем германиевый
маломощный высокочастотный транзистор ГТ311. Его параметры [3]:=65 МГц -
граничная частота усиления транзистора по схеме с общим эмиттером;к доп= 50 мА
- максимально допустимый ток коллектора;
Ркдоп=150мВт - максимально
допустимая рассеиваемая мощность на коллекторе транзистора;кэ.доп =15В -
максимально допустимое значениеколлекторного напряжения;
Еотс=0,3 В - напряжение отсечки;
С учетом падения постоянного
напряжения на элементах цепи питания зададимсяЕкэ=6 В. Амплитуду импульсов
коллекторного тока примем меньше максимально допустимого коллекторного тока в
пять раз:Iкm=10мА.
Угол отсечки примем θ=60°. При этом
коэффициент разложения остроконечного импульса будет равен: γ1(θ)=0,196.
По
статическим характеристикам определим крутизну идеализированной проходной
характеристики транзистора для выбранных рабочего тока и напряжения:S=142
мА/В.Для заданного угла отсечки рассчитываем крутизну проходной характеристики,
усредненную за период высокой частоты:
S1=S γ1(θ),
S1=142·10-3·0,196=27,8·10-3 А/В.
Определим нормированную частоту
колебаний автогенератора:
Ωs=f/fs,
Ωs=26,71/65=0,411.
Вычислим вспомогательный коэффициент:
,
и емкость, которой эквивалентен
контур L1C1:
,
,
Вычислим значение емкости
конденсатора С2:
,
.
Примем стандартное значение емкости
С2=75пФ.
Определим реактивные сопротивления элементов С1Э
и С2:
,
,
,
.
Определим величины элементовL1 и С1
из условия:
1+(2πf)2L1С1 <n2(n
- 2)2,
где n - номер нечетной гармоники, на
которой возбуждается КР. Выберем n=3.
Согласно рекомендации [4], примем (2πf)2L1С1=2, и
найдем значение С1:
,
.
Примем стандартное значение емкости
С1=27пФ.
Определим значение индуктивности L1:
,
.
Определим относительную разницу
между полученной и требуемой частотами по формуле:
,
Для точной настройки генератора
необходимо сделать один из конденсаторов подстроечным (С1 или С2) с изменением
емкости примерно на 30%. Возьмем подстроечным конденсатор С2. Пределы
регулирования его емкости должны включать в себя 25,96 пФ, поэтому выберем
стандартный конденсатор переменной емкости 4…36 пФ.
Определим постоянную составляющую
тока коллектора:
к0=α0(θ)Iкm,
где α0(θ)=0,218 - коэффициент
разложения остроконечного импульса для угла отсечки θ = 60°,
к0=0,218·10·10-3= 2,18 мА.
Определим амплитуду первой гармоники
коллекторного тока:
к1=α1(θ)Iкm,
где α1(θ)=0,391 -
коэффициент
разложения остроконечного импульса для θ = 60°,
Iк1=0,391· 10·10-3= 3,91 мА.
Определим амплитуду напряжения на базе
транзистора:
Определим амплитуду напряжения на коллекторе:
,
,
,
.
Определим мощность, потребляемую
коллекторной цепью от источника питания:
Р0=Iк0Екэ,
Р0 = 2,18·10-3 · 6 = 13,1мВт,
Определим мощность, выделяемую на коллекторе
транзистора:
Рк=Р0 - Рн,
Рк=13 - 0,5=12,6 мВт.
Из расчета следует, что рассеиваемая мощность на
коллекторе транзистора намного меньше максимально допустимой (150 мВт).
Определим постоянную составляющую тока базы:
,
где h21э0=30 - среднее значение
коэффициента передачи тока базы транзистора ГТ311 [4],
.
Определим значение напряжения
смещения на базе:
,
В.
Произведем расчет цепей питания и
смещения автогенератора:
Определим значение сопротивления
резистора R3 из условия R3>>|X2|. Принимаем:=(10…20)Х2,
Возьмем стандартный номиналR3 = 1,2
кОм.
Согласно рекомендациям [7]
постоянная времени цепи эмиттерного автосмещения(постоянная времени выхода на
режим) выбирается из условия τэ = 1…10мс, а сопротивление Rэ - в
пределах от 100 до 500Ом.
Примем: τэ = 5мс; Rэ
= 300Ом.
,
Примем стандартное значение емкости
Сэ =160пФ.
Определим значения сопротивлений
базового делителя. Вычислим напряжение в точке соединения R1, R2 и R3:
Ед =Еб0+(Iк0+Iб0)Rэ+Iб0R3,
Ед =0,223
+(2,18·10-3+72,67·10-6)·300+72,67·10-6·1200=0,984В.
Ток через делитель должен
значительно превышать ток базы. Примем Iд=5Iб0=363,3·10-6А.
Рассчитаем значения сопротивлений
резисторов R1 и R2:
;
;
,
,
Примем стандартные значения
элементов R1=3,3кОм, R2=13,3кОм; резисторы выберем типа С2-23 мощностью 0,125
Вт.
Величину блокировочной емкости в
цепи источника питания выберем намного больше самого большого значения емкости
в данной емкостной трехточке и примем Сбл=1800пФ.
9. Расчет цепей питания
высокочастотных каскадов передатчика
9.1 Расчет элементов цепей питания
каскадов усилителя мощности
В транзисторных каскадах
передатчиков применяются, как правило, параллельные цепи питания. Схема цепи
питания каскадов усилителя мощности представлена на рисунке 12.
Рисунок 12 - Схема цепи питания
каскадов усилителя мощности
Расчет разделительных и
блокировочных элементов в цепях питания будем производить, исходя из требования
слабого их влияния на ВЧ цепи и соотношений, приведенных в учебнике [2].
Величину емкости разделительного
конденсатора Сропределим из условия:
(реально в 10…20 раз),
где Rэк ном - номинальная
коллекторная нагрузка (результат расчета для каждого каскада); f - рабочая
частота.
Для расчета Срполучаем следующую формулу:
.
Расчет величины блокировочной
индуктивности Lбл будем производить из условия:
(реально в 50…100 раз).
Для расчета Lбл получаем следующую
формулу:
.
Для расчета величины емкости
блокировочного конденсатора Сбл воспользуемся соотношением:
(реально в 50…100 раз).
Из этого неравенства находим Сбл:
.
Расчет разделительных и
блокировочных элементов выходного усилителя и предоконечного каскада производим
для средней частоты рабочего диапазона f = 27,21МГц.
Результаты расчета разделительных и
блокировочных элементов для выходного усилителя:
;
;
С учетом запаса примем стандартные
значения емкостей Ср=33нФ, Сбл=2,2нФ и величину блокировочной индуктивности
Lбл=3мкГн.Выберем конденсаторы типа К10-17.
Результаты расчета разделительных и
блокировочных элементов для предоконечного каскада:
;
;
.
С учетом запаса примем стандартные
значения емкостей Ср=2,2нФ, Сбл=0,1нФ и значение блокировочной индуктивности
Lбл=27мкГн.Выберем конденсаторы типа К10-17.
9.2 Расчет цепи питания кварцевого
автогенератора
Для повышения стабильности частоты
автогенератора необходимо поддерживать постоянным его напряжение питания.
Поэтому в цепи питания установим стабилитрон. Цепь питания автогенератора
примет вид, представленный на рисунке 13.
Рисунок 13 - Цепь питания
автогенератора
Согласно расчету, приведенному в
разделе 9, для питания КАГ требуется напряжение Eкэ=6В.Выберем по справочнику
[3] стабилитрон КС156Б с номинальным напряжением стабилизации Uст=Eкэ=6В и
током стабилизации Iст=18мА.
Определим ток, протекающий через
гасящий резистор Rг:
гас= Iст + Iн,
где Iн = Iк0 + Iд- ток нагрузки цепи
питания - суммарный постоянный ток, протекающий по цепи коллектора и базового
делителя транзистора автогенератора.
н = 2,18 + 0,363 = 2,543мА;гас = 18
+ 2,543 = 20,543 мА.
Сопротивление гасящего резистора
определим по формуле:
,
.
Определим мощность, рассеиваемую на резисторе:
,
Выберем резистор Rг типа С2-23, со
стандартным значением сопротивления 300 Ом и мощностью 0,25 Вт.
10. Конструктивный расчет катушки
индуктивности ВКС
Расчет произведем для катушки
L1(рисунок 6) индуктивностью 36,37нГн по методике, изложенной в [4].Рабочая
частота составляет 27,21 МГц. Учтем, что постоянный ток через катушку не
протекает, так как перед ВКС установлен разделительный конденсатор.
Общий вид проектируемой катушки
индуктивности представлен на рисунке 14.
Рисунок 14 - Общий вид катушки
индуктивности
Примем отношение длины намотки
катушки l к её среднему диаметру D равным l/D=0,7 (рекомендуемые соотношения
для получения высокой добротности 0,5…0,8).
Исходя из соображения малого
активного сопротивления и механической прочности катушки индуктивности, выберем
из ряда, приведенного в [4], стандартное сечение провода d=0,64мм.
Определим шаг намотки провода, при
котором достигается малое активное сопротивление катушки току радиочастоты и
небольшие ее габариты:
=(1,3…1,5)d,
g=1,3·0,64=0,832 мм.
Определим число витков спирали катушки по
формуле:
,
где Lрасч - расчетное значение
индуктивности катушки,мкГн (если катушка без экрана, то Lрасч=L);- средний
диаметр катушки, см;- коэффициент формы, зависимость которого от отношения l/D
представлена на рисунке 15.
Рисунок 15 - Зависимость
коэффициента формы от отношения длины намотки к среднему диаметру катушки
Из графика на рисунке 15 при l/D=0,7
находим F=8∙10-3. Выберем диаметр катушки, исходя из возможностей ее
практической реализации, равным D=0,5см. Тогда длина ее будет равна l=0,35см.
Рассчитываем число витков спирали
катушки:
.
Полученное значение достаточно близко к целому
числу витков, и оно больше, чем один виток. Поскольку D, l/D и g=l/N были
выбраны ранее произвольно, проверим правильность их выбора - должно выполняться
равенство N=l/gс погрешностью, не более (5…7)%. В нашем случае: N=3,015;
l/g=4,207. Равенство не выполняется. Увеличим шаг намотки провода катушки. Это
изменение дополнительно приведет к снижению потерь катушке.
Выберем g=1,2мм. Тогда l/g=2,917. Значение N и
l/g совпадают с необходимой точностью. Расчет числа N можно считать
законченным. Округляем это число до целого: N=3.Таким образом, катушка имеет
размеры D=5мм; l=3,5мм. Шаг намотки g=1,2мм; диаметр провода d=0,64мм; число
витков N=3.
Проверим электрическую прочность катушки.
Согласно рекомендациям [5], напряженность электрического поля между соседними
витками катушки должна быть не более 500…700 В/мм в воздухе.
Для расчета величины напряженности необходимо
знать высокочастотное напряжение, приложенное к катушке. Для его определения
можно воспользоваться результатами расчета П-образной цепи ВКС из раздела 6.
Представим схему этой цепи в виде, показанном на рисунке 16,а.

а й б
Рисунок 16 - Схема П-образной цепи ВКС (а) и
эквивалентной Г-образной цепи (б) (R0 - вспомогательное сопротивление,
используемое в расчете)
Высокочастотный ток, протекающий по катушке L1
можно ориентировочно определить из энергетических соображений, считая, что в
П-образной цепи последовательно происходит передача ВЧ мощности, отдаваемой
транзистором P1 (условно можно считать, что она выделяется в R1), сначала в
сопротивление R0, затем в R'. Если пренебречь потерями в П-образной цепи, то
мощность, выделяемая в R0, будет равна P1.
Из расчета выходного усилителя и ВКС известны
значения:
Р1=Р1ном=6,313Вт; R0=1Ом.
В соответствии с принципом расчета П-образной
цепи (рисунок 16), с помощью сопротивления R0 она разбивается на две Г-образных
цепи. Одна из них (левая) показана на рисунке 16,б (L1' - часть индуктивности
L1).
Находим величину тока, протекающего по
сопротивлению R0 в схеме на рисунке 16,б:
,
.
Такой же величины ток протекает по
катушке индуктивности L1' и, соответственно, по всей катушке L1, поскольку L1'
является ее частью. Теперь можно найти ВЧ напряжение, приложенное к катушке L1:
,
где ХL1=6,218Ом (значение,
полученное в разделе 6);
.
Напряженность электрического поля между
соседними витками катушки:
,
Как следует из расчета,
напряженность электрического поля между витками катушки значительно меньше
допустимой.
Рассчитаем собственную емкость
катушки индуктивности по эмпирической формуле:
СL=0,1kgkiD,пФ,
где kgи ki - вспомогательные
коэффициенты, зависящие от относительных размеров катушки; D - диаметр катушки,
мм.
Графики для определения величин kg и
ki приведены на рисунке 17.
Рисунок 17 - Графики для расчета
вспомогательных коэффициентов
Из рисунка 17 при g/d=1,875 и l/D=0,7 находим kg≈0,7;
ki≈1,1. Рассчитываем СL:
СL=0,1·0,7·1,1·5=0,385пФ.
В результате расчета получилась достаточно малая
собственная емкость катушки, которая по величине меньше паразитной емкости
монтажа (последняя обычно превышает 1пФ). Такая емкость катушки L1 не будет
оказывать влияние на свойства ВКС.
Проверим соотношение длины проводника и рабочей
длины волны. Длина провода катушки:
пров.=pDN,пров.=3,14·5·3=47,1мм.
Длина электромагнитной волны на рабочей частоте
известна из раздела 3: l=11,1м. Длина провода катушки
индуктивности в много раз меньше длины волны. Поэтому можно считать, что
рассчитанная катушка индуктивности является элементом с сосредоточенными
параметрами.
11. Расчет промышленного
коэффициента полезного действия передатчика
Промышленный коэффициент полезного действия
передатчика вычисляется по формуле:
где РА - мощность, подводимая к
антенне;
Р0сумм- суммарная потребляемая
мощность всеми каскадами передатчика;
Рдоп=0,1Р0сумм - дополнительные
неучтенные потери мощности.
В состав Р0сумм включим только
мощности, потребляемые рассчитанными каскадами передатчика - выходным,
предоконечным каскадами и КАГ:
Р0сумм= Р0вых + Р0пред + Р0КАГ.
Значения мощностей, потребляемых
всеми остальными каскадами, неизвестны, т.к. они не рассчитывались. Следует
отметить, что поскольку эти каскады маломощные, неучет в Р0сумм потребляемых ими
мощностей не приведет к значительной погрешности в величине ηпром.
В соответствии с техническим
заданием:
РА=5Вт.
Из расчета выходного усилителя и
предоконечного каскада были получены значения:
Р0вых = 12,631Вт; Р0пред = 1,199Вт.
Мощность, потребляемая кварцевым
автогенератором:
Р0КАГ = EпI0КАГ,
где Eп = 6В; I0КАГ - ток,
потребляемый всеми цепями КАГ. Он равен току, протекающему через резистор Rг в
цепи стабилизации (рисунок 13):КАГ = Iгас = 20,543мА;
Результаты расчета:
Р0КАГ = 6 ·20,543·10-3= 0,123Вт;
Р0сумм = 12,631+ 1,199+0,123
=13,953Вт;
Рдоп =0,1·13,953 = 1,395Вт;
12. Расчет надежности передатчика
Расчет надежности передатчика
сводится [5] к определению основного показателя надежности любого устройства -
времени средней наработки на отказ То.
Вычисление То будем проводить на
основании среднестатистических значений отказов радиоэлементов lэлiи их соединений. Эти
значения представлены в таблице 6. При определении количества элементов будем
учитывать только элементы рассчитанных каскадов.
Таблица 6 - Среднестатистические
значения отказов отдельных элементов и их групп
|
Элементы
|
Количество
N
|
λЭЛi·10-6
1/ч
|
N·λЭЛi
·10-6 1/ч
|
|
Резисторы
|
11
|
0,16
|
1,76
|
|
Конденсаторы
керамические
|
15
|
0,15
|
2,25
|
|
Резонаторы
кварцевые
|
4
|
0,01
|
0,04
|
|
Транзисторы
маломощные
|
1
|
0,9
|
0,9
|
|
Транзисторы
мощные
|
2
|
1
|
2
|
|
Дроссели
и катушки индуктивности
|
7
|
0,5
|
3,5
|
|
Пайки
|
69
|
0,05
|
3,45
|
|
Среднестатистические
значения отказов всех элементов λэл
сумм, ·10-6 1/ч
|
13,9
|
Расчет средней наработки на отказ произведем [3]
по формуле:
То=1/λэл
сумм,
То=1/ 13,9·10-6= 71940 ч.
Полученное значение времени наработки на отказ
удовлетворяет требованиям технического задания с большим запасом. Однако
следует иметь ввиду, что эти значение То является значительно завышенным, т.к.
учитывались элементы нерасчитанных каскадов и вспомогательных цепей
передатчика.
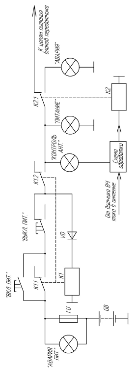
13. Разработка системы управления,
блокировки и сигнализации передатчика
Элементы системы управления, блокировки и
сигнализации (УБС), т.е. индикаторные приборы, органы управления, разъемы для
подключения внешних устройств, показаны на принципиальной схеме передатчика,
размещение элементов УБС на его корпусе - на чертеже общего вида, а схема
системы УБС - отдельно на рисунке 18.
Питание всех цепей передатчика осуществляется от
одного источника питания - сменной аккумуляторной батареи с номинальным
напряжением 12 В. Это обеспечивает одновременность включения и выключения всех
блоков передатчика.
Подключение штыревой антенны производится путем
ее установки в антеннодержатель, расположенный на задней стенке передатчика.
Подключение микрофона осуществляется путем
соединения ответной части разъема на проводе микрофона с гнездом «МИКРОФОН»,
расположенным на передней панели передатчика.
Включение передатчика осуществляется путем
однократного нажатия кнопки « ВКЛ. ПИТ.», расположенной на лицевой панели
передатчика. При включении передатчика загорается индикатор напряжения питания
«ПИТАНИЕ», расположенный на лицевой панели передатчика рядом с кнопкой «ВКЛ.
ПИТ». При помощи данной кнопки осуществляется гальваническое соединение
аккумуляторной батареи и всех блоков передатчика.
Изменение рабочей частоты передатчика
производится путем нажатия соответствующей кнопки переключателя «ЧАСТОТА, МГц».
Нажатие кнопки приводит к подключению к автогенератору соответствующего
кварцевого резонатора. При нажатии другой кнопки этого переключателя происходит
отключение предыдущего кварцевого резонатора и подключение следующего.
Контроль излучения мощности антенной
производится путем нажатия кнопки «КОНТРОЛЬ АНТ.». При этом к входу усилителя
низкой частоты подключается внутренний генератор звуковой частоты
(тон-генератор), а с выходной колебательной системы снимается небольшая часть
мощности при помощи высокочастотного датчика тока. Сигнал высокочастотного датчика
тока поступает на схему обработки, которая при наличии тока в антенне заданной
величины вырабатывает напряжение, поступающее на индикатор «КОНТРОЛЬ АНТ.».
Если ток в антенне меньше заданного, то загорается индикатор «АВАРИЯ» и при
помощи реле отключается питание передатчика. Таким образом осуществляется
защита передатчика от обрыва и короткого замыкания антенны. Этот индикатор
свидетельствует также о неисправностях в других цепях передатчика, вызывающих
снижение ниже допустимого уровня тока в антенне, а также о разряде
аккумуляторной батареи.
В передатчике предусмотрена защита источника
питания от короткого замыкания во внутренних цепях и от неправильного
подключения полярности аккумуляторной батареи. При коротком замыкании
перегорает плавкая вставка FU и загорается индикатор «АВАРИЯ ПИТ».
При неправильном подключении полярности
аккумуляторной батареи реле К1 не позволяет включить питание передатчика,
поскольку в его цепи установлен диод.
14. Порядок включения, выключения и
работы с передатчиком
Установить аккумуляторную батарею (12В, 7А/ч) в
отсек питания передатчика, открыв заднюю крышку.
Подключить штыревую антенну путем установки
штыря антенны в антеннодержатель, расположенный на задней стенке передатчика.
Включить питание передатчика, нажав
кратковременно кнопку «ВКЛ. ПИТ.» на лицевой панели передатчика. При этом
должен загореться индикатор «ПИТАНИЕ», расположенный на лицевой панели
передатчика, рядом с кнопкой «ВКЛ. ПИТ.». Если вместо индикатора «Питание»
загорятся индикаторы «АВАРИЯ»или «АВАРИЯ ПИТ.», необходимо выключить питание
передатчика путем нажатия кнопки «ВЫКЛ. ПИТ.». После этого необходимо устранить
неисправность. В случае отсутствия свечения всех индикаторов, необходимо
проверить правильность подключения полярности аккумуляторной батареи, поскольку
включение передатчика при неправильной полярности аккумуляторной батареи
невозможно.
Установить требуемую рабочую частоту
передатчика, путем нажатия соответствующей кнопки переключателя «ЧАСТОТА, МГц»,
расположенного на лицевой панели передатчика. Нажать кнопку «КОНТРОЛЬ АНТ.»,
при этом должен загореться индикатор «КОНТРОЛЬ АНТ.», расположенный рядом с
кнопкой на передней панели передатчика. Это соответствует о наличие тока в
антенне не ниже допустимого уровня и о возможности передачи сообщения. Если
этого не произошло, необходимо выключить питание передатчика путем нажатия
кнопки «ВЫКЛ. ПИТ.» и устранить неисправность. Подключить микрофон к гнезду
«МИКРОФОН», расположенному на лицевой панели передатчика и произвести передачу
сообщения. После передачи сообщения выключить питание передатчика путем нажатия
кнопки «ВЫКЛ. ПИТ.». Отключить штыревую антенну, вынув ее из антеннодержателя.
При длительном хранении передатчика необходимо извлечь аккумуляторную батарею
из передатчика.
Заключение
Основные результаты выполнения настоящего
курсового проекта заключаются в следующем:
. Выбрана схема формирования однополосного
сигнала с двухступенчатой балансной модуляцией, обеспечивающая необходимый
уровень подавления несущей и второй боковой полосы.
. Заданный частотный диапазон перекрывается
дискретно с шагом 10 кГц (13 частотных канала); заданные требования по
стабилизации частоты достигаются применением в составе передатчика кварцевых
автогенераторов, в которых производится переключение КР при смене частотного
канала.
. Уровень побочного излучения высших гармоник
антенной передатчика значительно ниже допустимого, что достигнуто за счет
применения в составе ВКС П-образного контура с дополнительной „удлинительной”
катушкой (для компенсации емкостной реактивности антенны).
. Из-за незначительных потерь в „удлинительной”
катушке, КПД ВКС, а также промышленный КПД передатчика получились довольно
высокими.
. Переключаемый кварцевый автогенератор построен
по осцилляторной схеме с КР, возбуждаемым на третьей механической гармонике, и
дополнительным LC - контуром в коллекторной цепи для предотвращения возбуждения
КР на основной частоте.
. Спроектирована катушка индуктивности ВКС
(L=36,37нГн). Диаметр катушки - 5 мм, длина - 3,5 мм. Катушка имеет 3 витка
проводом диаметра 0,64 мм.
. Разработанная система УБС защищает выходной
каскад передатчика от короткого замыкания и обрыва антенны, а также
сигнализирует о неисправностях в схеме, из-за которых мощность в антенне
снижается ниже минимально допустимой.
Литература
1. Методические
указания по курсовому проектированию устройств генерирования и формирования
радиосигналов.
. Составление
технических требований и структурной схемы (для студентов специальности 200700
- Радиотехника). Сост. Белов Ю.Г.- Н. Новгород: НГТУ, 1995. - 32 с.
. Устройства
генерирования и формирования радиосигналов: Учебник для вузов / Л.А. Белов,
В.М. Богачев, М.В. Блоговещенский и др.; Под ред. Г.М. Уткина, В.Н. Кулешова и
М.В. Благовещенского - М.: Радио и связь, 1994. - 416 с.
. Аксенов
А.И. Нефедов А.В. Отечественные полупроводниковые приборы / Выпуск 59. Издание
5. - СОЛОН-Пресс, 2005.-584 с.
. Шумилин
М.С., Козырев В.Б., Власов В.А. Проектирование транзисторных каскадов
передатчиков: Учебное пособие для техникумов. - М.: Радио и связь, 1987. - 320
с.
. Проектирование
радиопередающих устройств / Под ред. В.В. Шахгильдяна. - М.: Радио и связь,
1993. - 512 с.
. Аксенов
А.И., Нефедов А.В. Элементы схем бытовой радиоаппаратуры. Конденсаторы.
Резисторы: Справочник. - М.: Радио и связь, 1995 - 272с.
. Проектирование
радиопередающих устройств СВЧ. Под ред. Г.М. Уткина. - М.: Сов. радио, 1979. -
320 с.