Разработка микропроцессорного устройства контроля сетевого напряжения

  • Вид работы:
    Магистерская работа
  • Предмет:
    Информатика, ВТ, телекоммуникации
  • Язык:
    Русский
    ,
    Формат файла:
    MS Word
    2,06 Мб
  • Опубликовано:
    2015-07-29
Вы можете узнать стоимость помощи в написании студенческой работы.
Помощь в написании работы, которую точно примут!

Разработка микропроцессорного устройства контроля сетевого напряжения














Тема магистерской диссертации

«Разработка микропроцессорного устройства контроля сетевого напряжения»

Введение

Преобразование электрической энергии в механическую с помощью электрооборудования позволяет легко и экономически выгодно приводить в движение разнообразные рабочие механизмы: конвейеры, оборудование на железнодорожном автоматика телемеханика, насосы, защита бытовой техника и любой электроаппаратуры от «скачков» и резких отклонений сетевого напряжения. Благодаря простоте конструкции, высокой надежности и невысокой стоимости электрооборудования короткозамкнутым устройствами является наиболее распространенным защита бытовой техника и любой электроаппаратуры от «скачков» и резких отклонений сетевого напряжения. Свыше 85% всех электрических оборудование - это бытовой техника и любой электроаппаратуры. По статистике сейчас в общественном производстве России находится не менее 50 млн. единиц однофазных автомат защиты от перепадов сетевого напряжения 220В. Электрооборудования обычно рассчитаны на определенный срок службы, при условии их правильной эксплуатации. Под правильной эксплуатацией понимается его работа в соответствии с номинальными параметрами, указанными в паспортных данных электроаппаратура. Однако в реальной жизни имеет место значительное отступление от номинальных режимов эксплуатации. Это, в первую очередь, плохое качество питающего напряжения и нарушение правил технической эксплуатации: технологические перегрузки, условия окружающей среды (повышенные влажность, температура), снижение сопротивления изоляции, нарушение охлаждения. Последствием таких отклонений являются аварийные режимы работы электрооборудования. В результате аварий ежегодно выходят из строя до 10% применяемых электрооборудования например, 60% скважных устройства, ломаются чаще одного раза в году. Выход из строя электрооборудования приводит к тяжелым авариям и большому материальному ущербу, связанному с простоем технологических процессов, устранением последствий аварий и ремонтом вышедшего из строя электроаппаратура. Ремонт электрической устройства мощностью до 1кВт обходится в 5-6$ США. Чтобы оценить, во что обойдется ремонт более мощной машины, надо просто умножить эту цифру на мощность электрооборудования. Помимо этого, работа на аварийных режимах ведет к повышенному энергопотреблению из сети, увеличению потребляемой реактивной мощности. Совершенно очевидно, что применение надежной и эффективной защиты от аварийных режимов работы значительно сократит количество и частоту аварийных ситуаций и продлит срок службы электрооборудования, сократит расход электроэнергии и эксплуатационные расходы. Но, для того, чтобы выбрать эту защиту необходимо знать, как и от чего необходимо защищать электрооборудования систем железнодорожной автоматики и телемеханики, а также специфику процессов протекающих в них в случае аварий.

ГЛАВА I. Постановка задачи

1.1 Аналитический обзор

Все потребители электроэнергии сталкиваются с проблемами аварий в электросети. Сгоревшее оборудование или электроприборы - это только малая часть проблем, которые могут появиться вследствие этих аварий: пожары, взрывы, техногенные катастрофы, - далеко не полный перечень трагических последствий. По данным МЧС, более трети всех пожаров имеют электротехническое происхождение. Трудно оценить материальный ущерб, даже если не произошло трагедии. Стоимость сгоревшего оборудования порой ничтожно мала по сравнению с потерями, связанными с остановкой производства, простоем технологических процессов, демонтажам - монтажом, ремонтом или заменой вышедшей из строя установки на ж.д. транспорте. Электрические сети должны иметь защиту от токов короткого замыкания, обеспечивающую по возможности наименьшее время отключения и требования селективности. Кроме того, должны быть защищены от перегрузки осветительные сети в жилых и общественных зданиях, в торговых помещениях, служебно-бытовых помещениях промышленных предприятий, включая сети, для бытовых и переносных электроприемников, а также в пожароопасных зонах; силовые сети на промышленных предприятиях, в жилых и общественных зданиях, торговых помещениях - только в случаях, когда по условиям технологического процесса или по режиму работы сети может возникать длительная перегрузка проводников. В понятие «защита электрооборудования», вкладывается смысл защиты последнего от токов короткого замыкания и перегруза, которые могут появиться в электрических сетях. Это связано с тем, что при возникновении короткого замыкания в сети протекают токи, намного превышающие допустимые и приводящие к серьезным повреждениям. Коротких замыканий (КЗ) очень много и всех их предвидеть и предусмотреть невозможно. Однако, если проанализировать причины появления КЗ в электрооборудовании, можно сказать, что большинство их - следствие некачественного сетевого напряжения. Например, для асинхронных электродвигателей более 80% внутренних повреждений, связаны напрямую или косвенно, с некачественным сетевым напряжением. Под некачественным напряжением будем понимать отклонения его параметров, от строго установленных ГОСТами.

Пики или действующие значения. Сетевого напряжения из теории электротехники известно, что самое правильное срабатывать по действующему значению напряжения. Однако если бы напряжение было строго синусоидальным, то действующее значение определяется как максимум, деленный на корень из 2. Но на практике форма сетевого напряжения отличается от синусоида. (Кстати, еще одно отклонение от ГОСТ). Действующее значение периодической функции можно определить только с помощью применения сложного математического расчета. Работа по пикам только в некоторых случаях может оказаться достоверной - когда этот пик достаточно продолжительный.

Временя срабатывания. Оно должно быть, с одной стороны, как можно меньше, с другой - есть виды отклонений по напряжению, возникающие достаточно часто, но действующие кратковременно и не оказывающие ощутимого вредного воздействия. Кратковременные посадки напряжения, связанны с пуском электродвигателей и включением нагрузки.

В эпоху рыночной экономики, нет недостатка в предложении схем реализации устройств защиты от перечисленных неопрятностей, основанные на использовании реле. Перед разработчиком неизбежно встает вопрос, по каким параметрам следует выбирать реле. С одной стороны оно должно стать надежным заслоном на пути недоброкачественной энергии от электросети к нагрузке, с другой стороны быть и недорогим.

Защитные устройства должны быть цифровыми, т. к. реализовать сложную логику действий, точность и надежность, возможно лишь на базе микропроцессорной техники.

Принятие решений о выходе за контролируемые параметры должно осуществляться по действующему или близкому к нему среднему за период значению напряжения. Работа по пиковым значениям напряжения приводит к ложным срабатываниям.

Схема питания устройства должна быть организована от самого измеряемого напряжения, Наличие простой и логичной индикации, степень защищенности и климатических условий, это весь перечень основных параметров, по которым можно произвести сравнительный анализ устройства, контроля напряжения.

Многие разработчики производят контроль по пиковым значениям напряжения, что сужает возможность использования их продукции в энергонасыщенных производствах, где электрические сети изобилуют «лишними» гармониками, коммутационными возмущениями, длительными переходными процессами, мощными электромагнитными помехами. Нет отдельной регулировки времени, как правило, задержка на срабатывание, является задержкой на включение, что сужает возможность их использования для управления электрооборудованием с длительными переходными процессами, например, компрессорным и холодильным оборудованием.

Растущее энергопотребление предприятий, энергонасыщенность бытового потребителя приводят к увеличению числа сетевых аварий, в том числе и на железнодорожном транспорте. Остро назрела необходимость привести правила технической эксплуатации к нормам международного права в данной области. Эти правила должны не только регламентировать необходимость, место и способы защиты, но и ввести общие требования к приборам, защищающим от аварий сетевого напряжения. В замен аналоговым приборам приходят на смену цифровые - микропроцессорные. Сегодня стало возможно на базе микропроцессоров создавать приборы практически с логикой любой сложности. О преимуществах цифровой технологии, в том числе, применительно к защитным устройствам, сказано много и ни у кого не вызывает сомнений в явных преимуществах техники нового поколения перед аналоговыми приборами. По-настоящему цифровые микропроцессорные устройства с широким набором защитных функций и сложной логикой действия для широкого потребления, т.е. низкие по цене, создать весьма затруднительно.

Рынок на сегодняшний день предлагает большой выбор стабилизаторов напряжения. Потребитель имеет возможность приобрести его не только в зависимости от необходимых технических параметров, а также в зависимости от качества и цены изделия.

Устройство АСН-300 предназначено для защиты бытовых электроприборов мощностью 300Вт (пусковой мощностью до 900Вт) от перепадов напряжения в сети 220В, 50Гц. Обеспечивает автоматический контроль, регулировку напряжения сети, а также защиту от высоковольтных импульсов.

АСН-300 имеет цифровой измеритель напряжения сети питания, индикатор уровня входного напряжения, выходного напряжения и мощности потребления подключенного прибора. Устройство оснащено тепловой защитой и защитой от перегрузки.

Стабилизатор напряжения АСН-300 - это однофазный релейный стабилизатор матричного типа, в котором стабилизация напряжения осуществляется переключением обмоток трансформатора силовыми реле.

В матричном типе отсутствует ситуация одновременного включения нескольких обмоток трансформатора, не требуется задержка на время срабатывания реле, количество реле меньше при большем количестве комбинаций - это разрешает повысить не только быстродействие стабилизатора, а также делает его ещё более надежным.

Особенности, которыми обладает модель АСН-300 в сравнении с аналогами:

Индикация выходной мощности, входного и выходного напряжения.

Быстрая реакция - работает как обтекатель.

Синусоидальное выходное напряжение.

Стабилизатор оборудован системой самодиагностики, которая дополнительно контролирует параметры выходного напряжения.

Рабочий диапазон входного напряжения (Uвх) - 130...280В

Номинальное значения выходного напряжения при Uвх=160...280В-220±14В

Мощность нагрузки АСН-300 - 300Вт

Максимальная кратковременная мощность перегрузки (до 2с) - 900Вт

Форма выходного напряжения - синусоидальная

Время отключения нагрузки при Uвх>280В, не более - 0,04с

Время отключения при высоковольтном импульсе в сети, не более - 0,01с

Время срабатывания защиты при нагрузке >300Вт - 2с

Время включения после аварии в сети (задается пользователем) - 0-999с

Температура срабатывания тепловой защиты - 90ºС

Ошибка индикации входного и выходного напряжения АСН-300 - ±1В

Способ коммутации обмоток трансформатора стабилизатора - релейный

В начале 2009 года компания «ЛВТ» разработала новую модель автоматического стабилизатора напряжения АСН-600 на базе PIC контроллера американской фирмы Microchip Technology Inc. Стабилизатор предназначен для бытовых холодильников, систем управления автономным отоплением (газовые котлы), а также другой электронной аппаратуры с асинхронными электродвигателями общей мощностью потребления до 600Вт. Модель в первую очередь отличается улучшенным интерфейсом пользователя и упрощенной системой управления настройками стабилизатора. Новая модель имеет цифровой измеритель мощности потребления подключенного бытового прибора, выходного и входного напряжения. А также прибор оборудован тепловой защитой и защитой от перегрузок.

Стабилизатор напряжения АСН-600 (Автоматический регулятор напряжения) предназначенный для работы с бытовыми электроприборами с мощностью потребления до 600Вт в сети 220В, 50Гц, обеспечивает автоматический контроль и регулирование напряжения сети, а также защиту от сниженного и повышенного напряжения и высоковольтных импульсов. АСН-600 предназначен в первую очередь для защиты бытовых холодильников, одно компрессорных и двух компрессорных морозильных камер, систем управления автономного отопления и другой электроаппаратуры с асинхронными электродвигателями общей мощностью потребления до 600Вт (пусковой до 1800ВА).

АСН-600 имеет цифровой измеритель и индикатор напряжения сети питания, исходного напряжения и мощности потребляемой нагрузкой.

Устройство оборудовано защитой от перегрузки, тепловой защитой.

При понижении напряжения в электрической сети ухудшаются условия работы пусковой обмотки электродвигателя компрессора холодильника. При этом пуск двигателя затягивается, пусковая обмотка нагревается, преждевременно стареет и со временем может перегореть. Именно по этой причине происходит 70% отказов компрессорных холодильников.

Для лучшей защиты холодильников при аварийных ситуациях в сети рекомендуется выбирать время повторного включения 200сек.

Особенности модели:

На базе РІС контролера американской компании Microchip Technology Inc.

Предусмотрена возможность установки времени восстановления после срабатывания одной из защит: 5 или 200сек. Для лучшей защиты холодильников при аварийных ситуациях в сети рекомендуется выбирать этот параметр равным 200сек.

Стабилизатор напряжения ЛВТ АСН-600, Технические характеристики

Рабочий диапазон входного напряжения (Uвх) - 145...280В

Номинальное значение выходного напряжения при Uвх 160-280В-220±14В

Форма выходного напряжения - синусоидальная

Время отключения нагрузки при превышении напряжения сети более 280В,не больше 0,04с

Время отключения при высоковольтном импульсе в сети, не больше 0,01с

Время срабатывания устройства защиты при перегрузке до 1800Вт - 2,5с

Время включения после аварии в сети (задается пользователем) 5 или 200с

Температура срабатывания тепловой защиты - 105ºС

Погрешность индикации входного и выходного напряжений - ±1%

Максимальная постоянная мощность нагрузки - 600Вт

Максимальная кратковременная мощность перегрузки (до 2,5с) - 1800Вт

АСН имеют цифровой индикатор входного напряжения сети, выходного напряжения и мощности потребления подключенного прибора.

Устройство оснащено 5 видами защиты: тепловой защитой, защитой от перегрузки, от перепадов напряжения, от высоковольтных импульсов и от короткого замыкания.

Электронная защита от превышения мощности. Защита срабатывает за 2сек, если нагрузка будет от 600Вт до 1800Вт и за 0,1сек. если больше 1800Вт. Такой тип защиты предохраняет стабилизатор от перегрузок и дальнейшего выхода из строя.

Защита от высоковольтных импульсов. Высоковольтный импульс - сильное кратковременное увеличение напряжения в сети (до 0,01сек.), что может быть связано с грозовым разрядом, пуском двигателя на токарном станке, сварочными работами, включением подстанции после аварийного отключения и др. Высоковольтные импульсы могут вывести электронику бытовых приборов из строя. Чтобы этого не произошло, стабилизатор отфильтровывает их и превращает в тепло.

Защита от длительных превышений и скачков напряжения. Скачек напряжения - кратковременное увеличение напряжения в сети (больше 0,01сек.), что может быть связано с резким уменьшением нагрузки, например, после того, как отключится мощный электрический обогреватель, чайник, остановился лифт в подъезде. Если напряжение превысит 280В, микропроцессорная система отключит потребителя от сети на время, пока входное напряжение не уменьшится до рабочей величины 145-280В. Например, входное напряжение понизилось с 290 до 270В, после окончания времени задержки стабилизатор подаст на выход напряжение 220В±7%.

Защита от короткого замыкания. Вследствие короткого замыкания в бытовом приборе, срабатывает программная защита по мощности и сгорит предохранитель в стабилизаторе. Таким образом, достигается общая безопасность эксплуатации сети.

1.2 Анализ влияния напряжения питания на работу микроэлектронных устройств

Показатели качества электроэнергии. Электроприборы и оборудование предназначены для работы в определенной электромагнитной среде. Электромагнитной средой принято считать систему электроснабжения и присоединенные к ней электрические аппараты и оборудование, связанные кондуктивно и создающие в той или иной мере помехи, отрицательно влияющие на работу друг друга. При возможности нормальной работы оборудования в существующей электромагнитной среде, говорят об электромагнитной совместимости технических средств. Единые требования к электромагнитной среде закрепляют стандартами, что позволяет создавать оборудование и гарантировать его работоспособность в условиях соответствующих этим требованиям. Стандарты устанавливают допустимые уровни помех в электрической сети, которые характеризуют качество электроэнергии (КЭ) и называются показателями качества электроэнергии (ПКЭ). Требования к качеству электрической энергии на территории РУз. определяет Межгосударственный стандарт: "Электрическая энергия. Совместимость технических средств электромагнитная. Нормы качества электрической энергии в системах электроснабжения общего назначения" ГОСТ 13109-97. К основным показателям качества электрической энергии относятся:

·              отклонения напряжения, связанные с графиком работы нагрузки;

·              колебания напряжения при резко переменном характере нагрузки;

·              не симметрия напряжений в трехфазной системе при несимметричном распределении нагрузки по фазам;

·              не синусоидальность формы кривой напряжения при нелинейной нагрузке;

·              отклонение фактической частоты переменного напряжения от номинального значения в установившемся режиме работы системы электроснабжения; провалы напряжения - внезапное и значительное снижение напряжения (менее 90% Uном) длительностью от нескольких периодов до нескольких десятков секунд с последующим восстановлением напряжения;

·              временные перенапряжения - внезапное и значительное повышение напряжения (более 110% Uном) длительностью более 10 миллисекунд;

·              импульсные перенапряжения - резкое повышение напряжения длительностью менее 10 миллисекунд, достигающие тысяч вольт.

Причин, вызывающих, ухудшение КЭ множество. Назовем лишь некоторые: аварии на подающей подстанции, КЗ в распределительной сети, грозовые и коммутационные возмущения, неравномерность распределения нагрузки по фазам, резкие сбросы электроэнергии, срабатывание средств защиты и автоматики, электромагнитные и сетевые возмущения, связанные с работой мощной нагрузки, пр. ГОСТ устанавливает два вида норм для ПКЭ: нормально-допустимые и предельно-допустимые. Рассмотрим, на примере отклонения напряжения от номинальных значений, чем грозит электрооборудованию выход за допустимые значения (см. табл. №1) ГОСТ устанавливает нормально и предельно допустимые значения установившегося отклонения напряжения на зажимах электроприёмников в пределах соответственно Uyнор=±5% и Uyпред=±10% номинального напряжения сети.

Очевидно, что работа электрооборудования даже на пределах допустимых значений, не только значительно сокращает срок его службы и снижает эффективности работы, но зачастую приводит к выходу его из строя. В конечном итоге, все сводится к пробою изоляции - по причине ее ускоренного старения, связанного с нагревом, вызванным пониженным напряжением, нарушением симметричности и полнофазности пробою, связанным с резким и значительным повышением напряжения, прочее.

Таблица № 1. Анализ влияние отклонения напряжения на электрооборудование

Электрооборудования

Снижение на 10% от Uн

Превышение на 10% от Uн

электрооборудования Момент электрооборудования изменяется пропорционально квадрату напряжения

Момент электрооборудования снижается на 19%. Температура повышается на 70С. Увеличивается время пуска. Скольжение повышается на 27,5%, ток механизма - на 14%, ток устройства 10%.

Увеличенный момент электрооборудования, служит причиной перегрузки валов, ременных передач, увеличивается пусковой удар. Пусковой ток повышается на 12%, работы момент на 21%, коэффициент мощности снижается на 5%.

Осветительные приборы (лампы накаливания, люминесцентные, инфракрасные, ртутные, газонаполненные, балластные сопротивления, стартеры, конденсаторы) Срок службы ламп накаливания изменяется пропорционально напряжению в степени 13,1, светоотдача - 3,4, светоотдача на 1кВт-час - в степени 1,8

Для нормального освещения потребуется на 30% больше ламп накаливания, на 15% - люминесцентных. Световой поток снижается на 10%.

Срок службы ламп накаливания снижается в 2,5 раза. Возрастает температура балластных сопротивлений, инфракрасные источники света увеличивают выделение тепла на 21%.

Электронная аппаратура Срок службы электронных компонентов сокращается в 4 раза. Возникают ошибки цифровой техники. Выходит из строя программное обеспечение.

Тиратроны выходят из строя в течение нескольких минут

Сгорают сетевые фильтры, блоки питания, адаптеры


В настоящее время при построении микропроцессорных систем широко используются специализированные ИС - супервизоры. Супервизоры предназначены для выполнения функций генерации сигнала сброса при включении питания, при понижении питания и во время выбросов и провалов напряжения сети, защиты ОЗУ от записи недостоверных данных, выдачи предупреждения о возможной аварии питания, переключения на питание от резервной батареи, сторожевого таймера. Эти функции жизненно необходимы микропроцессорным системам, т. к. гарантируют устойчивость от отказов, связанных со сбоями по цепям питания. Некоторые из этих функций реализованы в МК, но эти МК не всегда могут диагностировать свои собственные сбои. Чтобы система была эффективной и надежной, схема монитора питания должна находиться во внешней ИС супервизора.

Рассмотрим функции, выполняемые супервизором, более детально.

Приведенные выше схемы формирования сигнала сброса при подаче напряжения питания просты, однако не всегда надежно выполняют свои функции. Если напряжение питания системы нарастает относительно медленно, то простая RC-цепь не сможет сформировать сигнал сброса с необходимой малой длительностью фронтов. Схема формирования сигнала сброса супервизора включает в себя источник опорного напряжения, компаратор, таймер и буферный элемент, формирующий сигнала сброса.

При подключении системы к питанию схема начинает «отсчет» интервала задержки выдачи сигнала сброса только тогда, когда напряжение питания достигает своего минимально-допустимого уровня, что гарантирует надежный запуск микропроцессорной системы. Обычно супервизоры способны формировать импульс сброса как высокого, так и низкого уровней.

МП (МК) должен функционировать до тех пор, пока напряжение питания остается в допустимых для него пределах. Для гарантии надежной работы система должна контролировать напряжение питания на предмет его понижения. Понижения напряжения питания редко обладают разрушительными аппаратными последствиями, но они могут вызывать непредсказуемые действия МП (МК), ведущие к сбою программы. После восстановления напряжения питания программа также будет выполняться некорректно, т. е. нормальное функционирование системы не восстановится. Следовательно, МП (МК) должен быть перезапущен сигналом сброса от внешнего устройства - супервизора.

При снижении питания и непредсказуемых действиях МП (МК) в ОЗУ системы может быть записана посторонняя информация - «мусор». Это вызывает потерю данных, которые не могут быть восстановлены последующим сбросом. Чтобы предотвратить эти потери, супервизор имеет возможность подавить сигнал разрешения работы памяти во время провалов или выбросов напряжения питания.

ИС ОЗУ обычно питаются от того же самого источника питания, что и МП (МК). Если требуется хранить большой объем данных после отключения питания, а использование Flash-памяти невозможно, то в системе предусматривают резервный источник питания ИС ОЗУ. В момент выключения микропроцессорной системы ОЗУ подключается к резервной батарее и сохраняет свое содержимое, потребляя от нее очень малый (до нескольких мкА) ток. Схема, которая переключает ОЗУ с главного питания на резервное, должна постоянно находиться в активном состоянии, чтобы выполнить обратное переключение. Поэтому супервизор также подключается к резервной батарее при выключении основного источника питания.

Надежная защита может потребовать большего, чем обнаружение пониженного напряжения и генерация сигнала сброса, т. к. при организованном выключении могут потребоваться другие действия до генерации сигнала сброса. Например, МП (МК) может потребоваться перед отключением или перезапуском сохранить содержимое какого-нибудь регистра в энергонезависимой памяти. Выполнение таких действий возможно, если перед стабилизатором источника питания находятся конденсаторы большой емкости. Напряжение на конденсаторах на несколько вольт больше напряжения питания системы, поэтому после отключения входного напряжения система может некоторое время работать за счет запасенной в них энергии. Контролируя напряжение на конденсаторах, можно получить сигнал раннего предупреждения о пропадании питания. Этот сигнал обычно подается на вход немаскируемого прерывания, что позволяет МП (МК) программно подготовиться к отключению.

Сторожевой таймер, реализованный в супервизоре, несколько отличается от подобных устройств, встроенных в МК. Если в МК для предотвращения срабатывания сторожевого таймера требуется периодически заносить информацию в специальный регистр, то супервизор должен периодически принимать от МП (МК) сигнал подтверждения нормальной работы.

ВЫВОДЫ

При повышении питания возможно аппаратное разрушение микросхем.

При снижении питания и непредсказуемых действиях МП (МК) в ОЗУ системы может быть записана посторонняя информация - «мусор».

Это вызывает потерю данных, которые не могут быть восстановлены последующим сбросом. Понижения напряжения питания редко обладают разрушительными аппаратными последствиями, но они могут вызывать непредсказуемые действия микропроцессоров, ведущие к сбою программы. После восстановления напряжения питания программа также будет выполняться некорректно, т. е. нормальное функционирование системы не восстановится. Следовательно, микропроцессор должен быть перезапущен сигналом сброса от внешнего устройства, либо защищен внешними аппаратными устройствами от перепадов напряжения.

Растущее энергопотребление предприятий, энергонасыщенность бытового потребителя приводят к увеличению числа сетевых аварий, в том числе и на железнодорожном транспорте.

Актуальным стала задача создания защитных устройств, устанавливаемых непосредственно у потребителя, с набором функций, обеспечивающих полноценную и достоверную защиту.

Требования к качеству электрической энергии на территории РУз. определяет Межгосударственный стандарт: "Электрическая энергия.

Совместимость технических средств электромагнитная. Нормы качества электрической энергии в системах электроснабжения общего назначения". К основным показателям качества электрической энергии относятся:

·              отклонения напряжения, связанные с графиком работы нагрузки;

·              колебания напряжения при резко переменном характере нагрузки;

·              не симметрия напряжений в трехфазной системе при несимметричном распределении нагрузки по фазам;

·              не синусоидальность формы кривой напряжения при нелинейной нагрузке;

·              отклонение фактической частоты переменного напряжения от номинального значения в установившемся режиме работы системы электроснабжения; провалы напряжения - внезапное и значительное снижение напряжения (менее 90% Uном) длительностью от нескольких периодов до нескольких десятков секунд с последующим восстановлением напряжения;

·              временные перенапряжения - внезапное и значительное повышение напряжения (более 110% Uном) длительностью более 10 миллисекунд;

·              импульсные перенапряжения - резкое повышение напряжения длительностью менее 10 миллисекунд, достигающие тысяч вольт.

Причин, вызывающих, ухудшение КЭ множество. Назовем лишь некоторые: аварии на подающей подстанции, КЗ в распределительной сети, грозовые и коммутационные возмущения, неравномерность распределения нагрузки по фазам, резкие сбросы электроэнергии, срабатывание средств защиты и автоматики, электромагнитные и сетевые возмущения, связанные с работой мощной нагрузки, пр. ГОСТ устанавливает два вида норм для ПКЭ: нормально-допустимые и предельно-допустимые.

микроконтроллер контроль напряжение схема

ГЛАВА II. Принцип действия и характеристика устройств контроля напряжения

.1 Общие сведения

Предлагаемый автомат защиты от перепадов сетевого напряжения выключает нагрузку при помощи реле, если напряжение в сети будет выходить за пределы установленного значения, и включает ее после пропадания аварийной ситуации. Диапазон устанавливаемых значений по минимуму - 170...215В, по максимуму - 220...280В. Погрешность срабатывания защиты 1В и зависит от стабильности напряжения питания микроконтроллера. Автомат можно устанавливать как для защиты одного прибора, так и для защиты электрооборудования системы железнодорожной автоматики и телемеханики.

Предлагаемый прибор предназначен для защиты электрооборудования от перепадов сетевого напряжения. Эта защита от повышенного напряжения в сети. Если учесть, что суточное изменение напряжения сети от 200 до 240В является обычным, то становится понятна, необходимость прибора для защиты электрооборудования от перепадов сетевого напряжения.

Актуальность данной темы можно также проследить по большому числу публикаций.

Предлагаемая защита основана на прямом измерении амплитудного значения сетевого напряжения в течение положительного полупериода с выводом измеренного значения на индикатор. Основой устройства является микроконтроллер Р1С16Р873, имеющий встроенный десятиразрядный АЦП. Использование микроконтроллера и индикатора позволило сделать автомат с установкой порогов срабатывания по минимальному и максимальному напряжению в широких пределах.

Потребляемый прибором ток (без учета тока через обмотку реле) с включенной индикацией - 30мА, с выключенной индикацией - 6мА, что составляет 6,6ВА, а с выключенной индикацией 1,32ВА.

Устройство управляется тремя кнопками. Кнопкой «Разряд» выбирают разряд установки. Индикация выбранного разряда осуществляется перемещением запятой по индикатору. Кнопкой «Установка» увеличивают значение цифровых разрядов (0-2) на единицу, а в разряде режима индикации (3) выбирают необходимый режим. Кнопка «Индикация» необходима для включения-выключения индикации.

2.2 Построение функциональной схемы устройства

Для решения задачи по защите устройств от некачественного питания, а именно перенапряжения или снижения ниже допустимого, предлагается устройство с использованием аналогового цифрового преобразователя на основе микроконтроллера типа PIC16F873. Для питания устройств автоматики и телемеханики на железнодорожном транспорте используется электросеть с несколькими фидерами питания. С целью обеспечения контроля качества входного напряжения предлагается микропроцессорное устройство для контроля сетевого напряжения, которое выполняет функции автомата защиты от перепадов сетевого напряжения, выключает нагрузку при помощи реле, если напряжение в сети будет выходить за пределы установленного значения, и включает ее после пропадания аварийной ситуации. Диапазон устанавливаемых значений по минимуму - 170...215В, по максимуму - 220...280В. Погрешность срабатывания защиты 1 В и зависит от стабильности напряжения питания микроконтроллера. Автомат можно устанавливать как для защиты одного прибора, так и для защиты нескольких устройствам СЦБ. Для синтеза микропроцессорного устройства контроля сетевого напряжения, необходима разработать функциональную схему. Функциональная схема рис.2.1 устройства содержит следующие элементы: 1). Входной блок (ВхБ), обеспечивающий подключение устройства к сети местного питания; 2) Блок питания (БП) с встроенным трансформатором, подключаемым к соответствующим фазам сети, к выходу трансформатора подсоединен выпрямитель. 3) Измеряющее устройства (ИУ), выполнено на основе микроконтроллера; 4) ГТЧ генератор тактовых частота кварцевого резонатора настроенный на частоту 4,096МГц 5) Коммутирующие устройства (КУ), которое отключает потребителя от сети; 6) Блок индикатор; 7) Семисегментный (СИ), предназначенный для, вывода показаний текущего значения сетевого напряжения; 8) Нагрузка (Н); Отрицательное влияние на электрооборудование.

Рис.2.1 Функциональная схема устройства

2.3 Разработка алгоритма работы устройства

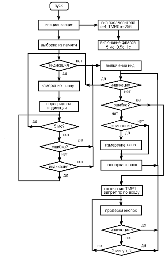
В работе программы микроконтроллера используются три подпрограммы «Прерывания». Прерывания по переполнению таймера 0 необходимы для отсчета интервалов времени 5мс. Это время, равное четверти периода частоты сетевого напряжения, необходимо для привязки включения модуля АЦП на вершине синусоиды. Прерывание по изменению сигнала на входе КВ0 синхронизирует генератор 5мс с частотой сети. Прерывания по переполнению таймера 1 отрабатывают интервалы времени повторного включения автомата для измерения напряжения в режиме ожидания.

Если сетевое напряжение превышает установленное значение, то автомат выключает реле, индикацию и переходит в режим ожидания.

Повторное измерение напряжения будет выполнено через 2мин. Если величина напряжения не пришла в норму, то следующее измерение будет через 10мин. Последний интервал времени можно устанавливать программно до 8,5ч.

После пуска и инициализации микроконтроллера включается счетчик прерываний, построенный на последовательном включении предварительного делителя с К=4 и таймера ТМК0 с К=256. При использовании кварцевого резонатора на частоту 4,096МГц прерывания по переполнению таймера будут происходить через 1мс. После прерывания инкрементируются счетчики 5мс; 0,5с; 1с. После переполнения счетчиков устанавливаются.

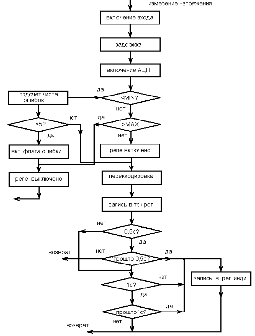
Алгоритм работы программы автомата защиты от перепадов сетевого напряжения показан на рис.2.2-2.5

После пуска и инициализации микроконтроллера (рис.2.2) включается счетчик прерываний, построенный на последовательном включении предварительного делителя с К=4 и таймера ТМК0 с К=256. При использовании кварцевого резонатора на частоту 4,096МГц прерывания по переполнению таймера будут происходить через 1мс. После прерывания инкрементируются счетчики 5мс; 0,5с; 1с. После переполнения счетчиков устанавливаются флаги 5мс; 0,5с; 1с. Отметки времени 5мс используются для индикации одного разряда, а 0,5 и 1с для смены индикации в режиме измерения. Далее процессор производит выборку из памяти ранее установленных минимального и максимального значений. Если индикация разрешена, то выбранные из памяти значения максимальной установки выводятся на индикацию. После вывода на индикацию каждого разряда ожидается установка флага 5мс. После индикации третьего разряда выполняется проверка состояния кнопок. Во время ожидания прерывания постоянно проверяются флаги ошибки и выключения индикации. Если они включены, то программа переходит к выключению индикации.

Рис.2.2 Алгоритм работы программы автомата защиты от перепадов сетевого напряжения

Выключается индикация и проверяется флаг индикации. Если флаг включен, то программа возвращается к индикации, но такая ситуация возможна только после того, как будет нажата кнопка «Индикация». Далее проверяется состояние флага ошибки. Если флаг выключен, но установлен флаг включения АЦП, то производится измерение напряжения и проверяются кнопки. Цикл повторяется с проверки флага включения индикации. Выход из этой подпрограммы возможен или на индикацию по состоянию флага индикации, или на включение таймера 1. Этот таймер отрабатывает временной интервал, через который будет выполнено измерение входного напряжения при установленном флаге ошибки. При этом запрещаются прерывания по входу КВ0.

Рассмотрим подробнее алгоритм работы подпрограммы измерения напряжения, приведенный на рис.2.3. Аналого-цифровое преобразование в микроконтроллере выполняется методом последовательного приближения. На время преобразования величина входного напряжения запоминается на конденсаторе устройства выборки-хранения (УВХ). Поэтому после включения выбранного входа необходима задержка для полного заряда конденсатора.

После выполнения задержки включается АЦП-преобразование. Младший разряд преобразования отбрасывается как недостоверный из-за возможного «дрожания» амплитуды измеряемого напряжения. Двоичное значение младшего восьмиразрядного регистра преобразования проверяется на превышение максимального или минимального установленного значения. В случае положительного результата сравнения выключается выход, который управляет реле нагрузки. Иначе подтверждается включение реле и программа возвращается из подпрограммы. Если девятый разряд равен единице, то сравнение младших восьми разрядов не выполняется и программа выключает реле.

Для уменьшения числа ложных срабатываний автомата при возникновении сетевых помех выключение реле происходит по серии непрерывных ошибок. В зависимости от состояния сети это число может колебаться в небольших пределах. Автором выбрано число непрерывных ошибок, равное пяти, что соответствует задержке выключения исполнительного реле 100мс после возникновения первой ошибки. При заполнении счетчика ошибок включается флаг ошибки. Далее выполняется перекодировка ранее измеренного значения входного напряжения из двоичного кода в двоично-десятеричный, и результат переписывается в текущие регистры.

Проверяются флаги индикации 0,5 и 1с. Если ни один флаг не включен, то каждое измеренное значение выводится на индикацию. В этом режиме хорошо наблюдать стабильность напряжения. Однако при колебаниях напряжения будет происходить мигание от одного до трех разрядов, что затруднит чтение показаний индикатора. Для облегчения чтения индикатора введена возможность обновления индикации через 0,5 и 1с. Если один из флагов включен, то текущие измеренные значения напряжения переписываются в регистры индикации. При этом сбрасываются флаги и следующий вывод на индикацию будет после их включения в блоке подпрограммы установки флагов.          Рассмотрим работу подпрограммы проверки кнопок (рис.2.4).

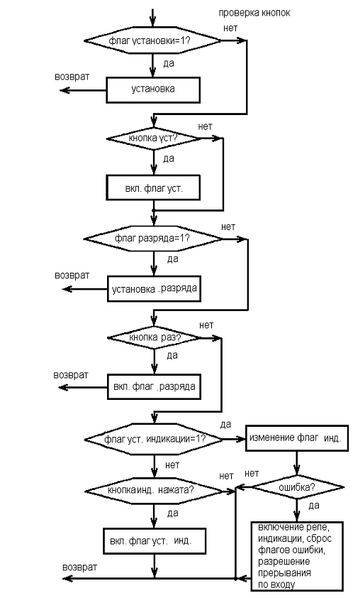
После первого прохождения подпрограммы выявляются нажатые кнопки и устанавливаются соответствующие флаги кнопок. Пока кнопка нажата, дальнейшее выполнение программы не производится. При последующих прохождениях подпрограммы, если обнаруживаются включенные флаги, программа переходит к изменению разряда или выключению индикации или к установке.

Выбор разряда никаких особенностей не имеет, кроме того, что направление перемещения запятой происходит от старшего разряда к младшему. Если включен флаг установки включений индикации, то состояние флага индикации изменяется на противоположное. Если индикация была включена, то она выключается, и наоборот. Если при изменении флага индикации будет включен флаг ошибки, то включаются индикация и исполнительное реле, сбрасывается флаг ошибки и разрешаются прерывания по изменению сигнала на входе. Это происходит в момент окончания времени ожидания. Алгоритм работы подпрограммы установки показан на рис.2.5.

Рис.2.3 Алгоритм работы программы автомата зашиты от перепадов сетевого напряжения. Измерение напряжения

Рис.2.4 Алгоритм работы программы автомата защиты от перепадов сетевого - напряжения. Проверка кнопок

Рис.2.5 Алгоритм работы программы автомата защиты от перепадов сетевого напряжения

ВЫВОДЫ

Предлагаемая защита основана на прямом измерении амплитудного значения сетевого напряжения в течение положительного полупериода с выводом измеренного значения на индикатор. Основой устройства является микроконтроллер РIС16F873, имеющий встроенный десятиразрядный АЦП. Использование микроконтроллера и индикатора позволило сделать устройство с установкой порогов срабатывания по минимальному и максимальному напряжению в широких пределах.

Потребляемый прибором ток (без учета тока через обмотку реле) с включенной индикацией - 30мА, с выключенной индикацией - 6мА, что составляет 6,6ВА, а с выключенной индикацией 1,32ВА.

Устройство управляется тремя кнопками. Кнопкой «Разряд» выбирают разряд установки. Индикация выбранного разряда осуществляется перемещением запятой по индикатору. Кнопкой «Установка» увеличивают значение цифровых разрядов (0-2) на единицу, а в разряде режима индикации (3) выбирают необходимый режим. Кнопка «Индикация» необходима для включения-выключения индикации.

Алгоритм работы программы устройства защиты от перепадов сетевого напряжения показан на рис.2.2-2.5.

ГЛАВА III. Разработка микроэлектронного устройства контроля напряжения

.1 Выбор типа микроконтроллера

Анализ функциональной схемы устройства показал, что для его реализации необходим контроллер, имеющий два полноценных 8-ми разрядных порта и один усеченный. Этим требованиям удовлетворяет микроконтроллер РIС16F873.

Предлагаемое устройство разработано на основе 28-выводного микроконтроллера РIС16F873, имеющего 10-разрядный АЦП.

Можно считать что микроконтроллер (МК) - это компьютер, разместившийся в одной микросхеме. Отсюда и его основные привлекательные качества: малые габариты; высокие производительность, надежность и способность быть адаптированным для выполнения самых различных задач.

Микроконтроллер помимо центрального процессора (ЦП) содержит память и многочисленные устройства ввода/вывода: аналого-цифровые преобразователи, последовательные и параллельные каналы передачи информации, таймеры реального времени, широтно-импульсные модуляторы (ШИМ), генераторы программируемых импульсов и т.д. Его основное назначение - использование в системах автоматического управления, встроенных в самые различные устройства: кредитные карточки, фотоаппараты, сотовые телефоны, музыкальные центры, телевизоры, видеомагнитофоны и видеокамеры, стиральные машины, микроволновые печи, системы охранной сигнализации, системы зажигания бензиновых двигателей, электроприводы локомотивов, ядерные реакторы и многое, многое другое. Встраиваемые системы управления стали настолько массовым явлением, что фактически сформировалась новая отрасль экономики, получившая название Embedded Systems (встраиваемые системы).

Достаточно широкое распространение имеют МК фирмы ATMEL, функциональные возможности которых охватывают все перечисленные задачи.

Применение МК можно разделить на два этапа: первый - программирование, когда пользователь разрабатывает программу и прошивает ее непосредственно в кристалл, и второй - согласование спроектированных исполнительных устройств с запрограммируемым МК. Значительно облегчают отладку программы на первом этапе - симулятор, который наглядно моделирует работу микропроцессора. На втором этапе для отладки используется внутрисхемный эмулятор, который является сложным и дорогим устройством, зачастую недоступным рядовому пользователю.

В тоже время в литературе мало уделено внимания вопросам обучения программированию некоторых недорогих МК, в сочетании с реальными исполнительными устройствами.

Разработка макета программатора отличающегося простотой, наглядностью и низкой себестоимостью, становиться необходимой как для самого программирования кристаллов, так и для наглядного обучения широкого круга пользователей основам программирования МК.

В настоящее время микроконтроллеры принимают все большее распространение. Однако, информации по вопросам обучения программированию микроконтроллеров в соединении с внешними исполнительными бывает не достаточно.

В работе рассмотрены архитектура, аппаратные и программные средства распространенных и недорогих микроконтроллеров. Анализ методики программирования в интегрированной среде разработке позволил объединить практические рекомендации с некоторыми особенностями обучения программирования микроконтроллеров. На основании этого предложен алгоритм обучения.

Предложен макет программатора, который позволяет, как программировать, так и обучать этому процессу. Приведен набор типовых задач, которые могут быть реализованы на вспомогательных платах внешних устройств, подключаемых к программатору через соответствующие порты.

Так же приведены решения четырех типовых задач по работе с памятью, индикацией, устройство «кодовый замок» и устройство измерителя частоты звукового диапазона. В приложениях приведены тексты программ и справочные данные на рассмотренные AVR микроконтроллеры.

Если представить все типы современных микроконтроллеров (МК), то можно поразиться огромным количеством разнообразных приборов этого класса, доступных потребителю. Однако все эти приоры можно разделить на следующие основные типы:

·   Встраиваемые (embedded) 8-разрядные МК;

·   16- и 32-разрядные МК;

·   Цифровые сигнальные процессоры.

Промышленностью выпускаются очень широкая номенклатура встраиваемых МК. В них все необходимые ресурсы (память, устройства ввода-вывода и.т.д.) располагаются на одном кристалле с процессорным ядром [3]. Если подать питание и тактовые импульсы на соответствующие входы МК, то можно сказать, что он как бы «оживет» и с ним можно будет работать. Обычно МК содержат значительное число вспомогательных устройств, благодаря чему обеспечивается их включение в реальную систему с использованием минимального количества дополнительных компонентов. В состав этих МК входят:

·   Схема начального запуска процессора (Reset);

·   Генератор тактовых импульсов;

·   Центральный процессор;

·   Память программ (E(E)PROM) и программный интерфейс;

·   Средства ввода/вывода данных;

·   Таймеры, фиксирующие число командных циклов.

Общая структура МК показана на рис.3.1.Эта структура дает представление о том, как МК связывается с внешним миром.

Более сложные встраиваемые МК могут дополнительно реализовывать следующие возможности:

·   Встроенный монитор/отладчик программ;

·   Внутренние средства программирования памяти программ (ROM);

·   Обработка прерываний от различных источников;

·   Аналоговый ввод/вывод;

·   Последовательный ввод/вывод (синхронный и асинхронный);

·   Параллельный ввод/вывод (включая интерфейс с компьютером);

·   Подключение внешней памяти (микропроцессорный режим).

Все эти возможности значительно увеличивают гибкость применения МК и делают более простым процесс разработки систем на и основе.

Рис.3.1 Структура микроконтроллера

Некоторые МК (особенно 16- и 32-разрядные) используют только внешнюю память, которая включает в себя как память программ (ROM), так и некоторый объем памяти данных (RAM), требуемый для данного применения. Они применяются в системах, где требуется большой объем памяти и относительное не большое количество устройств (портов) ввода/вывода. Типичным примером применения такого МК с внешней памятью является котроллер жесткого диска (HDD) с буферной кэш-памятью, который обеспечивает промежуточное хранение и распределение больших объемов данных (порядка нескольких мегабайт). Внешняя память дает возможность такому микроконтроллеру работать с более высокой скоростью, чем встраиваемый МК.

Цифровые сигнальные процессоры (DSP) - относительно новая категория процессоров. Назначение DSP состоит в том, чтобы получать текущие данные от аналоговой системы, обрабатывать данные и формировать соответствующий отклик в реальном масштабе времени. Они обычно входят в состав систем, используясь в качестве устройств управления внешним оборудованием, и не предназначены для автономного применения.

Типичная схема подключения светодиода к выводу МК показана на рис.3.2.В этой схеме светодиоды будут светиться когда МК выдает сигнал «0» (низкое напряжение). Когда вывод работает в качестве входа данных или на него выводится «1», то светодиод будет выключен.

В случае использования конвейера приведенную длительность машинного цикла можно сократить. Например, у PIC-микроконтроллеров фирмы Microchip за счет использования конвейера удалось уменьшить длительность машинного цикла до 4 периодов кварцевого резонатора. Длительность же машинного цикла AVR составляет один период кварцевого резонатора. Таким образом, AVR способны обеспечить заданную производительность при более низкой тактовой частоте. Именно эта особенность архитектуры и позволяет AVR-микроконтроллерам иметь наилучшее соотношение энергопотребление/производительность, так как потребление КМОП микросхем, как известно, определяется их рабочей частотой.

Резистор сопротивлением 220Ом используется для ограничения тока, т.к. слишком большой ток может вывести из строя МК и светодиод. Некоторые МК содержат ограничители тока на выходных линиях, что устраняет потребность в ограничивающем резисторе. Но все же целесообразно, на всякий случай, включить этот резистор, чтобы гарантировать, что короткое замыкание на «землю» или напряжение питания Vcc, не выведет из строя МК.

Рис.3.2 Подключение светодиода к микроконтроллеру

Семи сегментный индикатор. Вероятно, самый простой вывод числовых десятичных и шестнадцатеричных данных - это использование семи сегментного индикатора (ССИ). Такие индикаторы были очень популярны в 70х годах, но в последствии их место заняли жидкокристаллические индикаторы (ЖКИ). Но светодиодные индикаторы до сих пор являются полезными приборами, которые могут быть включены в схему без больших усилий для создания программного обеспечения. Включая определенные светодиоды (зажигая сегменты), можно выводить десятичные числа (см. рис.3.3)

Каждый светодиод в индикаторе имеет свой буквенный идентификатор (A, B, C, D, E, F, G), и одна из ножек светодиода подключена к соответствующему внешнему выводу. Вторые ножки всех светодиодов соединены вместе и подключены к общему выводу. Этот общий вывод определяет тип индикатора: с общим катодом или с общим анодом.

Подключение индикатора к МК осуществляется весьма просто: обычно индикатор подключают как семь или восемь (если используется десятичная точка) независимых светодиодов. Наиболее важной частью работы при подключении к МК нескольких ССИ является назначения линий вводе вывода для каждого светодиода. Решение этой задачи в начале выполнения проекта упростит вам монтаж разводки и отладку устройств в дальнейшем. Типичный способ подключения нескольких индикаторов состоит в том, чтобы включить их параллельно и затем управлять протеканием тока через общие выводы отдельных индикаторов. Так как величина этого тока обычно превышает допустимое значение выходного тока МК, то для управления оком включается дополнительные транзисторы, которые выбирают, какой из индикаторов будет находиться в активном состоянии.


Рис.3.3 Семи сегментный индикатор

На рис.3.4.показано подключение к МК четырех ССИ. В этой схеме МК выдает данные для индикации, последовательно переходя от одного индикатора к другому. Каждая цифра будет высвечиваться в течении очень короткого интервала времени. Это обычно выполняется с помощью подпрограммы обслуживания прерываний таймера. Чтобы избежать мерцания изображения, подпрограмма должна выполняться со скоростью, обеспечивающий включение индикатора, по крайней мере, 50 раз в секунду. Чем больше цифр, тем чаще должны следовать прерывания от таймера. Например, при использовании восьми ССИ цифры должны выводиться со скоростью 400 раз в секунду.

Рис.3.4.Подключение к МК четырех ССИ.

3.2 Разработка и отладка программного обеспечения

 IDE - интегрированная среда разработки для микроконтроллеров PIC micro фирмы Microchip Technology Incorporated. MPLAB IDE позволяет писать, отлаживать и оптимизировать текст программы. MPLAB IDE включает в себя редактор текста, симулятор и менеджер проектов, поддерживает работу эмуляторов (MPLAB-ICE, PICMASTER) и программаторов (PICSTART plus, PRO MATE) фирмы Microchip и других отладочных средств фирмы Microchip и третьих производителей.

Инструментальные средства тематическая помощь, «выпадающие» меню и «назначение горячих» клавиш в MPLAB IDE позволяют:

•получить код программы

•наблюдать выполнение программы с помощью cимулятора, или в реальном времени, используя эмулятор (требуется аппаратная часть);

•определять время выполнения программы;

•просматривать текущее значение переменных и специальных регистров;

•работать с программаторами PIC-STAR и PRO MATE II,

•использовать систему помощи по MPLAB IDE.

MPLAB IDE - интегрированная среда разработки

MPLAB IDE - легкая в освоении и использовании интегрированная среда разработки, работающая под управлением операционных систем Microsoft Windows 3.1 х, 95/98, 2000, NT

MPLAB IDE поддерживает следующие функции:

•создание и редактирование исходных текстов программы,

•объединение файлов в проект,

•отладка кода программы;

•отладка кода программы с использованием симулятора или эмулятора (требуется аппаратная часть).

MPLAB IDE позволяет создавать исходный текст программы в полнофункциональном текстовом редакторе, легко выполнить исправление ошибок при помощи окна результатов компиляции, в котором указываются возникшие ошибки и предупреждения.

Используя менеджер проектов можно указать исходные файлы программы объектные файлы библиотеки и файлы сценария

MPLAB IDE обеспечивает разнообразные средства симуляции и эмуляции исполняемого кода для выявления логических ошибок. Вот их основные особенности:

•большое количество сервисных окон, чтобы контролировать значения регистров памяти данных и выполнение инструкций микроконтроллера;

•окна исходного кода программы, листинга программы, кода программы - позволяют оценить качество компиляции;

•пошаговое выполнение программы, система точек остановки, трассировки, сложных условий предназначена для быстрой и удобной отладки вашей программы.

Средства разработки MPLAB IDE

MPLAB IDE состоит из нескольких модулей, обеспечивающих единую среду разработки.

Менеджер проекта MPLAB, используется для создания и работы с файлами, относящимися к проекту. Позволяет одним щелчком «мыши» выполнить компиляцию исходного текста включить симулятор или внутрисхемный эмулятор и.т.д.

Редактор MPLAB

Предназначен для написания и редактирования исходного текста программы, шаблонов и файлов сценария линкера.

Отладчик MPLAB /CD

Внутрисхемный отладчик для микроконтроллеров семейства PIC16F873.

MPLAB-SIM симулятор

Программный симулятор моделирует выполнение программы в микроконтроллере с учетом состояния портов ввода/вывода

MPLAB ICE эмулятор.

Эмулирует работу микроконтроллера в масштабе реального времени непосредственно в устройстве пользователя

MPASM ассемблер/ MPLINK линкер/ MPLIB редактор библиотек

MPASM компилирует исходный текст программы. MPLINK создает заключительный код программы, связывая различные модули полученные из MPASM MPLAB-C17. MPLAB-C18 MPLIB управляет библиотеками

MPLAB-CXX компиляторы

MPLAB-C17 и MPLAB-C1B выполняют компиляцию текста программы написанному на языке ANSI С Сложные проекты могут состоять и частей написанных на языке С и ассемблера.

Программаторы PRO МАТЕ и PICSTART plus

Работают под управлением MPLAB IDE и предназначены для программирования микроконтроллеров кодом программы, полученной в результате компиляции исходных файлов. Программатор PRO MATE может работать самостоятельно, без использования MPLAB IDE.

Эмуляторы MPLAB-ICE. PICMASTER-CE и PICMASTER

Применяются для моделирования работы микроконтроллера в устройстве пользователя в масштабе реального времени.

Рассматриваемые разделы:

·        Настройка среды проектирования

·        Создание нового простого проекта

·        Создание нового исходного файла

·        Ввод текста программы

·        Компиляция исходного файла

·        Выполнение программы

·        Открытие дополнительных окон

·        Создание окон с переменными

·        Сохранение окон с переменными

·        Установка точек остановки

Настройка среды проектирования

Рассмотрим работу в среде на основе конкретного примера.

Рабочий стол среды (Рис.3.5) состоит из:

. Главное текстовое меню

. Графическое меню

. Рабочая область, в которой размещаются открытые окна с файлами, диалогами или другой информацией.

4. Линейка состояния - отображающая текущую настройку системы.

Пояснения работы интегрированной среды разработки будут производиться с использованием симулятора MPLAB SIM. Работа с эмулятором аналогично симулятору за исключением открытия файлов кода только на чтение

Рис.3.5 Рабочий стол среды

Выбираем пункт Options > Development Mode нажмите кнопку Tools для выбора инструментального средства и типа микроконтроллера используемого в проекте (Рис.3.6.)

Рис.3.6 Окно выбора инструментального средства и типа микроконтроллера - Development Mode

Выбираем симулятор MPLAB SIM и микроконтроллер PIC16F84. подтвердите выбор нажатием кнопки Ok. Симулятор инициализирован в линейке состояния на рабочем столе появится микроконтроллер «Р1С16Р84» и режим «SIM». Теперь среда проектирования находится в режиме симулятора для микроконтроллера PIC16F873.

Для работы симулятора MPLAB SIM нужен код программы (файл с расширением HEX), который получается компиляцией исходного текста программы. В нашем случае файл называется tutor84 hex, позже он может быть загружен непосредственно в микроконтроллер с помощью программатора.

Выбираем пункт меню Fife>New и на экране появится диалоговое окно показанное на рисунке рис.3.7.

Рис.3.7 Диалоговое окно Create Project (создание проекта)

Нажимаем кнопку Yes и увидите следующее диалоговое окно рис.3.8.

Рис.3.8 Диалоговое окно New Project(новый проект)

В этом диалоговом окне необходимо указать где вы хотите сохранить проект. В данном случае создается файл tutor84.pjt в каталоге с:\Program Files \MPLAB.

Тип файла PJT будет назначен автоматически. Файлы с таким расширением являются файлами проекта в среде MPLAB IDE Имя проекта, в данном случае tutor84, станет заданным по умолчанию для многих файлов используемых в нашем примере.

Подтверждение имени файла проекта и место его размещение приведет к переходу к следующему диалоговому окну рис.3.9.

Рис.3.9 Диалоговое окно Edit Project

Симулятор, программаторы и эмулятор среды MPLAB IDE используют файлы кода, части которого созданы различными инструментальными средствами: ассемблером компилятором и/или линкером. Несколько различных инструментальных средств могут участвовать в создании шестнадцатеричного кода. Эти инструментальные средства являются частью каждого проекта. Создание проекта позволяет определить, какие инструментальные средства будут участвовать в создании .HEX файла кода

Имена файлов в диалоговом окне указаны правильно. Первоначальная настойка проекта соответствует предварительно установленным значениям по умолчанию

Параметры проекта по умолчанию можно настроить в меню Options> Environment Setup раздел Projects, которые используются только при создании нового проекта.

В списках файлов проекта есть файл tutor84 hex. Выбрав этот файл (нажав на него левой кнопкой «мышки») кнопка Node Properties потемнеет, указывая возможность ее нажатия.

Прежде чем выполнять какие-либо действия необходимо указать правила создания шестнадцатеричного файла. Нажав на кнопку Node Properties, появится диалоговое окно настройки параметров компиляции, показанное на рисунке 3.10.

Рис.3.10 Диалоговое окно Node Properties

Это диалоговое окно содержит параметры настройки указанные по умолчанию, для инструментального средства, показанного в правом верхнем углу (в данном случае для MPASM) В самом простом варианте, проект содержит один исходный файл и один шестнадцатеричный HEX файл.

Диалоговое окно содержит несколько строк и столбцов Как правило, каждая строка соответствует параметру, указываемому в командной строке при вызове инструментального средства Установка параметров отображается в командной строке (Command Line) которая будет использоваться при вызове MPASM средой проектирования MPLAB IDE.

Нажимаем кнопку ОК для сохранения параметров компиляции и возврату к диалоговому окну настройки проекта. (рис.3.11)

Рис.3.11 Диалоговое окно Edit Project

Нажимая кнопку Add Nods. Увидим стандартный диалог выбора файлов (см. рисунок 3.12) с открытой рабочей директорией проекта. Введем имя файла tutor84.asm и нажимаем кнопку ОК.

Рис.3.12 Диалоговое окно Add Node

Вы вернетесь к диалоговому окну редактирования параметров проекта, ниже файла кода tutor84.hex должен появиться файл исходного текста программы tutor84.asm. рис.3.13.

Рис.3.13 Диалоговое окно Edit Project

Нажимаем на кнопку ОК закроет диалоговое окно и возвратит Вас на рабочий стол среды MPLAB IDE к открытому, но еще не названному исходному файлу.

Создание нового исходного файла: Поставьте курсор в любое место пустого, неназванного файла, который был создан автоматически при создании нового проекта. Выберите пункт меню File > Save As укажите файл tutor84.asm. нужную директорию и нажмите кнопку ОК.

Рис.3.14 Диалоговое окно сохранения Save File As

На рабочем столе MPLAB IDE будет открыт пустой файл с новым именем. Имя исходного файла должно быть такое же как и имя проекта, в данном случае tutor84

Если изменить имя исходного файла также придётся изменить имя проекта. Проекты, в которых используется линкер, допускают, чтобы имя файла кода отличалось от имени исходного файла.

Примечание. При использовании в проекте одного исходного файла MPASM имя файла кода программы (HEX) будет такое же, как и у исходного файла (.ASM). Имя проекта и имя файла кода должны быть одинаковые.

3.3 Имитация работы микропроцессорного устройства в среде PROTEUS

Разработка виртуальный модели устройства схема для защиты измерительного прибора от перенапряжения, где 10-вольтовый стабилитрон становится проводящим, если измеряемое напряжение в точке показана с индикатором превосходит напряжение полного отклонения вольтметра, в качестве которого используется миллиамперметр с последовательно включенным реле К1. В этом случае, Симисторная отптопара U1 открывается и пропускает МК ток через светодиод. Таким образом, представленная схема обладает оптической индикацией перенапряжения и одновременно открывает параллельный обходной путь для тока, и тем самым защищает измерительный прибор.

а)

б)

 <#"864029.files/image024.gif">

Рис.4.1 Структурная схемы устройства

ЭП- Электропитание.

МУКСН- Микропроцессорное устройство контроля сетевого напряжения.

РП- Релейное помещение

(Н)- Нагрузка

После сброса флага установки по положению запятой определяется устанавливаемый разряд. Цифровые разряды 0-2 устанавливаются идентично, но имеют различные ограничения по максимальному значению разряда. Нулевой и первый разряды максимально устанавливаются до девяти, а второй разряд может принимать значение не более двойки. После инкрементирования регистра разряда его значение проверяется на максимум, и если оно превышает максимальное, то разряд обнуляется. Установка производится в регистры индикации, поэтому двоично-десятичное установленное значение переводится в двоичный код.

Далее проверяется корректность установленных значений. Если значение больше 255, то устанавливается максимальное значение. Если при установке максимального значения попытаться установить число 100; то установится минимальное значение по превышению напряжения, равное 222В. В зависимости от того, какое значение устанавливается - максимальное или минимальное, производится перезапись значений регистров индикации в соответствующие регистры установки. Значения регистров установки в двоично-десятичном и двоичном формате записываются в энергонезависимую память. -        Таким образом, каждое изменение регистров установки фиксируется в памяти. Это необходимо для того, чтобы после возникновения аварийной ситуации при малом резервном напряжении питания, ранее установленные значения были сохранены. После записи в память производится переустановка регистров индикации новыми значениями и выход из подпрограммы.

Третий разряд индикации может принимать два значения 13 и 14, что соответствует индикации минимального и максимального значения. После установки третьего разряда на индикацию выводится значение, соответствующее данной установке.

Четвертый разряд эффективный, и его установка производится тогда, когда запятая находится за пределами индикации. Фактически устанавливается регистр третьего разряда. При этом возможные установки - 10, 11, 12. При значении регистра, равном 10 (разряд не светится), вывод на индикацию производится с задержкой на один период сетевого напряжения. При других значениях регистра индикация производится через 0,5 и 1с. Завершается установка четвертого разряда переустановкой регистров индикации.

4.2 Принципиальная схема устройства

Принципиальной схемы устройства показана на рис.4.3. Измеряемое напряжение делится делителем напряжения R1, R9 и в случае необходимости ограничивается стабилитроном VD2. Диод VD3 уменьшает значение амплитуды напряжения отрицательного полупериода до допустимого значения, на аналоговый вход. Диод VD1 пропускает на измерительный вход микроконтроллера только положительную часть поделенного сетевого напряжения. Делитель напряжения R7, R8 совместно с стабилитроном VD3 формирует прямоугольные импульсы на входе RB0. По переднему фронту этих импульсов происходит синхронизация работы внутреннего генератора 5мс. Симисторная отпгопара U1 MOC3043 включает реле K1. K сети, нагрузка Rнагр может подключаться через контакты реле К1.1 или переключатель SА1. В режиме ожидания светодиод НL1 мигает с частотой 1Гц. Регулировку выходного напряжения стабилизатора DА1 выполняют резистором R6.

Светодиод НL1 - любой сверхьяркий с малым потребляемым током. Се-мисегментные индикаторы НG1, НG2 можно заменить любыми одиночными индикаторами с общим катодом. При этом, возможно, потребуется подбор гасящих резисторов R11-R18.

Источник питания БП1 - простейший блок из трансформатора, однополупериодного выпрямителя на диоде 1N1004 и конденсатора 470мкФ на напряжение 40В. Первичная обмотка трансформатора должна быть рассчитана на напряжение 400В: Трансформатор блока питания можно составить из двух одинаковых трансформаторов с последовательным включением сетевых и последовательным или параллельным выходных обмоток. Выходное напряжение БП должно быть таким, чтобы при минимально возможном напряжении сети на входе стабилизатора DА1 было постоянное напряжение не менее 7В. Например, если необходима установка минимального напряжения 100В, то напряжение с выхода БП при напряжении сети 220В должно быть 15В.

Реле K1 может быть любым на переменное напряжение питания 220В, оно должно четко срабатывать при минимально допустимом напряжении сети. Контакты реле должны выдерживать ток, потребляемый всеми приборами, включенными одновременно. Если в аварийном режиме будет работать только освещение, то в качестве переключателя SА1 можно взять бытовой выключатель освещения.

Подстрочный резистор R6 типа СП-16ВА можно заменить любым имеющим ограничительные упоры подвижной части.

Микроконтроллер РIС16F873 без переделки платы можно заменить микроконтроллерами РIС16F873А, РIС16F876А. Можно использовать й 40-вывод-ные микроконтроллеры РIС16F874, РIС16F877 с изменением рисунка печатной платы. При этом программа МК в изменении не нуждается, необходимо только правильно установить тип МК в программе программатора.

Налаживание устройства сводится к установке необходимого напряжения питания микроконтроллера. Поскольку источником опорного напряжения для АЦП является напряжение питания микроконтроллера, то и показания индикатора будут зависеть от установленного напряжения. При увеличении напряжения питания вес разряда квантования увеличивается, а следовательно, уменьшаются показания индикатора, и наоборот при уменьшении напряжения питания показания индикатора увеличиваются.

В собранном устройстве извлекают микроконтроллер и включают устройство в сеть. На выводе 2 стабилизатора DА1 резистором R6 устанавливают напряжение питания, равное 5В. Выключают устройство из сети и устанавливают микроконтроллер в панельку. Включают устройство в сеть и контролируют напряжение сети цифровым вольтметром. Перемещением запятой за пределы индикатора кнопкой «Разряд» входят в режим измерения. Изменением номинала резистора R6 добиваются равенства показаний в сети и с выхода микроконтроллера. При этом необходимо следить, чтобы напряжение питания микроконтроллера не превышало 5,5В. Этот вариант возможен, если номиналы резисторов делителя R1,R9 не соответствуют указанным на схеме.

Рис.4.2 Принципиальной схемы устройства автомат защиты от перепадов сетевого напряжения

Принципиальной схемы на работу настроенного устройства можно проверить при помощи автотрансформатора ЛАТР или любого другого трансформатора имеющего большое число отводов от сетевой обмотки, например, покажем структура включения автотрансформатора ЛАТР (на рис.4.4.) силового трансформатора от ламповых приемников или телевизоров.

Рис.4.3 Структура включения автотрансформатора ЛАТР

4.3 Анализ результатов испытания макета устройства

Результаты анализа работы устройства приведены в табл. № 2-3, при ситуации, когда допустимые значения сетевого напряжения изменялись в пределах соответственно Uyнор=±5% и Uyпред=±10%. Работа схемы.

Рассмотрим, на примере отклонения напряжения от номинальных значений. Сетевое напряжение подается на вход встроенного АЦП через делитель напряжения. Мгновенное значение напряжения контролируется микропроцессором в соответствии с заданным алгоритмом. В случае превышения заданного уровня микропроцессор отключает встроенное реле, через контакты которого нагрузка получала питание.

Таблица № 2. Основные технические характеристики

Пределы измерения напряжения

0-50 [В]

Пределы измерения тока

0-9,99 [А]

Пределы срабатывания защиты: по току

от 0,01 до 9,99 с шагом 0,01[А]

По напряжению

Время срабатывания защиты: Среднее при одной включенной защите

 0,075 [мс]

Среднее, при двух включенных защитах

0,15[мс]

Максимальное

1[мс]

Напряжение питания прибора

9-40[В]

Максимальный потребляемый ток

50[мА]


Устройство защиты от перепадов сетевого напряжения предназначено для отключения электрооборудования железнодорожной автоматики, телемеханики и промышленной 1-фазной нагрузки 220В/50Гц мощностью до 3,5кВт (до 16 А) при недопустимых колебаниях напряжения в сети. Органы управления и габаритные размеры устройства автомат защиты от перепадов сетевого напряжения.

Устройство защиты от перепадов сетевого напряжения включается последовательно с нагрузкой, т.е. непосредственно в сетевую розетку, а нагрузка включается в розеточный разъем реле.

При срабатывании устройство защиты от перепадов сетевого напряжения по факту недопустимого повышения понижения напряжения, происходит отключение нагрузки встроенным в Устройство защиты от перепадов сетевого напряжения коммутационным аппаратом. После восстановления параметров напряжения происходит автоматическое включение нагрузки. Время, через которое произойдет автоматическое включение нагрузки, задается пользователем.

Для исключения излишнего срабатывания устройство защиты от перепадов сетевого напряжения при незначительных и/или кратковременных посадках напряжения, предусмотрена фиксированная временная задержка при срабатывании по минимальному напряжению.

В случае глубокого снижения напряжения (более, чем на 30В от выставленной установки по минимальному напряжению) отключение происходит за 0,1сек.

Перед включением в сеть необходимо выставить с помощью выведенных на лицевую панель ручек потенциометров значения максимального и минимального напряжения, при котором должно срабатывать. Устройство защиты от перепадов сетевого напряжения, а также время автоматического повторного включения в зависимости от того, какой прибор будет защищать. Устройство защиты от перепадов сетевого напряжения кондиционеры, холодильники и другие компрессорные приборы допускают повторное включение не менее, чем через 3-4 мин, другие приборы - согласно их инструкций по эксплуатации.

Регулируемые уставки выставляются потребителем. Рекомендуется выставлять уставки до включения в сеть.

При включении в сеть нагрузка включается с задержкой времени, равной времени повторного включения, выставленного потенциометром Т вкл. Покажем на рис.4.4. Характеристики завистно, напряжениями и времени U и T

Рис. 4.4 График ограничения напряжения устройства

Устройство защиты от перепадов сетевого напряжения имеет световую индикацию наличия напряжения в сети, т.е. на входе, и наличия напряжения на выходе. Устройство защиты от перепадов сетевого напряжения, т.е. на защищаемом приборе (гаснет при срабатывании, Устройство защиты от перепадов сетевого напряжения).

Таблица № 3. Технические характеристики Устройство защиты от перепадов сетевого напряжения

Номинальное напряжение, В

220

Частота сети, Гц

45 - 55

Диапазон регулирования:

-срабатывания по Umin, В

170 - 215

-срабатывания по Umах, В

220 - 280

-время автоматич. повторного вкл.

5 - 250

Фиксированное время срабатывания по Umах, сек

0,1

Фиксированная задержка отключения по Umin, сек

12

Фиксированное время срабатывания при снижении напряжения более чем на 30В от выставленнойуставки по Umin, сек

0,1

Максимальный коммутируемый ток , А , не более, при Cosφ=1 при Cos φ=0,4

 16 5

Точность определения порога срабатывания по U, В

до 3

Напряжение, при котором сохраняется работоспособность, В

400

Кратковременно допустимое максимальное напряжение, при котором сохраняется работоспособность, В

450

Диапазон рабочих температур, С

-35 - + 55

Температура хранения, С

-45 - + 70

Суммарный ток потребления от сети, мА

до 15

Коммутационный ресурс

не менее 100 тыс.раз


Отличительные особенности Устройство защиты от перепадов сетевого напряжения.

1. Наличие регулируемых в широком диапазоне уставок (Umах, Umin, время повторного включения).

. При срабатывании по Umin предусмотрена фиксированная временная задержка.

. При глубоком понижении напряжения более 170В от выставленной уставки по Umin. предусмотрено фиксированное время (0,1сек) срабатывания.

. Наличие индикации напряжения сети на входе и напряжения на выходе.

.Коэффициент возврата (гистерезис) по отключению/включению как по Umах, так и по Umin около 5В. Так, например, после срабатывания.

Устройство защиты от перепадов сетевого напряжения по снижению напряжения ниже Umin и отключения нагрузки, автоматическое повторное включение нагрузки произойдет после повышения напряжения на 5В выше выставленного Umin с выдержкой времени, равной Твкл.
6. Малогабаритность и небольшой вес, Устройство защиты от перепадов сетевого напряжения.

ВЫВОДЫ

Работу устройства можно проверить при помощи автотрансформатора ЛАТР или любого другого трансформатора имеющего большое число отводов от сетевой обмотки.

Получены результаты анализа работы устройства.

Отличительные особенности устройства защиты от перепадов сетевого напряжения.

1. Наличие регулируемых в широком диапазоне уставок (Umах, Umin, время повторного включения).

. При срабатывании по Umin предусмотрена фиксированная временная задержка.

. При глубоком понижении напряжения более 170В от выставленной уставки по Umin. предусмотрено фиксированное время (0,1сек) срабатывания.

. Наличие индикации напряжения сети на входе и напряжения на выходе.

.Коэффициент возврата (гистерезис) по отключению/включению как по Umах, так и по Umin около 5В. Так, например, после срабатывания.

Устройство защиты от перепадов сетевого напряжения по снижению напряжения ниже Umin и отключения нагрузки, автоматическое повторное включение нагрузки произойдет после повышения напряжения на 5В выше выставленного Umin с выдержкой времени, равной Твкл.

ЗАКЛЮЧЕНИЕ

Основными результатами, диссертации являются:

·    построен макет микропроцессорного устройства контроля сетевого напряжения, который контролирует напряжения в сети железнодорожных устройств и обеспечивает их безопасность;

·        разработано программное обеспечение, для данного устройства на языке Ассемблер и был получен hex файл для PIC процессора;

·        hex файл был загружен в память PIC с помощью программа PROTEUS и программатора;

·        работоспособность разработанного устройства было проверено при помощи автотрансформатора ЛАТР в лабораторных условиях;

·        при проверке работоспособности устройства было выявлено, что оно работает в переделе сетевой напряжения от 170 В до 280 В;

Список используемой литературы

1.Заец Н. И. Милливольтметр // Радио 2005. № 1. С. 23-25.

2.Сидорович О. Электронный предохранитель // Радио. 2003. № 12. С. 40.

3.Нечаев И. Электронный предохранитель // Радио. 2004. № 3. С. 37.

4.  Виноградов Ю. Стабилизатор питания для портативной радиостанции // Радио. 2002. -№11. С. 66.

5.  Коломоец Е. Лабораторный блок питания с комплексной защитой // Радио. 2004! № 7. С. 36-38.

6.  Бастанов В. Г. 300 практических советов. М.: Московский рабочий. 1993. С. 35.

7.  Мощные полевые переключательные транзисторы фирмы 1мегпахюпа1 КесгШег // Радио. 2001. № 5. С. 45.

8.  Заец Н. И. Цифровое устройство защиты с функцией измерения // Радио. 2005. № 1. С. 32-34.

9.  Нечаев И. Автомат защиты сетевой аппаратуры от «скачков» напряжения // Радио. 1996. № 10. С. 48.

10.Нечаев И. Устройство защиты радиоаппаратуры от превышения сетевого напряжения // Радио. 1997. № 6. С. 44.

11.Зеленин А. Полуавтомат защиты радиоаппаратуры от «перепадов» напряжения сети // Радио. 1998. № 10. С. 73.

12.Квятковский В. Устройство защиты радиоаппаратуры от превышения сетевого напряжения // Радио. 1999. № 10. С. 39.

13; Нечаев И. Устройство защиты аппаратуры от колебаний напряжения сети Радио. 2001. № 1. С. 33.

14.Шрайбер А. Устройство защиты от перепадов напряжения электросети // Радио. 2001. № 2. С. 46, 47.

15.Короткое И. Устройство защиты бытовых приборов от аномальных напряжений в сети // Радио. 2001. № 8. С. 39.

ПРИЛОЖЕНИЕ

Программное обеспечение устройства

Защита электрооборудования от перепадов сетевого напряжения устройства с уровня защита +35:-120В программа, Ассемблер и отладчик: MPLAB IDE, версия 8.00. Загрузим файл:_.asm

;ПОРТ С-ВЫХОД КАТОДОВ.

;ПОРТ В-ВЫХОД СЕГМЕНТОВ.

;RA0-АНАЛОГОВЫЙ ВХОД 1 НАПРЯЖЕНИЯ.

;RA1-АНАЛОГОВЫЙ ВХОД 2 ИЗМЕРЕНИЯ ТОКА.

;RA2-УПРАВЛЕНИЕ.

;RA4-ВХОД КНОПКИ "УСТАНОВКА".

;RA5-ВХОД КНОПКИ "РАЗРЯД".

;РЕГИСТРЫ РСН EQU 00H ;ДОСТУП К ПАМЯТИ ЧЕРЕЗ FSR. EQU 01H ;TMR0. EQU 81H ;OPTION (RP0=1). EQU 02H ;СЧЕТЧИК КОМАНД.EQU 03H ;РЕГИСТР СОСТОЯНИЯ АЛУ. EQU 04H ;РЕГИСТР КОСВЕННОЙ АДРЕСАЦИИ. EQU 05H ;ПОРТ А ВВОДА/ВЫВОДА. EQU 06H ;ПОРТ В ВВОДА/ВЫВОДА. EQU 07H ;ПОРТ С ВВОДА/ВЫВОДА. EQU 85H ;НАПРАВЛЕНИЯ ДАННЫХ ПОРТА А. EQU 86H ;ПОРТ В ВВОДА/ВЫВОДА. EQU 87H ;ПОРТ С ВВОДА/ВЫВОДА. EQU 0BH ;РЕГИСТР ФЛАГОВ ПРЕРЫВАНИЙ. EQU 8CH;РЕГИСТР РАЗРЕШЕНИЯ ПЕРИФЕРИЙНЫХ ПРЕРЫВАНИЙ.EQU 1EH ;СТАРШИЙ БАЙТ АЦП.EQU 9EH ;МЛАДШИЙ БАЙТ АЦП. EQU 1FH ;РЕГИСТР УПРАВЛЕНИЯ АЦП. EQU 9FH ;РЕГИСТР УПРАВЛЕНИЯ ВХОДАМИ "ADP".EQU 10CH ;РЕГИСТРЫ ЗАПИСИ/СЧИТЫВАНИЯ EQU 10DH ;EQU 10EH ;EQU 10FH ;N1 EQU 18CH ;

;ОПРЕДЕЛЕНИЕ РОНEQU 20H ;ДВОИЧНОЕ ИЗМЕРЕННОЕ ЗНАЧЕНИЕEQU 21H ;НАПРЯЖЕНИЯ ИЛИ ТОКА.EQU 22H ;РЕГИСТР СЕГМЕНТОВ.

СЕК EQU 23H ;ВРЕМЯ ПАУЗЫ.EQU 24H ;ВРЕМЕННЫЙ.EQU 25H ;ВРЕМЕННЫЙ.EQU 26H ;РЕГИСТР ФЛАГОВ.EQU 27H ;ДВОИЧНОЕ ЗНАЧЕНИЕ КАТОДА.EQU 28H ;ВРЕМЕННЫЙ.EQU 29H ;ВРЕМЕННЫЙ.EQU 2AH ;РЕГИСТРЫ ПЕРЕКОДИРОВКИ 2 -> 2_10.

СОА EQU 2BH ;EQU 2CH ;EQU 30H ;РЕГИСТРЫ ИНДИКАЦИИ НАПРЯЖЕНИЯ 0.EQU 31H ;1.EQU 32H ;2.EQU 33H ;РЕГИСТРЫ ИНДИКАЦИИ ТОКА, 0.EQU 34H ;1.EQU 35H ;2.EQU 36H ;РЕГИСТР ИНДИКАЦИИ БУКВЫ ТОКА. EQU 37H ;ПОЗИЦИОННОЕ ЗНАЧЕНИЕ КАТОДА.EQU 38H ;ЗАПЯТОЙ.EQU 39H ;СЧЕТЧИК ПЕРЕКОДИРОВКИ.EQU 3AH ;ВРЕМЕННЫЕ ДЛЯEQU 3BH ;ПЕРЕКОДИРОВКИ (2_10 -> 2) EQU 3CH ;EQU 3DH ;EQU 42H ;РЕГИСТРЫEQU 43H ;УСТАНОВКИ ЗАЩИТЫEQU 44H ;ПО ТОКУ.EQU 45H ;ДВОИЧНОЕ ЗНАЧЕНИЕ УСТАНОВОКEQU 46H ;МЛАДШИЙ И СТАРШИЙ РЕГИСТР.EQU 47H ;РЕГИСТРЫEQU 48H ;УСТАНОВКИ ЗАЩИТЫ EQU 49H ;ПО.EQU 4AH ;ДВОИЧНОЕ ЗНАЧЕНИЕ УСТАНОВОКEQU 4BH ;МЛАДШИЙ И СТАРШИЙ РЕГИСТР.EQU 4CH ;ИНДИКАЦИИ ЗАПЯТОЙ ТОКА.EQU 4EH ;СЧЕТЧИК ЦИКЛОВ ИЗМЕРЕНИЯ.EQU 50H ;ЗАПЯТАЯ ПО НАПРЯЖЕНИЮ.EQU 51H ;ФЛАГ ВКЛЮЧЕНИЯ ЗАЩИТЫ.EQU 52H ;РЕГИСТР ВКЛЮЧЕНИЯ ЗАЩИТЫ ПО ТОКУ ПРИ РАБОТЕ.EQU 53H ;РЕГИСТР ВКЛЮЧЕНИЯ ЗАЩИТЫ ПО НАПРЯЖЕНИЮ ПРИ РАБОТЕ.EQU 54H ;РЕГИСТР ВКЛЮЧЕНИЯ ЗАЩИТЫ ПО ТОКУ ПРИ УСТАНОВКЕ.EQU 55H;РЕГИСТР ВКЛЮЧЕНИЯ ЗАЩИТЫ ПО НАПРЯЖЕНИЮ ПРИ УСТАНОВКЕ.

;ОПРЕДЕЛЕНИЕ БИТОВ РЕГИСТРА FLAG.

;0->ИНДИКАЦИЯ: 1-НАПРЯЖЕНИЕ 0-ТОК.

;2->ВЫХОД ВЫКЛЮЧЕН.

;3->НАЖАТА КНОПКА УСТАНОВКИ.

;4->НАЖАТА КНОПКА ВЫБОРА РАЗРЯДА.

;5->1-РАБОТА 0-УСТАНОВКА.

;6->0,5 СЕКУНД НАПРЯЖЕНИЯ.

;7->0,5 СЕКУНД ТОКА.

;ОПРЕДЕЛЕНИЕ БИТОВ РЕГИСТРА FLAG1.

;О-ВЫКЛЮЧЕНИЯ ЗАЩИТЫ ПО ТОКУ 1=ВЫКЛЮЧЕНО.

;1-ВЫКЛЮЧЕНИЯ ЗАЩИТЫ ПО НАПРЯЖЕНИЮ 1=ВЫКЛЮЧЕНО.

;1.ПУСК 0INIT4PRER

;2.ТАБЛИЦА СЕГМЕНТОВ ДЛЯ ОБЩЕГО КАТОДА.;7, 6, 5, 4, 3, 2, 1, 0. PCL,F ;Н, G, F, E, D, С, В, А.

;КАТОД АНОДВ'00111111' ;0 В'11000000'В'00000110' ;1 B'11111001'В'01011011' ;2 В'10100100'В'01001111' ;3 В'10110000'B'01100110' ;4 В'10011001'В'01101101' ;5 В'10010010'В'01111101' ;6 В'10000010'B'00000111' ;7 В'11111000' B'01111111' ;8 B'10000000'B'01101111 ;9 B'10010000'B'00011100' ;10 u НИЖНЕЕ, С ЗАЩИТОЙ. В'00000100' ;11 i НИЖНЕЕ, С ЗАЩИТОЙ.В'01101110' ;12 yB'00000010' ;13 i ВЕРХНЕЕ, БЕЗ ЗАЩИТЫ. В'01100010' ;14 u ВЕРХНЕЕ, БЕЗ ЗАЩИТЫ. 0 ;15 ПУСТО.

;3.ПЕРЕВОД ДЕСЯТКОВ В 2 КОД.PCL,1.0.10.20.30.40.50.60.70.80.90

;4.ВЫБОР РАЗРЯДА УСТАНОВКИPORTA 4 ;ПОКА КНОПКА НАЖАТА;ВЫБОРА НЕТ FLAG,3 ;СБРОСИМ ФЛАГ УСТАНОВКИFLAG,5 ;ЕСЛИ БЫЛА РАБОТАBYCT ;ZPT ;ТО УСТАНОВИМ ЗАПЯТУЮ В 0 РАЗРЯДFLAG,5 ;И СБРОСИМ ФЛАГ РАБОТЫ (УСТАНОВКА)PORTA,2 ;ПРИ УСТАНОВКЕ НАГРУЗКА ВЫКЛЮЧАЕТСЯFLAG,2 ;УСТАНОВИМ ФЛАГ ВЫКЛЮЧЕННОЙ НАГРУЗКИZYTI ;ИНДИКАЦИЯ БУКВЫTUI ;У ПРИ УСТАНОВКЕZYTU ;TUU ;Y_I ;ВЕРНЕМСЯ ДО ПОВТОРНОГО НАЖАТИЯ КНОПКИY_U ;ZPT ;ГДЕ ЗАПЯТАЯ ТОТ РАЗРЯД И УСТАНАВЛИВАЕМ.РС,1 ;YCT0 ;YCT1 ;YCT2 ;YCT3 ;YCT4 ;YCT5 ;YCT6 ;YCT7 ;

;5.ИНДИКАЦИЯ..254 ;УСТАНАВЛИВАЕМ НУЛЕВОЙ РАЗРЯД ВANOD ;ПОЗИЦИОННОЕ ЗНАЧЕНИЕ КАТОДАANOD2 ;ОБНУЛИМ ДВОИЧНОЕ ЗНАЧЕНИЕ АНОДА (КАТОДА)

MOVFW ZPT ;ЗАПЯТУЮ ПО ТОКУZPTI ;В РЕГИСТР ИНДИКАЦИИFLAG,0 ;СБРОСИМ ФЛАГ ИНДИКАЦИИ НАПРЯЖЕНИЯIEDI ;ЗАГРУЖАЕМ РЕГИСТР ИНДИКАЦИИINDZ ;ПРОИНДИЦИРУЕМZDEM ;ПАУЗАIDEI ;ВСЕ ОСТАЛЬНЫЕ РАЗРЯДЫ-INDZ ;АНАЛОГИЧНО НУЛЕВОМУZDEM ;ПАУЗАICOI ;INDZ ;ZDEM ;ПАУЗА.TUI ;ИНДИКАЦИЯ СИМВОЛА ТОКА-i.INDZ ;ZDEM ;ПАУЗА.FLAG,5 ;$+3 ;ZPTU ;ЗАПЯТАЯ ПО НАПРЯЖЕНИЮ ZPTI ;В РЕГИСТР ИНДИКАЦИИ. UEDI ;ЗАГРУЖАЕМ РЕГИСТР ИНДИКАЦИИ.INDZ ;ПРОИНДИЦИРУЕМ.ZDEM ;ПАУЗА. UDEI ;INDZ ;ИНДИКАЦИЯZDEM ;ПАУЗА. UCOI ;INDZ ;ZDEM ;ПАУЗА. TUU ;ИНДИКАЦИЯ СИМВОЛА НАПРЯЖЕНИЯ - u.INDZ ;KHO ;ZDEM ;ПАУЗА.IND ;НА ИНДИКАЦИЮ НУЛЕВОГО РАЗРЯДА.SEGDATA ;ОПРЕДЕЛИМ СЕМИСЕГМЕНТНОЕ ЗНАЧЕНИЕ. SEG ;ЗАПИШЕМ ЕГО В РЕГИСТР. ZPTI ;СРАВНИМ РАЗРЯД ЗАПЯТОЙ ANOD2,0 ;С РАЗРЯДОМ ИНДИКАЦИИ.;ЕСЛИ ОНИ НЕ СОВПАДАЮТ, ТО ПРОПУСТИМ

;УСТАНОВКУ.

BSF SEG,7 ;ВКЛЮЧИМ СЕГМЕНТ ЗАПЯТОЙ.INTCON,7;SEG ;ПЕРЕПИШЕМ ЗНАЧЕНИЕ PORTB ;В ПОРТ В. ANOD ;ВКЛЮЧИМ РАЗРЯД. PORTC ;В ПОРТ С.INTCON,7 ;STATUS,0 ;НУЛЕВОЙ РАЗРЯД -1, ЧТОБЫ В КАТОД

;ЗАПИСАЛАСЬ 1.

RLF ANOD,l ;СДВИНЕМ НОЛЬ НА РАЗРЯД ВЛЕВО.ANOD2,1 ;УВЕЛИЧИМ ДВОИЧНОЕ ЗНАЧЕНИЕ АНОДА

;(КАТОДА).;ВЕРНЕМСЯ.

MOVLW.10 ;ПАУЗА=10 ЦИКЛАМ ПРОВЕРКИ ТОКА COUN ;И НАПРЯЖЕНИЯ. ADPI. ;ПРОВЕРИМ ТОК.FLAG,0 ;УСТАНОВИМ ФЛАГ ИНДИКАЦИИ НАПРЯЖЕНИЯ.ADPU ;ПРОВЕРИМ НАПРЯЖЕНИЕ.FLAG,0 ;СБРОСИМ ФЛАГ ИНДИКАЦИИ НАПРЯЖЕНИЯ. COUN,1 ;$-5 ;ПОВТОРИМ.;

;6.АЦП-ПРЕОБРАЗОВАНИЯ (ИЗМЕРЕНИЕ ВХОДНЫХ ВЕЛИЧИН) FLAG,5 ;ИЗМЕРЕНИЯ ТОКА НЕТ, ЕСЛИ;ИДЕТ УСТАНОВКА.STATUS,5 ;ПЕРЕХОДИМ В БАНК 1. ВКЛЮЧАЕМ ВХОД ТОКА. B'10000100';RА0, RA1-ВХОДЫ ПОРТА "А" АНАЛОГОВЫЕ.ADCON1^80H ;STATUS,5 ;БАНК 0.B'11001001' ;СИНХРОНИЗАЦИЯ ОТ RC ADCONO ;ГЕНЕРАТОРА, ВХОД 1, ВКЛЮЧЕНИЕ АЦП (YBX).ZAD ;ПАУЗА.INTCON,7 ;ЗАПРЕТ ПРЕРЫВАНИЯ.ADCONO,2 ;ВКЛЮЧИМ ПРЕОБРАЗОВАНИЕ. ADCONO,2 ;ОЖИДАЕМ ЗАВЕРШЕНИЯ $-1 ;ПРЕОБРАЗОВАНИЯ. ADRESH ;ПЕРЕПИШЕМ РЕЗУЛЬТАТ ПРЕОБРАЗОВАНИЯ TEKH ;В СТАРШИЙ ТЕКУЩИЙ РЕГИСТР.STATUS,5 ;ПЕРЕХОДИМ В БАНК 1. 21 ; FSR ;ПО КОСВЕННОЙ АДРЕСАЦИИ ADRESL ;ЗАПИСЬ МЛ. РЕГИСТРА АЦП INDF ;В РЕГИСТР TEKL. STATUS,5 ;ПЕРЕХОДИМ В БАНК 0.INTCON,7 ;РАЗРЕШАЕМ ПРЕРЫВАНИЯ. FLAG1,0 ;ЕСЛИ ЗАЩИТА ВЫКЛЮЧЕНА, ТО СРАВНЕНИЯ НЕТ, COMPA ;СРАВНИМ С УСТАНОВКОЙ. FLAG,7 ;ЕСЛИ 0,5 сек НЕ ПРОШЛО,;ТО НАПРЯЖЕНИЕ НЕ ИНДИЦИРУЕТСЯ. BINDEC ;ПЕРЕКОДИРУЕМ В 2_10 КОД. FLAG,5 ;ИЗМЕРЕНИЯ НАПРЯЖЕНИЯ НЕТ, ЕСЛИ;ИДЕТ УСТАНОВКА. STATUS,5 ;ПЕРЕХОДИМ В БАНК 1. ВКЛЮЧАЕМ ВХОД

;НАПРЯЖЕНИЯ. B'10000100' ;ПРАВОЕ ВЫРАВНИВАНИЕ. ADCONl^8OH ;0,1 ВХОДЫ ПОРТА "А" АНАЛОГОВЫЕ.STATUS,5 ;БАНК 0.B'11000001' ;СИНХРОНИЗАЦИЯ ОТ RC ADCONO ;ГЕНЕРАТОРА, ВХОД 0, ВКЛЮЧЕНИЕ АЦП (YBX)ZAD ;ПАУЗА.INTCON,7 ;ЗАПРЕТ ПРЕРЫВАНИЯ.ADCONO,2 ;ВКЛЮЧИМ ПРЕОБРАЗОВАНИЕ. ADCONO,2 ;ОЖИДАЕМ ЗАВЕРШЕНИЯ $-1 ;ПРЕОБРАЗОВАНИЯ. ADRESH ;ПЕРЕПИШЕМ РЕЗУЛЬТАТ ПРЕОБРАЗОВАНИЯ TEKH ;В СТАРШИЙ ТЕКУЩИЙ РЕГИСТР.STATUS,5 ;ПЕРЕХОДИМ В БАНК 1. 21 ; FSR ;ПО КОСВЕННОЙ АДРЕСАЦИИ ADRESL ;ЗАПИСЬ МЛ. РЕГИС1РА АЦП INDF ;В РЕГИСТР TEKL.STATUS,5 ;ПЕРЕХОДИМ В БАНК 0.INTCON,7 ;РАЗРЕШАЕМ ПРЕРЫВАНИЯ. FLAG1,1 ;ЕСЛИ ЗАЩИТА ВЫКЛЮЧЕНА, ТО СРАВНЕНИЯ НЕТ. COMPU ;СРАВНИМ С УСТАНОВКОЙ. FLAG,6 ;ЕСЛИ 0,5 сек НЕ ПРОШЛО,;ТО НАПРЯЖЕНИЕ НЕ ИНДИЦИРУЕТСЯ.BINDEC ;ПЕРЕКОДИРУЕМ В 2_10 КОД..5 ;ЗАДЕРЖКА 20 мкс -1 ;ДЛЯ ЗАРЯДА КОНДЕНСАТОРА УВХ. STATUS,2 ; $-2 ;ПОВТОРИМ.;

;7.СРАВНЕНИЕ С УСТАНОВКОЙ.

СОМРАYCTH ;УСТАНОВКА МИНУС TEKH,0 ;ИЗМЕРЕНИЕ, STATUS,2 ;ЕСЛИ РАВЕНСТВО, VUKL ;STATUS,0 ;ТО ВЫХОД НЕ ВЫКЛЮЧАЕТСЯ. YCTL ;УСТАНОВКА МИНУС TEKL,0 ;ИЗМЕРЕНИЕ,

BTFSC STATUS,0 ;ЕСЛИ РАВЕНСТВО, VUKL ;ТО ВЫХОД ВЫКЛЮЧАЕТСЯ.FLAG,2 ;ЕСЛИ ВЫХОД УЖЕ ВЫКЛЮЧЕН,;СРАВНЕНИЙ НЕТ.STATUS,0 ;ЕСЛИ БИТ ПЕРЕНОС А=0,PORTA,2 ;ВКЛЮЧИМ ВЫХОД.STATUS,0 ;ЕСЛИ БИТ ПЕРЕНОС А=1,

BCF PORTA,2 ;ВЫКЛЮЧИМ ВЫХОД. FLAG,2 ;СРАВНЕНИЙ НЕТ.;YCTHU ;УСТАНОВКА МИНУСTEKH,0 ;ИЗМЕРЕНИЕ,STATUS,2 ;ЕСЛИ РАВЕНСТВО,VUKL ;STATUS,0 ;ТО ВЫХОД НЕ ВЫКЛЮЧАЕТСЯ. YCTLU ;УСТАНОВКА МИНУС TEKL,0 ;ИЗМЕРЕНИЕ, STATUS,0 ;ЕСЛИ РАВЕНСТВО, VUKL ;ТО ВЫХОД ВЫКЛЮЧАЕТСЯ.;

;8.ПЕРЕКОДИРОВКА ИЗ 16-РАЗРЯДНОГО 2-ГО В 5-РАЗРЯДНОЕ 2-10-Е.

;АЛГОРИТМ ПЕРЕКОДИРОВКИ ОСНОВЫВАЕТСЯ НА ПРИБАВЛЕНИИ 3 В МЛАДШИЙ

;И СТАРШИЙ ПОЛУБАЙТЫ. ЕСЛИ РЕЗУЛЬТАТ С ПЕРЕНОСОМ 1 В 3 РАЗРЯД (10=7+3),

;ТО ЗАПИСЫВАЕМ НОВОЕ ЗНАЧЕНИЕ В РЕГИСТР.

;ВЫПОЛНЯЕМ 16 РАЗ, СДВИГАЯ БИТЫ РЕГИСТРОВ..16 ;ЗАПИШЕМ ЧИСЛО СДВИГОВCOU ;B СЧЕТЧИК.STATUS,0 ;ОБНУЛИМ БИТ "С".TEKL,1 ;СДВИНЕМ ПЕРЕКОДИРУЕМОЕ TEKH,1 ;ЧИСЛО, ПЕРЕМЕЩАЯ ЕГО СТАРШИЙ БИТEDA,1 ;В МЛАДШИЙ БИТ РЕГИСТРОВDEA,1 ;РЕЗУЛЬТАТА. COU,1 ;ЗАФИКСИРУЕМ СДВИГ В СЧЕТЧИКЕ. RASDEC ;ПРОВЕРИМ ПОЛУБАЙТЫ НА СЕМЕРКУ. FLAG,0 ;ЕСЛИ СЧЕТЧИК ПУСТ,ЗАПОЛНИМ

;РЕГИСТРЫ ИНДИКАЦИИ MESTOU ;НАПРЯЖЕНИЯ ИЛИMESTOI ;ТОКА.EDA ;ЗАПИШЕМ АДРЕС РЕГИСТРА FSR ;В РЕГИСТР КОСВЕННОЙ АДРЕСАЦИИ. BCD ;ПРОВЕРИМ ЗНАЧЕНИЕ РЕГИСТРА НА 7. DEA ;АНАЛОГИЧНЫЕ ОПЕРАЦИИ ПРОДЕЛАЕМ FSR ;С ДРУГИМИ РЕГИСТРАМИ. BCD ; BIDE ;ПОЙДЕМ ПОВТОРЯТЬ СДВИГ. 3 ;00000011   0,0 ;ПРИБАВИМ 3 К РЕГИСТРУ И РЕЗУЛЬТАТ TEMP ;ЗАПИШЕМ ВО ВРЕМЕННЫЙ РЕГИСТР. TEMP,3 ;ПРОВЕРИМ 3 БИТ И, ЕСЛИ ОН РАВЕН НУЛЮ, 0 ;ПРОПУСКАЕМ ЗАПИСЬ РЕЗУЛЬТАТА В РЕГИСТР. 30 ;48=0011 0000 0,0 ;ПРИБАВИМ 3 К СТАРШЕМУ ПОЛУБАЙТУ РЕГИСТРА И

;РЕЗУЛЬТАТ TEMP ;ЗАПИШЕМ ВО ВРЕМЕННЫЙ РЕГИСТР. TEMP,7 ;ЕСЛИ БИТ ЕДИНИЧНЫЙ,;ТО ЗАПИШЕМ НОВОЕ ЗНАЧЕНИЕ В РЕГИСТР. ;ВЕРНЕМСЯ ДЛЯ ЗАГРУЗКИ НОВОГО ЗНАЧЕНИЯ РЕГИСТРА.

;9.ИЗВЛЕКАЕМ ПОЛУБАЙТЫ ИЗ РЕГИСТРОВ СЧЕТА В РЕГИСТРЫ ИНДИКАЦИИ.FLAG,6 ;ЕСЛИ 0,5 сек НЕ ПРОШЛО,;TO ВЕРНЕМСЯ.B'00001111' ;ИЗВЛЕКАЕМ ПОЛУБАЙТЫ DEA, 0 ;В РЕГИСТРЫ ИНДИКАЦИИUCOI ;НАПРЯЖЕНИЯ.B'00001111' ;EDA,0 ;UDEI ;UDEI,1 ;B'00001111' ;EDA,0 ; UEDI ; EDA ; DEA ;COA ;FLAG,6 ;СБРОСИМ ФЛАГ 0,5 сек.; FLAG,7 ;ЕСЛИ 0,5 сек НЕ ПРОШЛО,;ТО ВЕРНЕМСЯ. B'00001111' ;ИЗВЛЕКАЕМ ПОЛУБАЙТЫ DEA,0 ;В РЕГИСТРЫ ИНДИКАЦИИICOI ;ТОКА.B'11110000';        EDA,0 ;IDEI ;IDEI,1 ;B'00001111' ;         EDA,0 ; IEDI ; EDA ;DEA ;COA ;FLAG,7 ;БРОСИМ ФЛАГ 0,5 сек.;

;10.СОХРАНЕНИЕ И ВОССТАНОВЛЕНИЕ ЗНАЧЕНИЙ РЕГИСТРОВ ПРИ ПРЕРЫВАНИИ. WTEMP ;СОХРАНЕНИЕ ЗНАЧЕНИИ РЕГИСТРОВ W И STATUS ;STATUS, STEMP ; FSR ;FSR. FTEMP ;STATUS,6 ; STATUS,5 ; СЕК,1 ;ДЕЛИТЕЛЬ НА 10. .8 ;ЧИСЛО РАВНО ДЕСЯТЫМ СЕКУНД. СЕК, 0 ;ДЛЯ ПЕРЕЗАПИСИ В РЕГ. ИНДИКАЦИИ. STATUS,2 ;ЕСЛИ РАВНО 10, REPER ; СЕК ;ОБНУЛИМ.FLAG,6 ;ПРОШЛО 0,5 сек.FLAG,7 ;ПРОШЛО 0,5 сек.;ВОССТАНОВЛЕНИЕ СОХРАНЕННЫХ ЗНАЧЕНИЙSTEMP ;ВОССТАНОВЛЕНИЕ РЕГИСТРОВ:STATUS ;STATUS, FTEMP ;SR ;FSR,WTEMP ;W.INTCON,2 ;СБРАСЫВАЕМ ФЛАГ ПРЕРЫВАНИЯ ОТ TMR0.;ВОЗВРАТ ИЗ ПРЕРЫВАНИЯ.

;11ИНИЦИАЛИЗАЦИЯ.STATUS,RP1 ;STATUS,RPO ;ПЕРЕХОДИМ В БАНК 1.B'00000111' ;OPTION_REG^80H ;ПРЕДДЕЛИТЕЛЬ ПЕРЕД ТАЙМЕРОМ,

К=256=...111.

MOVLW B'10100000' ;РАЗРЕШЕНИЕ ПРЕРЫВАНИЙ ОТ TMR0. INTCON ;РIЕ1^80Н ;ЗАПРЕЩЕНЫ ВСЕ ПЕРИФЕРИЙНЫЕ ПРЕРЫВАНИЯ,

CLRF РIЕ2^80НB'00111011' ;RA0, RA1-АНАЛОГОВЫЕ ВХОДЫ.TRISA^80H ;TRISB^80H ;ВСЕ-ВЫХОДЫ СЕГМЕНТОЬTRISC^80H ;ВЫХОДЫ УПРАВЛЕНИЯ АНОДАМИ.STATUS,RPO ;ПЕРЕХОДИМ В БАНК 0.PORTB;T1CON ;ТАЙМЕР 1 ОТКЛЮЧЕН. T2CON ;ТАЙМЕР 2 ОТКЛЮЧЕН. FLAG ;BCЕ ОБНУЛЯЕМ И УСТАНАВЛИВАЕМ.UEDIUDEIUCOIIEDIIDEIICOI FLAG1 АКТ ;ВЫБОРКА ИЗ ПАМЯТИ УСТАНОВОК. .12 ;БУКВА У TUI ;В РЕГИСТРЫ ИНДИКАЦИИ ТОКА И TUU ;НАПРЯЖЕНИЯ, ZYTI ;УСТАНОВКИ ТОКА ZYTU ;И НАПРЯЖЕНИЯ..11 ;БУКВА ВНИЗУ.ZTI ;.10 ;БУКВА ВНИЗУ.ZTU ;СЕКZPTZPTU IND ;НА ИНДИКАЦИЮ.

;12. УСТАНОВКА ЗНАЧЕНИЙ РАЗРЯДОВ. EDY,1 ;РАЗРЯД.УСТАНАВЛИВАЕТСЯ ДО 9..10 ;EDY,0 ;STATUS,0 ;ЕСЛИ РАВНО,EDY ;ОБНУЛИМ.STATUS,6 ;БАНК 2.EEADR ;НУЛЕВОЙ АДРЕС.STATUS,6 ;БАНК 0. EDY ;АДРЕС ПЕРВОЙ ЗАПИСИ В EEDATA. TEMP ;ВО ВРЕМЕННЫЙ РЕГИСТР. ZAPIS ;СОХРАНИМ УСТАНОВКУ. PERE ;НА ПЕРЕКОДИРОВКУ. DEY,1 ;РАЗРЯД УСТАНАВЛИВАЕТСЯ. ДО 9..10 ;DEY,0 ;STATUS,0 ;DEY ;ОБНУЛИМ.STATUS,6 ;БАНК 2..1 ;EEADR ;НУЛЕВОЙ АДРЕС.STATUS,6 ;БАНК 0.DEY ;АДРЕС ПЕРВОЙ ЗАПИСИ В EEDATA.TEMP ;ВО ВРЕМЕННЫЙ РЕГИСТР.ZAPIS ;СОХРАНИМ УСТАНОВКУ.PERE ;НА ПЕРЕКОДИРОВКУ.COY,1 ;РАЗРЯД УСТАНАВЛИВАЕТСЯ ДО 9..10 ;COY,0 ;STATUS,0 ;COY ;ОБНУЛИМ.STATUS,6 ;БАНК 2.2 ;EEADR ;АДРЕС.STATUS,6 ;БАНК 0.COY ;АДРЕС ЗАПИСИ В EEDATA.TEMP ;ВО ВРЕМЕННЫЙ РЕГИСТР.ZAPIS ;СОХРАНИМ УСТАНОВКУ.PERE ;НА ПЕРЕКОДИРОВКУ.FLAG1,0 ;ЕСЛИ ЗАЩИТА БЫЛА ВЫКЛЮЧЕНА,

GOTO $+7 ;ПОЙДЕМ ВКЛЮЧАТЬ.FLAG1,0 ;ИНАЧЕ ВЫКЛЮЧИМ ЗАЩИТУ..13 ;БУКВА СВЕРХУ.ZTI ;.15 ;У-ВЫКЛЮЧЕНА.ZYTI ;YCI ;ПЕРЕЗАПИСЬ В РЕГИСТРЫ ИНДИКАЦИИ.FLAG1,0 ;ВКЛЮЧИМ ЗАЩИТУ.,11 ;БУКВА ВНИЗУ.ZTI ;.12 ;У-ВКЛЮЧЕНА.ZYTI ;YCI ;ПЕРЕЗАПИСЬ В РЕГИСТРЫ ИНДИКАЦИИ.EDYU,1 ;РАЗРЯД УСТАНАВЛИВАЕТСЯ ДО 9..10 ;EDYU,0 ;STATUS,0 ;EDYU ;ОБНУЛИМ.STATUS,6 ;БАНК 2.5 ;EEADR ;АДРЕС.STATUS,6 ;БАНК 0.EDYU ;АДРЕС ЗАПИСИ В EEDATA.TEMP ;ВО ВРЕМЕННЫЙ РЕГИСТР.ZAPIS ;СОХРАНИМ УСТАНОВКУ.PEREU ;НА ПЕРЕКОДИРОВКУ.СТ5DEYU,1 ;РАЗРЯД УСТАНАВЛИВАЕТСЯ ДО 9..10 ; DEYU,0 ;STATUS,0 ;DEYU ;ОБНУЛИМ.STATUS,6 ;БАНК 2.6 ;EEADR ;АДРЕС.STATUS,6 ;БАНК 0.DEYU ;АДРЕС ЗАПИСИ В EEDATA.TEMP ;ВО ВРЕМЕННЫЙ РЕГИСТР.ZAPIS ;СОХРАНИМ УСТАНОВКУ.

GOTO PEREU ;НА ПЕРЕКОДИРОВКУ.COYU,1 ;РАЗРЯД УСТАНАВЛИВАЕТСЯ ДО 5..5 ;COYU,0 ;STATUS,0 ;COYU ;ОБНУЛИМ.STATUS,6 ;БАНК 2.7 ;EEADR ;АДРЕС.STATUS,6 ;БАНК 0.COYU ;АДРЕС ЗАПИСИ В EEDATA.TEMP ;ВО ВРЕМЕННЫЙ РЕГИСТР.ZAPIS ;СОХРАНИМ УСТАНОВКУ.PEREU ;НА ПЕРЕКОДИРОВКУ.FLAG1,1 ;ЕСЛИ ЗАЩИТА БЫЛА ВЫКЛЮЧЕНА,$+7 ;ПОЙДЕМ ВКЛЮЧАТЬ.FLAG1,1 ;ИНАЧЕ ВЫКЛЮЧИМ ЗАЩИТУ..14 ; БУКВА СВЕРХУ.ZTU ;.15 ;У-ВЫКЛЮЧЕНА.ZYTU ;YCI ;В РЕГИСТРЫ ИНДИКАЦИИ.FLAG1,1 ;ВКЛЮЧИМ ЗАЩИТУ..10 ;БУКВА ВНИЗУ.ZTU ;.12 ;У-ВКЛЮЧЕНА.ZYTU ;ZYTI ;ИНДИКАЦИЯ БУКВЫTUI ;У ПРИ ИНДИКАЦИИ ТОКАZYTU ;TUU ;И НАПРЯЖЕНИЯ.;

;13.ПЕРЕВОД 3 РАЗРЯДОВ 2_10 В 16 РАЗРЯДОВ ДВОИЧНОГО.YCTH ;ОЧИСТИМ ДВОИЧНЫЕ РЕГИСТРЫ.YCTL ;DEY ;ПЕРЕКОДИРУЕМ ДЕСЯТКИ.EDUNI ;YCTL,1 ;ПРИБАВИМ В МЛАДШИЙ РЕГИСТР.EDY ;ПРИБАВИМ ЕДИНИЦЫ.YCTL,1 ;COY. ;ЕСЛИ СОТНИ РАВНЫ НУЛЮ,$+9 ;ТО ПЕРЕКОДИРОВКИ НЕТ.COY ;ИНАЧЕ ПРИБАВЛЯЕМTEMP ;В МЛАДШИЙ РЕГИСТР .100 ;ЧИСЛО СОТЕН,YCTL,1 ;РАВНЫХ ЧИСЛУ В РЕГИСТРЕ СОТЕН.STATUS,0 ;ЕСЛИ ПЕРЕПОЛНЕНИЕ,YCTH,1 ;ТО ИНКРЕМЕНТИРУЕМ СТАРШИЙ РЕГИСТР.TEMP,1 ;ЕСЛИ ЕЩЕ НЕ НОЛЬ,$-5 ;ПОВТОРИМ.STATUS,6 ;БАНК 2.3 ;EEADR ;АДРЕС ЗАПИСИ МЛ. РЕГИСТРА.STATUS,6 ;БАНК 0.YCTL ;АДРЕС ЗАПИСИ В EEDATA.TEMP ;ВО ВРЕМЕННЫЙ РЕГИСТР.ZAPIS ;ЗАПИШЕМ В ПАМЯТЬ.STATUS,6 ;БАНК 2.4 ;EEADR ;АДРЕС ЗАПИСИ.СТ. РЕГИСТРА.STATUS,6 ;БАНК 0.YCTH ;АДРЕС ЗАПИСИ В EEDATA.TEMP ;ВО ВРЕМЕННЫЙ РЕГИСТР.ZAPIS ;ЗАПИШЕМ В ПАМЯТЬ._I EDY ;ПЕРЕПИШЕМ УСТАНОВКУ ТОКА. IEDI ;В РЕГИСТРЫ ИНДИКАЦИИ. DEY ; IDEI ; COY ;ICOI ;;YCTHU ;ПЕРЕКОДИРОВКА НАПРЯЖЕНИЯYCTLU ;АНАЛОГИЧНАDEYU ;ПЕРЕКОДИРОВКЕ ТОКА.EDUNI ;YCTLU,1 ;EDYU ;YCTLU,1 ;COYU ;$+9 ;COYU ;TEMP ;.100;YCTLU,1 ;STATUS,0 ;YCTHU,1 ;TEMP,1 ;$-5 ; STATUS,6 ;БАНК 2.8 ;EEADR ;АДРЕС ЗАПИСИ.STATUS,6 ;БАНК q.YCTLU ;АДРЕС ЗАПИСИ. В EEDATA. TEMP ;ВО ВРЕМЕННЫЙ РЕГИСТР. ZAPIS ;ЗАПИШЕМ В ПАМЯТЬ.STATUS,6 ;БАНК 2.9 ;EEADR ;АДРЕС.STATUS,6 ;БАНК 0.YCTHU ;АДРЕС ЗАПИСИ В EEDATA. TEMP ;ВО ВРЕМЕННЫЙ РЕГИСТР. ZAPIS ;ЗАПИШЕМ В ПАМЯТЬ._U EDYU- ;ПЕРЕПИШЕМ УСТАНОВКУ НАПРЯЖЕНИЯ UEDI ;В РЕГИСТРЫ ИНДИКАЦИИ.DEYU ;UDEI ;COYU ; UCOI ;;

;14.ВЫБОРКА ИЗ ПАМЯТИ.

АКТINTCON,7 ;ЗАПРЕТ ПРЕРЫВАНИЙ.STATUS/6 ;БАНК 2.EEADR ;НУЛЕВОЙ АДРЕС.STATUS,6 ;БАНК 0.AKTETE ;ВЫБОРКА ИЗ ПАМЯТИ. EDY ;ЗАПИСЬ В РЕГИСТР. AKTETE ;ВЫБОРКА ИЗ ПАМЯТИ. DEY ;ЗАПИСЬ В РЕГИСТР.

CALL AKTETE ;ВЫБОРКА ИЗ ПАМЯТИ. COY ;ЗАПИСЬ В РЕГИСТР. AKTETE ;ВЫБОРКА ИЗ ПАМЯТИ. YCTL ;ЗАПИСЬ В РЕГИСТР.,AKTETE ;ВЫБОРКА ИЗ ПАМЯТИ. YCTH ;ЗАПИСЬ В РЕГИСТР. AKTETE ;ВЫБОРКА ИЗ ПАМЯТИ. EDYU ;ЗАПИСЬ В РЕГИСТР. AKTETE ;ВЫБОРКА ИЗ ПАМЯТИ. DEYU ;ЗАПИСЬ В РЕГИСТР. AKTETE ;ВЫБОРКА ИЗ ПАМЯТИ. COYU ;ЗАПИСЬ В РЕГИСТР. AKTETE ;ВЫБОРКА ИЗ ПАМЯТИ. YCTLU ;ЗАПИСЬ В РЕГИСТР. AKTETE ;ВЫБОРКА ИЗ ПАМЯТИ. YCTHU ;ЗАПИСЬ В РЕГИСТР.INTCON,7 ;РАЗРЕШАЕМ ПРЕРЫВАНИЯ. Y_I ;НА ЗАПИСЬ В РЕГИСТРЫ ИНДИКАЦИИ.Y_U ;STATUS,6 ;STATUS,5 ;БАНК 3.EECONl,7 ;ВЫБОР ПАМЯТИ ДАННЫХ.EECONl,RD ;ЧТЕНИЕEECONl,RD ;ЖДЕМ ОКОНЧАНИЯ$-1 ;ЧТЕНИЯ.STATUS,5 ;БАНК 2. .255 ;ЕСЛИ ПАМЯТЬ НЕ ЗАПОЛНЕНА.EEDATA,0 ;STATUS,2 ;EEDATA ;ЗАПИШЕМ-0. EEADR,1 ;+1 В АДРЕС.EEDATA ;ПЕРЕПИШЕМ ДАННЫЕ.STATUS,6 ;БАНК 0.;

;15.ЗАПИСЬ В ПАМЯТЬ. TEMP ;ПО КОСВЕННОЙ АДРЕСАЦИИ FSR ;ЗАГРУЖАЕМ ЗНАЧЕНИЕ INDF ;РЕГИСТРА.STATUS,6 ;БАНК 2.EEDATA ;ЗАПИСЫВАЕМ.INTCON,7 ;ЗАПРЕТ ПРЕРЫВАНИЙ.STATUS,5 ;БАНК 3.EECONl,7 ;ВЫБИРАЕМ ПАМЯТЬ ДАННЫХ.EECONl,WREN ;РАЗРЕШЕНИЕ ЗАПИСИ. 55H ;ОБЯЗАТЕЛЬНАЯ ПОСЛЕДОВАТЕЛЬНОСТЬ ЕЕCON2 ;OAAH ;EECON2 ;EECONl,WR ;РАЗРЕШАЕМ ЗАПИСЬ ВО ФЛЕШ ПЗУ. EECON1,WR ;ПОКА НЕ БУДЕТ ЗАКОНЧЕНА ЗАПИСЬ $-1 ;ХОДИМ ПО КРУГУ.EECONl,WREN ;ЗАПРЕТ ЗАПИСИ.2STATUS,5 ;БАНК 2.STATUS,6 ;БАНК 0.INTCON,7 ;РАЗРЕШАЕМ ПРЕРЫВАНИЯ.;

;16 ПРОВЕРКА КНОПОК.

кноSTATUS,5 ;ПЕРЕХОДИМ В БАНК 1.ВКЛЮЧАЕМ ВХОДЫ. B'10000111' ;ВСЕ ВХОДЫ ЦИФРОВЫЕ.ADCON1^80H ;STATUS,5 ;БАНК 0.FLAG,3 ;ЕСЛИ ФЛАГ УСТАНОВЛЕН, YCT ;ТО ИДЕМ НА УСТАНОВКУ. PORTA,4 ;ЕСЛИ КНОПКА НАЖАТА,FLAG,3 ;ТО УСТАНОВИМ ФЛАГ.FLAG,4 ;ЕСЛИ ФЛАГ УстановленZAPT ;ТО ИДЕМ НА ВЫБОР РАЗРЯДА.PORTA,5 ;ЕСЛИ КНОПКА НАЖАТА,FLAG,4 ;TO УСТАНОВИМ ФЛАГ.

RETURN ;

;17.УСТАНОВКА РАЗРЯДА ЗАПЯТОЙ.

BTFSC FLAG ;5 ;ВО ВРЕМЯ РАБОТЫ КНОПКА;HE РЕАГИРУЕТ НА НАЖАТИЕ.PORTA,5 ;ЕСЛИ КНОПКА НАЖАТА,;ТО ВЕРНЕМСЯ.FLAG,4 ;СБРОСИМ ФЛАГ УСТАНОВКИ.ZPT,1 ;.8 ;ЕСЛИ РАВНО, ТО УСТАНОВИМZPT,0 ;ЗАПЯТУЮ ЗА ИНДИКАТОРОМ.STATUS,2 ;PAB ;НА ИНДИКАЦИЮ БУКВ И ЗАПЯТЫХ В РАБОТЕ.FLAG,5 ;УСТАНОВКА.ZYTI ;ИНДИКАЦИЯ БУКВЫTUI ;У ПРИ УСТАНОВКЕ ТОКА.ZYTU ;ИНДИКАЦИЯ БУКВЫTUU ;У ПРИ УСТАНОВКЕ НАПРЯЖЕНИЯ.;

РАВFLAG,5 ;РАБОТА.PORTA,2 ;ВКЛЮЧИМ НАГРУЗКУ.FLAG,2 ;ВЫКЛЮЧИМ ФЛАГ ОТКЛЮЧЕНИЯ НАГРУЗКИ..2 ;ИНДИКАЦИЯ ЗАПЯТОЙ ВО ZPT ;2 РАЗРЯДЕ ДЛЯ ТОКА И 5 ;В' 5 РАЗРЯДЕ- ZPTU ;ДЛЯ НАПРЯЖЕНИЯ. ZTI ;ИНДИКАЦИЯ БУКВЫ i TUI ;ПРИ ИЗМЕРЕНИИ ТОКА. ZTU ;ИНДИКАЦИЯ БУКВЫ uTUU ;ПРИ ИЗМЕРЕНИИ НАПРЯЖЕНИЯ.;

END.

Защита электрооборудования от перепадав сетевого напряжения устройства. Программа, Запускаем файл Proteus 75SP3 Setup.exe. Загрузим файл:_.hex

:020000040000FA

:02000000E329F2

:080008008B18262A0C18692A46

:10001000A829410824204007A50042082F200310EA

:10002000A5070318A6174308820708000800080060

:100030000800080008000800080008000800080080

:100040000800080018293529820700340A341434BE

:100050001E34283432343C34463450345A34820707

:1000600000346434C83443088207080008000800DC

:1000700008000800080008000800080008004928D7

:100080004428462854285B282D140800AD142D1050

:1000900008002D10AD102D11AD112C08C0002A083C

:1000A000C1002B08C20008003808C0003908C10090

:1000B0003A08C20008003408C0003508C1003608FC

:1000C000C20008004008B8004108B9004208BA0060

:1000D00003178D01373076284008B4004108B50079

:1000E0004208B600031710308D003330840000083A

:1000F0008C0083168C130C158B1355308D00AA3091

:100100008D008C148C18822883128D0A0D198A2870

:10011000840A772803138B17080082073F340634BC

:100120005B344F3466346D347D3407347F346F3440

:1001300000344834493440344634FD30C500A7010A

:100140002D1A44214008B620CA202D1A4421410806

:10015000B620CA202D1A44214208B620CA202D1AE2

:1001600044214308B6200922CA209D288D20C400BE

:10017000A61DBE284608270203192615261DC128DC

:10018000C417440887004508860026110314C50DCE

:10019000A70A0800A6109001A61808002D1BD6215A

:1001A0002618D621CC28861E08002612460882076B

:1001B000DD28E328E928EF28FB28C00A0A3040029E

:1001C0000318C0010928C10A0A3041020318C101FD

:1001D0000928C20A033042020318C2010928C30ACF

:1001E0000F3043020318F8280D3043020318332858

:1001F0000D30C3003328C30A0D304302031C3328DB

:100200000A30C3003328061F0800A612C603FF30B9

:100210004602031D0F290430C600A6110029033031

:10022000460203191521A61533280D30C300080016

:10023000A61B1F292508B700643C031C2729013091

:10024000C200C101C0016430B700A613622837089C

:10025000DB3C031C1F2962280530C100C0000230AE

:10026000C200FF30B300A6136C28A61B2C2925085A

:10027000B300DD3C031C6C280230C100C200C0008A

:10028000DE30B300A6136C28A61C0800C1309F0006

:100290002D1290211F151F194B291E08A000A01810

:1002A00084298316213084001E08800083120310E5

:1002B000A00CA10C3308210203187E293708210263

:1002C000031C84290512AD132D138515CF012108B8

:1002D000A5009521AB009E21AA002508AC00A50130

:1002E0000D304302031808002D1C79292D194B28C5

:1002F0000800AD1C4B28AD194B280800A61967292A

:10030000051685112D176729A6196729CF0A3230DE

:100310004F02031D8F29051685112D17CF0167295F

:100320000530FF3E031D91290800CA019C3E031CB5

:100330009C29A500CA0A96294A080800CA0125086E

:10034000F63E031CA629A500CA0AA0294A080800EF

:10035000A4000308A8000408A90003138312A30A39

:1003600005302302031DCF29A614A3012D1CC62985

:10037000AE0A64302E02031DCF29261CC3292D1D71

:10038000C3292D11C4292D15AE01CF29AD1CCF29AC

:10039000AE0AC8302E02031CCF29AD15AE012808C5

:1003A00083002908840024080B1109008701261402

:1003B0002D1B8E22261C08002D1EE029A618442184

:1003C000A6100922D829031383168E309F004130CE

:1003D0008100F0308B0001308C008D0101308500F0

:1003E000E130860087018312860185019001920128

:1003F000A601AD01C001C101C201C3010430C600A4

:10040000AD140C30C300AE01A301D001D101CF0166

:100410003E2A261AD328861E2616A61A0329061F48

:10042000A616261B162A861F26170800861F0800F8

:10043000261326181D2A2614080026102D1F080032

:1004400085152D13AD1326100B160800CD000308DB

:10045000CB000408CC00261A362A031383122D166B

:1004600019308100A301A6108E018F014B08830073

:100470004C0884004D088B100B11090003178D01E7

:1004800037304C2210308D0033304C2203130512CC

:10049000851526105B209D28840083168C130C1470

:1004A00083120D18552A8D1C5D2AFF300C0203198A

:1004B00064220D1864228D1864220C0880008D0AB5

:1004C0000D190800840A4D2A0A300C0203188C0109

:1004D0000800CD000308CB000408CC0076224B08AE

:1004E00083004C0884004D080C1009000516D00B41

:1004F0000800D001AD1B822A8515AD172D132610DB

:100500000B160800D10A05305102031D080085159D

:10051000D1012D13AD1326100B1608000B1231302C

:100520009000AD102D142D1F0800A6102D1D851153

:0E0530002D1985150922261C08008B10932A10

:02400E00313F40

:00000001FF

Похожие работы на - Разработка микропроцессорного устройства контроля сетевого напряжения

 

Не нашли материал для своей работы?
Поможем написать уникальную работу
Без плагиата!
Без нейросетей!