Электрооборудование электровозов

  • Вид работы:
    Контрольная работа
  • Предмет:
    Транспорт, грузоперевозки
  • Язык:
    Русский
    ,
    Формат файла:
    MS Word
    1,39 Мб
  • Опубликовано:
    2016-06-05
Вы можете узнать стоимость помощи в написании студенческой работы.
Помощь в написании работы, которую точно примут!

Электрооборудование электровозов

Опишите назначение и конструкцию выпрямительных и выпрямительно-инверторных преобразователей ТПС. Приведите поясняющие эскизы

Ответ: Ответ:Преобразователи в силовых цепях электровозов и электропоездов используют для следующих целей: выпрямления переменного тока (выпрямители), преобразования постоянного тока в переменные (инверторы), импульсного регулирования напряжения (импульсные преобразователи), преобразования однофазного переменного тока в трехфазный и изменения частоты напряжения источника питания (преобразователи ПЧФ). Все эти преобразователи выполнены на полупроводниковых приборах (диодах и тиристорах). По типу применяемых полупроводниковых приборов преобразователи подразделяют на диодные, диодно-тиристорные и тиристорные, по системе охлаждения диодов и тиристоров с принудительным и естественным охлаждением. На электровозе или электропоезде с диодным выпрямителем напряжение, подаваемое через токоприемник трансформатором с групповым переключателем, понижается ступенями, выпрямителем преобразуется в постоянное и подается на тяговый двигатель. Такую структурную схему имеют отечественные электровозы ВЛ60К; ВЛ80К и электропоезда ЭР9, ЭР9П и др.

Тиристорные преобразователи используют в качестве силовых управляемых выпрямителей или выпрямительно-инверторных агрегатов. Ступенчатое регулирование напряжения переменного тока в этом случае осуществляется переключением контакторов группового переключателя. Выпрямительно-инверторный преобразователь плавно регулирует выпрямленное напряжение на тяговом двигателе в тяговом и рекуперативном режимах. При тиристорном регулировании напряжения, изменяя момент подачи отпирающих импульсов или угол регулирования, можно плавно менять среднее значение выпрямленного напряжения. Когда угол регулирования равен 180°, тиристор заперт, напряжение равно нулю. Затем этот угол плавно уменьшают от 180° до нуля, т. е. отпирающие импульсы подают все раньше и раньше. Когда импульсы будут подаваться в самом начале полупериода, т. е. угол регулирования будет равен нулю, выпрямитель работает как неуправляемый с наибольшим напряжением, равным среднему значению за весь полупериод. В рекуперативном режиме для обеспечения независимого возбуждения тяговых двигателей контакторы подключают тиристорный выпрямитель к тяговому трансформатору. На электровозах ВЛ80Р, чтобы повысить быстродействие регулирования напряжения, облегчить управление, снизить возникающие перенапряжения в силовой цепи, упростить защиту и повысить вентильную прочность преобразователей, применено плавное бесконтактное межступенчатое регулирование выпрямленного напряжения как в тяговом, так и в рекуперативном режимах. В структурной схеме электровоза ВЛ80Р нет группового переключателя; его заменяют контакторы. На электровозах ВЛ60ку, где применено плавное межступенчатое регулирование.На электровозах переменного тока с асинхронными тяговыми двигателями последними управляют, регулируя частоту напряжения источника питания. Напряжение трансформатором понижают, переключая контакторы группового переключателя (ступенчатое регулирование) и изменяя угол отпирания тиристоров полууправляемого выпрямителя (плавное регулирование). Напряжение на выходе выпрямителя сглаживается фильтром и подается на вход преобразователя. Он преобразует постоянный ток в трехфазный и плавно изменяет частоту напряжения, подаваемого на тяговый двигатель, чем обеспечивается желаемая форма тяговой характеристики локомотива и необходимая его скорость движения.

Импульсные преобразователи (ИП) на электровозах и электропоездах постоянного тока позволяют более экономично по сравнению с контакторно-реостатной системой управлять тяговыми двигателями в режиме как пуска, так и электрического торможения. При этих преобразователях меньше потери энергии в процессе пуска и разгона (исключены пусковые и тормозные резисторы); выше плавность пуска, меньше броски тока, шире диапазон регулирования скорости, меньше падение напряжения в контактной сети в процессе пуска и разгона. На э. п. с. магистрального транспорта и метрополитенов ИП применяют для регулирования сопротивлений пусковых и тормозных резисторов в цепях якорей и возбуждения тяговых двигателей (в этом случае тиристорный прерыватель включают параллельно резистору), а также для осуществления безреостатных пуска и разгона, регулирования скорости движения. На э. п. с. постоянного тока с импульсными преобразователями возможно применять тяговые двигатели как постоянного тока, так и бесколлекторные многофазные переменного тока, вследствие чего различают системы постоянно-постоянного и постоянно-многофазного тока. При системе постоянно-постоянного тока напряжение от токоприемника через фильтр и импульсный преобразователь подается отдельными чередующимися импульсами на тяговый двигатель. Регулирование напряжения осуществляется преобразователем путем изменения либо длительности (широтой) управляющих импульсов, либо их частоты. Первый из этих способов называют широтно-импульсным регулированием, а второй - частотно-импульсным. Возможно регулировать напряжение, изменяя и частоту, и ширину импульсов, - это так называемое частотно-широтное регулирование.

Систему постоянно-многофазного тока разделяют на две группы - с промежуточным звеном переменного тока и без него. В первом случае постоянный ток инвертором преобразуется в переменный трехфазный промышленной частоты, затем трансформатор понижает его напряжение, и преобразователь преобразует этот ток в многофазный регулируемой частоты. В качестве тяговых двигателей при этом можно использовать бесколлекторные тяговые двигатели. В системе постоянно-многофазного тока без звена переменного тока импульсным преобразователем регулируют напряжение, подводимое к инвертору, от которого питается бесколлекторный многофазный тяговый двигатель с частотным управлением. Такая система вызвана тем, что при пуске локомотива должны быть весьма низкая частота и соответственно малое напряжение постоянного тока, подводимое к инвертору, чтобы были удовлетвори-тельными параметры системы (высокие перегрузочная способность, к. п. д., коэффициент мощности и др.) Схемы и устройство диодных и тиристорных преобразовательных установок на различных электровозах и электропоездах могут иметь существенные принципиальные и конструктивные отличия, в соответствии с чем эксплуатация преобразователей также имеет специфические особенности, которые необходимо знать, чтобы можно было обеспечить надежную длительную работу э. п. с. На электровозах и электропоездах применяют в силовых цепях диодные, тиристорные и диодно-тиристорные выпрямители, выполненные по однофазным двухполупериодным мостовым схемам выпрямления, а в цепях питания обмоток возбуждения тяговых двигателей, вспомогательных цепях и цепях управления - по однофазным двухполупериодным схемам с нулевым выводом, мостовым и мостовым трехфазным с нулевым выводом. В выпрямителе, выполненном по схеме выпрямления с нулевым выводом, чтобы снизить пульсации выпрямленного напряжения, стремятся удвоить число фаз, для чего на обмотке трансформатора делают нулевой вывод. При этом напряжения крайних выводов относительно нулевого вывода образуют двухфазную систему.

Конструкция преобразователей:Полупроводниковые диоды и тиристоры, аппаратура защиты и сигнализации, вспомогательное оборудование смонтированы на изоляционных панелях в металлических шкафах обычно прямоугольной формы. В преобразовательных установках э.п.с. диоды и тиристоры чаще всего соединяют последовательно-параллельно (рис.).


Необходимо, чтобы предельные параметры вентилей были одинаковые и имели малый разброс вольтамперных характеристик. Основным условием надежной работы является повышение с некоторым запасом предельных токов и напряжений вентилей над расчетными в плечах преобразователей. С учетом коэффициентов, определяемых условиями эксплуатации, число параллельно включенных вентилей в плече. Из-за малой постоянной времени нагревания структуры полупроводникового прибора за расчетный ток для грузовых электровозов переменного тока принимают максимальный ток при максимальной силе тяги по сцеплению (при коэффициенте сцепления φ = 0,36) для скорости движения v = 0 с продолжительностью перегрузки 10-20 с. Для пассажирских электровозов и электропоездов за расчетный принимают ток уставки защиты от перегрузки с некоторым запасом по отношению к толчкам тока при пуске.

Перегрузки полупроводниковых приборов, превышающие предельные токи, а также токи при внутренних и внешних коротких замыканиях в цепях преобразователей при несовершенной защите могут вызвать нарушение их внутренней структуры и потерю электрической прочности. Это приводит к развитию аварийного режима с тяжелыми последствиями. Так как электрическая прочность этих приборов не восстанавливается, они не пригодны для ремонта. К тому же приводят повреждения и пробой изоляции в цепях преобразователя вследствие коммутационных и атмосферных перенапряжений при несовершенной защите.

При параллельном соединении диодов заметная неидентичность прямых ветвей вольтамперных характеристик приводит к перегрузке диодов, обладающих меньшей потерей напряжения от прямого тока. В случае последовательного соединения полупроводниковый прибор с меньшим обратным током воспринимает перенапряжения в большей степени, чем остальные. Для распределения обратных напряжений, приходящихся на каждый нелавинный диод или тиристор, применяют шунтирующие резисторы, а для гашения перенапряжений, возникающих при коммутации тока, - контуры. Если применены лавинные диоды, то с ростом напряжения в цепи последовательно соединенных диодов возрастает обратный ток. Вначале напряжение воспринимается одним диодом; дальнейший рост обратного тока не вызывает увеличения напряжения на нем, а приводит к увеличению напряжения на других, и происходит выравнивание напряжения. Поэтому при последовательно-параллельном соединении лавинных диодов можно не применять резисторы и контуры.

В преобразователях применяют штыревые и таблеточные диоды и тиристоры, в таблеточных диодах и тиристорах в отличие от штыревых кремниевый элемент не припаивают к основанию, а прижимают верхним и нижним основаниями при сборке на заводе-изготовителе. Положение кремниевого элемента внутри корпуса фиксируется втулкой из изоляционного материала. Применение прижимных контактов для соединения силовых выводов с кремниевым элементом уменьшает механические напряжения, возникающие в нем при резких повышениях температуры, что существенно повышает стойкость полупроводникового прибора к значительным токовым перегрузкам.

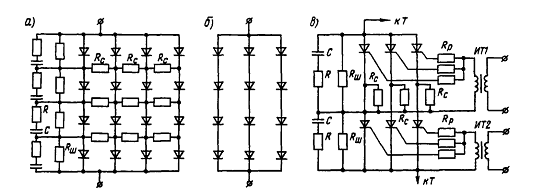
Рис. Преобразователи ВУК-4000Т-02 (а) электровозов ВЛ80С, УВП-3 (б) и система вентиляции подвагонного электрооборудования на моторных вагонах электропоездов ЭР9П (в): 1 - каркас, 2 - диод штыревой конструкции, 3 и 4 - шины соединительные, 5 - охладитель, 6 - крышка, 7 - фильтры; 8 - вентилятор; 9 - вал расщепителя фаз; 10- выпрямительная установка УПВ-3; - сглаживающий реактор, 12- охладитель масла, 13- тяговый трансформатор; 14 - насос для масла трансформатора

На электровозах ВЛ80К ВЛ80Т и ВЛ80С каждый силовой выпрямитель выполнен в виде двух шкафов прямоугольной формы и может работать только с принудительным воздушным охлаждением (риса). В каждом шкафу размещены диоды, собранные в блоки (панельное расположение), которые закреплены на электроизоляционных панелях. Для удобства замены диоды по значению прямого падения напряжения разбиты на подгруппы (обычно две), каждая из которых имеет свою маркировку (0,52; 0,53, 0,54 В - цвет черный, 0,55; 0,56; 0,57; 0,58 В - цвет белый).

Выпрямительная установка возбуждения электровозов ВЛ80Т и ВЛ80С состоит из двух блоков. Каждый блок расположен на панели, где смонтированы тиристоры с охладителями, индуктивные делители для выравнивания токов в параллельных ветвях, резисторы, конденсаторы, диоды, импульсный трансформатор, предохранитель, блок управления и остальные элементы. Охладители закрыты стеклопластовым желобом, через который нагнетается охлаждающий воздух. Панель закреплена на шести изоляторах. Выпрямительно-инверторный агрегат ВИП2-2200М выполнен в виде сварного каркаса из профильной стали, в котором крепятся различные блоки и элементы. С лицевой и обратной стороны сварного каркаса из профильной стали установлены одинарные и двойные тиристорные блоки. Сбоку и в центре смонтированы блоки выравнивания напряжения, индуктивные делители тока, а в верхней части - выемные кассеты предварительного и выходного каскадов блока формирования импульсов (БФИ) и импульсные трансформаторы. Блоки тиристоров крепят в ВИП болтами; для удобства монтажа и демонтажа они снабжены ручками. Аналогичную конструкцию имеют и выпрямители электровозов ВЛ60К, ЧС4 и ЧС4Т. На электропоездах ЭР9П, ЭР9М применяют выпрямительные установки УВП-1 и УВП-3 с принудительным воз-душным охлаждением и на электропоездах ЭР9Е - выпрямители УВП-5 само-вентилирующиеся; и те, и другие расположены под кузовом. Выпрямительные установки УВП-1 и УВП-3 (рис. б) размещены в пылебрызгонепроницаемой камере, имеющей две съемные крышки с резиновыми уплотнениями Охладители диодов расположены так, что после установки блоков они образуют канал для охлаждающего воздуха. Гибкие выводы диодов и зажимы охладителей находятся снаружи и доступны для осмотра. С одной стороны выпрямителей расположены панели с выводами переменного тока, с другой - панели с выводами постоянного тока. Выпрямитель УВП-5 конструктивно выполнен с односторонним обслуживанием. Внутри его камеры на четырех групповых алюминиевых охладителях смонтированы лавинные таблеточные диоды. Для удобства предусмотрено шарнирное крепление групповых охладителей. Наружные поверхности групповых охладителей выполнены ребристыми и имеют устройства для направления встречного потока воздуха. Фактическая средняя скорость охлаждающего воздуха между ребрами группового охладителя УВП-5 при скорости электропоезда 40-100 км/ч изменяется соответственно от 3 до 10 м/с. Применение УВП-5 с циклоустойчивыми таблеточными вентилями и самовентиляцией позволяет увеличить срок службы преобразователя и уменьшить расходы, связанные с обслуживанием выпрямителей и системы фильтров принудительного воздушного охлаждения, воздуховодов вентиляции подвагонного электрооборудования и др.

Опишите назначение и устройство контроллера машиниста электровоза (любой серии). Приведите поясняющие эскизы

Ответ: Контроллер предназначен для дистанционного управления промежуточным контроллером, реверсорами, контакторами ослабления возбуждения. Основные технические данные контроллера машиниста следующие:

Номинальное напряжение кулачкового элемента .48 В

Номинальный ток        6 А

Провал контактов .      не менее 3 мм

Масса 42 кг

Габарит     390x390x295 мм

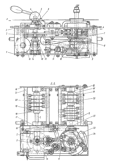
Контроллер машиниста 1KRD3 (рис.1) - кулачкового типа. Он имеет три кулачковых барабана: реверсивный, командный и ослабления возбуждения. Управление ими осуществляется с помощью реверсивной рукоятки 2 и штурвала 1.

Рис.1. Общий вид контроллера машиниста 1KRD3

Все детали контроллера закреплены на каркасе, состоящем из двух торцовых стенок 16 (рис. 2), соединенных продольными балками 21, и двух горизонтальных плит 1, 3, приваренных к передней торцовой стенке 16. На торцовых стенках приварены цилиндрические опоры для установки в них подшипников валов барабанов - реверсивного I, командного IIи ослабления возбуждения III.

Рис. 2. Контроллер машиниста

Реверсивный кулачковый барабан I имеет пять кулачковых шайб 19, каждая из которых состоит из металлических дисков с закрепленными на них сегментами. Шайбы вместе со стальными втулками 20 установлены на валу, вращающемся в двух шариковых подшипниках. Крепление шайб 19 выполнено на общей шпонке. От осевого перемещения шайбы удерживаются двумя распорными кольцами 18. На свободном конце вала закреплена коническая шестерня 12, находящаяся в зацеплении с конической шестерней 13 вала 14 реверсивной рукоятки 4. Этот вал вращается в двух шариковых подшипниках, закрепленных в верхней 3 и нижней Iплитах. В средней части вала 14 установлен блокировочный диск 2. Верхняя часть вала заканчивается цапфой 6 со штифтом 5 для соединения со съемной реверсивной рукояткой 4, которая может занимать три фиксированных положения: ХВп, Ои ХНз. Снять реверсивную рукоятку можно только в положении О, когда на катушку 15 электромагнитной защелки, которая рычагом 17 осуществляет блокировку реверсивной рукоятки, подано напряжение. Командный барабан II имеет три кулачковые шайбы 19, насаженные на вал, а барабан ослабления возбуждения III содержит пять кулачковых шайб, укрепленных на полом валу, имеющем общую ось вращения с валом командного барабана ILВнутренний вал установлен на одном шариковом подшипнике и двух бронзовых втулках, запрессованных в полом внешнем валу, который вращается в шариковом подшипнике, закрепленном на передней торцовой стенке 16 каркаса. На свободный конец внутреннего вала командного барабана II надет конический зубчатый сегмент 10, сцепленный с коническим сегментом на полом валу штурвала. На вал барабана III посажена коническая шестерня 22, находящаяся в зацеплении с коническим зубчатым сегментом 7. Поворот барабанов II и III осуществляется штурвалом I, имеющим два рабочих положения - верхнее и нижнее. В верхнем положении штурвал вращает кулачковый командный барабан II и имеет пять положений: «+» - автоматический набор; +I - набор по одной позиции; 0 - нулевая позиция; - I- сброс по одной позиции; «-» - автоматический сброс. Положение 0 и «-» являются фиксированными, а на остальных трех происходит самовозврат в положении 0. Передача вращающего усилия от штурвала на барабан IIосуществляется через ведущий диск 9 с поводком 8 и подшипником. Диск жестко закреплен на валу 24 штурвала и имеет паз для блокировочного рычага 11. Вал 24 может вращаться, а также перемещаться в направлении продольной оси внутри полого вала 23, свободно вращающегося на подшипнике, установленном в верхней плите 3 каркаса. На конце полого вала закреплен конический зубчатый сегмент 7 с вилкой, сцепленный с зубчатым сегментом 10 внутреннего вала барабана II. В верхнем положении вал штурвала удерживается пружиной, работающей на сжатие. При этом поводок 8 ведущего диска входит в вилку. Таким образом, в верхнем положении валы штурвала 24 и командного барабана II механически соединены.

При нажатий штурвала вниз до упора поводок 8 ведущего диска входит в вилку конического зубчатого сегмента, вращающегося на подшипнике и сцепленного с конической шестерней 22. В этом положении, поворачивая штурвал по часовой стрелке, осуществляют набор позиций ослабления возбуждения тяговых двигателей. Всего имеется шесть положений штурвала: 0 - полное возбуждение; I-V - пять ступеней ослабления. Штурвал фиксируется на всех пяти позициях ослабления возбуждения. Чтобы исключить возможность нарушения нормальной работы цепей управления электровозом и предупредить повреждения в силовых цепях при ошибочных действиях машиниста, реверсивная рукоятка и штурвал взаимно блокированы рычагами и дисками; при этом соблюдаются следующие зависимости: реверсивную рукоятку можно вставить или снять только при наличии напряжения на катушке электромагнитной защелки и нахождении штурвала в положении 0; повернуть реверсивную рукоятку можно тогда, когда штурвал находится в положении 0, а катушка электромагнитной защелки под напряжением; вращение штурвала возможно только при постановке реверсивной рукоятки в положение ХВп или ХНз; штурвал можно нажать вниз только тогда, когда он находится в положении 0, а реверсивная рукоятка в одном из рабочих положений.

Укажите назначение и опишите принцип действия блока пуска компрессора тепловоза. Приведите поясняющую схему

Ответ: Блок пуска компрессора (ВПК) предназначен для управления электродвигателем привода тормозного компрессора.

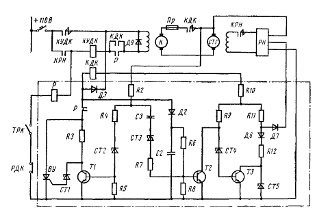
Рис. Принципиальная схема блока пуска компрессора:

К - электродвигатель компрессора; СТГ - стартер-генератор; PH - регулятор напряжения: КРН- контактор регулятора напряжения; КДК- контактор двигателя компрессора; КУДК - контактор управления двигателем компрессора; Р - реле; ТРК-тумблер компрессора, РДК - реле давления воздуха; ВУ - тиристор, С2, С3 - конденсаторы; T1-Т3 - транзисторы; СТ1-СТ5 - стабилитроны; R2-R12 - резисторы; Д2, Д3, Д6, Д7, Д9 - диоды; ПР-предохранитель

Тормозной компрессор приводится электродвигателем К, получающим питание от стартер-генератора СТГ, а не от аккумуляторной батареи, так как двигатель К потребляет большое количество энергии. Включение и отключение К осуществляются автоматически при помощи реле давления воздуха компрессора РДК. При давлении воздуха в тормозной системе 900 кПа контакты реле РДК размыкаются, а при понижении давления до 750 кПа - замыкаются. Блок БПК обеспечивает плавный пуск электродвигателя К путем снижения напряжения СТГ до 22-25 Вв течение 2-5 с перед включением силового контакта контактора КДК электродвигателя компрессора К. После включения контактора КДК напряжение СТГ увеличивается до 110 В. Блок ВПК (тепловоз 2ТЭ116) состоит из узла управления включением контактора КДК и управления регулятором напряжения РНТ-6 стартер-генератора.

К первому узлу относятся: реле Р, тиристор ВУ, транзистор Т1, стабилитроны СТ1 и СТ2 и резисторы R2-R5. Второй узел представляет собой усилитель постоянного тока, в который входят: транзисторы Т2 и ТЗ, стабилитроны СТЗ, СТ4, диоды Д2, Д6, Д7, резисторы R6-R12.

Остальные элементы выполняют в основном защитные функции транзисторов и тиристоров и на рис. не показаны. В исходном положении тумблер компрессора ТРК и контакты контактора реле напряжения КРН замкнуты, а контакты РДК, КДК и КУДК (контактор управления двигателем компрессора) разомкнуты. Напряжение СТГ подается к резисторам R2, R4, стабилитрону СТ2, резистору R5. Ток проходит по переходу база - эмиттер транзистора Т1. При уменьшении давления воздуха в тормозной системе до 750 кПа замыкаются контакты РДК и срабатывает реле Р («+», КРН, Р, ТРК, РДК, «-»). Контакты реле Р замыкают цепь питания катушки контактора КУДК («+», КРН, КУДК, «-»). Через замкнутые силовые контакты КУДК подходит ток к обмотке возбуждения двигателя К, к катушке КДК, к базово- эмиттерному переходу транзистора Т2 (диод Д2, R6, R8 и б-э Т2), в результате чего транзистор Т2 переходит в открытое состояние («+», КУДК, R10, R9, к-э переход Т2).

Потенциал катода СТ4 становится близким к нулю, и транзистор Т3 остается в закрытом состоянии. Минусовый вывод катушки КДК соединен с резистором R3 и анодом тиристора ВУ.Tак как по б-э переходу Т1 проходит ток, то Т1 переходит в открытое состояние и ток пойдет по R3 переходу к-э Т1. Тиристор В находится в закрытом состоянии, а ток, проходящий через катушку КДК, диоды Д2, ДЗ и реле РЗ, недостаточный для включения контактора КДК. При закрытом транзисторе Т3 на аноде Д6 и Д7 будет большой потенциал, и через Д7 ток потечет в PH стартер- генератора, который вызовет переход мультивибратора в автоколебательный режим. Ток возбуждения стартер-генератора уменьшается и, следовательно, снижается напряжение СТГ. Когда оно достигнет такою значения, что напряжение, приложенное к СТ2, станет меньше пробивного, ток базы Т1 уменьшится до нуля и Т1 закроется.

Потенциал коллектора Т1 повысится, СТ1 пробьется и ВУ перейдет в открытое состояние; контактор КДК включится. Напряжение СТГ к этому времени уменьшится до 22-25 В, и большого броска тока в якоре электродвигателя К не будет. При этом шунтируется цепь Д2, R6, R8, транзистор Т2 начинает закрываться. Время закрытия определяется разрядом конденсатора С2 и б-э переход Т2.

После увеличения напряжения СТГ до номинального (110 В) С3 полностью зарядится, блок пуска компрессора перестает воздействовать на PH. При этом тиристор ВУ и транзистор Т3 открыты, а Т1 и Т2 закрыты. Когда давление воздуха в тормозной системе достигнет 900 кПа, реле РДК размыкает свои контакты, цепь питания блока и контактора КДК разрывается и электродвигатель К отключается.

Параллельное включение блокировочных контакторов КДК и реле Р определяет последовательность отключения контакторов КУДК и КДК.

Контактор КУДК отключается после отключения КДК, чем предотвращается работа К без возбуждения, что может вызвать недопустимый бросок тока.

Задача

Дано: Упрощенная схема соединения тяговых двигателей тепловоза и резисторов ослабления возбуждения (Рис. 7). Сопротивление катушек главных полюсов двигателя Rm= 0,0105 Ом.


Определить:

Коэффициенты регулирования возбуждения β1 и β2, если сопротивление резисторов R1= 0,02908 Ом, R2= 0,01932 Ом.

Кратко описать назначение ослабления возбуждения тяговых двигателей.

Решение:


Стремясь свести диапазон изменения напряжения генератора к допустимому значению (1,5 или менее), принимают специальные меры по регулированию электродвигателей: ослабление возбуждения и последовательно-параллельное переключение.

Предположим, что в процессе разгона напряжение генератора уже возросло до максимального значения, а скорость движения еще далеко не достигла максимального значения. Если не принять мер, то генератор при дальнейшем разгоне будет работать вдоль участка внешней характеристики. На этом участке напряжение генератора практически не возрастает, следовательно, и противо-э.д с электродвигателей при разгоне остается примерно постоянной, что может быть достигнуто только за счет быстрого уменьшения тока. На этом участке ток снижается примерно в такой же степени, в какой возрастает скорость. Чтобы не допустить потери мощности, применяют ослабление возбуждения (магнитного потока) электродвигателей шунтированием обмоток возбуждения. Обмотки шунтируются в тот момент, когда напряжение генератора приближается к максимальному значению.

Включение шунтирующего резистора приводит к тому, что часть тока якоря электродвигателя ответвляется в этот резистор и ток возбуждения электродвигателя, таким образом, значительно уменьшается. Уменьшение тока возбуждения приводит к уменьшению противо-э.д. с. электродвигателя. Напряжение генератора вследствие этого в первый момент начинает значительно превосходить противо-э.д. с, электродвигателей, что приводит к резкому возрастанию тока. При гиперболической внешней характеристике генератора увеличение тока приводит к соответствующему снижению напряжения генератора.

При каком-то значении тока (большем, чем исходное значение, при котором включались резисторы) напряжение генератора вновь приблизится к противо-э д. с. электродвигателей и уменьшится настолько, что увеличение силы тока прекратится Таким образом, при ослаблении возбуждения ток генератора возрастает, а напряжение убывает вдоль гиперболической характеристики, но частота вращения электродвигателей за это время не успевает практически измениться, т. е. без изменения режима движения тепловоза. Режим генератора (и электродвигателей) изменяется так, что появляется возможность повышения напряжения генератора при дальнейшем разгоне.

Другими словами, при подключении шунтирующих резисторов гиперболический участок внешней характеристики генератора при разгоне может использоваться дважды. Обычно применяют две ступени ослабления возбуждения, что позволяет трижды использовать во время разгона тепловоза один и тот же гиперболический участок внешней характеристики генератора и при широком диапазоне изменения скорости движения тепловоза добиться сравнительно узкого диапазона изменения напряжения генератора.


Список литературы

электрооборудование электровоз преобразователь контроллер

1.Мазнев А.С. Электрические аппараты и цепи подвижного состава - М.: Академия,2008.

.Калинин В.К. Электровозы и электропоезда. М.: Транспорт, 1991.

.Тепловозы: Основы теории и конструкция. Под ред. В.Д. Кузьмича. М.: Транспорт, 1991. (не переиздавался)

.Рудая К.И., Логинова Е.Ю. Тепловозы. Электрическое оборудование и схемы. М.: Транспорт, 1992. (не переиздавался)

.Быстрицкий Х.Я. и др. Устройство и работа электровозов переменного тока. М.: Транспорт, 1982. (не переиздавался)

.Рубчинский З.М. и др. Электропоезда. М.: Транспорт, 1983.

.Захарчснко Д.Ю. Тяговые электрические аппараты.Учебник для вузов железнодорожного транспорта. М.: Транспорт. 1991. (не переиздавался).

.Бурков А.Т. Электроника и преобразовательная техника. Ч. 1. Электроника. 2015.

.Ермишкин И.А. Конструкция электроподвижного состава. 2015.

.Дайлидко А.А. Брагин А.Г., Ветров Ю.Н., Конструкция электровозов и электропоездов, 2014.

Похожие работы на - Электрооборудование электровозов

 

Не нашли материал для своей работы?
Поможем написать уникальную работу
Без плагиата!
Без нейросетей!