Оцінка впливу на навколишнє природне середовище при проектуванні і будівництві виробництва хлору в місті Дрогобичі Львівської області

  • Вид работы:
    Курсовая работа (т)
  • Предмет:
    Экология
  • Язык:
    Украинский
    ,
    Формат файла:
    MS Word
    470,04 Кб
  • Опубликовано:
    2014-08-13
Вы можете узнать стоимость помощи в написании студенческой работы.
Помощь в написании работы, которую точно примут!

Оцінка впливу на навколишнє природне середовище при проектуванні і будівництві виробництва хлору в місті Дрогобичі Львівської області










КУРСОВА РОБОТА

з предмету "Екологічна безпека"

на тему:

"Оцінка впливу на навколишнє природне середовище при проектуванні і будівництві виробництва хлору в місті Дрогобичі Львівської області"

Оцінка впливу на навколишнє природне середовище при проектуванні і будівництві виробництва хлору місті Дрогобич Львівської області.

В курсовій роботі виконано завдання по проектуванню виробництва хлору у м. Дрогобич Львівської області.

Викладені та обговорені різні сучасні методи виробництва хлору за різними технологіями з різної сировини.

Визначено економічну доцільність виробництва хлору з меляси. Представлена технологічна схема виробництва.

Проведена оцінка впливу виробництва на навколишнє природне середовище.

Зміст

1. Вступ

2. Фізико-географічні особливості району і майданчика розміщення підприємства по виробництву хлору

2. Загальна характеристика підприємства по виробництву хлору

2.1 Перспективи розвитку хлорної промисловості

2.2 Загальна характеристика цільового продукту

2.3 Техніко-економічна характеристика підприємства, що будується

2.4 Застосування хлору

2.5 Загальна характеристика виробництва хлору

2.6 Електроліз із ртутним катодом

2.7 Технологія виробництва хлору діафрагменним методом.

2.8 Охорона праці при виробництві хлору

3. Оцінка впливів планової діяльності на навколишнє природне середовище

3.1 Очищення газів, що відходять від хлору

4. Оцінка впливів планової діяльності на навколишнє соціальне середовище

5. Оцінка планової діяльності на навколишнє техногенне середовище

6. Комплексні заходи щодо забезпечення нормального стану

7. Заява про екологічні наслідки діяльності

Висновки

Список використаної літератури

Додатки

1. Вступ

До початку 70-х років близько 60% хлору і каустичної соди виробляли електролізом з ртутним катодом, 40% - електроліз із твердим катодом і фільтрує мембраною. За першим методом отримують чистий каустичну соду, що не містить хлоридів. Однак у зв'язку з тим, що ртуть неминуче потрапляє в навколишнє середовище <#"818976.files/image001.gif">

Рис. 2.1 Карта міста Дрогобич

2. Загальна характеристика підприємства по виробництву хлору

 

.1 Перспективи розвитку хлорної промисловості


До початку 70-х років близько 60% хлору і каустичної соди виробляли електролізом з ртутним катодом, 40% - електролізом з твердим катодом і фільтруючою мембраною. За першим методом отримують чисту каустичну соду, що не містить хлоридів. Однак у зв'язку з тим, що ртуть неминуче потрапляє в навколишнє середовище, в ряді країн електроліз з ртутним катодом інтенсивно скорочується. Перспективний метод електролізу з іонообмінної мембраною, що дозволяє отримувати луг, не відрізняється за якістю від продукту, що утворюється при розкладанні електролітичної амальгами натрію.

Особливістю сучасного етапу розвитку хлорної промисловості є широке застосування металевих анодів. Сучасні електролізери оснащені ОРТА. У зв'язку із заміною графітових анодів на останні посилюється тенденція до підвищення електродних густин струму до 2 - 3 ка/м2 в діафрагменних електролізерах і до 10 - 14 ка/м2 (1 - 1,4 А/см2) - в електролітах з ртутним катодом. Освоєно в промисловості фільтр-прессной біполярні електролізери великої потужності.

 

.2 Загальна характеристика цільового продукту


Хлор - широко розповсюджений неметалічний елемент, один з галогенів (елементи сьомої групи періодичної таблиці), уперше відкритий в 1774 р. Він входить до складу повареної солі (NaCl). Хлор являє собою зеленувато-жовтий отрутний газ, що добувають шляхом електролізу з розсолу (солоної води). Його широко застосовують для хлорування, - методу дезінфекції води у водопроводах і плавальних басейнах. Хлор застосовують також для відбілювання паперової маси, у виробництві пластмас, хлороформу, пестицидів й інших з’єднань. Він легко вступає в реакції й утворить солі майже з усіма металами. Властивості: атомний номер 17, атомна маса 35,453; температура плавлення - 101,1°С, температура кипіння - 34,6°С. Найпоширеніший ізотоп 35Сl (75,53%).

 

.3 Техніко-економічна характеристика підприємства, що будується


Даний завод по виробництву хлору буде складатися з таких основних цехів: склад солі, цех очищення, цех випарювання, цех електролізу, відділ охолодження.

Електрозабезпечення заводу центральне. Вода на технологічні потреби використовується із двох артезіанських свердловин глибиною 700 м. кожна.

Сировиною для виробництва хлору є кухонна сіль, яка буде надходити на підприємство з Дрогобицького "Солеварного заводу".

 

.4 Застосування хлору


Однією з важливих галузей хімічної промисловості є хлорна промисловість. Основні кількості хлору переробляються на вміст його виробництва на хлорвмісні сполуки. Зберігають і перевозять хлор у рідкому вигляді в балонах, бочках, залізничних цистернах або в спеціально обладнаних кораблях. Для індустріальних країн характерним є таке застосування хлору на виробництво хлорвмісних органічних сполук - 60-75 %, на виробництво неорганічних сполук, що містять хлор, - 10-20%, на вибілювання целюлози і тканин - 5-15 %, на санітарні потреби й хлорування води - 2-6 % від загального випуску.

Хлор застосовується також для хлорування деяких руд із метою здобування титану, ніобію, цирконію та ін.

2.5 Загальна характеристика виробництва хлору


З метою захисту населення території встановлюється санітарно-захисна зона розміром 1000м, згідно закону №173 від 19.06.96 "Про затвердження Державних санітарних правил планування та забудови населених пунктів"

Електрохімічний метод отримання хлору оснований на електролізі водяного розчину повареної (кухонної) солі, при якому крім хлору утворюється їдкий натрій (каустична сода) і водень.

Електрохімічне виробництво хлору, відбувається в промисловості двома способами: діафрагменним - в електролітичних ваннах з твердим катодом та пористою азбестовою діафрагмою, яка відокремлює катодний простір від анодного, і способом з ртутним катодом, в якому відбувається утворення хлору та амальгами натрію, яка розкладається в окремому апараті.

При твердому катоді в процесі електролізу відбувається розряд іонів водню, а в електроліті утворюється луг. На ртутному катоді розряджаються іони натрію, в результаті утворюється амальгама натрію, яку виводять з електролізера і розщеплюють водою, при цьому виділяється водень і утворюється луг. Ртуть, що звільнюється при процесі, повертається в електролізер.

Якість хлору і водню при обох способах приблизно однакова, але якість каустичної соди різко відрізняється. Способом з ртутним катодом отримують високоякісну чисту каустичну соду, в той час як отримана діафрагм енним способом каустична сода забруднена повареною сіллю та іншими домішками. Тому діафрагменна каустична сода придатна не для всіх виробництв. [1.]

 


2.6 Електроліз із ртутним катодом


Хоча частка хлору, каустичної соди і водню, що отримується при електролізі з ртутним катодом за останній час зменшується, але вона ще залишається значною.

У способі із ртутним катодом процес розділений на дві стадії. У власне електролізері йде отримання хлору і амальгами. Остання з електролізера надходить в інший апарат разлагатель, де розкладається водою. При цьому утворюється луг, водень і регенерується ртуть. Катодом у ванні є ртуть - на ній йде розряд іонів натрію, аноди графітові. Діафрагма не потрібно, тому що в електролізері виділяється тільки один газ - хлор.

Анодний процес у ваннах з ртутним катодом нічим не відрізняється від анодного процесу в ваннах з твердим катодом.

На ртутному катоді протікає інша електрохімічна реакція, ніж при електролізі з твердим катодом. На ртутному катоді відбувається розряд іонів натрію з утворенням сплаву натрію з ртуттю - амальгами:

+ + nHg + → NaHg n

До побічних процесів, що протікають на ртутному катоді, слід віднести виділення водню і разкладання амальгами з утворенням лугу і водню. На ртутному катоді також можливе відновлення молекулярного хлору:

2 + 2 → 2Cl -

Процес розкладання амальгами є другою стадією виробництва хлору, лугів за методом електролізу з ртутним катодом. Процес розкладання амальгами проводять в окремому апараті, який називається разлагателем. Електрохімічна реакція протікає в короткозамкненим гальванічному елементі, в якому амальгама є негативним електродом.

Умови електролізу. У промисловості використовують електролізери з горизонтальним розташуванням ртутного катода. Відповідно горизонтально розташовуються і аноди. Як матеріал для виготовлення анодів використовується графіт, а також застосовуються ОРТА. Знос графітових анодів складає 4 кг / т хлору. У результаті зносу відстань між електродами збільшується, що приводить до зростання напруги на електролізері. Для запобігання цього небажаного явища є пристрій для опускання графітових анодів у міру їх спрацювання. У сучасних електролізерах застосовують групове автоматизоване опускання анодів. Графітові аноди поступово витісняються мало зношувані ОРТА.

Щільність струму. Електроліз з ртутним катодом відбувається при більш високих електродних щільності струму, ніж електроліз з фільтруючою діафрагмою і з твердим катодом. Підвищити щільність струму при електролізі з графітовими електродами до 10 кА / м 2 (1 А / см2) вдається шляхом створення та вдосконалення системи регулювання міжелектродного відстані і перфорації анодів, що забезпечує ефективне видалення бульбашок газу. Електролізери, оснащені ОРТА можуть працювати при щільності струму до 14 - 15 кА / м 2.

Склад розчину. Концентрація вихідного хлориду натрію, що надходить на електроліз з ртутним катодом, не відрізняється від концентрації електроліту, що подається в електроліт з твердим катодом і фільтруючою діафрагмою. Однак коефіцієнт розкладання хлориду при електролізі з ртутним катодом значно нижче і не перевищує 0,17. Це обумовлено залежністю потенціалу розряду іонів натрію і хлору від їх активності в розчині.

Для зменшення гідролізу хлору і зниження його вмісту в розчині рН електроліту повинен бути не менше 3. Зміст домішок кальцію може бути не більше 1 г / л, магнію - 0,005 г / л.

Температура. Підвищення температури при електролізі з ртутним катодом доцільно, з точки зору зниження напруги на електролізері за рахунок зменшення перенапруги виділення хлору, а значить падіння напруги в електроліті.

Однак з підвищенням температури знижується перенапруження виділення водню і збільшується швидкість розкладання амальгами в електролізері. Тому при підвищенні температури необхідно збільшувати і катодну щільність струму.

2.7 Технологія виробництва хлору діафрагменним методом.


Отже, на даному підприємстві я буду використовувати діафрагм енний метод виробництва хлору, оскільки він більш доцільний, бо не потрібно витягувати ртуть з розсолу, менше енергозатрати, ніж у методі з ртутним катодом.

Тверда поварена сіль, що надходить на завод по залізниці, зберігається на складі солі й у необхідній кількості розчиняється у воді. Якщо завод забезпечується підземним розсолом, то для збереження 3-4 - денного запасу його встановлюють спеціальні ємності. Розсіл готується розчиненням кухонної солі в підігрітій воді в бункері. Розчин підігрівається у підігрівачі і перекачується у відділення очищення розсолу для освітлення. [5.]

У цеху очищення сирий розсіл звільняється від домішок. В природній солі завжди містяться з’єднання кальцію і магнію, що викликає передчасне забивання діафрагми. Небажане також присутність сульфат-іонів. У промисловості застосовуються різні варіанти схем очищення розсолу. В даний час періодичні методи освітлення розсолу заміняються безупинними. Замість карбонізації зворотного розсолу для очищення сирого розсолу часто використовують кальциновану соду. Застосовуються різні типи освітлювачів і фільтрів розсолу. Розпочато впровадження флокулянтів, що прискорюють процес освітлення.

Освітлювачі здійснюють безперервну очистку розсолу. Принцип їх дії базується на тому, що в зону яка містить осад, що утримується в підвішеному стані зустрічним потоком рідини, вводять необхідні компоненти (сирий розсіл, зворотній розсіл з цеху випарювання, що містить невелику кількість їдкого натру, необхідного для процесу очищення, який поступає з електролізу через випарну установку, карбонізований двоокисом вуглецю СО2).

Суспензія містить частини, які можуть служити центрами кристалізації нерозчинних солей що утворюються. Крім того, зростаючі крупні частини легко адсорбують більш мілкі, що також сприяє осаджуванню осаду і освітленню розсолу. Освітлений розсіл зливається в збірник, з якого він для кінцевої очистки подається у фільтри. Очищений розчин нейтралізують соляною кислотою HCL в нейтралізаторі і через проміжну ємність подають в електролізери. [5.]

Основний процес одержання з розсолу хлору, під дією постійного струму здійснюється в цеху електролізу в діафрагмених ваннах із твердим катодом. Цех електролізу є основним на хлорному заводі.

Із напірних ванн очищений гарячий розсіл поступає в електролітичні ванни, а надлишки розсолу по переточній трубі у верхній частині напірних баків переливається назад в цех очищення розсолу. Таким чином, в напірних баках підтримується постійний рівень розсолу та забезпечується стабільна його витрата.

В результаті електроліза розчин повареної солі на анодах ванн утворюється хлор з температурою 70 - 85 ̊С, який через отвори в кришці ванни поступає в прокладений над ваннами трубопровід - колектор, виготовлений з фаоліту, скла, порцеляни, азбоцементу. По загальному хлорному колектору хлор направляється у відділення охолодження та осушення.

Осушення вологого хлору у відділені проводиться у дві стадії - в колонах він охолоджується водою, а в осушувачах сушиться шляхом обробки сірчаною кислотою. Лужний розчин, отриманий в електролізерах, випарюють в дві стадії. Осушений хлор компресорами перекачується цехам-споживачам.

Сірчана кислота, необхідна для осушування хлору, надходить по залізниці і зберігається на спеціальному складі сірчаної кислоти. Тут же відбувається зміцнення технічної сірчаної кислоти олеумом і видування хлору з відпрацьованої розведеної кислоти, що повертається з відділення сушіння хлору. Після видування відпрацьована сірчана кислота відвантажується споживачам.

У процесі випарювання електролітичного лугу утворюється дуже чиста поварена сіль, яку відокремлюють від розчину лугу, промивають, очищають від сульфатів і розчиняють у воді. Отриманий зворотний розсіл перекачується у відділення очищення розсолу.

 

.8 Охорона праці при виробництві хлору


У процесі виробництва, зберігання, транспортування та застосування хлору на працівників впливають небезпечні чинники, якими за класифікацією ГОСТ 12.0.003-74 "ССБТ. Опасные и вредные производственные факторы. Классификация" (Небезпечні і шкідливі виробничі чинники. Класифікація) є такі:

а) хімічні небезпечні чинники - токсичні та подразливі;

б) фізичні небезпечні чинники:

·        машини та механізми, що рухаються, рухомі частини виробничого устаткування;

·        підвищена запиленість та загазованість повітря робочої зони;

·        підвищена чи знижена температура повітря робочої зони;

·        підвищений рівень шуму на робочому місці;

·        підвищений рівень вібрації;

·        підвищена чи знижена вологість повітря;

·        підвищена чи знижена рухомість повітря;

·        підвищений рівень напруги в електричному колі, замикання якого може статися через тіло людини;

·        підвищений рівень статичної електрики;

·        відсутність або недостатність природного світла;

·        недостатня освітленість робочої зони;

·        гострі краї, задирки, жорсткість поверхонь заготовок, інструменту та устаткування;

·        розміщення робочого місця на значній висоті щодо поверхні землі. [4.]

2.9 Відходи виробництва хлору


Тверді відходи в процесі виробництва хлору і лугу отримують на стадії очистки розсолів кухонної солі, яка подається на електроліз. Очищення розсолів проводять содово-каустичним методом. В осад випадають механічні включення, а також неорганічні солі, наприклад, сульфати і карбонати кальцію, гідроксид магнію. На практиці такі шлами не обробляють, а відправляють на промислові полігони.

Постачання водою забезпечено по замкнутому водообігового циклу.

В диафрагменном і мембранному методах очищення газів, що виділяються не проводять. Хлор піддають осушування із застосуванням сірчаної кислоти, так щоб його залишкова вологість не перевищувала 0,003%. У такому вигляді хлор не викликає корозію і може зберігатися і транспортуватися в апаратурі з низьколегованої сталі.

При здійсненні ртутного електролізу необхідно проводити очищення кінцевих і проміжних продуктів від ртуті. При скиданні ртуті у водойми вона має тенденцію накопичуватися в тканинах рослин і морських організмах. Так, у Швеції відзначено підвищений вміст ртуті в рибах до 20 мг / кг, тоді як природний вміст її не перевищує 0,05 - 0,2 мг / кг. До 50% ртуті, що надходить на рік у води морів та океанів, обумовлено промисловими скидами і застосуванням у сільському господарстві ртутьвмісних препаратів. Тому в багатьох країнах вводяться жорсткі границі щодо вмісту ртуті в промислових викидах.

Верхня межа вмісту ртуті в повітрі виробничих приміщень дорівнює 0,01 мг/м3, а для атмосферного повітря населених пунктів - 0,0003 мг/м3. Гранично допустима концентрація ртуті в водоймах 0,00001 мг / л.

3. Оцінка впливів планової діяльності на навколишнє природне середовище

 

 

.1 Очищення газів, що відходять від хлору


Очищення газів, що відходять від хлору проводять із застосуванням гашеного вапна. Отримання гашеного вапна є вивченим процесом. Він заснований на взаємодії оксиду кальцію СаО з водою з утворенням розчину Са (ОН) 2. Відходять гази і розчин вапна направляють на абсорбцію. В процесі абсорбції утворюється пульпа, яка раніше в якості відходу виробництва віддалялася у відвал.

Технологія переробки пульпи на товарний продукт хлорид кальцію, який використовується в якості сировини у виробництві основного продукту, є новою інженерної розробкою.

Перша стадія очищення пульпи. Для отримання товарного хлориду кальцію, придатного в процесі електролізу, пульпа повинна пройти додаткові операції очищення і концентрування.

Після очищення газів, що відходять від хлору отримують пульпу складу, г / л: хлорид кальцію СаС12 - 250-350, оксид кальцію СаО - 6 - 20, хлорит кальцію Са (С102) 2 - 1.

Метою першої стадії є нейтралізація розчину і руйнування хлориту, а також очищення від механічних домішок. Пульпу зливають в ємність, у яку додають соляну кислоту до значення рН 10,0 - 10,8. Контроль за процесом нейтралізації ведуть візуально, не допускаючи ціноутворення на поверхні пульпи. Діапазон встановлюваних значень рН відповідає нейтралізації надлишкової кількості вапняного молока до залишкової концентрації 1 - 5 г / л.

Після припинення подачі соляної кислоти відбувається перемішування розчину протягом 30 хвилин для встановлення стабільного значення рН. За процесом проводиться постійний аналітичний контроль. По закінченню часу розчин направляють на фільтрацію. [2.]

4. Оцінка впливів планової діяльності на навколишнє соціальне середовище


Населення м. Дрогобич становить 99 тис. 117 чоловік. Протягом 1990-2000 років спостерігалося різке зменшення чисельності населення, яке відбулось як за рахунок зменшення народжуваності і зростання смертності так і за рахунок негативного сальдо міграції. Спад економіки, скорочення робочих місць, відсутність зарплат змусили людей залишати місто. Однак вже з 2004 року спостерігається повільний ріст загальної чисельності населення, який забезпечується відповідними співвідношеннями тенденцій природного і механічного (міграційного) приросту. Природній та міграційний рух населення наведений у таблиці 1.

Таблиця 5.1 Природній та міграційний рух населення


1989

1995

2000

2001

2002

2003

2004

Народжені

1509

1269

844

831

796

801

 956

Померлі

760

957

986

1013

1002

1012

1055

Природний приріст населення

749

312

-142

-182

-206

-211

-99

Прибулі

4659

1930

1939

1982

1982

1850

1845

Вибулі

2223

2098

2024

1950

1834

1671

Механічний приріст

6096

-293

-159

-39

32

16

174

Загальне збільшення (зменшення)

1445

19

-301

-221

-174

-195

75


Суттєвої загрози життю і здоров’ю дане виробництво не несе, більш негативному впливу виробництва піддаються люди які працюють безпосередньо на підприємстві, вплив на яких уже було вище згадано. Працівникам у якості компенсації на вплив їхнього здоров’я будуть видаватися путівки на відпочинок у лікувальні курорти України.

5. Оцінка планової діяльності на навколишнє техногенне середовище


Дана діяльність не несе шкоди на промислові, житлово-цивільні об’єкти, пам’ятки архітектури, історії і культури, оскільки не викидає в атмосферу особливо небезпечних і токсичних речовин.

В діафрагменному і мембранному методах очищення газів, що виділяються не проводять. Хлор піддають осушування із застосуванням сірчаної кислоти, так щоб його залишкова вологість не перевищувала 0,003%. У такому вигляді хлор не викликає корозію і може зберігатися і транспортуватися в апаратурі з низьколегованої сталі.

6. Комплексні заходи щодо забезпечення нормального стану


Однією з важливих галузей хімічної промисловості є хлорна промисловість. Основні кількості хлору переробляються на місті його виробництва на хлорвмісні сполуки.

Хлор являє собою зеленувато-жовтий отрутний газ, що добувають шляхом електролізу з розсолу (солоної води). Його широко застосовують для хлорування, - методу дезінфекції води у водопроводах і плавальних басейнах. Хлор застосовують також для відбілювання паперової маси, у виробництві пластмас, хлороформу, пестицидів й інших з’єднань.

Електрохімічний метод отримання хлору оснований на електролізі водяного розчину повареної (кухонної) солі, при якому крім хлору утворюється їдкий натрій (каустична сода) і водень.

Електрохімічне виробництво хлору, відбувається в промисловості двома способами: діафрагменним - в електролітичних ваннах з твердим катодом та пористою азбестовою діафрагмою, яка відокремлює катодний простір від анодного, і способом з ртутним катодом, в якому відбувається утворення хлору та амальгами натрію, яка розкладається в окремому апараті.

При твердому катоді в процесі електролізу відбувається розряд іонів водню, а в електроліті утворюється луг. На ртутному катоді розряджаються іони натрію, в результаті утворюється амальгама натрію, яку виводять з електролізера і розщеплюють водою, при цьому виділяється водень і утворюється луг. Ртуть, що звільнюється при процесі, повертається в електролізер.

Якість хлору і водню при обох способах приблизно однакова, але якість каустичної соди різко відрізняється. Способом з ртутним катодом отримують високоякісну чисту каустичну соду, в той час як отримана діафрагм енним способом каустична сода забруднена повареною сіллю та іншими домішками. Тому діафрагменна каустична сода придатна не для всіх виробництв.

Тверді відходи в процесі виробництва хлору і лугу отримують на стадії очистки розсолів кухонної солі, яка подається на електроліз. Очищення розсолів проводять содово-каустичним методом. В осад випадають механічні включення, а також неорганічні солі, наприклад, сульфати і карбонати кальцію, гідроксид магнію. На практиці такі шлами не обробляють, а відправляють на промислові полігони.

Очищення газів, що відходять від хлору проводять із застосуванням гашеного вапна.

7. Заява про екологічні наслідки діяльності


Заява про екологічні наслідки діяльності є юридичним документом щодо суті цих наслідків і гарантій виконання природоохоронних заходів із забезпечення безпеки навколишнього середовища на весь період здійснення планованої діяльності - п.4.1 ДБН А.2.2-1-2003.

Об'єкт - підприємство по виробництву хлору у м. Дрогобич львівської області. Мета проектованої діяльності - запропонувати найбільш економічно вигідну і екологічну схему виробництва хлору, ввести сучасні технології очищення відходів виробництва, щоб забезпечити мінімальний вплив на довкілля.

Вплив під час проведення будівництва на атмосферне повітря не перевищує санітарних норм у приземному шарі.

Для забезпечення і подальшої нормальної експлуатації споруди передбачити заходи по недопущенню впливу деформативності ґрунтової основи на несучі конструкції.

Концентрація забруднюючих речовин у водах, що скидаються в дощову каналізацію майданчика з укосів обвалування РЧВ та з РЧВ не перевищує нормативів скиду в дощову каналізацію.

Водопостачання та каналізування - централізоване з підключенням до існуючих міських мереж, що гарантує безпеку планованої діяльності для поверхневих вод.

Проектом передбачено благоустрій та озеленення території.

При виконанні природоохоронних заходів та санітарних норм шкідливий вплив на навколишнє середовище під час будівництва повністю компенсується по його завершенні і практично відсутній при експлуатації об’єкта.

Оцінка екологічного ризику проектованої діяльності:

ü  Об’єкт не відноситься до переліку особливо екологічно небезпечних.

ü  Об'єкт при виконанні природоохоронних заходів та санітарних норм практично не буде здійснювати шкідливого впливу на середовище під час будівництва.

ü  Проектована діяльність обумовлює зниження екологічного ризику.

Вигоди громадськості від реалізації планованої діяльності:

Ø  застосування хлору на виробництво хлорвмісних органічних сполук;

·   створення додаткових робочих місць.

Зобов'язання Замовника:

Ø  будівництво та експлуатація об'єктів проектованої діяльності у відповідності з нормами і правилами охорони НС і вимог екобезпеки;

Ø  дотримання екологічних обмежень згідно ОВНС;

Ø  впровадження захисних заходів згідно вищеподаному переліку;

Ø  вивіз будівельного сміття;

Ø  благоустрій території.

Висновки


1. Було запропоновано схеми виробництва хлору і вибрано найефективнішу і таку, яка не завдає значної шкоди навколишньому середовищу.

. Дане підприємство по виробництву хлору розташоване у пн. сх. частині міста; переважаючий напрям вітру у місті пд. зх., таким чином викиди від виробництва не будуть дути в сторону міста.

. Виробництво хлору діафрагменним методом на даному заводі можна вважати доцільним та економічно вигідним. Перш за все через близьке розташування Солеварного заводу, який буде постачальником кухонної солі, що зменшує витрати на транспортування сировини.

. Були перераховані впливи на навколишнє природне середовище планової діяльності та запропоновані схеми очистки забруднюючих речовин.

. Для індустріальних країн характерним є таке застосування хлору на виробництво хлорвмісних органічних сполук - 60-75 %, на виробництво неорганічних сполук, що містять хлор, - 10-20%, на вибілювання целюлози і тканин - 5-15 %, на санітарні потреби й хлорування води - 2-6 % від загального випуску.

Хлор застосовується також для хлорування деяких руд із метою здобування титану, ніобію, цирконію та ін.

. Об’єкт не відноситься до переліку особливо екологічно небезпечних.

. Основним завдання м виробництва є надання робочих місць.

Список використаної літератури


1.      Аблонін Б. Є. Основи хімічних виробництв. - М.: Хімія, 2001.

2.      Бєсков В.С. Загальна хімічна технологія та основи промислової екології. - М.: Хімія, 2009.

.        Бєсков В.С. Моделювання каталітичних процесів і реакторів. - М.: Хімія, 1991.

.        ГОСТ 12.0.003-74 "ССБТ. Опасные и вредные производственные факторы. Класыфикация. "

.        Кутєпов А.М. Загальна хімічна технологія. - М.: Вища школа, 2009.

.        Лебедєв М.М. Хімія і технологія основного органічного і нафтохімічного синтезу. - М.: Хімія, 2010.

.        Позін М. Є. Технологія мінеральних добрив. - Л.: Хімія, 1983.

.        Розрахунки хіміко-технологічних процесів. / Під ред. Мухленова І.П. - Л.: Хімія, 1982.

.        Фролов Ю.Г. Фізична хімія. - М.: Хімія, 2009.

.        Хіміко-технологічні системи. / Під ред. Мухленова І.П. - М.: Хімія, 2010.

Додатки


Додаток А

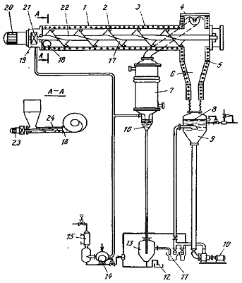
Апаратура для видалення ртуті з шламів шляхом нагрівання і конденсації

- корпус, 2 - ножі, 3-опори, 4-ковпак, через який виводиться газоподібний продукт,5-випускний отвір, 6-накопичувач, 7-трубчастий конденсатор, 9-контейнер, 13 - збірка, 14 - вукуум насос, 15-конденсатор, 16-накопичувач, 17-шнек для подачі сировини,18-отвір для завантаження шламу, 19-вакуумна камера, 20-електричний мотор, 21-редуктор, 22-вал, 23-електричний мотор безступінчастим редуктором, 24-натискний гвинт.

Додаток Б

Добування ртуті з відпрацьованих каталізаторів


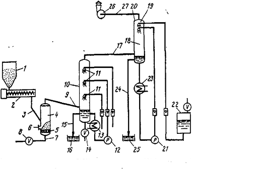
Додаток В

Схема процесу переробки відпрацьованого каталізатора хлориду ртуті (II) на активованому вугіллі

1-резервуар,2 - транспортер, 3 - труба, 4 - шахтна піч, 5-решітка, 6-клапан, 7-трубопровід для подачі повітря, 8-запірний вентиль, 9-труба для виводу газів, 10-нижня частина конденсатора, 11-жиклери, 12-насос, 13-теплообмінник, 15-вентиль, 17-труба для відводу газів, 18-насадка, 19-нижня частина скрубера, 20-жиклери, 21-насос, 22-резервуар, 23-теплообмінник, 24-відвідна труба, 25-резервуар, 27-вентилятор, 28-труба.

Похожие работы на - Оцінка впливу на навколишнє природне середовище при проектуванні і будівництві виробництва хлору в місті Дрогобичі Львівської області

 

Не нашли материал для своей работы?
Поможем написать уникальную работу
Без плагиата!
Без нейросетей!