Электродные равновесия

  • Вид работы:
    Курсовая работа (т)
  • Предмет:
    Химия
  • Язык:
    Русский
    ,
    Формат файла:
    MS Word
    861,65 Кб
  • Опубликовано:
    2014-07-10
Вы можете узнать стоимость помощи в написании студенческой работы.
Помощь в написании работы, которую точно примут!

Электродные равновесия

МИНИСТЕРСТВО ОБРАЗОВАНИЯ РЕСПУБЛИКИ БЕЛАРУСЬ

БЕЛОРУССКИЙ ГОСУДАРСТВЕННЫЙ УНИВЕРСИТЕТ

ХИМИЧЕСКИЙ ФАКУЛЬТЕТ

Кафедра физической химии







КУРСОВАЯ РАБОТА

НА ТЕМУ: Электродные равновесия


Выполнил:

студент 2 курса 1 группы

Пашкевич М.Д.

Руководитель:

Профессор кафедры

физической химии

Самохвал Виктор Васильевич



Минск 2014

Содержание

Введение

Электрохимические системы

Электрод и электрохимический потенциал

Электродвижущая сила

Стандартный электрод

Диффузионный потенциал

Строение двойного электрического слоя

Классификации электрохимических цепей и обратимых электродов

Заключение

Список литературы

Введение

Электрод - электрохимическая система, состоящая из веществ, обладающих различными видами проводимости и находящихся в контакте друг с другом. При переходе заряженных частиц через границу раздела двух фаз, например раствор электролита - металл, возникает электрохимическая реакция. В результате этого металл и раствор приобретают электрический заряд, и на границе их раздела создается двойной электрический слой, которому соответствует скачок потенциала.

Электродные процессы представляют собой окислительно-восстановительные реакции, которые можно записать в следующем виде:

v1A1 + v2A2 + ze- ↔ v3A3 + v4A4

Если в электродном процессе участвует только одно вещество в окисленной и восстановленной формах, то запись реакции упрощается:

Ох + ze- ↔ Red

Различают обратимые и необратимые электроды. При перемене направления электрического тока на обратимых электродах возникают реакции, противоположные по направлению, на необратимых - протекают реакции не обратные друг другу. Примером обратимого электрода служит медь в растворе, содержащем Cu2+. При прохождении тока в противоположных направлениях идут реакции Cu2+ + 2е- → Cu и Cu → Cu2+ + 2е-. К необратимым электродам относится, например, медь в растворе кислоты. Перемена направления тока приводит к реакциям 2Н+ + 2е- → H2 и Cu → Cu2+ + 2е-. Из обратимых электродов могут быть составлены обратимые электрохимические цепи. Если электродам соответствуют реакции

Ох1 + ze-↔ Red1; Ох2 + ze-↔ Red2,

то общая реакция в электрохимической цепи будет

Ox1 + Red2 ↔ Red2 + Ox2

Примером обратимой цепи служит элемент Даниэля - Якоби

Zn│Zn2+ ‖ Cu2+│Cu

которой отвечает реакция

Zn + Cu2+ ↔ Zn2+ + Cu

Электрической характеристикой электрода является потенциал, а электрохимической цепи - электродвижущая сила (ЭДС), равная алгебраической сумме скачков потенциала, возникающих на границах раздела фаз, входящих в состав цепи.

Обратимые электроды и электрохимические цепи могут быть рассмотрены в термодинамически обратимом состоянии. Условием, определяющим термодинамическую обратимость электрохимических систем, является отсутствие электрического тока или протекание через них бесконечно малого тока. Если же через систему проходит измеримый ток, то она перестает быть термодинамически обратимой и описывается законами электрохимической кинетики.[1]

Электрохимические системы

Системное рассмотрение чего-либо предполагает в первую очередь обозначение системных элементов и их взаимосвязи. Электрохимическая система состоит из двух электродов, замкнутых в цепь, и находящегося с ними в контакте электролита. В ней могут протекать как минимум одна реакция окисления и одна реакция восстановления вещества. Электроды (обычно металлы) являются проводниками 1-го рода, т.е. обладают электронной проводимостью. Электролиты или проводники 2-го рода обладают проводимостью ионной. Электролитами служат расплавы солей, оксидов или гидроксидов, растворы солей, кислот или оснований в полярных растворителях, а также твердые электролиты.[2]

Существование электрохимических систем возможно из-за возникновения разности потенциалов между металлами и электролитом при их контакте. Измерить потенциал металла (электрода) непосредственно нельзя, но можно измерить его относительно другого электрода.

На основании теоретических расчетов установлено, что величина электродного потенциала, возникающая на границе между металлом и раствором соли этого металла (т. е. раствором, содержащим ионы этого металла), равна:

                                              (1)

Где Е0 - электрическая постоянная, зависящая от выбора электрода сравнения, R - газовая постоянная, равная 8,32 Дж/граджмоль, Т - абсолютная температура, n - степень окисления металла в данном соединении (в соответствии с теорией строения атома - число электронов, которое теряет атом металла, превращаясь в ион), F - число Фарадея, с - молярная концентрация ионов металла в данном растворе.[2],[3]

Это уравнение выражает зависимость потенциала металла от концентрации его ионов в растворе и называется уравнением Нернста. При использовании концентрированных растворов сильных электролитов концентрация иона в растворе заменяется его активностью. При активности, равной единице, второе слагаемое правой части уравнения становится равным нулю, и тогда E = E0. Если электродом сравнения взят стандартный водородный электрод, то такой гальванический элемент дает возможность получить значение стандартного электродного потенциала для данного металла.[4]

Электродный потенциал измеряется в вольтах и равен энергии (измеряемой в джоулях, Дж), отнесенной к количеству электричества (измеряемому в кулонах, Кл), т.е. 1 В = 1 Дж/Кл. Тогда потенциалу гальванического элемента можно придать следующий физический смысл: это мера энергии, вырабатываемой в ходе протекающих в системе химических реакций. В физике единица измерения электродвижущей силы (ЭДС) - вольт - представляет собой ту силу, которая позволяет заряду в 1 кулон совершить работу в 1 джоуль.

Поскольку в результате процесса электролиза в системе устанавливается равновесие, то возможно его термодинамическое описание. Закон сохранения энергии для электрохимического процесса можно представить в виде обобщенной энергетической схемы следующим образом:

                                         (2)

где E1, E2, и E’1, E’2 - «энергия» веществ, контактирующих в элекрохимической системе, соответственно до и после процесса взаимодействия, Eэл - величина электрической энергии, возникающей в системе, E - количество энергии, передаваемой от вещества 1 к веществу 2 в электрохимическом процессе.

Преобразование энергии в электрохимических системах в соответствии с уравнением (2) может идти как в прямом, так и в обратном направлении, в зависимости от того, возникает ли Eэл в системе взаимодействия или прикладывается к ней извне.

Процессы на электродах сопровождаются химическими реакциями окисления и восстановления с перераспределением энергии в системе. Окислитель принимает энергию от восстановителя и восстанавливается в соответствии с энергетической схемой (3), которая так же, как и схема (2), является выражением закона сохранения энергии:

                                          (3)

где Eок - исходная «энергия» вещества, являющегося окислителем, Eвосст - изменение энергии восстановителя, Ered - «энергия» восстановленного окислителя. В электрохимическом процессе, в отличие от процесса химического, Eвосст передается опосредованно.

Из 2-го закона термодинамики следует, что именно изменение свободной энергии (G) при химической реакции определяет ЭДС гальванического элемента:

                                                   (4)

где G - изменение свободной энергии Гиббса, n - число электронов, участвующих в реакции; F - постоянная Фарадея, E - электродвижущая сила.

Известно, что реакция проходит (при стандартных условиях), если G < 0, следовательно, E > 0, т.е. ЭДС должна быть положительной величиной для того, чтобы электрохимическая реакция протекала самопроизвольно. Если символом Е обозначать как ЭДС окислительно-восстановительной реакции, так и электродный потенциал, то можно вычислить ЭДС гальванического элемента, составленного из любой пары электродов. Например, в медно-цинковом гальваническом элементе (Cu | CuSO4 || ZnSO4 | Zn) цинк - отрицательный электрод, а медь - положительный. Нормальный потенциал цинка при 25 °С равен -0,763 В. Нормальный потенциал меди при 25 °С равен +0,337 В. ЭДС медно-цинкового гальванического элемента равна:

E = E(Cu2+/Cu) - E(Zn2+/Zn) = +0,337 - (-0,763) = +1,100 В

ЭДС медно-цинкового элемента положительна, т.е. реакция

Cu2+ + Zn0 = Cu0 + Zn2+

протекает самопроизвольно.

Разность потенциалов гальванической цепи можно получить, соединяя два металла, обладающие различной степенью окисления и погруженные в растворы, содержащие одноименные с ними ионы. Можно также соединить электроды из одного и того же металла, но погруженные в растворы с неодинаковой концентрацией ионов с1 и с2, где с2 > с1. В последнем случае ЭДС цепи будет равна:

                                  (5)

Если экспериментально определить два значения ЭДС изучаемой реакции - E1 и E2 - хотя бы при двух температурах Т1 и Т2, то, составив систему из двух уравнений:



можно просто вычислить термодинамические характеристики - энтальпию (Н) и энтропию (S) реакции в данном интервале температур, а также получить зависимость константы равновесия от температуры.

Таким образом, использование математического и понятийного аппарата термодинамической теории позволяет реально оценить возможность и направленность процессов в электрохимических системах.[2],[3],[4]


Если в электрохимической системе обратимо и изотермически протекает реакция


то при постоянном давлении изменение изобарно-изотермического потенциала G соответствует электрической энергии системы


и обратимая э.д.с. системы определяется как


В то же время, согласно уравнению (6),

                                                    (6)

где  - стехиометрический коэффициент, отвечающий компоненту, обладающему химическим потенциалом ; величины  принимаются здесь отрицательными для исходных веществ и положительными - для продуктов реакции. Так как по уравнению


то вместо (6) можно написать


или, учитывая знаки перед

 

                                      (7)

При данных p и T в состоянии равновесия , и, соответственно,

                                              (8)

где ; - отвечает равновесной активности i-ro компонента. Из (7) следует, что когда активность всех участвующих в реакции компонентов равна единице, т.e. когда для каждого из них , то


где  отвечает стандартному значению энергии Гиббса при выбранных p и T. Вместо (8) можно написать

                                    (9)

где K - константа равновесия реакции, а вместо (7)

                                    (10)

Из (6) и (10) следует, что


а при  для каждого из компонентов реакции второе слагаемое равно нулю и


Это значение э.д.с., отвечающее константе равновесия электрохимической реакции и обозначаемое как », называется стандартной э.д.с. электрохимической системы.

Таким образом, э.д.с. любой равновесной электрохимической системы является функцией стандартной э.д.с. и активностей участников электрохимической реакции. Электрод нижущая сила описывается уравнением

                                            (11)

или

                                      (12)

Предлогарнфмический множитель в уравнении (12), так же как и в уравнении (11), является линейной функцией температуры. Для любой температуры T его можно вычислить по формуле

                                            (13)

Уравнения (9) и (11) неопределенны в том смысле, что не всегда можно достаточно четко установить, какие именно из участников реакции следует принимать за исходные вещества, а какие-за ее продукты. Поэтому, если не ввести дополнительных условий, то для одной и той же электрохимической системы, в зависимости от порядка написания уравнения реакции, значения э.д.с. могут различаться по знаку.[3]

Одна из основных особенностей электрохимической системы заключается в пространственном разделении участников протекающей в ней реакции. Поэтому общая токообразующая реакция распадается здесь на две частные реакции, каждая из которых совершается на отдельном электроде. В соответствии с этим э.д.с. электрохимической системы, как отражение изменения ее химической энергии в ходе суммарной реакции, также должна представлять собой сумму двух электродных потенциалов. Каждый из них отвечает изменению химической энергии при протекании частной электродной реакции. Таким образом,

                                                   (14)

где  - электродные потенциалы.

Если на первом электроде протекает частная реакция

                                      (15)

а на втором

                                        (16)

то вместо выражения (12) можно написать

                        (17)

где  и  - стандартные электродные потенциалы, причем

                                                  (18)

Из уравнении (12) и (17) следует, что уравнение для электродного потенциала имеет тот же вид, что и общее термодинамическое уравнение для э.д.с. электрохимической системы

                                            (19)

с той только разницей, что в него входят активности лишь тех веществ, которые участвуют в данной электродной реакции. Стандартный электродный потенциал отвечает потенциалу обратимого электрода в тех случаях, когда активность каждого из участников электродной реакции равна единице, т.е. .

Экспериментально можно определить лишь общее значение E или E0, т.е. только сумму электродных потенциалов и  или , но не потенциал каждого из электродов в отдельности. Величинам  и  можно приписать любые значения при условии, что их сумма удовлетворяет уравнению (14). Для устранения неопределенности величин ℰ необходимо ввести дополнительное условие.[1],[3],[4]

Обычно в качестве такого условия принимают потенциал какого-либо электрода равным нулю и относят к нему значения потенциалов всех других электродов. В этом случае потенциалы электродов даются в некоторой условной шкале и их значения зависят от природы электрода, выбранного за основу шкалы. Нернст предложил считать таким условным нулем потенциал водородного электрода при концентрации водородных ионов в растворе, равной единице, и давлении водородного газа, равном 101,3 кПа. Эта условная шкала потенциалов называется водородной шкалой. Оствальд выдвинул другую идею: взять за основу шкалы потенциал ртутного электрода, находящегося в условиях, при которых его заряд относительно раствора равен нулю. Полагая, что в этом случае не только заряд, но и потенциал ртутного электрода равен нулю, Оствальд назвал свою шкалу абсолютной шкалой потенциалов. В настоящее время применяется главным образом условная водородная шкала, в которой при всех температурах за нуль выбран потенциал стандартного водородного электрода. Она отличается от первоначальной водородной шкалы Нернста тем, что в ней вместо единичных концентраций и давления выбраны единичные активность и летучесть. Это условие позволяет определять потенциалы электродов в водородной шкале при любых температурах. Однако их прямое сопоставление между собой невозможно, поскольку при каждой температуре потенциал водородного электрода может быть иным, т. е. условный нуль не будет одним и тем же при разных температурах.

В некоторых случаях, например в полярографии, потенциалы относятся к нормальному каломельному электроду, однако их можно легко пересчитать на водородную шкалу.[1],[3],[4],[5]

Электродвижущая сила

Обозначим через  изменение энергии Гиббса в ходе химической реакции m при превращении  молей реагентов и продуктов. Если в ходе реакции концентрации компонентов и, следовательно, значения их химических потенциалов заметно не меняются (если степень превращения мала), то

                                                   (20)

Для электродной реакции, в которой участвуют электроны, это выражение может быть записано в виде

                                                                (21)

где знак плюс относится к анодному, знак минус-к катодному направлению реакции.

Значение , как и значения , зависит от потенциала. Электроны, участвующие в реакции, находятся в металле при потенциале , а все ионы - в электролите при . Используя для электрохимического потенциала этих компонентов разложение  и учитывая уравнение  и определение гальвани-потенциала, можно преобразовать уравнение (21):

                                   (22)

Из этого уравнения следует, что значение гальвани-потенциала при равновесии электродной реакции () составляет

                                      (23)

Все члены в этом уравнении опытно не определяемы. Данное уравнение представляет собой обобщение уравнения  для случая, когда перенос заряда из одной фазы в другую сопровождается электрохимической реакцией.[6]

Рассмотрим гальваническую цепь M1│Э│M2│M1, в которой протекает общая токообразующая реакция . С учетом баланса по зарядам изменение энергии Гиббса этой реакции может быть представлено и виде

                                            (24)

Если цепь включена как химический источник тока, т.е. если отрицательный левый электрод  является анодом, то реакции протекает самопроизвольно (без притока энергии извне) и значение  отрицательно

Значение н.р.ц. данной цепи равно алгебраической сумме гальвани-потенциалов на трех межфазных границах. Если каждый из них равновесен, то, подставляя в уравнение  зависимости  и (23). получим для обшей разности потенциалов:

   (25)

или. после сокращения и с учетом уравнения (24),

                     (26)

Рассмотренная разомкнутая цепь считается равновесной, потому что на каждой отдельной межфазной границе устанавливается равновесие. Вместе с тем цепь в целом не равновесна - общее значение энергии Гиббса всей реакции отлично от нуля и при замыкании цепи через нее протекает электрический ток, сопровождаемый химическими изменениями, т.е. начинается самопроизвольный процесс.[6],[7]

Характерно, что в уравнении (25) для э.д.с. члены, включающие химический потенциал электронов в электродах, попарно сокращаются, поскольку они входят в выражения для гальвани-потенииалов как на границе с электролитом, так и на границе со вторым электродом. Это связано с тем, что общая токообразуюшая реакция включает не только электродные реакции, но и стадию перехода электронов через границу двух металлов.

Отсюда следует важный вывод: электродный потенциал нерасходуемых электродов, которые не участвуют в токообразуюшей реакции и для которых химический потенциал электродного материала не входит в уравнение для электродного потенциала. в отличие от гальвани-потенциала электрода зависит только от вида реакции, но не от природы самого электрода.

Так, например, в гальванической цепи

Pt(H2)│H2SO4│(H2)Pd│Pt

с двумя водородными электродами соответственно из платины и палладия значения гальвани-потенциалов на границах с раствором будут различны. Вместе с тем в термодинамическом смысле цепь симметрична, и при прохождении тока нет общей химической реакции (на одном электроде водород выделяется, на другом - ионизируется). Вследствие этого значения энергии Гиббса и э.д.с. равны нулю и электродные потенциалы обоих электродов одинаковы.[3],[6],[7],[8]

Стандартный электрод

Стандартный электрод (эталонный электрод), в электрохимии полуэлемент, состоящий из других полуэлементов и служащий эталоном. Главным стандартным электродом является водородный электрод. [10]

Водородный электрод является лучшим электродом сравнения в водных растворах, и не только потому, что его потенциал принят в качестве стандартного, с которым сравниваются все остальные электроды, но и благодаря легкости его изготовления и высочайшей воспроизводимости. Другое преимущество водородного электрода - широкая область его применимости. Этот электрод можно использовать в большом диапазоне температур, давлений и рН, а также во многих неводных или частично водных растворах. Недостатком водородного электрода является то, что его равновесное состояние зависит от каталитической активности поверхности металла. Так, на его воспроизводимость и стабильность влияют состояние и возраст металлической поверхности.

Механизм реакций, протекающих на водородном электроде, до сих пор не выяснен. Однако можно считать, что до электрохимического превращения присутствующие в растворе молекулы водорода должны диссоциировать на атомы водорода:

Н2 (водный раствор)↔2Н (адсорбированы на поверхности металла)↔2e- + 2H+(водный раствор)

Поскольку реакция диссоциации молекул водорода имеет большую энергию активации по сравнению с теплотой диссоциации (103,2 ккал/моль), равновесие может установиться лишь с помощью катализатора. Поэтому металлическая фаза водородного электрода не только проводит электроны, но и действует как катализатор.[9],[10]

Есть некоторые требования к хорошему металлу для водородного электрода. Металл должен быть благородным и сам не должен реагировать или растворяться в жидкой фазе. Он должен быть хорошим катализатором для реакции диссоциации водорода, т. е. необходимо, чтобы он адсорбировал на поверхности атомы водорода, но не реагировал с ними до образования устойчивого гидрида. Кристаллическая решетка металла не должна поглощать атомы водорода, иначе равновесие водородного электрода будет нарушено. Поверхность металла должна состоять из мелкодисперсного осадка. Поскольку каталитическая активность поверхности металла связана с дефектами решетки, состоящая из мелкодисперсного осадка поверхность металла увеличивает не только истинную поверхность металла, но и число активных каталитических центров. В неводных или частично водных растворах металл не должен катализировать посторонние неэлектрохимические реакции гидрогенизации.

Палладий - наилучший катализатор диссоциации водорода, но он не годится для водородного электрода, так как в его металлическую фазу проникает большое количество атомов водорода. После этого атомы водорода теряют контакт с жидкой фазой, с которой они должны оставаться в равновесии. Удовлетворительные результаты дает тонкий слой палладия, осажденный на золоте или платине. Наилучшим металлом для водородного электрода является платинированная платина благодаря своей большой площади поверхности, хотя она и несколько проницаема для атомов водорода. В тех случаях, когда наличие платинированной платины в растворе ускоряет какие-либо посторонние реакции гидрогенизации в неводных или частично водных растворах, можно использовать полированную платину или золото. Поверхность полированной платины или золота следует активировать анодной обработкой или химически с помощью сильно окисляющих реагентов, таких, как хромовая кислота или царская водка. В качестве катализаторов для реакции диссоциации водорода пригодны также переходные металлы благодаря своим не полностью заселенным d-орбиталям.

Иногда бывает весьма желательно удалить некоторые вносимые газообразным водородом примеси. Так, кислород окисляет поверхность металла. Получающийся окисел реагирует с растворенным водородом и уменьшает его концентрацию вблизи электрода, сдвигая таким образом потенциал водородного электрода в положительную сторону. Однако кислород может повысить каталитическую активность металла и увеличить срок службы электрода. Поэтому при использовании электродов из полированной платины или золота желательно, чтобы в растворе имелись следы кислорода. Находящаяся в растворе двуокись углерода может изменить его рН. Другие примеси, такие, как соединения мышьяка и серы, могут действовать как каталитические яды и сокращать срок службы электрода.

Возникающий при электролитическом процессе газообразный водород имеет высокую чистоту, но он не пригоден для водородных электродов, поскольку содержит некоторое количество раствора и не свободен от кислорода. Вполне удовлетворителен выпускаемый промышленностью чистый водород после его очистки от кислорода и пропускания через порошковый очиститель, содержащий гидроокись калия в качестве поглотителя углекислого газа. Обычно процесс удаления кислорода сводится к пропусканию водорода через стандартный поглотитель кислорода, содержащий активный при комнатной температуре платиновый катализатор. Другой метод удаления кислорода состоит в пропускании газообразного водорода через чистую трубку из кварцевого стекла, содержащую горячую восстановленную медь (450-700°С) или горячий палладированный или платинированный асбест (200°С).

Если где-то используется соединительная резиновая трубка, то она должна быть предварительно обработана кипячением в растворе каустической соды, чисто вымыта и затем выдержана в течение суток в газообразном водороде, так как из резины могут поступать соединения серы.

Для поддержания постоянной концентрации электролита перед поступлением в ячейку газообразный водород должен быть предварительно насыщен растворителем до такого давления паров, которое имеет раствор электролита при той же температуре.

Примеси влияют на стабильность водородных электродов , т.к. они могут восстанавливаться растворенным газообразным водородом с образованием растворимых продуктов. Это может привести к значительному уменьшению .концентрации молекулярного водорода в растворе и к положительному сдвигу потенциала водородного электрода. К этой категории примесей относятся кислород, CrO42-, Fe3+ и т. д. Катионы некоторых металлов, таких, как серебро, ртуть, медь, свинец и т.д., могут восстанавливаться, и осаждаться в твердом виде, покрывая поверхность электрода и изменяя его свойства. Примеси, подобные соединениям мышьяка и серы, а также некоторые органические соединения могут адсорбироваться на активных центрах поверхности металла и парализовать каталитическую активность.

Даже в отсутствие примесей каталитическая активность поверхности металла может нарушаться водородным ядом. Под этим подразумевается уничтожение активных центров на поверхности металла реакцией рекомбинации атомов водорода. Поскольку каталитическое действие поверхности металла связано с дефектами кристалла, активные центры находятся в более высоких энергетических состояниях, чем поверхность идеального кристалла. За счет большой энергии, выделяемой при слиянии атомов водорода, активные центры могут перейти в состояние с пониженной энергией (поверхность идеального кристалла) и потерять свою каталитическую активность. Перед употреблением старого или долго проработавшего водородного электрода его следует повторно активировать или платинировать.

В водных растворах водородный электрод может применяться в широком диапазоне рН. Он использовался в щелочных растворах вплоть до моляльности 4 моль/кг и в растворах серной кислоты до моляльности 17,5 моль/кг, но в нейтральных растворах в отсутствие буфера этот электрод не применим. Дело в том, что потенциал водородного электрода весьма чувствителен к рН. В нейтральных растворах, через которые пропускается хотя бы незначительный ток, рН вблизи электрода изменяется довольно заметно.

Давление газообразного водорода можно точно измерить барометром. Однако в большинстве конструкций ячеек водород пропускается через раствор в виде пузырьков. Поэтому при вычислении потенциала следует использовать эффективное давление газообразного водорода. Для водных растворов эффективное давление можно рассчитать по эмпирическому уравнению

                                         (27)

где  - барометрическое давление (мм рт. ст.),  - давление паров раствора (мм рт. ст.) и h - глубина погружения распылителя водорода (мм). Водородный электрод можно также применять во многих неводных и частично водных растворах, особенно в спиртовых.[9]

Диффузионный потенциал

В электрохимических цепях на границах раздела между неодинаковыми растворами электролитов возникают скачки потенциала. Для двух растворов с одинаковым растворителем такой скачок потенциала называется диффузионным потенциалом. В месте контакта двух растворов электролита КА, отличающихся друг от друга концентрацией, происходит диффузия ионов из раствора 1, более концентрированного, в раствор 2, более разбавленный. Обычно скорости диффузии катионов и анионов различны. Допустим, что скорость диффузии катионов больше скорости диффузии анионов. За некоторый промежуток времени из первого раствора во второй перейдет больше катионов, чем анионов. В результате этого раствор 2 получит избыток положительных зарядов, а раствор 1 - отрицательных. Поскольку растворы приобретают электрические заряды, то скорость диффузии катионов уменьшается, анионов увеличивается, и с течением времени эти скорости становятся одинаковыми. В стационарном состоянии электролит диффундирует как единое целое. При этом каждый раствор имеет заряд, и разность потенциалов, установившаяся между растворами, соответствует диффузионному потенциалу. Расчет диффузионного потенциала в общем случае затруднителен. С учетом некоторых допущений Планком и Гендерсоном выведены формулы для расчета φд . Так, например, при контакте двух растворов одного и того же электролита с различной активностью (α1α2)

                                                        (28)

где  и - предельные молярные электрические проводимости ионов. Величина φд мала и в большинстве случаев не превышает нескольких десятков милливольт.

ЭДС электрохимической цепи с учетом диффузионного потенциала

……………………………….(29)

Уравнение (29) используется для расчета  (или ) по результатам измерения Е, если известны  (или ) и . Поскольку определение диффузионного потенциала связано с существенными экспериментальными трудностями, то при измерениях ЭДС удобно устранить с помощью солевого мостика. Последний содержит концентрированный раствор электролита, молярные электрические проводимости ионов которого приблизительно одинаковы (KCl, KNO3). Солевой мостик, в котором содержится, например, КС1, располагают между растворами электрохимической цени, и вместо одной жидкостной границы в системе возникают две. Так как концентрация ионов в растворе КС1 значительно выше, чем в соединяемых им растворах, то практически только ионы K+ и С1- диффундируют через жидкостные границы, на которых возникают очень малые и обратные по знаку диффузионные потенциалы. Их суммой можно пренебречь.[1],[7]

Строение двойного электрического слоя

Переход заряженных частиц через границу раствор - металл сопровождается возникновением на этой границе двойного электрического слоя (д.э.с) и скачка потенциала. Двойной электрический слой создается электрическими зарядами, находящимися на металле, и ионами противоположного заряда (противоионами), ориентированными в растворе у поверхности электрода.[1]

В формировании ионной обкладки д.э.с. принимают участие как электростатические силы, под влиянием которых противоионы подходят к поверхности электрода, так и силы теплового (молекулярного) движения, в результате действия которых д.э.с. приобретает размытое, диффузное строение. Кроме того, в создании двойного электрического слоя на границе металл - раствор существенную роль играет эффект специфической адсорбции поверхностно-активных ионов и молекул, которые могут содержаться в электролите.

Строение двойного электрического слоя в отсутствие специфической адсорбции. Под строением д.э.с. понимают распределение зарядов в его ионной обкладке. Упрощенно ионную обкладку можно условно разделить на две части: 1) плотную, или гельмгольцевскую, образованную ионами, практически вплотную подошедшими к металлу; 2) диффузную, созданную ионами, находящимися на расстояниях от металла, превышающих радиус сольватированного иона (рис. 1). Толщина плотной части порядка 10-8 см, диффузной - 10-7-10-3 см. Согласно закону электронейтральности

……………………………..(30)

где , ,, - плотность заряда со стороны металла, со стороны раствора, в плотной диффузионной части д.э.с. соответственно. [1]

Рис.1. Строение двойного электрического слоя на границе раствор - металл.: аб - плотная часть ;бв - диффузная часть

Распределение потенциала в ионной обкладке двойного электрического слоя, отражающее его строение, представлено на рис.2. Величина скачка потенциала φ на границе раствор - металл соответствует сумме величин падения потенциала  в плотной части д.э.с и  - в диффузной. Строение д.э.с. определяется общей концентрацией раствора, С ее ростом диффузия противоиоиов от поверхности металла в массу раствора ослабляется, в результате чего сокращаются размеры диффузной части. Это приводит к изменению -потенциала. В концентрированных растворах диффузная часть практически отсутствует, и двойной .электрический слой подобен плоскому конденсатору, что соответствует модели Гельмгольца, впервые предложившего теорию строения д.э.с..

Рис.1. Распределение потенциала в ионной обкладке при различной концентрации раствора: аб - плотная часть ; бв - диффузная часть; φ - разность потенциалов между раствором и металлом; ψ,ψ1 - падение потенциала в плотной и диффузной частях д.э.с.

Строение двойного электрического слоя в условиях специфической адсорбции. Адсорбция - концентрирование вещества из объема фаз на поверхности раздела между ними - может быть вызвана как электростатическими силами, так и силами межмолекулярного взаимодействия и химическими. Адсорбцию, вызванную силами неэлектростатического происхождения, принято называть специфической. Вещества, способные адсорбироваться на границе раздела фаз, называются поверхностно-активными (ПАВ). К ним относятся большинство анионов, некоторые катионы и многие молекулярные соединения. Специфическая адсорбция ПАВ, содержащегося в электролите, влияет на структуру двойного слоя и величину -потенциала (рис.3). Кривая 1 соответствует распределению потенциала в двойном электрическом слое в отсутствие ПАВ в растворе. Если раствор содержит вещества, дающие при диссоциации поверхностно-активные катионы, то за счет специфической адсорбции поверхностью металла катионы будут входить в плотную часть двойного слоя, увеличивая ее положительный заряд (кривая 2). В условиях, способствующих усилению адсорбции (например, увеличение концентрации адсорбата), в плотной части может оказаться избыточное количество положительных зарядов по сравнению с отрицательным зарядом металла (кривая 3). По кривым распределения потенциала в двойном слое видно, что -потенциал изменяется при адсорбции катионов и может иметь знак, противоположный знаку потенциала электрода.

Рис.3. Влияние поверхностноактивных катионов на распределение потенциала в ионной обкладке двойного электрического слоя при отрицательном заряде электрода

Эффект специфической адсорбции наблюдается и на незаряженной поверхности металла, т.е. в тех условиях, когда обмен ионами между металлом и раствором отсутствует. Адсорбированные ионы и соответствующие противоионы образуют двойной электрический слой, расположенный в непосредственной близости к металлу со стороны раствора. Ориентированные около поверхности металла адсорбированные полярные молекулы (ПАВ, растворителя) также создают двойной электрический слой. Скачок потенциала, отвечающий двойному электрическому слою при незаряженной поверхности металла, называется потенциалом нулевою заряда (ц.н.з.).[1],[5],[11]

Потенциал нулевого заряда определяется природой металла и составом электролита. При адсорбции катионов п.н.з. становится более положительным, анионов - более отрицательным. Потенциал нулевого заряда является важной электрохимической характеристикой электродов. При потенциалах, близких к п.н.э., некоторые свойства металлов достигают предельных значений: велика адсорбция ПАВ, максимальна твердость, минимальна смачиваемость растворами электролитов и др.

Результаты исследований в области теории двойного электрического слоя позволили более широко рассмотреть вопрос о природе скачка потенциала на границе раствор - металл. Этот скачок обусловлен следующими причинами: переходом заряженных частиц через границу раздела (), специфической адсорбцией ионов () и полярных молекул (). Гальвани-потенциал на границе раствор - металл можно рассматривать как сумму трех потенциалов:

……………………………..(31)

В условиях, при которых обмен заряженными частицами между раствором и металлом, а также адсорбция ионов не происходят, все же остается скачок потенциала, вызванный адсорбцией молекул растворителя, - . Гальвани-потенциал  может быть равен нулю только тогда, когда , и  компенсируют друг друга.

В настоящее время нет прямых экспериментальных и расчетных методов определения величин отдельных скачков потенциала на границе раздела раствор - металл. Поэтому вопрос об условиях, при которых скачок потенциала обращается в нуль (так называемый абсолютный нуль потенциала), остается пока открытым. Однако для решения большинства электрохимических задач знание отдельных скачков потенциалов не обязательно. Достаточно пользоваться значениями электродных потенциалов, выраженными в условной, например водородной, шкале.

Строение двойного электрического слоя не отражается на термодинамических свойствах равновесных электродных систем. Но при протекании электрохимических реакций в неравновесных условиях ионы испытывают влияние электрического поля двойного слоя, что приводит к изменению скорости электродного процесса.[1]

Классификации электрохимических цепей и обратимых электродов

Электрохимические цепи обычно классифицируют по двум признакам: 1) по источнику электрической энергии (физические, концентрационные, химические); 2) по наличию или отсутствию в цепи границы двух различных растворов (соответственно, цепи с переносом и без переноса).[4]

В физических цепях источником электрической энергии служит различие в физическом состоянии двух одинаковых по своему химическому составу электродов. Эти электроды погружены в один и тот же раствор и при работе цепи электрод, находящийся в менее устойчивом состоянии, переходит в более устойчивое состояние. Физические цепи - цепи без переноса - подразделяются на аллотропические и гравитационные.

Аллотропические цепи - это цепи, в которых менее устойчивое состояние одного электрода обусловлено тем, что он изготовлен из метастабильной модификации данного материала.

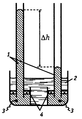
Гравитационные цепи были впервые реализованы российским электрохимиком Р.А.Колли. Гравитационная цепь из двух ртутных электродов в растворе Hg(NO3)2 представлена на рис. 4. Левый электрод с более высоким уровнем ртути обладает большим запасом потенциальной энергии по сравнению с правым электродом. Этот избыток потенциальной энергии в расчете на 1 г-экв металлической ртути составляет , где  - молекулярная масса ртути;  - ускорение силы тяжести;  - разность уровней ртути. При работе цепи на левом электроде происходит растворение ртути:


а на правом, наоборот, разряд ионов :


В результате этих двух электродных процессов происходит перенос металлической ртути из левой части в правую, который направлен на выравнивание уровней ртути. При этом перенос 1 г-экв ртути соответствует прохождению через систему 1 фарадея и электрической работе EF. Поскольку источником этой энергии является потенциальная энергия , то ЭДС гравитационной цепи

…………………………………………(32)

Из уравнения (32) при =1м получаем:


Эксперимент подтверждает этот результат. Из-за столь малых величин E гравитационные цепи не имеют практического значения. Они представляют интерес как пример, иллюстрирующий законы превращения энергии.

Рис.4. Схема гравитационной электрохимической цепи:

-ртуть; 2-раствор соли ртути; 3-впаянные в стекло токоотводы; 4-керамические диафрагмы, проницаемые для ионов  и непроницаемые для металлической ртути

В концентрационных цепях оба электрода идентичны как по физическому состоянию, так и по химической природе участников окислительно-восстановительных процессов; они отличаются только концентрацией компонентов Ох или Red. Источником электрической энергии является разность свободных энергий Гиббса, обусловленная различными активностями одних и тех же химических компонентов. Концентрационные цепи можно приготовить из амальгам разных концентраций в одном и том же растворе; из одинаковых электродов первого, второго или третьего рода, находящихся в растворах разной концентрации; из одинаковых газовых электродов, работающих при разных давлениях газов. Различают концентрационные цепи без переноса, т.е. без границы двух растворов, и с переносом, когда имеется такая граница.[4],[7]

В химических цепях источником электрической энергии является свободная энергия химической реакции, протекающей в электрохимической системе. Один из электродов таких цепей должен быть обратимым по катиону, а другой - по аниону.


Pt | Cd(Hg) | CdSO4 (насыщ. раствор) | Hg2SO4, Hg | Pt,

лежащая в основе стандартного элемента Вестона. ЭДС этого элемента отличается большой стабильностью и малым температурным коэффициентом, а потому он используется в качестве стандарта при потенциометрических измерениях.[3],[4]

Заключение

Целостное представление о химической системе невозможно создать без связи с жизнью, с практикой. Изучение электрохимических систем необходимо для понимания не только широко используемых процессов (в гальванических элементах, в аккумуляторах, при электролизе), но и других явлений окружающего мира. Электрохимические методы широко применяются в аналитической химии. Защита окружающей среды предполагает постоянный аналитический контроль множества разных объектов: воды (поверхностные, морские, речные, озерные), воздух (в том числе аэрозоли, пыли, туманы, дымы), почвы и донные отложения, растения, сельскохозяйственная продукция, пищевые продукты, корма, ткани животных и человека. Вредные химические вещества распространены повсюду в окружающей среде. Основная задача аналитического контроля заключается в том, чтобы получить объективную информацию о содержании вредных компонентов в среде обитания.

Таким образом, знакомясь с электрохимическими системами, можно увидеть практическую ценность химической науки. Кроме того, рассмотрение электрохимических систем подводит нас к выводу о единстве важнейших явлений окружающего мира (массы и энергии, электрических явлений и химических превращений).

Список литературы

Краснов, К.С., Воробьев, Н.К., Годнев, И.Н. и др. Электрохимия. Химическая кинетика и катализ./ Краснов, К.С., Воробьев, Н.К., Годнев, И.Н. и др. - М.: Высш.шк., 2001г. - с.49-93

Интеренет-ресурс «Школа цифрового века» - [электронный ресурс] - Режим доступа: <https://him.1september.ru>

Антропов, Л.И. Теоретическая электрохимия./ Антропов, Л.И. - М.: Высш.шк., 1984г. - с.178-260

Дамаскин, Б.Б., Петрий, О.А., Цирлина, Г.А. Электрохимия. Учебник для вузов./ Дамаскин, Б.Б., Петрий, О.А., Цирлина, Г.А - М.: Химия, 2001г. - с.220-256

Чеботин, В.Н. Электрохимия твердых электролитов./ Чеботин, В.Н. - М.:Химия, 1978г. - с.147-176

Багоцкий, В.С. Основы электрохимии./ Багоцкий, В.С. - М.: Химия, 1988г. - с.57-59

Никольский, Б.П., Смирнова, Н.А., Панов, М.Ю., Лутугина, Н.В., Пальгевский, В.В., Пендин, А.А., Белинская, Ф.А., Первухин, О.К., Чарыков, А.К. Физическая химия. Теоретическое и практическое руководства./ Никольский, Б.П., Смирнова, Н.А., Панов, М.Ю. - Л.: Химия, 1987г. - с.503-560

Станкевич, В.А., Грива, З.И., Травина Л.Ф. Соединения переменного состава./ Станкевич, В.А., Грива, З.И., Травина Л.Ф. - Л.: Химия, 1969г. - с.219-258

Ньюмен, Дж. Электрохимические системы. / Ньюмен, Дж. - М.: Мир, 1976г. - с.132-136

Скорчеллетти, В.В. Теретическая электрохимия./ Скорчеллетти, В.В. - Л.: Госхимиздат, 1963г. - с.238-343

Похожие работы на - Электродные равновесия

 

Не нашли материал для своей работы?
Поможем написать уникальную работу
Без плагиата!
Без нейросетей!