Электрогравиметрический метод анализа
МИНИСТЕРСТВО ОБРАЗОВАНИЯ И НАУКИ
УКРАИНЫ
ОДЕССКИЙ НАЦИОНАЛЬНИЙ УНИВЕРСИТЕТ
им. И.И. МЕЧНИКОВА
Реферат на тему:
"Электрогравиметрический метод
анализа"
студентки
химического факультетакурса, 2 группы
специальность педагогика
Стоян А.А.
Преподаватель: Чеботарёв А.Н.
Одесса, 2014
Содержание
Введение
1. Электрогравиметрический метод анализа
1.2 Аппаратура
1.3 Метрологические и аналитические характеристики
1.4 Метод внутреннего электролиза (вставить рис. стр.406 Крешков)
Заключение
Список использованной литературы
Введение
Электрохимические методы анализа - группа методов
количественного химического анализа, основанных на использовании электролиза.
Разновидностями метода являются электрогравиметрический
анализ (электроанализ), внутренний электролиз, контактный обмен металлов
(цементация), полярографический анализ, кулонометрия и др. В частности,
электрогравиметрический анализ основан на взвешивании вещества, выделяющемся на
одном из электродов. Метод позволяет не только проводить количественные
определения меди, никеля, свинца и др., но и разделять смеси веществ.
Кроме того, к электрохимическим методам анализа относят
методы, основанные на измерении электропроводности (кондуктометрия) или
потенциала электрода (потенциометрия). Некоторые электрохимические методы
применяются для нахождения конечной точки титрования (амперометрическое
титрование, кондуктометрическое титрование, потенциометрическое титрование,
кулонометрическое титрование).
1.
Электрогравиметрический метод анализа
.1
Теоретические основы
Электрогравиметрия - старейший
электрохимический метод анализа, известен с 1684 года. В настоящее время он
применяется только для определения меди и анализа медных сплавов, содержащих
олово, свинец, кадмий и цинк. Будучи безэталонным методом, электрогравиметрия
по правильности и воспроизводимости результатов превосходит другие методы
определения этих элементов. Однако на проведение анализа требуется много
времени и метод считают устаревшим.
Электрогравиметрический метод анализа основан на электролитическом
выделении металлов и взвешивании полученного на электроде осадка металла. При
этом металл может быть выделен как в элементарной форме на катоде в результате
электровосстановительного процесса, так и в виде оксида на аноде в результате
электроокислительного процесса.
Метод применяется для определения главным образом металлов
(0,1-99%) в рудах, а сплавах цветных металлов - меди, никеля, цинка, кадмия,
свинца и др. В качестве источника постоянного тока используют аккумуляторы и
выпрямители. Разность потенциалов измеряют с помощью вольтметров, силу тока -
при помощи амперметров. Электролиз ускоряется при нагревании и перемешивании
растворов. Основными преимуществами электрогравиметрического метода являются
высокая точность и простота необходимой аппаратуры.
Метод основан на измерении массы вещества, выделявшегося в
процессе электролиза на предварительно взвешенном электроде, обычно платиновой
сетке. Электролиз можно проводить либо при постоянной силе тока, либо при
постоянном потенциале. Если заданную величину потенциала электрода
контролировать с помощью потенциостата, то можно раздельно отделить компоненты
смеси. Высокая селективность метода становится ясна из уравнения Нернста: для
десяти - кратного изменения концентрации определяемого компонента потенциал
электрода нужно изменить всего лишь на 0,059 В/п. И следовательно, если
условием количественного разделения компонентов смеси считать снижение исходной
концентрации в
, то при равенстве исходных концентраций
разделение однозарядных ионов возможно при разности формальных потенциалов
порядка 0,3 В, а двухзарядных ионов - 0,1 В. Так, последовательно определение
компонентов медного сплава можно проводить при электролизе нейтрального
щавелевой - кислого раствора: при - 0.2 В на катоде выделяется только медь,
если после взвешивания электрода повысить потенциал до - 0,4 В, то начнётся
осаждение висмута, а при - 0,6 В осаждение свинца. Если раствор после выделения
меди, висмута и свинца подкислить, то оксалатный комплекс олова разрушится и
при - 0,65 В можно выделять олово.
Есть интересный вариант гравиметрии, называемый методом
самопроизвольного (внутреннего электролиза). Электролиз проводят без
использования внешнего источника напряжения, то есть за счёт самопроизвольной
химической реакции в гальванистическом элементе. Метод трудоёмок, но прост и
при правильном выборе анода позволяет проводить ряд селективных определений.
Так, на платиновом катоде в паре с медным анодом в растворе сульфата меди можно
определять серебро в присутствии меди, железа, никеля и цинка.
Известно два варианта электрогравиметрических методов
анализа:
1. Выделение вещества происходит на электроде под действием
источника постоянного тока. Это наиболее распространённый метод применяется при
определении макроколичеств вещества.
. Метод внутреннего электролиза. Менее распространённый,
применяется при определении микроколичеств вещества. В этом варианте постоянный
ток возникает при погружении в раствор гальванической пары. Источник
постоянного тока не требуется.
1.2
Аппаратура
Для поддержания постоянной разности потенциалов в процессе
электролиза применяют реостаты различных конструкций, или специальные
автоматические приборы. Разность потенциалов обычно измеряют при помощи
вольтметров, включенных параллельно электродам в цепь источника постоянного
тока.
В качестве источников постоянного тока в электроанализе
используют свинцовые или щелочные аккумуляторы. Для преобразования переменного
тока в постоянный применяют выпрямители. Силу тока, протекающего через раствор,
измеряют при помощи амперметров, включенных в цепь последовательно.
Электролиз сильно ускоряется при перемешивании и подогревании
раствора. Перемешивание раствора можно проводить, пропуская через него воздух
или азот, а также с помощью мешалок различных конструкций.
В электрогравиметрическом анализе чаще всего применяют
платиновые электроды. Для увеличения скорости выполнения анализа им придают,
возможно, более развитую поверхность. В большинстве случаев электроды
изготовляют в идее сетчатых цилиндров, вставляемых один в другой. Иногда
применяют сетчатый катод и свернутый в спираль анод, а также некоторые другие
типы электродов. Они употребляются потому, что платина лучше всего
удовлетворяет требованиям, предъявляемым к материалу электродов в электрогравиметрическом
анализе.
Эти требования таковы:
1) электроды не должны растворяться ни в процессе
электролиза, ни в результате химического взаимодействия с веществами,
присутствующими в растворе, в частности с кислотами;
) образующийся при электролизе осадок должен плотно
удерживаться на электроде;
) электрод не должен изменяться при хранении на воздухе.
При электрогравиметрических методах обычно применяют
платиновые электроды (сетчатый катод и свёрнутый в спираль - анод).
При работе с платиновыми электродами следует
соблюдать следующие правила:
1. Для определения металлов, образующих при
электроосаждении сплавы с платиной (например, Zn, Sn, In), платиновые электроды
предварительно покрывают Cu и Cd, которые легко удаляются с поверхности катода.


а
б в
Рис. Электроды для электрогравиметрического анализа:
а - сетчатый катод и спиральный анод;
б - конический катод и спиральный анод;
в - катод в виде чашки, анод - дисковой
. Определение нельзя проводить в присутствии ионов хлора,
разрушающих, так как последние вызывают заметное разрушение платинового
электрода, происходящее в процессе электролиза.
. Для удаления продуктов электролиза с поверхности платинового
электрода следует применять азотную кислоту или смесь азотной и серной кислот
без примеси соляной кислоты, чтобы исключить возможность образования царской
водки, энергично разрушающей платину. Для удаления двуокиси свинца с
поверхности анода применяют разбавленную (1:1) соляную кислоту, которая не
должна содержать примеси азотной кислоты. Очистку анода в этом случае проводят
на холоду.
. При электровесовом определении ртути нельзя удалять выделившуюся
ртуть путём обработки электрода азотной кислотой, так как часть платины
теряется, а поверхность катода становится рыхлой и непригодной для
электровесовых определений. Для удаления ртути с поверхности катода
рекомендуется нагревать его длительное время в муфельной печи. При этом ртуть с
поверхности платины испаряется, а катод остаётся чистым, не рыхлым и пригодным
для дальнейших определений. Эту операцию необходимо проводить в вытяжном шкафу
с мощной вентиляцией, чтобы избежать отравления парами ртути.
В процессе работы с платиновыми электродами нельзя касаться руками
тех частей, которые погружаются в раствор электролита. Электроды берут руками
за их верхние части на расстоянии 1 - 2 см от конца. Концы электродов
закрепляют в зажиме электродержателя: анод (спираль) - к положительному полюсу
(+); катод - к отрицательному (-).
При установке катода его подводят снизу и закрепляют в зажиме
держателя так, чтобы анод проходил точно через центр сетчатого цилиндра и не
касался его поверхности. Кончик спирали должен немного выступать из-под
сетчатого катода.
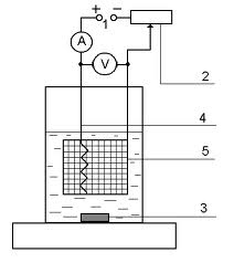
Электролиз чаще всего проводят при постоянном токе. Для получения
постоянного тока обычно используют выпрямитель переменного тока или батарею
аккумуляторов (1). Скользящий контакт (2) позволяет регулировать подаваемое
напряжение, которое измеряют вольтметром (V). Сила тока контролируется
амперметром (А).
химический анализ электрогравиметрический электролиз
Рис. 2.6 Схема установки для проведения электролиза. 1 - источник
постоянного тока; 2 - переменное сопротивление (реостат); 3 - магнитная
мешалка; 4 - анод; 5 - катод.
При выделении металлов катод (5) обычно изготавливают из
платиновой сетки, анод (4) - из платиновой спирали или пластинки. При выделении
оксидов знаки электродов меняются: платиновая сетка становится анодом, а
спираль - катодом. Раствор перемешивается механической или магнитной мешалкой
(3).
1.3
Метрологические и аналитические характеристики
Электрогравиметрию применяют для определения металлов, дающих
плотные осадки на электроде, не осыпающиеся при промывании, высушивании и
взвешивании. Кроме того, электрогравиметрию применяют только в тех случаях,
когда осаждение определяемого металла не сопровождается соосаждением других
металлов или примесей.
При электролизе катионы перемещаются к катоду, выделяясь на нем в
виде металлов. Только очень немногие металлы осаждаются на аноде. К ним
относятся, например,
и
, окисляющиеся в процессе электролиза до
и
.
Электроды, применяемые в электрогравиметрическом анализе,
должны отвечать следующим требованиям:
1) быть химически инертными;
) хорошо удерживать образующиеся осадки;
) иметь возможно меньшую массу и возможно большую поверхность;
) не препятствовать перемешиванию раствора.
Для проведения электрогравиметрического анализа два платиновых
электрода погружают в стакан с анализируемым раствором, подсоединяют электроды
к внешнему источнику тока и проводят электролиз.
При прохождении тока через раствор электролита происходят процессы
восстановления и окисления соответствующих веществ на электродах.
Связь между количествами веществ, участвующих в электродных
процессах, и количеством электричества Q (
) через цепь за время электролиза t при токе I устанавливается
двумя законами Фарадея:
Первый закон Фарадея: масса вещества, восстановленного на катоде
или окисленного на аноде, пропорциональна количеству электричества, прошедшего
через раствор или расплав.
Второй закон Фарадея: одно и то же количество электричества
восстанавливает или окисляет на электродах массы различных веществ, прямо
пропорциональные их химическим эквивалентам.
Количество электричества, расходуемое на выделение одного
эквивалента, называют постоянной Фарадея и обозначают буквой F.
(F= 96 487 Кл/моль).
Математически оба закона можно представить формулой:
,
где m (X) - масса вещества X, выделившегося при электролизе;(1/z
X) и M (X) - молярная масса эквивалента и молярная масса вещества X,
соответственно;- число эквивалентности;- число Фарадея, равное количеству
электричества (96500 Кл), которое требуется для выделения 1 моль эквивалентов
вещества.
В электрогравиметрических методах анализа кроме потенциала и силы
тока важно контролировать ряд экспериментальных условий.
Неплатиновые электроды. Вследствие высокой стоимости платиновых электродов их заменяют
танталовыми, вольфрамовыми, серебряными, никелевыми, графитовыми и другими.
Можно применять катоды из нержавеющей стали и аноды из свинца, железа, никеля.
Напряжение. Практически
напряжение при электролизе приходится поддерживать выше напряжения разложения.
Избыточное напряжение, которое необходимо создать на данном электроде, чтобы
нормально протекал электролиз, называют перенапряжением.
Перенапряжение объясняется протеканием на поверхности электродов и в
непосредственной близости к ним сложных физико-химических процессов.
Условия электролиза должны быть выбраны так, чтобы происходило
выделение только одного металла, а не смеси каких - либо металлов.
При электроанализе большое значение имеет характер выделяющегося
осадка. Для получения правильных результатов анализа осадки, выделенные
в результате электролиза, должны удовлетворять следующим требованиям:
1. Осадок
должен быть чистым и не содержать посторонних примесей. Наиболее чистыми
осадками являются мелкокристаллические.
2. Осадок
должен обладать хорошим сцеплением с поверхностью электрода. Если осадок плохо
сцепляется с поверхностью электрода, то при последующей обработке, промывании,
высушивании и взвешивании электрода часть осадка может быть потеряна и
результаты анализа будут неточными.
3. Состав
отложившегося на электроде вещества не должен изменяться под действием
кислорода воздуха. При некоторых условиях электролиза (высокой плотности тока)
получают мелкокристаллические, но пористые осадки с весьма развитой
поверхностью. Такие осадки легко окисляются. Например, при электролитическом
осаждении меди из аммиачных растворов при высокой плотности тока металл
образует на поверхности катода губчатый порошкообразный осадок, легко
окисляющийся на воздухе в процессе сушки. Результаты определения в этом случае
получаются повышенными.
Физические факторы, влияющие на свойства осадка:
Осадок должен прочно прилипать к электроду, быть плотным и
гладким, чтобы при промывании, высушивании и взвешивании не происходило
механических потерь или взаимодействия с окружающей средой. Хорошие
металлические осадки являются мелкозернистыми и имеют металлический блеск.
Губчатые, порошкообразные или чешуйчатые осадки менее чистые и хуже пристают к
электроду.
Если в процессе электролиза выделяется газ, обычно получается
губчатый и неравномерный осадок. Для устранения его влияния в раствор вводят
так называемые деполяризаторы и контролируют потенциал катода. Например, для
предотвращения выделения водорода при электрогравиметрическом определении меди
в раствор вводится азотная кислота (деполяризатор). На катоде происходит
восстановление нитрата до нитрита или до аммоний - иона вместо выделения
водорода.
Чаще всего электролиз ведут при достаточно высоких плотностях
тока. Однако, использование чрезмерно высоких плотностей тока нежелательно, так
как могут быть получены нерегулярные осадки с низкой прочностью. Обычно
проводят электролиз при плотности тока от 0,01 до 0,1
.
Во время электролиза обычно раствор перемешивают для уменьшения
концентрационной поляризации и экспериментально выбирают оптимальную
температуру для каждого конкретного случая.
Химические факторы, влияющие на свойства осадка:
1. Влияние рН. От величины рН раствора зависит
возможность выделения определяемого металла на электроде. Тщательный контроль
рН позволяет иногда проводить количественное разделение катионов. Например, в
кислых растворах с малыми значениями рН медь легко отделить от никеля, кадмия и
цинка, для выделения, которых требуется нейтральная или щелочная среда.
. Влияние комплексообразующих веществ. Экспериментально
установлено, что при выделении из растворов комплексных соединений многие
металлы образуют более гладкие или более плотно прилегающие осадки.
Самые лучшие металлические поверхности часто получают электролизом растворов,
содержащих большие количества цианид - ионов или аммиака.
Изменение рН и введение в раствор комплексообразующих добавок
весьма существенно сказываются на величине потенциала, а это существенным
образом может повлиять на выделение того или иного металла, а также на
разделение металлов при их совместном присутствии.
Разделение металлов методом электролиза возможно, если их
стандартные электродные потенциалы различаются на 0,2 - 0,3 В. Этот критерий
позволяет по значениям стандартных электродных потенциалов предсказать
возможность разделения любой заданной пары ионов. Например, серебро (
) можно выделить в присутствии (
, но нельзя отделить от ртути
.
1.4 Метод
внутреннего электролиза (вставить рис. стр.406 Крешков)
Электрогравиметрический анализ иногда можно выполнить в
накоротко замкнутом гальваническом элементе. При этом не требуется внешнего
источника тока, так как осадок выделяется за счет энергии гальванического
элемента.
Если в раствор соли анализируемого металла опустить две
пластинки (электроды) - одну платиновую, а другую - из какого-либо более
электроотрицательного металла, чем определяемый, и замкнуть их вне раствора
металлическим проводником, то по цепи начнёт протекать электрический ток.
Находящиеся в растворе ионы металла разряжаются на катоде (платине), образуя осадок
металла. Процесс начинается с выделения более электроположительного из
находящихся в растворе металлов.
При наличии в растворе катионов нескольких металлов, подобрав
соответствующие аноды (алюминий, цинк, кадмий, железо, свинец), удаётся точно
отделить некоторые элементы друг от друга.
Например, отделение меди от цинка можно проводить в нейтральной
среде применив в качестве анода никель, так как в этой среде
, или в аммиачной среде в присутствии
тартрата аммония, используя в качестве анода алюминий, так как и в этом случае
.
Например, ионы меди будут количественно выделяться из раствора на
платиновом катоде, если этот электрод соединить с цинковым анодом, погруженным
в раствор соли цинка. Реакцию в элементе можно представить следующим образом:
Если реакция протекает до установления равновесия, то практически
все ионы меди будут удалены из раствора. Этот способ носит название внутреннего
или самопроизвольного электролиза.
Приборы для анализа внутреннего электролиза могут иметь различное
устройство.
В приборах одного типа оба электрода непосредственно погружены в
анализируемый раствор. В приборах другого типа имеется пористая диафрагма,
отделяющая анодное пространство от катодного. Катодное пространство заполняют
анализируемым раствором, а анодное - каким - либо другим подходящим
электролитом.
Метод внутреннего электролиза применяют главным образом при
анализе цветных металлов, преимущественно для определения малых количеств
посторонних примесей.
Помимо простоты установки преимущество метода внутреннего
электролиза перед обычным электролизом состоит в относительно высокой
селективности. Правильный выбор анода позволяет устранить совместное осаждение
многих элементов. Например, использование свинцовой пластинки в качестве анода
позволяет предотвратить мешающее влияние всех металлов с более отрицательным
потенциалом, чем у пары: ион свинца - металлический свинец.
Заключение
Электрогравиметрия находится на стыке электрохимического и
гравиметрического методов анализа.
Основными преимуществами электрогравиметрического метода
являются простота необходимой аппаратуры и высокая точность: погрешность
определения составляет 0,1 - 0,2 %. Ограничением метода являются его
применимость к относительно небольшому числу элементов, необходимость
сравнительно больших содержаний определяемых веществ, а также длительность
анализа.
Список
использованной литературы
1. Золотов,
Ю.А. Основы аналитической химии: в 2 кн / Ю.А. Золотов и др. М., 1999. Кн.1.
2. Крешков,
А.П. Основы аналитической химии: в 3 кн
. А.П.
Крешков. М.: Химия, 1976. Кн.2, 3.
. Васильев,
В.П. Аналитическая химия: в 2 т. / В.П. Васильев. М.: Высшая школа. 1989. Т.1,
2.
. Янсон
Э.Ю., Путнинь Я.К. Теоретические основы аналитической химии. М.: Высшая школа,
1980.263 с.