Стригальные аппараты для стрижки овец. Оборудование и организация работы стригальных пунктов

  • Вид работы:
    Реферат
  • Предмет:
    Сельское хозяйство
  • Язык:
    Русский
    ,
    Формат файла:
    MS Word
    493,99 Кб
  • Опубликовано:
    2014-10-22
Вы можете узнать стоимость помощи в написании студенческой работы.
Помощь в написании работы, которую точно примут!

Стригальные аппараты для стрижки овец. Оборудование и организация работы стригальных пунктов

Стригальные аппараты для стрижки овец. Оборудование и организация работы стригальных пунктов

Оглавление

Введение

1. Способы стрижки овец

2. Оборудование пунктов для стрижки овец

3. Организация работы на стригальном пункте

4. Купочные установки

Заключение

Список литературы

Введение


В наше время животноводство играет важнейшую роль в современном мире. Эта отрасль сельского хозяйства вносит огромный вклад в народное хозяйство, выполняя такие значимые задачи как обеспечение продуктами питания общества, обеспечение фармацевтики и промышленности сырьём, участие в восстановлении естественного плодородия почв.

Стабильное животноводство обеспечивает экономическую безопасность страны, поэтому его развитие на сегодняшний день является одним из приоритетных направлений внутренней политики государства.

В данном реферате мы рассмотрим такое важное направление животноводства как овцеводство, приносящее не только незаменимое сырье для легкой промышленности (баранина, сало, молоко), но и шерсть, шубные и меховые овчины.

Ни один другой вид сельскохозяйственных животных не имеет такого широкого ареала, как овцы. Их разводят почти во всех почвенно-климатических зонах.

Объектом рассмотрения в реферате являются технические средства для стрижки овец и первичной обработки шерсти. Также к рассмотрению прилагаются купочные установки, организация работы на стригальном пункте, оборудование данных пунктов и способы стрижки овец.

1. Способы стрижки овец


Стрижка овец - одна из ответственных и трудоемких операций в овцеводстве. Практически все овцеводческие хозяйства оснащаются электростригальными агрегатами и комплектами соответствующего оборудования для организации стригального пункта.

Овец к стрижке готовят заблаговременно. Для того, чтобы предохранить шерсть от загрязнения экскрементами, ягнятам тонкорунных и полутонкорунных пород обрезают хвосты в возрасте 1.5 - 2 месяцев.

Помещение, в котором проводят стрижку овец, должно быть светлым и сухим. Его очищают от навоза и дезинфицируют.

Овец стригут на специально подготовленных столах (шириной 1.5 м, длиной 1.7 м и высотой 40 - 50 см), на брезенте (предохраняет шерсть от загрязнения и потерь) или на деревянном полу. Качество настригаемой шерсти зависит от квалификации и мастерства стригаля.     

Наиболее распространенный дефект стрижки - это уменьшение длины шерсти. Это происходит в том случае, когда стригаль делает срез шерсти не у основания штапеля, а выше. Шерсть при этом получается искусственно укороченной, а это в свою очередь снижает ее стоимость и наносит убыток.

·           По стригальному аппарату:



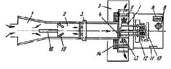
Рисунок 1. Стригальная машинка МСУ-200.

,2 - левая и правая нажимные лапки, 3 - подпитник подпорного стержня, 4 - подпорный стержень, 5 - штуцер, 6 - нажимной патрон, 7 - нажимная гайка, 8 - предохранительный винт, 9 - зубчатое колесо, 10 - штифт, 11 - щит подшипника, 12, 18 - подшипники, 13 - корпус электродвигателя, 14 - вентилятор, 15 - вал-шестерня ротора, 16 - винт, 17 - втулка, 19 - эксцентрик, 20 - корпус, 21 - специальная гайка, 22 - центр вращения, 23 - рычаг, 24 - винт гребенки, 25 - нож, 26 - гребенка.

Во-вторых, качество шерсти получается лучше, потому что руно состригается ближе к коже и ровнее, в результате чего шерсть получается более длинной. Особенно это касается тонкой шерсти, у которой классность и цена зависит от длины.

·           По скорости:

Выделяют скоростной и обычный метод стрижки овец. Скоростной метод (как показано на рисунке 2) предполагает работу стригаля с "сидящей" на полу овцой. Расположившись сзади животного, он одной рукой притягивает его к себе, одновременно отгибая голову овцы, а другой выстригает грудь (рисунок 2а). Затем, прижимая скотину к своим ногам и фиксируя её переднее копыто под своим коленом, состригает шерсть между задней конечностью и животом, на брюхе, одновременно придерживая и расправляя нежную кожу, чтобы избежать порезов (рисунок 2б).

Рисунок 2. Процесс стрижки овцы.

Умелыми движениями рабочий по стрижке овец последовательно снимает шерсть с внутренней, а затем и с внешней стороны задних конечностей животного (рисунок 2в, г). За несколько коротких движений остригается хвост, после чего стригаль, прижимая левый бок овцы рукой, делает проходы вдоль позвоночника, при этом удерживая состриженное руно.

Закончив с этим, ловким движением ног рабочий перемещает овцу и продолжает снимать шерсть с правой щеки, ушей, головы, плеча. Виртуозно сменив положение пребывающего в состоянии лёгкого шока животного, стригаль делает проходы машинкой от крупа вдоль всего туловища к голове. Быстрый переворот, и всё повторяется в зеркальном отображении справа.

При обычном методе техника стрижки овец такова: овцу укладывают на стол, на левый бок, спиной к стригалю и фиксируют тело так, чтобы она не могла подняться самостоятельно. Предварительно с поверхности руна убирают различные загрязнения. Стрижку начинают со сбора низкосортной шерсти, находящейся на ногах, брюхе, хвосте, других местах, подверженных быстрому загрязнению.

Затем состригается шерсть с живота и груди путём аккуратного перемещения машинки от паха правой задней ноги к передней. Закончив, овцу переворачивают на правый бок, стригут лопатку, круп, холку, бок. При этом руно само спадает на стол. Ещё переворот и шерсть собрана с правой стороны, со спины, шеи, головы. Стрижка окончена.

 

. Оборудование пунктов для стрижки овец


Стригальный пункт - помещение, оснащенное технологическим оборудованием для механизированной стрижки овец.

Различают стригальные пункты стационарные, к которым овец подгоняют для стрижки, и передвижные - стригальное оборудование подвозится к месту содержания и пастьбы овец. Размеры и оборудование стригальных пунктов зависят от количества обслуживаемых животных.

Стационарный стригальный пункт (рисунок 3) имеет отделения для стрижки овец и упаковки шерсти и загоны для неостриженных и остриженных овец. Рабочие места обеспечиваются электрическим освещением. Передвижной стригальный пункт, располагаемый на пастбище, представляет собой навес из местных материалов (досок, камыша и др.), предохраняющий от солнечных лучей и дождя. Вместо стен, ограничивающих отделения стрижки и упаковки шерсти и загоны для овец, используют верёвки, натягиваемые на колья. Схема размещения оборудования такая же, как в стационарных стригальных пунктах.

Рисунок 3. Схема размещения оборудования на стригальном пункте.- отделение для стрижки овец; II - отделение упаковки шерсти; III - загон для нестриженных овец; IV - загон для остриженных овец; 1 - стол для стрижки овец; 2 - стригальная машинка; 3 - точильные аппараты; 4 - стол учетчика-весовщика; 5 - стол для классировки шерсти; 6 - стол для прессования шерсти; 7 - весы для взвешивания кип; 8 - склад для кип; 9 - электростанция.

 

. Организация работы на стригальном пункте


На период стрижки во всех овцеводческих хозяйствах организуют специальные стригальные пункты. Помещение стригальных пунктов длиной 50...80 м и шириной 8... 11 м оснащают всем необходимым оборудованием для стрижки овец и первичной обработки шерсти, вентиляцией и средствами защиты от пожара.

Территория стригального пункта состоит из двух зон - производственной и хозяйственной. В первой зоне размещают укрытия для нестриженых овец, стригальный пункт, оборудование для ветеринарной обработки животных после стрижки, во второй - столовую, душевую и другие бытовые объекты. К помещению стригального пункта относят отделения стрижки, классировки и упаковки шерсти, технического обслуживания, лабораторию по определению выхода чистого волокна, а также места для складирования кип шерсти.

Помещение для стрижки не позднее чем за 10 дней до начала работы ремонтируют, очищают и дезинфицируют. Оборудование предварительно расконсервируют и очищают от возможных загрязнений, осматривают с целью обнаружения видимых повреждений. Перед присоединением стригальных машинок к электрической сети агрегата проверяют легкость вращения ротора электродвигателя. Движение должно быть плавным, без стуков и заеданий. Затем регулируют механизмы машинки. Основные правила стрижки: - машинки должны быть исправными и отрегулированными; - нельзя работать тупой режущей парой; - следует захватывать шерсть на полную ширину гребенки и не допускать перекосов машинки; - нельзя оставлять несрезанную шерсть на животных и допускать подстрижку шерсти, т. е. делать повторные проходы машинкой по участкам, где шерсть острижена высоко, в целях сохранения целостности руна; не следует допускать порезов кожи овцы, а также грубого обращения с животным; необходимо соблюдать правила техники безопасности.

Овец для профилактики и лечения 1…2 раза в год обрабатывают ядохимикатами. Известны различные способы нанесения ядохимикатов на шерстный покров овец. Для этой цели применяют аэрозоли, пылевидные препараты и водные эмульсии. Главная задача заключается в полном насыщении ими шерстного покрова овец.

Рисунок 4. Схема купочной установки с осевым окунателем

1 - предкупочный загон; 2 - рабочий загон; 3 - толкающая тележка; 4 - фартук перед купочной ванной; 5 - отстойные загоны; 6 - ступени на выходе из купочной ванны; 7 - осевой окунатель; 8 - парообразователь; 9 - смеситель; 10 - противовес окунателя; 11 - щит управления; 12 - привод гидросистемы платформы окунателя и выходных дверок; 13 - выходные дверки; 14 - отстойники; 15 - входные дверки рабочего загона; 16 - разделитель.

 

Заключение


Мы рассмотрели технические средства для стрижки овец и первичной обработки шерсти, устройство некоторых из них, оборудование и организацию работы на стригальном пункте.

Совершенно ясно, что без хорошей организации работы овцеводческая ферма понесет большие убытки, даже имея самые современные технологии для стрижки овец. Однако справедливо и обратное утверждение: без усовершенствованных функциональных аппаратов, предназначенных для стрижки овечьей шерсти, добиться результата будет крайне сложно.

В заключение необходимо сказать, что в основу рабочего процесса должна лечь как достойная организация труда с оптимальными способами стрижки шерсти на стригальном пункте, так и отвечающее всем требованиям рабочее оборудование.

 

Список литературы


1. Кирсанов В.В., Мурусидзе Д.Н., Некрашевич В.Ф., Шевцов В.В., Филонов Р.Ф. Механизация и технология животноводства // Москва ИНФА-М 2013.

2.      http://www.8lap.ru/section/ovtsy/strizhka-ovets-sposoby-tekhnika/

.        http://dic.academic.ru/dic.nsf/bse/136443/Стригальный

Похожие работы на - Стригальные аппараты для стрижки овец. Оборудование и организация работы стригальных пунктов

 

Не нашли материал для своей работы?
Поможем написать уникальную работу
Без плагиата!
Без нейросетей!