Разработка технологических процессов обработки детали 'переходник' на автоматизированных участках
Введение
Основной тенденцией развития современного
машиностроительного производства является его автоматизация в целях
значительного повышения производительности труда и качества выпускаемой
продукции.
Автоматизация механической обработки
осуществляется путем широкого применения оборудования с ЧПУ и создания на его
основе ГПС, управляемых от ЭВМ.
При разработке технологических процессов
обработки деталей на автоматизированных участках необходимо решать следующие
задачи:
повышение технологичности деталей;
повышение точности и качества заготовок;
обеспечение стабильности припуска; совершенствование существующих и создание
новых методов получения заготовок, снижающих их стоимость и расход металла;
повышение степени концентрации операций и
связанное с этим усложнение структур технологических систем машин;
развитие прогрессивных технологических процессов
и структурно-компоновочных схем оборудования, разработка новых типов и
конструкций режущего инструмента и приспособлений, обеспечивающих высокую
производительность и качество обработки;
развитие агрегатного и модульного принципа
создания станочных систем, загрузочных и транспортных устройств, промышленных
роботов, систем управления.
Механизация и автоматизация технологических
процессов механической обработки предусматривает ликвидацию или максимальное
сокращение ручного труда, связанного с транспортировкой, загрузкой, выгрузкой и
обработкой деталей на всех этапах производства, включая контрольные операции,
смену и настройку инструментов, а также работы по сбору и переработке стружки.
Развитие технологии малоотходного производства
предусматривает комплексное решение задачи изготовления заготовок и
механической обработки с минимальными припусками путем коренного
технологического перевооружения заготовительных и механообрабатывающих цехов с
использованием наиболее прогрессивных технологических процессов, созданием
автоматических и комплексно-автоматизированных линий на базе современного
оборудования.
В таком производстве человек освобождается от
непосредственного участия в изготовлении изделия. За ним остаются функции
подготовки оснастки, наладки, программирования, обслуживания вычислительной
техники. Увеличивается доля умственного и сводится и минимуму доля физического
труда. Сокращается численность рабочих. Повышаются требования к квалификации
работников, обслуживающих автоматизированное производство.
1. Расчет объема выпуска и определение типа
производства
Исходные данные для определения типа
производства:
а) Объем выпуска деталей в год: N = 6500 шт/год;
б) Процент запасных частей: в = 5 %;
в) Процент неизбежных технологических потерь б =
5 %;
г) Общий объем выпуска деталей в год:
шт/год
д) масса детали: m = 3,15 кг.
Тип производства определяется ориентировочно по
табл.1.1
Таблица 1.1 Организация производства по массе и
объёму выпуска продукции
|
Масса
детали, кг
|
Тип
производства
|
|
Е
|
Мс
|
С
|
Кс
|
М
|
|
<1,0
|
<10
|
10-2000
|
2000-75000
|
75000-200000
|
>200000
|
|
1,0-2,5
|
<10
|
10-1000
|
1000-50000
|
50000-100000
|
>100000
|
|
2,5-5,0
|
<10
|
10-500
|
500-35000
|
35000-75000
|
>75000
|
|
5,0-10
|
<10
|
10-300
|
300-25000
|
25000-50000
|
>50000
|
|
>10
|
<10
|
10-200
|
200-10000
|
10000-25000
|
>25000
|
В соответствии с таблицей обработка деталей
будет производиться в условиях среднесерийного производства с приближением к
мелкосерийному.
Для серийного производства характерно применение
специализированного оборудования, а также станков с числовым программным
управлением и автоматизированных линий и участков на их основе. Приспособления,
режущий и мерительный инструмент могут быть как специальными, так и
универсальными. Научно-методической основой организации серийного производства
является внедрение групповой технологии на базе конструкторской и
технологической унификации. Расстановка оборудования, как правило - по ходу
технологического процесса. В качестве средств межоперационного
транспортирования применяются автоматические тележки.
В серийном производстве количество деталей в
партии для одновременного запуска, допускается определять упрощенным способом:
,
где N - годовая
программа выпуска деталей, шт.;
а - число дней, на которое
необходимо иметь запас деталей (периодичность запуска - выпуска,
соответствующая потребности сборки);
F - число
рабочих дней в году.
шт.
2. Общая характеристика детали
.1 Служебное назначение детали
«Переходник». Переходник работает в условиях
статических нагрузок. Материал - Сталь 45 ГОСТ 1050-88.
Предположительно данная деталь работает не в
тяжелых условиях - служит для соединения двух фланцев с разными отверстиями под
крепление. Возможно, деталь является частью трубопровода, в котором происходит
циркуляция газов или жидкостей. В связи с этим предъявляются достаточно высокие
требования к шероховатости большинства внутренних поверхностей (Ra
1,6-3,2). Они оправданы, так как низкая шероховатость уменьшает возможность
создания дополнительных очагов окислительных процессов и способствует
беспрепятственному протеканию жидкостей, без сильного трения и турбулентных
завихрений. Торцевые поверхности имеют грубую шероховатость, так как, скорее
всего, соединение будет производиться через резиновую прокладку.
Основными поверхностями детали
являются: цилиндрические поверхности Æ 70h8
; Æ 50H8+0,039,
Æ 95H9
; резьбовые
отверстия М14х1,5-6Н.
2.2 Тип детали
Деталь относится к деталям типа тел вращения, а
именно - диск (рис.1.). Основными поверхностями детали являются наружные и
внутренние цилиндрические поверхности, наружные и внутренние торцовые
поверхности, внутренние резьбовые поверхности, то есть поверхности определяющие
конфигурацию детали и основные технологические задачи по ее изготовлению. К
неосновным поверхностям отнесем различные фаски. Классификация обрабатываемых
поверхностей представлена в табл. 2.1
Рис. 1. Эскиз детали
Таблица 2.1 Классификация поверхностей
|
№
п/п
|
Исполнительный
размер
|
Заданные
параметры
|
|
|
Ra, мкм
|
Тф,
мкм
|
Трас
, мкм
|
|
1
|
НТП,
IT=12, Lус=10
|
12,5
|
-
|
-
|
|
2
|
НЦП
Æ70
h8
|
1,6
|
-
|
-
|
|
3
|
НТП,
IT=12, Lус=25
|
12,5
|
-
|
0,1
|
|
4
|
НЦП
Æ120
h12
|
12,5
|
-
|
-
|
|
5
|
НТП,
IT=12, Lус=14
|
12,5
|
-
|
-
|
|
6
|
ФП
IT=10, L=1
|
6,3
|
-
|
-
|
|
7
|
НЦП
Æ148
h12
|
12,5
|
-
|
-
|
|
8
|
ФП
IT=10, L=1
|
6,3
|
-
|
-
|
|
9
|
НТП,
IT=12, Lус=26,5
|
12,5
|
-
|
-
|
|
10
|
ВЦП
Æ12
Н10
|
6,3
|
-
|
-
|
|
11
|
ВЦП
Æ95
Н9
|
3,2
|
-
|
-
|
|
12
|
ВТП,
IT=12, Lус=22,5
|
12,5
|
-
|
-
|
|
13
|
ВЦП
Æ50
Н8
|
1,6
|
-
|
-
|
|
14
|
ВЦП
Æ36
Н12
|
12,5
|
-
|
-
|
|
15
|
ВТП,
IT=12, Lус=12
|
12,5
|
-
|
-
|
|
16
|
ВЦП
Æ 12,50,01-
|
|
|
|
|
17
|
ФП
IT=10, L=1,5
|
6,3
|
-
|
-
|
|
18
|
ФП
IT=10, L=0,5
|
6,3
|
-
|
-
|
|
19
|
ВРП,
М14х1,5 - 6Н
|
6,3
|
0,01
|
-
|
|
20
|
ВЦП
R=9 Н12
|
12,5
|
-
|
-
|
Характерными особенностями обработки данной
детали являются следующие:
применение токарных и шлифовальных станков с ЧПУ
в качестве основной группы оборудования;
обработка производится при установке в патроне
или в приспособлении;
основными методами обработки являются точение и
шлифование наружных и внутренних цилиндрических и торцовых поверхностей,
нарезание резьбы метчиком;
подготовка баз (подрезание торцов) для данного
типа производства целесообразно произвести на токарном станке.
высокие требования к шероховатости требуют
применения отделочных методов обработки - шлифования.
2.3 Анализ технологичности детали
Цель анализа - выявление недостатков конструкции
по сведениям из чертежа детали, а также возможное улучшение конструкции.
Деталь «Переходник» - имеет цилиндрические
поверхности, что ведет к сокращению оборудования, инструмента и приспособлений.
При обработке соблюдается принцип постоянства и единства баз, которыми являются
поверхность Æ70 h8
и торец детали.
все поверхности легко доступны для обработки и
контроля;
съем металла равномерен и безударен;
глубоких отверстий нет;
возможна обработка и контроль всех поверхностей
при помощи стандартного режущего и измерительного инструмента.
Деталь жесткая и не требует при обработке
применения дополнительных приспособлений - люнетов - для повышения жесткости
технологической системы. В качестве нетехнологичности можно отметить отсутствие
унификации таких элементов, как наружные и внутренние фаски - на десять фасок
приходится три типоразмера, что ведет к увеличению количества режущего и
мерительного инструмента.
2.4 Нормоконтроль и метрологическая экспертиза
чертежа детали
2.4.1 Анализ применяемых в чертеже стандартов
В соответствии с требованиями ЕСКД чертеж должен
содержать все необходимые сведения, дающие полное представление о детали, иметь
все необходимые разрезы и технические требования. Особые участки формы выделены
отдельно. Исходный чертеж отвечает этим требованиям полностью. На чертеже
выделена и сделана сноска на одну канавку. Текстовые требования к допускам
формы обозначены условными обозначениями непосредственно на чертеже, а не в
технических требованиях. Выноска обозначена буквой, а не римской цифрой.
Следует отметить обозначение шероховатости поверхностей, выполненных с учетом
изменения №3 от 2003 г., а также неуказанных допусков размеров, формы и
расположения. Предельные отклонения размеров проставлены в основном квалитетами
и числовыми значениями отклонений, как это и принято в среднесерийном
производстве, так как контроль может проводиться как специальными, так и
универсальными средствами измерения. Надпись «Неуказанные предельные отклонения
по ОСТ 37.001.246-82» в технических требованиях следует заменить надписью
«Неуказанные размеры и предельные отклонения размеров, формы и расположения
обработанных поверхностей - по ГОСТ 30893.2-mK»
.4.2 Проверка соответствия указанных предельных
отклонений стандартным полям допусков по ГОСТ 25347
На чертеже есть предельные отклонения размеров,
которые проставлены только числовыми значениями предельных отклонений. Найдем
соответствующие им поля допусков по ГОСТ 25347 (табл. 2.2).
Таблица 2.2. Соответствие заданных числовых
отклонений стандартным полям допусков
|
Размер
|
Поле
допуска
|
|
js10
|
|
|
Æ H13
|
|
Анализ таблицы 2.2. показывает, что абсолютное
большинство размеров имеют предельные отклонения, соответствующие стандартным.
.4.3 Определение предельных отклонений размеров
с неуказанными допусками
Таблица 2.3. Предельные отклонения размеров с
неуказанными допусками
|
Размер
|
Поле
допуска
|
Предельные
отклонения
|
|
57
|
js12
|
|
|
5
|
js12
|
|
|
Æ36
|
H12
|
-0,125
|
|
8
|
js12
|
|
|
R9
|
H12
|
-0,15
|
|
92
|
js12
|
|
|
Æ148
|
h12
|
+0,4
|
|
Æ118
|
H12
|
-0,35
|
|
Æ120
|
h12
|
+0,4
|
|
18
|
js12
|
|
|
62
|
js12
|
|
2.4.4 Анализ соответствия требований к форме и
шероховатости допуску размера
Таблица 2.4. Соответствие требований к форме и
шероховатости
|
№
п/п
|
Исполнительный
размер
|
Заданные
параметры
|
Расчетные
параметры
|
|
|
Ra, мкм
|
Тф,
мкм
|
Трас
, мкм
|
Ra, мкм
|
Тф,.
мкм
|
Трас,
мкм
|
|
1
|
НТП,
IT=12, Lус=10
|
12,5
|
-
|
-
|
3,2
|
-
|
-
|
|
2
|
НЦП
Æ70
h8
|
1,6
|
-
|
-
|
1,6
|
-
|
-
|
|
3
|
НТП,
IT=12, Lус=25
|
12,5
|
-
|
0,1
|
1,6
|
-
|
0,1
|
|
4
|
НЦП
Æ120
h12
|
12,5
|
-
|
-
|
1,6
|
-
|
-
|
|
5
|
НТП,
IT=12, Lус=14
|
12,5
|
-
|
-
|
1,6
|
-
|
-
|
|
6
|
ФП
IT=10, L=1
|
6,3
|
-
|
-
|
6,3
|
-
|
-
|
|
7
|
НЦП
Æ148
h12
|
12,5
|
-
|
-
|
12,5
|
-
|
-
|
|
8
|
ФП
IT=10, L=1
|
6,3
|
-
|
-
|
6,3
|
-
|
-
|
|
9
|
НТП,
IT=12, Lус=26,5
|
12,5
|
-
|
-
|
3,2
|
-
|
-
|
|
10
|
ВЦП
Æ12
Н10
|
6,3
|
-
|
-
|
3,2
|
-
|
-
|
|
11
|
ВЦП
Æ95
Н9
|
3,2
|
-
|
-
|
1,6
|
-
|
-
|
|
12
|
ВТП,
IT=12, Lус=22,5
|
12,5
|
-
|
-
|
6,3
|
-
|
|
13
|
ВЦП
Æ50
Н8
|
1,6
|
-
|
-
|
1,6
|
-
|
-
|
|
14
|
ВЦП
Æ36
Н12
|
12,5
|
-
|
-
|
12,5
|
-
|
-
|
|
15
|
ВТП,
IT=12, Lус=12
|
12,5
|
-
|
-
|
6,3
|
-
|
-
|
|
16
|
ВЦП
Æ 12,50,01-250,01-
|
|
|
|
|
|
|
|
17
|
ФП
IT=10, L=1,5
|
6,3
|
-
|
-
|
6,3
|
-
|
-
|
|
18
|
ФП
IT=10, L=0,5
|
6,3
|
-
|
-
|
6,3
|
-
|
-
|
|
19
|
ВРП,
М14х1,5 - 6Н
|
6,3
|
0,01
|
-
|
6,3
|
0,01
|
-
|
|
20
|
ВЦП
R=9 Н12
|
12,5
|
-
|
-
|
6,3
|
-
|
-
|
Выводы к таблице: расчетная шероховатость для
ряда размеров меньше, чем заданная. Поэтому для свободных поверхностей
5,10,12,15,16,20 назначаем расчетную шероховатость, как более целесообразную.
Расчетные допуски расположения для поверхности 3 такие же, как и заданные на
чертеже. Соответствующие исправления вносим в чертеж.
2.4.5 Анализ правильности выбора баз и допусков
расположения
На анализируемом чертеже заданы два допуска
расположения относительно цилиндрической поверхности и правого торца: допуски
позиции и перпендикулярности резьбовых отверстий и фланцевых отверстий 0,01 мм,
а также допуск параллельности торца 0,1 мм. Следует выбрать другие базы, так
как на эти будет неудобно базировать деталь в приспособлении при обработке
отверстий радиальных. Следует изменить базу Б на ось симметрии.
резание токарный переходник
заготовка
3.
Выбор вида заготовки и его обоснование
Метод получения заготовки детали определяется ее
конструкцией, назначением, материалом, техническими требованиями к изготовлению
и его экономичностью, а так же объемом выпуска. Метод получения заготовки, ее
вид и точность непосредственно определяют точность механической обработки,
производительность труда и себестоимость готового изделия.
Для серийного типа производства целесообразно
назначить заготовку - штамповку, максимально приближенную к конфигурации
детали.
Ковка - один из основных методов обработки
металлов давлением (ОМД). Придание металлу необходимой формы, возможно ближе
отвечающей конфигурации будущей детали и получаемой с наименьшими
трудозатратами; исправление дефектов литой структуры; повышение качества
металла путем преобразования литой структуры в деформированную и, наконец, сама
возможность пластического деформирования металлопластичных сплавов - основные
аргументы применения процессов обработки металлов давлением.
Таким образом, улучшение качества металла
достигают не только при его выплавке, разливке и последующей термообработке, но
и в процессе ОМД. Именно пластическая деформация, исправляя дефекты литого
металла, и, преобразуя литую структуру, сообщает ему наивысшие свойства.
Итак, применение процессов обработки металлов
давлением в машиностроительной промышленности позволяет не только значительно
экономить металл и увеличивать производительность обработки заготовки, но также
дает возможность повышать ресурс эксплуатационных характеристик деталей и
конструкций.
К числу технологических процессов малоотходного
производства заготовок относятся: получение точных горячештампованных заготовок
с минимальными отходами в облой, изготовление заготовок холодной объемной штамповкой
или с подогревом. В таблицах 3.1 и 3.2 приведены механические свойства и
химический состав материала заготовки.
Таблица 3.1 - Химический состав материала Сталь
45 ГОСТ 1050-88
|
Химический
элемент
|
%
|
|
Кремний
(Si)
|
0.17-0.37
|
|
Медь
(Cu), не более
|
0.25
|
|
Мышьяк
(As), не более
|
0.08
|
|
Марганец
(Mn)
|
0.50-0.80
|
|
Никель
(Ni), не более
|
0.25
|
|
Фосфор
(P), не более
|
0.035
|
|
Хром
(Cr), не более
|
0.25
|
|
Сера
(S), не более
|
0.04
|
Таблица 3.2 - Механические свойства материала
заготовки
|
Марка
стали
|
Нагартованное
состояние
|
После
отжига или высокого отпуска
|
|
ув,
МПа
|
д,
%
|
ш,
%
|
ув,
МПа
|
д,
%
|
ш,%
|
|
Сталь
45
|
640
|
6
|
30
|
540
|
13
|
40
|
Заготовку диска можно получить несколькими
способами.
Холодным выдавливанием на прессах. Процесс
холодного выдавливания охватывает комбинацию из пяти видов деформации:
прямого выдавливания, обратного выдавливания,
осадки, обрезки и пробивки. Для холодного выдавливания заготовок применяют
гидравлические прессы, которые позволяют автоматизировать процесс. Установление
максимального усилия в любой точке хода ползуна на гидравлических прессах
позволяет штамповать детали большой длины.
Ковкой на горизонтально ковочной машине (ГКМ),
представляющую собой горизонтальный механический пресс, в котором, кроме
главного деформирующего ползуна есть зажимный, который зажимает деформируемую
часть прутка, обеспечивая ее высадку. Упоры в штампах ГКМ выполняют
регулируемыми, что дает возможность при наладке уточнить деформируемый объем и
получить поковку без облоя. Размерная точность стальных поковок может достигать
12-14 квалитета, параметр шероховатости поверхности Ra12,5-Ra25.
Определяющими факторами выбора способа
производства заготовок являются:
точность изготовления заготовки и качество ее
поверхности.
наибольшее приближение размеров заготовки к
размерам детали.
Выбор способа получения заготовки базировался на
анализе возможных способов получения, реализация которых может способствовать
улучшению технико-экономических показателей, т.е. достижению максимальной
эффективности при обеспечении требуемого качества продукции.
Полученные поковки подвергают предварительной
термической обработке.
Целью термической обработки являются:
устранение отрицательных последствий нагрева и
обработки давлением (снятие остаточных напряжений, испарение перегрева);
улучшение обрабатываемости материала заготовки
резанием;
подготовка структуры металла к окончательной ТО.
После ТО поковки поступают на очистку
поверхности. Эскиз заготовки представлен в графической части дипломного
проекта.
Как один из вариантов получения заготовки примем
изготовление заготовок методом холодной объемной штамповки. Этот способ
позволяет получать штамповки, более близкие к готовой детали по форме и
точности размеров, чем штамповки получаемыми другими способами. В нашем случае,
при необходимости изготовления точной детали, минимальная шероховатость
поверхностей которой равна Ra1,6,
получение заготовки холодной объемной штамповкой позволит значительно уменьшить
лезвийную обработку, сократить расход металла и станкоёмкость обработки.
Средний коэффициент использования металла при холодной объемной штамповке
0,5-0,6.
4.
Разработка маршрутного технологического процесса изготовления детали
Определяющим фактором при разработке маршрутного
технологического процесса является тип и организационная форма производства. С
учетом типа детали и вида обрабатываемых поверхностей устанавливается
рациональная группа станков для обработки основных поверхностей детали, что
повышает производительность и уменьшает время обработки детали.
В общем случае последовательность обработки
определяется точностью, шероховатостью поверхностей и точностью их взаимного
положения.
При выборе типоразмера и модели станка учитываем
размеры детали, ее конструктивные особенности, назначенные базы, количество
позиций в установе, количество потенциальных позиций и установов в операции.
Для обработки основных поверхностей группы
заданных деталей примем оборудование, обладающее свойством быстрой переналадки
на обработку любой из деталей групп, т.е. обладающее гибкостью и, в то же
время, высокой производительностью, за счет возможной концентрации операций,
что ведет к сокращению количества установов; назначения интенсивных режимов
резания, за счет применения прогрессивных инструментальных материалов,
возможности полной автоматизации цикла обработки, в том числе и вспомогательных
операций, таких, как установка и снятие деталей, автоматический контроль и
замена режущего инструмента. Этим требованиям отвечают станки с числовым
программным управлением и, построенные на их основе гибкие производственные
комплексы.
В проектируемом варианте примем следующие
технические решения.
Для обработки наружных и внутренних
цилиндрических поверхностей выбираем токарные станки с числовым программным
управлением.
Для каждой поверхности назначается типовой и
индивидуальный план ее обработки, при этом выбираем экономически целесообразные
методы и виды обработки, при выполнении каждого технологического перехода в
соответствии с принятым оборудования.
Под разработкой маршрутной технологии
подразумевается формирование содержания операции и определяется
последовательность их выполнения.
Выявляются основные и неосновные элементарные и
типовые поверхности, так как общая последовательность обработки детали, и
основное содержание операции будет определяться последовательностью обработки только
основных поверхностей, а также применяемым оборудованием, характерным для
серийного производства и видом заготовки, получаемой горячей объемной
штамповкой.
Для каждой элементарной поверхности детали
назначаются типовые планы обработки в соответствии с заданной точностью и
шероховатостью.
Этапы обработки детали определяются планом
обработки наиболее точной поверхности. Назначенный план обработки детали
представлен в табл. 4.1. Обработка неосновных поверхностей производится на
получистом этапе обработки.
Таблица 4.1 Технологическая информация по
обрабатываемой детали
|
№
поверхности
|
Обрабатываемая
поверхность и ее точность, IT
|
Ra, мкм
|
Варианты
|
Варианты
планов обработки поверхности
|
|
|
|
окончательного
метода и вида обработки
|
Вид
обработки (этапы)
|
|
|
|
|
|
Эчр
|
Эпч
|
Эч
|
Эп
|
Эотд
|
|
|
1
|
НТП,
IT=12, Lус=10
|
3,2
|
Чистовое
точение (фрезерование, шлифование)
|
Тчр
(Фчр)
(Шчр)
|
Тпч
(Фпч)
(Шпч)
|
Тч
(Фч)
(Шч)
|
|
|
|
2
|
НЦП
Æ70
h8
|
1,6
|
Точение
(шлифование, фрезерование) повышенной точности
|
Тчр
(Фчр)
(Шчр)
|
Тпч
(Фпч)
(Шпч)
|
Тч
(Фч)
(Шч)
|
Тп
(Фп)
(Шп)
|
|
|
3
|
НТП,
IT=12, Lус=25
|
1,6
|
Точение
(шлифование, фрезерование) повышенной точности
|
Тчр
(Фчр)
(Шчр)
|
Тпч
(Фпч)
(Шпч)
|
Тч
(Фч)
(Шч)
|
Тп
(Фп)
(Шп)
|
|
|
4
|
НЦП
Æ120
h12
|
1,6
|
Точение
(шлифование, фрезерование) повышенной точности
|
Тчр
(Фчр)
(Шчр)
|
Тпч
(Фпч)
(Шпч)
|
Тч
(Фч)
(Шч)
|
Тп
(Фп)
(Шп)
|
|
|
5
|
НТП,
IT=12, Lус=14
|
1,6
|
Точение
(шлифование, фрезерование) повышенной точности
|
Тчр
(Фчр)
(Шчр)
|
Тпч
(Фпч)
(Шпч)
|
Тч
(Фч)
(Шч)
|
Тп
(Фп)
(Шп)
|
|
|
6
|
ФП
IT=10, L=1
|
6,3
|
Получистовое
точение (шлифование, фрезерование)
|
Тчр
(Фчр)
(Шчр)
|
Тпч
(Фпч)
(Шпч)
|
|
|
|
|
7
|
НЦП
Æ148
h12
|
12,5
|
Черновое
точение (шлифование, фрезерование)
|
Тчр
(Фчр)
(Шчр)
|
|
|
|
|
|
8
|
ФП
IT=10, L=1
|
6,3
|
Получистовое
точение (шлифование, фрезерование)
|
Тчр
(Фчр)
(Шчр)
|
Тпч
(Фпч)
(Шпч)
|
|
|
|
|
9
|
НТП,
IT=12, Lус=26,5
|
3,2
|
Черновое
точение (шлифование, фрезерование)
|
Тчр
(Фчр)
(Шчр)
|
Тпч
(Фпч)
(Шпч)
|
Тч
(Фч)
(Шч)
|
|
|
|
10
|
ВЦП
Æ12
Н10
|
6,3
|
Зенкерование
(получистовое сверление)
|
Свчр
|
З
(Свпч)
|
|
|
|
|
11
|
ВЦП
Æ95
Н9
|
1,6
|
Растачивание
(фрезерование, шлифование) повышенной точности
|
Рчр
(Фчр)
|
Рпч
(Фпч)
(Шпч)
|
Рч
(Фч)
(Шч)
|
Рп
(Фп)
(Шп)
|
|
|
12
|
ВТП,
IT=12, Lус=22,5
|
12,5
|
Растачивание
(фрезерование) черновое
|
Рчр
(Фчр)
|
|
|
|
|
|
13
|
ВЦП
Æ50
Н8
|
1,6
|
Растачивание
(фрезерование, сверление, шлифование) повышенной точности
|
Рчр
(Фчр)
(Свчр)
|
Рпч
(Фпч)
(Шпч)
(Свпч)
|
Рч
(Фч)
(Шч)
(Свч)
|
Рп
(Фп)
(Шп)
(Свп)
|
|
|
14
|
ВЦП
Æ36
Н12
|
12,5
|
Сверление
(фрезерование) черновое
|
Свчр
(Фчр)
|
|
|
|
|
|
15
|
ВТП,
IT=12, Lус=12
|
12,5
|
Зенкование
(фрезерование)
|
Зчр
(Фчр)
|
|
|
|
|
|
16
|
ВЦП
Æ 12,5Сверление
черновое
|
Свчр
|
|
|
|
|
|
|
|
17
|
ФП
IT=10, L=1,5
|
6,3
|
Зенкование
|
|
З
|
|
|
|
|
18
|
ФП
IT=10, L=0,5
|
6,3
|
Зенкование
|
|
З
|
|
|
|
|
19
|
ВРП,
М14х1,5 - 6Н
|
6,3
|
Нарезание
резьбы чистовое
|
|
|
Н
|
|
|
|
20
|
ВЦП
R=9 Н12
|
12,5
|
Фрезерование
черновое
|
Фчр
|
|
|
|
|
|
|
|
|
|
|
|
|
|
|
|
|
|
|
В таблице 4.1 приведены не единственные планы
обработки, а несколько вариантов планов. Все приведенные варианты могут иметь
место в обработке данной детали, но не все из них целесообразны для применения.
Классический план обработки, который приведен в таблице без скобок,
представляет собой универсальный вариант обработки, в котором присутствуют все
возможные этапы для каждой поверхности. Такой вариант подойдет для тех случаев,
когда неизвестны условия производства, оборудование, заготовка и т.д. Такой
план обработки распространен на морально устаревшем производстве, когда детали
изготавливаются на изношенном оборудовании, на котором сложно выдержать
требуемые размеры и обеспечить параметры точности и шероховатости. Перед нами
же стоит задача разработать перспективный технологический процесс. В
современном производстве этапность не используется в ее классическом понимании.
Сейчас выпускается достаточно точное оборудование, обработка на котором
производится в два этапа: черновой и чистовой. Исключения делаются в некоторых
случаях, например, когда деталь нежесткая, могут быть введены дополнительные
промежуточные этапы для снижения отжимающих сил резания. Параметры
шероховатости, как правило, обеспечиваются режимами резания. Представленные в
таблице варианты обработки могут чередоваться, например, после чернового
точения идти получистовое фрезерование или шлифование. Учитывая, что заготовка
получается методом холодной объемной штамповки, которая обеспечивает 9-10
квалитет, есть возможность исключить черновую обработку, так как поверхности
заготовки будут получаться изначально более точными.
Таблица 4.2
|
№
поверхности
|
Обрабатываемая
поверхность и ее точность, IT
|
Ra, мкм
|
Окончательный
метод и вид обработки
|
План
обработки поверхности
|
|
|
|
|
Вид
обработки (этапы)
|
|
|
|
|
Эчр
|
Эпч
|
Эч
|
Эп
|
Эотд
|
|
1
|
НТП,
IT=12, Lус=10
|
3,2
|
Чистовое
точение
|
|
Тпч
|
Тч
|
|
|
|
2
|
НЦП
Æ70
h8
|
1,6
|
Точение
повышенной точности
|
|
Тпч
|
|
Тп
|
|
|
3
|
НТП,
IT=12, Lус=25
|
1,6
|
Точение
повышенной точности
|
|
Тпч
|
|
Тп
|
|
|
4
|
НЦП
Æ120
h12
|
1,6
|
Точение
повышенной точности
|
|
Тпч
|
|
Тп
|
|
|
5
|
НТП,
IT=12, Lус=14
|
1,6
|
Точение
повышенной точности
|
|
Тпч
|
|
Тп
|
|
|
6
|
ФП
IT=10, L=1
|
6,3
|
Получистовое
точение
|
|
Тпч
|
|
|
|
|
7
|
НЦП
Æ148
h12
|
12,5
|
Черновое
точение
|
Тчр
|
|
|
|
|
|
8
|
ФП
IT=10, L=1
|
6,3
|
Получистовое
точение
|
|
Тпч
|
|
|
|
|
9
|
НТП,
IT=12, Lус=26,5
|
3,2
|
Чистовое
точение
|
|
Тпч
|
Тч
|
|
|
|
10
|
ВЦП
Æ12
Н10
|
6,3
|
Сверление
получистовое
|
|
Свпч
|
|
|
|
|
11
|
ВЦП
Æ95
Н9
|
1,6
|
Растачивание
повышенной точности
|
|
Рпч
|
|
Рп
|
|
|
12
|
ВТП,
IT=12, Lус=22,5
|
12,5
|
Растачивание
черновое
|
Рчр
|
|
|
|
|
|
13
|
1,6
|
Растачивание
повышенной точности
|
|
Рпч
|
|
Рп
|
|
|
14
|
ВЦП
Æ36
Н12
|
12,5
|
Фрезерование
черновое
|
Св
|
|
|
|
|
|
15
|
ВТП,
IT=12, Lус=12
|
12,5
|
Фрезерование
|
Фрч
|
|
|
|
|
|
16
|
ВЦП
Æ 12,5Сверление
черновое
|
Счр
|
|
|
|
|
|
|
|
17
|
ФП
IT=10, L=1,5
|
6,3
|
Зенкование
|
|
З
|
|
|
|
|
18
|
ФП
IT=10, L=0,5
|
6,3
|
Зенкование
|
|
З
|
|
|
|
|
19
|
ВРП,
М14х1,5 - 6Н
|
6,3
|
Нарезание
резьбы чистовое
|
|
|
Н
|
|
|
|
20
|
ВЦП
R=9 Н12
|
12,5
|
Фрезерование
черновое
|
Фчр
|
|
|
|
|
С учетом всего вышесказанного можно сформировать
потенциальный техпроцесс.
После выявления содержания потенциальных
операций по переходам производится уточнение их содержания по количеству
установов и содержание переходов. Содержание потенциальных операций приведено в
табл. 4.3.
Таблица 4.3. Формирование потенциального
маршрута обработки
|
Этапы
обработки детали
|
Содержание
потенциальной операции
|
Вид
станка в этапе
|
Количество
потенциальных установов
|
Установ
|
Операция
|
|
Эчр
|
Тчр7,
Рчр12
|
Токарный
станок с ЧПУ, кл. Н
|
1
|
А
|
005
|
|
Св14,
Ф15, Св16, Фчр20
|
Вертикально-фрезерный,
кл.Н
|
2
|
А
Б
|
010
|
|
Эпч
|
Тпч1,
Тпч2, Тпч3, Тпч4, Тпч5, Тпч6, Тпч8, Тпч9, Рпч11, Рпч13
|
Токарный
станок с ЧПУ, кл. Н
|
2
|
А
Б
|
015
|
|
Св10,
З17, З18
|
Вертикально-сверлильный
станок, кл.Н
|
1
|
А
|
020
|
|
Эч
|
Тч1,
Тч9
|
Токарный
станок с ЧПУ, кл. Н
|
2
|
А
Б
|
025
|
|
Эп
|
Тп2,
Тп3, Тп4, Тп5, Рп11, Рп13
|
Токарный
станок с ЧПУ, кл. П
|
2
|
А
Б
|
030
|
|
|
|
|
|
|
|
Содержание операции технологического маршрута
формируется по принципу максимальной концентрации при выполнении установов,
позиции и переходов, поэтому заменяем оборудование, назначенное в потенциальном
маршруте обработки на обрабатывающий центр с ЧПУ, на котором деталь будет
полностью обрабатываться за 2 установа. ОЦ выбираем двухшпиндельный, смена
установов происходит средствами станка автоматически. Позиционирование детали
по расположению радиальных отверстий после установки также обеспечивается
средствами станка при помощи датчиков углового положения шпинделя.
Таблица 4.4. Формирование реального
предварительного маршрута обработки детали в условиях серийного производства
|
№
операции
|
Установы
|
№
позиции в установе
|
Этапы
обработки
|
Базы
|
Содержание
операции
|
Коррекция
оборудования
|
|
005
|
А
|
I
|
Эпч
|
7,9
|
Тпч1,
Тпч2, Тпч3, Тпч4, Тпч5, Тпч6
|
Обрабатывающий
центр с ЧПУ, кл. П
|
|
|
|
II
|
|
|
Рпч13
|
|
|
|
|
III
|
Эч
|
|
Тч1
|
|
|
|
|
IV
|
Эп
|
|
Тп2,
Тп3, Тп4, Тп5
|
|
|
|
V
|
|
|
Рп13
|
|
|
|
VI
|
Эчр
|
|
Фчр20
|
|
|
Б
|
I
|
Эчр
|
1,4
|
Тчр7
|
|
|
|
II
|
|
|
Рчр12
|
|
|
|
III
|
Эпч
|
|
Тпч8,
Тпч9
|
|
|
|
IV
|
Эч
|
|
Тч9
|
|
|
|
V
|
Эпч
|
|
Рпч11,
Рп11
|
|
|
|
VI
|
Эчр
|
|
Св14
|
|
|
|
VII
|
|
|
Ф15
|
|
|
|
VIII
|
|
|
Св16
|
|
|
|
IX
|
Эпч
|
|
Св10
|
|
|
|
X
|
|
|
З17,
З18
|
|
|
|
XI
|
|
|
Н
|
|
|
|
|
|
|
|
|
|
|
|
|
|
|
|
|
Проанализировав данные, представленные в
таблицах 4.5 и 4.6, делаем выбор в пользу варианта технологического процесса,
представленного в таблице 4.7. Выбранный вариант отличается перспективностью,
современным оборудованием и современным точным способом получения заготовки,
позволяющем сократить объем механической обработки резанием. На основании
сформированного реального маршрута обработки запишем маршрутный технологический
процесс в маршрутной карте.
Таблица 4.5. Маршрутная карта технологического
процесса
Наименование детали Переходник
Материал Сталь 45
Вид заготовки: Штамповка
|
№
опер.
|
Наименование
и краткое содержание операции
|
Базы
|
Тип
оборудования
|
|
005
|
Токарная
с ЧПУ А. I. Точить
1,2,3,4,5,6 (Эпч)
|
7,9
|
Центр
обрабатывающий токарно-фрезерный двухшпиндельный, кл. П 1730-2М
|
|
Токарная
с ЧПУ А. II.
Расточить 13 (Эпч)
|
|
|
|
Токарная
с ЧПУ А. III. Точить 1
(Эч)
|
|
|
|
Токарная
с ЧПУ А. IV. Точить
2,3,4,5 (Эп)
|
|
|
|
Токарная
с ЧПУ А. V.
Расточить 13 (Эп)
|
|
|
|
Фрезерная
с ЧПУ А. VI. Фрезеровать
цилиндрическую выемку 20 (Эчр)
|
|
|
|
Токарная
с ЧПУ Б. I. Точить 7
(Эчр)
|
1,4
|
|
|
Токарная
с ЧПУ Б. II.
Расточить 12 (Эчр)
|
|
|
|
Токарная
с ЧПУ Б. III. Точить
8,9 (Эпч)
|
|
|
|
Токарная
с ЧПУ Б. IV. Точить 9
(Эч)
|
|
|
|
Токарная
с ЧПУ Б. V.
Расточить 11 (Эпч, Эп)
|
|
|
|
Сверлильная
с ЧПУ Б. VI. Сверлить
14 (Эчр)
|
|
|
|
Фрезерная
с ЧПУ Б. VII.
Фрезеровать 15 (Эчр)
|
|
|
|
Сверлильная
с ЧПУ Б. VIII. Сверлить
16 (Эчр)
|
|
|
|
Сверлильная
с ЧПУ Б. IX. Сверлить
10 (Эпч)
|
|
|
|
Фрезерная
с ЧПУ Б. X.
Зенкеровать 17,18 (Эпч)
|
|
|
|
Резьбонарезная
с ЧПУ Б. XI. Нарезать
резьбу 19 (Эпч)
|
|
|
|
|
|
|
|
5. Разработка
операционного технологического процесса
.1 Уточнение оборудования
Основным видом оборудования для обработки
деталей типа тел вращения, в частности валов, в условиях среднесерийного
производства являются токарные и круглошлифовальные станки с числовым
программным управлением (ЧПУ). Для резьбовых поверхностей - резьбонакатные, для
фрезерования пазов и лысок - фрезерные станки.
Для обработки основных цилиндрических и торцевых
поверхностей оставляем предварительно выбранный центр обрабатывающий
токарно-фрезерный двухшпиндельный 1730-2М повышенного класса точности. В
технологические возможности такого станка входят токарная обработка
цилиндрических, конических, фасонных поверхностей, обработка центровых и
радиальных отверстий, фрезерование поверхностей, нарезание резьбы в отверстиях
малого диаметра. При установке детали учитывается схема базирования, которая
определяет простановку размеров. Характеристика принятого оборудования указана
в таблице 5.1.
Таблица 5.1. Технические параметры выбранного
оборудование
|
Наименование
станка
|
nшп. max,
мин-1
|
Nдв, кВт
|
Емкость
магазина инструментов, шт
|
Максимальные
размеры детали, мм
|
Габаритные
размеры станка, мм
|
Вес,
кг
|
Класс
точности станка
|
|
1730-2М
|
3500
|
52
|
-
|
800х600
|
2600x3200x3900
|
7800
|
П
|
5.2 Уточнение схемы установки детали
Схемы установки, выбранные при формировании
реального технологического процесса обработки, не изменяются после уточнения
оборудования, так как при данной схеме базирования удается реализовать
рациональную простановку размеров, с учетом обработки детали на станке с ЧПУ, а
также данные базы имеют наибольшую площадь поверхности, что обеспечивает
наибольшую устойчивость детали в процессе обработки. Деталь обрабатывается
полностью на одном станке за одну операцию, состоящую из двух установов. Таким
образом удается минимизировать погрешности обработки, вызванные накоплением
погрешностей при последовательных переустановках от этапа к этапу.
5.3 Назначение режущих инструментов
Режущие инструменты применяют для образования
требуемых формы и размеров поверхностей заготовок резанием, срезанием
сравнительно тонких слоев материала (стружки). Несмотря на большое различие
отдельных видов инструментов по назначению и конструкции, у них имеется много
общего:
условия работы, общие конструктивные элементы и
способы их обоснования, принципы расчета.
У всех режущих инструментов имеются рабочая и
крепежная части. Рабочая часть выполняет основное служебное назначение -
резание, удаление излишнего слоя материала. Крепежная часть служит для
установки, базирования и закрепления инструмента в рабочем положении на станке
(технологическом оборудовании), она должна воспринимать силовую нагрузку
процесса резания, обеспечивать виброустойчивость режущей части инструмента.
Выбор типа инструмента зависит от вида станка,
метода обработки, материала обрабатываемой детали, ее размера и конфигурации,
требуемых точности и шероховатости обработки, вида производства.
Выбор материала режущей части инструмента имеет
большое значение для повышения производительности и снижения себестоимости
обработки и зависит от принятого метода обработки, рода обрабатываемого
материала и условий работы.
Большинство конструкций металлорежущего
инструмента изготовляют - рабочую часть из инструментального материала,
крепежную - из обычной конструкционной стали 45. Рабочую часть инструмента - в
виде пластин или стержней - соединяют с крепежной частью с помощью сварки.
Твердые сплавы в виде многогранных
твердосплавных пластин закрепляют прихватами, винтами, клиньями и т.п.
Рассмотрим использование инструмента по
операциям.
На токарных операциях обработки детали в
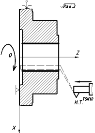
качестве режущего инструмента применяем резцы (контурные и расточные).
На резцах использование многогранных
твердосплавных неперетачиваемых пластин обеспечивает:
повышение стойкости на 20-25% по сравнению с
напаянными резцами;
возможность повышения режимов резания за счет
простоты восстановления режущих свойств многогранных пластин путем их поворота;
сокращение: затрат на инструмент в 2-3 раза;
потерь вольфрама и кобальта в 4-4,5 раза; вспомогательного времени на смену и
переточку резцов;
упрощение инструментального хозяйства;
уменьшение расхода абразива.
В качестве материала сменных пластин резцов для
обработки стали 45 для чернового, получистового точения применяется твердый
сплав Т5К10, для чистового точения - Т30К4. Наличие стружколомающих лунок на
поверхности пластины позволяет измельчать образующуюся стружку в процессе
обработки, что упрощает ее утилизацию.
Выбираем способ крепления пластины - клин прихватом
[7, с.317] для черновой и получистовой стадии обработки и двухплечим прихватом
- для чистовой стадии.
По [7, с. 280] принимается резец контурный
проходной с ц = 93° с треугольной пластиной для получистовой стадии обработки и
с ц = 95° с ромбической пластиной (е =80°) из твердого сплава (ТУ 2-035-892)
для чистовой стадии (рис. 2.4). Данный резец может использоваться при точении
НЦП, при подрезании торцев, при обтачивании обратного конуса с углом спада до
300, при обработке радиусных и переходных поверхностей.
Рисунок 4. Эскиз резца
Для сверления отверстий используются сверла
спиральный по ГОСТ 10903-77 из быстрорежущей стали Р18.
Для обработки резьбовых поверхностей - метчики
из быстрорежущей стали Р18.
.4 Расчет операционных размеров и размеров
заготовки
Подробный расчет диаметральных размеров приводим
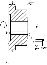
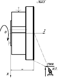
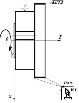
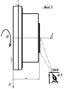
для поверхности Æ70h8-0,046.
Для наглядности расчет диаметральных операционных размеров сопровождаем
построением схемы припусков и операционных размеров (рис.2).
Заготовка вала - штамповка. Технологический
маршрут обработки поверхности Æ70h8-0,046
состоит из точения получистового и повышенной точности.
Расчет диаметральных размеров в
соответствии со схемой производим по формулам:
;
dпчтах = dпов мах + 2Z пов min + Tзаг .
Минимальное значение припуска 2Zimin при
обработке наружных и внутренних цилиндрических поверхностей определяется: [3,
с.5]
2Zimin
= 2((RZ
+ h)i-1
+ √D2Si-1
+ е 2i),
(1)
где RZi-1
- высота неровностей профиля на предшествующем переходе [14, с.21, табл.П7]; hi-1
- глубина дефектного поверхностного слоя на предшествующем переходе; [14, с.21,
табл.П7]; DSi-1
- суммарные отклонения расположения поверхности (отклонения от параллельности,
перпендикулярности, соосности, симметричности, пересечений осей, позиционное) и
в некоторых случаях отклонения формы поверхности; с - погрешность установки
заготовки на выполняемом переходе; [4, с.42, табл.13]
Значение RZ
и h, характеризующее
качество поверхности заготовок из штамповки, составляет 150 и 150 мкм
соответственно [4,с.66]. Значения RZ
и h, достигаемые после
механической обработки находим из [4,с.67] Суммарное значение пространственных
отклонений для заготовок данного типа определяется:
[14],
где
- общее отклонение расположения
заготовки, мм;
- отклонение
расположения заготовки при зацентровке, мм.
Коробление заготовки находится по
формуле:
где
- отклонение оси детали от
прямолинейности, мкм на 1 мм (удельная кривизна заготовки); l -
расстояние от сечения, для которого определяем величину отклонения расположения
до места крепления заготовки, мм;
,
где Тз =0,8 мм [14,
с.20]- допуск на диаметральный размер базы заготовки, использованной при
центровании, мм.
мкм=0,058 мм;
мм.
мм.
Для промежуточных этапов:
,
где Ку - коэффициент
уточнения:
получистовое точение К = 0,05;
точение повышенной точности К= 0,03;
Получаем:
после получистового точения:
r2=0.05*0,305=0,015 мм;
после точения повышенной точности:
r2=0.03*0,305=0,009 мм.
Значения допусков каждого перехода
принимаем по таблицам в соответствии с квалитетом вида обработки.
Значения погрешности установки
заготовки определяем по «Справочнику технолога-машиностроителя» для
штампованной заготовки. При установке в трехкулачковый токарный патрон с
гидравлическим силовым узлом е i=300 мкм.
В графе предельные размеры dmin получаем по
расчетным размерам, округленным до точности допуска соответствующего перехода.
Наибольшие предельные размеры dmах определяются из наименьших
предельных размеров прибавлением допусков соответствующих переходов.
Определяем величины припусков:
Zminпч = 2 × ((150 +
150) + (3052+3002)1/2) = 1210 мкм = 1,21 мм
Zminп.т. = 2 × ((10 + 15)
+ (152+3002)1/2) =80 мкм = 0,08 мм
Определяем Zmax для каждого
этапа обработки по формуле:
Zmaxj= 2Zminj +Тj+Тj-1
Zmaxпч = 2Zminчер + Тзаг
+Тчер = 1,21 + 0,19 + 0,12 = 1,52 мм.
Zmaxп.т. = 0,08 +
0,12 +0,046 = 0,246 мм.
Все результаты произведенных расчетов
сведены в табл.5.2.
Таблица 5.2. Результаты расчетов припусков и
предельных размеров по технологическим переходам на обработку Æ70h8-0,046
|
Технологические
переходы обработки поверхности.
|
Элементы
припуска, мкм
|
Расчетный
припуск 2Z
min, мкм
|
Погрешность
установки е i, мкм
|
До
пуск ,
ммПредельный размер, мм
|
Предельные
значения припусков, мм
|
Исполнительный
размер d
|
|
|
RZ
|
T
|
dmindmax
|
|
|
|
|
|
|
|
|
|
Заготовка
(штамповка)
|
150
|
150
|
305
|
|
300
|
0,19
|
71,41
|
71,6
|
-
|
-
|
71,6-0,19
|
|
Точение
получистовое
|
150
|
150
|
305
|
1210
|
300
|
0,12
|
70,08
|
70,2
|
1,21
|
1,52
|
70,2-0,12
|
|
Точение
повышенной точности
|
10
|
15
|
9
|
80
|
300
|
0,046
|
69,954
|
70
|
0,08
|
0,246
|
70-0,046
|
Аналогично определяются диаметральные размеры и
для остальных цилиндрических поверхностей. Конечные результаты расчета приведем
в табл.5.3.
Рисунок 2. Схема диаметральных размеров и
припусков
Таблица 5.3. Операционные диаметральные размеры
|
Обрабатываемая
поверхность
|
Технологические
переходы обработки
|
Погрешность
установки е i, мкм
|
Минимальный
диаметр Dmin, мм
|
Максимальный
диаметр Dmax, мм
|
Минимальный
припуск Zmin, мм
|
Допуск
T,
мм
|
Операционный
размер, мм
|
|
НЦП
Æ118h12
|
Заготовка-штамповка
Точение п/чистовое Точение повышенной точности
|
300
|
120,64
118,5 117,94
|
120,86
18,64 118
|
-
2 0,5
|
0,22
0,14 0,054
|
120,86-0,22
118,64-0,14 118-0,054
|
|
НЦП
Æ148h12
|
Заготовка-штамповка
Точение черновое
|
0
|
152
147,75
|
152,4
148
|
-
4
|
0,4
0,25
|
152,4-0,4
148-0,25
|
|
ВЦП
Æ50H8+0,039
|
Заготовка-штамповка
Растачивание получистовое Растачивание повышенной точности
|
300
|
47,34
49,39 50,039
|
47,5
49,5 50
|
-
2 0,5
|
0,16
0,1 0,039
|
47,5-0,16
49,5-0,1 50+0,039
|
|
ВЦП
Æ95Н9+0,087
|
Заготовка-штамповка
Растачивание получистовое Растачивание повышенной точности
|
0
|
92,33
94,36 95,087
|
92,5
94,5 95
|
-
2 0,5
|
0,22
0,14 0,054
|
92,5-0,22
94,5-0,14 95+0,087
|
Расчет линейных операционных размеров
Приведем последовательность формирования
линейных размеров в виде табл.5.4
Таблица 5.4. Последовательность формирования
линейных размеров
|
№
опер.
|
Позиция
|
Содержание
операции
|
Оборудование
|
Эскиз
обработки
|
|
005
|
А
|
I
|
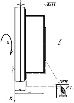
Точить
1,2,3,4,5,6 (Эпч) , выдерживая размеры А1, А2, А3
|
Центр
обрабатывающий токарно-фрезерный двухшпиндельный, кл. П 1730-2М
|
|
|
|
II
|
Расточить
13 (Эпч)
|
|
|
|
005
|
А
|
III
|
Точить
1 (Эч), выдерживая размер А4
|
Центр
обрабатывающий токарно-фрезерный двухшпиндельный, кл. П 1730-2М
|
|
|
|
IV
|
Точить
2,3,4,5 (Эп), выдерживая размер А5, А6
|
|
|
|
005
|
А
|
V
|
Расточить
13 (Эп)
|
Центр
обрабатывающий токарно-фрезерный двухшпиндельный, кл. П 1730-2М
|
|
|
|
VI
|
Фрезеровать
цилиндрическую выемку 20 (Эчр), выдерживая размер А7
|
|
|
|
005
|
Б
|
I
|
Точить
7 (Эчр)
|
Центр
обрабатывающий токарно-фрезерный двухшпиндельный, кл. П 1730-2М
|
|
|
|
II
|
Расточить
12 (Эчр), выдерживая размер А8
|
|
|
|
005
|
Б
|
III
|
Точить
8,9 (Эпч), выдерживая размер А9
|
Центр
обрабатывающий токарно-фрезерный двухшпиндельный, кл. П 1730-2М
|
|
|
|
IV
|
Точить
9 (Эч), выдерживая размер а10
|
|
|
|
005
|
Б
|
V
|
Расточить
11 (Эпч, Эп)
|
Центр
обрабатывающий токарно-фрезерный двухшпиндельный, кл. П 1730-2М
|
|
|
|
VI
|
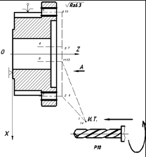
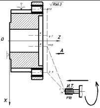
Сверлить
14 (Эчр), выдерживая размер А11
|
|
|
|
005
|
Б
|
VII
|
Фрезеровать
15 (Эчр), выдерживая размер А12
|
Центр
обрабатывающий токарно-фрезерный двухшпиндельный, кл. П 1730-2М
|
|
|
|
VIII
|
Сверлить
16 (Эчр)
|
|
|
|
005
|
Б
|
IX
|
Сверлить
10 (Эпч)
|
Центр
обрабатывающий токарно-фрезерный двухшпиндельный, кл. П 1730-2М
|
|
|
|
X
|
Зенкеровать
17 (Эпч)
|
|
|
|
005
|
Б
|
X
|
Зенкеровать
18 (Эпч)
|
Центр
обрабатывающий токарно-фрезерный двухшпиндельный, кл. П 1730-2М
|
|
|
|
XI
|
Нарезать
резьбу 19 (Эпч)
|
|
|
|
|
|
|
|
|
|
|
|
|
|
|
|
|
|
|
|
Расчет линейных операционных размеров
сопровождается построением схемы припусков и операционных размеров рис. 3,
составлением уравнений размерных цепей, их расчетом и заканчивается
определением всех размеров заготовки. Наименьшие припуски, необходимые при
расчете, принимаем по [3].
Составим уравнения размерных цепей:
. Д5 = А12 - А4 + А6
. ZА12 = А11 - А12
. ZА11 = А10 - А11
. ZА10 = А9 - А10
. ZА9 = А4 - А9
. ZА8 = А4 - А8 - З4
. ZА7 = А5 - А7
. ZА6 = А2 - А6
. ZА5 = А1 - А5
. ZА4 = А3 - А4
. ZА3 = З3 - А3
. ZА2 = З2 - А2
. ZА1 = З1 - А1
Приведем пример расчета операционных размеров
для уравнений с замыкающим звеном - конструкторский размер и для трех размерных
цепей с замыкающим звеном - припуском.
. Выпишем уравнения размерных цепей с замыкающим
звеном - конструкторский размер.
Д5 = А12 - А4 + А6
Прежде чем решать эти уравнения необходимо
удостовериться в правильности назначения допусков на конструкторский размер.
Для этого должно выполняться уравнение соотношения допусков:
ТД≥
Назначим на операционные размеры
экономически целесообразные допуски:
для этапа высокой точности - по 6
квалитету;
для этапа повышенной точности - по 7
квалитету;
для чистового этапа - по 10 квалитету;
дли получистового этапа - по 11
квалитету;
- для чернового этапа - по
13 квалитету.
ТА12= 0,27мм
Т А11= 0,27 мм,
ТА10= 0,12 мм,
ТА9= 0,19 мм,
ТА8= 0,46 мм,
Т А7= 0,33 мм,
Т А6= 0,03 мм,
Т А5= 0,021 мм,
ТА4=0,12 мм,
Т А3= 0,19 мм,
Т А2= 0,19 мм,
Т А1= 0,13 мм.
Д5 = А12 - А4 + А6,
ТД5= 0,36 мм
,36>0,27+0,12+0,03=0,42 мм
(условие не выполняется), ужесточаем допуски на составляющие звенья в пределах
технологических возможностей станков.
Примем: ТА12=0,21 мм, ТА4=0,12
мм.
,36
0,21+0,12+0,03 - условие
выполняется.
Решаем уравнения для размерных цепей с
замыкающим звеном - припуском. Определим операционные размеры, необходимые для
расчета выше приведенных уравнений. Рассмотрим пример расчета трех уравнений с
замыкающим звеном - припуск, ограниченный по минимальному значению.
) ZА12 = А11 - А12, (фрезерование
черновое оп.005).
ZА12 min
= А11 min
- А12 max.
Рассчитаем ZА12
min.
ZА12 min
определяется погрешностями, возникающими при фрезеровании выемки цилиндрической
формы на черновом этапе.
Назначим Rz=0.04 мм, h=0,27 мм,
=0,01 мм,
=0 мм
(установка в патроне) [14]. Значение припуска определяем по формуле:
Z12 min = (RZ + h)i-1 +
D2Si-1 + е 2i ;
Z12 min = (0,04 +
0,27) +
0,012+
02=0,32 мм.
тогда Z12 min =0,32 мм.
,32= А11 min-10,5
А11 min=0,32+10,5=10,82
мм
А11 max
=10,82+0,27=11,09мм
А11=11,09-0,27.
) ZА11 = А10
- А11, (сверление черновое, операция 005).
ZА11 min = А10 min - А11 max.
Минимальный припуск принимаем с
учетом глубины сверления ZА11 min =48,29 мм.
,29= А10 min - 11,09
А10 min=48,29+11,09=59,38мм
А10max
=59,38+0,12=59,5мм
А10=59,5-0,12.
) ZА10 = А9
- А10, (точение чистовое, операция 005).
ZА10 min = А9 min - А10 max.
Рассчитаем ZА10 min. ZА10 min
определяется погрешностями, возникающими при чистовом точении.
Назначим Rz=0.02 мм, h=0,12 мм,
=0,01 мм,
=0 мм
(установка в патроне) [14]. Значение припуска определяем по формуле:
ZА10 min = (RZ + h)i-1 +
D2Si-1 + е 2i ;
ZА10 min = (0,02 +
0,12) +
0,012+
02=0,15 мм.
тогда ZА10 min =0,15 мм.
,15= А9 min-59,5
А9 min=0,15+59,5=59,65
мм
А9 max
=59,65+0,19=59,84мм
А9=59,84-0,19.
) Д5 = А12 - А4 + А6
Запишем систему уравнений:
Д5min = -А4max +А12min +А6min
Д5max = -А4min+А12max +А6max
,82 = -59,77 + 10,5+А6 min
,18 = -59,65 + 10,38+ А6 max
А6 min = 57,09 мм
А6 max = 57,45 мм
ТА6=0,36 мм. Назначаем
допуск по экономически целесообразному квалитету. ТА6=0,03 мм.
Окончательно запишем:
А15=57,45h7(-0,03)
Результаты расчета остальных
технологических размеров, получаемых из уравнений с замыкающим звеном -
припуском, ограниченным по наименьшему значению представлены в табл.5.5.
Таблица 5.5. Результаты расчетов
линейных операционных размеров
|
№
уравнения
|
Уравнения
|
Неизвестный
операционный размер
|
Наименьший
припуск
|
Допуск
неизвестного операционного размера
|
Значение
неизвестного операционного размера
|
Принятое
значение операционного размера
|
|
1
|
Д5
= А12 - А4 + А6
|
А12
|
-
|
0,27
|
10,5-0,27
|
10,5-0,27
|
|
2
|
ZА12
= А11 - А12
|
А11
|
4
|
0,27
|
11,09-0,27
|
11,09-0,27
|
|
3
|
ZА11
= А10 - А11
|
А10
|
4
|
0,12
|
59,5-0,12
|
59,5-0,12
|
|
4
|
ZА10
= А9 - А10
|
А9
|
1
|
0,19
|
59,84-0,19
|
59,84-0,19
|
|
5
|
ZА9
= А4 - А9
|
А4
|
2
|
0,19
|
60,27-0,19
|
60,27-0,19
|
|
6
|
ZА8
= А4 - А8 - З4
|
А8
|
4
|
0,33
|
55,23-0,33
|
55,23-0,33
|
|
7
|
ZА7
= А5 - А7
|
А5
|
4
|
0,021
|
18,521-0,021
|
18,52-0,021
|
|
8
|
ZА6
= А2 - А6
|
А2
|
0,5
|
0,19
|
57,24-0,19
|
57,24-0,19
|
|
9
|
ZА5
= А1 - А5
|
А1
|
0,5
|
0,13
|
18,692-0,13
|
18,69-0,13
|
|
10
|
ZА4
= А3 - А4
|
А3
|
1
|
0,3
|
61,02-0.3
|
61,02-0.3
|
|
11
|
ZА3
= З3 - А3
|
З3
|
2
|
0,30
|
61,62-0.30
|
61,62-0.30
|
|
12
|
ZА2
= З2 - А2
|
З2
|
2
|
0,30
|
57,84-0.30
|
57,84-0.30
|
|
13
|
ZА1
= З1 - А1
|
З1
|
2
|
0,21
|
19,232-0.21
|
19,23-0.21
|
Выбор рабочих приспособлений
Учитывая принятый тип и форму организации
производства на базе группового метода обработки, можно констатировать, что
целесообразно применение специализированных, быстродействующих,
автоматизированных переналаживаемых приспособлений. На токарных операциях
применяются самоцентрирующие патроны. Все приспособления должны содержать в
своей конструкции базовую часть (общую по схеме базирования для всех деталей
группы) и сменные наладки или регулируемые элементы для быстрой переналадки при
переходе на обработку любой из деталей группы. В обработке данной детали
единственное приспособление - токарные самоцентрирующийся трехкулачковый
патрон.
Рисунок 3
5.5 Расчет режимов резания
.5.1 Расчет режимов резания для токарной
операции 005 с ЧПУ
Рассчитаем режимы резания для получистовой
обработки детали - подрезание торцев, точение цилиндрических поверхностей (см.
эскиз графической части).
Для получистовой стадии обработки принимаем:
режущий инструмент- резец контурный с трехгранной пластиной с углом при вершине
е=600 из твердого сплава, инструментальный материал - Т15К6
крепление - клин-прихватом, с углом в плане ц=930, со
вспомогательным углом в плане - ц1=320 .
задний угол ц= 60;
передний угол - г=100;
форма передней поверхности - плоская с фаской;
радиус скругления режущей кромки с=0,03 мм;
радиус вершины резца - rв=1,0
мм.
Для получистовой стадии обработки подачу выбирают
по [7, карта 4] S0т=0,16
мм/об.
S0=
S0ТKsиKspKsдKshKslKsnKsцKsjKм,
Ksи=
1,0 - коэффициент, зависящий от инструментального материала;
Ksp=1,05
- от способа крепления пластины;
Ksд=1,0
- от сечения державки резца;
Ksh=1,0
- от прочности режущей части;
Ksl=0,8
- от схемы установки заготовки;
Ksn=1,0
- от состояния поверхности заготовки;
Ksц=0,95
- от геометрических параметров резца;
Ksj=1,0
от жесткости станка;
Ksм=1,0
- от механических свойств обрабатываемого материала.
S0
= 0,16*1,1*1,0*1,0*1,0*0,8*1,0*0,95*1,0*1,0=0,12 мм/об
Рекомендуемые значения скорости резания для
получистовой обработки принимаем по [7, карта 21].
Vт=187
м/мин.
Окончательно скорость резания для получистовой
стадии обработки определяется по формуле:
V= VтKvиKvсKvоKvjKvмKvцKvтKvж
Kvи
- коэффициент, зависящий от инструментального материала;
Kvс
- от группы обрабатываемости материала;
Kvо
- от вида обработки;
Kvj
- жесткости станка;
Kvм
- от механических свойств обрабатываемого материала;
Kvц
- от геометрических параметров резца;
Kvт
- от периода стойкости режущей части;
Kvж
- от наличия охлаждения.
V=
187*1,05*0,9*1*1*1*1*1*1=176,7 м/мин;
Частота вращения рассчитывается по формуле:
;
Результаты расчета приведены в табл.
Проверочный расчет мощности резания Npeз, кВт
[7, c. 24]
где NТ
. - табличное значение мощности [5 , карта 21], кН;
<11кВт.
Условие мощности выполняется.
Таблица 5.6. Режимы резания для операции 005.
А.Позиция I.Т01
|
Элементы
режима резания
|
Обрабатываемые
поверхности
|
|
|
Т.
Æ118/
Æ148
|
Æ118
|
Т.
Æ70h8/
Æ118
|
Æ70h8
|
Т.
Æ50h8/
Æ70h8
|
|
Глубина
резания t, мм
|
2
|
2
|
22
|
2
|
2
|
|
|
Табличная
подача Sот, мм/об
|
0,16
|
0,16
|
0,16
|
0,16
|
0,16
|
|
|
Принятая
подача Sо, мм/об
|
0,12
|
0,12
|
0,12
|
0,12
|
0,12
|
|
|
Табличная
скорость резания Vт,
м/мин
|
187
|
187
|
187
|
187
|
187
|
|
|
Скорректированная
скорость резания V,
м/мин
|
176,7
|
176,7
|
176,7
|
176,7
|
|
|
Фактическая
частота вращения шпинделя nф,
об/мин
|
380,22
|
476,89
|
476,89
|
803,91
|
803,91
|
|
|
Принятая
частота вращения шпинделя nп,
об/мин
|
400
|
500
|
500
|
800
|
800
|
|
|
Фактическая
скорость резания Vф,
м/мин
|
185,8
|
185,26
|
185,26
|
175,84
|
175,84
|
|
|
Табличная
мощность резания Nт,
кВт
|
-
|
-
|
-
|
3,8
|
-
|
|
|
Фактическая
мощность резания N,
кВт
|
-
|
-
|
-
|
3.4
|
-
|
|
|
Минутная
подача Sм, мм/мин
|
64
|
80
|
80
|
128
|
128
|
|
|
|
|
|
|
|
|
|
|
|
|
|
.5.2 Выполним аналитический расчет режима
резания по величине принятой стойкости инструмента для операции 005 (черновое
точение Æ148)
Инструмент - контурный резец со сменной
многогранной пластиной из твердого сплава марки Т15К6.
Скорость резания при наружном продольном и
поперечном точении рассчитывают по эмпирической формуле:
,
где Т - среднее значение стойкости
инструмента, при одноинструментальной обработке принимается 30-60 мин, выберем
значение Т = 45 мин;
Сv, m, x, y - табличные
коэффициенты (Сv = 340; m = 0,20; x = 0,15; y = 0,45);
t - глубина
резания (принимаем для чернового точения t=4мм);
s - подача (s=1,3 мм/об);
Кv = Kmv*Kпv*Kиv,
где Kmv -
коэффициент, учитывающий влияние материала заготовки (Kmv =1,0 ), Kпv -
коэффициент, учитывающий влияние состояния поверхности (Kпv = 1,0), Kпv -
коэффициент, учитывающий влияние материала инструмента (Kпv =1,0). Кv = 1.
м/с,
об/мин.
.5.3 Расчет режимов резания для
операции 005 (сверление отверстий радиальных Æ36)
Инструмент - сверло Р6М5.
Расчет ведем по методике, указанной в [2,
с.276]. Определим по таблице значение подачи сверла на оборот. So
= 0,7 мм/об.
Скорость резания при сверлении:
,
где Т - среднее значение стойкости инструмента,
по таблице выберем значение Т = 70 мин;
Сv,
m, q,
y - табличные
коэффициенты (Сv
= 9,8; m = 0,20; q
= 0,40; y = 0,50);
D - диаметр сверла (D
= 36 мм);
s - подача (s=0,7
мм/об);
Кv
= Kmv*Kпv*Kиv,
где Kmv
- коэффициент, учитывающий влияние материала заготовки (Kmv
=1,0 ), Kпv
- коэффициент, учитывающий влияние состояния поверхности (Kпv
= 1,0), Kпv
- коэффициент, учитывающий влияние материала инструмента (Kпv
=1,0). Кv
= 1.
м/с,
об/мин.
.6 Техническое нормирование
.6.1 Определение штучно-калькуляционного времени
для токарной операции с ЧПУ 005
Норму штучного времени для станков с ЧПУ
определяют по формуле:
, [7, c.111]
где Тц.а. - время автоматической
работы станка по программе;
- вспомогательное время.
=0,1 мин - вспомогательное время на
установку и снятие детали [7, карта 7];
- вспомогательное время, связанное
с операцией, включает в себя время на включение и выключение станка, проверку
возврата инструмента в заданную точку после обработки, установку и снятие
щитка, предохраняющего от забрызгивания эмульсией [4, карта 14]:
- вспомогательное время на
контрольные измерения содержит пять замеров штангенциркулем и пять замеров
скобой [7, карта 15]:
=(0,03+0,03+0,03+0,03+0,03)+(0,11+0,11+0,11+0,11+0,11)=
0,6 мин.
=0,1+0,18+0,6=0,88 мин.
Принимаем, что на участке проводится
выносной контроль.
Расчет времени автоматической работы
станка по программе (Тц.а.) представлен в табл.5.7.
Определение основного времени То
производится по формуле:
,
где L p.x. - длина
рабочего хода;
Sм - подача.
Определение времени холостых ходов
рассчитывается по формуле:
;
где L х.x. - длина
холостого хода;
Sхх - подача
холостого хода.
Таблица 5.7. Время автоматической
работы станка по программе (установ А)
|
Координаты
опорных точек
|
Приращение
по оси Z, ДZ,
мм
|
Приращение
по оси X, ДX,
мм
|
Длина
i-го хода, мм
|
Минутная
подача на i-м
участке, Sм, мм/мин
|
Основное
время автоматической работы станка по программе Т0, мин
|
Машино-
вспомогательное время Тмв, мин.
|
|
Инструмент
Т01 - Резец контурный
|
|
СИ
|
|
|
|
|
|
0,01
|
|
|
0-1
|
-81,31
|
-24
|
84,77
|
10000
|
|
0,008
|
|
|
1-2
|
0
|
-16,75
|
16,75
|
48
|
0,34
|
|
|
|
2-3
|
38,55
|
0
|
38,55
|
60
|
0,64
|
|
|
|
3-4
|
0
|
-24,19
|
24,19
|
60
|
0,4
|
|
|
|
4-5
|
3,78
|
0
|
3,78
|
96
|
0,039
|
|
|
|
5-6
|
0
|
-35,05
|
35,05
|
96
|
0,36
|
|
|
|
6-0
|
38,98
|
100
|
107,32
|
10000
|
|
0,01
|
|
|
Инструмент
Т02 - Резец расточной
|
|
СИ
|
|
|
|
|
|
0,01
|
|
|
0-7
|
-37
|
-75,25
|
83,85
|
10000
|
|
0,008
|
|
|
7-8
|
-61
|
0
|
61
|
96
|
0,63
|
|
|
|
8-9
|
0
|
-2
|
2
|
10000
|
|
0,0002
|
|
|
9-0
|
61
|
0
|
61
|
10000
|
|
0,0061
|
|
|
10-0
|
37
|
77,25
|
85,65
|
10000
|
|
0,008
|
|
|
Инструмент
Т01 - Резец контурный
|
|
СИ
|
|
|
|
|
|
0,01
|
|
|
0-11
|
-39,73
|
-64
|
75,32
|
10000
|
|
0,0075
|
|
|
11-12
|
0
|
-36
|
36
|
100
|
0,36
|
|
|
|
12-0
|
39,98
|
100
|
107,69
|
10000
|
|
0,0107
|
|
|
Инструмент
Т03 - Резец
контурный
|
|
0-13
|
-81,48
|
-25
|
85,22
|
10000
|
|
0,0085
|
|
|
14-15
|
0
|
-16
|
16
|
100
|
0,16
|
|
|
|
15-16
|
38,48
|
0
|
38,48
|
100
|
0,38
|
|
|
|
16-17
|
0
|
-24
|
24
|
100
|
0,24
|
|
|
|
17-18
|
4
|
0
|
4
|
100
|
0,04
|
|
|
|
18-0
|
39
|
65
|
75,80
|
10000
|
|
0,0075
|
|
|
Инструмент
Т04 - Резец
расточной
|
|
СИ
|
|
|
|
|
|
0,01
|
|
|
0-19
|
-39
|
-75
|
84,53
|
10000
|
|
0.0084
|
|
|
19-20
|
-60
|
0
|
60
|
100
|
0,6
|
|
|
|
20-21
|
0
|
-2
|
2
|
10000
|
|
0,0002
|
|
|
21-22
|
60
|
0
|
60
|
10000
|
|
0,006
|
|
|
22-0
|
39
|
77
|
86,31
|
10000
|
|
0,0086
|
|
|
Инструмент
Т05 - Фреза
концевая
|
|
СИ
|
|
|
|
|
|
0,01
|
|
|
0-23
|
-40
|
-129,5
|
135,53
|
10000
|
|
0.017
|
|
|
23-24
|
-42
|
0
|
42
|
100
|
0.0025
|
|
|
|
24-25
|
42
|
0
|
42
|
100
|
0.0025
|
|
|
|
25-26
|
0
|
24,5
|
24,5
|
10000
|
|
0.0024
|
|
|
26-27
|
-42
|
0
|
42
|
100
|
0,42
|
|
|
|
27-28
|
42
|
0
|
42
|
100
|
0,42
|
|
|
|
28-29
|
0
|
34,5
|
34,5
|
10000
|
|
0,0034
|
|
|
29-30
|
-42
|
0
|
42
|
100
|
0,42
|
|
|
|
30-31
|
42
|
0
|
42
|
100
|
0,42
|
|
|
|
31-32
|
0
|
-24,5
|
24,5
|
10000
|
|
0,0024
|
|
|
32-33
|
-42
|
0
|
42
|
100
|
0,42
|
|
|
|
33-34
|
42
|
0
|
42
|
100
|
0,42
|
|
|
|
34-0
|
40
|
95
|
103,07
|
10000
|
|
0,0103
|
|
|
Итого
|
7,33
|
0,18
|
|
Время
автоматического цикла
|
7,52
|
|
|
|
|
|
|
|
|
|
|
|
|
|
|
|
|
|
|
Для установа Б: Тц.а=10,21;
=0,1;
=0 мин.
Контроль выносной.
Окончательно норма штучного времени
равна:
Тш=
(7,52+10,21+0.1+0,1)*(1+0,08)=19,35 мин.
Норма
подготовительно-заключительного времени для станка с ЧПУ определяется по
формуле [7]:
Тпз=Тпз1+Тпз2+Тпз3
,
где Тпз1 - норма времени
на организационную подготовку;
Тпз2 - норма времени на
наладку станка, приспособления, инструмента, программных устройств, мин;
Тпз3 - норма времени на
пробную обработку.
Расчет
подготовительно-заключительного времени представлен в табл.5.8.
Таблица 5.8. Структура
подготовительно-заключительного времени
|
№
п/п
|
Содержание
работы
|
Время,
мин
|
|
1.
|
Организационная
подготовка
|
9,0+3,0+2,0
|
|
Итого
|
Тпз1
|
14,0
|
|
Наладка
станка, приспособлений, инструмента, программных устройств
|
|
|
2.
|
Установить
исходные режимы обработки станка
|
0,3*3=0,9
|
|
3.
|
Установить
патрон
|
4,0
|
|
4.
|
Установить
режущие инструменты
|
1,0*2=2,0
|
|
5.
|
Ввести
программу в память системы ЧПУ
|
1,0
|
|
Итого
|
Тпз2
|
10,9
|
|
6.
|
Пробная
обработка
|
|
|
Деталь
точна (получистовая обработка), поверхности обрабатываются по 11 квалитету
|
12
|
|
Итого
|
Тпз3
|
10+tц
|
|
Итого
подготовительно-заключительное время на партию 36,3 деталей:
Тпз=Тпз1+Тпз2+Тпз3
|
Тшт.к=Тшт+Тпз=19,35+
=19,41мин.
6. Метрологическое обеспечение
технологического процесса
В современном машиностроительном
производстве контроль геометрических параметров деталей в процессе их
производства является обязательным. Затраты на выполнение контрольных операций
существенно влияют на себестоимость изделий машиностроения, а точность их
оценки определяет качество выпускаемых изделий. При выполнении операций
технического контроля должен обеспечиваться принцип единства измерений - результаты
измерений должны быть выражены в узаконенных единицах и погрешность измерений
должна быть известна с указанной вероятностью. Контроль должен быть объективным
и достоверным.
Тип производства - серийный -
определяет форму контроля - выборочный статистический контроль заданных
чертежом параметров. Объем выборки составляет 1/10 от объема партии.
Универсальные средства измерений
находят широкое применение во всех типах производства, благодаря их низкой
себестоимости.
Контроль фасок производят
специальными средствами измерения: шаблонами. Метод измерения пассивный,
контактный, прямой переносным средством измерения. Контроль наружной
цилиндрической поверхности производим скобой индикаторной на стойке СИ-100 ГОСТ
11098.
Контроль наружных торцовых
поверхностей на черновом и получистовом этапах производим ШЦ-11 ГОСТ 166, а на
чистовом и повышенной точности этапах специальным шаблоном.
Контроль шероховатости на черновом и
получистовом этапах ведем по образцам шероховатости ГОСТ 9378. Метод измерения
пассивный контактный сравнительный, переносным средством измерения. Контроль
шероховатости на чистовом этапе ведется интерферометром МИИ-10. Метод измерения
пассивны контактный, переносным средством измерения.
Заключительный контроль ведется
отделом технического контроля на предприятии.
7. Безопасность технологической
системы
.1 Общие положения
Разработка технологической
документации, организация и выполнение технологических процессов должны
соответствовать требованиям ГОСТ 3.1102. Производственное оборудование, используемое
при обработке резанием, должно соответствовать требованиям ГОСТ 12.2.003 и ГОСТ
12.2.009. Приспособления для обработки резаниям должны соответствовать
требованиям ГОСТ 12.2.029. Предельно допустимая концентрация веществ,
образующихся при обработке резанием не должны превышать значений, установленных
ГОСТ 12.1.005 и нормативными документами министерства здравоохранения России.
.2 Требования к технологически
процессам
Требования безопасности к процессу
обработки резанием должны быть изложены в технологических документах по ГОСТ
3.1120. Установка обрабатываемых заготовок и снятие готовых деталей во время
работы оборудования допускается при применении специальных позиционных
приспособлений, обеспечивающих безопасность работающих.
.3 Требования к хранению и
транспортированию исходных материалов, заготовок, полуфабрикатов, СОЖ, готовых
деталей, отходов производства и инструмента
Требования безопасности при
транспортировании, хранении и эксплуатации абразивного и эльборового
инструмента по ГОСТ 12.3.028.
Тара для транспортирования и
хранения деталей, заготовок и отходов производства по ГОСТ 14.861, ГОСТ 19822 и
ГОСТ 12.3.020.
Погрузка и разгрузка грузов - по
ГОСТ 12.3.009, перемещение грузов - по ГОСТ 12.3.020.
.4 Контроль выполнения требований
безопасности
Полнота отражений требований
безопасности должна контролироваться на всех стадиях разработке технологических
процессов.
Контроль параметров шума на рабочих
местах - по ГОСТ 12.1.050.
Выводы
В данном курсовом проекте был
произведен расчет объема выпуска и пределен тип производства. Проанализирована
правильность выполнения чертежа с точки зрения соответствия действующим
стандартам. Спроектирован маршрут обработки детали, выбрано оборудование,
режущий инструмент и приспособления. Рассчитаны операционные размеры и размеры
заготовки. Определены режимы резания и норма времени на токарную операцию.
Рассмотрены вопросы метрологического обеспечения и техники безопасности.
Литература
1.
Справочник
технолога по автоматическим линиям. /А.Г. Косилова, А.Г. Лыков, О.М. Деев и
др.; Под ред. А.Г. Косиловой. - М,: Машиностроение, 1982.
2.
Справочник
технолога машиностроителя./ Под ред. А.Г. Косиловой и Р.К. Мещерякова. - М.:
Машиностроение, 1985.
3.
Тимофеев
В.Н. Расчёт линейных операционных размеров и их рациональная простановка.
Учебное пособие. Горький: ГПИ, 1978.
4.
Горбацевич
А.Ф., Шкред В.А. Курсовое проектирование по технологии машиностроения: [Учебное
пособие для машиностроит. спец. вузов]. - Мн.: Высш.
школа, 1983.
5.
Режимы
резания металлов: Справочник/ Под ред. Ю.В. Барановского.- М.: Машиностроение,
1995.
6.
Унифицированные
узлы и детали агрегатных станков и автоматических линий. Каталог-справочник.
7.
Общемашиностроительные
нормативы времени и режимов резания для нормирования работ в массовом
производстве. В 2-х частях. - М.: Экономика,1990
8.
Ординарцев
И.А., Филипов Г.В., Шевченко А.Н. Справочник инструментальщика./ Под общ. ред.
И.А. Ординарцева - Л.: Машиностроение,1987.
9.
ГОСТ
16085-80 “Калибры для контроля расположения поверхностей.”
10.
ГОСТ 14.202 - 73. Правила обеспечения технологичности конструкций изделий. - М.
Изд-ство стандартов, 1974.
11.Зазерский
В.И. Жолнерчик С.И. Технология обработки деталей на станках с программным
управлением. - Л. Машиностроение, 1985.
12.Орлов
П.И. Основы конструирования. Кн.1,2,3.- М. Машиностроение, 1977.
13.Справочник
контроллера машиностроительного завода. Допуски, посадки, линейные измерения.
Под ред. А.И. Якушева. Изд. 3-е.-М. Машиностроение, 1985.
14.Расчет
припусков: Метод. указания к выполнению практических работ и разделов в
курсовых и дипломных проектах для студентов машиностроительных специальностей
всех форм обучения/НГТУ; Сост.: Д.С. Пахомов, Н, Новгород, 2001. 24 с.
15.Метелев
Б.А., Куликова Е.А., Тудакова Н.М. Технология машностроения, Ч.1,2: Комплекс
учебно-методических материалов; Нижегород.гос.техн.ун-т.Нижний Новгород, 2007
-104с.
16. Метелев Б.А. Основные положения
по формированию обработки на металлорежущем станке: учеб.пособие/ Б.А.
Метелев.- НГТУ. Нижний Новгород, 1998